JP6154615B2 - 操作システム - Google Patents

操作システム Download PDF

Info

Publication number
JP6154615B2
JP6154615B2 JP2013012874A JP2013012874A JP6154615B2 JP 6154615 B2 JP6154615 B2 JP 6154615B2 JP 2013012874 A JP2013012874 A JP 2013012874A JP 2013012874 A JP2013012874 A JP 2013012874A JP 6154615 B2 JP6154615 B2 JP 6154615B2
Authority
JP
Japan
Prior art keywords
unit
main body
drive mechanism
probe
operator
Prior art date
Legal status (The legal status is an assumption and is not a legal conclusion. Google has not performed a legal analysis and makes no representation as to the accuracy of the status listed.)
Active
Application number
JP2013012874A
Other languages
English (en)
Other versions
JP2014145604A (ja
Inventor
英樹 熊谷
英樹 熊谷
Current Assignee (The listed assignees may be inaccurate. Google has not performed a legal analysis and makes no representation or warranty as to the accuracy of the list.)
Mitutoyo Corp
Original Assignee
Mitutoyo Corp
Priority date (The priority date is an assumption and is not a legal conclusion. Google has not performed a legal analysis and makes no representation as to the accuracy of the date listed.)
Filing date
Publication date
Application filed by Mitutoyo Corp filed Critical Mitutoyo Corp
Priority to JP2013012874A priority Critical patent/JP6154615B2/ja
Publication of JP2014145604A publication Critical patent/JP2014145604A/ja
Application granted granted Critical
Publication of JP6154615B2 publication Critical patent/JP6154615B2/ja
Active legal-status Critical Current
Anticipated expiration legal-status Critical

Links

Images

Landscapes

  • Length Measuring Devices With Unspecified Measuring Means (AREA)

Description

本発明は、操作システムに関し、例えば三次元測定機等を備える操作システムに関する。
工作機械で被加工物を加工したり、測定機で被測定物を測定したりするとき、工作機械や測定機等の本体部を操作部によって遠隔操作することがある。このとき、被加工物や被測定物を目視し易いように、操作部を持った操作者が本体部の周辺を移動するが、本体部に対する操作部の位置が変わっても、操作者が操作部を操作する方向と被加工物や被測定物が移動する方向とが一致することが好ましい。
そこで、特許文献1の遠隔操作装置は、被測定物の移動方向と操作者が操作部を操作する方向とを一致させるための切替スイッチを操作部に備えている。
特公昭61−14442号公報
特許文献1の遠隔操作装置は、本体部に対する操作部の位置に応じて、操作者が切替スイッチを適宜切り替える必要があり、操作が煩雑になる上、人的な誤動作につながる恐れがある。
本発明は、このような問題点を解決するためになされたものであり、簡単な操作で本体部を遠隔操作できる操作システムを提供することを目的とする。
本発明の一形態に係る操作システムは、部材の駆動機構を有する本体部と、前記駆動機構を遠隔操作するために操作者が操作する操作部と、前記本体部に対する前記操作部の位置を検出する検出部と、前記検出部の検出結果に基づいて、前記部材の移動方向と操作者が前記操作部を操作する方向とを一致させる制御部を備える。
上述の操作システムにおいて、前記検出部は、前記本体部に設けられた周辺情報取得部を有し、前記周辺情報取得部が取得した前記本体部の周辺情報に基づいて、前記本体部に対する前記操作部の位置を検出することが好ましい。
上述の操作システムにおいて、前記検出部は、前記操作部に設けられた位置情報取得部を有し、前記位置情報取得部が取得した前記操作部の位置情報に基づいて、前記本体部に対する前記操作部の位置を検出することが好ましい。
上述の操作システムにおいて、前記検出部は、前記本体部及び前記操作部のいずれか一方に設けられ、識別信号を出射する出射部と、他方に設けられ、前記出射部の識別信号を受信する受信部を有し、前記受信部の受信結果に基づいて、前記本体部に対する前記操作部の位置を検出することが好ましい。
上述の操作システムにおいて、前記本体部は、プローブと、前記プローブと被測定物とを相対的に移動させる駆動機構を備える三次元測定機であることが好ましい。
本発明によれば、簡単な操作で本体部を遠隔操作できる操作システムを提供することを目的とする。
実施の形態1の操作システムを概略的に示す斜視図である。 実施の形態1の操作システムの制御系ブロック図である。 周辺情報取得部の配置を示す図である。 操作部を概略的に示す図である。 実施の形態2の操作システムの制御系ブロック図である。 実施の形態3の操作システムの制御系ブロック図である。
以下、本発明を実施するための最良の形態について、添付図面を参照しながら説明する。但し、本発明が以下の実施の形態に限定される訳ではない。また、説明を明確にするため、以下の記載及び図面は、適宜、簡略化されている。
<実施の形態1>
先ず、本実施の形態の操作システムの基本構成を説明する。図1は、本実施の形態の操作システム1を概略的に示す斜視図である。図2は、本実施の形態の操作システム1の制御系ブロック図である。
図1及び図2に示すように、操作システム1は、本体部2、操作部3及びホストコンピュータ4を備えている。本体部2は、部材を移動させるための駆動機構を有する。本実施の形態の本体部2は、三次元測定機である。本体部2は、基台5、門型フレーム6、プローブ7、X方向駆動機構8、Y方向駆動機構9、Z方向駆動機構10、検出部11及び制御装置12を備えている。
なお、本実施の形態においては、基台5の上面で互いに直交する二方向をそれぞれX方向(左右方向)、Y方向(前後方向)とする。また、基台5の上面に垂直な方向をZ方向(上下方向)とする。
基台5は門型フレーム6等を支持する。ここで、基台5は、積層ゴム等の除振台上に配置されていることが好ましい。基台5におけるZ方向の+側の面は、被測定物を載せるために精密平坦加工されている。門型フレーム6は、基台5をX方向に跨ぐように配置されており、基台5に対してY方向に移動可能な構成とされている。プローブ7は、駆動機構で移動する部材の一例であり、例えば被測定物に接触し、接触信号をホストコンピュータ4に出力する。但し、プローブ7は、非接触式のプローブでもよい。
X方向駆動機構8は、プローブ7をX方向に移動させる。本実施の形態のX方向駆動機構8は、門型フレーム6内に収容されている。Y方向駆動機構9は、門型フレーム6をY方向に移動させる。本実施の形態のY方向駆動機構9は、基台5内に収容されている。Z方向駆動機構10は、プローブ7をZ方向に移動させる。本実施の形態のZ方向駆動機構10は、門型フレーム6内に収容されている。但し、X方向駆動機構8、Y方向駆動機構9及びZ方向駆動機構10は、プローブ7を良好に移動されることができれば、構成は特に限定されない。
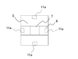
検出部11は、本体部2に対する操作部3の位置を検出する。検出部11は、本体部2の周辺情報を取得する周辺情報取得部11aを備えている。周辺情報取得部11aは、例えば画像センサを備えている。周辺情報取得部11aは、本体部2に設けられている。
ここで、図3は、周辺情報取得部11aの配置を示す図である。図3に示すように、周辺情報取得部11aは、本体部2の基台5の四辺に夫々設けられている。例えば、周辺情報取得部11aは、Z方向から見て本体部2の基台5におけるX方向の+側の辺の略中央部、本体部2の基台5におけるX方向の−側の辺の略中央部、本体部2の基台5におけるY方向の+側の辺の略中央部、及び本体部2の基台5におけるY方向の−側の辺の略中央部に配置されている。
これらの周辺情報取得部11aが取得した周辺情報に基づいて、検出部11は操作者や操作部3を検出し、本体部2に対する操作部3の位置を検出する。検出部11が操作者や操作部3を検出する方法は、一般的な方法を用いることができ、例えば検出部11は、取得した周辺情報を画像処理して特徴点を抽出し、操作者や操作部3を検出し、グローバル座標系等の基準座標を用いて本体部2に対する操作部3の位置を検出する。つまり、検出部11は、本体部2に対して操作部3がX方向の+−どちらの側に在るのか、Y方向の+−どちらの側に在るのかを検出する。言い換えると、検出部11は、操作者が本体部2に対して奥側、手前側、左側及び右側のいずれの側で操作部3を操作しているのかを検出する。検出部11は、検出信号を制御装置12に出力する。
但し、本実施の形態では、周辺情報取得部11aを用いて本体部2に対する操作部3の位置を検出したが、本体部2に対する操作部3の位置を検出することができれば、手段は特に限定されない。また、周辺情報取得部11aの配置は、上述の限りでなく、本体部2に対する操作部3の位置を検出することができればよく、例えば基台5の四隅に配置されてもよい。
制御装置12は、詳細は後述するが、操作部3から入力される操作信号及び検出部11から入力される検出信号に基づいて、X方向駆動機構8、Y方向駆動機構9及びZ方向駆動機構10の制御信号を夫々生成し、当該制御信号に基づいてX方向駆動機構8、Y方向駆動機構9及びZ方向駆動機構10を夫々制御する。
操作部3は、X方向駆動機構8、Y方向駆動機構9及びZ方向駆動機構10を遠隔操作するために操作者が操作する。ここで、図4は、本実施の形態の操作部3を概略的に示す図である。図4に示すように、操作部3は、X方向駆動機構8及びY方向駆動機構9を操作するための操作レバー13、及びZ方向駆動機構10を操作するための操作レバー14を備えている。操作者が操作レバー13及び14を傾動させることで、操作部3はX方向駆動機構8、Y方向駆動機構9及びZ方向駆動機構10の操作信号を生成し、当該操作信号を制御装置12に出力する。なお、操作部3の操作信号の処理については後述する。
ホストコンピュータ4は、プローブ7から入力される接触信号に基づいて、被測定物の位置及び座標の一方又は両方を測定する。
次に、本実施の形態の操作システム1における、制御装置12での操作信号の処理動作を説明する。制御装置12は、入力される検出信号に基づいて、プローブ8の移動方向と操作レバー13の操作方向とが略一致するように、操作信号を処理する。ここで、以下の説明における前後左右方向は、操作者が操作部3を操作する際に当該操作部3をZ方向から見た方向である。
本体部2に対して操作部3がX方向の−側に在る旨の検出信号が入力されたとき、操作者が操作レバー13を前側に傾動させると、プローブ7をX方向の+側に移動させるべくX方向駆動機構8が駆動し、操作者が操作レバー13を後側に傾動させると、プローブ7をX方向の−側に移動させるべくX方向駆動機構8が駆動するように、制御装置12が操作信号を処理する。そして、操作者が操作レバー13を左側に傾動させると、プローブ7をY方向の+側に移動させるべくY方向駆動機構9が駆動し、操作者が操作レバー13を右側に傾動させると、プローブ7をY方向の−側に移動させるべくY方向駆動機構9が駆動するように、制御装置12が操作信号を処理する。
本体部2に対して操作部3がX方向の+側に在る旨の検出信号が入力されたとき、操作者が操作レバー13を前側に傾動させると、プローブ7をX方向の−側に移動させるべくX方向駆動機構8が駆動し、操作者が操作レバー13を後側に傾動させると、プローブ7をX方向の+側に移動させるべくX方向駆動機構8が駆動するように、制御装置12が操作信号を処理する。そして、操作者が操作レバー13を左側に傾動させると、プローブ7をY方向の−側に移動させるべくY方向駆動機構9が駆動し、操作者が操作レバー13を右側に傾動させると、プローブ7をY方向の+側に移動させるべくY方向駆動機構9が駆動するように、制御装置12が操作信号を処理する。
本体部2に対して操作部3がY方向の−側に在る旨の検出信号が入力されたとき、操作者が操作レバー13を前側に傾動させると、プローブ7をY方向の+側に移動させるべくY方向駆動機構9が駆動し、操作者が操作レバー13を後側に傾動させると、プローブ7をY方向の−側に移動させるべくY方向駆動機構9が駆動するように、制御装置12が操作信号を処理する。そして、操作者が操作レバー13を左側に傾動させると、プローブ7をX方向の−側に移動させるべくX方向駆動機構8が駆動し、操作者が操作レバー13を右側に傾動させると、プローブ7をX方向の+側に移動させるべくX方向駆動機構8が駆動するように、制御装置12が操作信号を処理する。
本体部2に対して操作部3がY方向の+側に在る旨の検出信号が入力されたとき、操作者が操作レバー13を前側に傾動させると、プローブ7をY方向の−側に移動させるべくY方向駆動機構9が駆動し、操作者が操作レバー13を後側に傾動させると、プローブ7をY方向の+側に移動させるべくY方向駆動機構9が駆動するように、制御装置12が操作信号を処理する。そして、操作者が操作レバー13を左側に傾動させると、プローブ7をX方向の+側に移動させるべくX方向駆動機構8が駆動し、操作者が操作レバー13を右側に傾動させると、プローブ7をX方向の−側に移動させるべくX方向駆動機構8が駆動するように、制御装置12が操作信号を処理する。
一方、操作者が操作レバー14を前側に傾動させると、プローブ7をZ方向の+側に移動させるべくZ方向駆動機構10が駆動し、操作者が操作レバー14を後側に傾動させると、プローブ7をZ方向の−側に移動させるべくZ方向駆動機構10が駆動するように、制御装置12が操作信号を処理する。
このような操作システム1は、本体部2に対する操作部3の位置を検出し、検出結果に基づいて、プローブ7の移動方向と当該プローブ7を移動させるべく操作者が操作部3を操作する方向とを一致させる。つまり、操作者が本体部2に向かって立っている状態において、プローブ7の移動方向と操作者が操作部3を操作する方向とを一致させる。そのため、操作者は特別な操作を行わなくても、本体部2に対する操作者の立ち位置に対応するようにプローブ7を移動させることができ、簡単な操作で本体部を遠隔操作でき、しかも操作者の誤操作を防ぐことができる。
<実施の形態2>
図5は、本実施の形態の操作システム21の制御系ブロック図である。なお、以下の説明において、重複する説明は省略し、同一の要素には同一の符号を用いて説明する。
図5に示すように、本実施の形態の検出部22は、操作部23に備えられている。この検出部22も、本体部24に対する操作部23の位置を検出する。検出部22は、操作部23の位置情報を取得する位置情報取得部22aを備えている。位置情報取得部22aは、例えばGPS(Global Positioning System)を備えている。
位置情報取得部22aが取得した位置情報及び予め設定された本体部24の位置情報に基づいて、検出部22は本体部24に対する操作部23の位置を検出する。つまり、検出部22は、本体部24に対して操作部23がX方向の+−どちらの側に在るのか、Y方向の+−どちらの側に在るのかを検出する。言い換えると、検出部22は、操作者が本体部24に対して奥側、手前側、左側及び右側のいずれの側で操作部3を操作しているのかを検出する。
このような操作システム21も、本体部24に対する操作部23の位置を検出し、検出結果に基づいて、プローブ7の移動方向と当該プローブ7を移動させるべく操作者が操作部23を操作する方向とを一致させる。そのため、操作者は特別な操作を行わなくても、本体部24に対する操作者の立ち位置に対応するようにプローブ7を移動させることができ、簡単な操作で本体部24を遠隔操作でき、しかも操作者の誤操作を防ぐことができる。
<実施の形態3>
図6は、本実施の形態の操作システム31の制御系ブロック図である。なお、以下の説明において、重複する説明は省略し、同一の要素には同一の符号を用いて説明する。
図6に示すように、本実施の形態の検出部32は、出射部32a及び受信部32bを備えている。出射部32aは、操作部33に備えられている。この出射部32aは、例えば操作部33の識別信号を出射する。
受信部32bは、本体部34に備えられている。例えば受信部32bは、本体部34の基台5の四辺に夫々設けられている。但し、受信部32bは、本体部34の周辺の出射部32aの識別信号を受信できるように配置されていればよく、例えば基台5の四隅に配置されてもよい。
この受信部32bは、出射部32aから出射された識別信号を受信し、受信した識別信号に基づいて、本体部34に対する操作部33の位置を検出し、検出信号を制御装置12に出力する。つまり、本体部34の基台5の四辺に設けた受信部32bの内、いずれの受信部32bが識別信号を受信したかに基づいて、操作者が本体部34に対して奥側、手前側、左側及び右側のいずれの側で操作部33を操作しているのかを検出する。
このような操作システム31も、本体部34に対する操作部33の位置を検出し、検出結果に基づいて、プローブ7の移動方向と当該プローブ7を移動させるべく操作者が操作部33を操作する方向とを一致させる。そのため、操作者は特別な操作を行わなくても、本体部34に対する操作者の立ち位置に対応するようにプローブ7を移動させることができ、簡単な操作で本体部34を遠隔操作でき、しかも操作者の誤操作を防ぐことができる。
なお、本実施の形態では、出射部32aを操作部33に備え、受信部32bを本体部34に備えたが、逆の構成でもよい。このとき、本体部34の基台5の四辺に夫々、異なる識別信号を出射する出射部32aを設け、出射部32aから出射した識別信号を受信部32bが受信したとき、いずれの出射部32aからの識別信号を受信したのかを識別することで、本体部34に対する操作部33の位置を検出するとよい。
本発明は上記実施の形態に限られたものではなく、趣旨を逸脱しない範囲で適宜変更することが可能である。
1 操作システム
2 本体部
3 操作部
4 ホストコンピュータ
5 基台
6 門型フレーム
7 プローブ
8 X方向駆動機構
9 Y方向駆動機構
10 Z方向駆動機構
11 検出部、11a 周辺情報取得部
12 制御装置
13、14 操作レバー
21 操作システム
22 検出部、22a 位置情報取得部
23 操作部
31 操作システム
32 検出部、32a 出射部、32b 受信部
33 操作部
34 本体部

Claims (1)

  1. プローブと、前記プローブと被測定物とを相対的に移動させる駆動機構と、備える三次元測定機と、
    前記駆動機構を遠隔操作するために操作者が操作する操作部と、
    前記三次元測定機に対する前記操作部の位置を検出する検出部と、
    前記検出部の検出結果に基づいて、前記プローブの移動方向と操作者が前記操作部を操作する方向とを一致させる制御部と、
    を備え
    前記検出部は、前記三次元測定機の周辺情報を取得する画像センサを備える操作システム。
JP2013012874A 2013-01-28 2013-01-28 操作システム Active JP6154615B2 (ja)

Priority Applications (1)

Application Number Priority Date Filing Date Title
JP2013012874A JP6154615B2 (ja) 2013-01-28 2013-01-28 操作システム

Applications Claiming Priority (1)

Application Number Priority Date Filing Date Title
JP2013012874A JP6154615B2 (ja) 2013-01-28 2013-01-28 操作システム

Publications (2)

Publication Number Publication Date
JP2014145604A JP2014145604A (ja) 2014-08-14
JP6154615B2 true JP6154615B2 (ja) 2017-06-28

Family

ID=51425972

Family Applications (1)

Application Number Title Priority Date Filing Date
JP2013012874A Active JP6154615B2 (ja) 2013-01-28 2013-01-28 操作システム

Country Status (1)

Country Link
JP (1) JP6154615B2 (ja)

Families Citing this family (4)

* Cited by examiner, † Cited by third party
Publication number Priority date Publication date Assignee Title
CN104898699B (zh) 2015-05-28 2020-03-17 小米科技有限责任公司 飞行控制方法及装置、电子设备
JP7087475B2 (ja) 2018-03-09 2022-06-21 株式会社タダノ 遠隔操作端末および遠隔操作端末を備える移動式クレーン
JP7167464B2 (ja) * 2018-03-28 2022-11-09 株式会社タダノ 遠隔操作端末および遠隔操作端末を備える作業車両
JP7167469B2 (ja) * 2018-03-30 2022-11-09 株式会社タダノ 遠隔操作端末および遠隔操作端末を備える作業車両

Family Cites Families (5)

* Cited by examiner, † Cited by third party
Publication number Priority date Publication date Assignee Title
JPS5931008U (ja) * 1982-08-23 1984-02-27 株式会社ミツトヨ 座標測定機の遠隔操作装置
JP4458284B2 (ja) * 2005-10-31 2010-04-28 株式会社エクォス・リサーチ 遠隔操作装置
JP4822116B2 (ja) * 2006-03-29 2011-11-24 株式会社エクォス・リサーチ 車両及び遠隔操作装置
US8352212B2 (en) * 2009-11-18 2013-01-08 Hexagon Metrology, Inc. Manipulable aid for dimensional metrology
JP5498139B2 (ja) * 2009-12-02 2014-05-21 株式会社島精機製作所 裁断機

Also Published As

Publication number Publication date
JP2014145604A (ja) 2014-08-14

Similar Documents

Publication Publication Date Title
AU2014235971B2 (en) Noncontact measuring device
US10940573B2 (en) Hand-held tool system
US10773938B2 (en) Forklift system and control method thereof
JP5885549B2 (ja) 締付工具、締付位置管理システムおよび締付位置特定方法
US8169604B2 (en) Parameter detection system
JP6154615B2 (ja) 操作システム
US9086271B2 (en) Industrial robot system having sensor assembly
JP6013139B2 (ja) 工具長測定方法および工作機械
US9618649B2 (en) Detecting an overall dimension of a plate-shaped workpiece by a non-contact sensor
WO2005116809A3 (en) System and method for operating in virtual 3d space and system for selecting an operation via a visualizing system
JP2019120694A (ja) 位置測定デバイス、寸法計測測定システムの動作方法及び位置測定デバイスの動作方法
JP2011048467A (ja) 加工システム
JP2013025478A (ja) 作業検知システム
JP2014087883A (ja) 工具長測定方法および工作機械
CN102103421A (zh) 操作输入装置和方法、程序和电子设备
EP3935412B1 (en) Electronic apparatus and control method thereof
US12330316B2 (en) Coordinate-system setting system and coordinate-system setting method
EP3434411B1 (en) Programmable device provided in a production environment for assisting an operator
WO2022075303A1 (ja) ロボットシステム
JP6427332B2 (ja) 画像測定機
JP5516974B2 (ja) 視覚センサのマウント装置と方法
JP2019174177A (ja) 移動量検出装置
KR20140008658A (ko) 용접점 자동 인식 시스템 및 인식 방법
JP2012168107A (ja) 位置検出装置
KR101799280B1 (ko) 고정밀 3차원 측정시스템 및 이를 이용한 측정방법

Legal Events

Date Code Title Description
A621 Written request for application examination

Free format text: JAPANESE INTERMEDIATE CODE: A621

Effective date: 20151208

A977 Report on retrieval

Free format text: JAPANESE INTERMEDIATE CODE: A971007

Effective date: 20161014

A131 Notification of reasons for refusal

Free format text: JAPANESE INTERMEDIATE CODE: A131

Effective date: 20161018

A521 Request for written amendment filed

Free format text: JAPANESE INTERMEDIATE CODE: A523

Effective date: 20161216

TRDD Decision of grant or rejection written
A01 Written decision to grant a patent or to grant a registration (utility model)

Free format text: JAPANESE INTERMEDIATE CODE: A01

Effective date: 20170516

A61 First payment of annual fees (during grant procedure)

Free format text: JAPANESE INTERMEDIATE CODE: A61

Effective date: 20170602

R150 Certificate of patent or registration of utility model

Ref document number: 6154615

Country of ref document: JP

Free format text: JAPANESE INTERMEDIATE CODE: R150

R250 Receipt of annual fees

Free format text: JAPANESE INTERMEDIATE CODE: R250

R250 Receipt of annual fees

Free format text: JAPANESE INTERMEDIATE CODE: R250