JP6149458B2 - ユーザ支援制御プログラム,ユーザ支援制御装置,ユーザ支援システム,及びユーザ支援方法 - Google Patents

ユーザ支援制御プログラム,ユーザ支援制御装置,ユーザ支援システム,及びユーザ支援方法 Download PDF

Info

Publication number
JP6149458B2
JP6149458B2 JP2013068887A JP2013068887A JP6149458B2 JP 6149458 B2 JP6149458 B2 JP 6149458B2 JP 2013068887 A JP2013068887 A JP 2013068887A JP 2013068887 A JP2013068887 A JP 2013068887A JP 6149458 B2 JP6149458 B2 JP 6149458B2
Authority
JP
Japan
Prior art keywords
user
user support
notification information
level
support
Prior art date
Legal status (The legal status is an assumption and is not a legal conclusion. Google has not performed a legal analysis and makes no representation as to the accuracy of the status listed.)
Expired - Fee Related
Application number
JP2013068887A
Other languages
English (en)
Other versions
JP2014191751A (ja
Inventor
隼人 立田
隼人 立田
賀彦 村川
賀彦 村川
安川 裕介
裕介 安川
Current Assignee (The listed assignees may be inaccurate. Google has not performed a legal analysis and makes no representation or warranty as to the accuracy of the list.)
Fujitsu Ltd
Original Assignee
Fujitsu Ltd
Priority date (The priority date is an assumption and is not a legal conclusion. Google has not performed a legal analysis and makes no representation as to the accuracy of the date listed.)
Filing date
Publication date
Application filed by Fujitsu Ltd filed Critical Fujitsu Ltd
Priority to JP2013068887A priority Critical patent/JP6149458B2/ja
Publication of JP2014191751A publication Critical patent/JP2014191751A/ja
Application granted granted Critical
Publication of JP6149458B2 publication Critical patent/JP6149458B2/ja
Expired - Fee Related legal-status Critical Current
Anticipated expiration legal-status Critical

Links

Images

Landscapes

  • Information Transfer Between Computers (AREA)
  • Management, Administration, Business Operations System, And Electronic Commerce (AREA)

Description

本発明は,ユーザ支援制御プログラム,ユーザ支援制御装置,ユーザ支援システム,及びユーザ支援方法に関する。
ユーザ支援とは,ユーザに通知すべき情報をユーザの状況などに応じて適切なタイミングで適切な方法で通知したり,またはその情報に起因してユーザが実行すべき処理を自動的に実行したりすることであり,ユーザ支援を行うことでユーザの利便性を高めることができる。
例えば,ソフトウエアのアップデート情報が発生した場合,そのアップデート情報をユーザに通知し,ユーザにアップデート処理を実行させることが必要になる。ただし,アップデート情報の重要度に応じて,ユーザへの通知のタイミングや通知方法が不適切であると,ユーザに不快感を与えてしまい,ユーザを支援するどころかかえって不利益を与えることになる。
または,ユーザが参加しているSNSにおいて参加者の発言などの情報が更新された場合,その更新情報をユーザに通知し,ユーザが望んでいるSNSでの発言に導くことは,ユーザ支援の一つである。ただし,そのユーザへの通知のタイミングや通知方法が不適切であると,同様にユーザを支援するどころかかえって不利益を与えることになる。
ユーザ支援の別の例としては,Office 2003のヘルプ機能がある。ヘルプ機能では,ユーザ操作に基づいてシステムによる判断でイルカの姿をしたエージェントが表示され,ヘルプ機能の利用を促す。しかし,ユーザがヘルプ機能を望まない場合は,そのようなエージェントの表示によりユーザによる文字入力作業が中断されてしまい,ユーザに不利益を与えることになる。
ユーザの利便性を高めるユーザ支援については,例えば以下の特許文献に記載されている。
特開平9−34577号公報 特開2005−315802号公報
従来のユーザ支援例は,ユーザの状況や好みにかかわらず,また提供すべき情報の重要度にかかわらず,全てのユーザに対して画一的に行われている。そのため,実行されるユーザ支援処理の一部においてユーザを適切に支援するというよりも,ユーザに不利益を与えてしまっている。
そこで,本発明の目的は,ユーザに不利益を与えることが少ないユーザ支援を提供できるユーザ支援制御プログラム,ユーザ支援制御装置,ユーザ支援システム,及びユーザ支援方法を提供することにある。
ユーザ支援制御プログラムの第1の側面は,ユーザ支援処理を制御するユーザ支援制御処理をコンピュータに実行させるユーザ支援制御プログラムであって,
前記ユーザ支援制御処理は,
ユーザへの情報通知に関するユーザ支援処理を出力するユーザ支援出力端末から,実行可能なユーザ支援処理と,各ユーザ支援処理に対してユーザが受ける不利益を示すユーザ支援処理のリスクレベルとを取得するユーザ支援処理取得工程と,
ユーザに通知すべきユーザ通知情報を取得するユーザ通知情報取得工程と,
前記ユーザ支援処理のリスクレベルと前記ユーザ通知情報の重要度のレベルを比較し,前記ユーザ通知情報の重要度レベル以下の前記ユーザ支援処理リスクレベルを有するユーザ支援処理を実行するよう,前記ユーザ支援出力端末に要求するユーザ支援処理実行要求工程とを有する。
第1の側面によれば,ユーザに不利益を与えることが少ないユーザ支援を提供できる。
本実施の形態におけるユーザ支援システムの構成図である。 ユーザ支援処理の一例を示す図である。 ユーザ支援処理の一例を示す図である。 ユーザ支援出力端末10内の出力制御プログラムの機能を示す図である。 ユーザ支援制御装置30内のユーザ支援制御プログラムの機能を示す図である。 本実施の形態におけるユーザ支援システムによるユーザ支援処理の第1の例を示す図である。 ユーザ支援制御装置内のユーザ支援制御プログラムのフローチャート図である。 ユーザ支援出力端末内の出力制御プログラム340のユーザ支援処理実行手段143のフローチャート図である。 ユーザ通知情報の重要度レベルが変化する第1の例を示す図である。 ユーザ通知情報の重要度レベルが変化する第2の例を示す図である。 ユーザ支援処理のリスクレベルが変化する第1の例を示す図である。 ユーザ支援処理のリスクレベルが変化する第2の例を示す図である。 ユーザ通知情報の重要度レベルとユーザ支援処理のリスクレベルがそれぞれ変化する例を示す図である。
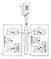
図1は,本実施の形態におけるユーザ支援システムの構成図である。ユーザ支援システムは,ユーザ支援出力端末10とユーザ支援制御装置30とをネットワーク20で接続した構成を有し,ユーザに通知すべき情報であるユーザ通知情報をユーザに最適なタイミングと方法でユーザに通知するユーザ支援処理を行う。
ユーザ支援出力端末10は,ユーザが携帯するまたは直接操作する機器であり,ユーザ支援処理をユーザに対して出力する機器である。ユーザ支援出力端末10は,例えば,スマートホン,パッド端末,パソコンなどである。ユーザ支援出力端末10は,プログラムを実行するプロセッサであるCPU11と,メモリ12と,操作入力と表示出力や音声出力などを行う入出力装置13と,画像出力や音声出力などユーザ支援処理の出力を制御する出力制御プログラムを格納する記憶媒体14と,通信装置などのインターフェース15とを有する。
ユーザ支援制御装置30は,ユーザ通知情報の発生を外部情報通知装置40から受信し,ユーザに最適なタイミングで最適な方法でユーザ支援処理をユーザ支援出力端末10に行わせるよう制御する。ユーザ支援制御装置30は,プログラムを実行するプロセッサであるCPU31と,メモリ32と,操作入力と表示出力を行う入出力装置33と,ユーザ支援制御プログラムを格納する記憶媒体34と,通信装置などのインターフェース35とを有する。ユーザ支援制御装置30は,例えばサーバなど処理能力の高いコンピュータである。
図1に示されたユーザ支援システムの概略的な動作について説明する。まず,ユーザ支援制御装置30は,外部情報通知装置40からユーザ通知情報をまたはその情報の発生を,通信回線20を介して取得する。外部情報通知装置40は,ユーザに通知すべき情報を発行するサイトのサーバなどである。そして,ユーザ支援制御装置30は,ユーザ通知情報の重要度レベルと,ユーザ支援出力端末10がユーザに対して実行可能なユーザ支援処理のリスクレベルとに基づいて,最適なユーザ支援処理を選択し,ユーザ支援出力端末10にその選択したユーザ支援処理を実行させる。
ここで,ユーザ通知情報には,例えば,ソフトウエアのアップデート通知情報,ユーザが興味を持っている情報(ニュースやSNSからの通知情報など)などである。
また,ユーザ通知情報の重要度は,予めユーザ等が設定したユーザ通知情報に対応する重要度や,アップデート通知情報などに対して汎用的に設定される重要度などである。この重要度は,次のような観点または指標で決定される。即ち,(1)ユーザ通知情報がユーザやその端末のセキュリティリスクのような,ユーザに対する支援を行わないことでユーザが不利益を被る可能性,例えば,アプリケーションのセキュリティを向上させるアップデート通知情報などに含まれるセキュリティ要求,(2)ユーザが望むか否かに基づく重要度,例えば,緊急性のある情報などの緊急性,(3)ユーザの興味度に基づく重要度,である。
例えば,アップデート通知情報の場合は,セキュリティホールを修復するためのアップデートなどセキュリティに関連する場合は,重要度が高く設定され,セキュリティに関連しない場合は,重要度が低く設定される。また,ユーザ通知情報の重要度は,情報の発生から時間が経過するにしたがって重要度が徐々に上昇する場合もある。例えば,上記のセキュリティに関連するユーザ通知情報の場合は,通知が遅れるほどに,その情報の緊急度が上昇し重要度が上昇する。
また,ユーザ支援処理には,ユーザ通知情報をユーザに通知したり,それに関連する処理を実行したりなど,ユーザに対して行う処理である。ユーザ支援処理は,後述するとおり,非強調表示による通知,音声による通知,強調表示による通知,メールによる通知,詳細表示による通知などがある。それ以外に,ユーザ支援処理には,アップデート通知などの場合に自動的にアップデートを実行する自動実行も含まれる。
ユーザ支援処理のリスクとは,そのユーザ支援処理を実行した場合にユーザに不快感や不都合を与えるなどユーザが受ける可能性のある不利益であり,ユーザ支援処理に応じてそのリスクレベルが異なる。このユーザ支援処理のリスクは,例えばユーザの個人的な嗜好に依存するものであり,原則としてユーザが予めリスクのレベルを設定する。また,ユーザ支援処理のリスクは,ユーザが置かれている状況によっても変動する。例えば,ユーザが会議中であれば,表示による通知によるリスクレベルはそれほど高くないが,音声による通知はリスクレベルが高くなる。さらに,ユーザ支援処理のリスクは,既に実行されたユーザ支援処理との関係によっても変動する。例えば,音声による通知や強調表示による通知などは,突然行われるとユーザは大きな不快感を感じるが,既に非強調表示による通知が行われた後であれば,ユーザが感じる不快感はそれほど大きくない。
図2,図3は,ユーザ支援処理の一例を示す図である。図2には,非強調表示による通知SP1と,強調表示による通知SP3の例が示されている。非強調表示通知SP1は,ユーザ支援出力端末10の表示画面の目立たない位置に小さくユーザ通知情報が発生したことを示すアイコン画像SP1を表示する通知方法である。このような非強調表示通知SP1は,一般的に,ユーザにほとんど不快感や不利益を与えないので,そのリスクは低く設定される。
強調表示通知SP3は,ユーザ通知情報に関連するアプリのアイコンに特定の形状の画像を付加したりアイコンに赤枠を付加したりなど強調して表示する通知方法である。ユーザ通知情報は,アプリのアップデート通知情報や,SNSの通知情報などであるので,その対応するアプリのアイコンに何らかの強調表示することで,ユーザはそのアプリにアクセスするなどして通知情報を取得することができる。このような強調表示通知SP3も,一般的には,ユーザにあまり不快感や不利益を与えないので,そのリスクは比較的低く設定される。
図3には,メールによる通知SP5と,詳細表示による通知SP7の例が示されている。メール通知SP5は,メーラーのアイコンに強調表示されると共にメール受信を知らせる音声でも通知する。ユーザが興味のないユーザ通知情報に関するメールは,一種のスパムメールであるので,ユーザに不快感を与える可能性があり,そのリスクは比較的高く設定される。また,ユーザが会議中などの状況下では,音声による通知を伴うので,そのリスクは高く変化する。
詳細表示通知SP7は,ユーザ操作を伴わずにブランザを開き,ユーザ支援出力端末10の表示画面内に大きなウインドウで表示され,アップデート通知情報の場合はアップデートを実行するサイトのURLなどがウインドウ内に表示される。このような詳細表示通知SP7は,表示画面に大きなウインドウが突然表示されるので,ユーザに対して大きな不快感や操作中であれば不利益を与える可能性が高いので,そのリスクは高く設定される。ただし,詳細表示通知SP7であっても,既に,非強調表示通知SP1のユーザ支援処理が実行された後であれば,ユーザに与える不快感は,突然表示されるよりも比較的小さく,リスクが低下することもある。
図2,図3に示した例に加えて,ユーザ支援処理の例には,例えば,音声による通知や,ユーザ通知情報に対応する自動実行処理などが考えられる。音声による通知は,ユーザが私的な場所にいる場合はそれほどユーザに不快感や不利益を与えないのでそのリスクは比較的小さいが,ユーザが会議など公的な場所にいる場合は,ユーザに不快感や不利益を与える可能性が大きく,そのリスクは比較的高くなる。
また,自動実行処理は,例えば,アップデート通知情報に対する自動アップデート処理の場合は,必ずしもユーザが望まないアップデートの場合や,ユーザが操作中に自動アップデートされて再起動が実行された場合などは,ユーザに大きな不快感や不利益を与えることになるので,そのリスクは非常に高く設定される。
以上で説明した6種類のユーザ支援処理のリスクは,高い順に並べると例えば次のようになる。このリスクのレベルは,ユーザの好みや状況に応じて変化するので,絶対的に決まるレベルではないが,平均的な観点から並べると例えば次のようになる。
自動実行SP10
詳細表示通知SP7
メール通知SP5
強調表示通知SP3
音声通知SP2
非強調表示通知SP1
ここで,各ユーザ支援処理の符合SPの次の番号は,リスクレベル0−10のいずれかのレベルを示しているものとする。
次に,本実施の形態におけるユーザ支援システムを構成するユーザ支援出力端末10内の出力制御プログラムと,ユーザ支援制御装置30内のユーザ支援制御プログラムの機能について説明する。
図4は,ユーザ支援出力端末10内の出力制御プログラムの機能を示す図である。出力制御プログラム140は,音声をスピーカから出力する制御を行う音声出力制御手段141と,画像を表示画面に出力する制御を行う画像出力制御手段142と,ユーザ支援処理を行うユーザ支援処理実行手段143とを有する。また,出力制御プログラム140は,記憶媒体144内にユーザ支援処理のリストとして,複数のユーザ支援処理とそれに対するリスクレベルのリストが記憶されている。複数のユーザ支援処理の例は,上記の6つの通知処理である。複数のユーザ支援処理に対するリスクレベルは,例えば,デフォルトのあるレベルに設定されていて,必要に応じてユーザにより予めその設定が変更される。
図5は,ユーザ支援制御装置30内のユーザ支援制御プログラムの機能を示す図である。ユーザ支援制御プログラム340は,ユーザ支援処理に対するリスクを管理する手段341と,ユーザ通知情報の重要度を管理する重要度管理手段342とを有する。
リスク管理手段341は,ユーザ支援出力端末10から端末が実行するユーザ支援処理とそのリスクレベルを取得し,ユーザの状況などに応じて変化するリスクレベルを有するユーザ支援処理のリスクレベルを,定期的に計算して変更する。ユーザ支援処理とそのリスクレベルのデータは,記憶媒体346に格納される。
重要度管理手段342は,外部情報通知装置40から受信したユーザ通知情報の重要度レベルを,ユーザが予め決めた基準や,デフォルトで定められている基準に基づいて,算出し,ユーザ通知情報と共に重要度レベルを記憶媒体346に格納する。また,重要度管理手段342は,時間の経過に応じて変動するユーザ通知情報については,定期的に再計算して変更し,記憶媒体346に格納する。
重要度レベルとリスクレベルとは,共通の尺度(スケール)上のレベルとして定義される。それにより,実行可能なユーザ支援処理を判定する時に,重要度レベルとリスクレベルとを比較可能にする。
ユーザ支援制御プログラム340は,更に,ユーザ通知情報の重要度レベルと,ユーザ支援処理のリスクレベルに基づいて,実行可能なユーザ支援処理を判定するユーザ支援実行判定手段343を有する。ユーザ支援実行判定手段343は,例えば,ユーザ支援処理のリスクレベルがユーザ通知情報の重要度レベル以下であれば,そのユーザ支援処理は実行可能であると判定する。したがって,実行可能なユーザ支援処理は,単数の場合もあれば複数の場合もある。
ユーザ支援制御プログラム340は,また,ユーザ支援実行判定手段343で実行可能と判定されたユーザ支援処理が,ユーザ支援出力端末10によりその時点で実行可能かどうかを確認するユーザ支援実行確認手段343を有する。この確認手段343は,ユーザ支援出力端末10に問い合わせることで,そのユーザ支援処理を実行可能か否かを確認することができる。例えば,ユーザ支援出力端末10の状況がマナーモードの場合は,音声出力が禁止されているので,音声通知は実行可能なユーザ支援処理から除外される。
ユーザ支援制御プログラム340は,そして,ユーザ支援実行判定手段343により実行可能と判断され,ユーザ支援実行確認手段344により実行可能が確認されたユーザ支援処理から,所定の基準で最適なユーザ支援処理を選択し,ユーザ支援出力端末10に実行指令を出力して実行させるユーザ支援処理制御手段345を有する。
上記のユーザ支援制御プログラムの処理のために,記憶媒体346には,更に,ユーザ状況情報やユーザ支援出力端末の端末状況情報などが格納される。会議中などのユーザ状況情報は,図示しないユーザ監視システムから取得することができる。ユーザ監視システムとは,様々なセンサなどによりユーザの状況を把握することができるシステムである。あるいは,ユーザ支援出力端末10内のスケジュール表によってもユーザ状況を取得でき,ユーザ支援制御装置30が取得することができる。また,マナーモードなどの端末状況情報は,ユーザ支援出力端末10から取得することができる。
図6は,本実施の形態におけるユーザ支援システムによるユーザ支援処理の第1の例を示す図である。図6は,横軸が時間,縦軸がユーザ支援リスクレベル及びユーザ通知情報の重要度レベル0−11である。時間0において,前述した6種類のユーザ支援処理SP1-SP10がリスクレベル1,2,3,5,7,10に設定され,時間が経過してもそのリスクレベルに変動がない例である。また,図6には,3種類のユーザ通知情報の重要度レベルIM6,IM9,IM11が示され,これらはそれぞれ重要度レベルが6,9,11である。
このような場合,ユーザ支援システムのユーザ支援制御装置30のユーザ支援制御プログラム340により,ユーザ支援制御装置30は,例えば重要度レベル6のユーザ通知情報IM6を取得した場合,その重要度レベル6以下のリスクレベルを有するユーザ支援処理を,実行可能なユーザ支援処理と判定する。図6の例では,実行可能なユーザ支援処理は,非強調表示通知SP1,音声通知SP2,強調表示通知SP3,及びメール通知SP5である。ユーザ支援制御プログラム340により,ユーザ支援制御装置30は,その4種類のユーザ支援処理のうち,ユーザ支援出力端末10が現在実行できるユーザ支援処理を確認し,確認した処理のうち,最もユーザリスクが高いユーザ支援処理を選択し,ユーザ支援出力端末10に実行するよう要求する。この基準によれば,メール通知SP5が選択される。
ユーザ支援処理の選択の方法は,上記の最もリスクレベルが高いユーザ支援処理を選択する以外に,以前にユーザが最も多く利用したユーザ支援処理を選択するようにしてもよい。
同様の方法により,重要度レベル9のユーザ通知情報IM9を取得した場合は,ユーザ支援処理のリスクレベル9以下の重要度レベルのユーザ支援処理のうち,最もリスクレベルが高い詳細表示通知SP7が選択され,ユーザ支援出力端末10に実行が要求される。重要度レベル11のユーザ通知情報を取得した場合は,自動実行SP10が選択され,ユーザ支援出力端末10に実行が要求される。重要度レベル11のユーザ通知情報IM11は,例えば,非常に高い危険性を有するセキュリティホールの修復を行うアップデート通知であり,その場合は,重要度レベルがどのユーザ処理リスクレベルよりも高いので,最も高いリスクレベルの自動実行が選択される。
図7は,ユーザ支援制御装置内のユーザ支援制御プログラムのフローチャート図である。ユーザ支援制御装置のプロセッサ31がユーザ支援制御プログラム340を実行することで,以下の処理が行われる。ユーザ支援出力端末10がネットワーク20を介して接続されると,リスク管理手段341が,ユーザ支援出力端末10からユーザ支援処理のリストをそのリスクレベルと共に受信して記憶媒体346に格納する(S11)。そして,リスク管理手段341は,定期的にユーザの状況などに起因して変化するユーザ支援処理のリスクレベルの変化を監視する(S12)。図6の例では,ユーザ支援処理のリスクレベルは変化していないが,後述する例では変化している。
一方,重要度管理手段342が,外部情報通知装置40からユーザ通知情報を取得し,取得したユーザ通知情報の重要度レベルを判定する(S13)。ユーザ通知情報の重要度レベルは,ユーザが予め決めた基準や,デフォルトで定められている基準に基づいて,算出される。そして,重要度管理手段342は,ユーザ通知情報と共にその重要度レベルを記憶媒体346に格納する。ユーザ通知情報によっては,その重要度レベルが時間の経過に伴って上昇するものがある。もし,そのようなユーザ通知情報を取得している場合は,重要度管理手段342は,定期的に重要度レベルを算出し,記憶媒体346内の重要度レベルを更新する。
次に,ユーザ支援実行判定手段343が,ユーザ支援処理リストとそのリスクレベル及びユーザ通知情報とその重要度レベルに基づいて,ユーザ通知情報毎に実行可能なユーザ支援処理を判定する(S14)。この判定方法では,前述したとおり,重要度レベルとリスクレベルとを比較し,判定時におけるユーザ通知情報の重要度レベル以下のリスクレベルを有するユーザ支援処理を,実行可能なユーザ支援処理と判定する。
さらに,ユーザ支援実行確認手段344が,上記で判定した実行可能なユーザ支援処理が,現時点で実行可能か否かをユーザ支援出力端末10に問い合わせをして確認する,またはユーザ支援出力端末10の状態情報に基づいて確認してもよい(S15)。例えば,ユーザ支援出力端末10がマナーモードになっている場合は,音声による通知のユーザ支援処理はその時点では実行できないことになる。
最後に,ユーザ支援処理実行手段143が,実行可能なユーザ支援処理から,最適なユーザ支援処理を選択し,ユーザ支援出力端末10に実行要求を出力する(S16)。最適なユーザ支援処理の選択は,たとえば,最もリスクレベルが高いユーザ支援処理を選択することで行われる。または,過去にユーザが最も利用したユーザ支援処理を選択する。
図8は,ユーザ支援出力端末内の出力制御プログラム340のユーザ支援処理実行手段143のフローチャート図である。ユーザ支援出力端末10内のプロセッサが出力制御プログラム340を実行することで,ユーザ支援処理実行手段143による処理が実行される。ユーザ支援処理実行手段143により,ユーザ支援制御装置30に接続されると(S20のYES),ユーザ支援出力端末10が有するユーザ支援処理のリストをリスクレベルと共にユーザ支援制御装置30に送信する(S21)。また,ユーザ支援出力端末10の状況,例えばマナーモードなどを,ユーザ支援制御装置30に送信する(S22)。
そして,ユーザ支援制御装置30からユーザ支援処理の実行可能か否かの確認があると(S23のYES),それに対する返信(S24)を行い,ユーザ支援制御装置30から選択されたあるユーザ支援処理の実行要求があると(S25のYES),その指定されたユーザ支援処理によりユーザ通知情報の通知を実行する(S26)。
図9は,ユーザ通知情報の重要度レベルが変化する第1の例を示す図である。図9には,図6と同じように6種類のユーザ支援処理が示され,それらのリスクレベルは時間の経過にしたがって変化しない例である。一方,図9に示されたユーザ通知情報の重要度レベルIM6は,ユーザ通知情報が発生した時はレベル6であるが,時間の経過と共に上昇する例である。
このようなユーザ通知情報は,例えば,あるアプリケーションソフトウエアに関してセキュリティホールを修復するためのアップデート発生の情報である。このような情報は,時間が経過するとアップデートを実行する必要性が上昇するため,アップデートが発生した時点でのユーザにとっての重要度レベルが,時間の経過にしたがい上昇する。
このようなユーザ通知情報の場合は,図9に示されるとおり,情報発生時は その重要度レベルはレベル6であり,実行可能なユーザ支援処理のうち最もリスクレベルが高い処理はメール通知SP5であるが,情報発生後時間Tw1が経過するとレベル7まで上昇し,詳細表示通知SP7が実行可能になり,更に,情報発生後時間Tw2が経過するとレベル10まで上昇し,自動実行SP10が実行可能になる。
図9に示したようなユーザ通知情報の場合は,ユーザ支援制御装置30の重要度管理手段342が,情報発生時は,その発生したユーザ通知情報の重要度レベルを,予め設定されているセキュリティホールの危険性に応じた重要度レベルに決定し,所定時間経過するごとにその重要度レベルを引き上げるよう再度計算を行う。この計算式は,例えばユーザ通知情報に応じて予め設定されている。
図9のようにユーザ通知情報の重要度レベルを時間経過にしたがって上昇させることにより,ユーザ通知情報の発生後,ユーザ支援処理を実行するまでにユーザが待たされる時間Twが,ユーザ支援処理のリスクレベルが低いほど短く,高いほど長くなる。リスクレベルが高いほど,ユーザに十分な時間を与えて,そのユーザ支援処理を実行した時にユーザに不快感や不利益を納得させることができる。
このように,ユーザ通知情報の発生後,ユーザ支援処理を受けるまでユーザが待たされる時間Twは,ユーザ支援処理のリスクレベルが高いほど長くなる。また,図9のように重要度レベルが時間とともに単調に上昇する場合は,ユーザ通知情報が発生した時の重要度レベルが高いほど,ユーザが待たされる時間Twは短くなる。
図10は,ユーザ通知情報の重要度レベルが変化する第2の例を示す図である。図10には,図6、図9と同じように6種類のユーザ支援処理が示され,それらのリスクレベルは時間の経過にしたがって変化しない例である。一方,図10に示されたユーザ通知情報の重要度レベルIM20は,ユーザ通知情報が発生した時はレベル0であるが,時間の経過にしたがって上昇したり同じレベルに維持されたりする例である。
このように重要度レベルが上昇する例は,前述と同様に,アプリケーションソフトウエアのセキュリティホールを修復するためのアップデートが発生した旨の情報である。この場合も,図9と同様に,重要度管理手段342が重要度レベルを再計算することで,ユーザ支援実行判定手段343が選択するユーザ支援処理は,徐々にリスクレベルがより高いものに拡大していく。
図11は,ユーザ支援処理のリスクレベルが変化する第1の例を示す図である。図11では,6つのユーザ支援処理のうちメール通知SP5と,詳細表示通知SP7と,自動実行SP10が時間の経過とともに徐々にそのリスクレベルが低下している。
この例では,重要度レベル6のユーザ通知情報IM6が発生した場合に,発生時にその重要度レベル6以下の4つのユーザ支援処理のうち最もリスクレベルが高いメール通知SP5が実行された結果,リスク管理手段341が詳細表示通知SP7のリスクレベルを低下させる計算を行い,ユーザ支援実行判定手段343が時間Tw3でリスクレベルが重要度レベル6以下になった詳細表示通知SP7を実行可能なユーザ支援処理と判定する。
すなわち,ユーザにメール通知SP5によるユーザ支援処理でユーザ通知情報を通知した後であれば,詳細表示通知SP7に対するユーザの不快感などは低下すると考えられるので,リスクレベルが低下し,時間Tw3では同じ重要度レベルのユーザ通知情報でも,詳細表示通知SP7を実行することができるのである。
このように,別のユーザ支援処理が実行された結果,それよりリスクレベルが高いユーザ支援処理のリスクレベルが低下し,その後リスクレベルが低下したユーザ支援処理が実行可能になる場合がある。
図12は,ユーザ支援処理のリスクレベルが変化する第2の例を示す図である。図12では,6つのユーザ支援処理のうち,音声を出力する音声通知SP2とメール通知SP5(メール着信音が発生)のリスクレベルが,ユーザの状況,例えば会議中などに応じて,一時的に高くなるよう変化している。すなわち,時間Tw4からTw5の間はユーザの状況が会議中になっている。そのため,リスク管理手段341が,音声通知SP2とメール通知SP5のリスクレベルをそれぞれレベル2から8へ,リスク5から9へ変化させている。その結果,時間Tw4-Tw5の時間帯では,重要度レベル6のユーザ通知情報IM6に対して実行可能なユーザ支援処理から音声通知SP2とメール通知SP5とが除外される。
図13は,ユーザ通知情報の重要度レベルとユーザ支援処理のリスクレベルがそれぞれ変化する例を示す図である。図13では,ユーザ通知情報の重要度レベルが図10と同じ変化をしていて,ユーザ支援処理のリスクレベルが図12と同じ変化をしている。
図13のような例においては,ユーザ支援制御装置30がユーザ支援処理のリスクレベルをユーザの状況に応じて決定し,ユーザ通知情報の重要度レベルを情報の種類に応じて及び時間の経過に応じて決定し,リスクレベルと重要度レベルを比較して,最適なタイミングで最適なユーザ支援処理をユーザ支援出力端末10に実行させる。
たとえば,ユーザが端末内のスケジュールにある時間帯で会議中になることを登録していて,あるアプリケーションソフトウエアにセキュリティホールを修復するアップデートが発生したとする。このようなユーザ通知情報の重要度レベルは情報発生から時間が経過すると徐々に上昇する。図13において,時間Tw11で非強調表示通知SP1が実行可能になり,時間Tw12で強調表示通知SP3が実行可能になる。しかし,時間帯Tw4-Tw5の間,ユーザが会議中になり,音声通知SP2とメール通知SP5のリスクレベルが上昇し,会議終了時Tw5以降の時間Tw13になるまで音声通知もメール通知も実行できない。そして,会議終了後に音声通知とメール通知のリスクレベルが通常状態に低下してそれらが実行可能になる。
また,ユーザが会議終了後にアップデートの実行を忘れていると,アップデート情報のセキュリティレベルが時間とともに上昇し,時間Tw14で詳細表示通知SP7が実行可能になる。その後さらにアップデート情報のセキュリティレベルが上昇し,時間Tw15の後,アップデートを自動実行するユーザ支援処理がユーザ支援出力端末10により実行される。
以上の通り,本実施の形態によれば,ユーザ通知情報に対するユーザ支援処理を全てのユーザに対して画一的に行うのではなく,ユーザの好みやユーザの状況に応じて最適なタイミングで最適なユーザ支援処理を選択して実行することができる。
以上の実施の形態をまとめると,次の付記のとおりである。
(付記1)
ユーザ支援処理を制御するユーザ支援制御処理をコンピュータに実行させるユーザ支援制御プログラムであって,
前記ユーザ支援制御処理は,
ユーザへの情報通知に関するユーザ支援処理を出力するユーザ支援出力端末から,実行可能なユーザ支援処理と,各ユーザ支援処理に対してユーザが受ける不利益を示すユーザ支援処理のリスクレベルとを取得するユーザ支援処理取得工程と,
ユーザに通知すべきユーザ通知情報を取得するユーザ通知情報取得工程と,
前記ユーザ支援処理のリスクレベルと前記ユーザ通知情報の重要度のレベルを比較し,前記ユーザ通知情報の重要度レベル以下の前記ユーザ支援処理リスクレベルを有するユーザ支援処理を実行するよう,前記ユーザ支援出力端末に要求するユーザ支援処理実行要求工程とを有するユーザ支援制御プログラム。
(付記2)
付記1において,
前記ユーザ支援処理リスクレベルと,前記ユーザ通知情報の重要度レベルとは,共通の尺度の値を有するユーザ支援制御プログラム。
(付記3)
付記1において,
さらに,前記取得したユーザ通知情報の重要度レベルを,時間の経過に伴って上昇するように算出する重要度算出工程を有し,
前記ユーザ支援処理実行要求工程では,前記算出した重要度レベルを比較対象とするユーザ支援制御プログラム。
(付記4)
付記1において,
さらに,前記取得したユーザ通知情報の重要度レベルを,ユーザ通知情報に含まれるセキュリティの重要度と,ユーザ通知情報の緊急度,及びユーザ通知情報のユーザ興味度のいずれかに基づいて算出する重要度算出工程を有し,
前記ユーザ支援処理実行要求工程では,前記算出した重要度レベルを比較対象とするユーザ支援制御プログラム。
(付記5)
付記4において,
前記重要度算出工程において,前記ユーザ通知情報がアプリケーションのセキュリティホール修復を行うアップデートの通知情報の場合には,前記アップデートの発生から時間が経過するにしたがって,前記ユーザ情報に含まれるセキュリティの重要度が上昇するユーザ支援制御プログラム。
(付記6)
付記1において,
更に,前記取得したユーザ支援処理リスクレベルを,ユーザの状況を有するユーザ状況情報に基づいて変更するユーザ支援処理リスク管理工程を有し,
前記ユーザ支援処理実行要求工程では,前記変更したユーザ支援処理リスクレベルを比較対象とするユーザ支援制御プログラム。
(付記7)
付記1において,
更に,前記取得したユーザ支援処理リスクレベルを,既に実行したユーザ支援処理に応じて,低下させるユーザ支援処理リスク管理工程を有し,
前記ユーザ支援処理実行要求工程では,前記算出したユーザ支援処理リスクレベルを比較対象とするユーザ支援制御プログラム。
(付記8)
ユーザ支援処理を制御するユーザ支援制御装置であって,
ユーザへの情報通知に関するユーザ支援処理を出力するユーザ支援出力端末から,実行可能なユーザ支援処理と,各ユーザ支援処理に対してユーザが受ける不利益を示すユーザ支援処理のリスクレベルとを取得するユーザ支援処理取得手段と,
ユーザに通知すべきユーザ通知情報を取得するユーザ通知情報取得手段と,
前記ユーザ支援処理のリスクレベルと前記ユーザ通知情報の重要度のレベルを比較し,前記ユーザ通知情報の重要度レベル以下の前記ユーザ支援処理リスクレベルを有するユーザ支援処理を実行するよう,前記ユーザ支援出力端末に要求するユーザ支援処理実行要求手段とを有するユーザ支援制御装置。
(付記9)
ユーザ支援処理を制御するユーザ支援制御処理方法であって,
ユーザへの情報通知に関するユーザ支援処理を出力するユーザ支援出力端末から,実行可能なユーザ支援処理と,各ユーザ支援処理に対してユーザが受ける不利益を示すユーザ支援処理のリスクレベルとを取得するユーザ支援処理取得工程と,
ユーザに通知すべきユーザ通知情報を取得するユーザ通知情報取得工程と,
前記ユーザ支援処理のリスクレベルと前記ユーザ通知情報の重要度のレベルを比較し,前記ユーザ通知情報の重要度レベル以下の前記ユーザ支援処理リスクレベルを有するユーザ支援処理を実行するよう,前記ユーザ支援出力端末に要求するユーザ支援処理実行要求工程とを有するユーザ支援制御方法。
(付記10)
ユーザ支援処理を制御するユーザ支援システムであって,
ユーザへの情報通知に関するユーザ支援処理を出力するユーザ支援出力端末と,
前記ユーザ支援出力端末にユーザ支援処理を実行させるユーザ支援制御装置とを有し,
前記ユーザ支援制御装置は,
ユーザへの情報通知に関するユーザ支援処理を出力するユーザ支援出力端末から,実行可能なユーザ支援処理と,各ユーザ支援処理に対してユーザが受ける不利益を示すユーザ支援処理のリスクレベルとを取得するユーザ支援処理取得手段と,
ユーザに通知すべきユーザ通知情報を取得するユーザ通知情報取得手段と,
前記ユーザ支援処理のリスクレベルと前記ユーザ通知情報の重要度のレベルを比較し,前記ユーザ通知情報の重要度レベル以下の前記ユーザ支援処理リスクレベルを有するユーザ支援処理を実行するよう,前記ユーザ支援出力端末に要求するユーザ支援処理実行要求手段とを有するユーザ支援システム。
10:ユーザ支援出力端末
14:出力制御プログラムを格納する記憶媒体
20:ネットワーク
30:ユーザ支援制御装置
34:ユーザ支援制御プログラムを格納する記憶媒体

Claims (11)

  1. ユーザ支援処理を制御するユーザ支援制御処理をコンピュータに実行させるユーザ支援制御プログラムであって,
    前記ユーザ支援制御処理は,
    ユーザへの情報通知に関するユーザ支援処理を出力するユーザ支援出力端末から,実行可能な複数のユーザ支援処理と,各ユーザ支援処理に対してユーザが受ける不利益を示すユーザ支援処理のリスクレベルとを取得するユーザ支援処理取得工程と,
    ユーザに通知すべきユーザ通知情報を取得するユーザ通知情報取得工程と,
    前記複数のユーザ支援処理のリスクレベルそれぞれと前記ユーザ通知情報の重要度のレベルを比較し,前記ユーザ通知情報の重要度レベル以下の前記ユーザ支援処理リスクレベルを有する複数のユーザ支援処理から選択したユーザ支援処理を実行するよう,前記ユーザ支援出力端末に要求するユーザ支援処理実行要求工程とを有するユーザ支援制御プログラム。
  2. 前記ユーザ支援処理実行要求工程では,前記ユーザ通知情報の重要度レベル以下の前記ユーザ支援処理のリスクレベルを有する複数のユーザ支援処理のうち,最もリスクレベルが高いユーザ支援処理を選択する,請求項1に記載のユーザ支援制御プログラム。
  3. 前記ユーザ支援処理実行要求工程では,前記ユーザ通知情報の重要度レベル以下の前記ユーザ支援処理のリスクレベルを有する複数のユーザ支援処理のうち,過去にユーザが最も利用したユーザ支援処理を選択する,請求項1に記載のユーザ支援制御プログラム。
  4. 請求項1において,
    前記ユーザ支援処理リスクレベルと,前記ユーザ通知情報の重要度レベルとは,共通の尺度の値を有するユーザ支援制御プログラム。
  5. 請求項1において,
    さらに,前記取得したユーザ通知情報の重要度レベルを,時間の経過に伴って上昇するように算出する重要度算出工程を有し,
    前記ユーザ支援処理実行要求工程では,前記算出した重要度レベルを比較対象とするユーザ支援制御プログラム。
  6. 請求項1において,
    さらに,前記取得したユーザ通知情報の重要度レベルを,ユーザ通知情報に含まれるセキュリティの重要度と,ユーザ通知情報の緊急度,及びユーザ通知情報のユーザ興味度のいずれかに基づいて算出する重要度算出工程を有し,
    前記ユーザ支援処理実行要求工程では,前記算出した重要度レベルを比較対象とするユーザ支援制御プログラム。
  7. 請求項において,
    前記重要度算出工程において,前記ユーザ通知情報がアプリケーションのセキュリティホール修復を行うアップデートの通知情報の場合には,前記アップデートの発生から時間が経過するにしたがって,前記ユーザ通知情報に含まれるセキュリティの重要度が上昇するユーザ支援制御プログラム。
  8. 請求項1において,
    更に,前記取得したユーザ支援処理リスクレベルを,ユーザの状況を有するユーザ状況情報に基づいて変更するユーザ支援処理リスク管理工程を有し,
    前記ユーザ支援処理実行要求工程では,前記変更したユーザ支援処理リスクレベルを比較対象とするユーザ支援制御プログラム。
  9. ユーザ支援処理を制御するユーザ支援制御装置であって,
    ユーザへの情報通知に関するユーザ支援処理を出力するユーザ支援出力端末から,実行可能な複数のユーザ支援処理と,各ユーザ支援処理に対してユーザが受ける不利益を示すユーザ支援処理のリスクレベルとを取得するユーザ支援処理取得手段と,
    ユーザに通知すべきユーザ通知情報を取得するユーザ通知情報取得手段と,
    前記複数のユーザ支援処理のリスクレベルそれぞれと前記ユーザ通知情報の重要度のレベルを比較し,前記ユーザ通知情報の重要度レベル以下の前記ユーザ支援処理リスクレベルを有する複数のユーザ支援処理から選択したユーザ支援処理を実行するよう,前記ユーザ支援出力端末に要求するユーザ支援処理実行要求手段とを有するユーザ支援制御装置。
  10. ユーザ支援処理を制御するユーザ支援制御処理方法であって,
    ユーザへの情報通知に関するユーザ支援処理を出力するユーザ支援出力端末から,実行可能な複数のユーザ支援処理と,各ユーザ支援処理に対してユーザが受ける不利益を示すユーザ支援処理のリスクレベルとを取得するユーザ支援処理取得工程と,
    ユーザに通知すべきユーザ通知情報を取得するユーザ通知情報取得工程と,
    前記複数のユーザ支援処理のリスクレベルそれぞれと前記ユーザ通知情報の重要度のレベルを比較し,前記ユーザ通知情報の重要度レベル以下の前記ユーザ支援処理リスクレベルを有する複数のユーザ支援処理から選択したユーザ支援処理を実行するよう,前記ユーザ支援出力端末に要求するユーザ支援処理実行要求工程とを有するユーザ支援制御方法。
  11. ユーザ支援処理を制御するユーザ支援システムであって,
    ユーザへの情報通知に関するユーザ支援処理を出力するユーザ支援出力端末と,
    前記ユーザ支援出力端末にユーザ支援処理を実行させるユーザ支援制御装置とを有し,
    前記ユーザ支援制御装置は,
    ユーザへの情報通知に関するユーザ支援処理を出力するユーザ支援出力端末から,実行可能な複数のユーザ支援処理と,各ユーザ支援処理に対してユーザが受ける不利益を示すユーザ支援処理のリスクレベルとを取得するユーザ支援処理取得手段と,
    ユーザに通知すべきユーザ通知情報を取得するユーザ通知情報取得手段と,
    前記複数のユーザ支援処理のリスクレベルそれぞれと前記ユーザ通知情報の重要度のレベルを比較し,前記ユーザ通知情報の重要度レベル以下の前記ユーザ支援処理リスクレベルを有する複数のユーザ支援処理から選択したユーザ支援処理を実行するよう,前記ユーザ支援出力端末に要求するユーザ支援処理実行要求手段とを有するユーザ支援システム。
JP2013068887A 2013-03-28 2013-03-28 ユーザ支援制御プログラム,ユーザ支援制御装置,ユーザ支援システム,及びユーザ支援方法 Expired - Fee Related JP6149458B2 (ja)

Priority Applications (1)

Application Number Priority Date Filing Date Title
JP2013068887A JP6149458B2 (ja) 2013-03-28 2013-03-28 ユーザ支援制御プログラム,ユーザ支援制御装置,ユーザ支援システム,及びユーザ支援方法

Applications Claiming Priority (1)

Application Number Priority Date Filing Date Title
JP2013068887A JP6149458B2 (ja) 2013-03-28 2013-03-28 ユーザ支援制御プログラム,ユーザ支援制御装置,ユーザ支援システム,及びユーザ支援方法

Publications (2)

Publication Number Publication Date
JP2014191751A JP2014191751A (ja) 2014-10-06
JP6149458B2 true JP6149458B2 (ja) 2017-06-21

Family

ID=51837896

Family Applications (1)

Application Number Title Priority Date Filing Date
JP2013068887A Expired - Fee Related JP6149458B2 (ja) 2013-03-28 2013-03-28 ユーザ支援制御プログラム,ユーザ支援制御装置,ユーザ支援システム,及びユーザ支援方法

Country Status (1)

Country Link
JP (1) JP6149458B2 (ja)

Families Citing this family (2)

* Cited by examiner, † Cited by third party
Publication number Priority date Publication date Assignee Title
JP6798148B2 (ja) * 2016-05-25 2020-12-09 ブラザー工業株式会社 機能実行プログラム及び情報処理装置
JP6882662B2 (ja) * 2016-11-29 2021-06-02 富士通株式会社 マイグレーションプログラム、情報処理装置およびマイグレーション方法

Family Cites Families (5)

* Cited by examiner, † Cited by third party
Publication number Priority date Publication date Assignee Title
JPH04280535A (ja) * 1991-03-08 1992-10-06 Matsushita Electric Ind Co Ltd 電子メール受信通知装置
JPH08241256A (ja) * 1995-03-06 1996-09-17 Canon Inc 情報処理装置及びその方法
JPH11220490A (ja) * 1998-02-02 1999-08-10 Fuji Xerox Co Ltd マルチメディア情報配信装置
JP2003256370A (ja) * 2002-02-26 2003-09-12 Fumiaki Yamazaki セキュリティ情報配信方法、および、セキュリティ情報配信サーバ
JP2009116637A (ja) * 2007-11-07 2009-05-28 Hitachi Ltd コンテンツ配信システムにおける表示するコンテンツの決定方法と表示方法

Also Published As

Publication number Publication date
JP2014191751A (ja) 2014-10-06

Similar Documents

Publication Publication Date Title
JP6000191B2 (ja) 通知に応答するためのコンテキストベースのオプションの発生
US8615221B1 (en) System and method for selection of notification techniques in an electronic device
CN103460769B (zh) 自适应通知
US9060050B1 (en) System and method for determining availability statuses for users
EP3909230B1 (en) Semi-delegated calling by an automated assistant on behalf of human participant
US9565150B2 (en) Method, system, and computer readable storage device for managing message delivery based on context of a recipient and message content
EP2639695A2 (en) Apparatus and method for centralized application notifications
US7769154B1 (en) Aggregated perceived presence
WO2015070685A1 (zh) 一种主题显示方法以及相关装置
JP7668213B2 (ja) 通知スロットリング
CN103890753A (zh) 适配装置中的语言使用
CN110771186B (zh) 用于基于通知的源来控制对于通知的提供的系统、方法和装置
US9761115B2 (en) Method and apparatus for selectively configuring alarms prior to commencing silent mode of operation
JP6149458B2 (ja) ユーザ支援制御プログラム,ユーザ支援制御装置,ユーザ支援システム,及びユーザ支援方法
WO2017004227A1 (en) Methods and apparatuses for connecting consumers to local service providers
US8433774B2 (en) Presence capabilities and preferences
JP2019036317A (ja) オブジェクト表示プログラム、情報処理装置、及びオブジェクト表示方法
JP6578263B2 (ja) 通信システム、情報提供装置及び情報提供方法
JP6326546B1 (ja) 情報処理装置、情報処理方法及びプログラム
JP7488294B2 (ja) リマインダー装置、リマインダー方法、及びプログラム
KR20150010212A (ko) 자동 문자 전송 방법 및 장치
CN112104788B (zh) 一种终端设备及电话界面的背景的设置方法
JP6038367B1 (ja) 連絡支援システム、連絡支援方法、及び連絡支援プログラム
CN104778961B (zh) 一种语音处理的方法及播放设备
EP2787708A1 (en) Method and system for switching between collaborative applications

Legal Events

Date Code Title Description
A621 Written request for application examination

Free format text: JAPANESE INTERMEDIATE CODE: A621

Effective date: 20151204

A977 Report on retrieval

Free format text: JAPANESE INTERMEDIATE CODE: A971007

Effective date: 20161012

A131 Notification of reasons for refusal

Free format text: JAPANESE INTERMEDIATE CODE: A131

Effective date: 20161018

A521 Request for written amendment filed

Free format text: JAPANESE INTERMEDIATE CODE: A523

Effective date: 20161219

TRDD Decision of grant or rejection written
A01 Written decision to grant a patent or to grant a registration (utility model)

Free format text: JAPANESE INTERMEDIATE CODE: A01

Effective date: 20170425

A61 First payment of annual fees (during grant procedure)

Free format text: JAPANESE INTERMEDIATE CODE: A61

Effective date: 20170508

R150 Certificate of patent or registration of utility model

Ref document number: 6149458

Country of ref document: JP

Free format text: JAPANESE INTERMEDIATE CODE: R150

LAPS Cancellation because of no payment of annual fees