JP6148917B2 - 照明装置 - Google Patents
照明装置 Download PDFInfo
- Publication number
- JP6148917B2 JP6148917B2 JP2013140073A JP2013140073A JP6148917B2 JP 6148917 B2 JP6148917 B2 JP 6148917B2 JP 2013140073 A JP2013140073 A JP 2013140073A JP 2013140073 A JP2013140073 A JP 2013140073A JP 6148917 B2 JP6148917 B2 JP 6148917B2
- Authority
- JP
- Japan
- Prior art keywords
- light
- light source
- light emitting
- emitting module
- focal point
- Prior art date
- Legal status (The legal status is an assumption and is not a legal conclusion. Google has not performed a legal analysis and makes no representation as to the accuracy of the status listed.)
- Active
Links
- OAICVXFJPJFONN-UHFFFAOYSA-N Phosphorus Chemical compound [P] OAICVXFJPJFONN-UHFFFAOYSA-N 0.000 claims description 48
- 230000007246 mechanism Effects 0.000 claims description 36
- 239000004065 semiconductor Substances 0.000 claims description 30
- 230000003287 optical effect Effects 0.000 claims description 29
- 238000007789 sealing Methods 0.000 claims description 19
- 238000005286 illumination Methods 0.000 claims description 17
- 229920005989 resin Polymers 0.000 claims description 13
- 239000011347 resin Substances 0.000 claims description 13
- 230000017525 heat dissipation Effects 0.000 description 24
- 230000005540 biological transmission Effects 0.000 description 16
- 239000000758 substrate Substances 0.000 description 14
- 238000010586 diagram Methods 0.000 description 13
- 229910052712 strontium Inorganic materials 0.000 description 9
- 229910052791 calcium Inorganic materials 0.000 description 7
- 238000000034 method Methods 0.000 description 7
- 230000004048 modification Effects 0.000 description 7
- 238000012986 modification Methods 0.000 description 7
- 230000005855 radiation Effects 0.000 description 7
- 229910052788 barium Inorganic materials 0.000 description 6
- 238000000295 emission spectrum Methods 0.000 description 6
- 229910052782 aluminium Inorganic materials 0.000 description 5
- 239000010949 copper Substances 0.000 description 5
- 229910052749 magnesium Inorganic materials 0.000 description 5
- 239000011777 magnesium Substances 0.000 description 5
- -1 polytetrafluoroethylene Polymers 0.000 description 5
- 229910052725 zinc Inorganic materials 0.000 description 5
- XEEYBQQBJWHFJM-UHFFFAOYSA-N Iron Chemical compound [Fe] XEEYBQQBJWHFJM-UHFFFAOYSA-N 0.000 description 4
- PXHVJJICTQNCMI-UHFFFAOYSA-N Nickel Chemical compound [Ni] PXHVJJICTQNCMI-UHFFFAOYSA-N 0.000 description 4
- 229910052802 copper Inorganic materials 0.000 description 4
- 229910052736 halogen Inorganic materials 0.000 description 4
- 150000002367 halogens Chemical class 0.000 description 4
- 229910052751 metal Inorganic materials 0.000 description 4
- 239000002184 metal Substances 0.000 description 4
- RYGMFSIKBFXOCR-UHFFFAOYSA-N Copper Chemical compound [Cu] RYGMFSIKBFXOCR-UHFFFAOYSA-N 0.000 description 3
- XAGFODPZIPBFFR-UHFFFAOYSA-N aluminium Chemical compound [Al] XAGFODPZIPBFFR-UHFFFAOYSA-N 0.000 description 3
- 230000000694 effects Effects 0.000 description 3
- 230000004313 glare Effects 0.000 description 3
- 229920001296 polysiloxane Polymers 0.000 description 3
- 239000000843 powder Substances 0.000 description 3
- 229910052761 rare earth metal Inorganic materials 0.000 description 3
- 229920002050 silicone resin Polymers 0.000 description 3
- 229910052709 silver Inorganic materials 0.000 description 3
- 239000000126 substance Substances 0.000 description 3
- 239000004593 Epoxy Substances 0.000 description 2
- 229920000106 Liquid crystal polymer Polymers 0.000 description 2
- 239000004977 Liquid-crystal polymers (LCPs) Substances 0.000 description 2
- FYYHWMGAXLPEAU-UHFFFAOYSA-N Magnesium Chemical compound [Mg] FYYHWMGAXLPEAU-UHFFFAOYSA-N 0.000 description 2
- 229910017639 MgSi Inorganic materials 0.000 description 2
- 239000004696 Poly ether ether ketone Substances 0.000 description 2
- 239000004962 Polyamide-imide Substances 0.000 description 2
- 239000004695 Polyether sulfone Substances 0.000 description 2
- 239000004734 Polyphenylene sulfide Substances 0.000 description 2
- 229910004283 SiO 4 Inorganic materials 0.000 description 2
- VYPSYNLAJGMNEJ-UHFFFAOYSA-N Silicium dioxide Chemical compound O=[Si]=O VYPSYNLAJGMNEJ-UHFFFAOYSA-N 0.000 description 2
- GWEVSGVZZGPLCZ-UHFFFAOYSA-N Titan oxide Chemical compound O=[Ti]=O GWEVSGVZZGPLCZ-UHFFFAOYSA-N 0.000 description 2
- RTAQQCXQSZGOHL-UHFFFAOYSA-N Titanium Chemical compound [Ti] RTAQQCXQSZGOHL-UHFFFAOYSA-N 0.000 description 2
- NIXOWILDQLNWCW-UHFFFAOYSA-N acrylic acid group Chemical group C(C=C)(=O)O NIXOWILDQLNWCW-UHFFFAOYSA-N 0.000 description 2
- 230000008859 change Effects 0.000 description 2
- 239000011248 coating agent Substances 0.000 description 2
- 238000000576 coating method Methods 0.000 description 2
- 230000000052 comparative effect Effects 0.000 description 2
- 239000000470 constituent Substances 0.000 description 2
- 238000009792 diffusion process Methods 0.000 description 2
- 239000000835 fiber Substances 0.000 description 2
- 239000000945 filler Substances 0.000 description 2
- 239000011521 glass Substances 0.000 description 2
- 229910052742 iron Inorganic materials 0.000 description 2
- 239000000463 material Substances 0.000 description 2
- 229910052759 nickel Inorganic materials 0.000 description 2
- 229920001643 poly(ether ketone) Polymers 0.000 description 2
- 229920002492 poly(sulfone) Polymers 0.000 description 2
- 229920002037 poly(vinyl butyral) polymer Polymers 0.000 description 2
- 229920002312 polyamide-imide Polymers 0.000 description 2
- 229920001230 polyarylate Polymers 0.000 description 2
- 229920001707 polybutylene terephthalate Polymers 0.000 description 2
- 239000004417 polycarbonate Substances 0.000 description 2
- 229920006393 polyether sulfone Polymers 0.000 description 2
- 229920002530 polyetherether ketone Polymers 0.000 description 2
- 229920000139 polyethylene terephthalate Polymers 0.000 description 2
- 239000005020 polyethylene terephthalate Substances 0.000 description 2
- 229920006324 polyoxymethylene Polymers 0.000 description 2
- 229920001955 polyphenylene ether Polymers 0.000 description 2
- 229920000069 polyphenylene sulfide Polymers 0.000 description 2
- 229920001343 polytetrafluoroethylene Polymers 0.000 description 2
- 239000004810 polytetrafluoroethylene Substances 0.000 description 2
- 239000004332 silver Substances 0.000 description 2
- 229910001220 stainless steel Inorganic materials 0.000 description 2
- 239000010935 stainless steel Substances 0.000 description 2
- 239000010936 titanium Substances 0.000 description 2
- 229910052719 titanium Inorganic materials 0.000 description 2
- 238000007740 vapor deposition Methods 0.000 description 2
- 230000002087 whitening effect Effects 0.000 description 2
- 239000004641 Diallyl-phthalate Substances 0.000 description 1
- 229910052693 Europium Inorganic materials 0.000 description 1
- YCKRFDGAMUMZLT-UHFFFAOYSA-N Fluorine atom Chemical compound [F] YCKRFDGAMUMZLT-UHFFFAOYSA-N 0.000 description 1
- 229910005793 GeO 2 Inorganic materials 0.000 description 1
- 229920000877 Melamine resin Polymers 0.000 description 1
- 229910020068 MgAl Inorganic materials 0.000 description 1
- 229930182556 Polyacetal Natural products 0.000 description 1
- 239000004952 Polyamide Substances 0.000 description 1
- 239000004698 Polyethylene Substances 0.000 description 1
- 239000004642 Polyimide Substances 0.000 description 1
- CDBYLPFSWZWCQE-UHFFFAOYSA-L Sodium Carbonate Chemical compound [Na+].[Na+].[O-]C([O-])=O CDBYLPFSWZWCQE-UHFFFAOYSA-L 0.000 description 1
- 229910010413 TiO 2 Inorganic materials 0.000 description 1
- PNEYBMLMFCGWSK-UHFFFAOYSA-N aluminium oxide Inorganic materials [O-2].[O-2].[O-2].[Al+3].[Al+3] PNEYBMLMFCGWSK-UHFFFAOYSA-N 0.000 description 1
- 229910000323 aluminium silicate Inorganic materials 0.000 description 1
- 229920003180 amino resin Polymers 0.000 description 1
- 230000008901 benefit Effects 0.000 description 1
- QUDWYFHPNIMBFC-UHFFFAOYSA-N bis(prop-2-enyl) benzene-1,2-dicarboxylate Chemical compound C=CCOC(=O)C1=CC=CC=C1C(=O)OCC=C QUDWYFHPNIMBFC-UHFFFAOYSA-N 0.000 description 1
- 229910052793 cadmium Inorganic materials 0.000 description 1
- 238000005266 casting Methods 0.000 description 1
- 239000000919 ceramic Substances 0.000 description 1
- 229910052804 chromium Inorganic materials 0.000 description 1
- 238000001816 cooling Methods 0.000 description 1
- PMHQVHHXPFUNSP-UHFFFAOYSA-M copper(1+);methylsulfanylmethane;bromide Chemical compound Br[Cu].CSC PMHQVHHXPFUNSP-UHFFFAOYSA-M 0.000 description 1
- 239000006071 cream Substances 0.000 description 1
- 230000007423 decrease Effects 0.000 description 1
- 230000002950 deficient Effects 0.000 description 1
- 238000013461 design Methods 0.000 description 1
- 125000000118 dimethyl group Chemical group [H]C([H])([H])* 0.000 description 1
- HNPSIPDUKPIQMN-UHFFFAOYSA-N dioxosilane;oxo(oxoalumanyloxy)alumane Chemical compound O=[Si]=O.O=[Al]O[Al]=O HNPSIPDUKPIQMN-UHFFFAOYSA-N 0.000 description 1
- 238000007598 dipping method Methods 0.000 description 1
- 238000010292 electrical insulation Methods 0.000 description 1
- 239000003822 epoxy resin Substances 0.000 description 1
- 229910052731 fluorine Inorganic materials 0.000 description 1
- 239000011737 fluorine Substances 0.000 description 1
- 229920002313 fluoropolymer Polymers 0.000 description 1
- 239000004811 fluoropolymer Substances 0.000 description 1
- 230000004907 flux Effects 0.000 description 1
- 239000007849 furan resin Substances 0.000 description 1
- 230000014509 gene expression Effects 0.000 description 1
- 230000006872 improvement Effects 0.000 description 1
- 238000001746 injection moulding Methods 0.000 description 1
- 239000003562 lightweight material Substances 0.000 description 1
- 229910052748 manganese Inorganic materials 0.000 description 1
- 239000011159 matrix material Substances 0.000 description 1
- JDSHMPZPIAZGSV-UHFFFAOYSA-N melamine Chemical compound NC1=NC(N)=NC(N)=N1 JDSHMPZPIAZGSV-UHFFFAOYSA-N 0.000 description 1
- 150000002739 metals Chemical class 0.000 description 1
- 229910052750 molybdenum Inorganic materials 0.000 description 1
- 238000000465 moulding Methods 0.000 description 1
- 239000003973 paint Substances 0.000 description 1
- 239000002245 particle Substances 0.000 description 1
- 230000005043 peripheral vision Effects 0.000 description 1
- 239000005011 phenolic resin Substances 0.000 description 1
- 229920006287 phenoxy resin Polymers 0.000 description 1
- 239000013034 phenoxy resin Substances 0.000 description 1
- 125000001997 phenyl group Chemical group [H]C1=C([H])C([H])=C(*)C([H])=C1[H] 0.000 description 1
- 229920003023 plastic Polymers 0.000 description 1
- 239000004033 plastic Substances 0.000 description 1
- 238000007747 plating Methods 0.000 description 1
- 229920002647 polyamide Polymers 0.000 description 1
- 229920000515 polycarbonate Polymers 0.000 description 1
- 229920000647 polyepoxide Polymers 0.000 description 1
- 229920000728 polyester Polymers 0.000 description 1
- 229920000573 polyethylene Polymers 0.000 description 1
- 229920001721 polyimide Polymers 0.000 description 1
- 229920002635 polyurethane Polymers 0.000 description 1
- 239000004814 polyurethane Substances 0.000 description 1
- 229910052700 potassium Inorganic materials 0.000 description 1
- 230000008569 process Effects 0.000 description 1
- 238000012545 processing Methods 0.000 description 1
- 230000009103 reabsorption Effects 0.000 description 1
- 238000009877 rendering Methods 0.000 description 1
- 238000007650 screen-printing Methods 0.000 description 1
- 239000000377 silicon dioxide Substances 0.000 description 1
- 238000005549 size reduction Methods 0.000 description 1
- 238000005507 spraying Methods 0.000 description 1
- 229910052716 thallium Inorganic materials 0.000 description 1
- 229920002803 thermoplastic polyurethane Polymers 0.000 description 1
- 238000001721 transfer moulding Methods 0.000 description 1
- 238000010023 transfer printing Methods 0.000 description 1
- 229910052721 tungsten Inorganic materials 0.000 description 1
- 229920006337 unsaturated polyester resin Polymers 0.000 description 1
- 229910052720 vanadium Inorganic materials 0.000 description 1
- 229920001567 vinyl ester resin Polymers 0.000 description 1
- XLYOFNOQVPJJNP-UHFFFAOYSA-N water Substances O XLYOFNOQVPJJNP-UHFFFAOYSA-N 0.000 description 1
- 239000013585 weight reducing agent Substances 0.000 description 1
Images
Landscapes
- Non-Portable Lighting Devices Or Systems Thereof (AREA)
Description
(照明装置)
はじめに、照明装置の概略構成について説明する。図1は、本実施の形態に係る照明装置の概略構成を示す断面図である。
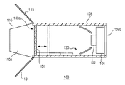
筐体108は、断面が多角形または円形の筒状の部材であり、熱伝導性が良好で軽量な材質、例えば、アルミニウム、マグネシウム、チタン、鉄、銅、ステンレス、銀、ニッケルなどの金属材料や、熱伝導率の良い充填材を混合した高熱伝導性プラスチック材料、例えば、ポリアミド、PTFE(ポリテトラフルオロエチレン)、POM(ポリアセタールコポリマー)、PC(ポリカーボネート)、PI(ポリイミド)、PPE(ポリフェニレンエーテル)、PSU(ポリスルホン)、PPS(ポリフェニレンサルファイド)、PBT(ポリブチレンテレフタレート)、PAI(ポリアミドイミド)、PAR(ポリアリレート)、PES(ポリエーテルスルホン)、PEEK(ポリエーテルエーテルケトン)、PEI(ポリエーテルイミド)、LCP(液晶ポリマー)、PEK(ポリエーテルケトン)、エポキシ樹脂、ウレタン樹脂、フェノール樹脂、フェノールアラルキル樹脂、フラン樹脂、アミノ樹脂、不飽和ポリエステル樹脂、ジアリルフタレート樹脂、ADC樹脂、ビニルエステル樹脂、フェノキシ樹脂、シリコーン樹脂、などで構成されている。
熱伝導率の良い充填材は、例えば、アルミニウム、マグネシウム、チタン、鉄、銅、ステンレス、銀、ニッケルなどの金属粉や金属繊維、またはこれら金属をメッキや蒸着などの製膜した粒子、Al2O3、MgO、BN、AlN、SiC、TiO2、YAG、Cなどの粉体や繊維、などである。
また、筐体108は、光透過部材104を透過した光が通過する前側開口108aと、放熱機構106からの熱を外部へ放出するための放熱開口108bとが形成されている。なお、放熱機構106からの熱をより効率的に外部に放出するため、放熱機構106が筐体108に収まらない構成、または、通風性の高いメッシュで囲まれた構成をとってもよい。
図2は、本実施の形態に係る照明装置に用いられる光透過部材の断面図である。図2に示す光透過部材104は、のこぎり状の断面を有するフレネルレンズである。また、光透過部材104は、発光モジュール102との相対位置が変化するように、筐体108に対してスライドするように設けられている。
放熱機構106は、発光モジュール102が発した熱を吸収し、外部へ効率よく排出できるように構成されている。放熱機構106としては、ヒートシンクや放熱ファン等が挙げられる。また、ヒートシンクや放熱ファンに加えて、あるいは代えて、発光モジュール102が直接搭載される搭載部にペルチェ素子やヒートパイプを設けてもよい。より好ましくは、ペルチェ素子と、少なくとも一部がCuからなる大型ヒートシンクと、大型の放熱ファンとを組み合わせた放熱機構であってもよい。効率の良い放熱機構とすることで、発光モジュールの温度が下がり、発光モジュールの発光効率が高まるので、消費電力を抑えることができる。また、放熱機構の小型化が可能となる。
次に、発光モジュールについて説明する。例えば、照明装置で採用されているLEDモジュールの白色化方式が青色LEDとYAG黄色蛍光体との組合せの場合、青色LEDから青色光が鉛直方向に出射されるが、それに対し青色光を吸収した蛍光体は、ランバーシアンに発光する。図3は、青色LEDとYAG黄色蛍光体とで構成された発光モジュールの発光モデルを模式的に示した図である。図3に示す発光モジュール(以下、比較例に係る発光モジュールと称する場合がある。)のように、ドーム直上は青白い光が、ドームの外周付近は黄色光が出射され、照射方向によって発光色が変動する。
半導体発光素子112は、例えば、紫外線や短波長可視光を発するLEDチップである。例えば、ピーク波長が380〜480nmのLEDチップ等が挙げられる。好ましくは、ピーク波長が380〜430nmの紫色LEDチップがよい。紫外線や短波長可視光を発する発光素子であれば、LED以外であってもよく、LD素子やEL素子であってもよい。また、発光モジュール102に用いる半導体発光素子112は、光量や照射範囲を考慮して複数であってもよい。
例えば、半導体発光素子112が紫色LEDチップの場合、基本的には、黄色蛍光体と青色蛍光体とを組み合わせるが、照射光に必要な色温度や演色性を考慮して、適宜赤色や緑色の蛍光体を組み合せてもよい。各色の蛍光体は、全て封止部材120に分散させてもよい。あるいは、赤色および緑色の蛍光体を半導体発光素子112の直上に配置し、黄色蛍光体116および青色蛍光体118を封止部材120に分散させてもよい。なお、半導体発光素子112として青色LEDチップを用いる場合、青色蛍光体を用いない、あるいは、青色蛍光体の量を相対的に少なくしてもよい。更に、青色以外の蛍光体をチップから近い位置に配置し、青色蛍光体を最上部に配置すると非点灯時の見栄えが良くなる。
封止部材120は、光を透過させる透明な部材であり、例えば、ジメチルシリコーン系の樹脂が用いられる。これ以外には、フェニルシリコーン・アクリルシリコーン等のシリコーン系、ゾルゲル(シリカ、チタニア等)系、エポキシ系、アクリル系、ポリウレタン系、ポリエステル系、PET(ポリエチレンテレフタレート)系、フッ素ポリマー系、メラミン系、PVB(ポリビニルブチラール)系、ガラス系(ホウケイ酸系、アルミノシリケート系、ソーダボロシリケート系等)等を封止部材120として用いてもよい。また、蛍光体を含有する封止部材の厚みは、0.1〜30mm程度が好ましい。また、封止部材120に分散される蛍光体濃度は、0.1〜20vol%程度が好ましい。
素子搭載用基板114としては、金属基板(アルミ基板、銅基板等)、セラミック基板(アルミナ、窒化アルミ等)、樹脂基板(ガラスエポキシ基板等)、リードフレーム、樹脂枠と一体となったリードフレーム、フレキシブル基板(FPC)等が挙げられる。基板は、熱伝導性、電気絶縁性、価格等を考慮して選定される。
黄色蛍光体としては、紫外光(紫外線)または短波長可視光で励起され発光する以下の蛍光体が挙げられる。
(1)(Ca1−x−y−z−w、Srx、MII y、Euz、MR w)7(SiO3)6X2(MIIは、Mg、BaおよびZnのうち少なくとも一種の元素を含み、MRは、希土類元素およびMnのうち少なくとも一種の元素を含み、Xは、ClまたはClを必須とする複数のハロゲン元素を含む。また、x、y、z、wは、0.1<x<0.7、0≦y<0.3、0<z<0.4、0≦w<0.1を満たす。)
(2)CsM1 1−aP2O7:Eu2+ a(M1は、CaおよびSrの少なくとも一種の元素を含み、aは0.001≦a≦0.5の範囲である。)
(3)Ba2−aMgSi2O7:Eu2+ a(aは0.001≦a≦0.5の範囲である。)
ここで、(1)の黄色蛍光体は、青色光をあまり吸収しない、つまり青色蛍光体が発する光の再吸収が少ないことから、蛍光体を含有する樹脂層の厚さが変動しても発光色は変わりにくい。その結果、発光色の色度分布のばらつきを抑制できる。なお、本願発明の趣旨に沿っていれば、上述の黄色蛍光体以外であってもよい。
青色蛍光体としては、紫外光(紫外線)または短波長可視光で励起され発光する以下の蛍光体が挙げられる。
(1)M1a(M2O4)bXc:Red(M1は、Ca、Sr、Baのうち一種以上の元素を必須とし、一部をMg、Zn、Cd、K、Ag、Tlからなる群の元素に置き換えることができる。M2は、Pを必須とし、一部をV、Si、As、Mn、Co、Cr、Mo、W、Bからなる群の元素に置き換えることができる。Xは少なくとも1種のハロゲン元素、Reは、Eu2+必須とする少なくとも1種の希土類元素又はMnを示す。aは4.2≦a≦5.8、bは2.5≦b≦3.5、cは0.8<c<1.4、dは0.01<d<0.1の範囲である。)
(2)M1 1−aMgAl10O17:Eu2+ a(M1は、Ca、Sr、Ba、Znからなる群より選ばれる少なくとも1種の元素、aは0.001≦a≦0.5の範囲である。)
(3)M1 1−aMgSi2O8:Eu2+ a(M1は、Ca、Sr、Ba、Znからなる群より選ばれる少なくとも1種の元素、aは0.001≦a≦0.8の範囲である。)
(4)M1 2−a(B5O9)X:Rea(M1は、Ca、Sr、Ba、Znからなる群より選ばれる少なくとも1種の元素、Xは少なくとも1種のハロゲン元素、Reは、Eu2+必須とする少なくとも1種の希土類元素又はMnを示す。aは0.001≦a≦0.5の範囲である。)
なお、本願発明の趣旨に沿っていれば、上述の青色蛍光体以外であってもよい。
赤色蛍光体としては、紫外光(紫外線)または短波長可視光で励起され発光する以下の蛍光体が挙げられる。
(1)Y2O2S:Eu
(2)La2O2S:Eu
(3)(Sr,Ca)S:Eu
(4)CaS:Eu
(5)Ba2Zn3:Mn
(6)CaAlSiN3:Eu
(7)Sr0.95Ca0.95Eu0.1SiO4
(8)Na3(Y1−xEux)Si2O7
(9)Ca2SiS4:Eu
(10)Eu2SiS4
(11)3.5MgO・0.5MgF2・GeO2:Mn
(12)M(Ga1−xEux)2O4(MはCa、Sr、Baの少なくとも一種の元素)
なお、本願発明の趣旨に沿っていれば、上述の赤色蛍光体以外であってもよい。
緑蛍光体としては、紫外光(紫外線)または短波長可視光で励起され発光する以下の蛍光体が挙げられる。
(1)(Si,Al)6(O,N)8:Eu(βサイアロン)
(2)(Sr1−x−y,Cax)Ga2(Sz、Se1−z)4:Eu2+ y(0≦x<1、0<y<0.2、0<x+y≦1、0<z≦1)
(3)(Sr1−x−y−z,Cax,Bay,Mgz)2SiO4:Eu2+ w(0<x<1、0.5<y<1、0<z<1、0.03<w<0.2、0<x+y+z+w<1)
(4)Y3(Al1−x,Gax)5O12:Ce(0<x≦1)
(5)CaSc2Si3O12:Ce
(6)CaSc2O4:Eu
(7)(Ba,Sr)3Si2O3N:Eu2+
(8)NaBaScSi2O7:Eu2+
(9)ZnS:Cu,Al
(10)BaMgAl10O17:Eu,Mn
なお、本願発明の趣旨に沿っていれば、上述の緑色蛍光体以外であってもよい。
次に、反射ユニットについて説明する。
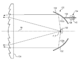
図8は、本実施の形態に係る光透過部材と反射ユニットと発光モジュールとの周辺を拡大して示す拡大断面図である。反射ユニット130は、反射部材132と、移動機構134とを有する。反射部材132は、回転放物面の一部を基準面とする反射面132aを有する。反射部材132は、発光モジュール102からの光をこの反射面132aにより装置前方に向けて反射させる。図8では、反射面132aの焦点Fと光透過部材104の焦点F’とが一致しており、かつ、光透過部材104の焦点F’上(図8では反射面132aの焦点F上でもある)に発光モジュール102が位置している。
第1の実施の形態に係る照明装置100と第2の実施の形態に係る照明装置との主な違いは発光モジュールを覆うレンズの有無である。
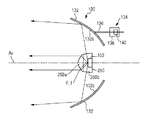
図10は、第2の実施の形態に係る反射ユニットと発光モジュールとの周辺を拡大して示す拡大断面図である。図10は図8に対応する。図10に示す照明装置は、図8に示す照明装置の光透過部材104に代えて、発光モジュール102を覆うレンズ250を有する。レンズ250は、第1レンズ部250aと第2レンズ部250bとを有する。第1レンズ部250aは、発光モジュール102上に焦点fを有し、発光モジュール102からの光を光軸Axに略平行な方向に透過させる。第2レンズ部250bは、発光モジュール102からの光を僅かに屈折させ、反射部材132に向けて透過させる。
第1の実施の形態に係る照明装置100と第3の実施の形態に係る照明装置との主な違いは、発光モジュールおよび反射ユニットの構成である。
図11は、第3の実施の形態に係る光透過部材と反射ユニットと発光モジュールとの周辺を拡大して示す拡大断面図である。本実施の形態に係る照明装置は、光透過部材104と、発光モジュール301と、反射ユニット330と、点灯制御部360と、を含む。
第1の実施の形態に係る照明装置100と、第4の実施の形態に係る照明装置の主な違いは、光透過部材の構成である。
本実施の形態に係る光透過部材は、アプラナティックレンズとして機能する。これにより、周辺光を減少させることができ、光を照射された人が感じる眩しさを緩和することができる。
第1の実施の形態に係る照明装置100と、第5の実施の形態に係る照明装置の主な違いは、放熱機構、発光モジュール、および反射部材の配置である。
図13は、第5の実施の形態に係る照明装置の概略構成を示す断面図である。本実施の形態に係る照明装置500は、発光モジュール102と、発光モジュール102からの光を反射させる反射部材532と、反射部材が反射した光を前方へ透過させる光透過部材104と、放熱機構106と、発光モジュール102および反射部材532を収容する筐体108と、を備える。
第1、2の実施の形態では、発光モジュール102を光軸Ax上に配置する場合について説明したが、これに限られない。例えば、反射部材132の外縁部分に、発光面が反射部材132の反射面132aを向いた発光モジュール102を、周方向に等間隔に複数配置してもよい。
第1、2の実施の形態では、発光モジュール102を1つ用いる場合について説明したが、これに限られず、複数の発光モジュール102を用いてもよい。この場合、発光モジュール102ごとに反射部材132を設けてもよい。また、複数の発光モジュール102を複数のグループに分け、グループごとに反射部材132を設けてもよい。
第1の実施の形態では、発光モジュール102に対して反射部材132を移動させる場合について説明したが、これに限られない。反射部材132に代えて、または反射部材132とともに、発光モジュール102を移動させてもよい。
半導体発光素子は指向性が強いため、輪郭がはっきりした濃い影ができる場合がある。こうした影は人に不快感を与えうる。この課題に対応するために、例えば、メイン光源としての発光モジュールに加え、その影をぼかすためのサブ光源としての発光モジュールを設けてもよい。これにより、人に与える不快感を低減できる。
第1の実施の形態では、移動機構134により反射部材132を前後方向に移動させる場合、すなわち反射部材132を移動させることにより反射部材132と発光モジュール102の相対位置を変化させる場合について説明したが、これに限られない。例えば、発光モジュール102を前後方向に移動させる移動機構を設け、発光モジュール102を前後方向に移動させることにより反射部材132と発光モジュール102の相対位置を変化させてもよい。
第2、3の実施の形態では、光透過部材104を移動させることにより、光透過部材104と、発光モジュール102および反射部材(以下、これらをまとめて「光源ユニット」とよぶ)との相対位置を変化させる場合について説明したが、これに限られない。例えば、光源ユニットを移動させる移動機構を設け、光源ユニットを移動させることにより光透過部材104と光源ユニットの相対位置を変化させてもよい。
Claims (7)
- 光源と、
前記光源からの光を透過させ、かつ、制御する光透過部材と、
前記光源からの光の照射範囲を制御する制御手段と、を備え、
前記制御手段は、
前記光源からの光を装置前方に向けて反射させる反射部材と、
前記反射部材と前記光源の相対位置を移動可能とする移動機構と、を含み、
前記光源は、380〜480nmにピーク波長を有する光を発する半導体発光素子と、黄色蛍光体および青色蛍光体が分散された封止部材と、を含むことを特徴とする照明装置。 - 前記光源は、光透過部材の焦点位置に配設され、
前記反射部材は、回転放物面形状であり、前記光源からの光を装置前方に向けて反射し、
前記移動機構は、前記反射部材を装置前後方向に移動させることが可能に構成され、
前記移動機構による前記反射部材の移動範囲に、前記反射部材の焦点が前記光源の焦点と一致する位置が含まれることを特徴とする請求項1に記載の照明装置。 - 光源と、前記光源の光軸上に配置され略回転楕円面形状の反射面を有する反射部材と、を含む光源ユニットと、
前記光源ユニットからの光を装置前方に透過させる光透過部材と、
前記光源ユニットと光透過部材の相対位置を移動可能とする移動機構と、を備え、
前記光源は、380〜480nmにピーク波長を有する光を発する半導体発光素子と、黄色蛍光体および青色蛍光体が分散された封止部材と、を含むことを特徴とする照明装置。 - 前記光源は、前記光透過部材の後側焦点に対して前記光透過部材とは反対側にそれぞれ配置された第1光源と第2光源とを有し、
本装置は、前記第1光源と前記第2光源の点灯を制御する点灯制御部をさらに含み、
前記反射部材は、
前記第1光源の光軸上に配置され略回転楕円面形状の反射面を有する第1反射部材と、
前記第2光源の光軸上に配置され略回転楕円面形状の反射面を有する第2反射部材と、を有し、
前記第1反射部材は、第1焦点が前記第1光源近傍に位置し、第2焦点が前記光透過部材の後側焦点近傍であって後側焦点よりも前記光透過部材に近い側に位置し、
前記第2反射部材は、第1焦点が前記第2光源近傍に位置し、第2焦点が前記光透過部材の後側焦点近傍であって前記第1反射部材の第2焦点よりも前記光透過部材から遠い側に位置することを特徴とする請求項3に記載の照明装置。 - 前記光源を搭載するための光源搭載部を備え、
前記半導体発光素子は、前記光源搭載部に搭載され、
前記封止部材は、前記光源搭載部に接着され、前記半導体発光素子を黄色蛍光体および青色蛍光体と一体に封止することを特徴とする請求項1から4のいずれかに記載の照明装置。 - 前記半導体発光素子は樹脂からなる枠で周囲を囲まれ、前記枠で区画された領域に前記封止部材が充填されていることを特徴とする請求項5に記載の照明装置。
- 前記光源は、前記光透過部材に向けて直射光を出射するよう配設されていることを特徴とする請求項1から6のいずれかに記載の照明装置。
Priority Applications (1)
| Application Number | Priority Date | Filing Date | Title |
|---|---|---|---|
| JP2013140073A JP6148917B2 (ja) | 2013-07-03 | 2013-07-03 | 照明装置 |
Applications Claiming Priority (1)
| Application Number | Priority Date | Filing Date | Title |
|---|---|---|---|
| JP2013140073A JP6148917B2 (ja) | 2013-07-03 | 2013-07-03 | 照明装置 |
Publications (2)
| Publication Number | Publication Date |
|---|---|
| JP2015015109A JP2015015109A (ja) | 2015-01-22 |
| JP6148917B2 true JP6148917B2 (ja) | 2017-06-14 |
Family
ID=52436723
Family Applications (1)
| Application Number | Title | Priority Date | Filing Date |
|---|---|---|---|
| JP2013140073A Active JP6148917B2 (ja) | 2013-07-03 | 2013-07-03 | 照明装置 |
Country Status (1)
| Country | Link |
|---|---|
| JP (1) | JP6148917B2 (ja) |
Cited By (1)
| Publication number | Priority date | Publication date | Assignee | Title |
|---|---|---|---|---|
| CN109058774A (zh) * | 2018-06-29 | 2018-12-21 | 安徽捷泰智能科技有限公司 | 一种led光源聚光装置 |
Families Citing this family (3)
| Publication number | Priority date | Publication date | Assignee | Title |
|---|---|---|---|---|
| JP6390526B2 (ja) * | 2015-06-04 | 2018-09-19 | 岩崎電気株式会社 | 光源ユニット、及び照明器具 |
| JP6705174B2 (ja) * | 2016-01-08 | 2020-06-03 | 三菱電機株式会社 | 光源装置および照明装置 |
| WO2024241561A1 (ja) * | 2023-05-25 | 2024-11-28 | 江東電気株式会社 | 発光モジュール、及び、照明装置 |
Family Cites Families (2)
| Publication number | Priority date | Publication date | Assignee | Title |
|---|---|---|---|---|
| JPS60153401U (ja) * | 1984-03-24 | 1985-10-12 | 松下電工株式会社 | スポツトライト |
| JP5879065B2 (ja) * | 2011-07-29 | 2016-03-08 | スタンレー電気株式会社 | 車両用前照灯 |
-
2013
- 2013-07-03 JP JP2013140073A patent/JP6148917B2/ja active Active
Cited By (1)
| Publication number | Priority date | Publication date | Assignee | Title |
|---|---|---|---|---|
| CN109058774A (zh) * | 2018-06-29 | 2018-12-21 | 安徽捷泰智能科技有限公司 | 一种led光源聚光装置 |
Also Published As
| Publication number | Publication date |
|---|---|
| JP2015015109A (ja) | 2015-01-22 |
Similar Documents
| Publication | Publication Date | Title |
|---|---|---|
| JP2015015106A (ja) | 照明装置 | |
| KR101758188B1 (ko) | 고체 상태 광원 전구 | |
| US8215798B2 (en) | Solid state lighting system with optic providing occluded remote phosphor | |
| US9374876B2 (en) | Multi-chip light emitting diode light device | |
| JP4916564B2 (ja) | 発光装置 | |
| JP4354435B2 (ja) | 発光装置および照明装置 | |
| US20120300452A1 (en) | Led-based illumination module with preferentially illuminated color converting surfaces | |
| JP5172988B2 (ja) | 照明装置 | |
| JP5484610B2 (ja) | 発光装置 | |
| JP2014526790A (ja) | 照明装置 | |
| CN104412029A (zh) | 包含发光磷光体的线状led照明布置 | |
| JP6148917B2 (ja) | 照明装置 | |
| JP5586119B2 (ja) | 光学部品及びそれを用いた照明装置 | |
| JP6206805B2 (ja) | 発光モジュール、照明用光源及び照明装置 | |
| JP2012084924A (ja) | 波長変換部材 | |
| JP2015015107A (ja) | 投光器 | |
| JP6275965B2 (ja) | 照明装置 | |
| JP2015015108A (ja) | 投光器 | |
| CN103261785A (zh) | 发光装置 | |
| JP5279947B2 (ja) | 照明装置 | |
| JP2008117760A (ja) | 照明装置及び照明システム | |
| JP5476499B2 (ja) | 照明装置 | |
| HK1177631A (en) | Scattered-photon extraction-based light fixtures | |
| HK1169478A (en) | Solid state light source light bulb |
Legal Events
| Date | Code | Title | Description |
|---|---|---|---|
| A621 | Written request for application examination |
Free format text: JAPANESE INTERMEDIATE CODE: A621 Effective date: 20160603 |
|
| A977 | Report on retrieval |
Free format text: JAPANESE INTERMEDIATE CODE: A971007 Effective date: 20170217 |
|
| A131 | Notification of reasons for refusal |
Free format text: JAPANESE INTERMEDIATE CODE: A131 Effective date: 20170228 |
|
| A521 | Written amendment |
Free format text: JAPANESE INTERMEDIATE CODE: A523 Effective date: 20170426 |
|
| TRDD | Decision of grant or rejection written | ||
| A01 | Written decision to grant a patent or to grant a registration (utility model) |
Free format text: JAPANESE INTERMEDIATE CODE: A01 Effective date: 20170516 |
|
| A61 | First payment of annual fees (during grant procedure) |
Free format text: JAPANESE INTERMEDIATE CODE: A61 Effective date: 20170522 |
|
| R150 | Certificate of patent or registration of utility model |
Ref document number: 6148917 Country of ref document: JP Free format text: JAPANESE INTERMEDIATE CODE: R150 |