JP6121069B2 - 心拍監視デバイス - Google Patents

心拍監視デバイス Download PDF

Info

Publication number
JP6121069B2
JP6121069B2 JP2016555316A JP2016555316A JP6121069B2 JP 6121069 B2 JP6121069 B2 JP 6121069B2 JP 2016555316 A JP2016555316 A JP 2016555316A JP 2016555316 A JP2016555316 A JP 2016555316A JP 6121069 B2 JP6121069 B2 JP 6121069B2
Authority
JP
Japan
Prior art keywords
heart rate
user
sensor
primary
power consumption
Prior art date
Legal status (The legal status is an assumption and is not a legal conclusion. Google has not performed a legal analysis and makes no representation as to the accuracy of the status listed.)
Active
Application number
JP2016555316A
Other languages
English (en)
Other versions
JP2017506967A (ja
Inventor
クリスティアン ニコラ プレシュラ
クリスティアン ニコラ プレシュラ
ダフィト アントワーヌ クリスティアン マリー ルーフェルス
ダフィト アントワーヌ クリスティアン マリー ルーフェルス
ルクサンドラ ヴァレンティナ ボビッティ
ルクサンドラ ヴァレンティナ ボビッティ
Current Assignee (The listed assignees may be inaccurate. Google has not performed a legal analysis and makes no representation or warranty as to the accuracy of the list.)
Koninklijke Philips NV
Original Assignee
Koninklijke Philips NV
Priority date (The priority date is an assumption and is not a legal conclusion. Google has not performed a legal analysis and makes no representation as to the accuracy of the date listed.)
Filing date
Publication date
Application filed by Koninklijke Philips NV filed Critical Koninklijke Philips NV
Publication of JP2017506967A publication Critical patent/JP2017506967A/ja
Application granted granted Critical
Publication of JP6121069B2 publication Critical patent/JP6121069B2/ja
Active legal-status Critical Current
Anticipated expiration legal-status Critical

Links

Images

Classifications

    • AHUMAN NECESSITIES
    • A61MEDICAL OR VETERINARY SCIENCE; HYGIENE
    • A61BDIAGNOSIS; SURGERY; IDENTIFICATION
    • A61B5/00Measuring for diagnostic purposes; Identification of persons
    • A61B5/02Detecting, measuring or recording for evaluating the cardiovascular system, e.g. pulse, heart rate, blood pressure or blood flow
    • A61B5/024Measuring pulse rate or heart rate
    • A61B5/02416Measuring pulse rate or heart rate using photoplethysmograph signals, e.g. generated by infrared radiation
    • AHUMAN NECESSITIES
    • A61MEDICAL OR VETERINARY SCIENCE; HYGIENE
    • A61BDIAGNOSIS; SURGERY; IDENTIFICATION
    • A61B5/00Measuring for diagnostic purposes; Identification of persons
    • A61B5/02Detecting, measuring or recording for evaluating the cardiovascular system, e.g. pulse, heart rate, blood pressure or blood flow
    • A61B5/024Measuring pulse rate or heart rate
    • A61B5/02416Measuring pulse rate or heart rate using photoplethysmograph signals, e.g. generated by infrared radiation
    • A61B5/02427Details of sensor
    • AHUMAN NECESSITIES
    • A61MEDICAL OR VETERINARY SCIENCE; HYGIENE
    • A61BDIAGNOSIS; SURGERY; IDENTIFICATION
    • A61B5/00Measuring for diagnostic purposes; Identification of persons
    • A61B5/02Detecting, measuring or recording for evaluating the cardiovascular system, e.g. pulse, heart rate, blood pressure or blood flow
    • A61B5/0205Simultaneously evaluating both cardiovascular conditions and different types of body conditions, e.g. heart and respiratory condition
    • A61B5/02055Simultaneously evaluating both cardiovascular condition and temperature
    • AHUMAN NECESSITIES
    • A61MEDICAL OR VETERINARY SCIENCE; HYGIENE
    • A61BDIAGNOSIS; SURGERY; IDENTIFICATION
    • A61B5/00Measuring for diagnostic purposes; Identification of persons
    • A61B5/02Detecting, measuring or recording for evaluating the cardiovascular system, e.g. pulse, heart rate, blood pressure or blood flow
    • A61B5/024Measuring pulse rate or heart rate
    • A61B5/02438Measuring pulse rate or heart rate with portable devices, e.g. worn by the patient
    • AHUMAN NECESSITIES
    • A61MEDICAL OR VETERINARY SCIENCE; HYGIENE
    • A61BDIAGNOSIS; SURGERY; IDENTIFICATION
    • A61B5/00Measuring for diagnostic purposes; Identification of persons
    • A61B5/02Detecting, measuring or recording for evaluating the cardiovascular system, e.g. pulse, heart rate, blood pressure or blood flow
    • A61B5/024Measuring pulse rate or heart rate
    • A61B5/0245Measuring pulse rate or heart rate by using sensing means generating electric signals, i.e. ECG signals
    • A61B5/02455Measuring pulse rate or heart rate by using sensing means generating electric signals, i.e. ECG signals provided with high/low alarm devices
    • AHUMAN NECESSITIES
    • A61MEDICAL OR VETERINARY SCIENCE; HYGIENE
    • A61BDIAGNOSIS; SURGERY; IDENTIFICATION
    • A61B5/00Measuring for diagnostic purposes; Identification of persons
    • A61B5/103Measuring devices for testing the shape, pattern, colour, size or movement of the body or parts thereof, for diagnostic purposes
    • A61B5/11Measuring movement of the entire body or parts thereof, e.g. head or hand tremor or mobility of a limb
    • AHUMAN NECESSITIES
    • A61MEDICAL OR VETERINARY SCIENCE; HYGIENE
    • A61BDIAGNOSIS; SURGERY; IDENTIFICATION
    • A61B5/00Measuring for diagnostic purposes; Identification of persons
    • A61B5/103Measuring devices for testing the shape, pattern, colour, size or movement of the body or parts thereof, for diagnostic purposes
    • A61B5/11Measuring movement of the entire body or parts thereof, e.g. head or hand tremor or mobility of a limb
    • A61B5/1118Determining activity level
    • AHUMAN NECESSITIES
    • A61MEDICAL OR VETERINARY SCIENCE; HYGIENE
    • A61BDIAGNOSIS; SURGERY; IDENTIFICATION
    • A61B5/00Measuring for diagnostic purposes; Identification of persons
    • A61B5/68Arrangements of detecting, measuring or recording means, e.g. sensors, in relation to patient
    • A61B5/6801Arrangements of detecting, measuring or recording means, e.g. sensors, in relation to patient specially adapted to be attached to or worn on the body surface
    • A61B5/6813Specially adapted to be attached to a specific body part
    • A61B5/6814Head
    • A61B5/6815Ear
    • AHUMAN NECESSITIES
    • A61MEDICAL OR VETERINARY SCIENCE; HYGIENE
    • A61BDIAGNOSIS; SURGERY; IDENTIFICATION
    • A61B5/00Measuring for diagnostic purposes; Identification of persons
    • A61B5/68Arrangements of detecting, measuring or recording means, e.g. sensors, in relation to patient
    • A61B5/6801Arrangements of detecting, measuring or recording means, e.g. sensors, in relation to patient specially adapted to be attached to or worn on the body surface
    • A61B5/6813Specially adapted to be attached to a specific body part
    • A61B5/6824Arm or wrist
    • AHUMAN NECESSITIES
    • A61MEDICAL OR VETERINARY SCIENCE; HYGIENE
    • A61BDIAGNOSIS; SURGERY; IDENTIFICATION
    • A61B5/00Measuring for diagnostic purposes; Identification of persons
    • A61B5/72Signal processing specially adapted for physiological signals or for diagnostic purposes
    • A61B5/7271Specific aspects of physiological measurement analysis
    • A61B5/7275Determining trends in physiological measurement data; Predicting development of a medical condition based on physiological measurements, e.g. determining a risk factor
    • AHUMAN NECESSITIES
    • A61MEDICAL OR VETERINARY SCIENCE; HYGIENE
    • A61BDIAGNOSIS; SURGERY; IDENTIFICATION
    • A61B5/00Measuring for diagnostic purposes; Identification of persons
    • A61B5/72Signal processing specially adapted for physiological signals or for diagnostic purposes
    • A61B5/7271Specific aspects of physiological measurement analysis
    • A61B5/7278Artificial waveform generation or derivation, e.g. synthesizing signals from measured signals
    • GPHYSICS
    • G16INFORMATION AND COMMUNICATION TECHNOLOGY [ICT] SPECIALLY ADAPTED FOR SPECIFIC APPLICATION FIELDS
    • G16HHEALTHCARE INFORMATICS, i.e. INFORMATION AND COMMUNICATION TECHNOLOGY [ICT] SPECIALLY ADAPTED FOR THE HANDLING OR PROCESSING OF MEDICAL OR HEALTHCARE DATA
    • G16H40/00ICT specially adapted for the management or administration of healthcare resources or facilities; ICT specially adapted for the management or operation of medical equipment or devices
    • G16H40/60ICT specially adapted for the management or administration of healthcare resources or facilities; ICT specially adapted for the management or operation of medical equipment or devices for the operation of medical equipment or devices
    • G16H40/63ICT specially adapted for the management or administration of healthcare resources or facilities; ICT specially adapted for the management or operation of medical equipment or devices for the operation of medical equipment or devices for local operation
    • GPHYSICS
    • G16INFORMATION AND COMMUNICATION TECHNOLOGY [ICT] SPECIALLY ADAPTED FOR SPECIFIC APPLICATION FIELDS
    • G16HHEALTHCARE INFORMATICS, i.e. INFORMATION AND COMMUNICATION TECHNOLOGY [ICT] SPECIALLY ADAPTED FOR THE HANDLING OR PROCESSING OF MEDICAL OR HEALTHCARE DATA
    • G16H50/00ICT specially adapted for medical diagnosis, medical simulation or medical data mining; ICT specially adapted for detecting, monitoring or modelling epidemics or pandemics
    • G16H50/50ICT specially adapted for medical diagnosis, medical simulation or medical data mining; ICT specially adapted for detecting, monitoring or modelling epidemics or pandemics for simulation or modelling of medical disorders
    • AHUMAN NECESSITIES
    • A61MEDICAL OR VETERINARY SCIENCE; HYGIENE
    • A61BDIAGNOSIS; SURGERY; IDENTIFICATION
    • A61B2560/00Constructional details of operational features of apparatus; Accessories for medical measuring apparatus
    • A61B2560/02Operational features
    • A61B2560/0204Operational features of power management
    • A61B2560/0209Operational features of power management adapted for power saving
    • AHUMAN NECESSITIES
    • A61MEDICAL OR VETERINARY SCIENCE; HYGIENE
    • A61BDIAGNOSIS; SURGERY; IDENTIFICATION
    • A61B2562/00Details of sensors; Constructional details of sensor housings or probes; Accessories for sensors
    • A61B2562/02Details of sensors specially adapted for in-vivo measurements
    • A61B2562/0219Inertial sensors, e.g. accelerometers, gyroscopes, tilt switches
    • AHUMAN NECESSITIES
    • A61MEDICAL OR VETERINARY SCIENCE; HYGIENE
    • A61BDIAGNOSIS; SURGERY; IDENTIFICATION
    • A61B2562/00Details of sensors; Constructional details of sensor housings or probes; Accessories for sensors
    • A61B2562/02Details of sensors specially adapted for in-vivo measurements
    • A61B2562/0247Pressure sensors
    • AHUMAN NECESSITIES
    • A61MEDICAL OR VETERINARY SCIENCE; HYGIENE
    • A61BDIAGNOSIS; SURGERY; IDENTIFICATION
    • A61B2562/00Details of sensors; Constructional details of sensor housings or probes; Accessories for sensors
    • A61B2562/02Details of sensors specially adapted for in-vivo measurements
    • A61B2562/029Humidity sensors
    • AHUMAN NECESSITIES
    • A61MEDICAL OR VETERINARY SCIENCE; HYGIENE
    • A61BDIAGNOSIS; SURGERY; IDENTIFICATION
    • A61B5/00Measuring for diagnostic purposes; Identification of persons
    • A61B5/08Measuring devices for evaluating the respiratory organs
    • GPHYSICS
    • G16INFORMATION AND COMMUNICATION TECHNOLOGY [ICT] SPECIALLY ADAPTED FOR SPECIFIC APPLICATION FIELDS
    • G16HHEALTHCARE INFORMATICS, i.e. INFORMATION AND COMMUNICATION TECHNOLOGY [ICT] SPECIALLY ADAPTED FOR THE HANDLING OR PROCESSING OF MEDICAL OR HEALTHCARE DATA
    • G16H50/00ICT specially adapted for medical diagnosis, medical simulation or medical data mining; ICT specially adapted for detecting, monitoring or modelling epidemics or pandemics
    • G16H50/30ICT specially adapted for medical diagnosis, medical simulation or medical data mining; ICT specially adapted for detecting, monitoring or modelling epidemics or pandemics for calculating health indices; for individual health risk assessment

Landscapes

  • Health & Medical Sciences (AREA)
  • Life Sciences & Earth Sciences (AREA)
  • Engineering & Computer Science (AREA)
  • Biomedical Technology (AREA)
  • Public Health (AREA)
  • Medical Informatics (AREA)
  • General Health & Medical Sciences (AREA)
  • Pathology (AREA)
  • Veterinary Medicine (AREA)
  • Heart & Thoracic Surgery (AREA)
  • Biophysics (AREA)
  • Molecular Biology (AREA)
  • Surgery (AREA)
  • Animal Behavior & Ethology (AREA)
  • Physics & Mathematics (AREA)
  • Cardiology (AREA)
  • Physiology (AREA)
  • Signal Processing (AREA)
  • Dentistry (AREA)
  • Computer Vision & Pattern Recognition (AREA)
  • Psychiatry (AREA)
  • Artificial Intelligence (AREA)
  • Oral & Maxillofacial Surgery (AREA)
  • Epidemiology (AREA)
  • Primary Health Care (AREA)
  • Databases & Information Systems (AREA)
  • Data Mining & Analysis (AREA)
  • Business, Economics & Management (AREA)
  • General Business, Economics & Management (AREA)
  • Pulmonology (AREA)
  • Otolaryngology (AREA)
  • Measuring Pulse, Heart Rate, Blood Pressure Or Blood Flow (AREA)
  • Measuring And Recording Apparatus For Diagnosis (AREA)
  • Measurement Of The Respiration, Hearing Ability, Form, And Blood Characteristics Of Living Organisms (AREA)

Description

本発明は、ユーザの心拍をモニタする心拍監視デバイス、ユーザの心拍をモニタする方法、及びユーザの心拍をモニタするコンピュータプログラムに関する。
例えば光学センサを用いるユーザの心拍のモニタリングが知られている。ここで、光学センサは、ユーザの皮膚へと光を放出する。放出された光は、皮膚において散乱され、反射された光は、皮膚を出て、適切なセンサによりキャプチャされる。センサから受信される信号に基づき、ユーザの心拍は決定されることができる。
US2007/0244398A1号は、心拍を測定するため、超音波、赤外線、圧力検出、無線周波数又はレーザー技術を使用する心拍モニタを開示する。更に、この心拍モニタは、電源節約アルゴリズムも実現する。これは、予想された心拍の間でセンサの電力を減らす又はスイッチオフにすることにより実行される。
US2014/0073486A1号は、さまざまな生理的データをユーザから連続して集めるよう構成される軽量ウェアラブルシステムを開示する。このシステムは、ユーザの心拍をモニタする心拍モニタを有する。このシステムは、例えば加速度計から、ユーザの運動に関するデータを受信することができる処理モジュールを有する。処理モジュールは、ユーザの運動状態を決定するために運動データを処理し、この運動状態に基づき、心拍モニタのデューティサイクルを調整することができる。
本発明の目的は、改善された電源節約機能を備えたユーザの心拍をモニタする心拍監視デバイス及びシステム、対応する方法並びにコンピュータを提供することである。
本発明の側面において、ユーザの心拍をモニタする心拍監視デバイスが提供される。心拍監視デバイスは、ユーザの心拍を測定又は決定する少なくとも1つの1次センサを有する。少なくとも1つの1次センサは、第1の電力消費を持つ。上記ユーザの上記心拍に影響する少なくとも1つの生理的要素を測定する少なくとも1つの2次センサからの測定又は情報に基づき、心拍監視デバイスは、上記少なくとも1つの1次センサの動作及び/又は電力消費を管理する電源管理ユニットを更に有する。上記少なくとも1つの2次センサは、上記少なくとも1つの1次センサの電力消費より低い第2の電力消費を持つ。上記心拍監視デバイスは、モデルと上記少なくとも1つの2次センサから受信される情報とに基づき、ユーザの心拍を推定するモデルユニットであって、上記モデルが、上記モデルユニットに格納される、モデルユニットを有する。上記モデルユニットが、フィードバックループを介して上記電源管理ユニットに結合され、上記電源管理ユニットは、上記測定された心拍と上記推定された心拍とを比較し、上記比較に基づき、上記1次センサの動作を制御するよう構成される。
上記心拍に影響する少なくとも1つの生理的要素を測定又は検出するために減らされた電力消費を持つ上記少なくとも1つの2次センサを用いることにより、上記少なくとも1つの第1のセンサの動作及び/又は電力消費が制御されることができる。少なくとも1つの第1のセンサの電力消費は、少なくとも1つのセンサをオン/オフに切替えることにより、ユーザのサンプリング周波数を減少させることにより、及び/又はセンサの出力強度を減少させることにより、減らされることができる。2次センサからの情報又は測定は、電源管理ユニットに対する入力として使用される。言い換えると、1次センサの動作及び/又は電力消費は、2次センサの出力に基づき制御される。モデルユニットに格納されるモデル及び2次センサからの測定に基づき、ユーザの心拍は、予測されることができる。モデルユニットにより予測された心拍が与えられると、電源管理ユニットは、その電力消費を減らすため、1次センサの動作に影響を与えるべきか否かを信頼性が高い態様において決めることができる。ユーザの心拍が相当な確実性で予測されることができる場合、これは、電源管理ユニットが1次センサの電力消費を減らすため1次センサを制御することができる状況をもたらすことができる。例えば、生理的要素が安定している場合、心拍は良い精度で推定されることができ、心拍を検出する1次センサからの情報が必要とされない。その結果、1次センサの電力消費が減らされることができる。
本発明の側面によれば、上記電源管理ユニットが、上記1次心拍センサを作動させる/停止させることにより、又は上記1次センサのサンプリング周波数及び/又は測定強度を制御することにより、上記1次心拍センサの動作を制御するよう構成される。従って、電力を節約するため、1次心拍センサは、オフに切り替えられることができ、そのサンプリング周波数は減らされることができ、又は測定強度が減らされることができる。これはすべて、2次センサからの情報に基づき実行される。
本発明の更なる側面によれば、2次センサにより測定される心拍に影響する物理要素は、ユーザの呼吸、ユーザの速度、ユーザの加速度、ユーザの皮膚における湿度、ユーザの高度及び/又はユーザの温度である。これらの生理的要素は、ユーザの心拍に影響を与えることが知られている。従って、これらの要素は測定され、ユーザの心拍に関する予測又は推定がなされることができ、及び従って、特定のケースにおいて、1次心拍センサの動作が、特に電力消費を減らすよう構成されることができる。
本発明の側面において、少なくとも1つの2次センサは、心拍監視デバイスに対して内部又は外部センサとすることができる。言い換えると、1次及び2次センサは単一のハウジングにおいて構成されることができ、又は少なくとも1つの第2のセンサが、少なくとも1つの第1のセンサのハウジングの外に構成されることができる。従って、少なくとも1つの2次センサは、第1のセンサに隣接して、又は、別の位置に構成されることができる。
本発明の側面によれば、ユーザの心拍をモニタする方法が提供される。この方法は、第1の電力消費を持つ少なくとも1つの1次センサによりユーザの心拍を測定するステップと、ユーザの心拍に影響する少なくとも1つの生理的要素を測定する少なくとも1つの2次センサから受信される情報に基づき、上記少なくとも1つの1次センサの動作及び/又は電力消費を管理するステップであって、上記少なくとも1つの2次センサが、上記第1の電力消費より低い第2の電力消費を持つステップとを有する。この方法は更に、モデルユニットに格納されるモデルと上記少なくとも1つの2次センサから受信される情報とに基づき、上記ユーザの心拍を推定するステップと、上記測定された心拍と上記推定された心拍とを比較し、上記比較に基づき、上記1次センサの動作を制御するステップとを有する。
本発明のこれらの及び他の態様が、以下に説明される実施形態より明らとなり、これらの実施形態を参照して説明されることになる。
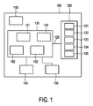
本発明による心拍監視システムの概略的なブロックダイアグラムを示す図である。
本発明による心拍監視システムは、以下の原理に基づかれる。1次センサ、例えば光学センサが、ユーザの心拍を測定するために用いられる。ユーザの心拍に影響する生理的要素を測定又は決定するために、2次低電力センサが用いられる。1次センサの動作及び電力消費を制御するのに、2次センサからの情報が用いられる。2次センサからの情報に基づき、制御ユニットが例えば心拍が安定していると決定する場合、1次センサのサンプリングレートは低下されることができる。例えば、運動が原因で、ユーザの心拍が増加することを2次センサが検出する場合、例えば、1次センサのサンプリングレートは、再び増加されることができる。
図1は、本発明による心拍監視システムの概略的なブロック図を示す。心拍監視システム100は、ユーザの心拍を測定又は決定する少なくとも1つの1次センサ110と、ユーザの心拍に影響する少なくとも1つの生理的要素を測定又は決定する少なくとも1つの2次センサ120とを有する。心拍監視システム100はオプションで、少なくとも1つの1次センサ110の動作を制御する制御ユニット131を更に有する。オプションで、ユーザの心拍を決定するため、少なくとも1つの1次センサ110の出力を処理する処理ユニット132が提供される。オプションで、心拍監視システムは、心拍を表示するディスプレイ140及び/又は測定若しくは決定された心拍を出力する出力部150を有することができる。
本発明の側面によれば、心拍監視システム100は、手首若しくは前腕、又は、ユーザの耳の後に構成されることができる。
1次センサ110は、例えば人工光を生成するLEDの形の光源を有する光学センサとして実現されることができる。光源は、ユーザの皮膚へ人工光を放出する。皮膚において、放出された人工光は、血管において血液により部分的に吸収される。人工光は、皮膚にわたり散乱されることができ、光学センサ110の一部とすることもできる光検出器へ反射されることができる。光検出器は、ユーザの皮膚を通り反射された光を検出し、出力信号を生成する。
光学センサ110の出力信号は、処理ユニット132にフォワードされることができる。オプションで、処理ユニット132は、光学センサ110に配置されることもできる。処理ユニット132は、光学センサ110から信号を受信し、1次センサ110の出力信号に基づき、ユーザのパルスレート又は心拍を決定する。
心拍監視システム100は更に、電源管理ユニット160を有する。電源管理ユニット160は、心拍監視システムの電力消費及び/又は動作、特に1次センサ110の電力消費を制御するものとして機能する。電源管理ユニット160は、専用のユニットとして実現されることができる。追加的又は代替的に、電源管理ユニット160の機能は、制御ユニット131又は処理ユニット132により実行されることができる。更に、制御ユニット131、処理ユニット132及び電源管理ユニット160は、マイクロコントローラ130により実現されることができる。更に、心拍監視システムは、モデルユニット133を有する。これはオプションで、マイクロコントローラ130により実現されることもできる。
本発明の側面による電源管理は、1次センサ又は全体の心拍監視システムの電力消費を制御するため、2次センサからの情報126を使用する。特に、2次センサからの追加的な情報は、1次センサ110の起動及び停止(オン/オフの切り替え)、1次センサ、サンプリングレート及び/又は測定強度を制御するために用いられることができる。言い換えると、1次センサ110又は全体システムの電力消費が、減らされることができる。
人の心拍は、ユーザの物理的状態、運動レート、ユーザの活動、ユーザの感情及び内外の要素といった複数の要素に依存することがよく知られている。2次センサを用いて、心拍に影響を持つ要素に関連する情報が、集められることができる。2次センサにより測定されることができる生理的要素は、呼吸、ユーザの速度、ユーザの加速度、ユーザの皮膚における湿度、高度などである。
2次センサ120によって決定される物理要素の情報126に基づき、1次センサ110の動作及び/又は電力消費は、電源管理ユニット160により制御されることができる。これは、2次センサからの情報が、ユーザの心拍を推定又は予測するのに十分である場合に実行されることができる。予測又は推定が十分に良好である場合、例えば、1次センサのサンプリングレートは減らされることができる。追加的又は代替的に、1次センサ110は、作動され、少なくとも心拍が十分に正確に推定されることができる期間に関して、停止されることができる。しかしながら、2次センサの出力により検出されることができる心拍における変化が現れる場合(例えば運動パターンが変化するとき)、1次センサの動作は、正確な心拍を決定するために再び作動されることができる。
言い換えると、心拍が一定又は実質的に一定である時間期間の間、1次センサのサンプリング周波数は、減らされることができる。代替的に、斯かる時間期間の間、1次センサは、電力を節約するために停止されることができる。
本発明の側面によれば、起動及び停止(1次センサのオン/オフの切り替え)は、電源管理ユニット160により制御されることができる。2次センサの1つ、例えば加速度計124により、ユーザが一定の運動下にある、又は動いていないと決定されることができる場合、ユーザの心拍も明らかに変化しないと決定されることができる。2次センサ120が、ユーザの運動又は運動パターンにおいて変化を検出するとすぐに、1次心拍センサ100が、ユーザの実際の心臓を測定するために再び作動されることができる。
本発明の側面によれば、1次心拍センサ110は、特定の時間間隔で心拍を測定するよう制御されることができる。この場合、時間間隔は、ユーザの運動の変化に基づき変化することができる。1次センサが、連続してではなく断続的に作動される場合、電力消費は減らされることができる。
本発明の側面によれば、2次センサは、湿度センサ121、高度計122、GPSセンサ123、加速度計124及び/又は圧力センサ125でありえる。湿度センサ121は、ユーザの皮膚における湿度を測定するために用いられることができる。ユーザの皮膚における湿度は、感情を示すパラメータ、ユーザの生理的条件及びムードにおける変化でありえる。高度計122は例えば、ユーザの高度を決定するために用いられることができる。これは、ユーザが、滑走している、クライミングしているかどうか等のインジケーションを与えることができる。GPSセンサ123は、例えばユーザが、サイクリングしている、レース中かどうか等を決定するスピードセンサとして使用されることができる。
圧力センサ125は、気圧計として使用されることができる。このセンサからの情報は、高度計又は気象観測端末として使用されることができる。気圧が高いとき、人は、上昇された心拍でそれに反応する場合がある。
本発明の側面によれば、心拍監視システムは、モデルユニット133を有する。2次センサ120の出力は、モデルユニット133により受信される。モデルユニット133に格納されるモデルに基づいて、心拍が、2次センサ120からの情報126に基づき予測又は推定される。モデルユニットは、フィードバックループを介して電源管理ユニットに接続され、予測された心拍がその後、1次センサの動作及び/又は電力消費を制御するため、電源管理ユニット160により使用される。
1次心拍センサの動作は、サンプリングレート及び測定の強度を制御することにより、電源管理ユニット160により制御されることができる。1次センサ110が例えば光学センサとして実現される場合、サンプリングレート及び光学センサの光強度が制御されることができる。例えばモデルユニット130の出力である予測された心拍に基づき、電源管理ユニット160は、サンプリングレートを低下させることができるか、又は光学センサの光源の強度を減少させることができる。
本発明の側面によれば、電源管理ユニット160は、1次センサ110により測定される心拍とモデルユニット133の予測された心拍とを比較することができる。測定及び予測された心拍の間の差が低い(即ち、予測及び測定された心拍が、互いに対応する)場合、サンプリングレート又は測定強度は減らされることができる。しかしながら、測定及び予測された心拍の間の差が高い場合、サンプリング周波数は増加される、及び/又は測定強度(光強度)が増加されることができる。
本発明によれば、心拍監視システム100は、1次センサ110だけでなく少なくとも1つの2次センサ120を収容するハウジングを持つことができる。しかしながら、代替的に、2次センサ120は、1次センサ110のハウジングの外側に構成されることができる。例えば、いくつかの2次センサは、スマートフォンなどといった外部デバイスの一部とすることができる。2次センサ120は、1次センサ110のハウジングとして体の他の部分に構成されることもできる。
本発明によれば、2次センサ120は、例えば加速度計といったモーションセンサである。モデルユニット133はこうして、モーションセンサから受信される現在及び過去の測定を考慮して、モデルユニットに格納されるモデルに基づき、ユーザの心拍を予測することができる。例えば、低い運動が測定されるとき、休息時の心拍が予測され、より高いレベルの運動がモーションセンサにより測定される場合、休息時の心拍より高い心拍が予測される。予測された心拍は、モデルユニット133に格納されるモデルから得られる。モデルは、例えば温度、高度、ユーザの年齢等といったパラメータを考慮し、運動の関数として、心拍の進展を与える。
心拍監視システムは、手首デバイスとして構成されることができる。心拍監視システムは、ユーザの耳に、又はこの上に着用されるデバイスとして構成されることもできる。監視デバイスは、ユーザによりかけられる眼鏡の部分でもよい。心拍監視デバイスは、補聴器の部分でもよいか、又はユーザにより着用されることもできる。
1次センサ110は、光学センサ、電気センサ及び/又は圧力センサとして実現されることができる。2次センサは、湿度センサ、スピードセンサ、加速度センサ、高度計等として実現されることができる。2次センサは、1次センサの電力消費より低い電力消費を持つ。
請求項において、単語「有する」は他の要素又はステップを除外するものではなく、不定冠詞「a」又は「an」は複数性を除外するものではない。
単一のユニット又はデバイスが、請求項において列挙される複数のアイテムの機能を満たすことができる。特定の手段が相互に異なる従属項に記載されるという単なる事実は、これらの手段の組み合わせが有利に使用されることができないことを意味するものではない。
ユーザの心拍に影響を与える心拍又は生理的要因の測定、1次センサの動作及び/又は電力消費の管理といった1つ又は複数のユニット又はデバイスにより実行される手順は、他の任意の数のユニット又はデバイスにより実行されることができる。これらの手順及びユーザの心拍をモニタする方法による心拍監視システムの制御は、コンピュータプログラムのプログラムコード手段として及び/又は専用ハードウェアとして実現されることができる。
コンピュータプログラムは、他のハードウェアと共に又はその一部として供給される光学的記憶媒体又は固体媒体といった適切な媒体に格納/配布されることができるが、インターネット又は他の有線若しくは無線通信システムを介してといった他の形式で配布されることもできる。
請求項における任意の参照符号は、発明の範囲を限定するものとして解釈されるべきではない。

Claims (7)

  1. ユーザの心拍をモニタする心拍監視デバイスであって、
    第1の電力消費を持ち、ユーザの心拍を測定する少なくとも1つの1次センサと、
    前記ユーザの心拍に影響する少なくとも1つの生理的要素を測定する少なくとも1つの2次センサであって、前記少なくとも1つの2次センサが、前記第1の電力消費より低い第2の電力消費を持つ、少なくとも1つの2次センサと、
    前記少なくとも1つの2次センサから受信される情報に基づき、前記少なくとも1つの1次センサの動作を管理する電源管理ユニットと、
    モデルと前記少なくとも1つの2次センサから受信される情報とに基づき、前記ユーザの心拍を推定するモデルユニットであって、前記モデルが、前記モデルユニットに格納される、モデルユニットとを有し、
    前記モデルユニットが、フィードバックループを介して前記電源管理ユニットに結合され、前記電源管理ユニットは、前記測定された心拍と前記推定された心拍とが互いに対応する場合、前記1次センサのサンプリング周波数及び/又は測定強度減らすよう構成される、心拍監視デバイス。
  2. 前記少なくとも1つの2次センサにより測定される前記心拍に影響する前記生理的要素が、前記ユーザの呼吸、前記ユーザの速度、前記ユーザの加速度、前記ユーザの皮膚における湿度、前記ユーザの高度及び/又は前記ユーザの温度の少なくとも1つである、請求項に記載の心拍監視デバイス。
  3. 前記少なくとも1つの1次センサが、光学センサである、請求項1に記載の心拍監視デバイス。
  4. 前記少なくとも1つの2次センサが、モーションセンサである、請求項1に記載の心拍監視デバイス。
  5. 手首デバイスとして構成される、請求項1に記載の心拍監視デバイス。
  6. ユーザの心拍をモニタする方法において、
    第1の電力消費を持つ少なくとも1つの1次センサによりユーザの心拍を測定するステップと、
    少なくとも1つの2次センサにより前記ユーザの心拍に影響する少なくとも1つの生理的要素を測定するステップであって、前記少なくとも1つの2次センサが、前記第1の電力消費より低い第2の電力消費を持つステップと、
    前記少なくとも1つの2次センサから受信される情報に基づき、前記少なくとも1つの1次センサの動作及び/又は電力消費を管理するステップと、
    モデルユニットに格納されるモデルと前記少なくとも1つの2次センサから受信される情報とに基づき、前記ユーザの心拍を推定するステップと、
    前記測定された心拍と前記推定された心拍とを比較し、前記測定された心拍と前記推定された心拍とが互いに対応する場合、前記1次センサのサンプリング周波数及び/又は測定強度減らすステップとを有する、方法。
  7. ユーザの心拍をモニタするコンピュータプログラムであって、コンピュータに、請求項に記載の方法のステップを実行させるための、コンピュータプログラム。
JP2016555316A 2014-03-17 2015-03-09 心拍監視デバイス Active JP6121069B2 (ja)

Applications Claiming Priority (3)

Application Number Priority Date Filing Date Title
EP14160183.1 2014-03-17
EP14160183 2014-03-17
PCT/EP2015/054802 WO2015139980A1 (en) 2014-03-17 2015-03-09 Heart rate monitor device

Publications (2)

Publication Number Publication Date
JP2017506967A JP2017506967A (ja) 2017-03-16
JP6121069B2 true JP6121069B2 (ja) 2017-04-26

Family

ID=50280250

Family Applications (1)

Application Number Title Priority Date Filing Date
JP2016555316A Active JP6121069B2 (ja) 2014-03-17 2015-03-09 心拍監視デバイス

Country Status (6)

Country Link
US (1) US9980655B2 (ja)
EP (1) EP3076865B1 (ja)
JP (1) JP6121069B2 (ja)
CN (1) CN105979858B (ja)
RU (1) RU2682760C1 (ja)
WO (1) WO2015139980A1 (ja)

Families Citing this family (22)

* Cited by examiner, † Cited by third party
Publication number Priority date Publication date Assignee Title
US10492009B2 (en) * 2012-05-07 2019-11-26 Starkey Laboratories, Inc. Hearing aid with distributed processing in ear piece
JP6599883B2 (ja) * 2014-03-17 2019-10-30 コーニンクレッカ フィリップス エヌ ヴェ 心拍数モニターシステム、心拍数モニタリング方法及びコンピュータプログラム
KR102252168B1 (ko) * 2015-01-06 2021-05-14 삼성전자 주식회사 센서 정보 처리 방법 및 장치
US10478131B2 (en) 2015-07-16 2019-11-19 Samsung Electronics Company, Ltd. Determining baseline contexts and stress coping capacity
CN105286842B (zh) * 2015-11-06 2018-04-03 深圳风景网络科技有限公司 一种基于加速度传感器预测运动过程心率的方法及装置
US9826912B2 (en) 2015-11-11 2017-11-28 Livassured B.V. Photoplethysmographic device for measuring a heart rhythm
JP2017185141A (ja) * 2016-04-08 2017-10-12 ルネサスエレクトロニクス株式会社 センサシステム
WO2017182694A1 (en) * 2016-04-22 2017-10-26 Nokia Technologies Oy Controlling measurement of one or more vital signs of a living subject
EP3426131B1 (en) * 2016-06-15 2022-11-30 Samsung Electronics Co., Ltd. Continuous stress measurement with built-in alarm fatigue reduction features
JP6766463B2 (ja) * 2016-06-17 2020-10-14 セイコーエプソン株式会社 生体情報処理装置、プログラム及び生体情報処理方法
JP2017221551A (ja) * 2016-06-17 2017-12-21 セイコーエプソン株式会社 生体情報処理装置、プログラム、生体情報処理方法、生体情報処理システム及び情報処理装置
US10878947B2 (en) * 2016-11-18 2020-12-29 International Business Machines Corporation Triggered sensor data capture in a mobile device environment
US10339026B2 (en) * 2016-12-29 2019-07-02 Intel Corporation Technologies for predictive monitoring of a characteristic of a system
US11158179B2 (en) * 2017-07-27 2021-10-26 NXT-ID, Inc. Method and system to improve accuracy of fall detection using multi-sensor fusion
DE102017121715A1 (de) * 2017-09-19 2019-03-21 Osram Opto Semiconductors Gmbh Verfahren zum Messen einer Pulsfrequenz, Pulsfrequenzmesser und Computerprogrammprodukt
US11356315B2 (en) * 2018-03-28 2022-06-07 Intel Corporation Methods and apparatus to dynamically control devices based on distributed data
CN111643066A (zh) * 2019-04-30 2020-09-11 上海铼锶信息技术有限公司 一种低功耗静息心率检测方法及可穿戴设备
CN111513698A (zh) * 2020-04-24 2020-08-11 出门问问信息科技有限公司 一种心率数据传送方法和智能穿戴设备
CN114305368B (zh) * 2020-09-27 2025-05-20 深圳海翼智新科技有限公司 心率监测方法、装置及设备
CN115191935A (zh) * 2021-04-13 2022-10-18 Oppo广东移动通信有限公司 生理参数的监测方法、装置、智能可穿戴设备及存储介质
CN114190912B (zh) * 2021-12-27 2024-02-20 东莞市猎声电子科技有限公司 一种ppg心率电子检测装置降低功耗的方法
CN118787326B (zh) * 2024-09-13 2025-02-11 杭州神络医疗科技有限公司 呼吸监测联合优化方法、计算机设备和可读存储介质

Family Cites Families (16)

* Cited by examiner, † Cited by third party
Publication number Priority date Publication date Assignee Title
US5746697A (en) 1996-02-09 1998-05-05 Nellcor Puritan Bennett Incorporated Medical diagnostic apparatus with sleep mode
US7559899B2 (en) * 2006-04-12 2009-07-14 Salutron, Inc. Power saving techniques for continuous heart rate monitoring
RU2464928C2 (ru) * 2006-05-09 2012-10-27 Конинклейке Филипс Электроникс Н.В. Устройство количественного анализа
JP4153003B2 (ja) 2006-09-04 2008-09-17 シャープ株式会社 生体情報測定装置、電力消費制御方法、生体情報測定プログラム、及びコンピュータ読み取り可能な記録媒体
RU2336810C1 (ru) * 2007-04-02 2008-10-27 Государственное образовательное учреждение высшего профессионального образования Воронежское высшее военное авиационное инженерное училище (военный институт) Оптоэлектронный ик-датчик пульсовой волны
EP2116183B1 (en) * 2008-05-07 2012-02-01 CSEM Centre Suisse d'Electronique et de Microtechnique SA Robust opto-electrical ear located cardiovascular monitoring device
CN102281816B (zh) * 2008-11-20 2015-01-07 人体媒介公司 用于确定危重护理参数的方法和设备
PL2432391T3 (pl) 2009-05-18 2014-08-29 Koninklijke Philips Nv Aparat do pomiaru tętna
US9167991B2 (en) * 2010-09-30 2015-10-27 Fitbit, Inc. Portable monitoring devices and methods of operating same
US20120130201A1 (en) * 2010-11-24 2012-05-24 Fujitsu Limited Diagnosis and Monitoring of Dyspnea
US20120136226A1 (en) * 2010-11-29 2012-05-31 Nellcor Puritan Bennett Llc Pulse Oximetry For Determining Heart Rate Variability As A Measure Of Susceptibility To Stress
CN103596492B (zh) * 2011-02-09 2017-02-22 麻省理工学院 耳戴式生命体征监视器
JP5682369B2 (ja) 2011-02-23 2015-03-11 セイコーエプソン株式会社 拍動検出装置
US9186077B2 (en) 2012-02-16 2015-11-17 Google Technology Holdings LLC Method and device with customizable power management
JP6064431B2 (ja) * 2012-08-17 2017-01-25 富士通株式会社 運動判定プログラム、携帯電子機器、運動判定方法及び情報処理装置
WO2014039567A1 (en) * 2012-09-04 2014-03-13 Bobo Analytics, Inc. Systems, devices and methods for continuous heart rate monitoring and interpretation

Also Published As

Publication number Publication date
EP3076865B1 (en) 2017-05-10
US9980655B2 (en) 2018-05-29
CN105979858B (zh) 2018-02-16
WO2015139980A1 (en) 2015-09-24
CN105979858A (zh) 2016-09-28
US20170258338A1 (en) 2017-09-14
JP2017506967A (ja) 2017-03-16
EP3076865A1 (en) 2016-10-12
RU2682760C1 (ru) 2019-03-21

Similar Documents

Publication Publication Date Title
JP6121069B2 (ja) 心拍監視デバイス
US11717188B2 (en) Automatic detection of user's periods of sleep and sleep stage
JP6599883B2 (ja) 心拍数モニターシステム、心拍数モニタリング方法及びコンピュータプログラム
US10226177B2 (en) Mobility aid monitoring system with motion sensor and transceiver
JP2019513489A (ja) センサが着用されるときを検出するためのシステム及び方法
US11504068B2 (en) Methods, systems, and media for predicting sensor measurement quality
US11419509B1 (en) Portable monitor for heart rate detection
US11937905B2 (en) Techniques for leveraging data collected by wearable devices and additional devices
NL2017538B1 (en) Wireless vital sign monitoring
US20150359992A1 (en) Electronic device, method, and computer program product
WO2013093686A1 (en) Apparatus and method for monitoring a sleeping person
JP2023545233A (ja) 改善された皮膚温度モニタリングのための方法、システム、およびデバイス
CN111083022A (zh) 一种移动终端及其控制方法、计算机存储介质
JP6180668B2 (ja) 光学的バイタルサインセンサ
US10596061B2 (en) Mobility aid monitoring system with motion sensor and transceiver
EP3714463A1 (en) Personal health monitoring
US20230098734A1 (en) Electronic device and control method thereof
US20240225466A1 (en) Techniques for leveraging data collected by wearable devices and additional devices
US20250387077A1 (en) Snore detection system

Legal Events

Date Code Title Description
A521 Request for written amendment filed

Free format text: JAPANESE INTERMEDIATE CODE: A523

Effective date: 20160901

A871 Explanation of circumstances concerning accelerated examination

Free format text: JAPANESE INTERMEDIATE CODE: A871

Effective date: 20160901

A621 Written request for application examination

Free format text: JAPANESE INTERMEDIATE CODE: A621

Effective date: 20160901

RD04 Notification of resignation of power of attorney

Free format text: JAPANESE INTERMEDIATE CODE: A7424

Effective date: 20170214

A975 Report on accelerated examination

Free format text: JAPANESE INTERMEDIATE CODE: A971005

Effective date: 20170303

TRDD Decision of grant or rejection written
A01 Written decision to grant a patent or to grant a registration (utility model)

Free format text: JAPANESE INTERMEDIATE CODE: A01

Effective date: 20170309

A61 First payment of annual fees (during grant procedure)

Free format text: JAPANESE INTERMEDIATE CODE: A61

Effective date: 20170328

R150 Certificate of patent or registration of utility model

Ref document number: 6121069

Country of ref document: JP

Free format text: JAPANESE INTERMEDIATE CODE: R150

R250 Receipt of annual fees

Free format text: JAPANESE INTERMEDIATE CODE: R250

R250 Receipt of annual fees

Free format text: JAPANESE INTERMEDIATE CODE: R250

R250 Receipt of annual fees

Free format text: JAPANESE INTERMEDIATE CODE: R250

R250 Receipt of annual fees

Free format text: JAPANESE INTERMEDIATE CODE: R250

R250 Receipt of annual fees

Free format text: JAPANESE INTERMEDIATE CODE: R250

R250 Receipt of annual fees

Free format text: JAPANESE INTERMEDIATE CODE: R250