JP6114709B2 - 磁気弾性センサ、このセンサを備える荷重ピン、ボールジョイントおよび牽引カップリング、荷重ベクトルの方向を決定する方法 - Google Patents

磁気弾性センサ、このセンサを備える荷重ピン、ボールジョイントおよび牽引カップリング、荷重ベクトルの方向を決定する方法 Download PDF

Info

Publication number
JP6114709B2
JP6114709B2 JP2014061733A JP2014061733A JP6114709B2 JP 6114709 B2 JP6114709 B2 JP 6114709B2 JP 2014061733 A JP2014061733 A JP 2014061733A JP 2014061733 A JP2014061733 A JP 2014061733A JP 6114709 B2 JP6114709 B2 JP 6114709B2
Authority
JP
Japan
Prior art keywords
shaft
magnetoelastic
sensor
magnetic field
magnetic
Prior art date
Legal status (The legal status is an assumption and is not a legal conclusion. Google has not performed a legal analysis and makes no representation as to the accuracy of the status listed.)
Active
Application number
JP2014061733A
Other languages
English (en)
Other versions
JP2014206531A (ja
Inventor
ヨハネス ギーシブル
ヨハネス ギーシブル
Original Assignee
メソッド・エレクトロニクス・マルタ・リミテッド
Priority date (The priority date is an assumption and is not a legal conclusion. Google has not performed a legal analysis and makes no representation as to the accuracy of the date listed.)
Filing date
Publication date
Application filed by メソッド・エレクトロニクス・マルタ・リミテッド filed Critical メソッド・エレクトロニクス・マルタ・リミテッド
Publication of JP2014206531A publication Critical patent/JP2014206531A/ja
Application granted granted Critical
Publication of JP6114709B2 publication Critical patent/JP6114709B2/ja
Active legal-status Critical Current
Anticipated expiration legal-status Critical

Links

Images

Classifications

    • GPHYSICS
    • G01MEASURING; TESTING
    • G01LMEASURING FORCE, STRESS, TORQUE, WORK, MECHANICAL POWER, MECHANICAL EFFICIENCY, OR FLUID PRESSURE
    • G01L9/00Measuring steady of quasi-steady pressure of fluid or fluent solid material by electric or magnetic pressure-sensitive elements; Transmitting or indicating the displacement of mechanical pressure-sensitive elements, used to measure the steady or quasi-steady pressure of a fluid or fluent solid material, by electric or magnetic means
    • G01L9/0001Transmitting or indicating the displacement of elastically deformable gauges by electric, electro-mechanical, magnetic or electro-magnetic means
    • BPERFORMING OPERATIONS; TRANSPORTING
    • B60VEHICLES IN GENERAL
    • B60DVEHICLE CONNECTIONS
    • B60D1/00Traction couplings; Hitches; Draw-gear; Towing devices
    • B60D1/24Traction couplings; Hitches; Draw-gear; Towing devices characterised by arrangements for particular functions
    • B60D1/248Traction couplings; Hitches; Draw-gear; Towing devices characterised by arrangements for particular functions for measuring, indicating or displaying the weight
    • FMECHANICAL ENGINEERING; LIGHTING; HEATING; WEAPONS; BLASTING
    • F16ENGINEERING ELEMENTS AND UNITS; GENERAL MEASURES FOR PRODUCING AND MAINTAINING EFFECTIVE FUNCTIONING OF MACHINES OR INSTALLATIONS; THERMAL INSULATION IN GENERAL
    • F16CSHAFTS; FLEXIBLE SHAFTS; ELEMENTS OR CRANKSHAFT MECHANISMS; ROTARY BODIES OTHER THAN GEARING ELEMENTS; BEARINGS
    • F16C11/00Pivots; Pivotal connections
    • F16C11/04Pivotal connections
    • F16C11/06Ball-joints; Other joints having more than one degree of angular freedom, i.e. universal joints
    • GPHYSICS
    • G01MEASURING; TESTING
    • G01LMEASURING FORCE, STRESS, TORQUE, WORK, MECHANICAL POWER, MECHANICAL EFFICIENCY, OR FLUID PRESSURE
    • G01L1/00Measuring force or stress, in general
    • G01L1/12Measuring force or stress, in general by measuring variations in the magnetic properties of materials resulting from the application of stress
    • G01L1/125Measuring force or stress, in general by measuring variations in the magnetic properties of materials resulting from the application of stress by using magnetostrictive means
    • GPHYSICS
    • G01MEASURING; TESTING
    • G01NINVESTIGATING OR ANALYSING MATERIALS BY DETERMINING THEIR CHEMICAL OR PHYSICAL PROPERTIES
    • G01N27/00Investigating or analysing materials by the use of electric, electrochemical, or magnetic means
    • G01N27/72Investigating or analysing materials by the use of electric, electrochemical, or magnetic means by investigating magnetic variables
    • GPHYSICS
    • G01MEASURING; TESTING
    • G01PMEASURING LINEAR OR ANGULAR SPEED, ACCELERATION, DECELERATION, OR SHOCK; INDICATING PRESENCE, ABSENCE, OR DIRECTION, OF MOVEMENT
    • G01P13/00Indicating or recording presence, absence, or direction, of movement
    • G01P13/02Indicating direction only, e.g. by weather vane
    • GPHYSICS
    • G01MEASURING; TESTING
    • G01LMEASURING FORCE, STRESS, TORQUE, WORK, MECHANICAL POWER, MECHANICAL EFFICIENCY, OR FLUID PRESSURE
    • G01L3/00Measuring torque, work, mechanical power, or mechanical efficiency, in general
    • G01L3/02Rotary-transmission dynamometers
    • G01L3/04Rotary-transmission dynamometers wherein the torque-transmitting element comprises a torsionally-flexible shaft
    • G01L3/10Rotary-transmission dynamometers wherein the torque-transmitting element comprises a torsionally-flexible shaft involving electric or magnetic means for indicating
    • G01L3/101Rotary-transmission dynamometers wherein the torque-transmitting element comprises a torsionally-flexible shaft involving electric or magnetic means for indicating involving magnetic or electromagnetic means
    • G01L3/102Rotary-transmission dynamometers wherein the torque-transmitting element comprises a torsionally-flexible shaft involving electric or magnetic means for indicating involving magnetic or electromagnetic means involving magnetostrictive means
    • YGENERAL TAGGING OF NEW TECHNOLOGICAL DEVELOPMENTS; GENERAL TAGGING OF CROSS-SECTIONAL TECHNOLOGIES SPANNING OVER SEVERAL SECTIONS OF THE IPC; TECHNICAL SUBJECTS COVERED BY FORMER USPC CROSS-REFERENCE ART COLLECTIONS [XRACs] AND DIGESTS
    • Y10TECHNICAL SUBJECTS COVERED BY FORMER USPC
    • Y10TTECHNICAL SUBJECTS COVERED BY FORMER US CLASSIFICATION
    • Y10T403/00Joints and connections
    • Y10T403/20Joints and connections with indicator or inspection means

Landscapes

  • General Physics & Mathematics (AREA)
  • Physics & Mathematics (AREA)
  • Engineering & Computer Science (AREA)
  • Chemical & Material Sciences (AREA)
  • Mechanical Engineering (AREA)
  • General Engineering & Computer Science (AREA)
  • Electrochemistry (AREA)
  • Analytical Chemistry (AREA)
  • Biochemistry (AREA)
  • General Health & Medical Sciences (AREA)
  • Immunology (AREA)
  • Pathology (AREA)
  • Life Sciences & Earth Sciences (AREA)
  • Health & Medical Sciences (AREA)
  • Chemical Kinetics & Catalysis (AREA)
  • Transportation (AREA)
  • Force Measurement Appropriate To Specific Purposes (AREA)

Description

本発明は、一般に、荷重を測定するための磁場センサの使用を伴うシステムおよび方法に関する。具体的には、本発明は、この磁場センサを組み込んでいる磁気弾性センサ、荷重ピン、ボールジョイント、および牽引カップリング(tow coupling)に関する。さらに、本発明は、荷重ベクトルの方向を決定する方法に関する。
機械的な力の影響を受ける部材を有するシステムの制御において、機械的荷重を決定することは、基礎的パラメータの関心事の1つである。荷重、トルク、曲げ、および/またはせん断応力の感知は、正確、確実、かつ安価な仕方で実施されなければならない。
これまでは、機械的荷重の測定は、接触タイプのセンサを用いて達成された。接触タイプは、部材に直接取り付けられ、あるいは、前記シャフト状部材に構成されたものである。一般的な接触タイプのセンサは、ひずみゲージである。この検出器は、部材の表面に直接的に取り付けられ、または部材に構成されていた。たとえば、ひずみゲージは、シャフトの表面に取り付けられる。ひずみゲージが特定のひずみを受けたとき、この装置の電気的抵抗が変化する。
ひずみゲージの典型的な応用は、荷重ピンである。荷重ピンは、荷重および力を測定し、かつ過荷重の保護をもたらすために使用される変換器である。複数の荷重ピンが、通常のシャフトの代わりに機械内に装着されることがある。これらは、典型的には、ひずみゲージに嵌合され、測定された荷重に比例する信号を生成することができる。
しかし、ひずみゲージは、荷重を受ける部材と直接的に機械接触する必要があるため、比較的不安定であり、信頼性が限られている。これに加えて、ひずみゲージの測定値はドリフトする傾向があり、それによって信頼性が損なわれる。長期測定するときは、なおさらである。
幅広く使用されているひずみゲージの代替策として、磁気弾性効果を活用する、複数の非接触タイプのセンサが開発された。これらは、さまざまな機械的システムにおける回転シャフトのトルク測定に使用されることが多い。たとえば、Garshelisの米国特許第6,553,847B2号明細書は、参照によってその開示が本明細書に全体的に組み込まれるものであるが、磁気弾性トルクセンサを開示している。磁気弾性トルクセンサは、作用したトルクを示す出力信号を供する。別のセンサが、このセンサは回転シャフトに適用されたものであるが、Garshelisの米国特許第5,351,555号明細書に開示されている。Garshelisの米国特許第5,351,555号明細書は、参照によってその開示が本明細書に全体的に組み込まれる。このUS’555特許において、磁気弾性活動部位が、シャフトまわりの環状部材にある。この環状部材は、効果的な一軸性の磁気異方性が円周方向に与えられた磁気材料を備えている。シャフトがトルクを受けたとき、シャフト内に誘発された応力は、シャフトに堅固に連結された環状部材に伝達される。US’847特許では、シャフトの材料自身が、円周方向に磁気分極されている。したがって、このセンサは、磁気材料からなる別部材のリングを設けずにすむ。いずれのシステムにおいても、磁気弾性活動部位から発生する磁場を感知するため、磁場センサは、この領域の近傍に装着される。シャフトにねじり応力が作用したとき、円周方向に指向された磁化は向きを変え、ねじり応力が増大するにつれて次第にらせん状になる。
米国特許出願公開第2012/0074933A1号明細書は、参照によってその開示が本明細書に全体的に組み込まれるものであるが、シャフトの円周の周りに配置された複数のセンサを備える磁気弾性タイプの非接触センサを開示している。磁場センサは、シャフトが回転する間は固定されている。その結果、各センサは、磁気分極領域の特定の部分から発生する磁場に繰り返しさらされる。このため、ひずみの測定値に対する平均化効果がもたらされる。これは、ひずみの値の決定のために、個々のセンサの信号が平均化されるためである。こうして、磁気分極に残存する不均一性が平均化される。
要約すると、すべての従来技術の概念は、従来のひずみゲージを使用するものであるか、あるいは磁気分極領域を含む回転シャフトと共働する1つ以上の固定式の磁場センサを有するか、のどちらかである。
米国特許第6,553,847B2号明細書 米国特許第5,351,555号明細書 米国特許出願公開第2012/0074933A1号明細書
前述に基づいて、典型的には非回転式であるが、機械的荷重を受ける部材を有するシステムにおいて、応力およびひずみを効果的に測定するための、新規で、しかも、より良好な技術が必要とされる。
本発明の1つの態様は、磁気弾性センサである。同磁気弾性センサは、少なくとも1つの磁気弾性活動部位を有し、長手方向に延び、軸芯を有するシャフト状部材と、磁センサ手段と、を備える。このシャフト状部材は、前記シャフト状部材の内部に機械的応力をもたらす荷重を受ける。少なくとも1つの磁気弾性活動部位は、シャフト状部材に直接的または間接的に取り付けられる。しかし、少なくとも1つの磁気弾性活動部位はまた、前記シャフト状部材の一部を形成していてもよい。磁気弾性活動部位は、機械的応力が、活動部位に伝えられるような仕方で配置される。前記部位は、作用した応力が増大するにつれて磁気分極が次第にらせん状になるような円周方向の磁気分極を有する磁気分極領域を備える。磁センサ手段は、少なくとも1つの磁気弾性活動部位の近くに配置される。磁センサ手段は、さらに、磁気分極領域から発生する応力誘起磁束に対応する信号を出力するように構成される。本発明の態様による磁気センサ手段は、第1の感知方向を有する第1の方向感知性磁場センサ及び第2の感知方向を有する第2の方向感知性磁場センサを備える前記荷重は、少なくとも曲げ応力、せん断応力、軸方向の応力のいずれか一つであり、第1及び第2の方向感知性磁場センサは、前記荷重の結果として生じる荷重ベクトルを決定するために構成される。第1及び第2の方向感知性磁場センサは、当該第1及び第2の感知方向が前記軸芯の方向に対して少なくともほぼ平行になるように、または前記シャフト状部材の接線方向に対して少なくともほぼ平行になるように配置される。前記前記第1及び第2の感知方向は、互いに180°反対であり、前記第1及び第2の方向感知性磁場センサは、予め設定された既知の空間座標を前記シャフト状部材に対して有するように配置される。
有利なことは、本発明の態様による磁気弾性センサは、センサ手段とシャフト部材の間の機械的なリンク結合または連結を不要とする。これは、そのような連結の機械的不具合が招来するエラーの根源を解消する。本磁気弾性センサは、厳しい作動条件下でも確実に作動する。長期測定中の測定値のドリフトは低減される。本発明の態様による磁気弾性センサは、たとえば、陸上、海上、鉄道、または航空の輸送車両の油圧ユニットの一部であってもよく、ほぼすべてのシャフト状部材に使用されていてもよく、または構成されていてもよい、という点で万能である。
本発明の有利な実施形態によれば、少なくとも1つの方向感知性磁場センサの感知方向は、シャフト状部材の接線方向に対して少なくともほぼ平行になるように配置される。磁気弾性活動部位は、直角力にさらされたとき、シャフトの接線方向に指向された成分を有する応力誘起磁束を発生させる。磁気弾性効果を利用する従来のセンサシステムでは、磁
場ベクトルの接線成分は無視される。これは、主として、これらの従来のセンサは、せん断応力を測定するトルクセンサであるという事実によるものである。この状況では、磁気誘発された磁場ベクトルは、シャフトの軸方向に対してほぼ平行である。しかし、本発明の態様による磁気弾性センサは、磁場ベクトルの接線成分を感知し、したがって、シャフト状部材内の引っ張りまたは圧縮の応力になり得る法線応力を決定することができる。このタイプの応力は、シャフトの曲がり、または軸方向荷重を受けることによる場合がある。換言すれば、引っ張り応力および圧縮応力は、好ましくは、シャフトのほぼ軸方向に作用した力によるものである。
本発明の別の実施形態によれば、磁センサ手段の少なくとも1つの磁場センサは、前記センサの感知方向が、シャフト状部材の径方向に対して少なくともほぼ平行になるように配置される。応力に誘発された磁場の径方向成分は、シャフト状部材内に誘発されたすべての応力タイプから進化する。換言すれば、せん断応力および法線応力は、何れも活動部位から発生する磁場ベクトルを誘発する。前記磁場ベクトルは径方向成分を有する。その結果、本発明のこの特定の実施形態による磁気弾性センサは、すべての応力タイプに対して感知性のものである。本実施形態は、シャフトが1つのタイプの応力だけを受ける場合に特に適している。
本発明のさらに別の実施形態によれば、磁センサ手段は、第1の方向感知性磁場センサと、第2の方向感知性磁場センサとを備える。第1および第2のセンサは、これらが、180°反対の感知方向を有するように配置される。磁場センサのこの「逆も同様の」構成は、この実施形態による磁気弾性センサが、作用した応力と機械的荷重との間の異なる方向を区別することを可能にする。たとえば、圧縮応力および引っ張り応力は、第1および第2のセンサから取得された測定データが差分処理された場合に区別可能である。
本発明の別の実施形態では、第1および第2の磁場センサは、磁気弾性活動部位の両側の近くにそれぞれ配置される。活動部位の両側は、軸芯に対して互いに反対側にある。活動部位の片側は、シャフトの内部の表面または壁であってもよく、同様に、シャフト状部材の外部の壁または表面であってもよい。これは、センサ手段の個々の構成に依存する。たとえば、センサ手段の複数のセンサが、中空のシャフト状部材の内部に配置されたとき、それらの側面は、部材の空洞の面に対向する。センサがシャフト状部材の外部に配置されたとき、それらの対向側面は、シャフトの外側面であって、これらは、軸芯に関して対向している。この固有のセンサ配置では、センサ手段は、シャフトの軸方向の応力および荷重、すなわち引っ張り応力および圧縮応力を取得するのに適している。好ましくは、第1および第2の感知方向は、これらが軸芯に対してほぼ直角になるように配置されていてもよい。
本発明の別の有利な態様によれば、磁気弾性センサは、少なくとも4つの磁場センサを有するセンサ手段を備える。これらの4つのセンサは、第1から第4の感知方向を有する。第1から第4のセンサは、少なくとも、第1から第4の感知方向と軸芯とが互いにほぼ平行になるように配置される。さらに、第1から第4の磁場センサは、シャフトの円周に沿って配置されており、互いに円周方向においてほぼ等しい距離を有している。特に、第1および第3の磁場センサは、軸芯に対して互いに反対側に配置される。第1および第3の感知方向は、互いに180°反対側に配置されていてもよい。さらに、第2および第4の磁場センサは、軸芯に対して互いに反対に配置されていてもよい。第2および第4の感知方向は、互いに180°反対に配置されていてもよい。
本発明のこの実施形態によれば、センサ手段は、シャフト状部材に作用した荷重の第1の成分および第2の成分を決定するように構成される。特に、第1および第3の磁場セン
サは、センサの第1のグループを形成することができ、第2および第4の磁場センサは、センサの第2のグループを形成することができる。デカルト座標系で考えた場合、センサの第1のグループは、第1のデカルト軸、たとえばX軸に沿って指向された荷重成分を決定するのに適している。センサの第2のグループは、第1の成分に対してほぼ直角である荷重の成分を感知する。これを同じデカルト座標系で考えた場合、センサの第2のグループは、Y方向の力成分を感知する。換言すれば、荷重のXおよびYの成分を決定できる。その結果、シャフト状部材に作用した応力または力の方向および値は、たとえばデカルト座標系において前記成分から決定できる。
本発明のさらに別の態様によれば、シャフト状部材は、第1の磁気弾性活動部位および第2の磁気弾性活動部位を含む。本発明の他の実施形態と同様に、これらは、機械的応力が活動部位に伝えられるような仕方で、部材の一部に直接的もしくは間接的に取り付けられ、または部材の一部を形成する。活動部位のそれぞれ1つは、磁気分極領域を含む。第1の活動部位の磁気分極は、第2の活動部位の磁気分極のほぼ反対である。磁センサ手段は、第1の対の磁センサおよび第2の対の磁センサを備える。各対は、第1および第2の方向感知性磁場センサを備える。配置されている第1および第2の対のセンサは、第1および第2の磁気弾性活動部位それぞれの近くにある。第1のセンサ対は、第1の磁気分極領域から発生する応力誘起磁束に対応する第1の信号を出力する。同様に、磁場センサの第2の対は、第2の磁気分極領域から発生する応力誘起磁束に対応する第2の信号を出力する。磁気弾性センサの制御ユニットは、部材に作用した応力を決定するように構成される。制御ユニットは、センサの第1の対およびセンサの第2の対の信号の差分評価を実施する。
信号の差分評価は、有利には、作用した応力に連関する信号を2倍にする。第1および第2の磁気活性部位の磁気分極は、互いに反対であるため、理論上生じ得る外部磁場は相殺される。本実施形態による磁気弾性センサは、より感知性が高いとともに、よりエラーになりにくい。
本発明の実施形態によれば、部材は、少なくとも部分的に中空のシャフトであり、センサ手段のすべての磁場センサは、全体的に、中空シャフトの内部の内側に配置される。これは、シャフト状部材周りの構造を占める空間が制限されている場合に有利である。さらには、磁気弾性センサは、シャフトの遮蔽効果のために外部の場の影響を受けにくい。特な、少なくとも1つの磁気弾性活動部位は、部材の円周に沿って突出する。前記領域は、磁気分極領域における磁化された範囲が最大でも部材の円周方向のプラスマイナス45°の限界値内にあるように、磁化される。さらに、方向感知性磁場センサは、ベクトルセンサであってもよい。特に、ベクトルセンサは、ホール効果センサ、磁気抵抗センサ、磁気トランジスタセンサ、磁気ダイオードセンサ、MAGFET場センサ、またはフラックスゲート磁気計のうちの1つであってもよい。これらの態様は、有利には、本発明のすべての実施形態に適用される。
本発明の態様によるセンサは、路上走行車またはオフロード走行車に基づくランド部の一部でよい、荷重ピン、ボールジョイント、または牽引カップリングを構成するのに特に適している。
本発明の別の態様によれば、本発明の態様による磁気弾性センサを構成する、長手方向に延びるシャフト状部材を有する荷重ピンが、提供される。従来、荷重ピンには、ひずみゲージが装備される。ひずみケージは、良く知られている技術的欠陥を有する。本発明の態様による荷重ピンは、従来技術の解決策の欠点を克服する。特に、本荷重ピンは、測定値のドリフトの傾向がなく、エラーが起こりにくい。
せん断力がかけられる、油圧ピストン、クレーン用途、車ならびにボルトおよびピンを組み込んでいる他のさまざまな用途に、本発明の態様による荷重ピンを設けることができる。従来、ひずみゲージを用いたせん断力センサは、作用した荷重の測定を可能にするように十分な変形をもたらすべく、これらが意図的に弱くなるように、設計されている。しかし、磁気弾性せん断力センサは、弱い部位がなく、しかも極めて過荷重能力の高いボルトを設計する可能性を与える。磁気弾性センサを構成する荷重ピンは、ピン、ねじ、ボルト等内のせん断力を検出する可能性を与える。
本発明のさらに別の態様によれば、軸受スタッドおよびソケットを有するボールジョイントであって、軸受スタッドが、本発明の態様による磁気弾性センサを構成する長手方向に延びるシャフト状部材を備えている、ボールジョイントが設けられる。ボールジョイントは通常、さまざまな方向の力および応力を受ける。本発明の態様によるセンサは、有利には、ボールジョイントのシャフト状部材に作用している力または応力の方向を決定するのに適している。スタビライザーリンクおよびステアリングシステムでは、ボールジョイントは、可動式の構成要素同士を連結して柔軟性を与えるために使用される。ボールジョイント内の荷重の検出は、将来的な安定性制御システム、特にシャーシ応用におけるシステムのために、拡張された可能性を提供する。集積された荷重センサを有するボールジョイントは、スタビライザーリンク、ステアリング等に作用する荷重を検出する可能性を与える。
本発明のさらに別の態様によれば、湾曲したシャフトおよびけん引ボールを有する牽引カップリングが、提供される。湾曲したシャフトは、本発明の態様による磁気弾性センサを構成する、少なくとも1つの長手方向に延びるシャフト状部材を備える。ボールジョイントと同様に、牽引カップリングもまた、さまざまな方向を有する力を受ける。前記力の決定は、安全要求事項を伴って安定した制御のために達成するのに適し得る。牽引カップリングに作用した荷重の検出は、自動車業界において望ましい。本発明の態様による磁気弾性センサは、推奨された正確性、コスト目標を達成し、環境的仕様を満たす可能性を与える。
有利な実施形態によれば、牽引カップリングの湾曲したシャフトは、第1および第2の長手方向に延びるシャフト状部材を備える。第1および第2のシャフト状部材の軸芯は、相互にほぼ直角である。第1および第2のシャフト状部材の各々には、本発明の態様による磁気弾性センサが設けられる。特に、これらのセンサは、上記シャフト状部材で構成されていてもよい。有利には、仮に2つのセンサシステムが牽引カップリングに構成されると、支持力およびけん引力を検出することができる。これに加えて、対応する横断方向力を決定することができる。
本発明のさらに別の態様によれば、少なくとも曲げ応力、せん断応力、軸方向の応力のいずれか一つである荷重の荷重ベクトルの方向を決定する方法が、提供される。前記方法においては、本発明の態様による磁気弾性センサが、設けられる。換言すれば、長手方向に延び、軸芯を有するシャフト状部材を備えるセンサが設けられ、前記シャフト状部材は、部材に機械的応力をもたらす荷重を受ける。さらに、シャフト状部材は、円周方向の磁気分極を有する少なくとも1つの磁気弾性活動部位を含む。この活動部位は、部材の一部に直接的もしくは間接的に取り付けられ、または部材の一部を形成する。この活動部位は、機械的応力が活動部位に伝えられるような仕方で部材と共働する。前記磁気弾性活動部位は、作用した応力が増大するにつれて磁気分極が次第にらせん形状になるような、少なくとも1つの磁気分極領域を備えている。磁気センサ手段は、少なくとも1つの磁気弾性活動部位の近くに配置される。これは、磁気分極領域から発生する応力誘起磁束に対応する信号を出力するように構成される。磁気センサ手段は、前記荷重を決定するように構成され、第1の感知方向を有する第1の方向感知性磁場センサ及び第2の感知方向を有する第2の方向感知性磁場センサを備える。第1、第2の方向感知性磁場センサは、予め設定された既知の空間座標を前記シャフト状部材に対して有するように配置されており、前記第1及び第2の方向感知性磁場センサは、当該第1及び第2の感知方向が前記軸芯の方向に対して少なくともほぼ平行になるように、または前記シャフト状部材の接線方向に対して少なくともほぼ平行になるように配置され、前記第1及び第2の感知方向は、互いに180°反対である。
さらに、本発明の態様による方法では、長手方向に延びるシャフト状部材は、荷重にさらされる。少なくとも1つの方向感知性磁場センサの測定データは、せん断応力および/または引っ張りまたは圧縮の応力を決定するように処理される。特に、荷重ベクトルの方向は、一方では測定データから、他方では磁場センサと部材の間の予め設定された既知の空間座標から決定されてもよい。
本発明の有利な実施形態によれば、センサ手段は、少なくとも第1から第4の磁場センサを備える。これらの4つのセンサは、第1から第4の感知方向を有する。少なくとも、感知方向と軸芯とが互いにほぼ平行である。第1から第4の磁場センサは、シャフトの円周に沿って配置されており、互いに円周方向においてほぼ等しい距離を有している。本発明のこの実施形態による方法は、さらに、荷重ベクトルの第1の成分を決定するように第1および第3の磁場センサの測定データを処理することを具備する。さらに、上記方法は、荷重ベクトルの第2の成分を決定するように、第2および第4の磁場センサの測定データを処理することを具備する。荷重ベクトルの方向は、第1および第2の成分と、部材に対する第1から第4の磁場センサの予め設定された既知の空間座標から決定される。
本発明の別の実施形態では、磁気弾性センサが提供される。磁気弾性センサは、第1の磁気弾性活動部位および第2磁気弾性活動部位を含む部材を有する。これらは、機械的応力が活動部位に伝えられるような仕方で、部材の一部に直接的もしくは間接的に取り付けられ、または部材の一部を形成する。各々の活動部位は、磁気分極領域を含み、第1の活動部位の磁気分極および第2の活動部位の磁気分極は、互いにほぼ反対である。磁センサ手段は、第1の磁気弾性活動部位の近くに配置された第1および第2の磁場センサを備える第1の対の磁センサを備える。この第1の対は、第1の磁気分極領域から発生する応力誘起磁束に対応する第1の信号を出力する。磁センサ手段は、さらに、第1および第2の磁場センサを備える第2の対の磁センサを備える。これらは、第2の信号を出力するために第2の磁気弾性活動部位の近くに配置される。この第2の信号は、第2の磁気分極領域から発生する応力誘起磁束に対応する。2つの信号、すなわちセンサの第1の対およびセンサの第2の対の差分評価が実施される。部材に作用した応力は、この差分測定および対応する評価から決定される。
本発明の態様による磁気弾性センサに関してすでに述べてきた同じまたは類似の利点は、荷重ベクトルの方向を決定する方法に対しても同じまたは類似の方法で適用されるため、反復しない。
本発明のさらなる態様および特性が、添付の図を参照して本発明の好ましい実施形態の以下の説明から続く。
本発明の実施形態による磁気弾性センサ構成を示し、(a)は、簡略化された側面図、(b)は、(a)の対応する簡略化された断面図である。 本発明の実施形態による磁気弾性センサ構成を示し、(a)は、簡略化された側面図、(b)は、(a)の対応する簡略化された断面図である。 本発明の実施形態による磁気弾性センサ構成を示し、(a)は、簡略化された側面図、(b)は、(a)の対応する簡略化された断面図である。 本発明の実施形態による磁気弾性センサ構成を示し、(a)は、簡略化された軸方向断面図、(b)は、対応する簡略化された断面図である。 本発明の実施形態による磁気弾性センサ構成を示し、(a)は、簡略化された軸方向断面図、(b)は、対応する簡略化された断面図である。 本発明の実施形態による磁気弾性センサ構成を示し、(a)は、簡略化された軸方向断面図、(b)は、対応する簡略化された断面図である。 本発明の実施形態による荷重ピンの簡略化された軸方向断面図である。 この荷重ピンの断面図である。 本発明の実施形態による磁気弾性センサの簡略化された断面図である。 本発明の実施形態によるボールジョイントの簡略化された軸方向断面図である。 図9のX−Xで指定された切断線に沿った断面図である。 本発明の実施形態によるボールジョイントの簡略化された軸方向断面図である。 図11の切断線XII−XIIに沿った断面図である。 本発明の実施形態による牽引カップリングの簡略化された軸方向断面図である。 本発明の実施形態による牽引カップリングの簡略化された軸方向断面図である。
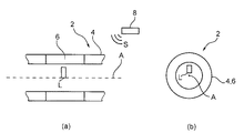
図1(a)は、本発明の実施形態による磁気弾性センサ2の簡略化された側面図である。回転シャフト状部材4には、矢印によってその方向が示されている円周方向の磁気分極Pを有する磁気弾性活動部位6が設けられる。シャフト4がせん断応力を受けるとき、すなわち、例えば活動部位6から左のシャフト部分が、第1の方向に押し付けられ、活動部位6から右のシャフト部分が、このシャフトを反対方向に押し付ける反作用力を受けているとき、活動部位4から発生する磁束ベクトルは、シャフト4の軸方向に指向される成分を有する。センサLは、せん断応力で誘発された磁場のこの成分を検出し、信号Sを出力する。処理ユニット8は、シャフト4に作用した応力を決定するためにこの信号Sを処理するように構成される。センサLは、点線で示される軸芯Aに対してほぼ平行である感知方向を有する。図1bの簡略化された断面は、さらに、シャフト4に対するセンサLの配置を示している。
シャフト4がせん断力をもたらすことがない力、たとえば曲げ力または軸方向の荷重を受けるとき、図2(a)および図2(b)に示す構成がこの荷重を決定することができる。図2(a)には、本発明のこの実施形態による、センサ2を示す簡略化された側面図がある。磁気弾性センサ2は、磁気弾性活動部位6内に引っ張りまたは圧縮の応力をもたらす荷重を受ける、長手方向に延びるシャフト状部材4を備える。シャフト4は、回転式部分でも非回転式部分でもよい。たとえば、シャフト4は、ピンまたはボルトの一部でよい。しかし、シャフト状部材4はまた、たとえば、伝達シャフトなどの回転式部分でもよい。活動部位6の磁気分極Pは、作用した応力が増大するにつれて次第にらせん状になる。特に、活動部位6の磁気分極領域から発生する磁場は、接線成分を有している。応力誘起磁場ベクトルのこの成分は、方向感知性センサLを用いて検出される。このセンサLは、シャフト状部材4について、固定された空間座標を持つように配置されていてもよい。たとえば、シャフト4およびセンサLは、それぞれについて、時間的に一定の空間座標を有することができる。
方向感知性センサLは、信号Sを出力し、信号Sは、処理ユニット8に通信される。方向感知性センサLの測定データは、荷重の方向および値が、信号Sおよび部材4とセンサLの間の予め設定された既知の空間座標から決定されるように処理される。軸方向に作用した引っ張り応力および圧縮応力が、決定される。図2(b)の簡略化された断面は、さらに、部材4とその方向感知性センサLの間の空間座標を示している。感知方向は、シャフト4の接線に対して平行である。換言すれば、これは、軸芯Aに対して少なくともほぼ直角である。
図3(a)には、本発明の別の実施形態による磁気弾性センサ2の別の簡略化された側面図がある。シャフト状部材4は、図2の実施形態と同様に構成される。しかし、方向感知性センサLは、シャフト4の径に対して平行である感知方向を有するように配置される。図3(b)の簡略化された断面は、さらに、部材4とセンサLの間の空間座標を示している。
本発明のこの実施形態による磁気弾性センサ2は、すべてのタイプの応力に対して感知する。活動部位6の磁気分極Pは、作用した応力が増大するにつれて次第にらせん形状になる。応力誘起磁場ベクトルは、径方向成分を含む。磁場ベクトルの前記径方向成分は、センサLを用いて検出される。径方向配向は、1つだけのタイプの応力が現れる状況または用途において適用可能である。これは、処理ユニット8内で信号Sを正しく解釈するための前提条件である。そうでなければ、応力の異なるタイプ間、たとえばトルクと引っ張りまたは圧縮の応力との間で区別することは不可能になってしまうであろう。
図4(a)は、本発明の実施形態による別の磁気弾性センサ2を示している。図4(b)は、このセンサ2の対応する断面である。シャフト状部材4は中空シャフトであり、この場合センサLは、シャフト4の内部空間の内側に配置される。センサLの感知方向は、軸芯Aに対して平行である。センサLの信号Sは、任意の適切なデータリンク、たとえば無線データリンクを用いて処理ユニット8に通信される。センサLの軸方向の配向により、シャフト4に作用したトルクおよび/またはせん断応力が検出可能である。特に、この実施形態は、せん断の応力または力を検出するように構成される。
図5(a)は、本発明の実施形態による、方向感知性センサLを組み込んでいる中空のシャフト状部材4を備える磁気弾性センサ2の簡略化された軸方向断面である。磁場センサLは、シャフト4に対して接線方向に配置される。図2と同様に、センサ2は、中空シャフト4に作用した引っ張りまたは圧縮の応力の測定に適している。このタイプの応力は、シャフト4が曲がることによるものであってもよい。さらに、シャフト4は、せん断力の影響も受ける場合がある。軸芯Aに沿って作用した力もまた、引っ張りまたは圧縮の応力をもたらす可能性がある。図5(b)は、図5(a)に対応する簡略化された断面である。出力信号Sは、センサLからたとえば無線データリンクを介して処理ユニット8に通信される。シャフト4は、たとえばボルトなどの非回転式部分でよく、またはこれは、たとえば、トルクを伝えるシャフトなどの回転式部分でもよい。
図6(a)は、本発明の実施形態による磁気弾性センサ2の別の簡略化された断面である。図6(b)は、このセンサ2の対応する断面を示している。図3の実施形態と同様に、図6のセンサ2は、いかなるタイプの応力の検出にも適している。これは、磁場センサLの径方向配向によるものである。
図7は、本発明の実施形態による荷重ピン10の簡略化された断面である。荷重ピン10は、第1の部材、すなわち上部材11を備える。上部材11は、シャフト状部材4を介して第2の部材、すなわち下部材12に結合されている。上部材11は、左向きの第1のせん断力FS1を受ける。下部材12は、右向きの第2の反対のせん断力FS2にさらされる。シャフト状部材4は、上部材11と下部材12の間の途中部に配置された活動部位6を含む。その結果、活動部位6は両せん断力を受けている。それによって、前記磁気弾性活動部位6の磁気分極領域から発生する磁束は、せん断力FS1、FS2が増大するとき、次第にらせん形状になる。荷重ピン10のセンサ手段は、シャフト状部材4の内周に沿って配置された、4つの方向感知性磁場センサLX1、LX2、LY1、LY2を備える。
方向感知性磁場センサLX1、LX2、LY1、LY2の構成は、図8に示す荷重ピン10の簡略化された断面を参照することによってより詳細に説明される。断面平面は、軸芯Aに対してほぼ直角になるように配置される。第1の方向感知性センサLX1および第3の方向感知性センサLX2は、磁場センサの第1のグループを形成する。センサの第2のグループは、第2の方向感知性センサLY1および第4の方向感知性センサLY2からなる。第1のセンサLX1の感知方向SX1は、第3のセンサLX2の第3の感知方向SX2の180°反対である。これは、従来の記号を用いて図に示される。第1の感知方向SX1は、紙面から出る方向を指し、第3の感知方向SX2は、紙面に入る方向を指す。センサLX1、LX2の第1のグループと同様に、第2の感知方向SY1および第4の感知方向SY2も、互いに180°反対である。第2および第4のセンサLY1、LY2は、それにしたがって配置される。これは、一般的に知られている方向記号を用いて示されているため、第2の感知方向SY1は紙面から出る方向を指し、一方で第4の感知方向SY2は、紙面に入るように指向される。
第2の感知方向SY1を有する第2のセンサLY1および第4の感知方向SY2を有する第4のセンサSY2が、図7の簡略化された断面図に示されている。第1のセンサLX1および第1の感知方向SX1は、センサの構成を明確にするためだけに図7の簡略化された断面に加えられる。当然のことであるが、第1のセンサLX1は、第2および第4のセンサ、SY1、SY2と共通の平面内には配置されず、これは、図8の断面に示されている通りである。
シャフト状部材4が、第1および第2のせん断応力の力FS1、FSにさらされたとき、(第1および第3のセンサLX1、LX2を備える)センサの第1のグループの信号が分析され、それによってそれぞれのせん断応力の力FS1、FS2を誘発する力Fの第1の成分を決定する。デカルト座標系では、この第1の成分は、作用した力FのX成分FXで特定されていてもよい。これは、図8(b)に示されている。第2のグループ(すなわち第2のセンサLY1および第4のセンサLY2)のセンサの測定値の評価の結果、力Fの第2の成分に対する値が生じる。同じデカルト座標系内において、この第2の力は、力FのY成分、すなわち力成分FYで特定される。
本発明のこの実施形態による荷重ピン10を用いて、作用した力Fの量および方向が決定されてもよい。別の本発明の実施形態(図示せず)によれば、方向感知性センサは、軸芯Aに対してほぼ直角である感知方向を有する。このセンサ構成は、たとえば、第1および第3のセンサSX1、SX2を選択し、軸芯Aに対して90°で回転させることによって達成することができる。本発明のこの特定の実施形態によれば、荷重ピン10は、軸方向の圧縮または引っ張りの応力をもたらす力を決定するのに適している。
図8aは、本発明の別の実施形態による磁気弾性センサ2の断面である。第1の部材11は、力Fにさらされる第2の部材12を取り囲む。スリーブ状の第1の部材11は、反作用力を吸収し、これは、部材11の各側部がF/2の力を吸収することを意味している。長手方向に延びるシャフト状部材4は、軸芯Aに沿って第1および第2の部材11、12と交差する。シャフト状部材4は、第1の磁気弾性活動部位61および第2の磁気弾性活動部位62を含む。本発明の他の実施形態と同様に、これらは、機械的応力が活動部位61、62に伝えられるような仕方で、部材4の一部に直接的もしくは間接的に取り付けられ、または部材の一部を形成する。活動部位61、62は、それぞれ反対方向に磁気分極される。これは、第1の活動部位61の第1の磁気分極P61および第2の活動部位62の第2の磁気分極P62によって示されている。磁気分極P61、P62は、互いにほぼ180°反対である。さらには、これらは、軸芯Aに対してほぼ直角である。
第1のセンサL1および第2のセンサL2を備える磁場センサの第1の対は、このセン
サの対が第1の活動部位61と共働するように、シャフト状部材4の内側に配置される。同様に、第1のセンサL1*および第2のセンサL2*を備える磁場センサの第2の対は、第2の活動部位62と相互作用するようにシャフト4の内側に配置される。第1の対のセンサL1、L2および第2の対のセンサL1*、L2*は、それぞれ、第1および第2の磁気弾性活動部位61、62の近くに配置される。第1のセンサ対L1、L2は第1の信号Sを出力し、この信号は、図8aの下側左に、作用した力Fに伴って変化する電圧Vとして示される。信号Sは、第1の磁気分極領域61から発生する応力誘起磁束に対応する。
同様に、磁センサL1*、L2*の第2の対は、第2の磁気分極領域62から発生する応力誘起磁束に対応する第2の信号S*を出力する。この信号S*もまた、作用した力F(図8aの下側左を参照されたい)に伴って変化する電圧V*である。しかし、第2の信号S*の傾きは、第1の信号Sのものと反対である。磁気弾性センサ2の制御ユニット(図示せず)は、部材4内に応力を誘発する力Fを決定するように構成される。制御ユニットは、センサL1、L2の第1の対およびセンサL1*、L2*の第2の対の信号SおよびS*の差分評価を実施する。この差分評価は、有利には、作用した応力に相関付けられた信号の感知性を2倍にする。第1および第2の磁気活性部位61、62の磁気分極P61およびP62は互いに反対であるため、理論上生じ得る外部磁場は相殺される。この実施形態による磁気弾性センサ2は、より感知性が高く、エラーが起こりにくい。
有利には、本発明のすべての実施形態には、個別に反対に磁気分極された活動部位61、62と、2つの対応するセット、すなわちセンサL1、L2の対とL1*、L2*の対とを有する、図8aのセンサ構成が装備されていてもよい。
さらには、図8aの実施形態には、図8の荷重ピンから分かるセンサ構成が装備されていてもよい。換言すれば、センサの対L1、L2およびL1*、L2*は、図7および図8に例示的に示される4つのセンサLX1、LX2、LY1、LY2を有するセンサ構成によって置き換えられていてもよい。本発明のこの特定の実施形態によれば、付加的な力ベクトルを決定することができる。
図9は、本発明の別の実施形態による、ボールジョイント20の簡略化された断面である。ボールジョイント20は、センサシステムを組み込むシャフト状部材4を有する軸受スタッド24を保持するソケット22を備えている。図10は、平面X−Xに沿う、対応する断面である。力Fがボールジョイント20に作用したとき、シャフト状部材4はさまざまな荷重を受ける。図9および10の実施形態によるボールジョイント20のセンサシステムは、せん断応力を検出するように構成される。全般的に、せん断応力の検出は、図7および8の荷重ピンにおけるせん断応力の検出と同様に作動する。
ボールジョイント20のシャフト状部材4は、4つの方向感知性センサLX1、LX2、LY1、LY2を組み込んでいる。ここでも第1および第3の磁場センサLX1、LX2は、作用した力Fの第1の成分FXの決定のためのセンサの第1のグループを形成する(図10を参照されたい)。第2および第4の方向感知性磁場センサLY1、LY2を備えるセンサの第2のグループは、作用した力Fの第2の成分FYを決定するように構成される。第1から第4のセンサLX1、LX2、LY1、LY2の感知方向(図示せず)は、図8と同様に構成される。換言すれば、LX1およびLY1の感知方向は、紙面から出る方向を指す。LY2およびLX2の感知方向は、紙面に入る方向を指す。
図11および図12は、本発明の別の実施形態によるボールジョイント20を示している。図11は、図12の平面XII−XIIに沿った簡略化された軸断面である。シャフト状部材4内で構成されたセンサシステムは、第1から第4の方向感知性磁場センサL1
、L2、L1*、およびL2*を備える。方向感知性センサL1、L2、L1*、L2*は、図9および10の実施形態のセンサLX1、LX2、LY1およびLY2との対比した場合、軸芯Aに対して90°傾斜される。専ら明確にするために、2つだけが示される磁場センサの感知方向(第1および第2のセンサL1、L2のS1、S2を参照されたい)は、シャフト状部材4の軸芯Aに対してほぼ直角である。さらに、センサの対L1およびL2の感知方向、すなわちS1およびS2は、互いに180°反対である。同様に、第2のセンサ対の感知方向(図示せず)S1*およびS2*は、互いにほぼ180°反対である。これは、図12の簡略化された断面にさらに示される。図8の実施形態と同様に、図11および12のセンサ配置は、さまざまな方向の引っ張り応力および圧縮応力を決定するように構成される。換言すれば、センサ対L1、L2およびL1*、L2*の測定値が、応力ベクトルの成分を決定するために評価されていてもよい。
この実施形態によるボールジョイント20のセンサシステムは、軸方向力Fを決定するように構成される。第1および第2のセンサL1、L2の逆の感知方向S1、S1により、軸方向に指向された力Fの、値および向き、すなわち方向を決定することができる。
図13は、本発明の実施形態による、牽引カップリング30を示す簡略化された断面である。牽引カップリング30は、けん引ボール34を担持する湾曲したシャフト32を備える。牽引カップリング30のシャフト32は、第1のシャフト状部材4および第2のシャフト状部材4’を組み込んでいる。シャフト状部材4、4’のそれぞれ1つは、センサ配置によって検出可能な、応力誘起磁場ベクトルを発生させる磁気弾性活動部位6、6’を含む。第1のシャフト状部材4は、けん引力Fを検出するように構成された、第1および第2の方向感知性磁場センサL1、L2を備える。この第1のシャフト状部材4内の第1および第2のセンサL1、L2は、その感知方向(図示せず)が、第1の軸芯Aに対してほぼ平行である。
第2のセンサシステムは、第2のシャフト状部材4’内に構成されているが、この第2のセンサシステムもまた、第1および第2の方向感知性センサL1’、L2’を備え、第1および第2の方向感知性センサL1’、L2’は、いずれも第2の軸芯A’に対してほぼ平行である感知方向(図示せず)を有するように配置される。この第2のセンサシステムは、牽引カップリング30の支持力F’を検出するように構成される。
第1および第2のシャフト状部材4、4’内にそれぞれ存在する、2つのセンサシステムには、各システムが4つの方向感知性磁場センサを備えるように追加のセンサを装備することができる。そのようなセンサ構成は、図7および8を参照してより詳細に説明されている。この構成がこの実施形態に移されたとき、力FおよびF’の対応する横断方向力もまた検出することができる。
図14の簡略化された断面には、牽引カップリング30の別の実施形態が存在する。方向感知性磁場センサL1、L2、LI’、L2’は、図13の実施形態と対比したとき、それぞれの軸芯A、A’に対して90°回転される。第1のシャフト状部材4に配置された第1のセンサシステムの第1および第2の方向感知性磁場センサL1、L2は、感知方向(図示せず)を有する。感知方向は、好ましくは互いに180°反対側にあり、軸芯Aに対してほぼ直角である。第2のシャフト状部材4’に構成された第2のセンサシステムは、第1および第2の方向感知性磁場センサL1’、L2’を備える。第1および第2の方向感知性磁場センサL1’、L2’は、感知方向を有する。感知方向は、好ましくは互いに180°反対であり、第2の軸芯A’に対してほぼ直角である。第1のセンサシステム(すなわち第1および第2のセンサL1、L2)は、支持力Fを決定するように構成される。第2のセンサシステムは、けん引力F’を決定するように構成される。
さらに、図13の実施形態による牽引カップリングには、図8の荷重ピンから知られているセンサ構成が装備されていてもよい。換言すれば、第1および第2のシャフト状部材4、4’内に存在するセンサは、軸芯AおよびA’それぞれに対してほぼ平行である感知方向を有する4つのセンサLX1、LX2、LY1、LY2を各々が有する、センサ構成になり得る。図7および8の荷重ピンに関して示されるセンサ構成は、牽引カップリング30にも適用されてよい。本発明のこの特定の実施形態により、さらなる力ベクトルが決定することができる。
図14の実施形態による牽引カップリング30には、図12から分かるセンサ構成が装備されていてもよい。換言すれば、第1および第2のシャフト状部材4、4’内にある各センサは、それぞれが軸芯AおよびA’に対してほぼ直角の感知方向を有する4つのセンサL1、L2、L1*およびL2*を有するセンサ構成であってもよい。図11および12のボールジョイントについて示されたセンサ構成は、図14の牽引カップリング30にも適用されていてもよい。本発明のこの特定の実施形態により、追加の力ベクトルが決定されていてもよい。
牽引カップリング30のセンサL1、L2、L1’、L2’は、好ましくは牽引カップリング30の中空の湾曲したシャフト状部材32の内側に配置される。
方向感知性センサL1、L2、L1’、L2’、L1*、L2*、LX1、LX2、LY1、LY2は、ベクトルセンサであってもよい。特に、ホール効果、磁気抵抗、磁気トランジスタ、磁気ダイオード、MAGFET場センサ、またはフラックスゲート磁気計センサが適用されていてもよい。これは、本発明のすべての実施形態に有利に適用される。
本発明の態様による磁気弾性センサは、有利には、クレーン内の荷重測定、エレベータ内の過荷重検出、耕作機械内の荷重検出、建設機械内の荷重検出、シャーシ用途における荷重検出、またはフォークリフタ内の荷重検出に適用可能である。
これに加えて、磁気弾性センサは、有利には、サスペンション用途における荷重検出、ケーブルカーの荷重検出、鉄道用途の荷重検出、およびケーブル力の荷重検出に適用可能である。さらに、これは、フラップの荷重検出、油圧シリンダ内の荷重検出、構造的荷重の検出、線張力の検出、滑車またプーリの荷重検出、またはシャックルの荷重検出に適用可能である。これに加えて、磁気弾性センサは、有利には、けん引荷重または引っ張り荷重の検出および/またはブレーキ力の検出に適用可能である。
磁気弾性センサは、巻き上げギア内に、またはウィンチ内、ケーブル敷設装置、海上タンカー内または海上基地内を構成していてもよい。ロープ、チェーン、および/またはブレーキアンカ、軸受ブロック、ピボットおよび/またはシャックルには、本発明の態様による磁気弾性センサが設けられていてもよい。
床上搬送装置、スプロケット車軸、フロント・エンド・ローダ、および鉄道用連結器、搬送装置ベルトローラ、クレビス継ぎ手、クレーン・カーゴ・フック、けん引バー連結、レールポイント荷重ピン、および/または連結ロッドは、本発明の実施形態による磁気弾性センサを含むことができる。係船索の引っ張りまたはけん引ラインの引っ張りが決定されていてもよい。
先述した実体のそれぞれ1つには、有利には、本発明の態様によるセンサが装備されていてもよいことが理解される。特に、これらの実体は、本発明の態様による荷重ピンを備えることができ、これは、たとえば海上設備または工業設備に適用される。
開示した本発明の特定の現在好ましい実施形態が、本明細書において詳細に説明されてきたが、本発明が関係する当業者には、本明細書において図示し説明したさまざまな実施形態の変更形態および改変形態が、本発明の趣旨および範囲から逸脱することなく加えられてよいことが明らかになろう。したがって、本発明は、付属の特許請求の範囲および法律の適用可能な規則によって必要とされる程度にのみ限定されることが意図される。

Claims (13)

  1. 長手方向に延び、軸芯を有するシャフト状部材であって、前記シャフト状部材内に機械的応力をもたらす荷重を受ける、前記シャフト状部材と、
    少なくとも一つの磁気弾性活動部位であって、前記磁気弾性活動部位は、前記機械的応力が前記磁気弾性活動部位に伝えられるような仕方で前記シャフト状部材の一部に直接的もしくは間接的に取り付けられ、または前記シャフト状部材の一部を形成し、作用した前記機械的応力が増大するにつれて磁気分極が次第にらせん状になるような円周方向の磁気分極を有する磁気分極領域を含む、前記少なくとも一つの磁気弾性活動部位と、
    前記磁気分極領域から発生する応力誘起磁束に対応する信号を出力するための、前記少なくとも一つの磁気弾性活動部位の近くに配置された磁気センサ手段と、
    を備える、磁気弾性センサであって、
    前記荷重は、少なくとも曲げ応力、せん断応力、軸方向の応力のいずれか一つであり、
    前記磁気センサ手段は、前記荷重の結果として生じる荷重ベクトルを決定するために構成された、第1の感知方向を有する第1の方向感知性磁場センサ及び第2の感知方向を有する第2の方向感知性磁場センサを備え、
    前記第1及び第2の方向感知性磁場センサは、当該第1及び第2の感知方向が前記軸芯の方向に対して少なくともほぼ平行になるように、または前記シャフト状部材の接線方向に対して少なくともほぼ平行になるように配置され、
    前記第1及び第2の感知方向は、互いに180°反対であり、
    前記第1及び第2の方向感知性磁場センサは、予め設定された既知の空間座標を前記シャフト状部材に対して有するように配置されていることを特徴とする、磁気弾性センサ。
  2. 前記第1および前記第2の方向感知性磁場センサは、前記磁気弾性活動部位の両側の近くにそれぞれ配置され、前記磁気弾性活動部位のそれぞれの側が前記軸芯の反対側にある、請求項1に記載の磁気弾性センサ。
  3. 前記センサ手段は、第3の感知方向を有する第3の方向感知性磁場センサと第4の感知方向を有する第4の方向感知性磁場センサをさらに備え、前記第1から第4の感知方向と前記軸芯とは、互いに少なくともほぼ平行であり、前記第1から第4の磁場センサは、前記シャフトの円周に沿って、互いに円周方向にほぼ等しい距離を有して配置される、請求項1又は2に記載の磁気弾性センサ。
  4. 前記第1および第3の磁場センサは、前記軸芯に対して互いに反対に配置され、前記第1および第3の感知方向は、互いに180°反対に配置され、前記第2および第4の磁場センサは、前記軸芯に対して互いに反対に配置され、前記第2および第4の感知方向は、互いに180°反対に配置される、請求項3に記載の磁気弾性センサ。
  5. 前記シャフト状部材は、第1の磁気弾性活動部位および第2の磁気弾性活動部位を前記少なくとも一つの磁気弾性活動部位として備え、前記第1、第2の磁気弾性活動部位は、前記機械的応力が前記磁気弾性活動部位に伝えられるような仕方で、前記シャフト状部材の一部に直接的もしくは間接的に取り付けられ、または前記シャフト状部材の一部を形成し、
    各磁気弾性活動部位は、それぞれ磁気分極領域を含み、前記第1の活動部位の磁気分極および前記第2の活動部位の磁気分極は、互いにほぼ反対であり、
    前記磁気センサ手段は、第1の対の磁場センサを備え、前記第1の対の磁場センサは、前記第1の磁気分極領域から発生する応力誘起磁束に対応する第1の信号を出力するために前記第1の磁気弾性活動部位の近くに配置された第1および第2の磁場センサを備え、
    前記磁気センサ手段は、第2の対の磁場センサを備え、前記第2の対の磁場センサは、
    前記第2の磁気分極領域から発生する応力誘起磁束に対応する第2の信号を出力するために前記第2の磁気弾性活動部位の近くに配置された第1および第2の磁場センサを備え、
    前記磁気弾性センサはさらに、制御ユニットを備え、前記制御ユニットは、センサの前記第1の対およびセンサの前記第2の対の前記信号の差分評価を実施することによって前記シャフト状部材に作用した前記応力を決定するように構成されている、請求項1から4までのいずれか1項に記載の磁気弾性センサ。
  6. 前記シャフト状部材は、少なくとも部分的に中空のシャフトであり、前記センサ手段のすべての磁場センサは、全体的に、前記中空シャフトの内部の内側に配置される、請求項1から5までのいずれか1項に記載の磁気弾性センサ。
  7. 前記磁気弾性活動部位は、前記シャフト状部材の円周に沿って突出し、前記少なくとも1つの磁気弾性活動部位は、前記磁気分極領域における磁化された範囲が、最大でも前記シャフト状部材の円周方向のプラスマイナス45°の限界値内にあるように磁化される、請求項1から6までのいずれか1項に記載の磁気弾性センサ。
  8. 請求項1から7までのいずれか1項に記載の磁気弾性センサを構成している長手方向に延びるシャフト状部材を有する荷重ピン。
  9. 軸受スタッドおよびソケットを有するボールジョイントであって、前記受けスタッドは、請求項1から7までのいずれか1項に記載の磁気弾性センサを構成している長手方向に延びるシャフト状部材を備える、ボールジョイント。
  10. 湾曲したシャフトおよびけん引ボールを有する牽引カップリングであって、前記湾曲したシャフトは、請求項1から7までのいずれか1項に記載の磁気弾性センサを構成している少なくとも1つの長手方向に延びるシャフト状部材を備え、前記湾曲したシャフトは、第1および第2の長手方向に延びるシャフト状部材を備え、前記第1、第2シャフト状部材の軸芯は、互いにほぼ直角であり、前記第1および前記第2の長手方向に延びるシャフト状部材の各々は、請求項1から7までのいずれか1項に記載の磁気弾性センサを構成している、牽引カップリング。
  11. 少なくとも曲げ応力、せん断応力、軸方向の応力のいずれか一つである荷重の荷重ベクトルの方向を決定する方法であって、
    磁気弾性センサを設けるステップであって、前記磁気弾性センサが、長手方向に延び、軸芯を有するシャフト状部材であって、前記シャフト状部材内に機械的応力をもたらす荷重を受ける前記シャフト状部材と、円周方向の磁気分極を有する少なくとも1つの磁気弾性活動部位であって、前記機械的応力が前記磁気弾性活動部位に伝えられるような仕方で、前記シャフト状部材の一部に直接的もしくは間接的に取り付けられ、または前記シャフト状部材の一部を形成し、作用した応力が増大するにつれて磁気分極が次第にらせん形状になるような、少なくとも1つの磁気分極領域を含む、前記少なくとも1つの磁気弾性活動部位と、磁気センサ手段であって、前記磁気分極領域から発生する応力誘起磁束に対応する信号を出力するために前記少なくとも1つの磁気弾性活動部位の近くに配置された前記磁気センサ手段とを備え、前記磁気センサ手段は、前記荷重の結果として生じる荷重ベクトルを決定するために構成された、第1の感知方向を有する第1の方向感知性磁場センサ及び第2の感知方向を有する第2の方向感知性磁場センサを備え、前記磁場センサは、予め設定された既知の空間座標を前記シャフト状部材に対して有するように配置されており、前記第1及び第2の方向感知性磁場センサは、当該第1及び第2の感知方向が前記軸芯の方向に対して少なくともほぼ平行になるように、または前記シャフト状部材の接線方向に対して少なくともほぼ平行になるように配置され、前記第1及び第2の感知方向は、互いに180°反対である、前記磁気弾性センサを設けるステップと、
    前記長手方向に延びるシャフト状部材を前記荷重にさらすステップと、
    前記第1及び第2の方向感知性磁場センサの測定データを処理して、せん断応力および/または引っ張りまたは圧縮の応力を決定し、前記荷重ベクトルの方向を前記測定データおよび前記第1及び第2の方向感知性磁場センサと前記シャフト状部材の間の前記予め設定された既知の空間座標から決定するステップとを含む、荷重ベクトルの方向を決定する方法。
  12. 請求項11に記載の荷重ベクトルの方向を決定する方法であって、
    前記磁気センサ手段が、第3の感知方向を有する第3の方向感知性磁場センサと第4の感知方向を有する第4の方向感知性磁場センサを備え、前記第1から第4の感知方向と前記軸芯とが、互いに少なくともほぼ平行であり、前記第1から第4の方向感知性磁場センサが、前記シャフトの円周に沿って互いに円周方向にほぼ等しい距離を有して配置されている、前記荷重ベクトルの方向を決定する方法は、さらに、
    前記第1および第3の磁場センサの測定データを処理して、荷重ベクトルの第1の成分を決定するステップと、
    前記第2および第4の磁場センサの測定データを処理して、前記荷重ベクトルの第2の成分を決定するステップと、
    前記長手方向に延びるシャフト状部材が受ける前記荷重ベクトルの方向を、前記決定された第1および第2の成分ならびに前記シャフト状部材に対する前記第1から第4の磁場センサの予め設定された既知の空間座標から決定するステップと
    を含む、請求項11に記載の荷重ベクトルの方向を決定するための方法。
  13. 請求項11または12に記載の荷重ベクトルの方向を決定するための方法であって、
    前記シャフト状部材が、第1の磁気弾性活動部位および第2の磁気弾性活動部位を前記少なくとも一つの磁気弾性活動部位として備え、前記第1の磁気弾性活動部位および第2の磁気弾性活動部位が、前記機械的応力が前記磁気弾性活動部位に伝えられるような仕方で前記シャフト状部材の一部に直接的もしくは間接的に取り付けられ、または前記シャフト状部材の一部を形成し、各活動部位が、磁気分極領域を含み、前記第1の活動部位の磁気分極および前記第2の活動部位の磁気分極が、互いにほぼ反対であり、前記磁気センサ手段が、第1の対の磁場センサを備え、前記第1の対の磁場センサが、前記第1の磁気分極領域から発生する応力誘起磁束に対応する第1の信号を出力するために前記第1の磁気弾性活動部位の近くに配置された第1および第2の磁場センサを備え、前記磁気センサ手段が、第2の対の磁場センサを備え、前記第2の対の磁場センサが、前記第2の磁気分極領域から発生する応力誘起磁束に対応する第2の信号を出力するために前記第2の磁気弾性活動部位の近くに配置された第1および第2の磁場センサを備えている、前記荷重ベクトルの方向を決定するための方法は、さらに、
    センサの前記第1の対およびセンサの前記第2の対の差分評価を実施して前記シャフト状部材に作用した前記応力を決定するステップを含む、請求項11または12に記載の荷重ベクトルの方向を決定するための方法。
JP2014061733A 2013-04-15 2014-03-25 磁気弾性センサ、このセンサを備える荷重ピン、ボールジョイントおよび牽引カップリング、荷重ベクトルの方向を決定する方法 Active JP6114709B2 (ja)

Applications Claiming Priority (2)

Application Number Priority Date Filing Date Title
EP13163832.2A EP2793009B1 (en) 2013-04-15 2013-04-15 Magneto-elastic sensor, load pin, ball-joint and tow coupling comprising this sensor, method of determining a direction of a load vector
EP13163832.2 2013-04-15

Publications (2)

Publication Number Publication Date
JP2014206531A JP2014206531A (ja) 2014-10-30
JP6114709B2 true JP6114709B2 (ja) 2017-04-12

Family

ID=48092825

Family Applications (1)

Application Number Title Priority Date Filing Date
JP2014061733A Active JP6114709B2 (ja) 2013-04-15 2014-03-25 磁気弾性センサ、このセンサを備える荷重ピン、ボールジョイントおよび牽引カップリング、荷重ベクトルの方向を決定する方法

Country Status (3)

Country Link
US (1) US9347845B2 (ja)
EP (1) EP2793009B1 (ja)
JP (1) JP6114709B2 (ja)

Families Citing this family (49)

* Cited by examiner, † Cited by third party
Publication number Priority date Publication date Assignee Title
WO2013179646A1 (ja) * 2012-05-31 2013-12-05 パナソニック株式会社 トルク検出装置
DE102014103462B4 (de) * 2014-03-13 2025-11-06 General Dynamics European Land Systems - Mowag Gmbh Verfahren zum Dämpfen von im Überlastfall einwirkenden Belastungen zum Schutz vor Schäden
DE102015202239B3 (de) * 2015-02-09 2016-02-25 Schaeffler Technologies AG & Co. KG Anordnung zur Messung einer Kraft oder eines Momentes mit mindestens vier Magnetfeldsensoren
DE102015202240B3 (de) 2015-02-09 2016-02-25 Schaeffler Technologies AG & Co. KG Anordnung zur Messung einer Kraft oder eines Momentes mit mindestens drei Magnetfeldsensoren
DE102015102337B4 (de) 2015-02-18 2016-11-17 Methode Electronics Malta Ltd. Redundanter Drehmomentsensor - Multiple Bandanordnung
DE202015105090U1 (de) 2015-02-18 2015-11-23 Methode Electronics Malta Ltd. Redundanter Drehmomentsensor - Multiple Bandanordnung
DE102015209286A1 (de) 2015-05-21 2016-11-24 Schaeffler Technologies AG & Co. KG Anordnung und Verfahren zum Messen einer Kraft oder eines Momentes mit mindestens zwei beabstandeten Magnetfeldsensoren
US10488278B2 (en) 2015-09-24 2019-11-26 Methode Electronics Malta Ltd. Planar magnetoelastic force sensor
DE202015105069U1 (de) 2015-09-24 2015-12-16 Methode Electronics Malta Ltd. Sensoreinrichtung mit einem Träger
DE102015116202B4 (de) 2015-09-24 2017-11-02 Methode Electronics Malta Ltd. Sensoreinrichtung mit einem Träger
DE102015117086A1 (de) * 2015-10-07 2017-04-13 Schwing Gmbh Abstützvorrichtung zum Abstützen einer mobilen Vorrichtung
DE102015122154B4 (de) 2015-12-17 2018-09-27 Methode Electronics Malta Ltd. Vorrichtung zur Feststellung externer magnetischer Streufelder auf einen Magnetfeldsensor
DE102016110460A1 (de) * 2016-03-23 2017-09-28 Westfalia-Automotive Gmbh Tragelement mit einem Sensor
US20190178683A1 (en) 2016-05-17 2019-06-13 Kongsberg Inc. System, Method And Object For High Accuracy Magnetic Position Sensing
CN110088583B (zh) 2016-12-12 2021-07-30 康斯博格股份有限公司 双频带磁致弹性扭矩传感器
EP3379222B1 (en) 2017-03-22 2020-12-30 Methode Electronics Malta Ltd. Magnetoelastic based sensor assembly
DE102017109532A1 (de) 2017-05-04 2018-11-08 Schaeffler Technologies AG & Co. KG Anordnung und Verfahren zum Messen eines Drehmomentes an einem Maschinenelement mit zwei Magnetfeldsensoren
DE102017109534B4 (de) 2017-05-04 2019-10-24 Schaeffler Technologies AG & Co. KG Anordnung und Verfahren zum Messen einer Kraft oder eines Momentes an einem Maschinenelement mit mindestens zwei Magnetfeldsensoren
DE102017109536B4 (de) 2017-05-04 2020-04-23 Schaeffler Technologies AG & Co. KG Anordnung und Verfahren zum Messen einer Kraft oder eines Momentes an einem Maschinenelement mit mindestens drei Magnetisierungsbereichen
DE102017109535B4 (de) 2017-05-04 2019-12-12 Schaeffler Technologies AG & Co. KG Verfahren zum Messen eines Biegemomentes an einem Maschinenelement
DE102017114170B3 (de) 2017-06-27 2018-03-22 Schaeffler Technologies AG & Co. KG Anordnung und Verfahren zum Messen eines Biegemomentes an einem Maschinenelement
DE102017117881A1 (de) 2017-08-07 2019-02-07 Methode Electronics Malta Ltd. Magnetoelastischer Scherkraftsensor mit Störfeldkompensation und Verfahren
US11428589B2 (en) 2017-10-16 2022-08-30 Saf-Holland, Inc. Displacement sensor utilizing ronchi grating interference
US10589583B2 (en) * 2017-11-16 2020-03-17 Ford Global Technologies, Llc Systems and methods for magnetoelastic hitch receiver force detection
DE102018202854B4 (de) * 2018-02-26 2020-01-02 Audi Ag Verfahren zum Betrieb eines Bordnetzes eines Hybridkraftfahrzeugs und Hybridkraftfahrzeug
US11135882B2 (en) 2018-02-27 2021-10-05 Methode Electronics, Inc. Towing systems and methods using magnetic field sensing
US11221262B2 (en) 2018-02-27 2022-01-11 Methode Electronics, Inc. Towing systems and methods using magnetic field sensing
US11014417B2 (en) * 2018-02-27 2021-05-25 Methode Electronics, Inc. Towing systems and methods using magnetic field sensing
US10670479B2 (en) 2018-02-27 2020-06-02 Methode Electronics, Inc. Towing systems and methods using magnetic field sensing
US11491832B2 (en) 2018-02-27 2022-11-08 Methode Electronics, Inc. Towing systems and methods using magnetic field sensing
US11084342B2 (en) 2018-02-27 2021-08-10 Methode Electronics, Inc. Towing systems and methods using magnetic field sensing
US11548334B2 (en) 2018-06-19 2023-01-10 Ford Global Technologies, Llc Methods and apparatus for a single pin load sensor coupled to a hitch receiver
DE102018116595A1 (de) 2018-07-09 2020-01-09 Methode Electronics Malta Ltd. Mehrpunkt-Magnetometer mit symmetrischer Ausgestaltung
US11008014B2 (en) * 2018-08-14 2021-05-18 Ford Global Technologies, Llc Methods and apparatus to determine vehicle weight information based on ride height
US10589700B2 (en) 2018-08-17 2020-03-17 Ford Global Technologies, Llc Methods and apparatus for categorization of vehicle loading and display thereof
DE102018131737A1 (de) * 2018-12-11 2020-06-18 ACPS Automotive GmbH Kupplungseinheit
US11097580B2 (en) 2018-12-21 2021-08-24 Ford Global Technologies, Llc Methods and apparatus for a modular double pin load sensor coupled to a hitch receiver
DE102019108898B4 (de) * 2019-04-04 2022-08-04 Trafag Ag Vorrichtung und Anordnung zur Belastungsmessung an einem Testobjekt, insbesondere einer Fahrwerkskomponente
US11607919B2 (en) 2019-08-09 2023-03-21 Ford Global Technologies, Llc Methods and apparatus for a dual reacting, single load sensing element coupled to a hitch receiver
DE102020121043A1 (de) 2019-08-09 2021-02-11 Ford Global Technologies, Llc Verfahren und vorrichtung für ein doppelt reagierendes, an eine aufnahmevorrichtung einer anhängerkupplung gekoppeltes einzellastsensorelement
EP3854613A1 (en) 2019-08-19 2021-07-28 Methode Electronics, Inc. Towing systems and methods using magnetic field sensing
EP4028739B1 (en) 2019-09-13 2024-10-30 BRP Megatech Industries Inc. Magnetoelastic torque sensor assembly for reducing magnetic error due to harmonics
CN110686818B (zh) * 2019-09-19 2021-11-12 济南北环铁路有限公司 一种钢绞线斜拉索索力的快速测定方法
DE21154402T1 (de) 2020-01-31 2021-10-21 Methode Electronics, Inc. Schleppsysteme und -verfahren mit verwendung von magnetfeldmessung
EP3858646A1 (en) 2020-01-31 2021-08-04 Methode Electronics, Inc. Towing systems and methods using magnetic field sensing
DE21154273T1 (de) 2020-01-31 2021-12-30 Methode Electronics, Inc. Schleppsysteme und -verfahren mit verwendung von magnetfeldmessung
US12281951B2 (en) 2020-02-11 2025-04-22 Brp Megatech Industries Inc. Magnetoelastic torque sensor with local measurement of ambient magnetic field
US11524534B2 (en) 2020-04-14 2022-12-13 Ford Global Technologies, Llc Methods and apparatus for a load-sensing hitch utilizing a system of strain gauges
RU2764001C1 (ru) * 2021-04-29 2022-01-12 Федеральное государственное бюджетное образовательное учреждение высшего образования "Тюменский индустриальный университет" Способ контроля механических напряжений в стальных конструкциях магнитоупругим методом

Family Cites Families (14)

* Cited by examiner, † Cited by third party
Publication number Priority date Publication date Assignee Title
US5351555A (en) * 1991-07-29 1994-10-04 Magnetoelastic Devices, Inc. Circularly magnetized non-contact torque sensor and method for measuring torque using same
WO1998044324A1 (en) * 1997-03-28 1998-10-08 Mannesmann Vdo Ag Method of making integral magnetoelastic transducer
US6047605A (en) 1997-10-21 2000-04-11 Magna-Lastic Devices, Inc. Collarless circularly magnetized torque transducer having two phase shaft and method for measuring torque using same
GB9808792D0 (en) * 1998-04-23 1998-06-24 Effective Torque Technologies Magnetising arrangements for torque/force sensor
GB9919065D0 (en) * 1999-08-12 1999-10-13 Fast Technology Gmbh Transducer Element
US6341534B1 (en) * 2000-03-03 2002-01-29 Ford Motor Company Integrated two-channel torque sensor
AU2002213899A1 (en) * 2000-09-12 2002-03-26 Fast Technology Ag. Magnetic torque sensor system
JP4527448B2 (ja) * 2004-06-10 2010-08-18 トヨタ自動車株式会社 軸部材のねじれトルクセンサ及びその製造方法
JP5151551B2 (ja) * 2008-02-27 2013-02-27 大同特殊鋼株式会社 薄膜磁気センサ
EP2260278B1 (en) * 2008-03-14 2019-12-04 Methode Electronics, Inc. Magnetoelastic torque sensor with ambient field rejection
US8001849B2 (en) * 2009-03-28 2011-08-23 Wensheng Weng Self-compensating magnetoelastic torque sensor system
WO2011085400A1 (en) * 2010-01-11 2011-07-14 Magcanica, Inc. Magnetoelastic force sensors, transducers, methods, and systems for assessing bending stress
US8424393B1 (en) * 2011-10-18 2013-04-23 Methode Electronics, Inc. Magnetic torque sensor for transmission converter drive plate
US8893562B2 (en) * 2011-11-21 2014-11-25 Methode Electronics, Inc. System and method for detecting magnetic noise by applying a switching function to magnetic field sensing coils

Also Published As

Publication number Publication date
EP2793009B1 (en) 2021-03-17
JP2014206531A (ja) 2014-10-30
US9347845B2 (en) 2016-05-24
US20140360282A1 (en) 2014-12-11
EP2793009A1 (en) 2014-10-22

Similar Documents

Publication Publication Date Title
JP6114709B2 (ja) 磁気弾性センサ、このセンサを備える荷重ピン、ボールジョイントおよび牽引カップリング、荷重ベクトルの方向を決定する方法
US10940726B2 (en) Magnetoelastic based sensor assembly
EP3758959B1 (en) Towing systems and methods using magnetic field sensing
US11014417B2 (en) Towing systems and methods using magnetic field sensing
JP6263556B2 (ja) トルク測定フレックスプレート
US11221262B2 (en) Towing systems and methods using magnetic field sensing
US11135882B2 (en) Towing systems and methods using magnetic field sensing
US20140216173A1 (en) Determining torque in a shaft
US11084342B2 (en) Towing systems and methods using magnetic field sensing
US11491832B2 (en) Towing systems and methods using magnetic field sensing
JP2013032916A (ja) 多軸力検出器
CN104662314A (zh) 用于轴承、尤其是滚动或滑动轴承的轴承圈
US20190041284A1 (en) Magnetoelastic Shear Force Sensor with Interference Field Compensation and Method
JP7304327B2 (ja) 横圧測定装置、及び、横圧測定方法
EP3900960B1 (en) Towing systems and methods using magnetic field sensing
EP3812181B1 (en) Towing systems and methods using magnetic field sensing
EP3858647A1 (en) Towing systems and methods using magnetic field sensing
EP3858646A1 (en) Towing systems and methods using magnetic field sensing
JP2008215980A (ja) センサ付車輪用軸受

Legal Events

Date Code Title Description
A621 Written request for application examination

Free format text: JAPANESE INTERMEDIATE CODE: A621

Effective date: 20150305

A977 Report on retrieval

Free format text: JAPANESE INTERMEDIATE CODE: A971007

Effective date: 20160217

A131 Notification of reasons for refusal

Free format text: JAPANESE INTERMEDIATE CODE: A131

Effective date: 20160301

A601 Written request for extension of time

Free format text: JAPANESE INTERMEDIATE CODE: A601

Effective date: 20160530

A601 Written request for extension of time

Free format text: JAPANESE INTERMEDIATE CODE: A601

Effective date: 20160728

A521 Request for written amendment filed

Free format text: JAPANESE INTERMEDIATE CODE: A523

Effective date: 20160819

A131 Notification of reasons for refusal

Free format text: JAPANESE INTERMEDIATE CODE: A131

Effective date: 20160913

A601 Written request for extension of time

Free format text: JAPANESE INTERMEDIATE CODE: A601

Effective date: 20161212

A521 Request for written amendment filed

Free format text: JAPANESE INTERMEDIATE CODE: A523

Effective date: 20170206

TRDD Decision of grant or rejection written
A01 Written decision to grant a patent or to grant a registration (utility model)

Free format text: JAPANESE INTERMEDIATE CODE: A01

Effective date: 20170221

A61 First payment of annual fees (during grant procedure)

Free format text: JAPANESE INTERMEDIATE CODE: A61

Effective date: 20170317

R150 Certificate of patent or registration of utility model

Ref document number: 6114709

Country of ref document: JP

Free format text: JAPANESE INTERMEDIATE CODE: R150

R250 Receipt of annual fees

Free format text: JAPANESE INTERMEDIATE CODE: R250

R250 Receipt of annual fees

Free format text: JAPANESE INTERMEDIATE CODE: R250

R250 Receipt of annual fees

Free format text: JAPANESE INTERMEDIATE CODE: R250

R250 Receipt of annual fees

Free format text: JAPANESE INTERMEDIATE CODE: R250

R250 Receipt of annual fees

Free format text: JAPANESE INTERMEDIATE CODE: R250

R250 Receipt of annual fees

Free format text: JAPANESE INTERMEDIATE CODE: R250