JP6071761B2 - 撮像装置及びその制御方法 - Google Patents

撮像装置及びその制御方法 Download PDF

Info

Publication number
JP6071761B2
JP6071761B2 JP2013116245A JP2013116245A JP6071761B2 JP 6071761 B2 JP6071761 B2 JP 6071761B2 JP 2013116245 A JP2013116245 A JP 2013116245A JP 2013116245 A JP2013116245 A JP 2013116245A JP 6071761 B2 JP6071761 B2 JP 6071761B2
Authority
JP
Japan
Prior art keywords
image
signal
photoelectric conversion
imaging
same subject
Prior art date
Legal status (The legal status is an assumption and is not a legal conclusion. Google has not performed a legal analysis and makes no representation as to the accuracy of the status listed.)
Expired - Fee Related
Application number
JP2013116245A
Other languages
English (en)
Other versions
JP2014235287A (ja
Inventor
武志 小川
武志 小川
Current Assignee (The listed assignees may be inaccurate. Google has not performed a legal analysis and makes no representation or warranty as to the accuracy of the list.)
Canon Inc
Original Assignee
Canon Inc
Priority date (The priority date is an assumption and is not a legal conclusion. Google has not performed a legal analysis and makes no representation as to the accuracy of the date listed.)
Filing date
Publication date
Application filed by Canon Inc filed Critical Canon Inc
Priority to JP2013116245A priority Critical patent/JP6071761B2/ja
Priority to US14/292,101 priority patent/US9578230B2/en
Publication of JP2014235287A publication Critical patent/JP2014235287A/ja
Application granted granted Critical
Publication of JP6071761B2 publication Critical patent/JP6071761B2/ja
Expired - Fee Related legal-status Critical Current
Anticipated expiration legal-status Critical

Links

Images

Classifications

    • GPHYSICS
    • G02OPTICS
    • G02BOPTICAL ELEMENTS, SYSTEMS OR APPARATUS
    • G02B7/00Mountings, adjusting means, or light-tight connections, for optical elements
    • G02B7/28Systems for automatic generation of focusing signals
    • G02B7/34Systems for automatic generation of focusing signals using different areas in a pupil plane
    • HELECTRICITY
    • H04ELECTRIC COMMUNICATION TECHNIQUE
    • H04NPICTORIAL COMMUNICATION, e.g. TELEVISION
    • H04N23/00Cameras or camera modules comprising electronic image sensors; Control thereof
    • H04N23/95Computational photography systems, e.g. light-field imaging systems
    • H04N23/958Computational photography systems, e.g. light-field imaging systems for extended depth of field imaging
    • H04N23/959Computational photography systems, e.g. light-field imaging systems for extended depth of field imaging by adjusting depth of field during image capture, e.g. maximising or setting range based on scene characteristics
    • HELECTRICITY
    • H04ELECTRIC COMMUNICATION TECHNIQUE
    • H04NPICTORIAL COMMUNICATION, e.g. TELEVISION
    • H04N25/00Circuitry of solid-state image sensors [SSIS]; Control thereof
    • H04N25/10Circuitry of solid-state image sensors [SSIS]; Control thereof for transforming different wavelengths into image signals
    • H04N25/11Arrangement of colour filter arrays [CFA]; Filter mosaics
    • H04N25/13Arrangement of colour filter arrays [CFA]; Filter mosaics characterised by the spectral characteristics of the filter elements
    • H04N25/134Arrangement of colour filter arrays [CFA]; Filter mosaics characterised by the spectral characteristics of the filter elements based on three different wavelength filter elements
    • HELECTRICITY
    • H04ELECTRIC COMMUNICATION TECHNIQUE
    • H04NPICTORIAL COMMUNICATION, e.g. TELEVISION
    • H04N25/00Circuitry of solid-state image sensors [SSIS]; Control thereof
    • H04N25/60Noise processing, e.g. detecting, correcting, reducing or removing noise
    • H04N25/61Noise processing, e.g. detecting, correcting, reducing or removing noise the noise originating only from the lens unit, e.g. flare, shading, vignetting or "cos4"
    • HELECTRICITY
    • H04ELECTRIC COMMUNICATION TECHNIQUE
    • H04NPICTORIAL COMMUNICATION, e.g. TELEVISION
    • H04N25/00Circuitry of solid-state image sensors [SSIS]; Control thereof
    • H04N25/70SSIS architectures; Circuits associated therewith
    • H04N25/703SSIS architectures incorporating pixels for producing signals other than image signals
    • H04N25/704Pixels specially adapted for focusing, e.g. phase difference pixel sets

Landscapes

  • Engineering & Computer Science (AREA)
  • Multimedia (AREA)
  • Signal Processing (AREA)
  • Physics & Mathematics (AREA)
  • General Physics & Mathematics (AREA)
  • Optics & Photonics (AREA)
  • Computing Systems (AREA)
  • Theoretical Computer Science (AREA)
  • Spectroscopy & Molecular Physics (AREA)
  • Studio Devices (AREA)
  • Automatic Focus Adjustment (AREA)
  • Focusing (AREA)

Description

本発明は、瞳分割機能を有する撮像素子を用いる撮像装置に関し、特にシェーディングを良好に補正する技術に関するものである。
従来、1つの撮像光学系をリレーレンズを用いて瞳分割して2つの撮像素子で露光する撮像装置や、マイクロレンズ下の光電変換部を複数に分割して瞳分割像を得る方法が提案されている。それらは、得られた複数の画像の視差を利用して、ステレオ画像を得たり、位相差検出方式の自動焦点検出を行ったり、距離画像を作成したりといった用途に利用することができる。
距離画像を得たり、焦点検出を行う場合には瞳分割方向に2つの画像がどのくらいずれているのかを知る必要があり、SADやSSDといった相関演算を行う。相関演算では像の一致度の高い画像のずれ量をサーチするため、正しいずれ量における像の一致度が低いと正確なずれ量を検出することが困難となる。像の一致度が下がる要因としてシェーディングの違いがあげられる。したがって、シェーディングを良好に補正することが望まれている。
そのため、例えば特許文献1では相関演算で得られた像ずれ量に基づきA像とB像のレベル差を検出してシェーディングレベルを推定し、シェーディング補正係数を算出してシェーディング補正を行う技術が開示されている。特許文献2では、交換レンズから射出瞳の情報を得て、シェーディング補正係数を計算する技術が開示されている。
特許第2715958号公報 特許第4265029号公報
しかしながら、上述の特許文献1に開示された技術では、前もって相関演算を行うため、最初の相関演算で間違った像ずれ量を検出するとシェーディング補正量を大きく間違えてしまい、間違っているにもかかわらず相関演算の信頼性が上がってしてしまう。
また、上述の特許文献2に開示された技術では、幾何学的な計算をしなければならないので演算量が多くなり、計算に時間がかかりすぎてしまうという問題点がある。
本発明は上述した課題に鑑みてなされたものであり、その目的は、事前に相関演算を行うことなく、少ない演算量によりシェーディング補正係数を算出することを可能にした撮像装置を提供することである。
本発明に係わる撮像装置は、撮像レンズの第1の瞳領域を通過した光を受光する第1の光電変換部と、前記第1の瞳領域とは重ならない前記撮像レンズの第2の瞳領域を通過した光を受光する第2の光電変換部とを有する画素が2次元状に配列された撮像素子と、前記撮像レンズに設けられたフォーカシングレンズの位置を光軸に沿ってずらしながら前記画素を露光させ、前記フォーカシングレンズの位置に応じて前記画素から得られる同一被写体の信号の撮像面上での像ずれ量を取得する取得手段と、前記フォーカシングレンズの位置に応じて前記画素から得られる同一被写体の信号のレベル比を検出する検出手段と、前記同一被写体の信号の撮像面上での像ずれ量と、前記同一被写体の信号のレベル比とに基づいてシェーディング補正係数を算出する算出手段と、を備えることを特徴とする。
本発明によれば、事前に相関演算を行うことなく、少ない演算量によりシェーディング補正係数を算出することを可能にした撮像装置を提供することが可能となる。
本発明の第1の実施形態の撮像装置の構成を示すブロック図。 撮像素子の画素構造を示す図。 撮像素子の画素配列を示す図。 瞳分割とピント位置の関係を示す図。 レンズの枠と像高によるケラレ形状を示す図。 ケラレ形状と分割画素の関係を示す図。 画面位置とケラレ状態の関係を示す図。 シェーディングと撮像信号の関係を示す図。 フォーカシングレンズ位置と像ずれ位置の関係を示す図。 像ずれとシェーディングの関係を示す図。 シェーディング補正係数算出部の内部ブロック図。 撮像装置全体の動作を示すフローチャート。 本発明の第2の実施形態の撮像素子の画素構造を示す図。 本発明の第2の実施形態の撮像装置の構成を示すブロック図。 リレーレンズの構成を示す図。
以下に、本発明の実施形態について、添付図面を参照して詳細に説明する。
(第1の実施形態)
図1は、本発明の第1の実施形態の撮像装置の構成を示すブロック図である。また、図2は図1に示す撮像素子102の画素構造を示す図である。図2(a)は画素を上から見た図であり、図2(b)は画素の断面図である。図2において、201はマイクロレンズ、202および203は光電変換部である。通常の撮像素子ではマイクロレンズ1つに対して光電変換部が1つ配置されているが、第1の実施形態の撮像素子では光電変換部が2つに分割されており、それぞれ別の信号として読み出すことができる。図2の構造により瞳分割画像が得られる。
図3はカラーフィルタの配列を示した図である。R(赤)、G(緑)、B(青)が2次元状に一定の繰り返し周期となって配置されたベイヤー配列と呼ばれる配列である。図3の配列とすることで光電変換部202,203の画素値を加算して得られる信号からカラー映像信号を作成することができる。本実施形態では、光電変換部202,203の信号を加算してカラー映像信号を作成する。
次に図1を参照して第1の実施形態の撮像装置の全体構成について説明する。図1において、101は撮像レンズ、102は撮像素子、103はAD変換器、104はAB像分離器である。撮像素子から撮像レンズ101の第1の瞳領域を通過した光を受光する第1の光電変換部202と撮像レンズ101の第2の瞳領域を通過した光を受光する第2の光電変換部203の信号が交互に出力される。光電変換部202,203で2つに瞳分割された信号をそれぞれA像信号、B像信号として瞳領域ごとに分けるのがAB像分離器104の機能である。AB像分離器104の出力であるA像信号、B像信号はそれぞれシェーディング補正部106,107に入力され補正される。なお、B像信号については、シェーディング補正係数算出部108にも転送される。シェーディング補正係数算出部108からAゲイン像、Bゲイン像が出力され、シェーディング補正部106,107へ入力される。
シェーディング補正部106,107で補正されたA像信号とB像信号は焦点検出部110と加算ベイヤー化部111へ入力される。加算ベイヤー化部111によってA像、B像が加算され、映像信号処理部112によって映像信号に変換される。映像信号処理部112の出力は表示や記録に利用されるが、表示や記録の詳細に関しては本発明の本質にかかわらない部分なので説明を省略する。マイクロコンピュータ109は撮像装置全体を制御する部分である。
ここで図4を用いて瞳分割された像の特性について説明する。601はレンズであり、光電変換部202,203に分割して露光した信号は、それぞれ射出瞳602,603を通過した信号と等価な特性を持つ。射出瞳602,603を通過する光はピントが合っている面であるピント面605においては、被写体の一点から出射された光が再び一点に集まる。それの前後の面である604や606では、被写体の一点から出射された光がそれぞれ異なる位置に投影されることになる。被写体の同じ位置から出た光が射出瞳602,603を通過することで、投影位置がずれていればピントが合っていないことを意味するため、A像とB像のずれ量からデフォーカス量を算出することができる。
図1の焦点検出部110では、A像とB像のずれ量を検出する。像のずれ量を検出する際にA像とB像にシェーディングによるレベル差があると像ずれ検出に誤差が生じたり、検出が失敗することがあるためシェーディングを補正しなければならない。
図5(a)のレンズ断面図を用いてシェーディングがなぜ起こるのかを説明する。図5において、701は前レンズ、702は絞り、703は後レンズである。前レンズ701の枠を前枠、後レンズ703によってできる枠を後枠と呼ぶ。704は撮像面である。撮像面704のxの位置から見た前レンズ701、絞り702、後レンズ703の枠の重なり方と、撮像面yの位置から見た前レンズ701、絞り702、後レンズ703の枠の重なり方を図5(b)に示している。xの位置から見ると光量を制限しているものは絞りだけであるが、yの位置から見ると前枠701と後枠703によっても光量が制限されている。
図6は図5のyの位置における光が届く範囲と撮像素子の光電変換部を重ねたものである。光電変換部202と203では光が届く範囲が大きく異なることがわかる。このようにシェーディングとは光軸中心から離れて像高が高くなるにつれ光量が落ちてくる現象であり、瞳分割された像においては像高が高くなるとA像とB像のバランスがよりくずれるという性質がある。図6の斜線部の形状のことをケラレ形状といい、センサ上の画素位置との関係を図7に示す。ケラレ形状は場所により異なるが、場所がずれることにより少しずつ変化する。
図8(a)は横軸に撮像素子102上の位置、縦軸に光量を示した図であり、この形状がシェーディング像である。白い均一面を撮影すると図8(a)のようなシェーディング像と一致する像を得る事ができる。白い均一面を撮影しない限り、シェーディング像を得ることはできず、通常は、図8(b)のようにシェーディング像と被写体の像が重畳した映像信号が得られる。本実施形態では、シェーディング像と被写体の像が重畳した映像信号からシェーディング像を得て、シェーディング補正係数を得る。
図9を用いて本実施形態の原理を説明する。図4においてピント面の説明をしたが、撮像面とピント面を一致させるために、一般に、フォーカシングレンズを移動させる。フォーカシングレンズを移動させることでピント面605を移動させて撮像素子102の面と一致させる。
図9の1105は撮像素子の面である。フォーカシングレンズが1101の位置にあるときの瞳602を通過した像は撮像面上の1103の位置にある。それに対してフォーカシングレンズが1102の位置のときの像は1104の位置に移動する。すなわち、同じ被写体が撮像面状の異なる位置に投影された像を取得することができることを意味している。本実施形態ではフォーカシングレンズ位置の異なる複数の像を用いてシェーディング補正係数を求める。フォーカシングレンズの移動量に対する像の移動量は基線長により決まる一定量であるため、像がどこに移動したのかはレンズ移動量に一定の係数を掛けるだけで知ることができる。
1103、1104の図8(b)で901で示す部分を拡大したものが図10である。図10の1103と1104は異なるフォーカシングレンズ位置で露光された同一被写体の映像信号の一部を拡大したものである。それぞれの対応点を結ぶ線はシェーディングカーブ902と一致する。したがって、フォーカシング位置差で決まる横ずれ量を持った場所での同じ被写体の映像信号を比較すればシェーディングカーブを得ることができる。なお、シェーディングは透過率が低下するものなので、差分ではなくレベル比を求める必要がある。フォーカシングレンズを微少量動かすと像も微少量しか動かないが、そこで求めた比を連続的につないでいくことで全域のシェーディングカーブを得る事ができる。
図11は図1のシェーディング補正係数算出部108の内部の詳細ブロック図である。シェーディング補正係数算出部108はマイクロコンピュータ109によって細かく制御され、内部回路の詳細な制御はタイミング発生器509によって行われている。
入力信号はB像のみであり、第1の画像メモリー501と第2の画像メモリー502には、フォーカシングレンズ位置の異なる時分割で露光されたB像が格納される。第1の画像、第2の画像ともにローパスフィルター503,504で高周波成分が取り除かれ、第2の画像のみ遅延回路506により所定量遅延される。遅延回路506の効果により比を求める除算器507に入力される像が横にずれることになる。遅延回路506で遅延される量は像の基線長で決まる。
除算器507の出力は基線長できまるピッチの距離の画素との透過率の比である。シェーディング係数画像メモリー508は1画面分の補正係数を蓄積することができる。画面全域の補正係数を蓄積したら、正規化回路510により読み出し、像高中心を倍率1としたゲインに正規化して再びシェーディング係数画像メモリー508に書き戻す。以後は、撮像素子に連動した全体の同期信号に合わせたタイミングでAゲイン像、Bゲイン像が読みだされる。入力された第1の画像および第2の画像はB像のみなのでAゲイン像はBゲイン像の反転像となるようにメモリーをアドレッシングして生成される。
次にマイクロコンピュータ109による撮像装置全体の制御を図12のフローチャートを用いて説明する。
ステップS1201でシステムがスタートする。ステップS1202で補正係数用の第1露光が行われる。そして読み出されたB像信号が、第1の画像メモリー501に格納される。次にステップS1203でレンズ101が駆動されフォーカシングレンズが所定量移動する。ステップS1204で補正係数用の第2露光が行われる。読み出されたB像信号が第2の画像メモリー502に格納される。
ステップS1205で補正係数の算出が行われる。すなわち、第1の画像メモリー501、第2の画像メモリー502が読み出され、所定ピッチの比信号がシェーディング係数画像メモリー508に蓄積され、正規化回路510により読みだされる。そして、光軸中心を倍率1としたゲインに正規化されて再びシェーディング係数画像メモリー508に書き戻される。
ステップS1206で補正モードに設定される。とAゲイン像、Bゲイン像が全体の同期信号に同期して出力される。ステップS1207でオートフォーカスを行う。このとき、A像およびB像はシェーディング補正部106,107によりシェーディング補正され、焦点検出部110に入力される。マイクロコンピュータ109は焦点検出部110の結果を読みとり、フォーカシングレンズを駆動して、ピントを合わせる。
ステップS1208で露光、ステップS1209で記録モードかどうかを判断してステップS1207に分岐するか、ステップ1210に分岐して記録するか、ステップ1211に分岐して終了するかが決定される。
マイクロコンピュータ109には図示していないが操作部材が接続されていて、ユーザーからの指示を知ることができる。このようにステップS1207からステップS1210を繰り返す事で、焦点検出をしながら画像を記録することができる。
(第2の実施形態)
以下、図13を参照して、本発明の第2の実施形態の撮像装置について説明する。図13は第2の実施形態における撮像素子の画素構造を示したものである。マイクロレンズ201に対応して光電変換部が1401,1402,1403,1404の4つに分割されている。これらの画素を用いて図13(c)の点線でグループ化しているように、光電変換部1401の信号と1403の信号を加算してA像とし、光電変換部1402と1404の信号を加算してB像とすることができる。
また、図13(d)のように光電変換部1401と1402を加算してC像信号、光電変換部1403と1404を加算してD像信号とする。このように4つに分割することで縦に瞳分割した構成と横に瞳分割した構成の両方の信号を作り出すことができる。
図14は第2の実施形態の撮像装置の構成を示すブロック図である。ABCD像加算分離部1501によって上記のA像B像C像D像を作り出す。A像、B像の扱いは第1の実施形態と同じである。新たにC像、D像で縦の瞳分割信号ができたので、新たなシェーディング補正係数算出部1504が追加されている。縦に像ずれするため、内部の遅延もラインごと遅延して縦ずれに対応している。そして焦点検出部110には縦に瞳分割された像と横に瞳分割された像が入力され、より多様な被写体においても焦点検出が可能となっている。
以上、本発明の実施形態について説明したが、本発明はこれらの実施形態に限定されず、その要旨の範囲内で種々の変形及び変更が可能である。
例えば第1及び第2の実施形態において、1つのマイクロレンズに対して複数のフォトダイオードで瞳分割をした例を示したが、瞳分割されている信号であれば、マイクロレンズとフォトダイオードの間で遮光して瞳分割した信号でも同様の効果が得られる。
また、第1及び第2の実施形態ではB像のシェーディング係数を反転させてA像のシェーディング係数としているが、別々に演算してもよい。
また、第2の実施形態では横のシェーディング補正のみ行った信号を加算してベイヤー化しているが、縦と横のシェーディング係数の両方により補正した信号で加算ベイヤー化するほうがより良い映像信号となり望ましい。
また、第1及び第2の実施形態において、単板撮像素子による画像を想定しているが、本発明の効果は2板、3板撮像素子においても同様に得られる。また瞳分割を行う位置ははマイクロレンズとフォトダイオードの間でなくてもよい。
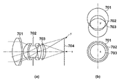
図15にリレーレンズにおける平行光領域(物体側焦点位置の点光源から広がる光が平行になる領域)で、入射光を同時に左右の画像に分離し、A像B像を別の撮像素子を用いて露光するシステムの光学的構造を示す。1301はミラー、1302は絞り、1303はリレーレンズである。リレーレンズ1303により平行になった光をミラー1301により左右に分割する。分割された光はそれぞれミラー1305,1304で反射されて、結像レンズ1306,1307に導かれ、撮像素子1308,1309に結像される。このような構成とすることでA像とB像を同時に2つの撮像素子で得ることが可能となり、第1及び第2の実施形態と同様の効果が得られる。またA像とB像を時分割で露光してもよい。

Claims (5)

  1. 撮像レンズの第1の瞳領域を通過した光を受光する第1の光電変換部と、前記第1の瞳領域とは重ならない前記撮像レンズの第2の瞳領域を通過した光を受光する第2の光電変換部とを有する画素が2次元状に配列された撮像素子と、
    前記撮像レンズに設けられたフォーカシングレンズの位置を光軸に沿ってずらしながら前記画素を露光させ、前記フォーカシングレンズの位置に応じて前記画素から得られる同一被写体の信号の撮像面上での像ずれ量を取得する取得手段と、
    前記フォーカシングレンズの位置に応じて前記画素から得られる同一被写体の信号のレベル比を検出する検出手段と、
    前記同一被写体の信号の撮像面上での像ずれ量と、前記同一被写体の信号のレベル比とに基づいてシェーディング補正係数を算出する算出手段と、
    を備えることを特徴とする撮像装置。
  2. 前記検出手段は、前記同一被写体の信号にローパスフィルターをかけた後に、前記同一被写体の信号のレベル比を検出することを特徴とする請求項1に記載の撮像装置。
  3. 前記第1の光電変換部から得られる信号と前記第2の光電変換部から得られる信号とを前記シェーディング補正係数を用いて補正した後に加算して映像信号を得る加算手段をさらに備えることを特徴とする請求項1に記載の撮像装置。
  4. 前記第1の光電変換部から得られる信号と前記第2の光電変換部から得られる信号とを前記シェーディング補正係数を用いて補正した後に、前記第1の光電変換部から得られる信号と前記第2の光電変換部から得られる信号のずれ量に基づいてデフォーカス量を算出する焦点検出手段をさらに備えることを特徴とする請求項1に記載の撮像装置。
  5. 撮像レンズの第1の瞳領域を通過した光を受光する第1の光電変換部と、前記第1の瞳領域とは重ならない前記撮像レンズの第2の瞳領域を通過した光を受光する第2の光電変換部とを有する画素が2次元状に配列された撮像素子を備える撮像装置を制御する方法であって、
    前記撮像レンズに設けられたフォーカシングレンズの位置を光軸に沿ってずらしながら前記画素を露光させ、前記フォーカシングレンズの位置に応じて前記画素から得られる同一被写体の信号の撮像面上での像ずれ量を取得する取得工程と、
    前記フォーカシングレンズの位置に応じて前記画素から得られる同一被写体の信号のレベル比を検出する検出工程と、
    前記同一被写体の信号の撮像面上での像ずれ量と、前記同一被写体の信号のレベル比とに基づいてシェーディング補正係数を算出する算出工程と、
    を有することを特徴とする撮像装置の制御方法。
JP2013116245A 2013-05-31 2013-05-31 撮像装置及びその制御方法 Expired - Fee Related JP6071761B2 (ja)

Priority Applications (2)

Application Number Priority Date Filing Date Title
JP2013116245A JP6071761B2 (ja) 2013-05-31 2013-05-31 撮像装置及びその制御方法
US14/292,101 US9578230B2 (en) 2013-05-31 2014-05-30 Image capturing apparatus that performs shading correction and control method therefor

Applications Claiming Priority (1)

Application Number Priority Date Filing Date Title
JP2013116245A JP6071761B2 (ja) 2013-05-31 2013-05-31 撮像装置及びその制御方法

Publications (2)

Publication Number Publication Date
JP2014235287A JP2014235287A (ja) 2014-12-15
JP6071761B2 true JP6071761B2 (ja) 2017-02-01

Family

ID=51984692

Family Applications (1)

Application Number Title Priority Date Filing Date
JP2013116245A Expired - Fee Related JP6071761B2 (ja) 2013-05-31 2013-05-31 撮像装置及びその制御方法

Country Status (2)

Country Link
US (1) US9578230B2 (ja)
JP (1) JP6071761B2 (ja)

Families Citing this family (3)

* Cited by examiner, † Cited by third party
Publication number Priority date Publication date Assignee Title
US9681038B2 (en) * 2014-09-15 2017-06-13 Lg Electronics Inc. Mobile terminal and method for setting a focal point value
JP6504910B2 (ja) * 2015-05-19 2019-04-24 キヤノン株式会社 画像処理装置、撮像装置、画像処理方法および画像処理プログラム
JP2017228913A (ja) * 2016-06-22 2017-12-28 オリンパス株式会社 撮像装置

Family Cites Families (9)

* Cited by examiner, † Cited by third party
Publication number Priority date Publication date Assignee Title
JP2715958B2 (ja) * 1995-03-03 1998-02-18 株式会社ニコン 焦点検出装置
JP4265029B2 (ja) 1999-05-11 2009-05-20 株式会社ニコン 画像取り込み装置および交換レンズ
JP2004012493A (ja) * 2002-06-03 2004-01-15 Canon Inc 焦点検出装置
JP5089515B2 (ja) * 2008-07-15 2012-12-05 キヤノン株式会社 焦点調節装置、撮像装置、交換レンズ、換算係数較正方法、換算係数較正プログラム
JP5237077B2 (ja) * 2008-12-16 2013-07-17 キヤノン株式会社 焦点検出装置及びその制御方法及びプログラム
JP5737929B2 (ja) * 2010-12-22 2015-06-17 キヤノン株式会社 画像処理装置及び画像処理方法
JP5685080B2 (ja) * 2010-12-28 2015-03-18 キヤノン株式会社 焦点検出装置及び焦点検出方法
JP5956782B2 (ja) * 2011-05-26 2016-07-27 キヤノン株式会社 撮像素子及び撮像装置
JP5979961B2 (ja) * 2012-05-07 2016-08-31 キヤノン株式会社 焦点検出装置、焦点検出方法及び撮像装置

Also Published As

Publication number Publication date
US20140354875A1 (en) 2014-12-04
JP2014235287A (ja) 2014-12-15
US9578230B2 (en) 2017-02-21

Similar Documents

Publication Publication Date Title
JP5219865B2 (ja) 撮像装置及び焦点制御方法
US9936122B2 (en) Control apparatus, control method, and non-transitory computer-readable storage medium for performing focus control
CN102472882B (zh) 进行自动调焦控制的摄像设备以及摄像设备的控制方法
US10530994B2 (en) Image capture apparatus, control method for image capture apparatus and non-transitory recording medium for combining image
US10362214B2 (en) Control apparatus, image capturing apparatus, control method, and non-transitory computer-readable storage medium
JP6014452B2 (ja) 焦点検出装置及びそれを有するレンズ装置及び撮像装置
CN105472237A (zh) 摄像设备和摄像方法
JP2014174460A (ja) 焦点検出装置およびその制御方法、撮像装置、プログラム、記憶媒体
JP5737929B2 (ja) 画像処理装置及び画像処理方法
JP6071761B2 (ja) 撮像装置及びその制御方法
US10999491B2 (en) Control apparatus, image capturing apparatus, control method, and storage medium
US20190320122A1 (en) Control apparatus, image capturing apparatus, control method, and non-transitory computer-readable storage medium
US20200092489A1 (en) Optical apparatus, control method, and non-transitory computer-readable storage medium
JP2018010245A (ja) 信号処理装置、その制御方法
KR101839357B1 (ko) 촬상 장치 및 촬상 방법
JP2012103285A (ja) 焦点検出装置およびその制御方法
JP6000738B2 (ja) 撮像装置及び撮像装置の合焦方向判定方法
JP6234097B2 (ja) 撮像装置およびその制御方法
JP7019442B2 (ja) 撮像装置およびその制御方法
JP6541477B2 (ja) 画像処理装置、撮像装置、画像処理方法、およびプログラム
JP2019168494A (ja) 撮像装置およびその制御方法
JP7346021B2 (ja) 画像処理装置、画像処理方法、撮像装置、プログラムおよび記録媒体
JP6415139B2 (ja) 焦点検出装置、撮像装置、焦点検出方法および焦点検出プログラム
JP6456334B2 (ja) 撮像装置
JP2023133024A (ja) 撮像装置及びその制御方法とプログラム

Legal Events

Date Code Title Description
A621 Written request for application examination

Free format text: JAPANESE INTERMEDIATE CODE: A621

Effective date: 20160517

TRDD Decision of grant or rejection written
A01 Written decision to grant a patent or to grant a registration (utility model)

Free format text: JAPANESE INTERMEDIATE CODE: A01

Effective date: 20161205

A61 First payment of annual fees (during grant procedure)

Free format text: JAPANESE INTERMEDIATE CODE: A61

Effective date: 20161227

R151 Written notification of patent or utility model registration

Ref document number: 6071761

Country of ref document: JP

Free format text: JAPANESE INTERMEDIATE CODE: R151

LAPS Cancellation because of no payment of annual fees