JP6068155B2 - 医用レポート作成装置及び医用レポート作成プログラム - Google Patents

医用レポート作成装置及び医用レポート作成プログラム Download PDF

Info

Publication number
JP6068155B2
JP6068155B2 JP2013006659A JP2013006659A JP6068155B2 JP 6068155 B2 JP6068155 B2 JP 6068155B2 JP 2013006659 A JP2013006659 A JP 2013006659A JP 2013006659 A JP2013006659 A JP 2013006659A JP 6068155 B2 JP6068155 B2 JP 6068155B2
Authority
JP
Japan
Prior art keywords
measurement
input
medical
correspondence relationship
support information
Prior art date
Legal status (The legal status is an assumption and is not a legal conclusion. Google has not performed a legal analysis and makes no representation as to the accuracy of the status listed.)
Active
Application number
JP2013006659A
Other languages
English (en)
Other versions
JP2014136071A (ja
Inventor
彰一 野川
彰一 野川
Current Assignee (The listed assignees may be inaccurate. Google has not performed a legal analysis and makes no representation or warranty as to the accuracy of the list.)
Canon Medical Systems Corp
Original Assignee
Toshiba Medical Systems Corp
Priority date (The priority date is an assumption and is not a legal conclusion. Google has not performed a legal analysis and makes no representation as to the accuracy of the date listed.)
Filing date
Publication date
Application filed by Toshiba Medical Systems Corp filed Critical Toshiba Medical Systems Corp
Priority to JP2013006659A priority Critical patent/JP6068155B2/ja
Publication of JP2014136071A publication Critical patent/JP2014136071A/ja
Application granted granted Critical
Publication of JP6068155B2 publication Critical patent/JP6068155B2/ja
Active legal-status Critical Current
Anticipated expiration legal-status Critical

Links

Images

Landscapes

  • Measuring And Recording Apparatus For Diagnosis (AREA)
  • Medical Treatment And Welfare Office Work (AREA)

Description

本発明の実施形態は、医用レポート作成装置及び医用レポート作成プログラムに関する。
近年、医療行為の専門分野は細分化されている。例えば、画像診断においては、患者の診断画像の取得、取得された診断画像の読影及び医用レポート作成、医用レポートの結果に基づく診断結果や治療方針の説明、等の各作業に分割される。各作業は、各専門家(担当の医師又は担当技師)によって担当され、これら全ての作業によって、患者に対する診断等の医療行為が達成される。各専門家は、前段の作業において他の専門家が作成した情報に基づいて、且つ適宜過去の診断情報等を参照することにより、各作業を実行する。これらの作業は、例えば、診断画像を取得するX線CT装置、MRI装置等の医用画像診断装置、診断画像を記憶する医用画像保管装置、診断画像を読影するための医用画像観察装置、医用レポート作成装置等において行われる。
医用レポート作成ルーチンにおいて、画像情報と同様に検査レポートをネットワーク経由で送受信したり、高い検索性、了解性の高い記述を可能とするための標準化が、DICOM規格に従って行われている(DICOM構造化レポーティング:DOCOM SR(Structured Reporting))。DICOM SRは、画像から読み取れる情報を記述したテキスト、その位置や大きさの測定値、また関連する心電図などの波形データや、 過去の医用レポートなどを、DICOM規格に従って体系的に関連付け、構造的に記述することを可能とする技術である。これにより、医用レポート作成において、画像から計測値を受け取り、検査毎に計測値を管理することが可能となる。具体的には、医用レポート作成に利用する現在表示中の画像につき、計測値データをDICOM SR等の機能を利用して取得し、例えば別ウィンドウで一覧表示したり、同一患者の過去の計測値を検査毎に別ウィンドウで表示することができる。医用レポート作成者は、表示された画像及び計測値一覧等を参照しながら、計測値の内容を一括して医用レポートへ添付等することで、医用レポートを作成する。
しかしながら、従来の医用レポート作成装置では、一覧表示される計測値をレポートに一括して貼り付けることしかできない。このため、個別の計測値をのみをレポートに含めようとする場合、レポート作成者は、計測値を自分の目で見て写し取る、或いは一覧表示された計測値をまとめて貼り付けることを余儀なくされる。その結果、レポートへの記入ミスが発生したり、必要でないデータが記入される場合がある。また、レポート作成において参照する検査数(履歴も含む)が多い場合等は、ウィンドウの切り替え等があり参照が面倒になる。特に、過去データからの推移を参照する必要がある場合には、大きな作業負担となる。
目的は、レポート作成において、計測値入力を従来に比して容易にする医用レポート作成装置及び医用レポート作成プログラムを提供することである。
本実施形態に係る医用レポート作成装置は、医用画像に関する複数の計測名と、前記各計測名に対応する計測値を特定するためのコードと、の対応関係を記憶する記憶ユニットと、患者情報と医用画像に関する所望の計測名とを入力するための入力ユニットと、前記入力された患者情報及び計測名と前記記憶ユニットに記憶される対応関係とに基づいて、医用画像に関する少なくとも一つの計測値を患者毎に記憶するデータベースを検索することで、前記入力された患者情報及び計測名に対応する計測値を取得し、当該取得した計測値を用いて入力支援情報を生成する支援情報生成ユニットと、前記入力支援情報を表示する表示ユニットと、前記表示された入力支援情報を用いて医用レポートを作成するレポート作成ユニットと、を具備するものである。
図1は、本実施形態に係る医用レポート作成装置1が利用される医用ネットワークシステムNの一例を示した図である。 図2は、医用レポート作成装置1の構成を説明するためのブロック図である。 図3は、医用レポート入力支援機能を利用した医用レポート作成処理の流れを示したフローチャートである。 図4は、表示ユニット14に表示される診断画像の一例を示した図である。 図5は、当該ステップS4において取得する計測値管理用テーブルの一例を示した図である。 図6は、当該ステップS4において取得するマッピングテーブルの一例を示した図である。 図7は、「経過AoD」との文字列入力に応答して作成される計測項目AoDの経時的変化を示すグラフの一例を示した図である。
以下、図面を参照しながら本実施形態に係わる医用レポート作成装置について説明する。
図1は、本実施形態に係る医用レポート作成装置1が利用される医用ネットワークシステムNの一例を示した図である。同図に示すように、医用ネットワークシステムNは、医用レポート作成装置1、医用画像表示装置3、医用画像保管装置5、医用画像診断装置7を具備する。
医用レポート作成装置1は、レポート作成者からの入力に従って医用レポートを作成するための装置である。医用画像表示装置3は、医用画像を所定の形態で再生(表示)し観察するためのワークステーション等である。医用画像保管装置5は、医用レポート作成装置1において作成された医用レポート、ネットワークを介して取得した医用レポート、医用画像診断装置7で撮像された各所医用画像、ネットワークを介して取得した医用画像等をDICOM規格に従って保存、管理する。特に、医用画像保管装置5は、後述する医用レポート入力支援機能において利用される計測値管理用テーブル、マッピングテーブル等を保管するデータベース50を具備する。医用画像診断装置7は、X線コンピュータ断層撮像装置、磁気共鳴イメージング装置、超音波診断装置、X線診断装置、核医学診断装置等の医用画像を撮像するための装置である。なお、医用レポート作成装置1は、医用画像表示装置3と一体化することも可能である。
図2は、医用レポート作成装置1の構成を説明するためのブロック図である。医用レポート作成装置1は、制御ユニット10、レポート作成ユニット11、入力支援処理ユニット12、入力ユニット13、表示ユニット14、送受信ユニット15、記憶ユニット16を具備する。
制御ユニット10は、本医用レポート作成装置1を構成する各ユニットを動的或いは静的に制御する。特に、制御ユニット10は、記憶ユニット16に記憶された専用プログラムを自身のメモリ上に展開し、医用レポート作成機能、及び後述する医用レポート入力支援機能を実現するように、レポート作成ユニット11、入力支援処理ユニット12を制御する。
レポート作成ユニット11は、制御ユニット10からの制御指示に従って、医用レポートを作成する。
入力支援処理ユニット12は、制御ユニット10からの制御指示に従って、後述する医用レポート入力支援機能を実現する。
入力ユニット13は、キーボード、マウス、所定のスイッチ等の所定の指示を入力するためのデバイスである。
表示ユニット14は、医用レポート作成画面、医用レポート入力支援画面、医用レポートの作成に利用される医用画像等を所定の形態で表示する。
送受信ユニット15は、ネットワークを介して、医用画像表示装置3、医用画像保管装置5、医用画像診断装置7等と所定の情報を送受信する。特に、送受信ユニット15は、後述する医用レポート入力支援機能を実行する際に、医用画像保管装置5のデータベース50から、計測値管理用テーブル、マッピングテーブル等を取得する。
記憶ユニット16は、医用レポート作成機能、及び後述する医用レポート入力支援機能を実現するための専用プログラム(医用レポート作成プログラム)、医用レポート、医用画像、データベース50から取得した計測値管理用テーブル、マッピングテーブル等を記憶する。
(医用レポート入力支援機能)
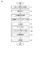
図3は、医用レポート入力支援機能を利用した医用レポート作成処理の流れを示したフローチャートである。図3等を参照しながら、本医用レポート作成装置1が有する医用レポート入力支援機能について以下説明する。
[医用レポート作成プログラムの起動・患者情報等の入力:ステップS1、S2]
レポート作成者により、入力ユニット13を介して医用レポート作成プログラムの起動指示が入力されると、制御ユニット10は、記憶ユニット16に記憶された専用プログラム、入力支援プログラムを起動する(ステップS1)。医用レポート作成プログラム起動後、表示ユニット14に表示される入力画面に従って、入力ユニット13を介してレポート作成の対象となる検査・患者を特定するための情報(検査情報等)が入力される(ステップS2)。
[診断画像取得・表示、マッピングテーブルの取得:ステップS3、S4]
レポート作成ユニット11は、入力された検査情報等に基づいて、当該検査情報によって特定される少なくとも一枚の診断画像を、ネットワークを介して医用画像保管装置5から取得する。取得した診断画像は、例えば図4に示すように所定の形態にて表示ユニット14に表示される(ステップS3)。
さらに、レポート作成ユニット11は、入力された検査情報等に基づいて、取得した診断画像に関する計測値管理用テーブル及びマッピングテーブルを、ネットワークを介して医用画像保管装置5から取得する(ステップS4)
図5は、当該ステップS4において取得する計測値管理用テーブルの一例を示した図である。同図に示すように、計測値管理用テーブルは、各診断画像に関する各種計測項目毎の計測値を、DICOM規格に従うコードを用いて患者毎或いは検査毎に管理するものである。
図6は、当該ステップS4において取得するマッピングテーブルの一例を示した図である。同図に示すように、マッピングテーブルは、各種計測項目に割り当てられた文字列「KEY」と、各種計測項目に対応する計測値をDICOM SRに従うコードとの対応関係を定義するものである。ここで、「前回AOD」とは、「前回検査」における計測項目「AOD」を、「経過AOD」とは、所定期間に遡った過去の複数回に亘る「AOD」を意味する文字列である。なお、図6のマッピングテーブルの例では、各種計測項目に割り当てられた文字列「KEY」と、計測値毎の「単位」、各計測項目の「正常範囲」、各計測値を用いた所定の「計算式」との対応関係も定義可能としている。
[入力支援処理:ステップS5]
入力ユニット13を介して表示された診断画像に基づく所見が入力されると、入力支援処理ユニット12は、入力支援処理を実行する(ステップS5)。
図6は、ステップS5における入力支援処理を説明するための図である。例えば、入力ユニット13から「AoD」との文字列が入力されると、入力支援処理ユニット12は、計測値管理テーブル及びマッピングテーブルに基づいて、入力された「AoD」との文字列を「10(10−20:mm)」と変換する。また、例えば入力ユニット13から「LAD」との文字列が入力されると、入力支援処理ユニット12は、計測値管理テーブル及びマッピングテーブルに基づいて、入力された「LAD」との文字列を「20mm(正常値オーバー)」と変換する。
さらに、例えば入力ユニット13から「前々回AoD」との文字列が入力されると、入力支援処理ユニット12は、計測値管理テーブル及びマッピングテーブルに基づいて、入力された「前々回AoD」との文字列を前々回の検査において計測された計測値を用いて「12(10−20:mm)」と変換する。また、例えば入力ユニット13から「経過AoD」との文字列が入力されると、入力支援処理ユニット12は、計測値管理テーブル及びマッピングテーブルに基づいて、所定期間に遡った過去の複数回に亘る「AOD」を取得し、例えば図7に示すような同一患者の同一検査における計測項目AoDの経時的変化を示すグラフを生成する。
上述変換により得られた各文字列やグラフ等の支援情報は、表示ユニット14に所定の形態で表示される。このとき、正常値オーバーと判定された計測値については異なる色彩を割り当て、レポート作成者の注意を積極的に促すようにしてもよい。
[所見等登録:ステップS6]
レポート作成者は、表示された支援情報を観察しながら、入力ユニット13を介して所見を入力する。レポート作成ユニット11は、所定の登録操作に応答して、入力された所見、入力支援処理によって得られた支援情報をレポート内容として登録する(ステップS6)。なお、複数の計測項目や検査に基づく所見を登録する場合には、ステップS5、S6の処理が繰り返されることになる。
(効果)
以上述べた医用レポート作成装置によれば、入力された計測項目に割り当てられた文字列は、当該当該文字列に対応する計測値、単位、正常範囲等に自動的に変換され、所定の形態でレポート作成者に提示される。従って、レポート作成者は、所定の文字列を入力するだけで所望の計測値等を取得することができ、日本語変換と同じ感覚で所見等を記入することができる。特に、例えば「経過AoD」等の計測項目と時間情報とを指定する文字列を入力することで、同一患者の同一検査における計測項目AoDの経時的変化を示すグラフを生成し表示することができる。その結果、レポート作成時における計測値等の写し間違い、ウィンドウの切り替え作業負等を省略することができ、レポート作成時における作業負担を軽減させることができる。
以上いくつかの実施形態を説明したが、これらの実施形態は、例として提示したものであり、発明の範囲を限定することは意図していない。これら新規な実施形態は、その他の様々な形態で実施されることが可能であり、発明の要旨を逸脱しない範囲で、種々の省略、置き換え、変更を行うことができる。これら実施形態やその変形は、発明の範囲や要旨に含まれるとともに、特許請求の範囲に記載された発明とその均等の範囲に含まれるものである。
1…医用レポート作成装置、3…医用画像表示装置、5…医用画像保管装置、7…医用画像診断装置、10…制御ユニット、11…レポート作成ユニット、12…入力支援処理ユニット、13…入力ユニット、14…表示ユニット、15…送受信ユニット、16…記憶ユニット、N…医用ネットワークシステム

Claims (6)

  1. 医用画像に関する複数の計測名と、前記各計測名に対応する計測値を特定するためのコードと、の対応関係を記憶する記憶ユニットと、
    患者情報と医用画像に関する所望の計測名とを入力するための入力ユニットと、
    前記入力された患者情報及び計測名と前記記憶ユニットに記憶される対応関係とに基づいて、医用画像に関する少なくとも一つの計測値を患者毎に記憶するデータベースを検索することで、前記入力された患者情報及び計測名に対応する計測値を取得し、当該取得した計測値を用いて入力支援情報を生成する支援情報生成ユニットと、
    前記入力支援情報を表示する表示ユニットと、
    前記表示された入力支援情報を用いて医用レポートを作成するレポート作成ユニットと、
    を具備することを特徴とする医用レポート作成装置。
  2. 前記対応関係は、医用画像に関する複数の計測名と、前記各計測名に対応する計測値の単位との対応関係をさらに定義するものであり、
    前記支援情報生成ユニットは、前記対応関係に基づいて前記取得された計測値の単位をさらに取得し、当該取得した単位を用いて前記入力支援情報を生成すること、
    を特徴とする請求項1記載の医用レポート作成装置。
  3. 前記対応関係は、医用画像に関する複数の計測名と、前記各計測名に対応する計測値の正常範囲との対応関係をさらに定義するものであり、
    前記支援情報生成ユニットは、前記対応関係に基づいて前記取得された計測値の正常範囲をさらに取得し、当該取得した正常範囲を用いて前記入力支援情報を生成すること、
    を特徴とする請求項1又は2記載の医用レポート作成装置。
  4. 前記対応関係は、医用画像に関する複数の計測名と、前記各計測名に対応する計測値を利用する計算式との対応関係をさらに定義するものであり、
    前記支援情報生成ユニットは、前記対応関係に基づいて前記取得された計測値を利用する計算式をさらに取得し、当該取得した計算式を用いて前記入力支援情報を生成すること、
    を特徴とする請求項1乃至3のうちいずれか一項記載の医用レポート作成装置。
  5. 前記対応関係は、前記医用画像に関する計測名及び計測に関する時間情報と、前記各計測名に対応する計測値を特定するためのコードと、の対応関係を定義するものであり、
    前記入力ユニットは、計測に関する時間情報をさらに入力するものであり、
    前記支援情報生成ユニットは、前記さらに入力された計測に関する時間情報と前記対応関係とに基づいて、医用画像に関する少なくとも一つの計測値を患者毎に記憶するデータベースを検索することで、前記入力された計測に関する時間情報に対応する計測値を取得し、当該取得した計測値を用いて前記入力支援情報を生成すること、
    を特徴とする請求項1乃至4のうちいずれか一項記載の医用レポート作成装置。
  6. コンピュータに、
    患者情報と医用画像に関する所望の計測名とを入力させる入力機能と、
    医用画像に関する複数の計測名と、前記各計測名に対応する計測値を特定するためのコードと、の対応関係と、前記入力された患者情報及び計測名とに基づいて、医用画像に関する少なくとも一つの計測値を患者毎に記憶するデータベースを検索させることで、前記入力された患者情報及び計測名に対応する計測値を取得させ、当該取得した計測値を用いて入力支援情報を生成させる支援情報生成機能と、
    前記入力支援情報を表示させる表示機能と、
    前記表示された入力支援情報を用いて医用レポートを作成させるレポート作成機能と、
    を具備することを特徴とする医用レポート作成プログラム。
JP2013006659A 2013-01-17 2013-01-17 医用レポート作成装置及び医用レポート作成プログラム Active JP6068155B2 (ja)

Priority Applications (1)

Application Number Priority Date Filing Date Title
JP2013006659A JP6068155B2 (ja) 2013-01-17 2013-01-17 医用レポート作成装置及び医用レポート作成プログラム

Applications Claiming Priority (1)

Application Number Priority Date Filing Date Title
JP2013006659A JP6068155B2 (ja) 2013-01-17 2013-01-17 医用レポート作成装置及び医用レポート作成プログラム

Publications (2)

Publication Number Publication Date
JP2014136071A JP2014136071A (ja) 2014-07-28
JP6068155B2 true JP6068155B2 (ja) 2017-01-25

Family

ID=51413929

Family Applications (1)

Application Number Title Priority Date Filing Date
JP2013006659A Active JP6068155B2 (ja) 2013-01-17 2013-01-17 医用レポート作成装置及び医用レポート作成プログラム

Country Status (1)

Country Link
JP (1) JP6068155B2 (ja)

Family Cites Families (11)

* Cited by examiner, † Cited by third party
Publication number Priority date Publication date Assignee Title
JP3100777B2 (ja) * 1992-08-31 2000-10-23 株式会社東芝 病院用診断支援装置
JP2001052078A (ja) * 1997-09-19 2001-02-23 Kanebo Ltd 患者情報保管方法および患者情報管理システム並びに患者情報保管用紙
JP4564130B2 (ja) * 2000-05-23 2010-10-20 株式会社東芝 超音波画像診断装置
JP2003099532A (ja) * 2001-09-26 2003-04-04 Dainippon Screen Mfg Co Ltd 医療用ファイリングシステム
JP2007087271A (ja) * 2005-09-26 2007-04-05 Fujifilm Corp 読影レポート作成装置
JP2008259622A (ja) * 2007-04-11 2008-10-30 Fujifilm Corp レポート作成支援装置およびそのプログラム
JP5150142B2 (ja) * 2007-06-11 2013-02-20 株式会社ニデック 医療情報管理システム
JP2009069977A (ja) * 2007-09-11 2009-04-02 Fujifilm Corp 医用レポート作成システム及び医用レポート作成装置並びに医用レポート作成方法
JP2010233879A (ja) * 2009-03-31 2010-10-21 Konica Minolta Medical & Graphic Inc 画像計測装置及びプログラム
JP2011022969A (ja) * 2009-07-21 2011-02-03 Toshiba Corp 電子カルテ生成装置
JP5958321B2 (ja) * 2012-12-14 2016-07-27 コニカミノルタ株式会社 医用情報処理装置及びプログラム

Also Published As

Publication number Publication date
JP2014136071A (ja) 2014-07-28

Similar Documents

Publication Publication Date Title
Doshi et al. Quantitative evaluation of large language models to streamline radiology report impressions: a multimodal retrospective analysis
Rouzrokh et al. Mitigating bias in radiology machine learning: 1. Data handling
JP6016406B2 (ja) 医療診断支援装置及び医療診断支援方法及び入力支援システム
JP5728212B2 (ja) 診断支援装置、診断支援装置の制御方法、およびプログラム
JP2021180929A (ja) 診断支援装置、診断支援システム、情報処理方法、及びプログラム
JP5967968B2 (ja) 医療診断支援システム、医療診断支援装置、情報処理方法、及びプログラム
US20060242143A1 (en) System for processing medical image representative data from multiple clinical imaging devices
US7418120B2 (en) Method and system for structuring dynamic data
JP6362061B2 (ja) 診断支援システム、その作動方法、およびプログラム
JP6071338B2 (ja) 医療診断支援装置、医療診断支援方法及びプログラム
KR102130098B1 (ko) 의료 영상과 관련된 장치들 간에 송수신되는 의료 데이터를 생성하는 방법 및 장치.
JP2015060397A (ja) 医用画像表示装置および医用画像表示装置における表示制御方法
JP2021117926A (ja) 医用情報処理システム、医用情報処理装置、医用情報処理システムの制御方法、及びプログラム
JP2018536936A (ja) 診断情報項目のソート方法、システム及び記憶媒体
JP7623120B2 (ja) 診療支援システム
JP2015207261A (ja) 医用レポート作成支援装置およびそのレポート表示制御方法
van Rijn et al. Three reasons why artificial intelligence might be the radiologist’s best friend
Alimiri Dehbaghi et al. Revolutionizing emergency care: an overview of the transformative role of artificial intelligence in diagnosis, triage, and patient management
JP2021051471A (ja) 匿名化装置、匿名化システム
JP2007307290A (ja) 医用画像読影システム
JP2011005169A (ja) 医用画像管理装置及びプログラム
JP2011128661A (ja) 地域医療連携システム、登録端末及びプログラム
JP6068155B2 (ja) 医用レポート作成装置及び医用レポート作成プログラム
JP2017153691A (ja) 診断支援装置、診断支援装置の制御方法及びプログラム
JP7164877B2 (ja) 情報共有システム

Legal Events

Date Code Title Description
A711 Notification of change in applicant

Free format text: JAPANESE INTERMEDIATE CODE: A712

Effective date: 20150615

A621 Written request for application examination

Free format text: JAPANESE INTERMEDIATE CODE: A621

Effective date: 20160105

A711 Notification of change in applicant

Free format text: JAPANESE INTERMEDIATE CODE: A711

Effective date: 20160511

A977 Report on retrieval

Free format text: JAPANESE INTERMEDIATE CODE: A971007

Effective date: 20161017

TRDD Decision of grant or rejection written
A01 Written decision to grant a patent or to grant a registration (utility model)

Free format text: JAPANESE INTERMEDIATE CODE: A01

Effective date: 20161122

A61 First payment of annual fees (during grant procedure)

Free format text: JAPANESE INTERMEDIATE CODE: A61

Effective date: 20161222

R150 Certificate of patent or registration of utility model

Ref document number: 6068155

Country of ref document: JP

Free format text: JAPANESE INTERMEDIATE CODE: R150

S533 Written request for registration of change of name

Free format text: JAPANESE INTERMEDIATE CODE: R313533

R350 Written notification of registration of transfer

Free format text: JAPANESE INTERMEDIATE CODE: R350