JP6011908B2 - 光レセプタクルおよびこれを備えた光モジュール - Google Patents

光レセプタクルおよびこれを備えた光モジュール Download PDF

Info

Publication number
JP6011908B2
JP6011908B2 JP2012060193A JP2012060193A JP6011908B2 JP 6011908 B2 JP6011908 B2 JP 6011908B2 JP 2012060193 A JP2012060193 A JP 2012060193A JP 2012060193 A JP2012060193 A JP 2012060193A JP 6011908 B2 JP6011908 B2 JP 6011908B2
Authority
JP
Japan
Prior art keywords
light
monitor
lens surface
optical
optical receptacle
Prior art date
Legal status (The legal status is an assumption and is not a legal conclusion. Google has not performed a legal analysis and makes no representation as to the accuracy of the status listed.)
Expired - Fee Related
Application number
JP2012060193A
Other languages
English (en)
Other versions
JP2013195513A (ja
Inventor
和孝 渋谷
和孝 渋谷
Current Assignee (The listed assignees may be inaccurate. Google has not performed a legal analysis and makes no representation or warranty as to the accuracy of the list.)
Enplas Corp
Original Assignee
Enplas Corp
Priority date (The priority date is an assumption and is not a legal conclusion. Google has not performed a legal analysis and makes no representation as to the accuracy of the date listed.)
Filing date
Publication date
Application filed by Enplas Corp filed Critical Enplas Corp
Priority to JP2012060193A priority Critical patent/JP6011908B2/ja
Priority to PCT/JP2013/054103 priority patent/WO2013136925A1/ja
Priority to US14/382,503 priority patent/US9529166B2/en
Priority to TW102109315A priority patent/TWI608263B/zh
Publication of JP2013195513A publication Critical patent/JP2013195513A/ja
Application granted granted Critical
Publication of JP6011908B2 publication Critical patent/JP6011908B2/ja
Expired - Fee Related legal-status Critical Current
Anticipated expiration legal-status Critical

Links

Images

Classifications

    • GPHYSICS
    • G02OPTICS
    • G02BOPTICAL ELEMENTS, SYSTEMS OR APPARATUS
    • G02B6/00Light guides; Structural details of arrangements comprising light guides and other optical elements, e.g. couplings
    • G02B6/24Coupling light guides
    • G02B6/42Coupling light guides with opto-electronic elements
    • G02B6/4201Packages, e.g. shape, construction, internal or external details
    • G02B6/4286Optical modules with optical power monitoring
    • GPHYSICS
    • G02OPTICS
    • G02BOPTICAL ELEMENTS, SYSTEMS OR APPARATUS
    • G02B27/00Optical systems or apparatus not provided for by any of the groups G02B1/00 - G02B26/00, G02B30/00
    • G02B27/10Beam splitting or combining systems
    • G02B27/108Beam splitting or combining systems for sampling a portion of a beam or combining a small beam in a larger one, e.g. wherein the area ratio or power ratio of the divided beams significantly differs from unity, without spectral selectivity
    • GPHYSICS
    • G02OPTICS
    • G02BOPTICAL ELEMENTS, SYSTEMS OR APPARATUS
    • G02B27/00Optical systems or apparatus not provided for by any of the groups G02B1/00 - G02B26/00, G02B30/00
    • G02B27/10Beam splitting or combining systems
    • G02B27/12Beam splitting or combining systems operating by refraction only
    • G02B27/123The splitting element being a lens or a system of lenses, including arrays and surfaces with refractive power
    • GPHYSICS
    • G02OPTICS
    • G02BOPTICAL ELEMENTS, SYSTEMS OR APPARATUS
    • G02B6/00Light guides; Structural details of arrangements comprising light guides and other optical elements, e.g. couplings
    • G02B6/24Coupling light guides
    • G02B6/42Coupling light guides with opto-electronic elements
    • G02B6/4201Packages, e.g. shape, construction, internal or external details
    • G02B6/4204Packages, e.g. shape, construction, internal or external details the coupling comprising intermediate optical elements, e.g. lenses, holograms
    • GPHYSICS
    • G02OPTICS
    • G02BOPTICAL ELEMENTS, SYSTEMS OR APPARATUS
    • G02B6/00Light guides; Structural details of arrangements comprising light guides and other optical elements, e.g. couplings
    • G02B6/24Coupling light guides
    • G02B6/42Coupling light guides with opto-electronic elements
    • G02B6/4201Packages, e.g. shape, construction, internal or external details
    • G02B6/4204Packages, e.g. shape, construction, internal or external details the coupling comprising intermediate optical elements, e.g. lenses, holograms
    • G02B6/4214Packages, e.g. shape, construction, internal or external details the coupling comprising intermediate optical elements, e.g. lenses, holograms the intermediate optical element having redirecting reflective means, e.g. mirrors, prisms for deflecting the radiation from horizontal to down- or upward direction toward a device
    • GPHYSICS
    • G02OPTICS
    • G02BOPTICAL ELEMENTS, SYSTEMS OR APPARATUS
    • G02B6/00Light guides; Structural details of arrangements comprising light guides and other optical elements, e.g. couplings
    • G02B6/24Coupling light guides
    • G02B6/42Coupling light guides with opto-electronic elements
    • G02B6/4201Packages, e.g. shape, construction, internal or external details
    • G02B6/4249Packages, e.g. shape, construction, internal or external details comprising arrays of active devices and fibres

Landscapes

  • Physics & Mathematics (AREA)
  • General Physics & Mathematics (AREA)
  • Optics & Photonics (AREA)
  • Spectroscopy & Molecular Physics (AREA)
  • Optical Couplings Of Light Guides (AREA)

Description

本発明は、光レセプタクルおよびこれを備えた光モジュールに係り、特に、発光素子と光伝送体とを光学的に結合するのに好適な光レセプタクルおよびこれを備えた光モジュールに関する。
従来から、光ファイバを用いた光通信には、面発光レーザ(例えば、VCSEL:Vertical Cavity Surface Emitting Laser)等の発光素子を備えた光モジュールが用いられていた。
この種の光モジュールには、光レセプタクルと称される光モジュール部品が用いられており、この光レセプタクルは、発光素子から出射された通信情報を含む光を光ファイバの端面に結合させることによって、光ファイバを介した光送信に用いられるようになっていた。
また、従来から、光モジュールにおいては、温度変化に対する発光素子の出力特性の安定化や光出力の調整を目的として、発光素子から出射された光(強度や光量)をモニタ(監視)するための種々の提案がなされていた。
例えば、特許文献1においては、レンズアレイに形成された第1の凹部の内面からなる反射/透過面によるフレネル反射を利用して、発光素子からの出射光の一部をモニタ光として受光素子側に反射させる技術が提案されている。
特開2011−039151号公報
前述した特許文献1に記載の技術は、第1の凹部の内面の面形状のみによって、発光素子の出射光をモニタ光と光ファイバへの結合光とに分離することができるため、モニタをともなう光送信に要する部品点数を抑えることができるといった利点がある。
その一方で、特許文献1に記載の技術においては、結合光を光ファイバに適切に結合させるために第1の凹部の内面の面精度(傾斜角の精度)を要する上に、第1の凹部の後のモニタ光の進行方向を受光素子側に向くように調整するために第2の凹部が不可欠であった。
そこで、本発明者は、少ない部品点数によって結合光とモニタ光との分離を実現するといった特許文献1に記載の技術の利点を踏まえた上で、更なる製造コストの低廉化および結合効率の向上を達成すべく鋭意研究を行い、本願発明をなすに至った。
本発明は、このような点に鑑みなされたものであり、モニタ光を確実に取得することができるとともに、低コスト化および結合効率の向上を図ることができる光レセプタクルおよびこれを備えた光モジュールを提供することを目的とするものである。
前述した目的を達成するため、本発明の請求項1に係る光レセプタクルの特徴は、発光素子およびこの発光素子から発光された光をモニタするためのモニタ光を受光する受光素子が基板上に実装された光電変換装置と、光伝送体との間に配置された状態で、前記発光素子と前記光伝送体とを光学的に結合可能とされた光レセプタクルであって、光レセプタクル本体における前記光電変換装置側の第1の面上に、前記発光素子の前記光が入射するように配置され、入射した前記発光素子の光を、前記光伝送体に結合すべき結合光と前記モニタ光とに分離する第1のレンズ面と、前記光レセプタクル本体における前記第1の面と反対側の第2の面上に、前記第1の面に対して所定の傾斜角を有するようにして前記第1のレンズ面に対向して配置され、前記第1のレンズ面側から前記結合光が到達し、この到達した結合光を前記光伝送体側に向けて反射させる第1の反射面と、この第1の反射面によって反射された前記結合光を前記光伝送体に向けて出射させる結合光出射面と、前記第2の面上における前記第1の反射面に対する前記光伝送体側の位置に配置され、前記第1のレンズ面側から前記モニタ光が到達し、この到達したモニタ光を前記受光素子側に向けて反射させる第2の反射面と、この第2の反射面によって反射された前記モニタ光を前記受光素子に向けて出射させるモニタ光出射面とを備え、前記第1のレンズ面は、前記発光素子の光における一部の光が入射するように配置され、入射した前記一部の光を前記結合光として前記第1の反射面に向けて進行させる結合用レンズ面部と、前記発光素子の光における前記一部の光以外の他の一部の光が入射するように配置され、入射した前記他の一部の光を前記モニタ光として前記第2の反射面に向けて進行させるモニタ用レンズ面部とを有するとともに前記結合用レンズ面部は、凸面に形成され、前記モニタ用レンズ面部は、凹面または傾斜平面に形成されている点にある。
そして、この請求項1に係る発明によれば、第1のレンズ面の面形状のみによって発光素子の光を結合光とモニタ光とに分離することができるので、従来のような面精度が求められる凹部を作り込む必要がなく、光レセプタクルを低コストで設計・作製することができる。また、第1のレンズ面においてモニタ光と分離された結合光については、第1の反射面を経由して結合光出射面に至るまで光レセプタクルの内部の光路上を進行させることができるので、第1の反射面の精度さえ確保されれば、光伝送体への結合を高精度に行うことができる。更に、第1レンズ面の面形状を、結合光とモニタ光との分割に好適な形状に形成することができる。
さらに、請求項に係る光レセプタクルの特徴は、請求項において、更に、前記結合用レンズ面部、前記モニタ用レンズ面部および前記モニタ光出射面は、前記第1の面上の共通の基準平面を基準とした面形状に設計されており、前記第1のレンズ面は、前記結合用レンズ面部と前記モニタ用レンズ面部とを接続する段差面部を有する点にある。
そして、この請求項2に係る発明によれば、第1のレンズ面を構成する結合用レンズ面部およびモニタ用レンズ面部と、モニタ光出射面とを、共通の基準平面を基準として簡便に設計することができる。
さらにまた、請求項に係る光レセプタクルの特徴は、請求項において、更に、前記段差面部は、前記第1のレンズ面上の光軸に平行に配置されている点にある。
そして、この請求項に係る発明によれば、結合用レンズ面部、モニタ用レンズ面部およびモニタ光出射面を共通の基準平面を基準として設計する場合に不可避的となる段差面が、発光素子の光の光路にできるだけ影響を及ぼさないようにすることができる。
また、請求項に係る光レセプタクルの特徴は、請求項において、更に、前記結合用レンズ面部と前記モニタ用レンズ面部とは、互いに連接されている点にある。
そして、この請求項に係る発明によれば、結合用レンズ面部とモニタ用レンズ面部との境界における形状変化を滑らかにすることができるので、光レセプタクルを金型を用いた樹脂成形によって得る場合に、金型における第1のレンズ面の形状転写面の加工を簡便かつ高精度に行うことができる。
さらに、請求項に係る光レセプタクルの特徴は、請求項1〜のいずれか1項において、更に、前記モニタ用レンズ面部は、前記結合用レンズ面部に対して前記光伝送体側に配置されている点にある。
そして、この請求項に係る発明によれば、モニタ光が第1の反射面に入射しないようにするための適切な光路設計を簡便に行うことができる。
さらにまた、請求項に係る光レセプタクルの特徴は、請求項1〜のいずれか1項において、更に、前記第2の反射面は、前記モニタ光が臨界角よりも大きい入射角で内部入射し、この内部入射したモニタ光を全反射させる全反射面とされている点にある。
そして、この請求項に係る発明によれば、第2の反射面を光レセプタクル本体の面形状のみによって構成することができるので、部品点数を抑えることができる。
また、請求項に係る光レセプタクルの特徴は、請求項において、更に、前記第2の反射面は、平面または凸の非球面に形成されている点にある。
そして、この請求項に係る発明によれば、第2の反射面を平面に形成する場合には、形状の簡素化によって更なるコストの低廉化を図ることができ、また、第2の反射面を凸の非球面に形成する場合には、モニタ光の進行方向の調整を行い易くなり、光路設計の自由度および受光素子の配置位置の選択の自由度を向上させることができる。
さらに、請求項に係る光レセプタクルの特徴は、請求項またはにおいて、更に、前記第2の反射面は、前記第2の面上に凹設された凹部の内底面の少なくとも一部からなる点にある。
そして、この請求項に係る発明によれば、全反射面とされた第2の反射面上への異物の付着を防止するための第2の反射面の遮蔽(例えば、第2の面上へのフィルムの貼り付け)に適した構成を実現することができる。
さらにまた、請求項に係る光レセプタクルの特徴は、請求項1〜のいずれか1項において、更に、前記第1の反射面は、前記結合光が臨界角よりも大きい入射角で内部入射し、この内部入射した結合光を全反射させる全反射面とされている点にある。
そして、この請求項に係る発明によれば、第1の反射面を光レセプタクル本体の面形状のみによって構成することができるので、部品点数を抑えることができる。
また、請求項10に係る光レセプタクルの特徴は、請求項1〜のいずれか1項において、更に、前記結合光出射面は、前記結合光を収束させつつ出射させる第2のレンズ面とされ、前記モニタ光出射面は、前記モニタ光を収束させつつ出射させる第3のレンズ面とされている点にある。
そして、この請求項10に係る発明によれば、結合光およびモニタ光の結合効率を向上させることができる。
さらに、請求項11に係る光モジュールの特徴は、請求項1〜10のいずれか1項に記載の光レセプタクルと、請求項1に記載の光電変換装置とを備えた点にある。
そして、この請求項11に係る発明によれば、第1のレンズ面の面形状によって発光素子の光を結合光とモニタ光とに分離することができるので、光レセプタクルを低コストで設計・作製することができ、また、第1のレンズ面においてモニタ光と分離された結合光については、第1の反射面を経由して出射面に至るまで光レセプタクルの内部の光路上を進行させることができるので、光伝送体への結合を高精度に行うことができる。
本発明によれば、モニタ光を確実に取得することができるとともに、低コスト化および結合効率の向上を図ることができる。
本発明に係る光レセプタクルおよびこれを備えた光モジュールの実施形態を示す概略構成図 図1に示す光レセプタクルの平面図 図1に示す光レセプタクルの下面図 図1に示す光レセプタクルの要部拡大図 本発明の第1の変形例を示す縦断面図 図5の要部拡大図 本発明の第2の変形例を示す縦断面図 図7の下面図 図7の要部拡大図 本発明の第3の変形例を示す縦断面図 図10の要部拡大図 本発明の第4の変形例を示す縦断面図 図12の要部拡大図 本発明の第5の変形例を示す縦断面図 図14の平面図 図14の要部拡大図 本発明の第6の変形例を示す第1の平面図 本発明の第6の変形例を示す第2の平面図 本発明の第7の変形例を示す光モジュールの概略構成図 図19に示す光レセプタクルの平面図 図19に示す光レセプタクルの下面図 図19に示す光レセプタクルの右側面図 本発明の第8の変形例を示す縦断面図 本発明の第9の変形例を示す縦断面図 図24の下面図 本発明の第10の変形例を示す縦断面図 本発明の第11の変形例を示す縦断面図 本発明の第12の変形例を示す縦断面図 図28の平面図
以下、本発明に係る光レセプタクルおよびこれを備えた光モジュールの実施形態について、図1〜図29を参照して説明する。
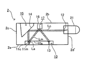
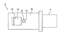
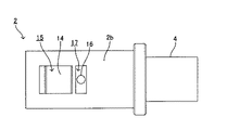
図1は、本実施形態における光モジュール1の概要を本実施形態における光レセプタクル2の縦断面図(図2のA−A断面図に相当)とともに示す概略構成図である。また、図2は、図1に示す光レセプタクル2の平面図である。さらに、図3は、図1に示す光レセプタクル2の下面図である。
図1に示すように、本実施形態における光レセプタクル2(光レセプタクル本体)は、光電変換装置3と光伝送体としての光ファイバ5との間に配置されるようになっている。
ここで、図1の光電変換装置3は、基板実装型の光電変換装置3とされている。すなわち、図1に示すように、光電変換装置3は、第1の面としての光レセプタクル2の下端面2a(平面)に対して平行に配置される半導体基板(回路基板)6における光レセプタクル2側の面(上面)に、この面に対して垂直方向(上方向)にレーザ光Laを出射(発光)させる1つの発光素子7を有しており、この発光素子7は、前述したVCSEL(垂直共振器面発光レーザ)を構成している。また、光電変換装置3は、半導体基板6における光レセプタクル2側の面上であって、発光素子7に対する図1における右方位置に、発光素子7から出射されたレーザ光Laの出力(例えば、強度や光量)をモニタするためのモニタ光Lmを受光する1つの受光素子8を有している。この受光素子8は、フォトディテクタであってもよい。さらに、図示はしないが、半導体基板6における光レセプタクル2側の面上には、受光素子8によって受光されたモニタ光Lmの強度や光量に基づいて発光素子7から発光されるレーザ光Laの出力を制御する制御回路等の電子部品が実装されており、この電子部品は、配線を介して発光素子7および受光素子8に電気的に接続されている。このような光電変換装置3は、例えば、半導体基板6と光レセプタクル2との間に配置された接着剤(例えば、熱/紫外線硬化性樹脂)等の公知の固定手段によって光レセプタクル2に取り付けられることにより、光レセプタクル2とともに光モジュール1を構成するようになっている。
また、図1に示すように、光ファイバ5は、端面5a側の所定長さの部位が、この部位を保持する円筒状のフェルール9とともに、光レセプタクル2に形成された筒状の光ファイバ取付部4内に取り付けられるようになっている。この取り付け状態において、光ファイバ5における端面5a側の部位(光ファイバ取付部4内に収容された部位)は、半導体基板6に対して平行となっている。なお、光ファイバ5は、シングルモード光ファイバおよびマルチモード光ファイバのいずれであってもよい。
そして、光レセプタクル2は、このような光電変換装置3と光ファイバ5との間に配置された状態で、発光素子7と光ファイバ5の端面5aとを光学的に結合させるようになっている。なお、光レセプタクル2は、ポリエーテルイミド等の透光性樹脂材料を用いた射出成形によって製造されるようにしてもよい。
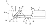
この光レセプタクル2について更に詳述すると、図1に示すように、光レセプタクル2は、各種の光学面を有する主要部の外形が略直方体状に形成されている。すなわち、図1〜図3に示すように、光レセプタクル2の主要部は、下端面2a、第2の面としての上端面2b、左端面2c、右端面2d、前端面2eおよび後端面2fの各面によって大まかな外形を構成している。なお、上下の端面2a、2bは互いに平行とされている。また、前述した光ファイバ取付部4は、右端面2dから右方に延出するように形成されている。
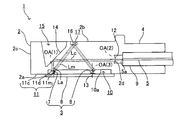
図1に示すように、光レセプタクル2の下端面2a上には、下端面2aに対して上方に凹入された断面略矩形状の第1の凹部10が形成されており、この第1の凹部10の内底面10aは、下端面2aに平行に形成されている。そして、この第1の凹部10の内底面10a上の図1および図3における左端部近傍位置には、図1および図3に示すように、1つの第1のレンズ面11が形成されている。
ここで、第1のレンズ面11は、図3に示すように、下面図において、境界線BLによって左右の2つの半円形状の分割領域11c、11mごとに分割された状態の円(真円)形状を呈している。また、第1レンズ面11は、図1に示すように、断面図において、左側の分割領域11cが、右側の分割領域11d側に向かうにしたがって光電変換装置3側への突出量が漸増するような凸曲線を呈し、また、右側の分割領域11mが、左側の分割領域11c側に向かうにしたがって光電変換装置3と反対側への凹入量が漸増するような凹曲線を呈し、さらに、これら凸曲線と凹曲線とがこれらを横断する直線部で接続された形状を呈している。なお、左側の分割領域11cは、球面または非球面の凸レンズ面の一部(半部)からなるものであってもよく、また、右側の分割領域11mは、球面または非球面の凹レンズ面の一部(半部)からなるものであってもよい。また、図1および図4に示すように、両分割領域11c、11mは、それぞれ、第1のレンズ面11上の光軸OA(1)を対称軸として回転対称形に形成されていてもよい。この光軸OA(1)の位置は、発光素子7の中心部に対してレーザ光Laの出射方向において合致して(位置合わせされて)いることが望ましい。また、光軸OA(1)の軸方向は、下端面2aに直交していてもよい。
そして、このように形成された左側の分割領域11cおよび右側の分割領域11mは、それぞれ、光ファイバ5への光結合に関与する結合用レンズ面部11c、モニタに関与するモニタ用レンズ面部11mとされている。
すなわち、図1および図4に示すように、光レセプタクル2に光電変換装置3が取り付けられた状態において、結合用レンズ面部11cには、発光素子7から出射されたレーザ光Laにおける一部(左半部)のレーザ光Laが下方から入射する。そして、結合用レンズ面部11cは、入射した一部のレーザ光Laを収束(例えば、コリメート)させて、光ファイバ5の端面5aに結合すべきファイバ結合光Lcとして、光レセプタクル2の内部の光路上を直上(後述する第1の反射面14)に向けて進行させる。また、このとき、図1および図4に示すように、モニタ用レンズ面部11mには、発光素子7から出射されたレーザ光Laにおける結合用レンズ面部11cへの入射光以外の他の一部(右半部)のレーザ光Laが下方から入射する。そして、モニタ用レンズ面部11mは、入射した他の一部のレーザ光Laを、モニタ光Lmとして、光レセプタクル2の内部の光路上を右上方(後述する第2の反射面16)に向けて進行させる。このようにして、第1のレンズ面11に入射したレーザ光Laが、ファイバ結合光Lcとモニタ光Lmとに分離される。
また、図1および図2に示すように、光レセプタクル2の上端面2b上における第1のレンズ面11に対してファイバ結合光Lcの進行方向側の位置(図1における真上位置)には、上方に向かうにしたがって右方に傾くような下端面2aに対する所定の傾斜角を有する第1の反射面14が形成されている。図1に示すように、第1の反射面14は、上端面2b上に下方に向かって凹入形成された断面略五角形状の第2の凹部15の内斜面のみからなる。
このような第1の反射面14には、図1に示すように、結合用レンズ面部11cを通過したファイバ結合光Lcが、図1における下方側(光レセプタクル2の内部側)から臨界角よりも大きい入射角で内部入射(到達)する。そして、第1の反射面14は、この内部入射したファイバ結合光Lcを、図1における右方に向けて全反射させる。
なお、第1の反射面14の傾斜角は、設計および寸法精度測定の簡便化の観点から、下端面2aを基準(0°)として図1における反時計回りに45°としてもよい。
さらに、図1に示すように、光レセプタクル2の主要部の右端面2dは、光ファイバ5の端面5aに臨むようになっており、この右端面2dは、結合光出射面としての1つの第2のレンズ面12とされている。この第2のレンズ面12は、外周形状が円形状に形成されているとともに、光ファイバ5の端面5a側に凸面を向けた球面または非球面の凸レンズ面に形成されている。なお、第2のレンズ面12上の光軸OA(2)は、光ファイバ5の端面5aにおける中心部の法線上に配置されていることが望ましい。
このような第2のレンズ面12には、図1に示すように、第1の反射面14によって全反射されたファイバ結合光Lcが内部入射する。そして、第2のレンズ面12は、この内部入射したファイバ結合光Lcを、収束させつつ光ファイバ5の端面5aに向けて出射させる。
このようにして、結合用レンズ面部11cにおいてモニタ光Lmと分離されたファイバ結合光Lcが、光ファイバ5の端面5aに結合される。
一方、図1および図2に示すように、光レセプタクル2の上端面2b上における第1の反射面14に対する光ファイバ5側(右方側)の近傍位置には、下端面2aに平行かつ平面図において矩形状を呈する第2の反射面16が形成されている。図1に示すように、第2の反射面16は、上端面2b上に下方に向かって比較的に浅く凹入形成された断面略矩形状の第3の凹部17の内底面のみからなる。
このような第2の反射面16には、図1に示すように、モニタ用レンズ面部11mを通過したモニタ光Lmが、図1における左下方側(光レセプタクル2の内部側)から臨界角よりも大きい入射角で内部入射(到達)する。そして、第2の反射面16は、この内部入射したモニタ光Lmを、図1における右下方に向けて全反射させる。
また、図1および図3に示すように、第1の凹部10の内底面10a上における第1のレンズ面11に対する右方位置であって、受光素子8に対向する位置には、モニタ光出射面としての第3のレンズ面13が形成されている。図1および図3に示すように、第3のレンズ面13は、下面図において円形状を呈するととともに、受光素子8側に凸面を向けた球面または非球面の凸レンズ面に形成されている。なお、第3のレンズ面13上の光軸OA(3)は、受光素子8の受光面における中心部の法線上に位置されていてもよい。
このような第3のレンズ面13には、図1に示すように、第2の反射面16によって全反射されたモニタ光Lmが、図1における左上方側(光レセプタクル2の内部側)から内部入射する。そして、第3のレンズ面13は、この内部入射したモニタ光Lmを、収束させつつ受光素子8に向けて出射させる。
このようにして、モニタ用レンズ面部11mにおいてファイバ結合光Lcと分離されたモニタ光Lmが、受光素子8に結合される。
以上の構成によれば、発光素子7のレーザ光Laを、第1のレンズ面11の面形状のみによってファイバ結合光Lcとモニタ光Lmとに好適に分離することができるので、従来のような面精度が求められる凹部を作り込む必要がなく、光レセプタクル2を低コストで設計・作製することができる。また、第1のレンズ面11においてモニタ光Lmと分離された結合光Lcについては、第1の反射面14を経由して第2のレンズ面12に至るまで光レセプタクル2の内部の光路上を進行させることができるので、第1の反射面14の精度さえ確保されれば、光ファイバ5への結合を高精度に行うことができる。さらに、第1の反射面14および第2の反射面16がいずれも光レセプタクル2の面形状のみによって構成されているため(全反射面であるため)、部品点数を抑えることができる。さらにまた、第2の反射面16が平面に形成されているため、形状の簡素化によって更なるコストの低廉化を図ることができる。また、第2の反射面16が第3の凹部17の内底面からなることによって、全反射機能を損なう第2の反射面16上への異物の付着を防止する対策が講じ易くなる。なお、このような対策の一例としては、上端面2b上に凹部17の開口を塞ぐフィルムを貼り付けて、第2の反射面16を遮蔽することが考えられる。このとき、フィルムを第2の凹部15の開口周縁部にまで至らせて、第1の反射面14の遮蔽を兼ねるようにしてもよいことは勿論である。さらに、上記構成によれば、図1に示したように、モニタ用レンズ面部11mが、結合用レンズ面部11cに対して光ファイバ5側に配置されているため、モニタ光Lmが第1の反射面14に入射しないようにするための適切な光路設計を、両面部11m、11cの配置位置が逆転している場合に比べて簡便に行うことができる。
上記構成に加えて、更に、本実施形態において、結合用レンズ面部11c、モニタ用レンズ面部11mおよび第3のレンズ面13は、下端面2a上の共通の基準平面としての第1の凹部10の水平な(段差を有しない)内底面10aを基準とした面形状に設計されている。具体的には、結合用レンズ面部11cは、内底面10aを突出量ゼロの基準面として光電変換装置3側に突出するように設計され、モニタ用レンズ面部11mは、内底面10aを凹入量ゼロの基準面として光電変換装置3の反対側に凹入するように設計され、第3のレンズ面13は、内底面10aを突出量ゼロの基準面として光電変換装置3側に突出するように設計されている。このような構成によれば、結合用レンズ面部11c、モニタ用レンズ面部11mおよび第3のレンズ面13を共通の基準平面を基準として簡便に設計することができる。
また、このような設計に起因して、図1および図4に示すように、結合用レンズ面部11cにおけるモニタ用レンズ面部11m側の端部と、モニタ用レンズ面部11mにおける結合用レンズ面部11c側の端部との間には、両レンズ面部11c、11mを接続する段差面部11dが形成されている。この段差面部11dは、光ファイバ5への光結合およびモニタのいずれにも関与しないが、光軸OA(1)に平行に形成されているため、ファイバ結合光Lcおよびモニタ光Lmの光路に悪影響(例えば、迷光の発生等)を及ぼすことは殆どない。
なお、第1の反射面14上および第2の反射面16上に、必要に応じて光反射率が高い金属(例えば、Al、Ag、Au)の薄膜等からなる反射膜を形成してもよいが、部品点数の削減を優先させたい場合には、前述のように、全反射のみを利用した構成を採用することが望ましい。
なお、本発明には、以下に示すような種々の変形例を適用してもよい。
(第1の変形例)
例えば、図5よび図6に示すように、モニタ用レンズ面部11mを、結合用レンズ面部11c側に向かうにしたがって光電変換装置3と反対側に傾くような下端面2aに対して所定の傾斜角を有する傾斜平面に形成してもよい。なお、この場合に、モニタ用レンズ面部11mは、下面図において図3と同様の半円形状を呈するように形成してもよい。
このように構成した場合にも、図5および図6に示すように、モニタ用レンズ面部11mに入射したレーザ光Laを、屈折を利用することによってモニタ光Lmとしてファイバ結合光Lcと分離して、このモニタ光Lmを第2の反射面16に向けて進行させることができるので、図1〜図4に示した構成と同様の作用効果を奏することができる。
(第2の変形例)
また、図7〜図9に示すように、結合用レンズ面部11cとモニタ用レンズ面部11mとを互いに連接するように形成してもよい。
なお、本変形例において、結合用レンズ面部11cおよびモニタ用レンズ面部11mは、それぞれ、図1〜図4に示した構成と同様の凸面、凹面に形成されている。
このような構成によれば、結合用レンズ面部11cとモニタ用レンズ面部11mとの境界における形状変化を滑らかにすることができる(段差面部11dを除去できる)ので、光レセプタクル2を金型を用いた樹脂成形によって得る場合に、金型における第1のレンズ面11の形状転写面の加工を簡便かつ高精度に行うことができる。
(第3の変形例)
さらに、図10および図11に示すように、第1の変形例(傾斜平面状のモニタ用レンズ面部11m)と第2の変形例(結合用レンズ面部11cとモニタ用レンズ面部11mとの連接)とを組み合わせるようにしてもよい。
(第4の変形例)
さらにまた、ファイバ結合光Lcとモニタ光Lmとの光強度比は、結合用レンズ面部11cに入射する一部のレーザ光Laとモニタ用レンズ面部11mに入射する他の一部のレーザ光Laとの光束断面積比(光軸OA(1)に垂直な断面の面積比)によって調整することができ、この光束断面積比は、両レンズ面部11c、11mの面積比によって調整することができる。
したがって、図1〜図4に示した構成よりもファイバ結合光Lcの光強度を大きくしたい場合には、例えば、図12および図13に示すように、結合用レンズ面部11cにおけるモニタ用レンズ面部11m側の端部が光軸OA(1)を乗り越えるように、結合用レンズ面部11cをモニタ用レンズ面部11mよりも大きく形成してもよい。
(第5の変形例)
また、図14〜図16に示すように、第2の反射面16を、第3の凹部17の内底面の一部をなす凸の非球面形状の全反射面に形成してもよい。
このような構成によれば、第2の反射面16に対するモニタ光Lmの入射角を調節することによって、モニタ光Lmの進行方向の調整を行い易くなり、光路設計の自由度および受光素子8の配置位置の選択の自由度を向上させることができる。
(第6の変形例)
さらに、図17および図18に示すように、第3の凹部17の内底面を、円形状に形成してもよい。
(第7の変形例)
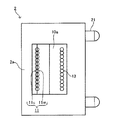
さらにまた、図19〜図22に示すように、モニタをともなう光送信の多チャンネル化に対応できるように構成してもよい。
すなわち、本変形例において、光電変換装置3は、発光素子7および受光素子8が、図19における紙面垂直方向に沿って複数(12個)整列形成されたものとされている。また、本変形例においては、光ファイバ5が、発光素子7および受光素子8の整列方向と同方向に沿って発光素子7および受光素子8と同数整列配置されるようになっている。なお、図19において、各光ファイバ5は、多芯一括型のコネクタ19内に収容された状態で公知の取付手段を介して光レセプタクル2に取り付けられている。
また、このような光電変換装置3および光ファイバ5の構成に対応して、光レセプタクル2は、各発光素子7−各光ファイバ5間の光路および各発光素子7−各受光素子8間の光路を形成し得るように、図19の紙面垂直方向における寸法(図20、図21における縦寸法)が、図1〜図4に示した構成に比べて大きく形成されている。さらに、レンズ面11、12、13についても、発光素子7、光ファイバ5の端面5aおよび受光素子8にそれぞれ対応する位置に、発光素子7、光ファイバ5および受光素子8と同数ずつ形成されている。さらにまた、右端面2d’上には、光レセプタクル2に対する光ファイバ5の取り付け位置を機械的な作業のみによって決定するための位置決め用のピン21が形成されている。
なお、本変形例において、各結合用レンズ面部11cおよび各モニタ用レンズ面部11mは、それぞれ、図1〜図4に示した構成と同様の凸面、凹面に形成されている。
本変形例によれば、各発光素子7ごとのレーザ光Laを、各発光素子7にそれぞれ対応する各第1のレンズ面11の結合用レンズ面部11cおよびモニタ用レンズ面部11mによって、各発光素子7ごとのファイバ結合光Lcとモニタ光Lmとに分離することができるので、モニタをともなう多チャンネルの光送信を高精度かつ低コストで実現することができる。
(第8の変形例)
また、図23に示すように、第1の変形例(傾斜平面状のモニタ用レンズ面部11m)と第7の変形例(多チャンネル対応)とを組み合わせるようにしてもよい。
(第9の変形例)
さらに、図24および図25に示すように、第2の変形例(結合用レンズ面部11cと凹面状のモニタ用レンズ面部11mとの連接)と第7の変形例(多チャンネル対応)とを組み合わせるようにしてもよい。
(第10の変形例)
さらにまた、図26に示すように、第3の変形例(結合用レンズ面部11cと傾斜平面状のモニタ用レンズ面部11mとの連接)と第7の変形例(多チャンネル対応)とを組み合わせるようにしてもよい。
(第11の変形例)
また、図27に示すように、第4の変形例(ファイバ結合光Lcの光量調整)と第7の変形例(多チャンネル対応)とを組み合わせるようにしてもよい。
(第12の変形例)
さらに、図28および図29に示すように、第5の変形例(非球面状の第2の反射面16)と第7の変形例(多チャンネル対応)とを組み合わせるようにしてもよい。
なお、本発明は、前述した実施の形態に限定されるものではなく、本発明の特徴を損なわない限度において種々変更してもよい。
例えば、本発明には、光導波路等の光ファイバ5以外の光伝送体を適用してもよい。
1 光モジュール
2 光レセプタクル
3 光電変換装置
5 光ファイバ
7 発光素子
8 受光素子
11 第1のレンズ面
11c 結合用レンズ面部
11m モニタ用レンズ面部
14 第1の反射面
16 第2の反射面

Claims (11)

  1. 発光素子およびこの発光素子から発光された光をモニタするためのモニタ光を受光する受光素子が基板上に実装された光電変換装置と、光伝送体との間に配置された状態で、前記発光素子と前記光伝送体とを光学的に結合可能とされた光レセプタクルであって、
    光レセプタクル本体における前記光電変換装置側の第1の面上に、前記発光素子の前記光が入射するように配置され、入射した前記発光素子の光を、前記光伝送体に結合すべき結合光と前記モニタ光とに分離する第1のレンズ面と、
    前記光レセプタクル本体における前記第1の面と反対側の第2の面上に、前記第1の面に対して所定の傾斜角を有するようにして前記第1のレンズ面に対向して配置され、前記第1のレンズ面側から前記結合光が到達し、この到達した結合光を前記光伝送体側に向けて反射させる第1の反射面と、
    この第1の反射面によって反射された前記結合光を前記光伝送体に向けて出射させる結合光出射面と、
    前記第2の面上における前記第1の反射面に対する前記光伝送体側の位置に配置され、前記第1のレンズ面側から前記モニタ光が到達し、この到達したモニタ光を前記受光素子側に向けて反射させる第2の反射面と、
    この第2の反射面によって反射された前記モニタ光を前記受光素子に向けて出射させるモニタ光出射面と
    を備え、
    前記第1のレンズ面は、
    前記発光素子の光における一部の光が入射するように配置され、入射した前記一部の光を前記結合光として前記第1の反射面に向けて進行させる結合用レンズ面部と、
    前記発光素子の光における前記一部の光以外の他の一部の光が入射するように配置され、入射した前記他の一部の光を前記モニタ光として前記第2の反射面に向けて進行させるモニタ用レンズ面部と
    を有するとともに
    前記結合用レンズ面部は、凸面に形成され、
    前記モニタ用レンズ面部は、凹面または傾斜平面に形成されている
    ことを特徴とする光レセプタクル。
  2. 前記結合用レンズ面部、前記モニタ用レンズ面部および前記モニタ光出射面は、前記第1の面上の共通の基準平面を基準とした面形状に設計されており、
    前記第1のレンズ面は、前記結合用レンズ面部と前記モニタ用レンズ面部とを接続する段差面部を有すること
    を特徴とする請求項1に記載の光レセプタクル。
  3. 前記段差面部は、前記第1のレンズ面上の光軸に平行に配置されていること
    を特徴とする請求項2に記載の光レセプタクル。
  4. 前記結合用レンズ面部と前記モニタ用レンズ面部とは、互いに連接されていること
    を特徴とする請求項1に記載の光レセプタクル。
  5. 前記モニタ用レンズ面部は、前記結合用レンズ面部に対して前記光伝送体側に配置されていること
    を特徴とする請求項1〜4のいずれか1項に記載の光レセプタクル。
  6. 前記第2の反射面は、前記モニタ光が臨界角よりも大きい入射角で内部入射し、この内部入射したモニタ光を全反射させる全反射面とされていること
    を特徴とする請求項1〜5のいずれか1項に記載の光レセプタクル。
  7. 前記第2の反射面は、平面または凸の非球面に形成されていること
    を特徴とする請求項6に記載の光レセプタクル。
  8. 前記第2の反射面は、前記第2の面上に凹設された凹部の内底面の少なくとも一部からなること
    を特徴とする請求項6または7に記載の光レセプタクル。
  9. 前記第1の反射面は、前記結合光が臨界角よりも大きい入射角で内部入射し、この内部入射した結合光を全反射させる全反射面とされていること
    を特徴とする請求項1〜8のいずれか1項に記載の光レセプタクル。
  10. 前記結合光出射面は、前記結合光を収束させつつ出射させる第2のレンズ面とされ、
    前記モニタ光出射面は、前記モニタ光を収束させつつ出射させる第3のレンズ面とされていること
    を特徴とする請求項1〜9のいずれか1項に記載の光レセプタクル。
  11. 請求項1〜10のいずれか1項に記載の光レセプタクルと、
    請求項1に記載の光電変換装置と
    を備えたことを特徴とする光モジュール。
JP2012060193A 2012-03-16 2012-03-16 光レセプタクルおよびこれを備えた光モジュール Expired - Fee Related JP6011908B2 (ja)

Priority Applications (4)

Application Number Priority Date Filing Date Title
JP2012060193A JP6011908B2 (ja) 2012-03-16 2012-03-16 光レセプタクルおよびこれを備えた光モジュール
PCT/JP2013/054103 WO2013136925A1 (ja) 2012-03-16 2013-02-20 光レセプタクルおよびこれを備えた光モジュール
US14/382,503 US9529166B2 (en) 2012-03-16 2013-02-20 Optical receptacle and optical module provided with same
TW102109315A TWI608263B (zh) 2012-03-16 2013-03-15 Optical socket and light module with it

Applications Claiming Priority (1)

Application Number Priority Date Filing Date Title
JP2012060193A JP6011908B2 (ja) 2012-03-16 2012-03-16 光レセプタクルおよびこれを備えた光モジュール

Publications (2)

Publication Number Publication Date
JP2013195513A JP2013195513A (ja) 2013-09-30
JP6011908B2 true JP6011908B2 (ja) 2016-10-25

Family

ID=49160844

Family Applications (1)

Application Number Title Priority Date Filing Date
JP2012060193A Expired - Fee Related JP6011908B2 (ja) 2012-03-16 2012-03-16 光レセプタクルおよびこれを備えた光モジュール

Country Status (4)

Country Link
US (1) US9529166B2 (ja)
JP (1) JP6011908B2 (ja)
TW (1) TWI608263B (ja)
WO (1) WO2013136925A1 (ja)

Families Citing this family (2)

* Cited by examiner, † Cited by third party
Publication number Priority date Publication date Assignee Title
JP2018087869A (ja) * 2016-11-28 2018-06-07 株式会社エンプラス 光モジュールおよび光モジュールの製造方法
JP7230709B2 (ja) * 2019-06-28 2023-03-01 住友電気工業株式会社 光受信器

Family Cites Families (16)

* Cited by examiner, † Cited by third party
Publication number Priority date Publication date Assignee Title
JP2003060299A (ja) * 2001-06-07 2003-02-28 Ricoh Opt Ind Co Ltd 光出力素子・光出力素子アレイおよびレンズ素子・レンズ素子アレイ
US6888988B2 (en) * 2003-03-14 2005-05-03 Agilent Technologies, Inc. Small form factor all-polymer optical device with integrated dual beam path based on total internal reflection optical turn
WO2005033745A2 (en) * 2003-09-29 2005-04-14 Photodigm, Inc. Method and apparatus for wavelength division multiplexing
JP2008151894A (ja) * 2006-12-15 2008-07-03 Enplas Corp 光学素子およびこれを備えた光モジュール用ホルダ、光モジュールならびに光コネクタ
JP4914819B2 (ja) 2007-12-14 2012-04-11 株式会社エンプラス 光結合素子およびこれを備えた光モジュール
JP2009216777A (ja) * 2008-03-07 2009-09-24 Nec Electronics Corp 光レセプタクルおよび光レセプタクルモジュール
JP5025695B2 (ja) 2009-08-07 2012-09-12 株式会社エンプラス 光モジュール
JP5538108B2 (ja) 2010-07-09 2014-07-02 株式会社エンプラス レンズアレイおよびこれを備えた光モジュール
US8705975B2 (en) * 2011-02-24 2014-04-22 Avago Technologies General Ip (Singapore) Pte. Ltd. Single wavelength bidirectional fiber optical link with beam-splitting element
JP6089354B2 (ja) * 2011-10-25 2017-03-08 株式会社エンプラス レンズアレイおよびその製造方法
JP5896136B2 (ja) * 2012-03-05 2016-03-30 株式会社エンプラス 光レセプタクルおよびこれを備えた光モジュール
JP2013200347A (ja) * 2012-03-23 2013-10-03 Enplas Corp 光レセプタクルおよびこれを備えた光モジュール
JP6011958B2 (ja) * 2012-03-28 2016-10-25 株式会社エンプラス 光レセプタクルおよびこれを備えた光モジュール
WO2013183272A1 (ja) * 2012-06-05 2013-12-12 株式会社エンプラス 光レセプタクルおよびこれを備えた光モジュール
US20140086579A1 (en) * 2012-09-27 2014-03-27 Avago Technologies General Ip (Singapore) Pte. Ltd Optical coupling system, an optical communications module that incorporates the optical coupling system, and a method of using the optical coupling system
US9470857B2 (en) * 2014-06-13 2016-10-18 Sumitomo Electric Industries, Ltd. Optical module with beam splitter on reflecting surface

Also Published As

Publication number Publication date
JP2013195513A (ja) 2013-09-30
TW201341878A (zh) 2013-10-16
US20150078713A1 (en) 2015-03-19
TWI608263B (zh) 2017-12-11
WO2013136925A1 (ja) 2013-09-19
US9529166B2 (en) 2016-12-27

Similar Documents

Publication Publication Date Title
JP6011958B2 (ja) 光レセプタクルおよびこれを備えた光モジュール
JP6134934B2 (ja) 光レセプタクルおよびこれを備えた光モジュール
JP5946611B2 (ja) 光レセプタクルおよびこれを備えた光モジュール
JP6205194B2 (ja) 光レセプタクルおよび光モジュール
TWI609205B (zh) Optical socket and light module with it
TWI611230B (zh) 光插座以及光模組
JP6359848B2 (ja) 光レセプタクルおよびこれを備えた光モジュール
WO2019013313A1 (ja) 光レセプタクルおよび光モジュール
WO2016021384A1 (ja) 光レセプタクルおよび光モジュール
CN104246568B (zh) 光插座及具备该光插座的光学模块
JP2017068212A (ja) 光レセプタクルおよび光モジュール
JP6681751B2 (ja) 光レセプタクルおよび光モジュール
JP6011908B2 (ja) 光レセプタクルおよびこれを備えた光モジュール
JP2017161579A (ja) 光レセプタクルおよび光モジュール
JP6494711B2 (ja) 光モジュール
WO2016031603A1 (ja) 光レセプタクルおよび光モジュール

Legal Events

Date Code Title Description
A621 Written request for application examination

Free format text: JAPANESE INTERMEDIATE CODE: A621

Effective date: 20150220

A131 Notification of reasons for refusal

Free format text: JAPANESE INTERMEDIATE CODE: A131

Effective date: 20160202

A521 Request for written amendment filed

Free format text: JAPANESE INTERMEDIATE CODE: A523

Effective date: 20160330

TRDD Decision of grant or rejection written
A01 Written decision to grant a patent or to grant a registration (utility model)

Free format text: JAPANESE INTERMEDIATE CODE: A01

Effective date: 20160823

A61 First payment of annual fees (during grant procedure)

Free format text: JAPANESE INTERMEDIATE CODE: A61

Effective date: 20160908

R150 Certificate of patent or registration of utility model

Ref document number: 6011908

Country of ref document: JP

Free format text: JAPANESE INTERMEDIATE CODE: R150

R250 Receipt of annual fees

Free format text: JAPANESE INTERMEDIATE CODE: R250

R250 Receipt of annual fees

Free format text: JAPANESE INTERMEDIATE CODE: R250

LAPS Cancellation because of no payment of annual fees