JP6011190B2 - 着座センサの配置構造 - Google Patents

着座センサの配置構造 Download PDF

Info

Publication number
JP6011190B2
JP6011190B2 JP2012206044A JP2012206044A JP6011190B2 JP 6011190 B2 JP6011190 B2 JP 6011190B2 JP 2012206044 A JP2012206044 A JP 2012206044A JP 2012206044 A JP2012206044 A JP 2012206044A JP 6011190 B2 JP6011190 B2 JP 6011190B2
Authority
JP
Japan
Prior art keywords
detection unit
sensitivity
vehicle
pad member
load
Prior art date
Legal status (The legal status is an assumption and is not a legal conclusion. Google has not performed a legal analysis and makes no representation as to the accuracy of the status listed.)
Active
Application number
JP2012206044A
Other languages
English (en)
Other versions
JP2014058291A (ja
Inventor
睦朗 青山
睦朗 青山
弘巳 近藤
弘巳 近藤
佳泰 溝川
佳泰 溝川
直子 市川
直子 市川
Current Assignee (The listed assignees may be inaccurate. Google has not performed a legal analysis and makes no representation or warranty as to the accuracy of the list.)
Aisin Corp
Original Assignee
Aisin Seiki Co Ltd
Aisin Corp
Priority date (The priority date is an assumption and is not a legal conclusion. Google has not performed a legal analysis and makes no representation as to the accuracy of the date listed.)
Filing date
Publication date
Application filed by Aisin Seiki Co Ltd, Aisin Corp filed Critical Aisin Seiki Co Ltd
Priority to JP2012206044A priority Critical patent/JP6011190B2/ja
Publication of JP2014058291A publication Critical patent/JP2014058291A/ja
Application granted granted Critical
Publication of JP6011190B2 publication Critical patent/JP6011190B2/ja
Active legal-status Critical Current
Anticipated expiration legal-status Critical

Links

Images

Landscapes

  • Seats For Vehicles (AREA)

Description

本発明は、車両のシートに設置して乗員の着座荷重を検出するセンサの配置構造に関する。
従来、自動車に装備されたシートベルトやエアバッグ等の各種安全装置の性能を向上させるため、シートに乗員が着座している状態を検出してこれらの安全装置をコントロールする場合がある。しかし、シートには人が種々の体勢で着座するため、人の着座状態を正しく判定することは、安全装置を正しく作動させるために極めて重要である。
このような乗員の着座状態を検出するのに適するものとして、薄くて可撓性があるメンブレンスイッチが考えられ、そのようなメンブレンスイッチを使用した着座センサが特許文献1に開示されている。着座センサが配置されるシートは、座部及び背もたれ部において、それぞれ外形を規定するフレームと人体に柔らかく接触するクッション材としてのパッドと、パッド(パッド部材)を覆う表皮(表皮部材)とを備えている。メンブレンスイッチは、二股に分かれ車両用シートの前後方向に延在する巾狭の帯状のフィルムに沿って点在するセンサ部と、二股の間より延在する帯状のフィルムに配置され先端にコネクタを有し、パッドに設けられた抜け穴を通してシートの裏側に配置される配線部とを備えている。そして、メンブレンスイッチは、パッドと表皮との間に配置されるが、シートは表皮をパッドの内部に引き込むための溝部を人が着座する部分にあたるパッドの表面に備えているものが多く、メンブレンスイッチと溝部とが交差する場合がある。
この場合、溝部にメンブレンスイッチの配線が跨いでいると、表皮が溝部に引き込まれるのと一緒に、溝部の位置においてメンブレンスイッチが急角度で折れ曲がるような状態になることがある。これにより長期間の使用によってセンサ部や配線部が断線するおそれがある。
そのため、特許文献1のものは、溝部を構成する縦壁部に縦壁部よりも緩やかな傾斜部を備え、この傾斜部に配線部を傾斜部に配置することで、急角度で折れ曲がる状態にならないようにして、長期使用による断線を防止している。
特開2002−65396号公報
しかし、特許文献1における複数のセンサ部の感度は一般に同じであるが、人が車両用シートに着座する場合、体の重心からの距離や着座姿勢などによってシートに加わる荷重が異なるので、配置された全てのセンサ部に一様な荷重が加わるものではない。そのため、センサ部で検出されるべき荷重が検出されなかったり、検出する必要がない荷物などの荷重が検出されたりして、適切な荷重検出を行うことができないという問題があった。
本発明は係る従来の問題点に鑑みてなされたものであり、着座する人からシートに加わる荷重分布を考慮して、各センサ部の感度を設定することで、乗員の着座状態を正しく検出する着座センサの配置構造を提供するものである。
上述した課題を解決するために、請求項1に係る発明の構成上の特徴は、それぞれメンブレンスイッチにより構成され、相対的に異なる低感度検出部及び高感度検出部を有し、車両用シートのシートクッションを構成するパッド部材の着座側表面と該着座側表面を覆うように前記パッド部材に装着される表皮部材との間に配置されて、該パッド部材への荷重情報を検出する複数の検出部と、前記検出部により検出された荷重信号を出力する外部出力部と、を備えた着座センサの配置構造であって、前記高感度検出部は、前記車両用シートの車両の幅方向外側に配置され、前記低感度検出部は、前記車両用シートの車両の幅方向内側に配置されたことである。
請求項2に係る発明の構成上の特徴は、請求項1において、前記パッド部材の前記着座側表面には、前記表皮部材を固定するためのワイヤが配索された凹溝が前記パッド部材の前後方向に延在して陥没形成され、前記高感度検出部は、前記凹溝よりも前記車両用シートの車両の幅方向外側に配置され、前記低感度検出部は、前記凹溝よりも前記車両用シートの車両の幅方向内側に配置されことである。
請求項3に係る発明の構成上の特徴は、前記請求項1又は2において、前記複数の検出部は、複数の被接離部が所定間隔を空けて形成された帯状の第1フィルムと、前記第1フィルムと対向配置され、前記被接離部にそれぞれ接離する複数の接離部が形成された帯状の第2フィルムと、前記第1フィルム及び第2フィルムの間に配置され、前記複数の被接離部及び前記複数の接離部に対向する位置にそれぞれ貫通穴が形成されたスペーサとを備え、前記貫通穴のうち、前記高感度検出部における第1貫通穴は、前記低感度検出部における第2貫通穴よりも穴の内径が大きいことである。
請求項1に係る発明によると、車両用シートのシートクッションを構成するパッド部材の着座側表面の車両の幅方向内側に荷重情報に対する感度が低い低感度検出部が配置されている。また、車両用シートのシートクッションを構成するパッド部材の車両の幅方向外側に荷重情報に対する感度が高い高感度検出部が配置されている。
乗員が車両シートに着座した場合、パッド部材の表面に負荷される車両の幅方向の荷重分布は、統計データ等により、着座側表面における車両の幅方向内側の荷重が大きく、着座側表面における車両の幅方向外側の荷重が比較的小さい。
そのため、乗員が車両シートに着座した時、大きな荷重が加わる車両の幅方向内側に感度の低い低感度検出部を配置することで、荷物と乗員とを区別して、人の荷重であることを的確に検出する。そして、比較的加わる荷重が小さい車両の幅方向外側に感度の高い高感度検出部を配置することで、乗員の着座姿勢によって、荷重が小さい場合にも適切に荷重を検出する。これによって、乗員が車両シートに着座している状態を的確に検出することができる。
請求項2に係る発明によると、パッド部材の前記着座側表面の中央部前後方向に凹溝が延在している。凹溝を挟んだ車両の幅方向外側と幅方向内側とでは、乗員の着座の際に、荷重によるパッド部材の変形が凹溝によって分断され、凹溝を挟んだパッド部材表面の幅方向内側で大きな荷重が、凹溝を挟んだパッド部材表面の幅方向外側で比較的小さな荷重が負荷される傾向がより大きくなる。このような場合にも、凹溝を挟んで幅方向内側に低感度検出部を配置し、凹溝を挟んだ幅方向外側に前記低感度検出部よりも感度が高い高感度検出部を配置することで、乗員が車両シートに着座している状態を的確に検出することができる。

請求項3に係る発明によると、メンブレンスイッチの複数の検出部のスペーサに形成された複数の貫通穴のうち、高感度検出部における第1貫通穴を、高感度検出部より感度の低い低感度検出部における第2貫通穴よりも穴の内径を大きく形成することで、貫通穴を介して対向する接離部と被接離部とが、穴の内径が小さな第2貫通穴よりも小さな荷重で接触することとなるので、高感度となる。このように貫通穴の内径を変えるという簡単な構造上の変更で、検出部の感度を容易に変えることができる。
本発明に係る着座センサを車両用シートクッションに配置した第1実施形態を示す斜視図。 パッド部材に着座センサを配置した平面図。 着座センサの平面図。 検出部における第1フィルムの一部を拡大して示す図。 検出部における離隔部材の一部を拡大して示す図。 検出部における第2フィルムの一部を拡大して示す図。 感圧スイッチの断面図。 コネクタ部、アダプタ、コネクタ保持板の係合状態を示す図。 着座センサの第1検出部と第2検出部とが、凹溝を挟んで配設された状態の一部を拡大して示す断面図。 図9において乗員が着座した状態を示す図。 第2実施形態におけるパッド部材に着座センサを配置した平面図。 前後方向に延在する縦凹溝を挟んで検出部が配設された状態の一部を拡大して示す断面図。 別例の検出部における第1フィルムの一部を拡大して示す図。 別例の検出部における離隔部材の一部を拡大して示す図。 別例の検出部における第2フィルムの一部を拡大して示す図。 異なる感度の感圧スイッチの配置を変えた着座センサの別例の平面図。 異なる感度の感圧スイッチの配置を変えた着座センサの別例の平面図。 異なる感度の感圧スイッチの配置を変えた着座センサの別例の平面図。 パッド部材に他の実施例の着座センサを配した平面図。 パッド部材に他の実施例の着座センサを配した平面図。
以下、本発明に係る着座センサを車両用シートに実施した第1実施形態について図面を参照して説明する。図1に示すように、独座用の車両用シート1のシートクッション2に着座センサ3を配設した斜視図が描かれている。なお、本願明細書において、車両に乗員が乗車した状態で、乗員から見て車両の前を前側、車両の後を後側という。同様に乗員から見て、車両の左を左側、車両の右を右側というものとする。
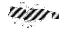
シートクッション2は、ウレタン等から構成される車両シート用パッド部材としてのパッド部材4とパッド部材4の着座側表面を覆うように装着される布製(又は皮革製等)の表皮部材6とを備えている。シートクッション2のパッド部材4の上面には、図2に示すように、左右方向に延在する凹溝としての横凹溝8が陥没形成されている。横凹溝8に重なるパッド部材4の右側端部(図2において右側上部)には、パッド部材4の上面から下面に貫通する抜き穴12が形成されている。横凹溝8の下方のパッド部材4内には表皮部材6(図1参照)を図略の掛止部材で係止するワイヤ9がシートクッションの左右方向に延在するように配設されている。本実施形態において、ワイヤ9の抜き穴12に対応する部分は水平方向に屈曲されて抜き穴12を回避するよう配設されている。
着座センサ3は、図4乃至図6に示すように、対となった第1フィルム14と第2フィルム16とを離隔部材としてのスペーサ18を介して重合することにより形成されるメンブレンスイッチ19から主に構成される。
メンブレンスイッチ19は、図3示すように、可撓性を有するフィルム状に形成され、感圧スイッチ20,21が夫々3つ直列された第1検出部(高感度検出部)22と第2検出部(低感度検出部)24とを備えている。第1検出部22は、第2検出部24よりも荷重情報に対する感度が高感度に設定されている。第1検出部22と第2検出部24とは電気配線(後述するスイッチ配線38,44に該当)を有する導通部25の基端部において二股に分かれて形成され、該基端部から導通部25の一部を構成する挿入部26が、第1検出部22と第2検出部24との間に延在している。挿入部26の先端部には外部出力部28が接続され、隣接する感圧スイッチ20,21の間、第1検出部22と外部出力部28との間、および第2検出部24と外部出力部28との間、は導通部25によって電気的に接続されている。外部出力部28は感圧スイッチ20,21で検出された荷重を出力するものであり、出力電極が形成されている。この外部出力部28にはコネクタ29が接続されてコネクタ部30を構成する。コネクタ部30は乗員の着座状態を判断する図略のECU(Electronic Control Unit)に連結されている。メンブレンスイッチ19がパッド部材4に配設される際に、導通部25を屈曲して挿入部26として前記抜き穴12に挿入するとともに、コネクタ部30を車両用シート1の裏側でパッド部材4を保持するSばね31に設けられたコネクタ保持板32にアダプタ34を介して固定する(図9参照)。アダプタ34は図8に示すように、コネクタ部30の上面に長手方向に延在するよう突設され先端部を内側に屈曲させた一対の係合リブ30aに嵌脱可能に嵌合する嵌合部35と、コネクタ保持板32に設けられた係合穴32aに係合する係合突起36とを備えている。係合突起36は抜け止めとガタ止めとを兼ねたスカート部36aと、係合穴32aに対して係合穴32aの軸心回りに相対回転可能に支持される支持軸部36bとを備えている。コネクタ保持板32は、例えば図略のコネクタ保持板本体と図略の裏板とを有している。コネクタ保持板本体と裏板とによりSばね31を挟持し、図略のボルトによってコネクタ保持板本体と裏板との間を接近させることで、コネクタ保持板32はSばね31に締結固定される。
第1検出部22と第2検出部24のそれぞれの先端の感圧スイッチ20と二番目の感圧スイッチ20との間の導通部(先端の感圧スイッチ21と二番目の感圧スイッチ21との間)25において、該導通部25が互いに対向する側には、矩形状に左右対称に屈曲して延在し、第1検出部22と第2検出部24との間を連結(但し、電気的には連結されていない)する連結部37が設けられている。この連結部37は、パッド部材4への配置前における第1検出部22と第2検出部24とが、離れすぎることにより、メンブレンスイッチ19が歪んだり変形したりすることを防止する。
第1フィルム14は、例えば厚さ0.1mmのPEN(ポリエチレンナフタレート)製で、図4に示すように、第1検出部22において、コネクタ部30の一方の電極(例えばプラス極)に導通するスイッチ配線38が第1フィルム14の短手方向の片側にずらした直線状に印刷等で形成されている。第1フィルム14の感圧スイッチ20に対応する箇所は幅広の円形に形成され、幅広に形成された箇所には一方のスイッチ配線38に導通する円形の被接離部40が印刷等で形成されている。
スペーサ18は、例えば0.15mmのPET(ポリエチレンテレフタレート)製で、図5に示すように、第1フィルムと同形状に形成されるとともに、被接離部40に対応する部分に厚み方向に貫通する円形の貫通穴42が夫々設けられている。
第2フィルム16は、図6に示すように、第1フィルム14と同形状に形成され、コネクタ部30の他方の電極(例えばマイナス極)に導通するスイッチ配線44が第2フィルム16の短手方向の片側にずらした直線状に印刷等で形成されている。第1フィルム14のスイッチ配線38および第2フィルム16のスイッチ配線44は、スペーサ18を挟んで第1フィルム14と第2フィルム16とが接合されたときに、それぞれ反対側の片側にずれて、互いに平行した状態で延在するよう構成されている。被接離部40に対応する部分には導通材からなる円形の接離部46が印刷等で形成されている。
これらの第1フィルム14、第2フィルム16及びスペーサ18は例えば粘着剤や超音波溶着等によって重ね合わせて感圧スイッチ20,21が構成されている。図7に示すように、フィルム等が重ね合わせて接着されることにより、各貫通穴42は第1フィルム14の被接離部40と第2フィルム16の接離部46とを接離・離間させる空間を形成する。第1フィルム14に配された円形状の被接離部(下方電極)40と、第2フィルム16に配された円形状の接離部(上方電極)46とが、貫通穴38を挟んで同心上に対向するように設けられ、感圧スイッチ20,21において厚み方向の荷重が加わると、被接離部40と接離部46とが接触してオンされ、この接触によって流れる電流を検出するようになっている。
図3に示すように、第1検出部22と第2検出部24とは、夫々並列する3つの感圧スイッチ20,21の組から構成されており、各感圧スイッチ20,21は、スイッチ配線38,44に並列に配置されているので、各検出部22,24においていずれか1つの感圧スイッチ20,21がオンされると、それぞれの検出部22,24で電流が流れるようになっている。
メンブレンスイッチ19がパッド部材4に配設される場合は、図2に示すように、第1検出部22と第2検出部24とが横凹溝8を挟んで対向するように、パッド部材4の表面に配される。また、挿入部26が、パッド部材4の横凹溝8の端部に設けられた抜き穴12に挿入され、挿入部26の先端に設けられたコネクタ部30がシートクッション2の裏面においてSばね31に設けられたコネクタ保持板32に固定される(図8及び図9参照)。
そして第1検出部22と第2検出部24とを横凹溝8を挟んで反対方向に仮配置した後、第1検出部22と第2検出部24を繋いでいた連結部37を、図2に示すように、カットすることで、第1検出部22および第2検出部24をパッド部材4上の必要な検出位置に精度よく本配置することができる。第1検出部22と第2検出部24とは、それぞれパッド部材4に接触する裏面に粘着剤が塗布され、該粘着剤によってパッド部材4の表面の所定位置に固定される。なお、この連結部37は、必ずしも設けられている必要はなく、第1検出部22と第2検出部24が繋がれずに最初から離れていてもよい。
挿入部26を抜き穴12に挿入して第1検出部22と第2検出部24とを横凹溝8を挟んで互いに反対側に配設することで、図2及び図9に示すように、挿入部26は横凹溝8に沿ってその裏側に収まり、挿入部26の先端のコネクタ部30は、Sばね31に組付けられたコネクタ保持板32にアダプタ34を介して固定される。
そして、着座センサ3としての作動においては、第1検出部22における感圧スイッチ20又は第2検出部24における感圧スイッチ20のいずれか1つがONされたときに(二つ以上の感圧スイッチ20が同時にONされたときも含まれる)スイッチ配線38,44に電流が流れて着座検出信号が出力される。
また、乗員が着座した場合に、図10に示すように、乗員のヒップ48によりメンブレンスイッチ19は下方に押圧されるが、シートクッション2に加わる荷重が横凹溝8の前後で異なる。乗員がシートクッション2に着座したとき、ヒップポイントのある横凹溝8の後部では大きな荷重が加わり、脚部の太腿が当たる横凹溝8の前部では比較的小さな荷重が加わることとなる。本実施形態の着座センサ3では、シートクッション2の前部には高感度検出部である第1検出部22が配置され、シートクッション2の後部には低感度検出部である第2検出部24が配置されている。そのため、着座した乗員の太腿等による荷重が小さい場合にも、乗員の荷重を確実に検出することができる。また、後部には低感度検出部である第2検出部24が配置されているので、乗員の荷重でない例えば荷物の荷重が加わった場合等に、乗員の荷重として誤検出することを防止することができる。なお、第2検出部(低感度検出部)24と第1検出部(高感度検出部)22とを有するメンブレンスイッチ19、外部出力部28、及び車両用シート1の前側に配置された前記第1検出部22等により着座センサの配置構造を構成する。
乗員の荷重が検出されたことにより流れる電流による着座検出信号によって、ECUがシートクッション2上に座っているのが人であると判断すると、例えばエアバック装置の作動を可能にしたり、シートベルトが非装着である旨の警告を発したりする。
上記のように構成された着座センサ3によると、複数の検出部22,24は、パッド部材4の着座側表面の後側に荷重情報に対する感度が低い第2検出部(低感度検出部)24が配置され、同着座側表面の前側に第2検出部24より荷重情報に対する感度が高い第1検出部(高感度検出部)22が配置されている。乗員が車両シートに着座した場合、パッド部材4の表面に負荷される荷重分布は、着座側表面の後側に乗員の腰部や上体の重量が負荷されるため荷重が大きくなり、着座側表面の前側には乗員の脚部の重量が負荷されるため比較的荷重が小さくなる。そのため、乗員が車両シートに着座した時に、大きな荷重が加わるパッド部材4の後側に感度の低い第2検出部(低感度検出部)24を配置することで、軽量な荷物と乗員とを区別して、人の荷重であることを的確に検出する。そして、比較的加わる荷重が小さいパッド部材4の前側に、感度の高い第1検出部(高感度検出部)22を配置することで、乗員の太腿等による荷重が小さい場合にも適切に検出する。これによって、乗員が車両用シート1に着座している状態を的確に検出することができる。
また、横凹溝8がパッド部材4の前記着座側表面の中央部左右方向に延在している場合においては、横凹溝8を挟んだパッド部材4の前側と後側とでは、乗員の着座によってパッド部材4に伝達される荷重が横凹溝8によって分断され、横凹溝8を挟んだパッド部材4表面の後側で大きな荷重が、前側で比較的小さな荷重が負荷される傾向がより大きくなるため、誤検出を生ずる可能性が高くなる。このような場合にも、横凹溝8を挟んで後側に低感度検出部である第2検出部24を配置し、横凹溝8を挟んだ前側に第2検出部24よりも感度が高い高感度検出部である第1検出部22を配置することで、乗員が車両用シート1に着座している状態を的確に検出することができる。
また、メンブレンスイッチ19の検出部のスペーサに形成された複数の貫通穴42のうち、高感度検出部22における第1貫通穴42aを、高感度検出部より感度が低い低感度検出部24における第2貫通穴42bよりも穴の内径を大きく形成することで、第1貫通穴42aを介して対向する接離部46と被接離部40とが、穴の内径が小さな第2貫通穴42bよりも小さな荷重で接触することとなるので高感度となる。このように貫通穴42の内径を変えるという簡単な構造上の変更で、検出部の感度を容易に変えることができる。なお、第1貫通穴42aの内径と第2貫通穴42bとの内径とを、図3などにおいて大きな差をもって表現しているが、これは図面上の差異を明確にするためであって、例えば1mm程度の内径差で感度の高低を設定することができる。
また、導通部の先端部に設けられたコネクタ部30は、横凹溝8に設けられた抜き穴12に挿入されてパッド部材4の裏側に配設され、コネクタ部30は係合突起36を有するアダプタ34に嵌合される。一方、車両用シート1の裏側にはパッド部材4を保持するSばね31が設けられ、Sばね31にはコネクタ保持板32が設けられている。コネクタ保持板32の下面には係合穴32aが貫設され、係合穴32aにはアダプタ34の係合突起36がスナップ嵌合される。係合突起36は係合穴32aに対して係合穴32aの軸心を中心に相対回転可能に係合される。これによって、係合穴32aに対して挿入部26が左右方向に延在する場合に限らず、例えば挿入部26が前後方向に延在する場合にもコネクタ部30をコネクタ保持板32に係合させて保持することができる。
次に、本発明に係る着座センサを車両用シートに実施した第2実施形態について図11及び図12に基づいて説明する。
本実施例における着座センサ53において、複数の検出部は、パッド部材54の前後方向に延在する凹溝としての縦凹溝58を挟んで、着座側表面における車両の幅方向内側(図11において上側)に荷重情報に対する感度が低い低感度検出部である第2検出部24を配置し、縦凹溝58を挟んで、着座側表面における車両の幅方向外側(図11において下側)に、第2検出部24よりも感度の高い高感度検出部である第1検出部22を配置している。また、図12に示すように、挿入部26が前後方向に延在した状態で、挿入部26の先端に設けられたコネクタ部30がSばね31に固定されたコネクタ保持板32に係合されるようになっている。これらの点について第1実施形態と構成が相違し、その他の点については構成が同様であるので、説明を省略する。
乗員が車両用シートに着座した場合、パッド部材54の表面に負荷される荷重分布は、統計データ等により、着座側表面における車両の幅方向内側の荷重が大きく、着座側表面における車両の幅方向外側の荷重が比較的小さい。そのため、本実施形態の着座センサ53は、乗員が車両用シートに着座した時に、大きな荷重が加わるパッド部材54における車両の幅方向内側に低感度検出部である第2検出部24を配置することで、荷物と乗員とを区別して、乗員の着座による荷重であることを的確に検出する。そして、比較的加わる荷重が小さいパッド部材54における車両の幅方向外側に、高感度検出部である第1検出部22を配置することで、大きな荷重が加わらなくても乗員の荷重を適切に検出する。
なお、上記実施形態においては、感圧スイッチの感度を調節するのに、検出部におけるスペーサの貫通穴42の内径の大小で行なったが、これに限定されず、例えば接離部と被接離部との間のスペーサの厚みによって感圧スイッチの感度を調節してもよい。スペーサの厚みを薄くすることで、感圧スイッチの感度を上げ、スペーサの厚みを厚くすることで、感圧スイッチの感度を下げることができる。また、スペーサの厚みの厚い薄いとスペーサの貫通穴の内径の大小とを組み合わせて感圧スイッチの感度を調節してもよい。スペーサの厚みと貫通穴の内径の大小とを組み合わせることで、感圧スイッチの感度を高精度で調節することが可能となる。
また、メンブレンスイッチ19を、円形の被接離部40と円形の接離部46とを対向させて接離させるものとしたが、これに限定されず、例えば、図13〜図15に示すように、第1フィルム64に線対称の半円形の導通材を離間させて印刷して被接離部66とし、被接離部66に対向させて第2フィルム68に円形に導通材を印刷して接離部70とし、これらの被接離部66と接離部70とを接離することで感圧スイッチ72を構成するものでもよい。この場合も、1箇所の感圧スイッチ72がオンすれば、スイッチ配線74に電流が流れて着座検出信号が出力される。
また、第2実施形態において、複数の検出部は、パッド部材54の前後方向に延在する縦凹溝58を挟んで、着座側表面における車両の内側部分に感度が低い低感度検出部である第2検出部24を配置し、縦凹溝58を挟んで、着座側表面における車両の外側部分に高感度検出部である第1検出部22を配置するものとしたが、これに限定されない。例えば、図16に示すように、縦凹溝58を挟んで車両の幅方向内側に配置される検出部の感度と車両の幅方向外側に配置される検出部の感度とに差を設けるものでなく、車両の前後方向に並んだ3つの感圧スイッチ76a,76b,76cに差を設けてもよい。この例では感圧スイッチ76の感度は、前側から76a>76b>76cの順に高く設定されている。
また、図17に示すように、前後方向に並んだ感圧スイッチに感度差が設けることに加えて、車両の幅方向外側・内側に配置される第1検出部78と第2検出部79における各感圧スイッチ間でも、感度に差を設けてもよい。感圧スイッチの感度は、例えば、シートクッションの前側と外側との感度を高くするようにして、80a>82a>80b>82b>80c>82cの順に高く設定されている。
また、図18に示すように、車両の左右方向に延在する横凹溝8を挟んで感圧スイッチを配設する場合において、感圧スイッチの感度は、シートクッションの前側と外側(車両の幅方向外側)とを高感度に、シートクッションの後側と中央側とを低感度にするようにして、例えば、86a>86b>88a>86c>88b>88cの順に高く設定されている。但し、これらは一例にすぎず、シートクッション上に着座した乗員の具体的な荷重データを基づいて各感圧スイッチの感度差の大きさや正確な配置を設定することができる。
また、メンブレンスイッチは、二股に分かれた検出部の間に挿入部が延在するものに限定されず、例えば、図19に示すように、H型に形成されたメンブレンスイッチ90において、前側に配置された感圧スイッチ92の感度を高感度に、後側に配置された感圧スイッチ94の感度を低感度に設定してもよい。
また、図20に示すように、直線的な帯状に形成されたメンブレンスイッチ96において、前側に配置された感圧スイッチ98の感度を高感度に、後側に配置された感圧スイッチ99の感度を低感度に設定してもよい。このような単純な構造とすることで、低価格のメンブレンスイッチ96とすることができる。
また、上記実施形態では、凹溝としての横凹溝や縦凹溝を挟んで配置された検出部において、感圧スイッチの感度を変えるものとしたが、必ずしも凹溝を挟んで配置されるものに限定されず、例えば、シートクッション上に凹溝がないものでもよい。凹溝がないことによって、パッド部材の表面に対して直角な方向のシートクッションへの荷重による変形は分断されないが、乗員が着座した場合には荷重分布に差が生じるため、同様に荷重の大きさに応じて感度に差を設けた感圧スイッチを配設することで、適切な乗員荷重の検出を行うことができる。例えば、車両用シートの前側及び車両の幅方向外側の少なくとも一方に高感度検出部を配置することで、乗員の太腿等による荷重が小さい場合や乗員の姿勢によって荷重が小さい場合にも適切に乗員の荷重を検出する。これによって、乗員が車両用シート1に着座している状態を的確に検出することができる。
斯様に、上記した実施の形態で述べた具体的構成は、本発明の一例を示したものにすぎず、本発明はそのような具体的構成に限定されることなく、本発明の主旨を逸脱しない範囲で種々の態様を採り得るものである。
1…車両用シート、2…シートクッション、3…着座センサ、4…パッド部材、8…凹溝(横凹溝)、9…ワイヤ、14…第1フィルム、16…第2フィルム、18…スペーサ、19…メンブレンスイッチ、22…検出部・高感度検出部(第1検出部)、24…検出部・低感度検出部(第2検出部)、28…外部出力部、40…被接離部、42…貫通穴、42a…第1貫通穴、42b…第2貫通穴、46…接離部、53…着座センサ、54…パッド部材、58…凹溝(縦凹溝)、64…第1フィルム、66…被接離部、68…第2フィルム、70…接離部、90…メンブレンスイッチ、96…メンブレンスイッチ。

Claims (3)

  1. それぞれメンブレンスイッチにより構成され、相対的に異なる低感度検出部及び高感度検出部を有し、車両用シートのシートクッションを構成するパッド部材の着座側表面と該着座側表面を覆うように前記パッド部材に装着される表皮部材との間に配置されて、該パッド部材への荷重情報を検出する複数の検出部と、
    前記検出部により検出された荷重信号を出力する外部出力部と、
    を備えた着座センサの配置構造であって、
    前記高感度検出部は、前記車両用シートの車両の幅方向外側に配置され、前記低感度検出部は、前記車両用シートの車両の幅方向内側に配置された着座センサの配置構造。
  2. 請求項1において、
    前記パッド部材の前記着座側表面には、前記表皮部材を固定するためのワイヤが配索された凹溝が前記パッド部材の前後方向に延在して陥没形成され、
    前記高感度検出部は、前記凹溝よりも前記車両用シートの車両の幅方向外側に配置され、前記低感度検出部は、前記凹溝よりも前記車両用シートの車両の幅方向内側に配置され着座センサの配置構造。
  3. 前記請求項1又は2において、
    前記複数の検出部は、複数の被接離部が所定間隔を空けて形成された帯状の第1フィルムと、前記第1フィルムと対向配置され、前記被接離部にそれぞれ接離する複数の接離部が形成された帯状の第2フィルムと、前記第1フィルム及び第2フィルムの間に配置され、前記複数の被接離部及び前記複数の接離部に対向する位置にそれぞれ貫通穴が形成されたスペーサとを備え、前記貫通穴のうち、前記高感度検出部における第1貫通穴は、前記低感度検出部における第2貫通穴よりも穴の内径が大きい、着座センサの配置構造。
JP2012206044A 2012-09-19 2012-09-19 着座センサの配置構造 Active JP6011190B2 (ja)

Priority Applications (1)

Application Number Priority Date Filing Date Title
JP2012206044A JP6011190B2 (ja) 2012-09-19 2012-09-19 着座センサの配置構造

Applications Claiming Priority (1)

Application Number Priority Date Filing Date Title
JP2012206044A JP6011190B2 (ja) 2012-09-19 2012-09-19 着座センサの配置構造

Publications (2)

Publication Number Publication Date
JP2014058291A JP2014058291A (ja) 2014-04-03
JP6011190B2 true JP6011190B2 (ja) 2016-10-19

Family

ID=50615178

Family Applications (1)

Application Number Title Priority Date Filing Date
JP2012206044A Active JP6011190B2 (ja) 2012-09-19 2012-09-19 着座センサの配置構造

Country Status (1)

Country Link
JP (1) JP6011190B2 (ja)

Cited By (1)

* Cited by examiner, † Cited by third party
Publication number Priority date Publication date Assignee Title
US10640009B2 (en) 2017-03-08 2020-05-05 Aisin Seiki Kabushiki Kaisha Seat occupancy sensor having an array of sensors shifted from a center of a seat of a vehicle

Families Citing this family (1)

* Cited by examiner, † Cited by third party
Publication number Priority date Publication date Assignee Title
JP2015024785A (ja) * 2013-07-29 2015-02-05 三菱自動車工業株式会社 車両シート

Family Cites Families (2)

* Cited by examiner, † Cited by third party
Publication number Priority date Publication date Assignee Title
JP4058010B2 (ja) * 2004-03-25 2008-03-05 本田技研工業株式会社 乗員検知装置
JP5488167B2 (ja) * 2010-04-26 2014-05-14 アイシン精機株式会社 荷重検知装置の取付構造

Cited By (1)

* Cited by examiner, † Cited by third party
Publication number Priority date Publication date Assignee Title
US10640009B2 (en) 2017-03-08 2020-05-05 Aisin Seiki Kabushiki Kaisha Seat occupancy sensor having an array of sensors shifted from a center of a seat of a vehicle

Also Published As

Publication number Publication date
JP2014058291A (ja) 2014-04-03

Similar Documents

Publication Publication Date Title
JP5821538B2 (ja) 着座センサ
JP5905413B2 (ja) 乗物用シート
CN203854538U (zh) 负载检测装置
JP4434259B2 (ja) 着座センサ
CN104349933B (zh) 车座悬置垫
US20140246887A1 (en) Pressure-responsive b-surface seat occupancy sensor unit
US7891260B2 (en) Seat sensor apparatus for occupant presence detection
JP2005153556A (ja) 乗員検知装置
CN106240413B (zh) 交通工具座椅的坐垫部件
US20150061347A1 (en) Vehicle seat
JP6011190B2 (ja) 着座センサの配置構造
JP2011255743A (ja) 静電容量式着座センサ
JP2022166163A (ja) センサ付きシート
JP5637059B2 (ja) 着座荷重検出装置
JP2008132928A (ja) 着座センサ
JP5903923B2 (ja) 着座荷重検出装置
CN206983781U (zh) 就座检测装置和薄膜开关
JP2012106724A (ja) 着座センサ、及び、それを用いた座席装置
JP6707388B2 (ja) 荷重検知センサ
JP4226536B2 (ja) 乗員検知装置
JP5604257B2 (ja) 座席装置
JP2016144985A (ja) 乗物用シート
JP2013014179A (ja) 座席装置
JP6246604B2 (ja) 着座検出装置、センサ支持プレート、及びセンサの固定方法
EP2878483A1 (en) Seat device

Legal Events

Date Code Title Description
A621 Written request for application examination

Free format text: JAPANESE INTERMEDIATE CODE: A621

Effective date: 20150805

A131 Notification of reasons for refusal

Free format text: JAPANESE INTERMEDIATE CODE: A131

Effective date: 20160531

A977 Report on retrieval

Free format text: JAPANESE INTERMEDIATE CODE: A971007

Effective date: 20160531

A521 Written amendment

Free format text: JAPANESE INTERMEDIATE CODE: A523

Effective date: 20160727

TRDD Decision of grant or rejection written
A01 Written decision to grant a patent or to grant a registration (utility model)

Free format text: JAPANESE INTERMEDIATE CODE: A01

Effective date: 20160823

A61 First payment of annual fees (during grant procedure)

Free format text: JAPANESE INTERMEDIATE CODE: A61

Effective date: 20160905

R151 Written notification of patent or utility model registration

Ref document number: 6011190

Country of ref document: JP

Free format text: JAPANESE INTERMEDIATE CODE: R151