JP6010643B2 - Prop holder - Google Patents

Prop holder Download PDF

Info

Publication number
JP6010643B2
JP6010643B2 JP2015017813A JP2015017813A JP6010643B2 JP 6010643 B2 JP6010643 B2 JP 6010643B2 JP 2015017813 A JP2015017813 A JP 2015017813A JP 2015017813 A JP2015017813 A JP 2015017813A JP 6010643 B2 JP6010643 B2 JP 6010643B2
Authority
JP
Japan
Prior art keywords
support
seat
fixed
insertion member
members
Prior art date
Legal status (The legal status is an assumption and is not a legal conclusion. Google has not performed a legal analysis and makes no representation as to the accuracy of the status listed.)
Expired - Fee Related
Application number
JP2015017813A
Other languages
Japanese (ja)
Other versions
JP2016142018A (en
Inventor
誠治 君岡
誠治 君岡
Current Assignee (The listed assignees may be inaccurate. Google has not performed a legal analysis and makes no representation or warranty as to the accuracy of the list.)
Individual
Original Assignee
Individual
Priority date (The priority date is an assumption and is not a legal conclusion. Google has not performed a legal analysis and makes no representation as to the accuracy of the date listed.)
Filing date
Publication date
Application filed by Individual filed Critical Individual
Priority to JP2015017813A priority Critical patent/JP6010643B2/en
Publication of JP2016142018A publication Critical patent/JP2016142018A/en
Application granted granted Critical
Publication of JP6010643B2 publication Critical patent/JP6010643B2/en
Expired - Fee Related legal-status Critical Current
Anticipated expiration legal-status Critical

Links

Images

Classifications

    • YGENERAL TAGGING OF NEW TECHNOLOGICAL DEVELOPMENTS; GENERAL TAGGING OF CROSS-SECTIONAL TECHNOLOGIES SPANNING OVER SEVERAL SECTIONS OF THE IPC; TECHNICAL SUBJECTS COVERED BY FORMER USPC CROSS-REFERENCE ART COLLECTIONS [XRACs] AND DIGESTS
    • Y02TECHNOLOGIES OR APPLICATIONS FOR MITIGATION OR ADAPTATION AGAINST CLIMATE CHANGE
    • Y02EREDUCTION OF GREENHOUSE GAS [GHG] EMISSIONS, RELATED TO ENERGY GENERATION, TRANSMISSION OR DISTRIBUTION
    • Y02E10/00Energy generation through renewable energy sources
    • Y02E10/50Photovoltaic [PV] energy

Landscapes

  • Photovoltaic Devices (AREA)

Description

本発明は、各種物品の支柱を保持する支柱保持具に関するものである。   The present invention relates to a column holder for holding columns of various articles.

たとえば、太陽電池モジュールが載せ置かれる架台を支持する支柱や、各種看板などが取り付けられる支柱は、従来、その下端部が地面にコンクリートなどで固定されている。   For example, a column supporting a platform on which a solar cell module is placed and a column to which various signboards are attached are conventionally fixed to the ground with concrete or the like.

しかしながら、支柱をコンクリートにより固定する場合、設置に時間がかかってしまうと共に、不要となった場合には、コンクリートを産業廃棄物として処理する必要があり、撤去処理が面倒であった。   However, when fixing a support | pillar with concrete, installation took time, and when it became unnecessary, it was necessary to process concrete as industrial waste, and the removal process was troublesome.

本発明が解決しようとする課題は、支柱の設置および撤去が容易な支柱保持具を提供することにある。   The problem to be solved by the present invention is to provide a column holder in which columns can be easily installed and removed.

本発明は、前記課題を解決するためになされたもので、請求項1に記載の発明は、上端に太陽電池モジュール等の物品が取り付けられる3本の支柱を取り付ける支柱保持具であって、上下に離隔して配置される上座と下座と、上座と下座との間に設けられた挿通部材とからなり、挿通部材は、杭または支柱が通される筒状の案内部材が上下に離隔して配置されるとともに、この上下の案内部材の間に案内部材と同軸上に設けられて前記杭または支柱を固定する締付具が配置されて形成され、前記上座および前記下座は、平面視略三角形状とされ、前記挿通部材が、この平面視略三角形状の各頂点部と各端辺中央部とにそれぞれ設けられ、前記頂点部の挿通部材と端辺中央部の挿通部材、及び、端辺中央部の挿通部材同士が、それぞれ連結され、前記3本の支柱が、各端辺中央部の挿通部材に固定されるとともに、各頂点部の挿通部材に杭が挿通されることを特徴とする支柱保持具である。 The present invention has been made to solve the above-mentioned problems, and the invention according to claim 1 is a support holder for attaching three support posts to which an article such as a solar cell module is attached at the upper end. And an insertion member provided between the upper seat and the lower seat, and the insertion member is a cylindrical guide member through which a pile or a column is passed up and down. Between the upper and lower guide members, and a fastening tool that is provided coaxially with the guide member and fixes the pile or the column is disposed, and the upper seat and the lower seat are flat. A substantially triangular shape in view, and the insertion member is provided at each vertex and each end side central portion of the substantially triangular shape in plan view, respectively, and the insertion member at the vertex portion and the insertion member at the end side central portion, and The insertion members at the center of the end side are connected to each other. The three struts is fixed to the insertion member of the respective end side central portion, a strut holder, characterized in that the pile is inserted through the insertion member of the apex.

請求項2に記載の発明は、挿通部材を構成する案内部材および締付具は、一対の支持材に固定されて上座と下座の間に配置され、支持材は、長方形状の板材とされ、上下方向中央部に矩形状の開口部が形成され、さらに、上部および下部には、それぞれ上下方向外側へ開口する矩形状の切欠き部が形成され、一方の支持材の開口部は、他方の支持材の開口部より大きく形成され、一対の支持材は、案内部材および締付具を挟み込んだ状態で設けられ、各支持材は、上座と下座の頂点部同士、および、上座と下座の各端辺の中央部同士を連結するように、その上下端部がそれぞれ上座、下座に固定され、締付具は、その周側壁が、各支持材の開口部にはまるように配置されて、溶接にて他方の支持材に固定されることを特徴とする請求項1に記載の支柱保持具である。 According to the second aspect of the present invention, the guide member and the fastener constituting the insertion member are fixed to a pair of support members and disposed between the upper seat and the lower seat, and the support member is a rectangular plate member. A rectangular opening is formed at the center in the vertical direction, and further, a rectangular notch that opens outward in the vertical direction is formed at each of the upper and lower parts, and the opening of one support member is the other The support member is formed in a state where the guide member and the clamp are sandwiched between the support member, and each support member is provided between the apex portions of the upper seat and the lower seat, and between the upper seat and the lower seat. The upper and lower ends are fixed to the upper and lower seats, respectively, so that the central parts of each end of the seat are connected to each other, and the fasteners are arranged so that their peripheral side walls fit into the openings of each support material is, serial to claim 1, characterized in that it is fixed to the other of the support member by welding It is of the post holder.

さらに、請求項3に記載の発明は、締付具の上方位置および下方位置に円形状のスペーサ材が設けられ、スペーサ材は、その中央部に円形の貫通穴が形成されていると共に、支持材が通される溝が、貫通穴の外周部に連接されて形成され、スペーサ材は、その溝に支持材が通されて、締付具の上下に配置され、溶接にて支持材に固定されることを特徴とする請求項2に記載の支柱保持具である。
Further, in the invention described in claim 3, circular spacer materials are provided at the upper and lower positions of the fastener, and the spacer material has a circular through hole formed at the center thereof and is supported. A groove through which the material passes is connected to the outer periphery of the through hole, and the spacer material is placed above and below the fastener with the support material passed through the groove and fixed to the support material by welding. a post holder according to claim 2, characterized in that the.

本発明によれば、容易に支柱を設置できると共に、撤去も容易な支柱保持具を提供できる。   ADVANTAGE OF THE INVENTION According to this invention, while being able to install a support | pillar easily, the support | pillar holder which can also be removed easily can be provided.

本発明の支柱保持具の一実施例を示す斜視図である。It is a perspective view which shows one Example of the support | pillar holder of this invention. 図1の支柱保持具の分解斜視図である。It is a disassembled perspective view of the support | pillar holder of FIG. 図1のA部の分解斜視図である。It is a disassembled perspective view of the A section of FIG. 図1のB部の分解斜視図である。It is a disassembled perspective view of the B section of FIG. 締付具を示す断面図である。It is sectional drawing which shows a fastener. 図1の支柱保持具に取り付けられた支柱に、太陽電池モジュールが設けられる架台が取り付けられた状態を示す斜視図である。It is a perspective view which shows the state by which the mount in which a solar cell module is provided was attached to the support | pillar attached to the support | pillar holder of FIG. 図6の分解斜視図である。FIG. 7 is an exploded perspective view of FIG. 6. 図6の一部を示す図であり、支柱下部と支柱保持具を示す図である。It is a figure which shows a part of FIG. 6, and is a figure which shows a support | pillar lower part and a support | pillar holder. 図6のC部を示す斜視図である。It is a perspective view which shows the C section of FIG. 図9の分解斜視図である。FIG. 10 is an exploded perspective view of FIG. 9. 図6の架台を示す図である。It is a figure which shows the mount frame of FIG. 図6の架台に太陽電池モジュールを取り付けた状態を示す図である。It is a figure which shows the state which attached the solar cell module to the mount frame of FIG. 図12のD部を示す図である。It is a figure which shows the D section of FIG. 第一係止具を示す斜視図である。It is a perspective view which shows a 1st locking tool. 図14の第一係止具の断面図である。It is sectional drawing of the 1st latching tool of FIG. 図12のE部を示す図である。It is a figure which shows the E section of FIG. 図16における第二係止具の縦断面図である。It is a longitudinal cross-sectional view of the 2nd locking tool in FIG.

以下、本発明の支柱保持具の一実施例について図面に基づいて具体的に説明する。   Hereinafter, an embodiment of the support holder according to the present invention will be specifically described with reference to the drawings.

図1は、本発明の支柱保持具の一実施例を示す斜視図である。
図2は、図1の支柱保持具の分解斜視図である。
図3は、図1のA部の分解斜視図であり、図4は、図1のB部の分解斜視図である。
FIG. 1 is a perspective view showing an embodiment of a support holder according to the present invention.
FIG. 2 is an exploded perspective view of the support holder of FIG.
3 is an exploded perspective view of part A in FIG. 1, and FIG. 4 is an exploded perspective view of part B in FIG.

本実施例の支柱保持具1は、上下に離隔して配置される板状の上座3および下座5と、座3,5間に設けられ、杭または支柱が通される挿通部材11とを主要部に備える。   The column holder 1 of this embodiment includes a plate-like upper and lower seats 3 and 5 that are spaced apart from each other, and an insertion member 11 that is provided between the seats 3 and 5 and through which a pile or column is passed. Prepare for the main part.

下座5は、略三角形状とされ、その頂点部(角部)および各端辺の中央部には、上下に沿って略円形の貫通穴15,17が形成されている。   The lower seat 5 has a substantially triangular shape, and substantially circular through holes 15 and 17 are formed along the top and bottom at the apex (corner) and the center of each end.

上座3は、略三角形状とされ、その頂点部(角部)および各端辺の中央部には、上下に沿って略円形の貫通穴19,21が形成されている。
また、上座3には、適宜の穴、たとえば略三角形状の4個の穴25が形成されている。
The upper seat 3 has a substantially triangular shape, and substantially circular through holes 19 and 21 are formed along the top and bottom at the apex (corner) and the center of each end.
The upper seat 3 is formed with appropriate holes, for example, four holes 25 having a substantially triangular shape.

挿通部材11は、各座3,5の頂点部同士、および各座3,5の各端辺の中央部同士を架け渡すように配置される。本実施例では、座3,5間に、6つの挿通部材11が設けられる。   The insertion member 11 is disposed so as to bridge the apex portions of the respective seats 3 and 5 and the central portions of the respective end sides of the respective seats 3 and 5. In this embodiment, six insertion members 11 are provided between the seats 3 and 5.

挿通部材11は、筒状の案内部材31と、杭または支柱を固定する締付具35とを備える。本実施例では、上下に離隔して2つの案内部材31,31が設けられ、この案内部材31,31間に締付具35が配置される。案内部材31は、軸方向を上下に向けて配置される。   The insertion member 11 includes a cylindrical guide member 31 and a fastening tool 35 that fixes a pile or a column. In the present embodiment, two guide members 31, 31 are provided apart from each other in the vertical direction, and a fastening tool 35 is disposed between the guide members 31, 31. The guide member 31 is arranged with the axial direction facing up and down.

図5は、締付具を示す断面図である。   FIG. 5 is a cross-sectional view showing the fastener.

締付具35は、円筒体の一部が軸方向に切り欠かれた略C字形状の部材とされる。締付具35は、その開口端部同士が、近接および離隔可能に撓み変形可能とされる。また、締付具35の開口端部には、外方へ延出して矩形状の板片37,39が一体に形成されている。一方の板片37には、貫通穴41が形成されており、他方の板片39には、ネジ穴43が貫通して形成されている。   The fastener 35 is a substantially C-shaped member in which a part of a cylindrical body is cut out in the axial direction. The fastening tool 35 can be bent and deformed so that the open ends thereof can approach and be separated from each other. In addition, rectangular plate pieces 37 and 39 are integrally formed at the opening end of the fastener 35 so as to extend outward. A through hole 41 is formed in one plate piece 37, and a screw hole 43 is formed through the other plate piece 39.

本実施例では、各挿通部材11を構成する案内部材31および締付具35は、一対の支持材47,47に固定されて座3,5間に配置される。   In this embodiment, the guide member 31 and the fastening tool 35 constituting each insertion member 11 are fixed to a pair of support members 47 and 47 and disposed between the seats 3 and 5.

支持材47は、長方形状の板材とされ、上下方向中央部に矩形状の開口部51が形成され、さらに、上部および下部には、それぞれ上下方向外側へ開口する矩形状の切欠き部53が形成されている。なお、図示例では、一方の支持材47の開口部51は、他方の支持材47の開口部51より大きく形成されている。   The support material 47 is a rectangular plate material, a rectangular opening 51 is formed at the center in the vertical direction, and a rectangular cutout 53 that opens outward in the vertical direction is formed at the upper and lower portions. Is formed. In the illustrated example, the opening 51 of one support member 47 is formed larger than the opening 51 of the other support member 47.

一対の支持材47,47は、案内部材31および締付具35を挟み込んだ状態で設けられ、各支持材47は、上座3と下座5の頂点部同士、および、各座3,5の各端辺の中央部同士を連結するように、その上下端部が各座3,5に固定される。   The pair of support members 47 and 47 are provided in a state in which the guide member 31 and the fastening tool 35 are sandwiched, and each support member 47 includes the apex portions of the upper seat 3 and the lower seat 5 and each of the seats 3 and 5. The upper and lower end portions are fixed to the respective seats 3 and 5 so as to connect the central portions of the respective end sides.

具体的には、締付具35は、その周側壁が、各支持材47の開口部51にはまるように配置されて、溶接にて他方の支持材47に固定される。   Specifically, the fastening tool 35 is disposed so that the peripheral side wall fits into the opening 51 of each support member 47 and is fixed to the other support member 47 by welding.

そして、締付具35の上方位置および下方位置に円形状のスペーサ材61,61が設けられる。スペーサ材61は、その中央部に円形の貫通穴63が形成されていると共に、支持材47が通される溝65が、貫通穴63の外周部に連接されて形成されている。   Then, circular spacer members 61, 61 are provided at an upper position and a lower position of the fastener 35. The spacer member 61 has a circular through hole 63 formed in the center thereof, and a groove 65 through which the support member 47 passes is formed to be connected to the outer peripheral portion of the through hole 63.

スペーサ材61は、その溝65に支持材47が通されて、締付具35の上下に配置され、溶接にて支持材47,47に固定される。   The spacer material 61 is inserted into the groove 65 through the support material 47, arranged above and below the fastener 35, and fixed to the support materials 47 and 47 by welding.

案内部材31は、支持材47,47間に配置され、その周側壁が支持材47の切欠き部53にはめ込まれた状態で、上側の案内部材31は、上座3の貫通穴19,21にはめ込まれ、下側の案内部材31は、下座5の貫通穴15,17にはめ込まれる。
そして、各支持材47の上下端部は、それぞれ各座3,5に形成された溝19a,21a,15a,17aにはめ込まれてそれぞれ溶接されて固定される。本実施例では、貫通穴19,21,15,17の外周部に連接して溝19a,21a,15a,17aが形成されている。
The guide member 31 is disposed between the support members 47 and 47, and the upper guide member 31 is inserted into the through holes 19 and 21 of the upper seat 3 in a state where the peripheral side wall is fitted into the notch 53 of the support member 47. The lower guide member 31 is fitted into the through holes 15 and 17 of the lower seat 5.
The upper and lower ends of each support member 47 are fitted into grooves 19a, 21a, 15a and 17a formed in the respective seats 3 and 5, respectively, and are fixed by welding. In this embodiment, grooves 19a, 21a, 15a, and 17a are formed so as to be connected to the outer peripheral portions of the through holes 19, 21, 15, and 17.

このように、案内部材31および締付具35が設けられた状態では、案内部材31および締付具35は同軸上に配置される。   Thus, in the state in which the guide member 31 and the fastening tool 35 are provided, the guide member 31 and the fastening tool 35 are arranged coaxially.

また、本実施例では、挿通部材11,11間の離隔距離は同じとされている。
つまり、平面視において、上座3および下座5は、正三角形状とされ、その各頂点部と各端辺中央部とに挿通部材11が配置される。
In the present embodiment, the separation distance between the insertion members 11 is the same.
That is, in plan view, the upper seat 3 and the lower seat 5 have a regular triangular shape, and the insertion member 11 is disposed at each apex portion and each end side center portion.

本実施例では、座3,5間に、補助板71が設けられる。補助板71は、矩形板状とされ、その上下端部がそれぞれ上座3および下座5に固定される。本実施例では、各座3,5の頂点部に設けられた挿通部材11(11A)と、各座3,5の各端辺中央部に設けられた挿通部材11(11B)とを連結するように、および、各座3,5の各端辺中央部に設けられた挿通部材11(11B),11(11B)同士を連結するように設けられる。本実施例では、9つの補助板71が設けられる。   In the present embodiment, an auxiliary plate 71 is provided between the seats 3 and 5. The auxiliary plate 71 has a rectangular plate shape, and upper and lower ends thereof are fixed to the upper seat 3 and the lower seat 5, respectively. In this embodiment, the insertion member 11 (11A) provided at the apex of each seat 3 and 5 is connected to the insertion member 11 (11B) provided at the center of each end of each seat 3 and 5. Thus, the insertion members 11 (11B) and 11 (11B) provided at the center of each end of each seat 3 and 5 are provided so as to be connected to each other. In the present embodiment, nine auxiliary plates 71 are provided.

具体的には、補助板71は、両側端部の中央部に、矩形状の切欠き73が形成されている。また、上下端辺部には、それぞれ上下方向外側へ突出して矩形状の突出部75が、各端辺に沿って離隔して複数形成されている。   Specifically, the auxiliary plate 71 is formed with a rectangular notch 73 at the center of both end portions. In addition, a plurality of rectangular projecting portions 75 are formed on the upper and lower end side portions so as to protrude outward in the vertical direction and are spaced apart along the respective end sides.

補助板71は、隣接する挿通部材11,11間に配置され、その両側端部が、それぞれ各挿通部材11の案内部材31の周側壁に溶接にて固定されると共に、上下端部の突出部75が各座3,5に形成された溝77,78にはめ込まれて溶接にて固定されている。   The auxiliary plate 71 is disposed between the adjacent insertion members 11 and 11, and both end portions thereof are fixed to the peripheral side walls of the guide members 31 of the respective insertion members 11 by welding, and the protruding portions of the upper and lower end portions are provided. 75 is fitted in grooves 77 and 78 formed in the respective seats 3 and 5 and fixed by welding.

本実施例では、支柱保持具1の各頂点部に、フックが引っ掛けられる引っ掛け部81が設けられている。   In the present embodiment, a hook portion 81 on which a hook is hooked is provided at each apex portion of the column holder 1.

引っ掛け部81は、中央部が矩形板状とされ、その上下端部は、拡幅して形成されている。そして、その上下端部には、円形状の貫通穴83,83が形成されている。   The hook portion 81 is formed in a rectangular plate shape at the center, and the upper and lower end portions thereof are widened. And the circular through-holes 83 and 83 are formed in the upper-lower-end part.

引っ掛け部81は、その上下端部がそれぞれ上座3および下座5に固定されて設けられている。引っ掛け部81の上座3への固定部には、貫通穴85が形成されており、この貫通穴85を介して引っ掛け部81にフックを引っ掛けることが可能となる。   The upper and lower end portions of the hook portion 81 are fixed to the upper seat 3 and the lower seat 5, respectively. A through hole 85 is formed in the fixed portion of the hook portion 81 to the upper seat 3, and the hook can be hooked to the hook portion 81 through the through hole 85.

このような構成の本実施例の支柱保持具1は、杭により地面に固定されると共に、支柱を保持することが可能である。   The strut holder 1 of this embodiment having such a configuration is fixed to the ground by a pile and can hold the strut.

図6は、本実施例の支柱保持具に取り付けられた支柱に、太陽電池モジュールが取り付けられる架台が取り付けられた状態を示す斜視図である。
図7は、図6の分解斜視図である。図8は、図6の一部を示す図であり、支柱下部と支柱保持具を示す図である。
FIG. 6 is a perspective view showing a state in which a mount to which the solar cell module is attached is attached to the support attached to the support holder of the present embodiment.
FIG. 7 is an exploded perspective view of FIG. FIG. 8 is a diagram illustrating a part of FIG. 6, and is a diagram illustrating a lower column and a column holder.

以下においては、本実施例の支柱保持具1に取り付けられる支柱に、太陽電池モジュールが設けられる架台が取り付けられる場合について説明する。   Below, the case where the mount frame in which a solar cell module is provided is attached to the support | pillar attached to the support | pillar holder 1 of a present Example is demonstrated.

本実施例では、3本の杭Pが支柱保持具1を介して地面に打ち込まれて固定され、さらに、3本の支柱101,103,105が支柱保持具1に取り付けられる。   In the present embodiment, three piles P are driven and fixed to the ground via the support holder 1, and three support pillars 101, 103, and 105 are attached to the support holder 1.

図示例では、支柱保持具1は、地面に載置された状態で、頂点部の挿通部材11(11A)にそれぞれ杭Pが差し込まれて、地面に打ち込まれる。つまり、各挿通部材11(11A)の案内部材31および締付具35に杭Pが通されて地面に打ち込まれる。
そして、杭Pが打ち込まれた後、各締付具35の一方の板片37から他方の板片39に向けてボルト106をねじ込み、締付具35を杭Pに固定させることで、支柱保持具1が地面に固定される。なお、補助板71の切欠き73を介してボルト106をねじ込むことが可能とされる。
In the illustrated example, the pillar holder 1 is placed on the ground, and the piles P are respectively inserted into the insertion members 11 (11A) at the apex portion and driven into the ground. That is, the pile P is passed through the guide member 31 and the fastener 35 of each insertion member 11 (11A) and driven into the ground.
Then, after the pile P is driven, the bolt 106 is screwed from one plate piece 37 to the other plate piece 39 of each fastening tool 35, and the fastening tool 35 is fixed to the pile P, thereby holding the column. The tool 1 is fixed to the ground. Note that the bolt 106 can be screwed through the notch 73 of the auxiliary plate 71.

支柱101,103,105は、棒状とされ、本実施例では金属製のパイプが用いられる。支柱101,103,105は、支柱保持具1の各端辺中央部に設けられた挿通部材11(11B)に通されて設けられる。つまり、支柱101,103,105は、各挿通部材11(11B)の案内部材31および締付具35に通される。そして、挿通部材11に通された各支柱101,103,105は、締付具35により支柱保持具1に固定される。   The columns 101, 103, 105 are rod-shaped, and a metal pipe is used in this embodiment. The support columns 101, 103, and 105 are provided through the insertion member 11 (11 </ b> B) provided at the center of each end of the support holder 1. That is, the columns 101, 103, 105 are passed through the guide member 31 and the fastening tool 35 of each insertion member 11 (11B). And each support | pillar 101,103,105 passed through the insertion member 11 is fixed to the support | pillar holder 1 with the fastener 35. FIG.

本実施例では、前方に1つの支柱101が配置され、後方に2つの支柱103,105が、左右に離隔して配置される。   In this embodiment, one support column 101 is disposed in the front, and two support columns 103 and 105 are disposed in the back and left direction.

また、本実施例では、図6に示すように、前方に配置された1本の支柱101は、後方に配置される支柱103,105より短く形成されており、後方の2つの支柱103,105は同じ長さとされる。   Further, in this embodiment, as shown in FIG. 6, the single support column 101 disposed in the front is formed shorter than the support columns 103 and 105 disposed in the rear, and the two rear columns 103 and 105 are disposed in the rear. Are the same length.

図示例では、3本の支柱101,103,105の軸方向中途部に、補強材107が取り付けられている。補強材107は、各支柱101,103,105に通される締付具108と、締付具108,108同士を連結するように設けられる棒状の連結材109とにより構成されている。締付具108は、上記締付具35と同様の構成であるので説明は省略する。   In the example shown in the figure, a reinforcing member 107 is attached to an axially intermediate portion of the three columns 101, 103, 105. The reinforcing member 107 includes a fastening tool 108 that is passed through each of the columns 101, 103, and 105, and a rod-like connecting material 109 that is provided so as to connect the fastening tools 108 and 108 to each other. Since the fastener 108 has the same configuration as the fastener 35 described above, description thereof is omitted.

補強材107は、締付具108により各支柱101,103,105に固定され、支柱101,103,105と一体化されている。   The reinforcing member 107 is fixed to each of the columns 101, 103, and 105 by a fastener 108 and integrated with the columns 101, 103, and 105.

図9は、図6のC部を示す斜視図である。図10は、図9の分解斜視図である。   FIG. 9 is a perspective view showing a portion C of FIG. FIG. 10 is an exploded perspective view of FIG.

各支柱101,103,105の上端部には、支持具111が取り付けられている。   A support tool 111 is attached to the upper end of each column 101, 103, 105.

支持具111は、矩形状とされ、各支柱101,103,105の上端部に載せ置かれて、その下端部が各支柱101,103,105の上端部に溶接により固定されている。   The support 111 has a rectangular shape and is placed on the upper ends of the columns 101, 103, 105, and the lower ends thereof are fixed to the upper ends of the columns 101, 103, 105 by welding.

支持具111の前後方向中央部には、上方へ開口する矩形状の凹部113が左右方向に沿って形成されている。この凹部113の下端部は、半円形状に形成されている。   A rectangular recess 113 that opens upward is formed in the center in the front-rear direction of the support 111 along the left-right direction. The lower end portion of the recess 113 is formed in a semicircular shape.

また、支持具111には、凹部113を挟んだ前後位置に、上下方向に貫通する穴115,115が2つ形成されている。   Further, the support tool 111 is formed with two holes 115, 115 penetrating in the vertical direction at front and rear positions with the recess 113 interposed therebetween.

図11は、図6の架台を示す斜視図である。   FIG. 11 is a perspective view showing the gantry of FIG.

架台120は、図11に示すように、左右に離隔して配置される一対の支持部121,121と、この支持部121,121同士を連結する連結部123とを備える。   As shown in FIG. 11, the gantry 120 includes a pair of support parts 121 and 121 that are spaced apart from each other on the left and right sides, and a connection part 123 that connects the support parts 121 and 121 to each other.

各支持部121は、2本の棒材125,125により構成されている。本実施例では、各棒材125は、金属製のパイプにより構成されている。2本の棒材125,125は、左右に離隔して配置されると共に、軸方向を前後方向に沿うように平行に配置されている。図示例では、棒材125,125間の隙間は、約11mmとされている。   Each support part 121 includes two bar members 125 and 125. In this embodiment, each bar 125 is constituted by a metal pipe. The two bar members 125, 125 are spaced apart from each other on the left and right, and are disposed in parallel so that the axial direction is along the front-rear direction. In the illustrated example, the gap between the bar members 125 is about 11 mm.

連結部123は、棒状とされ、本実施例では金属製のパイプにより構成されている。本実施例では、前後に離隔して2本の連結部123,123が設けられる。   The connecting portion 123 has a rod shape, and is constituted by a metal pipe in this embodiment. In the present embodiment, two connecting portions 123 and 123 are provided apart from each other in the front-rear direction.

2本の連結部123,123は、支持部121の前後方向(長手方向)中間部から、前後に離隔して配置され、各連結部123は、その左右両端部が各支持部121に固定される。具体的には、連結部123の両端部に、支持部121を構成する各棒材125が載置されて、各棒材125の下面に連結部123が溶接にて固定されている。   The two connecting portions 123, 123 are arranged to be separated from the front / rear direction (longitudinal direction) intermediate portion of the support portion 121 in the front-rear direction, and the left and right ends of each connection portion 123 are fixed to the support portions 121. The Specifically, each bar 125 constituting the support part 121 is placed on both ends of the connecting part 123, and the connecting part 123 is fixed to the lower surface of each bar 125 by welding.

このように、一対の支持部121,121が、2つの連結部123,123に固定されて一体化され、架台120が構成されている。   In this way, the pair of support portions 121 and 121 are fixed to and integrated with the two connection portions 123 and 123, and the gantry 120 is configured.

一対の支持部121,121同士を架け渡すように、さらに補助連結部129,131が設けられている。本実施例では、支持部121の前部に第一補助連結部129が設けられ、後部に第二補助連結部131が設けられる。   Further, auxiliary connecting portions 129 and 131 are provided so as to bridge the pair of support portions 121 and 121. In the present embodiment, the first auxiliary connecting portion 129 is provided at the front portion of the support portion 121, and the second auxiliary connecting portion 131 is provided at the rear portion.

第一補助連結部129は、断面L字形の柱材135と、この柱材135の両端部に設けられる板片137とにより構成される。   The first auxiliary connecting portion 129 includes a column member 135 having an L-shaped cross section and plate pieces 137 provided at both ends of the column member 135.

柱材135は、左右方向に沿って配置され、両端部が、各支持部121の下面に溶接により固定される一片139と、この一片139の前端部から下方へ突出して設けられる他片141とによりL字形に構成されている。   The column member 135 is disposed along the left-right direction, and one end 139 whose both end portions are fixed to the lower surface of each support portion 121 by welding, and another piece 141 provided to protrude downward from the front end portion of the one piece 139, Is configured in an L shape.

板片137は、矩形状とされ、左右に離隔して2つの貫通穴137aが形成されている。板片137は、柱材135の左右両端部において、他片141の前面に重ね合わされて固定されている。この際、板片137は、柱材135より上方へ突出して設けられ、2つの貫通穴137aに支持部121を構成する2つの棒材125が通されており、板片137の上端部は、固定箇所において支持部121より上方へ突出している。   The plate piece 137 has a rectangular shape and is formed with two through holes 137a spaced apart from each other on the left and right. The plate piece 137 is overlapped and fixed on the front surface of the other piece 141 at both left and right ends of the column member 135. At this time, the plate piece 137 is provided so as to protrude upward from the column member 135, and the two bar members 125 constituting the support portion 121 are passed through the two through holes 137 a, and the upper end portion of the plate piece 137 is It protrudes upward from the support portion 121 at the fixed location.

第二補助連結部131は、断面L字形の柱材145と、この柱材145の両端部に設けられる板片147とを備える。柱材145は、左右方向に沿って配置され、左右両端部が、各支持部121の下面に溶接により固定される一片149と、この一片149の後端部から下方へ突出して設けられる他片151とによりL字形に構成されている。   The second auxiliary connecting portion 131 includes a column member 145 having an L-shaped cross section and plate pieces 147 provided at both ends of the column member 145. The column member 145 is arranged along the left-right direction, and both left and right end portions are fixed to the lower surface of each support portion 121 by welding, and another piece provided to protrude downward from the rear end portion of the one piece 149. 151 and L-shaped.

板片147は、矩形状とされ、その上端部には、左右に離隔して2つの半円形状の凹部153が上方へ開口して形成されている。板片147は、柱材145の左右両端部において、柱材145の他片151に重ね合わされて固定されている。この際、板片147は、柱材145より上方へ突出して設けられ、その2つの凹部153に、支持部121を構成する棒材125がはめ込まれている。   The plate piece 147 has a rectangular shape, and two semicircular recesses 153 are formed in the upper end portion thereof so as to be spaced apart from each other in the left-right direction. The plate piece 147 is overlapped and fixed to the other piece 151 of the column member 145 at both left and right ends of the column member 145. At this time, the plate piece 147 is provided so as to protrude upward from the column member 145, and the bar 125 constituting the support portion 121 is fitted into the two recesses 153.

架台120は、2つの連結部123が、各支柱101,103,105の上端部に設けられた支持具111の凹部113にはめ込まれて載せ置かれる。   The gantry 120 is placed with two connecting portions 123 fitted into the recesses 113 of the support 111 provided at the upper ends of the columns 101, 103, and 105.

具体的には、前方の連結部123が、前方に配置された1つの支柱101の支持具111の凹部113にはめ込まれ、後方の連結部123が、後方に配置された2つの支柱103,105の支持具111の凹部113にはめ込まれる。   Specifically, the front connecting portion 123 is fitted into the recess 113 of the support 111 of one supporting column 101 arranged in the front, and the two connecting columns 103 and 105 arranged in the rear are connected to the rear connecting portion 123. Is fitted into the recess 113 of the support 111.

そして、接続部材165により、架台120が、支柱101,103,105に固定される。   Then, the gantry 120 is fixed to the columns 101, 103, and 105 by the connection member 165.

接続部材165は、板状の本体167と、この本体167から上方へ延出する2本の棒部169,169とを備える。本体167は、湾曲した形状とされ、略C字形状とされる。そして、この本体167の両端部に、棒部169,169が立設される。棒部169は、その上端部の外周面にネジ溝が形成されている。   The connection member 165 includes a plate-shaped main body 167 and two rod portions 169 and 169 extending upward from the main body 167. The main body 167 has a curved shape and is substantially C-shaped. Then, rod portions 169 and 169 are erected on both ends of the main body 167. The rod portion 169 has a thread groove on the outer peripheral surface of the upper end portion.

連結部123が支持具111に載せ置かれた状態で、接続部材165の棒部169,169が、支持具111の穴115,115に下側から通され、棒部169,169の上端部に、矩形状の留板171がはめ込まれる。留板171には、前後に離隔して2つの貫通穴171a,171aが形成されている。
留板171は、貫通穴171aに棒部169が通されて、凹部113の上部を覆うように取り付けられる。そして、棒部169にナット173がねじ込まれて、架台120が、支柱101,103,105に固定される。
In a state where the connecting portion 123 is placed on the support 111, the rod portions 169 and 169 of the connection member 165 are passed through the holes 115 and 115 of the support device 111 from below, and are connected to the upper ends of the rod portions 169 and 169. A rectangular retaining plate 171 is fitted. Two through holes 171a and 171a are formed in the clasp 171 so as to be separated from each other in the front-rear direction.
The clasp 171 is attached so that the bar portion 169 is passed through the through hole 171a and the upper portion of the recess 113 is covered. Then, the nut 173 is screwed into the bar portion 169, and the gantry 120 is fixed to the columns 101, 103, and 105.

留板171が、連結部123の上部に設けられることで、連結部123の抜けが防止される。   Since the clasp 171 is provided on the upper portion of the connecting portion 123, the connecting portion 123 is prevented from coming off.

架台120が支柱101,103,105に固定された状態では、架台120は、前方へ行くにしたがって下方へ傾斜して取り付けられており、本実施例では、約30°傾斜した状態で架台120は支柱保持具1に取り付けられる。   In a state where the gantry 120 is fixed to the columns 101, 103, and 105, the gantry 120 is attached to be inclined downward as it goes forward. In this embodiment, the gantry 120 is inclined at about 30 °. It is attached to the support holder 1.

また、本実施例では、架台120の連結部123が、支持具111の凹部113にはめ込まれていることで、ナット173を緩めた状態では、架台120は、支柱101,103,105に対して左右方向に沿って移動可能であり、現場の状況に応じて位置を調整することができる。   Further, in this embodiment, since the connecting portion 123 of the gantry 120 is fitted in the recess 113 of the support 111, the gantry 120 is in relation to the columns 101, 103, and 105 when the nut 173 is loosened. It can move along the left-right direction, and the position can be adjusted according to the situation at the site.

図12は、図6の架台に太陽発電モジュールを取り付けた状態を示す図であり、図13は、図12のD部を示す図である。   FIG. 12 is a diagram showing a state in which the solar power generation module is attached to the gantry of FIG. 6, and FIG. 13 is a diagram showing a D portion of FIG.

太陽電池モジュールは、矩形板状とされ、支柱101,103,105に取り付けられた架台120に載せ置かれて、係止具181,183により架台120に固定される。本実施例では、前後に隣接して2枚の太陽電池モジュールM1,M2が架台120に載せ置かれる。前方に配置される太陽電池モジュールM1は、第一補助連結部129の板片137に当接することで、傾斜して設けられた架台120から滑り落ちることがない。   The solar cell module has a rectangular plate shape, is placed on the gantry 120 attached to the columns 101, 103, and 105, and is fixed to the gantry 120 by the locking tools 181 and 183. In this embodiment, two solar cell modules M1 and M2 are placed on the gantry 120 adjacent to each other in the front-rear direction. The solar cell module M <b> 1 disposed in front does not slide down from the gantry 120 provided to be inclined by contacting the plate piece 137 of the first auxiliary connecting portion 129.

本実施例では、支持部121の前後両端部に配置される第一係止具181と、支持部121の中途部に設けられ、隣接する太陽電池モジュールM1,M2間に配置される第二係止具183とにより、太陽電池モジュールM1,M2が架台120に固定される。   In the present embodiment, the first locking member 181 disposed at both front and rear end portions of the support portion 121 and the second engagement disposed between the adjacent solar cell modules M1 and M2 provided in the middle portion of the support portion 121. The solar battery modules M <b> 1 and M <b> 2 are fixed to the gantry 120 by the stopper 183.

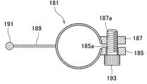
図14および図15は、第一係止具を示す図であり、図14は斜視図、図15は断面図である。   14 and 15 are views showing the first locking tool, FIG. 14 is a perspective view, and FIG. 15 is a cross-sectional view.

第一係止具181は、円筒体の一部が軸方向に切り欠かれた断面略C字形状とされる。第一係止具181は、その開口端部同士が、近接および離間可能に撓み変形可能とされる。また、第一係止具181の開口端部には、外方へ突出して、矩形板状の板片185,187が一体に形成されている。一方の板片185には、板厚方向に沿って貫通穴185aが形成されており、他方の板片187には、ネジ穴187aが貫通して形成されている。   The first locking member 181 has a substantially C-shaped cross section in which a part of a cylindrical body is cut out in the axial direction. As for the 1st latching tool 181, the opening edge parts can be bent and deformed so that proximity | contact and separation | spacing are possible. In addition, rectangular plate pieces 185 and 187 are integrally formed at the opening end of the first locking member 181 so as to protrude outward. One plate piece 185 is formed with a through hole 185a along the plate thickness direction, and the other plate piece 187 is formed with a screw hole 187a passing therethrough.

また、第一係止具181には、その周側壁に径方向外側へ突出して矩形状の板材189の一端部が固定されており、この板材189の他端部には、丸棒状の係止部191が固定されている。係止部191は、第一係止具181の軸線と平行に配置され、その両端部191aが板材189より外方へ突出して設けられている。本実施例では、板材189は、第一係止具181の開口部に対して周方向に180度ずれた位置に設けられている。   In addition, one end of a rectangular plate 189 is fixed to the first locking member 181 so as to protrude radially outward on the peripheral side wall, and a round bar-like locking is provided on the other end of the plate 189. The part 191 is fixed. The locking part 191 is arranged in parallel with the axis of the first locking tool 181, and both end parts 191 a are provided to protrude outward from the plate material 189. In the present embodiment, the plate member 189 is provided at a position shifted by 180 degrees in the circumferential direction with respect to the opening of the first locking member 181.

第一係止具181は、各支持部121の左右方向外側の棒材125の前後両端部にそれぞれ通されて設けられる。そして、棒材125の前端部に設けられた第一係止具181は、その係止部191の一端部191aが、前方の太陽電池モジュールM1の前端部上面に当接するように、周方向の位置決めがなされる。また、棒材125の後端部に設けられた第一係止具181は、その係止部191の一端部191aが、後方の太陽電池モジュールM2の後端部上面に当接するように、周方向の位置決めがなされる。係止部191の一端部191aが太陽電池モジュールM1,M2に当接した状態で、各第一係止具181の一方の板片185から他方の板片187にボルト193がねじ込まれて第一係止具181が棒材125に固定される。このようにして、前方の太陽電池モジュールM1の前端部および後方の太陽電池モジュールM2の後端部は、第一係止具181と支持部121に挟み込まれて、架台120に固定される。   The first locking member 181 is provided to be passed through the front and rear end portions of the bar 125 on the outer side in the left-right direction of each support portion 121. And the 1st latching tool 181 provided in the front-end part of the bar 125 is the circumferential direction so that the one end part 191a of the latching | locking part 191 may contact | abut to the front-end part upper surface of the front solar cell module M1. Positioning is done. Further, the first locking member 181 provided at the rear end portion of the bar 125 has a peripheral portion so that one end portion 191a of the locking portion 191 abuts on the upper surface of the rear end portion of the rear solar cell module M2. Directional positioning is made. In a state where the one end 191a of the locking portion 191 is in contact with the solar cell modules M1 and M2, a bolt 193 is screwed from one plate piece 185 of each first locking member 181 to the other plate piece 187. The locking tool 181 is fixed to the bar 125. In this way, the front end portion of the front solar cell module M1 and the rear end portion of the rear solar cell module M2 are sandwiched between the first locking member 181 and the support portion 121 and fixed to the gantry 120.

図16は、図12のE部を示す図であり、太陽電池モジュールを仮想線で示している。また、図17は、図16に示す第二係止具の縦断面図である。   FIG. 16 is a diagram illustrating an E portion of FIG. 12, and the solar cell module is indicated by a virtual line. FIG. 17 is a longitudinal sectional view of the second locking tool shown in FIG.

第二係止具183は、前後に隣接する太陽電池モジュールM1,M2間に配置される。第二係止具183は、板状の押え部201と、この押え部201に設けられる取付棒203と、この取付棒203の下端部に設けられる保持部205とを備える。   The 2nd latching tool 183 is arrange | positioned between the solar cell modules M1 and M2 adjacent front and back. The second locking tool 183 includes a plate-shaped pressing portion 201, a mounting rod 203 provided on the pressing portion 201, and a holding portion 205 provided on the lower end portion of the mounting rod 203.

押え部201は、矩形状の板片とされ、左右に離隔して2本の丸棒状のピン部材207が、下方へ突出して設けられている。ピン部材207は、太陽電池モジュールM1,M2の厚さより短い寸法とされる。   The holding part 201 is a rectangular plate piece, and two round bar-like pin members 207 are provided so as to protrude downward from each other. The pin member 207 has a dimension shorter than the thickness of the solar cell modules M1 and M2.

取付棒203は、丸棒状とされ、その上端部が押え部201の中心部に固定されて、下方へ突出して設けられている。取付棒203の下端部外周面には、ネジ溝が形成されている。   The mounting rod 203 has a round bar shape, and an upper end portion of the mounting rod 203 is fixed to the center portion of the presser portion 201 and is provided to protrude downward. A screw groove is formed on the outer peripheral surface of the lower end portion of the mounting rod 203.

保持部205は、矩形箱状とされ、本実施例では、板片を組み合わせて構成されている。保持部205の前後片221,221の左右両端部は、上下に突出して凸部223が形成されており、この凸部223は、上下片225,225の穴225aを介して上方および下方へ突出している。また、保持部205の上下片225,225の中央部には、取付棒203が通される貫通穴229が形成されている。   The holding unit 205 has a rectangular box shape, and is configured by combining plate pieces in the present embodiment. The left and right ends of the front and rear pieces 221 and 221 of the holding part 205 protrude upward and downward to form a convex part 223, and the convex part 223 protrudes upward and downward via the holes 225 a of the upper and lower pieces 225 and 225. ing. In addition, a through hole 229 through which the attachment rod 203 is passed is formed in the central portion of the upper and lower pieces 225 and 225 of the holding portion 205.

第二係止具183は、ピン部材207,207および取付棒203が、太陽電池モジュールM1,M2間に配置され、さらに取付棒203は、支持部121の棒材125,125間に通される。そして、押え部201は、前方の太陽電池モジュールM1の後端部上面および後方の太陽電池モジュールM2の前端部上面に当接して設けられる。   As for the 2nd latching tool 183, the pin members 207 and 207 and the attachment rod 203 are arrange | positioned between the solar cell modules M1 and M2, and also the attachment rod 203 is passed between the bar materials 125 and 125 of the support part 121. . And the holding | suppressing part 201 is contact | abutted and provided in the front-end part upper surface of the solar cell module M2 and the rear-end part upper surface of the front solar cell module M1.

保持部205は、支持部121の下方に配置され、取付棒203が上下片225,225の貫通穴229に通される。そして、取付棒203の下端部にナット231がねじ込まれることで、第二係止具183が、支持部121に取り付けられる。この際、支持部121の2つの棒材125は、保持部205の前後片221,221の凸部223,223間に配置される。このように第二係止具183が支持部121に取り付けられることで、太
陽電池モジュールM1,M2は、押え部201と保持部205により挟み込まれて架台120に固定される。
The holding portion 205 is disposed below the support portion 121, and the mounting rod 203 is passed through the through holes 229 of the upper and lower pieces 225 and 225. And the 2nd locking tool 183 is attached to the support part 121 by screwing the nut 231 in the lower end part of the attachment stick | rod 203. FIG. At this time, the two bar members 125 of the support portion 121 are disposed between the convex portions 223 and 223 of the front and rear pieces 221 and 221 of the holding portion 205. Thus, by attaching the 2nd latching tool 183 to the support part 121, solar cell module M1, M2 is inserted | pinched by the holding | suppressing part 201 and the holding | maintenance part 205, and is fixed to the mount frame 120. FIG.

本実施例では、架台120の支持部121が、2本の棒材125,125により構成されており、その間に第二係止具183の取付棒203を差し込み、押え部201と各棒材125,125とにより太陽電池モジュールM1,M2を挟み込むことで、太陽電池モジュールM1,M2を安定して架台120に取り付けることができる。また、第二係止具183の取付棒203は、支持部121の棒材125,125間に沿って前後方向に沿って移動可能とされ、太陽電池モジュールを架台120に取り付ける際に、調整が可能とされる。   In this embodiment, the support part 121 of the gantry 120 is constituted by two bar members 125, 125, and the mounting bar 203 of the second locking tool 183 is inserted between them, and the presser part 201 and each bar member 125. , 125 sandwich the solar cell modules M1 and M2 so that the solar cell modules M1 and M2 can be stably attached to the gantry 120. Further, the mounting rod 203 of the second locking tool 183 is movable along the front-rear direction along the bar members 125, 125 of the support portion 121, and adjustment is possible when the solar cell module is mounted on the gantry 120. It is possible.

このように、本実施例では、杭Pにより固定された支柱保持具1に支柱101,103,105を取り付け、この支柱101,103,105に架台120を取り付け、この架台120に太陽電池モジュールが設けられる。   Thus, in this embodiment, the columns 101, 103, 105 are attached to the column holder 1 fixed by the pile P, the frame 120 is mounted on the columns 101, 103, 105, and the solar cell module is attached to the frame 120. Provided.

本実施例の支柱保持具1は、杭Pにより地面に固定されると共に、支柱を保持することが可能であり、支柱の設置が容易である。そして、この支柱に各種物品を取り付けることが可能である。また、締付具35を緩めることで支柱を取り外すことができ、撤去も容易である。さらに、本実施例では、各座3,5が平板状とされることで、支柱保持具1を積み重ねることができ搬送もし易い。   The strut holder 1 of the present embodiment is fixed to the ground by the pile P and can hold the strut, so that it is easy to install the strut. And it is possible to attach various articles | goods to this support | pillar. Moreover, the support | pillar can be removed by loosening the fastener 35, and removal is also easy. Furthermore, in this embodiment, each of the seats 3 and 5 is formed in a flat plate shape, so that the support holders 1 can be stacked and transported easily.

本発明の支柱保持具は、上記実施例の構成に限らず、適宜変更可能である。
特に、支柱保持具1は、その用途を特に問わない。たとえば、上記実施例では、支柱保持具1に固定された支柱に、太陽電池モジュールを保持する架台を取り付けたが、支柱に他の物品を取り付けてもよい。一例として、支柱保持具により立設された支柱に看板などを取り付けるようにしてもよく、支柱に取り付けられる物品は適宜変更可能である。
The strut holder of the present invention is not limited to the configuration of the above embodiment, and can be changed as appropriate.
Especially the support | pillar holder 1 does not ask | require the use in particular. For example, in the said Example, although the mount frame which hold | maintains a solar cell module was attached to the support | pillar fixed to the support | pillar holder 1, other articles | goods may be attached to a support | pillar. As an example, a signboard or the like may be attached to a column that is erected by a column holder, and an article attached to the column can be changed as appropriate.

また、上記実施例では、平面視略三角形状の座3,5の頂点部の挿通部材11(11A)を介して杭を地面に打ち込み、座3,5の各端辺中央部の挿通部材11(11B)に支柱を取り付けたが、杭や支柱を取り付ける位置は、適宜変更可能である。つまり、座3,5の頂点部に設けられた挿通部材11(11A)に支柱を取り付けたり、座3,5の各端辺中央部に設けられた挿通部材11(11B)を介して地面に杭を打ち込んだりしてもよい。   Moreover, in the said Example, a pile is driven in to the ground via the insertion member 11 (11A) of the vertex part of the substantially triangular seats 3 and 5 in planar view, and the insertion member 11 of each edge side center part of the seats 3 and 5 is used. Although the support | pillar was attached to (11B), the position which attaches a pile or a support | pillar can be changed suitably. In other words, a column is attached to the insertion member 11 (11A) provided at the apex of the seats 3 and 5, or the insertion member 11 (11B) provided at the center of each end of the seats 3 and 5 is attached to the ground. You may drive a pile.

さらに、上記実施例では、支柱保持具1(つまり各座3,5)は、平面視略三角形状とされたが、略四角形状やその他の形状であってもよい。たとえば、上下の座3,5を略四角形とした場合、その上下で対応する頂点部同士を連結するように、および、各端辺部中央部同士を連結するように挿通部材を配置すればよい。この場合、挿通部材は、8個設けられる。その他、支柱保持具1(つまり各座3,5)の平面視において、複数の挿通部材11を単に離隔して平行に配置(一直線上に配置)するなどしてもよい。
このように、座の形状や、挿通部材の配置場所、個数については、適宜変更可能である。
Furthermore, in the said Example, although the support | pillar holder 1 (namely, each seat 3 and 5) was made into the substantially triangular shape in planar view, it may be a substantially square shape and another shape. For example, when the upper and lower seats 3 and 5 are substantially quadrangular, the insertion members may be arranged so as to connect the corresponding vertexes at the upper and lower sides, and to connect the central portions of the end sides. . In this case, eight insertion members are provided. In addition, in the plan view of the column holder 1 (that is, the respective seats 3 and 5), the plurality of insertion members 11 may be simply separated and arranged in parallel (arranged in a straight line).
Thus, the shape of the seat, the arrangement location and the number of the insertion members can be changed as appropriate.

また、上記実施例では、架台120は、支柱101,103,105に30°傾斜して取り付けられたが、10°や60°傾斜して取り付けられたり、または水平に取り付けられたりしてもよく、その取付角度は適宜変更可能である。この際、各支柱101,103,105の長さを変更することで、架台120の取付角度を変更することができる。   Further, in the above embodiment, the gantry 120 is attached to the columns 101, 103, and 105 with an inclination of 30 °, but may be attached with an inclination of 10 ° or 60 °, or may be attached horizontally. The mounting angle can be changed as appropriate. At this time, the mounting angle of the gantry 120 can be changed by changing the lengths of the columns 101, 103, and 105.

さらに、上記実施例では、架台120に太陽電池モジュールを2枚取り付けたが、1枚としたり、3枚以上取り付けるようにしてもよい。   Furthermore, in the said Example, although the two solar cell modules were attached to the mount frame 120, you may make it one piece and may attach three or more sheets.

3 上座
5 下座
11 挿通部材
31 案内部材
35 締付具
3 Upper Seat 5 Lower Seat 11 Insertion Member 31 Guide Member 35 Fastening Tool

Claims (3)

上端に太陽電池モジュール等の物品が取り付けられる3本の支柱を取り付ける支柱保持具であって、
上下に離隔して配置される上座と下座と、
上座と下座との間に設けられた挿通部材とからなり、
挿通部材は、杭または支柱が通される筒状の案内部材が上下に離隔して配置されるとともに、この上下の案内部材の間に案内部材と同軸上に設けられて前記杭または支柱を固定する締付具が配置されて形成され、
前記上座および前記下座は、平面視略三角形状とされ、
前記挿通部材が、この平面視略三角形状の各頂点部と各端辺中央部とにそれぞれ設けられ、
前記頂点部の挿通部材と端辺中央部の挿通部材、及び、端辺中央部の挿通部材同士が、それぞれ連結され、
前記3本の支柱が、各端辺中央部の挿通部材に固定されるとともに、各頂点部の挿通部材に杭が挿通される
ことを特徴とする支柱保持具。
A pillar holder for attaching three pillars to which articles such as solar cell modules are attached at the upper end,
An upper seat and a lower seat that are spaced apart from each other;
It consists of an insertion member provided between the upper seat and the lower seat,
The insertion member has a cylindrical guide member through which a pile or a column is passed, and is spaced apart vertically, and is provided coaxially with the guide member between the upper and lower guide members to fix the pile or column. The fastening tool is arranged and formed,
The upper seat and the lower seat are substantially triangular in plan view,
The insertion member is provided at each apex portion and each end side center portion of the substantially triangular shape in plan view,
The insertion member of the vertex part and the insertion member of the edge side center part, and the insertion members of the edge side center part are respectively connected,
The three pillars are fixed to the insertion member at the center of each end, and the pile is inserted through the insertion member at each vertex .
挿通部材を構成する案内部材および締付具は、一対の支持材に固定されて上座と下座の間に配置され
支持材は、長方形状の板材とされ、上下方向中央部に矩形状の開口部が形成され、さらに、上部および下部には、それぞれ上下方向外側へ開口する矩形状の切欠き部が形成され、一方の支持材の開口部は、他方の支持材の開口部より大きく形成され、
一対の支持材は、案内部材および締付具を挟み込んだ状態で設けられ、各支持材は、上座と下座の頂点部同士、および、上座と下座の各端辺の中央部同士を連結するように、その上下端部がそれぞれ上座、下座に固定され、
締付具は、その周側壁が、各支持材の開口部にはまるように配置されて、溶接にて他方の支持材に固定される
ことを特徴とする請求項1に記載の支柱保持具。
The guide member and the fastener constituting the insertion member are fixed between the pair of support members and disposed between the upper seat and the lower seat ,
The support material is a rectangular plate material, a rectangular opening is formed in the central portion in the vertical direction, and further, a rectangular notch that opens outward in the vertical direction is formed in the upper and lower portions, The opening of one support material is formed larger than the opening of the other support material,
A pair of support members are provided with a guide member and a clamp sandwiched between them, and each support member connects the apex portions of the upper seat and the lower seat and the central portions of the edges of the upper seat and the lower seat. The upper and lower ends are fixed to the upper seat and lower seat respectively,
2. The support according to claim 1, wherein the fastener is disposed so that a peripheral side wall thereof fits in an opening of each support member, and is fixed to the other support member by welding .
締付具の上方位置および下方位置に円形状のスペーサ材が設けられ、スペーサ材は、その中央部に円形の貫通穴が形成されていると共に、支持材が通される溝が、貫通穴の外周部に連接されて形成され、スペーサ材は、その溝に支持材が通されて、締付具の上下に配置され、溶接にて支持材に固定される
ことを特徴とする請求項2に記載の支柱保持具。
A circular spacer material is provided at the upper and lower positions of the fastener, and the spacer material has a circular through hole formed in the center thereof, and the groove through which the support material passes is formed of the through hole. The spacer member is formed to be connected to the outer peripheral portion, and the spacer member is inserted in the groove, is arranged above and below the fastener, and is fixed to the support member by welding. The prop holder described.
JP2015017813A 2015-01-30 2015-01-30 Prop holder Expired - Fee Related JP6010643B2 (en)

Priority Applications (1)

Application Number Priority Date Filing Date Title
JP2015017813A JP6010643B2 (en) 2015-01-30 2015-01-30 Prop holder

Applications Claiming Priority (1)

Application Number Priority Date Filing Date Title
JP2015017813A JP6010643B2 (en) 2015-01-30 2015-01-30 Prop holder

Publications (2)

Publication Number Publication Date
JP2016142018A JP2016142018A (en) 2016-08-08
JP6010643B2 true JP6010643B2 (en) 2016-10-19

Family

ID=56569991

Family Applications (1)

Application Number Title Priority Date Filing Date
JP2015017813A Expired - Fee Related JP6010643B2 (en) 2015-01-30 2015-01-30 Prop holder

Country Status (1)

Country Link
JP (1) JP6010643B2 (en)

Cited By (1)

* Cited by examiner, † Cited by third party
Publication number Priority date Publication date Assignee Title
CN107104626A (en) * 2017-04-26 2017-08-29 范科晨 A kind of buckled triangular support bracket of solar panel

Family Cites Families (5)

* Cited by examiner, † Cited by third party
Publication number Priority date Publication date Assignee Title
JPS5718831U (en) * 1980-07-03 1982-01-30
JP5129297B2 (en) * 2010-05-21 2013-01-30 誠治 君岡 Building installation tools
US9057172B2 (en) * 2013-01-29 2015-06-16 Cicame Energie Inc. Anchoring system
JP5829657B2 (en) * 2013-09-05 2015-12-09 誠治 君岡 Solar cell module installation tool
JP3192354U (en) * 2014-05-30 2014-08-07 コスモシステム株式会社 Telecommunication base and radio base station

Cited By (2)

* Cited by examiner, † Cited by third party
Publication number Priority date Publication date Assignee Title
CN107104626A (en) * 2017-04-26 2017-08-29 范科晨 A kind of buckled triangular support bracket of solar panel
CN107104626B (en) * 2017-04-26 2019-04-30 江苏南洋铝业有限公司 A buckled triangular support frame for solar panels

Also Published As

Publication number Publication date
JP2016142018A (en) 2016-08-08

Similar Documents

Publication Publication Date Title
US20170356185A1 (en) Prefabricated wall of tiles or panels
JP6430721B2 (en) Solar panel mount
JP2011106188A (en) Roof
KR20100132853A (en) Road Beam for Rack Structures
CN103711760B (en) The fixed structure of frame material and frame material dividing plate
JP6010643B2 (en) Prop holder
KR101764369B1 (en) apparatus for fastening grating
JP6033051B2 (en) Basic unit
JP2022516150A (en) Assembled shelf structure for pallets with adjustable width and height
JP3193326U (en) Easel stand for flat panel display
JP6623946B2 (en) Fixture for photovoltaic panel
JP3212631U (en) Connecting device
CN102983184B (en) Solar panel stand
JP6214969B2 (en) Solar panel mount
JP5829657B2 (en) Solar cell module installation tool
JP6170749B2 (en) Solar panel mount
KR100750718B1 (en) Adjustable Column Form
KR20170114327A (en) Fixed unit for cutting a bottom surface of the steel product for sole plate
CN221283076U (en) A solar photovoltaic panel that is easy to disassemble
KR102670344B1 (en) Wreath frame with a structure that can be mounted on various types of panels
JP6332589B2 (en) Solar panel unit
JP6331143B2 (en) Rack connection member mounting structure
CN215253506U (en) Embedded bolt fixing device
JP7322696B2 (en) Hanging jig for anchor bolts
JP2540663Y2 (en) Packing frame

Legal Events

Date Code Title Description
A601 Written request for extension of time

Free format text: JAPANESE INTERMEDIATE CODE: A601

Effective date: 20160520

A521 Written amendment

Free format text: JAPANESE INTERMEDIATE CODE: A523

Effective date: 20160721

TRDD Decision of grant or rejection written
A01 Written decision to grant a patent or to grant a registration (utility model)

Free format text: JAPANESE INTERMEDIATE CODE: A01

Effective date: 20160823

A61 First payment of annual fees (during grant procedure)

Free format text: JAPANESE INTERMEDIATE CODE: A61

Effective date: 20160916

R150 Certificate of patent or registration of utility model

Ref document number: 6010643

Country of ref document: JP

Free format text: JAPANESE INTERMEDIATE CODE: R150

R250 Receipt of annual fees

Free format text: JAPANESE INTERMEDIATE CODE: R250

LAPS Cancellation because of no payment of annual fees