JP5983057B2 - Desk leg equipment - Google Patents

Desk leg equipment Download PDF

Info

Publication number
JP5983057B2
JP5983057B2 JP2012127584A JP2012127584A JP5983057B2 JP 5983057 B2 JP5983057 B2 JP 5983057B2 JP 2012127584 A JP2012127584 A JP 2012127584A JP 2012127584 A JP2012127584 A JP 2012127584A JP 5983057 B2 JP5983057 B2 JP 5983057B2
Authority
JP
Japan
Prior art keywords
grounding
leg
grounding member
mounting
desk
Prior art date
Legal status (The legal status is an assumption and is not a legal conclusion. Google has not performed a legal analysis and makes no representation as to the accuracy of the status listed.)
Active
Application number
JP2012127584A
Other languages
Japanese (ja)
Other versions
JP2013248354A (en
Inventor
岡田 和久
和久 岡田
太洞 好博
好博 太洞
和士 岡本
和士 岡本
Current Assignee (The listed assignees may be inaccurate. Google has not performed a legal analysis and makes no representation or warranty as to the accuracy of the list.)
Itoki Corp
Original Assignee
Itoki Corp
Priority date (The priority date is an assumption and is not a legal conclusion. Google has not performed a legal analysis and makes no representation as to the accuracy of the date listed.)
Filing date
Publication date
Application filed by Itoki Corp filed Critical Itoki Corp
Priority to JP2012127584A priority Critical patent/JP5983057B2/en
Publication of JP2013248354A publication Critical patent/JP2013248354A/en
Application granted granted Critical
Publication of JP5983057B2 publication Critical patent/JP5983057B2/en
Active legal-status Critical Current
Anticipated expiration legal-status Critical

Links

Images

Landscapes

  • Tables And Desks Characterized By Structural Shape (AREA)
  • Legs For Furniture In General (AREA)

Description

本発明は、机の脚装置に係わり、更に詳しくは天板の両側部を支持する脚体の床面に対する接地形態を変更可能な机の脚装置に関するものである。   The present invention relates to a desk leg device, and more particularly to a desk leg device capable of changing a ground contact form with respect to a floor surface of a leg that supports both side portions of a top plate.

従来から、学習机においては、使用目的や好みによって、奥行幅が広い天板に対する要求や、逆に奥行幅が狭い天板に対する要求があり、また学習机を購入後にそれらの要求が変化する場合もあり、多くの使用者に適した学習机を提供する目的で、状況に応じて天板の奥行幅を調整できる学習机が望まれている。   Conventionally, there is a requirement for a tabletop with a wide depth, or conversely a requirement for a tabletop with a narrow depth, depending on the purpose of use and preference. In order to provide a learning desk suitable for many users, a learning desk capable of adjusting the depth of the top board according to the situation is desired.

そこで、本出願人は特許文献1にて机の脚装置を提案した。つまり、特許文献1に記載の机の脚装置は、天板の両側部を脚体で支持し、該天板又は前記脚体に直接又は他の部材を介して間接的に拡張天板を設け、該拡張天板が前記天板の後端に連続して該天板と上面を面一となした水平姿勢と、前記天板の後端より後方へ突出しない格納姿勢とをとることが可能である机において、前記脚体の下端であって前部に前側接地部材を取付けるとともに、後部に前後の取付位置を変更可能に後側接地部材を着脱可能に取付けたものである。   Therefore, the present applicant has proposed a desk leg device in Patent Document 1. In other words, the desk leg device described in Patent Document 1 supports both sides of the top plate with legs, and the extended top plate is directly or indirectly provided on the top plate or the leg body via another member. The extended top plate can take a horizontal posture in which the top plate and the top plate are flush with the rear end of the top plate, and a retracted posture that does not protrude rearward from the rear end of the top plate. In this desk, the front grounding member is attached to the front part at the lower end of the leg body, and the rear grounding member is detachably attached to the rear part so that the front and rear attachment positions can be changed.

具体的には、前記天板の両側部を支持する前記脚体は、前後に配した支脚の上下端部間を、横部材を連結して側面視略四角形のフレームを構成し、下端は、前後の支脚と下側横部材とで平らな面となっており、該脚体の前部の下端面に前記前側接地部材を固定し、それよりも後部の下端面に、前後方向に一定間隔で複数の螺孔を形成するとともに、前記後側接地部材に前記螺孔の間隔と同一間隔で取付孔を上下貫通して形成し、複数のボルトを前記取付孔から前記螺孔に螺合して前記後側接地部材を脚体に取付けた構造である。   Specifically, the legs supporting both sides of the top plate are configured to form a frame having a substantially rectangular shape in side view by connecting lateral members between upper and lower ends of the supporting legs arranged in the front and rear. The front and rear support legs and the lower lateral member form a flat surface, and the front grounding member is fixed to the lower end surface of the front portion of the leg body, and the lower end surface of the rear portion is fixed at a constant interval in the front and rear direction. A plurality of screw holes are formed in the rear grounding member, and mounting holes are formed vertically through the rear grounding member at the same interval as the screw holes, and a plurality of bolts are screwed into the screw holes from the mounting holes. The rear grounding member is attached to the leg.

それにより、天板の両側部を脚体で支持した剛構造の学習机であるので、常に重心バランスが安定し、そして該天板の後端に連続して拡張天板を設け、該拡張天板が後側の支脚より後方へ突出した状態となった場合でも、後側接地部材を脚体に対して後方へずらせて取付けることにより安定に支持することができるようになり、所望の目的は達成されている。しかし、特許文献1の机の脚装置は、部品点数が増え、また部材の加工工数も増えるのでコスト高となる傾向がある。   Accordingly, since the learning desk has a rigid structure in which both sides of the top board are supported by legs, the balance of the center of gravity is always stable, and an extension top board is provided continuously at the rear end of the top board. Even when the plate protrudes rearward from the rear support leg, it can be stably supported by shifting the rear grounding member backward relative to the leg, and the desired purpose is Has been achieved. However, the desk leg device of Patent Document 1 tends to increase in cost because the number of parts increases and the number of processing steps of members also increases.

特開2008−301974号公報JP 2008-301974 A

そこで、本発明が前述の状況に鑑み、解決しようとするところは、天板の両側部を支持する脚体の床面に対する接地形態を変更可能な机の脚装置であって、脚体に対して天板が固定的で重心バランスが安定しているにも係わらず、天板の実効奥行幅を拡張すべく、天板の後方に拡張天板を設けた場合でも別途部材を追加することなく脚体を容易に安定化させることができ、しかもコスト上昇を最小限に抑制した机の脚装置を提供する点にある。   Accordingly, in view of the above-described situation, the present invention intends to solve a desk leg device that can change the ground contact form with respect to the floor surface of the leg that supports both sides of the top plate. Despite the fact that the top plate is fixed and the balance of the center of gravity is stable, even if an extended top plate is provided behind the top plate to extend the effective depth of the top plate, no additional members are added. The object of the present invention is to provide a leg device for a desk that can easily stabilize a leg body and suppresses an increase in cost to a minimum.

本発明は、前述の課題解決のために、天板の両側部を支持する脚体の床面に対する接地形態を変更可能な机の脚装置であって、前記脚体は、下端が固定接地部である前支脚と該前支脚よりも短い後支脚を有し、前記固定接地部の後方に段差を設けて接地部材取付部を設け、該接地部材取付部に前後方向に延びた接地部材を前後の取付位置を変更可能に取付け、前記固定接地部と該接地部材を床面に接触させて支持してなることを特徴とする机の脚装置を構成した(請求項1)。 In order to solve the above-mentioned problem, the present invention is a desk leg device capable of changing a grounding form with respect to a floor surface of a leg that supports both sides of the top plate , and the lower end of the leg is a fixed grounding part. A front support leg and a rear support leg shorter than the front support leg, a step is provided behind the fixed grounding part to provide a grounding member attaching part, and a grounding member extending in the front-rear direction is provided on the grounding member attaching part. The mounting position of the desk can be changed, and the fixed grounding portion and the grounding member are supported in contact with the floor surface to constitute a desk leg device (claim 1).

具体的には、前記脚体は、前記前支脚と後支脚の下端部間に下横部材を連結し、該下横部材の下面は前記後支脚の下端面と面一に設定するとともに、前記前支脚の下端より高い位置に設定して前記接地部材取付部とし、該接地部材取付部に位置する前記下横部材の下面側に、前後方向に延びた接地部材を前後の取付位置を変更可能に取付け、前記前支脚の下端の固定接地部と該接地部材を床面に接触させて支持してなることが好ましい(請求項)。 Specifically, the leg is connected to the lower lateral member between the lower end of the front support legs and the rear support leg, with the lower surface of the lower transverse member is set to the lower end surface flush with the rear support legs, wherein Set to a position higher than the lower end of the front support leg to be the grounding member mounting part, and the front and rear mounting positions of the grounding member extending in the front-rear direction can be changed on the lower surface side of the lower horizontal member located at the grounding member mounting part the mounting preferably comprises supporting the fixed ground portion and the ground member of the lower end of the front support legs in contact with the floor surface (claim 2).

あるいは、前記脚体は、前記前支脚の下端部後面と後支脚の下端面とに下横部材を連結し、該下横部材の下面は前記前支脚の下端より高い位置に設定して前記接地部材取付部とし、該接地部材取付部に位置する前記下横部材の下面側に、前後方向に延びた接地部材を前後の取付位置を変更可能に取付け、前記前支脚の下端の固定接地部と該接地部材を床面に接触させて支持してなることが好ましい(請求項)。 Alternatively, the leg, the front connecting the lower lateral member and a lower end rear surface and the rear support leg lower end surface of the support leg, the lower surface of the lower transverse member and the ground is set to a position higher than the lower end of the front support legs A grounding member extending in the front-rear direction is attached to the lower surface side of the lower horizontal member located at the grounding member mounting part so that the front and rear mounting positions can be changed, and a fixed grounding part at the lower end of the front support leg the grounding member is preferably formed by support in contact with the floor surface (claim 3).

前記下横部材の後部には前後方向に間隔を設けて複数の取付孔を上下貫通して形成し、前記接地部材には前記取付孔に対応して上方に開口した少なくとも2組の螺孔を前後に形成し、前記下横部材の取付孔に上方から挿通した締結ネジ、前後の取付位置を調節した前記接地部材の螺孔に螺合された状態で、前記下横部材に接地部材が取付けられていることがより好ましい(請求項4)。 A plurality of mounting holes are formed vertically through the rear portion of the lower horizontal member so as to be spaced in the front-rear direction, and at least two sets of screw holes opened upward corresponding to the mounting holes are formed in the grounding member. defined across, fastening screws inserted from above into the mounting hole of the lower horizontal member, in a state of being screwed into the threaded hole of the grounding member to adjust the mounting position of the front and rear, the ground member to the lower lateral member More preferably, it is attached (Claim 4).

ここで、前記下横部材の下面に前後方向に間隔を隔てて複数のダボを下方へ向けて突設するとともに、前記接地部材の上面に前記ダボを受け入れる前後方向に延びた係合溝を形成し、前記ダボの何れか一つが係合溝の終端に当止した状態で、前記取付孔と螺孔の上下位置が一致するように設定してなることがより好ましい(請求項)。 Here, a plurality of dowels projecting downward from the lower surface of the lower horizontal member at intervals in the front-rear direction, and an engaging groove extending in the front-rear direction for receiving the dowels is formed on the upper surface of the grounding member. and, in a state or in which one abuts locks to the end of the engaging groove of the dowel, and more preferably formed by setting as the upper and lower positions of the mounting hole and screw hole are matched (claim 5).

また、前記接地部材の下面の後部を接地部とし、該接地部の前側を段落ちした非接地部としてなることも好ましい(請求項)。 Also, the rear portion of the lower surface of the ground member and the ground portion, it is also preferably made the front of the ground portion as a non-grounded portion were Chi paragraph (claim 6).

以上にしてなる請求項1に係る発明の机の脚装置は、天板の両側部を支持する脚体の床面に対する接地形態を変更可能な机の脚装置であって、前記脚体は、下端が固定接地部である前支脚と該前支脚よりも短い後支脚を有し、前記固定接地部の後方に段差を設けて接地部材取付部を設け、該接地部材取付部に前後方向に延びた接地部材を前後の取付位置を変更可能に取付け、前記固定接地部と該接地部材を床面に接触させて支持してなるので、通常の脚体に接地部材とその取付手段を追加するだけの簡単な構造であり、接地部材を後方へ突出させて脚体に取付けることにより、接地面積が増えて天板をより安定に支持することができ、コスト上昇を最小限に抑制することができる。また、前記固定接地部が前支脚の下端であるので、前支脚で天板の荷重を確実に支持することができ、構造もより簡単にできる。 The desk leg device of the invention according to claim 1 as described above is a desk leg device capable of changing a grounding form with respect to the floor surface of the leg body supporting both side portions of the top plate, and the leg body includes: It has a front support leg whose lower end is a fixed ground part and a rear support leg that is shorter than the front support leg. A step is provided behind the fixed ground part to provide a ground member attachment part, and extends to the ground member attachment part in the front-rear direction. Since the fixed grounding part and the grounding member are brought into contact with the floor surface and supported so that the mounting position of the grounding member can be changed, only the grounding member and its mounting means are added to a normal leg. With this simple structure, the grounding member protrudes rearward and is attached to the leg, so that the grounding area can be increased and the top plate can be supported more stably, and the cost increase can be minimized. . In addition, since the fixed grounding portion is the lower end of the front support leg, the load on the top plate can be reliably supported by the front support leg, and the structure can be simplified.

請求項によれば、前記脚体は、前記前支脚と後支脚の下端部間に下横部材を連結し、該下横部材の下面は前記後支脚の下端面と面一に設定するとともに、前記前支脚の下端より高い位置に設定して前記接地部材取付部とし、該接地部材取付部に位置する前記下横部材の下面側に、前後方向に延びた接地部材を前後の取付位置を変更可能に取付け、前記前支脚の下端の固定接地部と該接地部材を床面に接触させて支持してなるので、通常の脚体の構造に近いものとなり、僅かな設計変更によって脚体の下端部に接地部材取付部を設けることができる。 According to claim 2, wherein the leg, the front connecting the lower lateral member between the lower end of the rear support leg and support leg, with the lower surface of the lower transverse member is set to the lower end surface flush with the rear support legs The grounding member mounting portion is set to a position higher than the lower end of the front support leg, and the grounding member extending in the front-rear direction is provided on the lower surface side of the lower horizontal member positioned at the grounding member mounting portion. Since the fixed grounding portion at the lower end of the front support leg and the grounding member are supported by being in contact with the floor surface, it is close to the structure of a normal leg body, and the leg body can be changed by a slight design change. A grounding member attaching portion can be provided at the lower end portion.

請求項によれば、前記脚体は、前記前支脚の下端部後面と後支脚の下端面とに下横部材を連結し、該下横部材の下面は前記前支脚の下端より高い位置に設定して前記接地部材取付部とし、該接地部材取付部に位置する前記下横部材の下面側に、前後方向に延びた接地部材を前後の取付位置を変更可能に取付け、前記前支脚の下端の固定接地部と該接地部材を床面に接触させて支持してなるので、通常の脚体の構造に近いものとなり、僅かな設計変更によって脚体の下端部に接地部材取付部を設けることができる。 According to claim 3, wherein the leg, the front connecting the lower lateral member and a lower end rear surface and the rear support leg lower end surface of the support leg, the lower surface of the lower horizontal member to a position higher than the lower end of the front support legs The grounding member mounting portion is set, and a grounding member extending in the front-rear direction is mounted on the lower surface side of the lower horizontal member located at the grounding member mounting portion so that the mounting position of the front and rear can be changed, and the lower end of the front support leg Since the fixed grounding part and the grounding member are in contact with and supported by the floor surface, it is close to the structure of a normal leg, and a grounding member mounting part is provided at the lower end of the leg by a slight design change. Can do.

請求項4によれば、前記下横部材の後部には前後方向に間隔を設けて複数の取付孔を上下貫通して形成し、前記接地部材には前記取付孔に対応して上方に開口した少なくとも2組の螺孔を前後に形成し、前記下横部材の取付孔に上方から挿通した締結ネジ、前後の取付位置を調節した前記接地部材の螺孔に螺合された状態で、前記下横部材に接地部材が取付けられているので、接地部材の後方突出長さを一段階又は多段階に調節することができ、しかも上方からの作業で締結ネジを緩め、あるいは締め付け、接地部材の取付位置を容易に変更することができる。 According to a fourth aspect of the present invention, the rear portion of the lower horizontal member is formed with a plurality of mounting holes penetrating up and down in the front-rear direction, and the grounding member opens upward corresponding to the mounting hole. defined across at least two pairs of screw holes, said lower horizontal fastening screws inserted from above into the mounting hole of the member is in a state of being screwed into the threaded hole of the grounding member to adjust the mounting position of the front and rear, the Since the grounding member is attached to the lower horizontal member, the rearward projecting length of the grounding member can be adjusted in one step or multiple steps, and the fastening screw can be loosened or tightened by work from above, The mounting position can be easily changed.

請求項によれば、前記下横部材の下面に前後方向に間隔を隔てて複数のダボを下方へ向けて突設するとともに、前記接地部材の上面に前記ダボを受け入れる前後方向に延びた係合溝を形成しているので、締結ネジを外し、下横部材に対して接地部材を前後に移動させる際に、ダボが係合溝内でスライド移動して案内するので、下横部材に対して接地部材が左右にずれることがなく、しかも前記ダボの何れか一つが係合溝の終端に当止した状態で、前記取付孔と螺孔の上下位置が一致するように設定してなるので、前記螺孔を目視により確認することなく、取付孔に上方から締結ネジを挿入するだけで、対応する螺孔に締結ネジを螺合することができ、接地部材の取付位置を極めて容易に変更することができる。 According to a fifth aspect of the present invention, the plurality of dowels project downward from the lower surface of the lower horizontal member at intervals in the front-rear direction, and the engagement extends in the front-rear direction to receive the dowels on the upper surface of the grounding member. Since the mating groove is formed, when the ground screw is moved back and forth with respect to the lower horizontal member by removing the fastening screw, the dowel slides and guides in the engagement groove. The grounding member is not shifted left and right, and the mounting hole and the screw hole are set to coincide with each other in a state where any one of the dowels is stopped at the end of the engaging groove. Without having to visually check the screw holes, just by inserting the fastening screws into the mounting holes from above, the fastening screws can be screwed into the corresponding screw holes, and the mounting position of the grounding member can be changed very easily. can do.

請求項によれば、前記接地部材の下面の後部を接地部とし、該接地部の前側を段落ちした非接地部としてなるので、床面に多少不陸があっても、接地部材の後部の接地部が確実に床面に接触して安定に支持することができる。 According to the sixth aspect , since the rear portion of the lower surface of the grounding member is a grounding portion and the front side of the grounding portion is a non-grounding portion stepped down, the rear portion of the grounding member can be provided even if there is some unevenness on the floor surface. Can reliably support the grounding portion in contact with the floor surface.

本発明を適用した学習机を示し、(a)は拡張天板が格納姿勢で接地部材を前側位置に取付けた状態の斜視図、(b)は拡張天板が水平姿勢で接地部材を後側位置に取付けた状態の斜視図である。The learning desk to which this invention is applied is shown, (a) is a perspective view of the state in which the extended top plate is retracted and the grounding member is attached to the front position, and (b) is the rear side of the grounding member with the extended top plate in the horizontal posture. It is a perspective view of the state attached to the position. 同じく本発明を適用した学習机を示し、(a)は拡張天板が格納姿勢で接地部材を前側位置に取付けた状態の側面図、(b)は拡張天板が水平姿勢で接地部材を後側位置に取付けた状態の側面図である。Similarly, the learning desk to which the present invention is applied is shown. (A) is a side view of the state in which the extended top plate is retracted and the grounding member is attached to the front position, and (b) is the rear side of the grounding member in the horizontal posture. It is a side view of the state attached to the side position. 本発明の要部の拡大縦断面図である。It is an expanded longitudinal cross-sectional view of the principal part of this invention. 拡張天板が格納姿勢の状態の要部縦断面図である。It is a principal part longitudinal cross-sectional view of a state in which the extended top plate is in the retracted posture. 拡張天板が水平姿勢の状態の要部縦断面図である。It is a principal part longitudinal cross-sectional view of a state with an extended top plate in a horizontal posture. 左右一方の接地部材の後端部内側に他の接地部材の後端を平面視L字状に連結した場合の説明用斜視図である。It is a perspective view for explanation at the time of connecting the rear end of another grounding member inside the rear end part of one of the right and left grounding members in the shape of a L in plan view.

次に、添付図面に示した実施形態に基づき、本発明を更に詳細に説明する。図1〜図5は本発明の机の脚装置を適用した実施形態に係る学習机を示し、図中Aは学習机、1は天板、2は脚体、3は前支脚、4は後支脚、5は下横部材、6は接地部材をそれぞれ示している。   Next, the present invention will be described in more detail based on the embodiments shown in the accompanying drawings. 1 to 5 show a learning desk according to an embodiment to which the desk leg device of the present invention is applied, in which A is a learning desk, 1 is a top board, 2 is a leg, 3 is a front support leg, and 4 is a rear. The support legs 5 are lower horizontal members, and 6 is a grounding member.

本発明の机の脚装置は、天板1の両側部を支持する脚体2,2の床面に対する接地形態を変更可能な机の脚装置であって、前記脚体2は、前支脚3と該前支脚3よりも短い後支脚4を有するとともに、前記前支脚3と後支脚4の下端部間に下横部材5を連結し、該下横部材5の下面は前記後支脚4の下端面と面一に設定するとともに、前記前支脚3の下端より高い位置に設定し、前記下横部材5と後支脚4の下面側に、前後方向に延びた接地部材6を前後の取付位置を変更可能に取付け、前記前支脚3と該接地部材6を床面に接触させて支持してなるものである。ここで、前記前支脚3の下端は固定接地部2Aとなり、その後方の下横部材5と後支脚4の下面側が接地部材取付部2Bとなる。 The desk leg device according to the present invention is a desk leg device capable of changing the ground contact form with respect to the floor surface of the legs 2 and 2 that support both sides of the top board 1. And a rear support leg 4 shorter than the front support leg 3, and a lower horizontal member 5 is connected between the lower ends of the front support leg 3 and the rear support leg 4, and the lower surface of the lower horizontal member 5 is below the rear support leg 4. It is set to be flush with the end face, and is set to a position higher than the lower end of the front support leg 3, and a grounding member 6 extending in the front-rear direction is provided on the lower surface side of the lower horizontal member 5 and the rear support leg 4. The front support leg 3 and the grounding member 6 are supported by being brought into contact with the floor surface. Here, the lower end of the front support leg 3 is a fixed grounding portion 2A, and the lower lateral member 5 and the lower surface side of the rear support leg 4 are grounding member attaching portions 2B.

また、図示しないが、前記脚体2は、前支脚3と該前支脚3よりも短い後支脚4を有するとともに、前記前支脚3の下端部後面と後支脚4の下端面とに下横部材5を連結し、該下横部材5の下面は前記前支脚3の下端より高い位置に設定して接地部材取付部2Bとしても良い。更には、一枚物の板状の脚体2の前端部下端に固定接地部2Aを設け、該固定接地部2Aの後方に段差を設けて接地部材取付部2Bを設けても良い。   Although not shown, the leg 2 has a front support leg 3 and a rear support leg 4 shorter than the front support leg 3. 5, and the lower surface of the lower horizontal member 5 may be set to a position higher than the lower end of the front support leg 3 to serve as the grounding member mounting portion 2B. Furthermore, the fixed grounding portion 2A may be provided at the lower end of the front end of the single plate-like leg 2 and the grounding member attaching portion 2B may be provided by providing a step behind the fixed grounding portion 2A.

本発明の机の脚装置を適用した学習机Aは、天板1の両側部を脚体2,2で支持し、両脚体2の後端より前記天板1の後端を若干後方へ突出させて設定するとともに、該天板1又は前記脚体2に直接又は他の部材を介して間接的に拡張天板7を設け、該拡張天板7が前記天板1の後端に連続して該天板1と上面を面一となした水平姿勢と、前記天板1の後端より後方へ突出しない格納姿勢とをとることが可能なものである。そして、前記脚体2の下端に設けた前記接地部材6は、前記拡張天板7を天板1の後方へ水平姿勢に配した天板拡張仕様で、前記接地部材6を後方へ突出するようにずらせて付け替えることにより、安定に支持することができるようにするのである。   In the learning desk A to which the desk leg device of the present invention is applied, both sides of the top board 1 are supported by the legs 2 and 2, and the rear end of the top board 1 protrudes slightly rearward from the rear ends of both legs 2. And an extended top plate 7 is provided directly on the top plate 1 or the leg 2 or indirectly through another member, and the extended top plate 7 is connected to the rear end of the top plate 1. Thus, a horizontal posture in which the top surface of the top plate 1 is flush with the top plate 1 and a retracted posture that does not protrude rearward from the rear end of the top plate 1 can be taken. And the said grounding member 6 provided in the lower end of the said leg 2 is the top-plate expansion specification which has arrange | positioned the said expansion top plate 7 to the back of the top plate 1 in the horizontal position so that the said grounding member 6 may protrude back. It is possible to support it stably by changing the position.

つまり、前記接地部材6を前記脚体2に対して前方に取付けた際には、該接地部材6の後端が前記天板1の後端と同一鉛直面になる通常脚態様と、前記接地部材6を前記脚体2に対して後方に取付けた際には、該接地部材6の後端が前記天板1の後端より後方へ突出した拡張脚態様と、をとることが可能である。   That is, when the grounding member 6 is mounted forward with respect to the leg 2, the normal leg form in which the rear end of the grounding member 6 is flush with the rear end of the top plate 1, and the grounding When the member 6 is attached rearward to the leg 2, it is possible to take an extended leg form in which the rear end of the grounding member 6 protrudes rearward from the rear end of the top plate 1. .

更に、前記学習机Aの各部の詳細を説明する。本実施形態の学習机Aは木製であり、各部材も木製で作成されている。前記脚体2は、前後に配した前支脚3と後支脚4の上下端部間を、それぞれ上横部材8と下横部材5を連結して側面視略四角形のフレームを構成している。   Further, details of each part of the learning desk A will be described. The learning desk A of this embodiment is made of wood, and each member is made of wood. The leg 2 forms a substantially rectangular frame in side view by connecting an upper horizontal member 8 and a lower horizontal member 5 between the upper and lower ends of the front support leg 3 and the rear support leg 4 arranged in the front-rear direction.

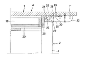
更に詳しくは、図1〜図3に示すように、前記脚体2は、前支脚3と該前支脚3よりも短い後支脚4を有するとともに、前記前支脚3と後支脚4の下端部間に前記下横部材5を連結し、該下横部材5の下面9は前記後支脚4の下端面10と面一に設定するとともに、前記前支脚3の下端より高い位置に設定し、前記下横部材5と後支脚4の下面側に、前後方向に延びた前記接地部材6を前後の取付位置を変更可能に取付け、前記前支脚3と該接地部材6を床面に接触させて支持してなるように構成した。 More specifically, as shown in FIGS. 1 to 3, the leg body 2 includes a front support leg 3 and a rear support leg 4 shorter than the front support leg 3, and between the front support leg 3 and the lower end of the rear support leg 4. The lower horizontal member 5 is connected to the lower support member 5 so that the lower surface 9 of the lower support member 5 is set to be flush with the lower end surface 10 of the rear support leg 4 and is set to a position higher than the lower end of the front support leg 3. The grounding member 6 extending in the front-rear direction is attached to the lower surface side of the lateral member 5 and the rear support leg 4 so that the front and rear attachment positions can be changed, and the front support leg 3 and the grounding member 6 are supported by contacting the floor surface. It was comprised so that it might become.

そして、前記下横部材5の後部には前後方向に間隔を設けて複数の取付孔11,11を上下貫通して形成し、前記接地部材6には前記取付孔11,11に対応して上方に開口した少なくとも2組の螺孔12,…を前後に形成し、前記下横部材5の取付孔11に上方から挿通した締結ネジ13を、前後の取付位置を調節した前記接地部材6の螺孔12に螺合するようにしている。本実施形態では、前記下横部材5の後部に前後に二つの取付孔11,11を形成するとともに、前記接地部材6に前記取付孔11,11の間隔と一致させて、前後に3つの螺孔12,…を形成している。つまり、前側の螺孔12と中央の螺孔12が1組を構成し、中央の螺孔12と後側の螺孔12が1組を構成する。即ち、前記接地部材6に前記取付孔11,11に対応して2組の螺孔12,…を前後に形成している。   A plurality of mounting holes 11 and 11 are formed in the rear portion of the lower horizontal member 5 with a space in the front-rear direction so as to penetrate vertically, and the grounding member 6 has an upper portion corresponding to the mounting holes 11 and 11. Are formed in the front and rear, and a fastening screw 13 inserted from above into the mounting hole 11 of the lower lateral member 5 is screwed into the grounding member 6 with the front and rear mounting positions adjusted. The holes 12 are screwed together. In the present embodiment, two attachment holes 11 and 11 are formed in the front and rear in the rear portion of the lower horizontal member 5, and three screws are provided in the front and rear to match the distance between the attachment holes 11 and 11 in the grounding member 6. Holes 12 are formed. That is, the front screw hole 12 and the central screw hole 12 constitute one set, and the central screw hole 12 and the rear screw hole 12 constitute one set. That is, two sets of screw holes 12,... Are formed in the ground member 6 corresponding to the mounting holes 11, 11.

更に、前記下横部材5の下面9に前後方向に間隔を隔てて複数のダボ14,14を下方へ向けて突設するとともに、前記接地部材6の上面15に前記ダボ14,14を受け入れる前後方向に延びた係合溝16を形成し、前記ダボ14,14の何れか一つが係合溝16の終端に当止した状態で、前記取付孔11と螺孔12の上下位置が一致するように設定した。本実施形態では、前記両取付孔11,11の間の下横部材5の下面9に、二つのダボ14,14を並設し、両ダボ14,14が、前記接地部材6の上面15に形成した1本の係合溝16に同時に係合するようにしている。そして、後側のダボ14に係合溝16の後側終端が当止し、あるいは該接地部材6の前端が前記前支脚3の後面に当止した状態で、前記取付孔11,11が後側の1組の螺孔12,12と上下位置が一致し(通常脚態様)、また前側のダボ14に係合溝16の前側終端が当止した状態で、前記取付孔11,11が前側の1組の螺孔12,12と上下位置が一致する(拡張脚態様)。   Further, a plurality of dowels 14, 14 project downward from the lower surface 9 of the lower lateral member 5 at intervals in the front-rear direction, and before and after receiving the dowels 14, 14 on the upper surface 15 of the grounding member 6. In the state where the engaging groove 16 extending in the direction is formed, and any one of the dowels 14 and 14 is in contact with the terminal end of the engaging groove 16, the vertical positions of the mounting hole 11 and the screw hole 12 are matched. Set to. In the present embodiment, two dowels 14, 14 are juxtaposed on the lower surface 9 of the lower lateral member 5 between the mounting holes 11, 11, and both dowels 14, 14 are on the upper surface 15 of the grounding member 6. The formed engagement grooves 16 are simultaneously engaged with each other. The mounting holes 11 and 11 are connected to the rear dowels 14 with the rear end of the engagement groove 16 abutting or the front end of the grounding member 6 abutting against the rear surface of the front support leg 3. In the state where the vertical position coincides with the pair of screw holes 12 and 12 on the side (normal leg form) and the front end of the engagement groove 16 stops against the front dowel 14, The vertical positions coincide with the set of screw holes 12 and 12 (expansion leg mode).

2本の前記ダボ14,14が、係合溝16に係合することで、前記下横部材5に対して接地部材6を前後方向にスライド移動させる際に、該接地部材6が左右にずれたり、回転することがなく、常に下横部材5の下面9に沿って接地部材6の上面15が摺動する。この接地部材6の前後スライド移動操作は、学習机Aを通常の姿勢のまま行うことができる。そして、前記接地部材6を通常脚態様あるいは拡張脚態様の位置に設定した後、前記螺孔12が目視できなくても前記取付孔11と螺孔12の位置が正確に定まっているので、上方から締結ネジ13を取付孔11に挿入し、螺孔12に螺合することが可能である。   When the two dowels 14, 14 are engaged with the engagement grooves 16, when the grounding member 6 is slid in the front-rear direction with respect to the lower lateral member 5, the grounding member 6 is shifted left and right. The upper surface 15 of the grounding member 6 always slides along the lower surface 9 of the lower horizontal member 5 without rotating. This forward / backward slide movement operation of the grounding member 6 can be performed with the learning desk A in a normal posture. Then, after the grounding member 6 is set to the position of the normal leg form or the extended leg form, the positions of the mounting hole 11 and the screw hole 12 are accurately determined even if the screw hole 12 is not visible. The fastening screw 13 can be inserted into the mounting hole 11 and can be screwed into the screw hole 12.

また、前記接地部材6の下面の後部を接地部17とし、該接地部17の前側を段落ちした非接地部18とし、床面に不陸があっても常に接地部材6の後部の接地部17を床面に接触させることができる。   Further, the rear part of the lower surface of the grounding member 6 is a grounding part 17, and the front side of the grounding part 17 is a non-grounding part 18 that is stepped down. 17 can be brought into contact with the floor surface.

次に、前記学習机Aの各部を更に詳細に説明する。前記天板1の下面には、引出し19,…を引き出し可能に保持する支持枠20を両側部を余して固定し、前記脚体2の上端部を該支持枠の側面に連結するとともに、該脚体2の上端を前記天板1の下面にピンダボ等で強固に固定している。更に、両脚体2,2の後支脚4,4の下部後端間に連結部材21を連結して剛性を高めている。   Next, each part of the learning desk A will be described in more detail. On the lower surface of the top plate 1, a support frame 20 that holds the drawers 19 so as to be able to be pulled out is fixed, leaving both sides, and the upper end of the leg 2 is connected to the side surface of the support frame, The upper end of the leg 2 is firmly fixed to the lower surface of the top plate 1 with a pin dowel or the like. Furthermore, the connecting member 21 is connected between the lower rear ends of the rear support legs 4 and 4 of both legs 2 and 2 to increase the rigidity.

そして、前記学習机Aは、図4及び図5に示すように、前記拡張天板7を、支持アーム22,22を介して両脚体2,2の後支脚4,4に上下回動可能に設けている。更に、前記拡張天板7の下面両側部に奥行方向と平行に固定した支持アーム22,22の基端側突出部23,23に、該拡張天板7の上面と平行な長孔24を形成するとともに、該長孔24より拡張天板7側に上下に貫通した支持孔25を形成し、前記長孔24に通した支軸26を前記脚体2の内面側に固定して上下回動可能としている。また、前記拡張天板7が水平姿勢の状態で前記支持孔25に通した固定ネジ27を天板1の下面の螺孔28に螺合し、また拡張天板7が格納姿勢の状態で前記支持孔25に後方から通した固定ネジ27を前記支持枠20の背面に形成した螺孔28に螺合して姿勢を保持する。   As shown in FIGS. 4 and 5, the learning desk A can turn the extended top plate 7 up and down on the rear support legs 4, 4 via the support arms 22, 22. Provided. Further, elongated holes 24 parallel to the upper surface of the extended top plate 7 are formed in the base end side protruding portions 23 and 23 of the support arms 22 and 22 fixed to both sides of the lower surface of the extended top plate 7 in parallel with the depth direction. At the same time, a support hole 25 penetrating vertically from the long hole 24 to the side of the extended top plate 7 is formed, and the support shaft 26 passed through the long hole 24 is fixed to the inner surface side of the leg body 2 to rotate up and down. It is possible. Further, a fixing screw 27 passed through the support hole 25 in a state where the extended top plate 7 is in a horizontal posture is screwed into a screw hole 28 on the lower surface of the top plate 1, and the extended top plate 7 is in a retracted posture. A fixing screw 27 passed through the support hole 25 from behind is screwed into a screw hole 28 formed in the back surface of the support frame 20 to maintain the posture.

更に、前記拡張天板7の左右中間部で下面から前方へ突片29を突設するとともに、前記天板1の下面後端縁に前記突片29を嵌入する受け金具30を取付け、前記拡張天板7を水平姿勢にしたときに、前記突片29を受け金具30に嵌入することにより、該拡張天板7の上下方向の撓み変形を防止している。   Further, a projecting piece 29 is projected forward from the lower surface at the left and right intermediate portions of the extended top plate 7, and a receiving metal fitting 30 for fitting the projecting piece 29 is attached to the rear end edge of the lower surface of the top plate 1. When the top plate 7 is set in a horizontal posture, the projecting piece 29 is fitted into the metal fitting 30 to prevent the expansion top plate 7 from being bent in the vertical direction.

本実施形態の学習机Aは、天板1の両側部を脚体2,2で支持した剛構造であるので、常に重心バランスが安定し、該天板1又は前記脚体に直接又は他の部材を介して間接的に拡張天板7を設け、該拡張天板7が前記天板1の後端に連続して該天板1と上面を面一となした水平姿勢と、前記天板1の後端より後方へ突出しない格納姿勢とをとることが可能であり、また拡張天板7が水平姿勢の状態においては天板1と拡張天板7が一体となって奥行幅の広い机とすることができ、該拡張天板7で後方へ奥行幅を拡張した場合でも、接地部材6を脚体2に対して後方へずらせて取付けることにより安定に支持することができる。つまり、拡張天板7に通常使用では想定できない大きな荷重がかかってもその下方を接地部材6で支持するので、机の前部が持ち上がって倒れることがないのである。一方、拡張天板7が格納姿勢の状態においては、天板1の後端より拡張天板7が後方へ突出せず、また接地部材6を脚体2に対して前側に取付ければ、脚体2の後方に邪魔にならないので、当該机の後端を壁面又は書棚の前面に沿わせて配置することができる。   Since the learning desk A of the present embodiment has a rigid structure in which both sides of the top board 1 are supported by the legs 2 and 2, the balance of the center of gravity is always stable, and the top board 1 or the leg body directly or other An extended top plate 7 is provided indirectly through a member, and the extended top plate 7 is connected to the rear end of the top plate 1 so that the top plate 1 and the top surface are flush with each other, and the top plate 1 in a retracted position that does not protrude rearward from the rear end of the head 1, and in a state where the extended top 7 is in a horizontal position, the top 1 and the extended top 7 are united to form a desk having a wide depth. Even when the depth width is expanded rearward by the extended top plate 7, the grounding member 6 can be stably supported by being shifted rearward with respect to the leg body 2. That is, even if a large load that cannot be assumed in normal use is applied to the extended top plate 7, the lower portion is supported by the grounding member 6, so that the front portion of the desk does not rise and fall down. On the other hand, when the extended top plate 7 is in the retracted position, the extended top plate 7 does not protrude rearward from the rear end of the top plate 1, and if the grounding member 6 is attached to the front side with respect to the leg body 2, Since it does not get in the way behind the body 2, the rear end of the desk can be arranged along the wall surface or the front of the bookcase.

また、本実施形態の学習机Aをユニット仕様に組替えた際に、例えば天板1の一側に書棚等を連結する場合、連結側の接地部材6が不要、あるいは邪魔になる場合に、該接地部材6を外して他側の接地部材6の後端部内面側に平面視略L字形に連結するようにしている。図6に示すように、前記接地部材6の後端部内側に、平面視において幅を広くした拡幅部31を形成し、該拡幅部31の側面に、他の接地部材6の後端を着脱可能に連結できるようにしている。それには、回転締付具32と係止ピン33を用いる。具体的には、前記接地部材6の拡幅部31の後部に、前記回転締付具32を収容する上方開放した円孔34を設けるとともに、該円孔34から後端へ貫通した通孔35を形成し、更に拡幅部31の前部の内面にオニメナット等を埋設して螺孔36を形成している。そして、一方の接地部材6の螺孔36に前記係止ピン33の基部を螺合し、該係止ピン33を他方の接地部材6の通孔35に挿入した後、前記円孔34に前記回転締付具32を挿入して、前記係止ピン33の頭部を係合し、該回転締付具32を回転させて前記係止ピン33を引き付けて連結する。   Further, when the learning desk A according to the present embodiment is reconfigured to unit specifications, for example, when connecting a bookcase or the like to one side of the top plate 1, the grounding member 6 on the connection side is unnecessary or becomes an obstacle. The grounding member 6 is removed and connected to the inner surface of the rear end of the grounding member 6 on the other side in a substantially L shape in plan view. As shown in FIG. 6, a widened portion 31 that is wider in plan view is formed inside the rear end of the grounding member 6, and the rear end of the other grounding member 6 is attached to and detached from the side surface of the widened portion 31. It can be connected as possible. For this purpose, a rotary fastener 32 and a locking pin 33 are used. Specifically, a circular hole 34 opened upward to accommodate the rotary fastener 32 is provided at the rear part of the widened part 31 of the grounding member 6, and a through hole 35 penetrating from the circular hole 34 to the rear end is provided. The screw hole 36 is formed by embedding a nut or the like on the inner surface of the front portion of the widened portion 31. Then, the base of the locking pin 33 is screwed into the screw hole 36 of one grounding member 6, the locking pin 33 is inserted into the through hole 35 of the other grounding member 6, and then the circular hole 34 is The rotary fastening tool 32 is inserted, the head of the locking pin 33 is engaged, the rotary fastening tool 32 is rotated, and the locking pin 33 is attracted and connected.

尚、前記前支脚の下端と、前記接地部材6の接地部17に高さ調節可能なアジャスターを設けることも可能である。   It is also possible to provide height-adjustable adjusters at the lower end of the front support leg and the grounding portion 17 of the grounding member 6.

A 学習机、
2A 固定接地部、 2B 接地部材取付部、
1 天板、 2 脚体、
3 前支脚、 4 後支脚、
5 下横部材、 6 接地部材、
7 拡張天板、 8 上横部材、
9 下面、 10 下端面、
11 取付孔、 12 螺孔、
13 締結ネジ、 14 ダボ、
15 上面、 16 係合溝、
17 接地部、 18 非接地部、
20 支持枠、 21 連結部材、
22 支持アーム、 23 基端側突出部、
24 長孔、 25 支持孔、
26 支軸、 27 固定ネジ、
28 螺孔、 29 突片、
30 受け金具、 31 拡幅部、
32 回転締付具、 33 係止ピン、
34 円孔、 35 通孔、
36 螺孔。
A study desk,
2A fixed grounding part, 2B grounding member mounting part,
1 top plate, 2 legs,
3 front support legs, 4 rear support legs,
5 Lower horizontal member, 6 Grounding member,
7 Extended top plate, 8 Upper horizontal member,
9 bottom surface, 10 bottom surface,
11 mounting holes, 12 screw holes,
13 fastening screws, 14 dowels,
15 upper surface, 16 engagement groove,
17 Grounding part, 18 Non-grounding part,
20 support frame, 21 connecting member,
22 support arms, 23 proximal-side protrusions,
24 long holes, 25 support holes,
26 spindles, 27 fixing screws,
28 screw holes, 29 protrusions,
30 bracket, 31 widened part,
32 rotary fasteners, 33 locking pins,
34 circular holes, 35 through holes,
36 Screw holes.

Claims (6)

天板の両側部を支持する脚体の床面に対する接地形態を変更可能な机の脚装置であって、前記脚体は、下端が固定接地部である前支脚と該前支脚よりも短い後支脚を有し、前記固定接地部の後方に段差を設けて接地部材取付部を設け、該接地部材取付部に前後方向に延びた接地部材を前後の取付位置を変更可能に取付け、前記固定接地部と該接地部材を床面に接触させて支持してなることを特徴とする机の脚装置。 A leg device for a desk capable of changing a grounding form with respect to a floor surface of a leg supporting both sides of the top board, the leg having a front support leg whose lower end is a fixed grounding part and a rear part shorter than the front support leg. A supporting leg is provided, a step is provided behind the fixed grounding portion to provide a grounding member mounting portion, and a grounding member extending in the front-rear direction is mounted on the grounding member mounting portion so that the mounting position of the front and rear can be changed, and the fixed grounding A desk leg device, characterized in that the table and the grounding member are supported in contact with the floor surface. 前記脚体は、前記前支脚と後支脚の下端部間に下横部材を連結し、該下横部材の下面は前記後支脚の下端面と面一に設定するとともに、前記前支脚の下端より高い位置に設定して前記接地部材取付部とし、該接地部材取付部に位置する前記下横部材の下面側に、前後方向に延びた接地部材を前後の取付位置を変更可能に取付け、前記前支脚の下端の固定接地部と該接地部材を床面に接触させて支持してなる請求項1記載の机の脚装置。 The leg is, the front connecting the lower lateral member between the lower end of the rear support leg and support leg, with the lower surface of the lower transverse member is set to the lower end surface flush with the rear support legs, the lower end of the front support legs and the grounding member mounting portion is set to a high position, the lower surface of the lower horizontal member positioned grounding member mounting portion, mounted for changing the mounting position of the front and rear ground member extending in the longitudinal direction, the front The desk leg device according to claim 1, wherein the fixed grounding portion at the lower end of the support leg and the grounding member are supported in contact with the floor surface. 前記脚体は、前記前支脚の下端部後面と後支脚の下端面とに下横部材を連結し、該下横部材の下面は前記前支脚の下端より高い位置に設定して前記接地部材取付部とし、該接地部材取付部に位置する前記下横部材の下面側に、前後方向に延びた接地部材を前後の取付位置を変更可能に取付け、前記前支脚の下端の固定接地部と該接地部材を床面に接触させて支持してなる請求項1記載の机の脚装置。 The leg is, the front connecting the lower lateral member and a lower end rear surface and the rear support leg lower end surface of the support leg, the lower surface of the lower transverse member and the grounding member mounting set to a position higher than the lower end of the front support legs A grounding member extending in the front-rear direction is attached to the lower surface side of the lower horizontal member located at the grounding member mounting portion so that the mounting position of the front and rear can be changed, and the fixed grounding portion at the lower end of the front support leg and the grounding The desk leg device according to claim 1, wherein the member is supported by contacting the floor surface. 前記下横部材の後部には前後方向に間隔を設けて複数の取付孔を上下貫通して形成し、前記接地部材には前記取付孔に対応して上方に開口した少なくとも2組の螺孔を前後に形成し、前記下横部材の取付孔に上方から挿通した締結ネジ、前後の取付位置を調節した前記接地部材の螺孔に螺合された状態で、前記下横部材に接地部材が取付けられている請求項2又は3記載の机の脚装置。 A plurality of mounting holes are formed vertically through the rear portion of the lower horizontal member so as to be spaced in the front-rear direction, and at least two sets of screw holes opened upward corresponding to the mounting holes are formed in the grounding member. defined across, fastening screws inserted from above into the mounting hole of the lower horizontal member, in a state of being screwed into the threaded hole of the grounding member to adjust the mounting position of the front and rear, the ground member to the lower lateral member The desk leg apparatus of Claim 2 or 3 attached . 前記下横部材の下面に前後方向に間隔を隔てて複数のダボを下方へ向けて突設するとともに、前記接地部材の上面に前記ダボを受け入れる前後方向に延びた係合溝を形成し、前記ダボの何れか一つが係合溝の終端に当止した状態で、前記取付孔と螺孔の上下位置が一致するように設定してなる請求項記載の机の脚装置。 A plurality of dowels projecting downward from the lower surface of the lower horizontal member at intervals in the front-rear direction, and an engagement groove extending in the front-rear direction for receiving the dowels is formed on the upper surface of the ground member, The desk leg device according to claim 4 , wherein the mounting hole and the screw hole are set so that the vertical positions thereof coincide with each other when one of the dowels is in contact with the end of the engaging groove. 前記接地部材の下面の後部を接地部とし、該接地部の前側を段落ちした非接地部としてなる請求項1〜何れか1項に記載の机の脚装置。 The desk leg device according to any one of claims 1 to 5, wherein a rear portion of the lower surface of the ground member is a ground portion, and a front side of the ground portion is a non-ground portion.
JP2012127584A 2012-06-04 2012-06-04 Desk leg equipment Active JP5983057B2 (en)

Priority Applications (1)

Application Number Priority Date Filing Date Title
JP2012127584A JP5983057B2 (en) 2012-06-04 2012-06-04 Desk leg equipment

Applications Claiming Priority (1)

Application Number Priority Date Filing Date Title
JP2012127584A JP5983057B2 (en) 2012-06-04 2012-06-04 Desk leg equipment

Publications (2)

Publication Number Publication Date
JP2013248354A JP2013248354A (en) 2013-12-12
JP5983057B2 true JP5983057B2 (en) 2016-08-31

Family

ID=49847617

Family Applications (1)

Application Number Title Priority Date Filing Date
JP2012127584A Active JP5983057B2 (en) 2012-06-04 2012-06-04 Desk leg equipment

Country Status (1)

Country Link
JP (1) JP5983057B2 (en)

Families Citing this family (1)

* Cited by examiner, † Cited by third party
Publication number Priority date Publication date Assignee Title
JP7549884B2 (en) 2021-02-27 2024-09-12 株式会社ティーファブワークス Desk top extension device

Family Cites Families (6)

* Cited by examiner, † Cited by third party
Publication number Priority date Publication date Assignee Title
JP4307693B2 (en) * 2000-07-05 2009-08-05 大建工業株式会社 Shelf board mounting structure
JP4882484B2 (en) * 2005-05-27 2012-02-22 株式会社イトーキ Partition plate mounting device for learning furniture
JP2007029394A (en) * 2005-07-26 2007-02-08 Matsushita Electric Works Ltd Storage shelf
JP2007215711A (en) * 2006-02-16 2007-08-30 Rising:Kk Stack type furniture
US7975625B2 (en) * 2007-09-24 2011-07-12 Lifetime Products, Inc. Folding table
JP5531456B2 (en) * 2009-06-03 2014-06-25 株式会社イトーキ Reconfigurable learning furniture

Also Published As

Publication number Publication date
JP2013248354A (en) 2013-12-12

Similar Documents

Publication Publication Date Title
JP5641104B2 (en) Learning desk and furniture combining learning desk and bookcase
JP5983057B2 (en) Desk leg equipment
JP5119750B2 (en) Desk leg equipment
JP2008301972A (en) Support device for accessory member in shelf device
JP2011177586A (en) Fitting device of desktop panel
JP5275405B2 (en) Desk leg equipment
JP3645869B2 (en) Desk and desk system
JP5817224B2 (en) Desk with side panel
JP5304014B2 (en) Desktop panel mounting device
JP4976946B2 (en) shelf
JP5531456B2 (en) Reconfigurable learning furniture
JP5148193B2 (en) Desk with shelf
JP5720120B2 (en) Wood-based desk
JP2019201740A (en) Furniture with top plate
JP2009261841A5 (en)
JP5379262B2 (en) shelf
US20200155388A1 (en) Assistance chair assembly
JP7770172B2 (en) Uneven adjustment structure
JP7765955B2 (en) Frame storage body
JP4763426B2 (en) Mounting structure of shelf board, and fixtures for nurse stations equipped with this shelf board
JP4289544B2 (en) Furniture legs
JP5923872B2 (en) desk
JP2007289354A (en) Reconfigurable desk with shelf
JP2012152588A5 (en)
JP5531457B2 (en) Rack equipment

Legal Events

Date Code Title Description
A621 Written request for application examination

Free format text: JAPANESE INTERMEDIATE CODE: A621

Effective date: 20141227

A977 Report on retrieval

Free format text: JAPANESE INTERMEDIATE CODE: A971007

Effective date: 20150520

A131 Notification of reasons for refusal

Free format text: JAPANESE INTERMEDIATE CODE: A131

Effective date: 20150602

A521 Request for written amendment filed

Free format text: JAPANESE INTERMEDIATE CODE: A523

Effective date: 20150803

A131 Notification of reasons for refusal

Free format text: JAPANESE INTERMEDIATE CODE: A131

Effective date: 20151215

A521 Request for written amendment filed

Free format text: JAPANESE INTERMEDIATE CODE: A523

Effective date: 20160212

TRDD Decision of grant or rejection written
A01 Written decision to grant a patent or to grant a registration (utility model)

Free format text: JAPANESE INTERMEDIATE CODE: A01

Effective date: 20160705

A61 First payment of annual fees (during grant procedure)

Free format text: JAPANESE INTERMEDIATE CODE: A61

Effective date: 20160718

R150 Certificate of patent or registration of utility model

Ref document number: 5983057

Country of ref document: JP

Free format text: JAPANESE INTERMEDIATE CODE: R150

S531 Written request for registration of change of domicile

Free format text: JAPANESE INTERMEDIATE CODE: R313531

R350 Written notification of registration of transfer

Free format text: JAPANESE INTERMEDIATE CODE: R350

R250 Receipt of annual fees

Free format text: JAPANESE INTERMEDIATE CODE: R250