JP5815978B2 - Vacuum cleaner suction tool - Google Patents

Vacuum cleaner suction tool Download PDF

Info

Publication number
JP5815978B2
JP5815978B2 JP2011098628A JP2011098628A JP5815978B2 JP 5815978 B2 JP5815978 B2 JP 5815978B2 JP 2011098628 A JP2011098628 A JP 2011098628A JP 2011098628 A JP2011098628 A JP 2011098628A JP 5815978 B2 JP5815978 B2 JP 5815978B2
Authority
JP
Japan
Prior art keywords
suction tool
cleaned
vacuum cleaner
dust
cavity
Prior art date
Legal status (The legal status is an assumption and is not a legal conclusion. Google has not performed a legal analysis and makes no representation as to the accuracy of the status listed.)
Expired - Fee Related
Application number
JP2011098628A
Other languages
Japanese (ja)
Other versions
JP2012228376A (en
Inventor
孝広 木下
孝広 木下
Current Assignee (The listed assignees may be inaccurate. Google has not performed a legal analysis and makes no representation or warranty as to the accuracy of the list.)
Individual
Original Assignee
Individual
Priority date (The priority date is an assumption and is not a legal conclusion. Google has not performed a legal analysis and makes no representation as to the accuracy of the date listed.)
Filing date
Publication date
Application filed by Individual filed Critical Individual
Priority to JP2011098628A priority Critical patent/JP5815978B2/en
Publication of JP2012228376A publication Critical patent/JP2012228376A/en
Application granted granted Critical
Publication of JP5815978B2 publication Critical patent/JP5815978B2/en
Expired - Fee Related legal-status Critical Current
Anticipated expiration legal-status Critical

Links

Images

Landscapes

  • Nozzles For Electric Vacuum Cleaners (AREA)

Description

本発明は、電気掃除機本体あるいは掃除機本体から延在する延長管に取り付けて、被清掃面の清掃を行う吸込具に関する。   The present invention relates to a suction tool that is attached to an electric vacuum cleaner main body or an extension pipe extending from the main body of the vacuum cleaner and cleans a surface to be cleaned.

電気掃除機に取り付けて用いる吸込具には、主に床面等の広く平坦な被清掃面の清掃に用いられる比較的大型のものと、主に狭小な空間や凹凸を有する被清掃面の清掃に用いられる比較的小型のものとがある。前者は略T字型の形状と回転ブラシ機構等を有するものが一般的であり、後者は用途に応じた形状の簡易な構造を有するものが一般的であり、先端部に固定ブラシ体を備えるものも多い。また、後者は特に、自動車の車内や荷台等の清掃用の手持ち型の小型電気掃除機に取り付けて使用されるものが広く知られている。   The suction tools that are attached to the vacuum cleaner are mainly used for cleaning large and flat surfaces to be cleaned, such as floor surfaces, and mainly for cleaning surfaces to be cleaned that have narrow spaces and irregularities. Some of them are relatively small. The former generally has a substantially T-shaped shape and a rotating brush mechanism, etc., and the latter generally has a simple structure having a shape corresponding to the application, and has a fixed brush body at the tip. There are many things. In particular, the latter is widely known to be used by being attached to a hand-held small vacuum cleaner for cleaning the interior of a car or a loading platform.

前記先端部に固定ブラシ体を備える比較的小型の吸込具については、たとえば特許文献1乃至4に開示される吸込具の如く、ブラシ体部分の構造や性状に様々な工夫がなされたものが知られているが、これらの吸込具はブラシ体として植毛ブラシを用いている。
特開平11−262412号公報 特開2001−224536号公報 特開2004−135956号公報 特開2010−131107号公報
With respect to a relatively small suction tool having a fixed brush body at the tip, for example, a suction tool disclosed in Patent Documents 1 to 4 has been devised in various ways in the structure and properties of the brush body portion. However, these suction tools use a flocking brush as a brush body.
Japanese Patent Laid-Open No. 11-262412 JP 2001-224536 A Japanese Patent Laid-Open No. 2004-13595 JP 2010-131107 A

そのため、塵埃等が被清掃面の表面に単に付着している場合であれば植毛ブラシの先端で塵埃等を除去して電気掃除機が吸引することで清掃できるが、被清掃面の素材が布やカーペット等であって塵埃等が素材の目地等に絡まっている等の場合は植毛ブラシでは塵埃等の十分な除去ができず、電気掃除機本体で有効に吸引して清掃できない場合があった。 For this reason, if dust or the like is simply attached to the surface of the surface to be cleaned, it can be cleaned by removing the dust or the like with the tip of the flocking brush and sucking it with a vacuum cleaner. If the dust is entangled with the material joints, etc., the flocking brush may not be able to remove the dust sufficiently, and the vacuum cleaner itself may not be able to clean it effectively by suction .

一方、従来から、ブラシ毛の先端部を傾斜させたいわゆる傾斜パイル生地が洋服用ブラシに用いられている。該傾斜パイル生地は特定の方向に傾斜した短いブラシ毛が生地表面に高密度に形成されており、ブラシ毛が傾斜した方向に被清掃面に対して傾斜パイル生地を擦過させれば、ブラシ毛の先端が被清掃面の目地内奥まで進入して塵埃等を掻き出すため、被清掃面の素材が布やカーペット等である場合も容易に塵埃等を有効に除去できるという特徴を有する。   On the other hand, conventionally, so-called inclined pile fabric in which the tip of the brush hair is inclined has been used for clothes brushes. In the inclined pile fabric, short brush hairs inclined in a specific direction are formed at a high density on the surface of the fabric, and if the inclined pile fabric is rubbed against the surface to be cleaned in the direction in which the brush hairs are inclined, Since the tip of the ink enters the inside of the surface to be cleaned and scrapes out dust and the like, even when the material of the surface to be cleaned is a cloth, carpet or the like, the dust and the like can be easily and effectively removed.

本発明は、以上の点に鑑みてなされたものであり、その目的は、被清掃面の素材が布やカーペット等である場合や、さらに被清掃面が湾曲面である場合でも容易に塵埃等を有効に除去できる、簡易な構造で低コストな電気掃除機用吸込具を提供することにある。 The present invention has been made in view of the above problems, and its object is easily even if and when the material of the surface to be cleaned is cloth and carpets, etc., is further surface to be cleaned is a curved surface dust An object of the present invention is to provide a vacuum cleaner suction tool that can effectively remove the above and the like and has a simple structure.

上記課題を解決するべく、本発明の請求項1に記載の発明は、集塵部と吸込管とから成る電気掃除機用吸込具であって、前記集塵部は中心の空洞部と薄板状の外縁部とから成り、被清掃面に接する前記外縁部下面の集塵面には生地表面のブラシ毛の先端部を前記空洞部方向に傾斜させた傾斜パイル生地から成る帯状ブラシ体を備えるとともに、前記外縁部にはその一部を上方に膨らませたブリスター形状として前記空洞部へ外気を吸入可能とした一つ又は複数の吸気部を設けてなることを特徴とする。 In order to solve the above-mentioned problems, the invention according to claim 1 of the present invention is a vacuum cleaner suction tool comprising a dust collection portion and a suction pipe, wherein the dust collection portion has a central cavity and a thin plate shape. And a dust-collecting surface on the lower surface of the outer edge portion that is in contact with the surface to be cleaned is provided with a belt-like brush body made of an inclined pile fabric in which the tip of the brush hair on the surface of the fabric is inclined in the direction of the cavity. The outer edge portion is provided with one or a plurality of air intake portions in a blister shape in which a part of the outer edge portion is inflated upward so as to be able to inhale outside air into the cavity portion .

また、請求項2に記載の発明は、集塵部と吸込管とから成る電気掃除機用吸込具であって、前記集塵部は中心の空洞部と該空洞部に接続する複数の放射状の切り込みを設けた可撓性を有する薄板状の外縁部とから成り、被清掃面に接する前記外縁部下面の集塵面には生地表面のブラシ毛の先端部を前記空洞部方向に傾斜させた傾斜パイル生地から成る帯状ブラシ体を備えることを特徴とする The invention of claim 2 is an electric vacuum cleaner suction tool comprising a dust collection unit and the suction pipe, the dust collection unit of the plurality of connecting the cavity and the cavity of the central radial It consists of a flexible thin plate-shaped outer edge portion provided with a cut, and the tip of the brush bristles on the fabric surface is inclined toward the cavity portion on the dust collecting surface of the lower surface of the outer edge portion in contact with the surface to be cleaned A belt-like brush body made of an inclined pile fabric is provided .

さらに、請求項3に記載の発明は、前記請求項1又は請求項2のいずれかに記載の電気掃除機用吸込具において、前記集塵部の全体形状を円盤状としたことを特徴とする Furthermore, the invention according to claim 3 is characterized in that, in the vacuum cleaner suction tool according to any one of claim 1 or claim 2, the entire shape of the dust collecting portion is a disc shape. .

請求項1に記載した発明に係る電気掃除機用吸込具によれば、前記集塵部の底部にあって被清掃面に接する集塵面には傾斜パイル生地からなる帯状ブラシ体を備えているため、被清掃面の素材が布やカーペット等である場合も容易に塵埃等を有効に除去できるという、ブラシ体として植毛ブラシを用いた従来の電気掃除機用吸込具に比して有利な効果を奏する。 According to the electric vacuum cleaner suction tool according to the invention described in claim 1, and a strip-shaped brush body made of inclined pile fabric in dust collection surface in contact In the bottom of the dust collection unit to the surface to be cleaned Therefore, even when the material of the surface to be cleaned is cloth, carpet, etc., it is possible to easily remove dust and the like, an advantageous effect compared to a conventional vacuum cleaner suction tool using a flocking brush as a brush body Play.

また、前記帯状ブラシ体が、前記傾斜パイル生地表面のブラシ毛の先端部を前記集塵部の内側方向に傾斜させているため、作業者が本電気掃除機用吸込具をいずれの方向に動かした場合でも、動かした方向とは反対側に配置されている前記帯状ブラシ体のブラシ毛の先端が被清掃面の目地内奥まで進入して塵埃等を掻き出すので、あらゆる方向に向けて塵埃等の除去が行えるという効果を奏し、清掃の効率を向上できる。   Further, since the belt-like brush body inclines the tip of the brush hair on the surface of the inclined pile fabric toward the inside of the dust collecting portion, the operator moves the suction tool for the vacuum cleaner in any direction. The tip of the bristles of the strip-shaped brush body arranged on the opposite side to the moving direction enters the interior of the surface to be cleaned and scrapes out dust and the like. As a result, the cleaning efficiency can be improved.

また、前記集塵部の底部となる集塵面が全面で被清掃面に密着する構造とした場合は、電気掃除機の作動により前記空洞部内に過剰な負圧が生じて前記集塵面が被清掃面に吸着しがちとなり、作業効率を低下させたり電気掃除機のモーターに負荷が掛かり過ぎたりするおそれがあるが、本発明に係る電気掃除機用吸引具では、前記外縁部にその一部を上方に膨らませてブリスター形状とした一つ又は複数の吸気部を設けてなるため、電気掃除機が動作中は前記吸気部から前記空洞部に適度に外気が吸入される。これにより、前記空洞部内において過剰な負圧が生じることはなくなり、前記集塵面の被清掃面への吸着による作業効率の低下を防ぐという効果を奏する。 In addition, when the dust collecting surface that is the bottom of the dust collecting portion is in close contact with the surface to be cleaned, excessive vacuum is generated in the cavity due to the operation of a vacuum cleaner, and the dust collecting surface is becomes apt to adsorb to the surface to be cleaned, there is a risk of too load is applied to the motor or the electric vacuum cleaner lowers the work efficiency, the electric vacuum cleaner suction tool according to the present invention, the one on the outer edge Since one or a plurality of air intake portions that are blistered by inflating the portion upward are provided, outside air is appropriately sucked from the air intake portion into the cavity portion while the vacuum cleaner is operating. Thereby, an excessive negative pressure is not generated in the hollow portion, and an effect of preventing a reduction in work efficiency due to adsorption of the dust collection surface to the surface to be cleaned is achieved.

さらに、前記集塵部は外縁部を薄板状としているため、被清掃面の上方に障害物がある場合でも、集塵部の縁部を僅かな隙間に差し入れて塵埃を除去・吸引することができ、清掃作業の効率を向上させるという効果を奏する。 Furthermore, since the dust collecting part has an outer edge shape of a thin plate, even if there is an obstacle above the surface to be cleaned, to remove and suck the dust outside edge of the dust collecting unit pledged to slight gap It is possible to improve the efficiency of the cleaning work.

一方、請求項2に記載した発明に係る電気掃除機用吸込具は、前記集塵部の外縁部を中心の空洞部に接続する複数の放射状の切り込みを設けた可撓性を有する薄板状としているため、放射状の切り込みに挟まれた外縁部はそれぞれ独立して撓ることができる。これにより、被清掃面が湾曲面を成していたりクッション等表面が弾力性を有しているような場合でも、作業者が吸込具を被清掃面に押しつけながら作業することにより、集塵部は被清掃面の湾曲や変形に応じて柔軟に変形するので、集塵面が被清掃面に密着した状態が維持される。そのため、前記帯状ブラシ体が被清掃面から離れてしまうことなく塵埃等を捕獲して吸引することができ、さらに清掃作業の効率を向上させるという効果を奏する。On the other hand, the vacuum cleaner suction tool according to the invention described in claim 2 is a flexible thin plate provided with a plurality of radial cuts that connect the outer edge of the dust collecting part to a central cavity. Therefore, the outer edge portions sandwiched between the radial cuts can be bent independently. As a result, even when the surface to be cleaned has a curved surface or the surface of the cushion or the like has elasticity, the operator can work while pressing the suction tool against the surface to be cleaned. Is flexibly deformed according to the curvature and deformation of the surface to be cleaned, so that the state where the dust collecting surface is in close contact with the surface to be cleaned is maintained. Therefore, dust or the like can be captured and sucked without the belt-like brush body being separated from the surface to be cleaned, and the efficiency of cleaning work can be improved.

最後に、請求項3に記載した発明のように前記集塵部の全体形状を円盤状とすれば、被清掃面に接触する前記集塵面を円環状とすることができ、集塵部に全周方向に均一な集塵効果を発揮させることが可能となる。これにより、作業者は集塵部の形状に配慮することなく、前後左右斜めの全方向に自由に集塵部を動かしながら清掃作業を行うことができるため、やはり清掃作業の効率を向上させるという効果を奏するのである。 Finally, if the entire shape of the dust collecting portion is a disc shape as in the invention described in claim 3, the dust collecting surface that comes into contact with the surface to be cleaned can be formed into an annular shape. A uniform dust collection effect can be exhibited in the entire circumferential direction. As a result, the operator can perform the cleaning work while moving the dust collection part freely in all directions diagonally forward, backward, left, and right without considering the shape of the dust collection part, which also improves the efficiency of the cleaning work. There is an effect.

以下では、本発明に係る電気掃除機用吸込具の実施の形態について、図1乃至図14に基づいて詳細に説明する。   Below, embodiment of the suction tool for vacuum cleaners which concerns on this invention is described in detail based on FIG. 1 thru | or FIG.

(第1実施例)
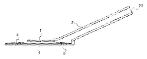
図1乃至図7は、本発明の第1の実施例に係り、図1は、電気掃除機用吸込具(以下、「吸込具」と記す。)を斜め上方から概観した斜視図である。吸込具は略円盤状の集塵部1にその外周部寄りに接続された吸込管2とから構成される。また、図2は、本発明に係る吸込具を吸込管2が取り付けられていない方向から観た正面図である。前記集塵部1の底面は、被清掃面と接する集塵面4となっている。
(First embodiment)
FIGS. 1 to 7 relate to a first embodiment of the present invention, and FIG. 1 is a perspective view of a vacuum cleaner suction tool (hereinafter referred to as “suction tool”) viewed obliquely from above. The suction tool includes a suction pipe 2 connected to a substantially disc-shaped dust collection part 1 near the outer peripheral part thereof. Moreover, FIG. 2 is the front view which looked at the suction tool which concerns on this invention from the direction where the suction pipe 2 is not attached. The bottom surface of the dust collecting portion 1 is a dust collecting surface 4 in contact with the surface to be cleaned.

本実施例では、前記集塵部1の厚みを極めて薄くしているため、被清掃面の上方に障害物がある場合でも、集塵部1の縁部を僅かな隙間に差し入れて塵埃を除去・吸引することができ、清掃作業の効率が向上する。 In this embodiment, since the thickness of the dust collecting part 1 is extremely thin, even if there is an obstacle above the surface to be cleaned, the edge of the dust collecting part 1 is inserted into a slight gap to remove dust.・ Suction can be performed, improving the efficiency of cleaning work.

また、前記集塵部1の外周には合計4個の吸気部3を二つづつ互いに対向する形で配置しており、個々の吸気部3は円盤状の集塵部1の外周縁部を上方に膨らませたブリスター形状としている。そのため、該吸気部3は側面から観て蒲鉾状の吸気孔31を形成しているが、該吸気孔31の形状はこれに限定されるものではなく、被清掃面に対し断面略逆凹形状の間隙を有する形状であればよく、あるいは前記集塵部1の外側壁面に直接貫通孔を設けた形状としても良い。 In addition, a total of four intake portions 3 are arranged on the outer periphery of the dust collection portion 1 so as to face each other, and each intake portion 3 has an outer peripheral edge portion of the disk-shaped dust collection portion 1. The blister shape is inflated upward. Therefore, the intake portion 3 has a bowl-shaped intake hole 31 when viewed from the side, but the shape of the intake hole 31 is not limited to this, and the cross-sectional shape is substantially reverse concave with respect to the surface to be cleaned. The shape may be a shape having a gap of 1 mm or a shape in which a through hole is directly provided on the outer wall surface of the dust collecting portion 1.

図3は、本発明に係る吸込具の左側面図であり、図4は、上面図である。本実施例においては、前記吸込管2は角管状とし、その端部の接続口21も薄型の長方形としているが、これは、例えば自動車の車内清掃用の小型手持ち電気掃除機の吸引口に該吸込管2を直接差し込み直結させて使用することを想定しているためである。該吸込管2の形状はかかる角管状に限定されるものではなく、接続する電気掃除機本体あるいは掃除機本体から延在する延長管の形状に応じて円筒状その他の形状としてもよい。 FIG. 3 is a left side view of the suction tool according to the present invention, and FIG. 4 is a top view. In the present embodiment, the suction pipe 2 has a rectangular tube shape, and the connection port 21 at the end of the suction pipe 2 also has a thin rectangular shape. This is, for example, a suction port of a small hand-held vacuum cleaner for car interior cleaning. This is because it is assumed that the suction pipe 2 is directly inserted and directly connected. The shape of the suction pipe 2 is not limited to such a rectangular tube shape, and may be a cylindrical shape or other shapes according to the shape of an electric vacuum cleaner main body to be connected or an extension pipe extending from the vacuum cleaner main body.

図5は、本発明に係る吸込具の底面図であり、図6は、図3上の「A−A」で示す線上での吸込具の断面を左側面から観た断面図であり、図7は、図4上の「B−B」で示す線上での吸込具の断面図である。 5 is a bottom view of the suction tool according to the present invention, and FIG. 6 is a cross-sectional view of the suction tool viewed from the left side on the line indicated by “AA” in FIG. 7 is a cross-sectional view of the suction tool on the line indicated by “BB” in FIG. 4.

図5に示すように、前記集塵部1の底面は、被清掃面に接触する円環状の集塵面4が、連接孔11を介して前記吸込管2とつながる円形の空洞部41の外周を取り囲む形状とし、該集塵面4の表面には傾斜パイル生地からなる帯状ブラシ体42が円環状に貼付されている。また、前記吸気部3をブリスター形状としているため、前記吸気孔31は底面側において前記集塵面4上で前記空洞部41につながる溝部を形成している。 As shown in FIG. 5, the bottom surface of the dust collecting portion 1 is an outer periphery of a circular cavity portion 41 in which an annular dust collecting surface 4 that contacts the surface to be cleaned is connected to the suction pipe 2 through a connection hole 11. A belt-like brush body 42 made of an inclined pile fabric is stuck on the surface of the dust collecting surface 4 in an annular shape. Further, since the intake portion 3 has a blister shape, the intake hole 31 forms a groove portion connected to the cavity portion 41 on the dust collecting surface 4 on the bottom surface side.

前記帯状ブラシ体42は、前記集塵面4のいずれの部分においても、被清掃面と接触する傾斜パイル生地表面のブラシ毛の先端部が集塵部1の外周から中心方向に向けて傾斜するように貼付されている。そのため、作業者が本吸込具をいずれの方向に動かしても、動かした方向とは反対側の前記帯状ブラシ体42のブラシ毛の先端が被清掃面の目地内奥まで進入して塵埃等を掻き出すので、あらゆる方向に向けて塵埃等を除去できるのである。   In any part of the dust collecting surface 4, the belt-like brush body 42 has the tip of the brush hair on the inclined pile fabric surface in contact with the surface to be cleaned inclined from the outer periphery of the dust collecting unit 1 toward the center. It is affixed as follows. Therefore, even if the operator moves the suction tool in any direction, the tip of the bristle of the belt-like brush body 42 on the opposite side to the moved direction enters into the joint area of the surface to be cleaned and removes dust, etc. Since it scrapes out, it can remove dust and the like in all directions.

本発明に係る吸込具を使用する際には、電気掃除機を作動させた上で、前記集塵部1の集塵面4を被清掃面に密着させつつ任意の方向に吸込具を往復運動させて使用する。どの方向に往復運動させても、往路では進行方向とは反対側の集塵面4上の帯状ブラシ体42が塵埃等を被清掃面から除去し、除去された塵埃等は往路運動中ブラシ毛の先端部に捕獲された状態となる。次いで、復路では前記ブラシ毛の先端部に捕獲されていた塵埃等は被清掃面との摩擦によりブラシ毛から離脱するが、その時点では負圧状態の前記空洞部41が直上に移動して来ているため、離脱した塵埃等は直ちに連接孔11から吸込管2を経由して電気掃除機内へと吸引される。 When using the suction tool according to the present invention, the vacuum cleaner is operated, and the suction tool is reciprocated in an arbitrary direction while bringing the dust collection surface 4 of the dust collection unit 1 into close contact with the surface to be cleaned. Let it be used. Whatever direction is reciprocated, the brush strip brush body 42 on the opposite side of the dust collecting surfaces 4 to the traveling direction in the forward path is dust or the like during removal from the surface to be cleaned, dust and the like are removed forward movement It becomes a state captured at the tip of the hair. Next, in the return path, dust or the like captured at the tip of the bristle is detached from the bristle due to friction with the surface to be cleaned, but at that time, the cavity 41 in a negative pressure state moves directly above. Therefore, the separated dust and the like are immediately sucked into the vacuum cleaner from the connecting hole 11 through the suction pipe 2.

当然ながらこの間、運動方向側の集塵面4では、復路運動中に塵埃等の除去・捕獲が行われ、往路運動中に吸引が行われるため、集塵部1の往復運動を繰り返すことにより、運動方向に沿って対向する集塵面4が、交互にかかる塵埃等の除去→捕獲→離脱→吸引のサイクルを繰り返して被清掃面の清掃を行うのである。 Naturally, during this period, the dust collecting surface 4 on the movement direction side removes and captures dust and the like during the backward movement, and suction is performed during the forward movement, so that the reciprocating movement of the dust collecting unit 1 is repeated, The dust collecting surfaces 4 that face each other along the direction of movement perform cleaning of the surface to be cleaned by repeating the cycle of removing dust, etc., capturing, separating, and suction alternately.

本実施例では、上記の通り集塵部1の形状を略円盤状とし、集塵面4も円環状としているため、前記集塵部1の往復運動は360度あらゆる方向に向けて可能であるが、必ずしもこれらの形状に限定されるものではなく、例えば集塵部1を方形として前後又は左右方向にのみ往復運動させるものでも、直線帯状の集塵面4を並行に配置して前後方向にのみ往復運動させるものであってもよく、当該運動方向に関しては同様の清掃効果が期待できる。   In the present embodiment, as described above, since the shape of the dust collecting portion 1 is substantially disk-shaped and the dust collecting surface 4 is also annular, the reciprocating motion of the dust collecting portion 1 is possible in all directions of 360 degrees. However, the shape is not necessarily limited to these shapes. For example, even when the dust collection unit 1 is square and reciprocates only in the front-rear or left-right direction, the straight belt-like dust collection surfaces 4 are arranged in parallel to the front-back direction. Only the reciprocating movement may be performed, and the same cleaning effect can be expected with respect to the movement direction.

(第2実施例)
図8〜14は、本発明の第2の実施例に係り、図8は、を斜め上方から概観した斜視図である。本実施例では、第1実施例の吸気孔31に代えて、前記集塵部1の外縁部から中心方向に向けて、合計4個の切り込み5を二つづつ互いに対向する形で放射状に配置しており、該切り込み5の先端部は前記空洞部41まで及び、その先端は空洞部41にそのまま接続させている。
(Second embodiment)
FIGS. 8 to 14 relate to a second embodiment of the present invention, and FIG. 8 is a perspective view of FIG. In this embodiment, in place of the air intake holes 31 of the first embodiment , a total of four cuts 5 are arranged radially in such a manner as to face each other from the outer edge of the dust collecting portion 1 toward the center. The tip of the notch 5 extends to the cavity 41, and the tip is connected to the cavity 41 as it is.

そのため、第1実施例の吸気孔31を設けずとも、前記切り込み5の先端が空洞部41に接続しているため、接続箇所が吸気孔の役割を果たし、前記集塵面4が被清掃面に吸着することを防ぐのである。   Therefore, even if the air intake hole 31 of the first embodiment is not provided, the tip of the notch 5 is connected to the cavity 41, so that the connected portion serves as an air intake hole, and the dust collecting surface 4 is the surface to be cleaned. It is prevented from adsorbing to the surface.

図9は、第2実施例に係る吸込具の正面図、図10は同左側面図、図11は同上面図、図12は同底面図であり、図13は図11上の「A−A」で示す線上での断面を左側面から観た断面図であり、図14は同「B−B」で示す線上での断面図である。   9 is a front view of the suction tool according to the second embodiment, FIG. 10 is a left side view thereof, FIG. 11 is a top view thereof, FIG. 12 is a bottom view thereof, and FIG. Is a cross-sectional view of the cross-section on the line indicated by “” when viewed from the left side, and FIG. 14 is a cross-sectional view on the line indicated by “BB”.

図8乃至図10からも明らかなように、本第2実施例では、前記集塵部1は断面の厚みが小さい板状に構成して成り、集塵部1の素材を、例えば軟質プラスティック等の弾力性のある素材とすることにより、外力に応じて適度に撓ませるようにすることが可能である。 As is clear from FIGS. 8 to 10, in the second embodiment, the dust collecting portion 1 is formed in a plate shape having a small cross section, and the material of the dust collecting portion 1 is, for example, a soft plastic or the like. It is possible to bend appropriately according to the external force by using the elastic material.

これにより、図15に示す如く、被清掃面が湾曲面である場合でも、作業者が吸込具を被清掃面に押しつけながら作業することにより、集塵部1は被清掃面の湾曲に応じて一時的に撓るので、前記集塵面4が被清掃面に密着した状態を維持でき、前記帯状ブラシ体42が被清掃面から離れてしまうことなく塵埃等を捕獲して吸引することができるのである。   Accordingly, as shown in FIG. 15, even when the surface to be cleaned is a curved surface, the dust collecting unit 1 is made to respond to the curvature of the surface to be cleaned by the operator working while pressing the suction tool against the surface to be cleaned. Since it temporarily bends, the state where the dust collecting surface 4 is in close contact with the surface to be cleaned can be maintained, and dust or the like can be captured and sucked without the belt-like brush body 42 being separated from the surface to be cleaned. It is.

そのため、本第2実施例に係る吸込具は、居室とは異なり被清掃面に湾曲面の多い自動車の車内や荷台、あるいはソファ等の表面が弾力性を有する家具等の清掃にも好適である。 Therefore, unlike the living room, the suction tool according to the second embodiment is also suitable for cleaning furniture or the like in which the surface of a car to be cleaned or the surface of a car bed or a sofa having a curved surface has elasticity. .

なお、本第2実施例に係る吸込具において、前記切り込み5の数は任意であり、例えば図16、図17に示す如く、切り込み5を7つ設けてもよい。この場合、集塵部1の撓みの自由度が高まり、湾曲した被清掃面への適応度がさらに向上する。 In the suction tool according to the second embodiment, the number of the cuts 5 is arbitrary. For example, as shown in FIGS. 16 and 17, seven cuts 5 may be provided. In this case, the degree of freedom of bending of the dust collecting portion 1 is increased, and the adaptability to the curved surface to be cleaned is further improved.

以上、本発明に係る電気掃除機用吸込具の実施形態について詳細に説明したが、本発明は上記実施形態に限定されるものではなく、本発明の技術的思想の範囲内において改良又は変更が可能であり、それらは本発明の技術的範囲に属するものである。 As mentioned above, although embodiment of the suction tool for vacuum cleaners concerning this invention was described in detail, this invention is not limited to the said embodiment, In the range of the technical idea of this invention, an improvement or a change is possible. They are possible and belong to the technical scope of the present invention.

本発明によれば、被清掃面の素材が布やカーペット等である場合も容易に塵埃等を有効に除去できる、簡易な構造で低コストな電気掃除機用吸込具を提供できる。特に、自動車の車内や荷台など、被清掃面にファブリックやカーペットが多用され、しかも狭隘で被清掃面が湾曲面を有する空間の清掃に使用される手持ち型の小型電気掃除機等への適用において好適である。   ADVANTAGE OF THE INVENTION According to this invention, even when the raw material of a to-be-cleaned surface is cloth, a carpet, etc., the suction tool for vacuum cleaners which can remove dust etc. easily easily and can be provided at low cost can be provided. Especially in applications such as hand-held small vacuum cleaners that are used to clean spaces where the surface to be cleaned is heavily used, such as the interior of a car or a cargo bed, and the surface to be cleaned has a curved surface. Is preferred.

本発明の第1実施例に係る吸込具の斜視図である。It is a perspective view of the suction tool which concerns on 1st Example of this invention. 本発明の第1実施例に係る吸込具の正面図である。It is a front view of the suction tool which concerns on 1st Example of this invention. 本発明の第1実施例に係る吸込具の左側面図である。It is a left view of the suction tool which concerns on 1st Example of this invention. 本発明の第1実施例に係る吸込具の上面図である。It is a top view of the suction tool which concerns on 1st Example of this invention. 本発明の第1実施例に係る吸込具の底面図である。It is a bottom view of the suction tool which concerns on 1st Example of this invention. 図3上の「A−A」で示す線上での本発明の第1実施例に係る吸込具の断面を左側面から観た断面図である。It is sectional drawing which looked at the cross section of the suction tool which concerns on 1st Example of this invention on the line shown by "AA" on FIG. 3 from the left side surface. 図4上の「B−B」で示す線上での本発明の第1実施例に係る吸込具の断面図である。It is sectional drawing of the suction tool which concerns on 1st Example of this invention on the line shown by "BB" on FIG. 本発明の第2実施例に係る吸込具の斜視図である。It is a perspective view of the suction tool which concerns on 2nd Example of this invention. 本発明の第2実施例に係る吸込具の正面図である。It is a front view of the suction tool which concerns on 2nd Example of this invention. 本発明の第2実施例に係る吸込具の左側面図である。It is a left view of the suction tool which concerns on 2nd Example of this invention. 本発明の第2実施例に係る吸込具の上面図である。It is a top view of the suction tool which concerns on 2nd Example of this invention. 本発明の第2実施例に係る吸込具の底面図である。It is a bottom view of the suction tool which concerns on 2nd Example of this invention. 図11上の「A−A」で示す線上での本発明の第2実施例に係る吸込具の断面を左側面から観た断面図である。It is sectional drawing which looked at the cross section of the suction tool which concerns on 2nd Example of this invention on the line shown by "AA" on FIG. 11 from the left side surface. 図11上の「B−B」で示す線上での本発明の第2実施例に係る吸込具の断面図である。It is sectional drawing of the suction tool which concerns on 2nd Example of this invention on the line shown by "BB" on FIG. 被清掃面が湾曲面である場合における図11上の「A−A」で示す線上での本発明の第2実施例に係る吸込具の断面を左側面から観た断面図である。It is sectional drawing which looked at the cross section of the suction tool which concerns on 2nd Example of this invention on the line | wire shown by "AA" on FIG. 11 in case a to-be-cleaned surface is a curved surface. 本発明の第2実施例に係る吸込具の別形態の上面図である。It is a top view of another form of the suction tool which concerns on 2nd Example of this invention. 本発明の第2実施例に係る吸込具の別形態の底面図である。It is a bottom view of another form of the suction tool which concerns on 2nd Example of this invention.

1 集塵部
11 連接孔
2 吸込管
21 接続口
3 吸気部
31 吸気孔
4 集塵面
41 空洞部
42 帯状ブラシ体
5 切り込み
DESCRIPTION OF SYMBOLS 1 Dust collection part 11 Connection hole 2 Suction pipe 21 Connection port 3 Intake part 31 Intake hole 4 Dust collection surface 41 Cavity part 42 Band-shaped brush body 5 Cutting

Claims (3)

集塵部と吸込管とから成る電気掃除機用吸込具であって、前記集塵部は中心の空洞部と薄板状の外縁部とから成り、被清掃面に接する前記外縁部下面の集塵面には生地表面のブラシ毛の先端部を前記空洞部方向に傾斜させた傾斜パイル生地から成る帯状ブラシ体を備えるとともに、前記外縁部にはその一部を上方に膨らませたブリスター形状として前記空洞部へ外気を吸入可能とした一つ又は複数の吸気部を設けてなることを特徴とする、電気掃除機用吸込具。 A vacuum cleaner suction tool comprising a dust collection part and a suction pipe, wherein the dust collection part comprises a central cavity and a thin plate-like outer edge part, and dust collection on the lower surface of the outer edge part in contact with the surface to be cleaned. The surface is provided with a belt-like brush body made of an inclined pile fabric in which the tip of the brush bristles on the surface of the fabric is inclined in the direction of the cavity, and the cavity is formed as a blister shape in which a part of the outer edge is inflated upward. A suction tool for a vacuum cleaner, comprising one or a plurality of air intake portions that allow the outside air to be sucked into the portion. 集塵部と吸込管とから成る電気掃除機用吸込具であって、前記集塵部は中心の空洞部と該空洞部に接続する複数の放射状の切り込みを設けた可撓性を有する薄板状の外縁部とから成り、被清掃面に接する前記外縁部下面の集塵面には生地表面のブラシ毛の先端部を前記空洞部方向に傾斜させた傾斜パイル生地から成る帯状ブラシ体を備えることを特徴とする、電気掃除機用吸込具。 A vacuum cleaner suction tool comprising a dust collection portion and a suction pipe, wherein the dust collection portion is a flexible thin plate provided with a central cavity and a plurality of radial cuts connected to the cavity. And a dust-collecting surface on the lower surface of the outer edge contacting the surface to be cleaned is provided with a belt-like brush body made of an inclined pile fabric in which the tip of the brush hair on the surface of the fabric is inclined toward the cavity. A vacuum cleaner suction tool. 前記集塵部の全体形状を円盤状としたことを特徴とする、請求項1又は請求項2のいずれかに記載の電気掃除機用吸込具。The vacuum cleaner suction tool according to claim 1, wherein an overall shape of the dust collecting portion is a disc shape.
JP2011098628A 2011-04-26 2011-04-26 Vacuum cleaner suction tool Expired - Fee Related JP5815978B2 (en)

Priority Applications (1)

Application Number Priority Date Filing Date Title
JP2011098628A JP5815978B2 (en) 2011-04-26 2011-04-26 Vacuum cleaner suction tool

Applications Claiming Priority (1)

Application Number Priority Date Filing Date Title
JP2011098628A JP5815978B2 (en) 2011-04-26 2011-04-26 Vacuum cleaner suction tool

Publications (2)

Publication Number Publication Date
JP2012228376A JP2012228376A (en) 2012-11-22
JP5815978B2 true JP5815978B2 (en) 2015-11-17

Family

ID=47430471

Family Applications (1)

Application Number Title Priority Date Filing Date
JP2011098628A Expired - Fee Related JP5815978B2 (en) 2011-04-26 2011-04-26 Vacuum cleaner suction tool

Country Status (1)

Country Link
JP (1) JP5815978B2 (en)

Families Citing this family (3)

* Cited by examiner, † Cited by third party
Publication number Priority date Publication date Assignee Title
CN103610429A (en) * 2013-11-27 2014-03-05 苏州凯丽达电器有限公司 Novel dust collector floor brush
GB2559992B (en) 2017-02-23 2022-02-09 Techtronic Floor Care Tech Ltd An accessory tool for a surface cleaning apparatus
US11607101B2 (en) 2019-08-05 2023-03-21 Bissell Inc. Vacuum cleaner accessory tool

Family Cites Families (3)

* Cited by examiner, † Cited by third party
Publication number Priority date Publication date Assignee Title
DE2024616B2 (en) * 1970-05-20 1971-08-05 Schwab geb Gitschel, Hilde, Zem bold, Heinz, 4000 Dusseldorf DEVICE FOR CLEANING TEXTILES
JP3825100B2 (en) * 1996-10-08 2006-09-20 東芝テック株式会社 Vacuum cleaner suction port
JP4480549B2 (en) * 2004-11-11 2010-06-16 花王株式会社 Suction nozzle for wet vacuum cleaner

Also Published As

Publication number Publication date
JP2012228376A (en) 2012-11-22

Similar Documents

Publication Publication Date Title
CN113951764B (en) Robot cleaner
CN205514379U (en) Round brush reaches robot dust catcher including this round brush
JP2018521707A (en) Surface cleaning head with dual rotary agitator
JP2008132299A (en) Vacuum cleaner
EP3876807B1 (en) Surface cleaning utensil
KR20210018117A (en) Vacuum cleaner accessory tool
JP5815978B2 (en) Vacuum cleaner suction tool
JP4295512B2 (en) Cleaning head for vacuum cleaner
JP6780597B2 (en) Suction device and vacuum cleaner
JP2006187477A5 (en)
JP2017012688A (en) Suction port body and vacuum cleaner
US11540685B2 (en) Nozzle for cleaner, and vacuum cleaner
JP4084339B2 (en) Vacuum cleaner suction tool
JP5193574B2 (en) Vacuum cleaner floor suction tool
JP4774925B2 (en) Suction tool and electric vacuum cleaner using the same
JP6485853B2 (en) Vacuum cleaner suction tool and vacuum cleaner
JP2019030652A (en) Cleaning tool and dust collection head
JP2013169410A (en) Suction nozzle for vacuum cleaner
JP2017023349A (en) Suction port body and vacuum cleaner
JP2017012689A (en) Suction port body and vacuum cleaner
JP2002336168A (en) Vacuum cleaner suction tool and vacuum cleaner using the same
RU61107U1 (en) Vacuum cleaner nozzle
JP6653528B2 (en) Suction port body and vacuum cleaner
WO2024157496A1 (en) Accessory for electric vacuum cleaner
JP2024117762A (en) Cleaning tools

Legal Events

Date Code Title Description
A621 Written request for application examination

Free format text: JAPANESE INTERMEDIATE CODE: A621

Effective date: 20140424

A977 Report on retrieval

Free format text: JAPANESE INTERMEDIATE CODE: A971007

Effective date: 20141210

A131 Notification of reasons for refusal

Free format text: JAPANESE INTERMEDIATE CODE: A131

Effective date: 20141215

A521 Request for written amendment filed

Free format text: JAPANESE INTERMEDIATE CODE: A523

Effective date: 20150205

TRDD Decision of grant or rejection written
A01 Written decision to grant a patent or to grant a registration (utility model)

Free format text: JAPANESE INTERMEDIATE CODE: A01

Effective date: 20150902

A61 First payment of annual fees (during grant procedure)

Free format text: JAPANESE INTERMEDIATE CODE: A61

Effective date: 20150925

R150 Certificate of patent or registration of utility model

Ref document number: 5815978

Country of ref document: JP

Free format text: JAPANESE INTERMEDIATE CODE: R150

R250 Receipt of annual fees

Free format text: JAPANESE INTERMEDIATE CODE: R250

LAPS Cancellation because of no payment of annual fees