JP5802011B2 - 標的組織領域内で所望の定位を維持するための植込み型装置、システム、及び方法。 - Google Patents

標的組織領域内で所望の定位を維持するための植込み型装置、システム、及び方法。 Download PDF

Info

Publication number
JP5802011B2
JP5802011B2 JP2010513229A JP2010513229A JP5802011B2 JP 5802011 B2 JP5802011 B2 JP 5802011B2 JP 2010513229 A JP2010513229 A JP 2010513229A JP 2010513229 A JP2010513229 A JP 2010513229A JP 5802011 B2 JP5802011 B2 JP 5802011B2
Authority
JP
Japan
Prior art keywords
tongue
suture
tissue
muscle
tension
Prior art date
Legal status (The legal status is an assumption and is not a legal conclusion. Google has not performed a legal analysis and makes no representation as to the accuracy of the status listed.)
Expired - Fee Related
Application number
JP2010513229A
Other languages
English (en)
Other versions
JP2010530276A (ja
Inventor
イアンシア,オクタヴィアン
ダブリュ クレイマー,アンドリュー
ダブリュ クレイマー,アンドリュー
エス リリー,リチャード
エス リリー,リチャード
イー オルティス,ジョン
イー オルティス,ジョン
ディー トーマス,アンドレス
ディー トーマス,アンドレス
Current Assignee (The listed assignees may be inaccurate. Google has not performed a legal analysis and makes no representation or warranty as to the accuracy of the list.)
Koninklijke Philips NV
Original Assignee
Koninklijke Philips NV
Koninklijke Philips Electronics NV
Priority date (The priority date is an assumption and is not a legal conclusion. Google has not performed a legal analysis and makes no representation as to the accuracy of the date listed.)
Filing date
Publication date
Application filed by Koninklijke Philips NV, Koninklijke Philips Electronics NV filed Critical Koninklijke Philips NV
Publication of JP2010530276A publication Critical patent/JP2010530276A/ja
Application granted granted Critical
Publication of JP5802011B2 publication Critical patent/JP5802011B2/ja
Expired - Fee Related legal-status Critical Current
Anticipated expiration legal-status Critical

Links

Images

Classifications

    • AHUMAN NECESSITIES
    • A61MEDICAL OR VETERINARY SCIENCE; HYGIENE
    • A61FFILTERS IMPLANTABLE INTO BLOOD VESSELS; PROSTHESES; DEVICES PROVIDING PATENCY TO, OR PREVENTING COLLAPSING OF, TUBULAR STRUCTURES OF THE BODY, e.g. STENTS; ORTHOPAEDIC, NURSING OR CONTRACEPTIVE DEVICES; FOMENTATION; TREATMENT OR PROTECTION OF EYES OR EARS; BANDAGES, DRESSINGS OR ABSORBENT PADS; FIRST-AID KITS
    • A61F2/00Filters implantable into blood vessels; Prostheses, i.e. artificial substitutes or replacements for parts of the body; Appliances for connecting them with the body; Devices providing patency to, or preventing collapsing of, tubular structures of the body, e.g. stents
    • AHUMAN NECESSITIES
    • A61MEDICAL OR VETERINARY SCIENCE; HYGIENE
    • A61BDIAGNOSIS; SURGERY; IDENTIFICATION
    • A61B17/00Surgical instruments, devices or methods
    • A61B17/04Surgical instruments, devices or methods for suturing wounds; Holders or packages for needles or suture materials
    • A61B17/06Needles ; Sutures; Needle-suture combinations; Holders or packages for needles or suture materials
    • A61B17/06066Needles, e.g. needle tip configurations
    • A61B17/06109Big needles, either gripped by hand or connectable to a handle
    • AHUMAN NECESSITIES
    • A61MEDICAL OR VETERINARY SCIENCE; HYGIENE
    • A61BDIAGNOSIS; SURGERY; IDENTIFICATION
    • A61B17/00Surgical instruments, devices or methods
    • A61B17/04Surgical instruments, devices or methods for suturing wounds; Holders or packages for needles or suture materials
    • A61B17/06Needles ; Sutures; Needle-suture combinations; Holders or packages for needles or suture materials
    • A61B17/06166Sutures
    • AHUMAN NECESSITIES
    • A61MEDICAL OR VETERINARY SCIENCE; HYGIENE
    • A61BDIAGNOSIS; SURGERY; IDENTIFICATION
    • A61B17/00Surgical instruments, devices or methods
    • A61B17/04Surgical instruments, devices or methods for suturing wounds; Holders or packages for needles or suture materials
    • A61B17/0401Suture anchors, buttons or pledgets, i.e. means for attaching sutures to bone, cartilage or soft tissue; Instruments for applying or removing suture anchors
    • A61B2017/0417T-fasteners
    • AHUMAN NECESSITIES
    • A61MEDICAL OR VETERINARY SCIENCE; HYGIENE
    • A61BDIAGNOSIS; SURGERY; IDENTIFICATION
    • A61B17/00Surgical instruments, devices or methods
    • A61B17/04Surgical instruments, devices or methods for suturing wounds; Holders or packages for needles or suture materials
    • A61B17/0401Suture anchors, buttons or pledgets, i.e. means for attaching sutures to bone, cartilage or soft tissue; Instruments for applying or removing suture anchors
    • A61B2017/0446Means for attaching and blocking the suture in the suture anchor
    • A61B2017/0448Additional elements on or within the anchor
    • A61B2017/0451Cams or wedges holding the suture by friction
    • AHUMAN NECESSITIES
    • A61MEDICAL OR VETERINARY SCIENCE; HYGIENE
    • A61BDIAGNOSIS; SURGERY; IDENTIFICATION
    • A61B17/00Surgical instruments, devices or methods
    • A61B17/04Surgical instruments, devices or methods for suturing wounds; Holders or packages for needles or suture materials
    • A61B17/0401Suture anchors, buttons or pledgets, i.e. means for attaching sutures to bone, cartilage or soft tissue; Instruments for applying or removing suture anchors
    • A61B2017/0446Means for attaching and blocking the suture in the suture anchor
    • A61B2017/0448Additional elements on or within the anchor
    • A61B2017/0453Additional elements on or within the anchor threaded elements, e.g. set screws
    • AHUMAN NECESSITIES
    • A61MEDICAL OR VETERINARY SCIENCE; HYGIENE
    • A61BDIAGNOSIS; SURGERY; IDENTIFICATION
    • A61B17/00Surgical instruments, devices or methods
    • A61B17/04Surgical instruments, devices or methods for suturing wounds; Holders or packages for needles or suture materials
    • A61B2017/0496Surgical instruments, devices or methods for suturing wounds; Holders or packages for needles or suture materials for tensioning sutures
    • AHUMAN NECESSITIES
    • A61MEDICAL OR VETERINARY SCIENCE; HYGIENE
    • A61BDIAGNOSIS; SURGERY; IDENTIFICATION
    • A61B17/00Surgical instruments, devices or methods
    • A61B17/04Surgical instruments, devices or methods for suturing wounds; Holders or packages for needles or suture materials
    • A61B17/06Needles ; Sutures; Needle-suture combinations; Holders or packages for needles or suture materials
    • A61B17/06004Means for attaching suture to needle
    • A61B2017/06019Means for attaching suture to needle by means of a suture-receiving lateral eyelet machined in the needle
    • AHUMAN NECESSITIES
    • A61MEDICAL OR VETERINARY SCIENCE; HYGIENE
    • A61BDIAGNOSIS; SURGERY; IDENTIFICATION
    • A61B17/00Surgical instruments, devices or methods
    • A61B17/04Surgical instruments, devices or methods for suturing wounds; Holders or packages for needles or suture materials
    • A61B17/06Needles ; Sutures; Needle-suture combinations; Holders or packages for needles or suture materials
    • A61B17/06004Means for attaching suture to needle
    • A61B2017/06042Means for attaching suture to needle located close to needle tip
    • AHUMAN NECESSITIES
    • A61MEDICAL OR VETERINARY SCIENCE; HYGIENE
    • A61BDIAGNOSIS; SURGERY; IDENTIFICATION
    • A61B17/00Surgical instruments, devices or methods
    • A61B17/04Surgical instruments, devices or methods for suturing wounds; Holders or packages for needles or suture materials
    • A61B17/06Needles ; Sutures; Needle-suture combinations; Holders or packages for needles or suture materials
    • A61B17/06066Needles, e.g. needle tip configurations
    • A61B2017/0608J-shaped
    • AHUMAN NECESSITIES
    • A61MEDICAL OR VETERINARY SCIENCE; HYGIENE
    • A61BDIAGNOSIS; SURGERY; IDENTIFICATION
    • A61B17/00Surgical instruments, devices or methods
    • A61B17/04Surgical instruments, devices or methods for suturing wounds; Holders or packages for needles or suture materials
    • A61B17/06Needles ; Sutures; Needle-suture combinations; Holders or packages for needles or suture materials
    • A61B17/06066Needles, e.g. needle tip configurations
    • A61B2017/06095Needles, e.g. needle tip configurations pliable
    • AHUMAN NECESSITIES
    • A61MEDICAL OR VETERINARY SCIENCE; HYGIENE
    • A61BDIAGNOSIS; SURGERY; IDENTIFICATION
    • A61B17/00Surgical instruments, devices or methods
    • A61B17/04Surgical instruments, devices or methods for suturing wounds; Holders or packages for needles or suture materials
    • A61B17/06Needles ; Sutures; Needle-suture combinations; Holders or packages for needles or suture materials
    • A61B17/06066Needles, e.g. needle tip configurations
    • A61B2017/061Needles, e.g. needle tip configurations hollow or tubular
    • AHUMAN NECESSITIES
    • A61MEDICAL OR VETERINARY SCIENCE; HYGIENE
    • A61BDIAGNOSIS; SURGERY; IDENTIFICATION
    • A61B17/00Surgical instruments, devices or methods
    • A61B17/04Surgical instruments, devices or methods for suturing wounds; Holders or packages for needles or suture materials
    • A61B17/06Needles ; Sutures; Needle-suture combinations; Holders or packages for needles or suture materials
    • A61B17/06166Sutures
    • A61B2017/06176Sutures with protrusions, e.g. barbs
    • AHUMAN NECESSITIES
    • A61MEDICAL OR VETERINARY SCIENCE; HYGIENE
    • A61FFILTERS IMPLANTABLE INTO BLOOD VESSELS; PROSTHESES; DEVICES PROVIDING PATENCY TO, OR PREVENTING COLLAPSING OF, TUBULAR STRUCTURES OF THE BODY, e.g. STENTS; ORTHOPAEDIC, NURSING OR CONTRACEPTIVE DEVICES; FOMENTATION; TREATMENT OR PROTECTION OF EYES OR EARS; BANDAGES, DRESSINGS OR ABSORBENT PADS; FIRST-AID KITS
    • A61F2/00Filters implantable into blood vessels; Prostheses, i.e. artificial substitutes or replacements for parts of the body; Appliances for connecting them with the body; Devices providing patency to, or preventing collapsing of, tubular structures of the body, e.g. stents
    • A61F2/02Prostheses implantable into the body
    • A61F2/08Muscles; Tendons; Ligaments
    • AHUMAN NECESSITIES
    • A61MEDICAL OR VETERINARY SCIENCE; HYGIENE
    • A61FFILTERS IMPLANTABLE INTO BLOOD VESSELS; PROSTHESES; DEVICES PROVIDING PATENCY TO, OR PREVENTING COLLAPSING OF, TUBULAR STRUCTURES OF THE BODY, e.g. STENTS; ORTHOPAEDIC, NURSING OR CONTRACEPTIVE DEVICES; FOMENTATION; TREATMENT OR PROTECTION OF EYES OR EARS; BANDAGES, DRESSINGS OR ABSORBENT PADS; FIRST-AID KITS
    • A61F2/00Filters implantable into blood vessels; Prostheses, i.e. artificial substitutes or replacements for parts of the body; Appliances for connecting them with the body; Devices providing patency to, or preventing collapsing of, tubular structures of the body, e.g. stents
    • A61F2/02Prostheses implantable into the body
    • A61F2/08Muscles; Tendons; Ligaments
    • A61F2/0811Fixation devices for tendons or ligaments
    • AHUMAN NECESSITIES
    • A61MEDICAL OR VETERINARY SCIENCE; HYGIENE
    • A61FFILTERS IMPLANTABLE INTO BLOOD VESSELS; PROSTHESES; DEVICES PROVIDING PATENCY TO, OR PREVENTING COLLAPSING OF, TUBULAR STRUCTURES OF THE BODY, e.g. STENTS; ORTHOPAEDIC, NURSING OR CONTRACEPTIVE DEVICES; FOMENTATION; TREATMENT OR PROTECTION OF EYES OR EARS; BANDAGES, DRESSINGS OR ABSORBENT PADS; FIRST-AID KITS
    • A61F5/00Orthopaedic methods or devices for non-surgical treatment of bones or joints; Nursing devices ; Anti-rape devices
    • A61F5/56Devices for preventing snoring

Landscapes

  • Health & Medical Sciences (AREA)
  • Life Sciences & Earth Sciences (AREA)
  • Surgery (AREA)
  • General Health & Medical Sciences (AREA)
  • Public Health (AREA)
  • Biomedical Technology (AREA)
  • Heart & Thoracic Surgery (AREA)
  • Engineering & Computer Science (AREA)
  • Veterinary Medicine (AREA)
  • Animal Behavior & Ethology (AREA)
  • Molecular Biology (AREA)
  • Nuclear Medicine, Radiotherapy & Molecular Imaging (AREA)
  • Medical Informatics (AREA)
  • Oral & Maxillofacial Surgery (AREA)
  • Transplantation (AREA)
  • Cardiology (AREA)
  • Vascular Medicine (AREA)
  • Orthopedics, Nursing, And Contraception (AREA)
  • Prostheses (AREA)
  • Surgical Instruments (AREA)

Description

(関連する出願)
本出願は、2007年6月18日出願の審議中の米国仮特許出願第60/936,157号の利益を主張する。
(発明の分野)
本発明は、いびき並びに閉塞性睡眠時無呼吸を含む睡眠障害性呼吸の処置のための装置、システム、及び方法を対象とする。
I.睡眠時無呼吸の特徴
1965年に初めて記載された睡眠時無呼吸は、睡眠中の呼吸の短い中断(10秒以上)によって特徴付けられる呼吸障害である。睡眠時無呼吸は、一般的な、しかし深刻な、潜在的に生活を脅かす状態であり、約1800万人もの米国人が罹患している。いびきも、睡眠時無呼吸の事象とは関係なく、又は、睡眠時無呼吸中に発生し得る。
二つの型の睡眠時無呼吸が存在する:中枢性及び閉塞性である。中枢性睡眠時無呼吸は、脳が、呼吸筋に呼吸を開始するための適切なシグナルを送ることができない場合に(例えば、脳幹の傷害もしくは損傷の結果として)生じる。機械換気が、呼吸を持続させるために利用可能な唯一の処置である。
閉塞性睡眠時無呼吸(OSA)は、はるかにより一般的である。通常、喉の上部の筋肉は、気道を開いた状態にし、空気を肺へと流れるようにする。舌根にある筋肉及び口蓋垂(喉の奥の中心から垂れる小さな肉質の組織)が弛緩して沈下する場合、この弛緩した組織は、呼吸の間に組織を通り過ぎた空気の流れに従って振動し、いびきを引き起こす。いびきは、およそ男性の半分そして女性の25%−ほとんどが50歳以上、に影響を及ぼす。
より深刻な場合、気道がブロックされて、呼吸を困難にかつ騒々しくし、又は完全に呼吸を止めさえする。一晩で、不随意の呼吸停止又は「無呼吸性現象」の数は、1時間に20から30、又はそれ以上高くあり得る。これらの呼吸停止は、ほぼ常に無呼吸の発症の間にいびきを伴う。しかし、いびきをかく者全てがこの状態を有しているわけではない。睡眠時無呼吸は、窒息感によっても特徴付けることができる。
肺への空気の取り込みの欠乏は、血中の酸素レベルの低下及び二酸化炭素レベルの増加をもたらす。この酸素及び二酸化炭素レベルの変化は、脳に警告を与えて、呼吸を再開し、そして覚醒を引き起こす。深い、回復性の睡眠のこの頻繁な中断は、早朝の頭痛、過剰な日中の眠気、うつ、過敏性、並びに学習困難及び記憶困難をもたらす場合が多い。
医学界は、中程度及び重篤な閉塞性睡眠時無呼吸を有する人々における心臓発作、高血圧及び脳卒中の発生の増加に気付いた。睡眠時無呼吸患者の50%までが高血圧を有すると推定される。
無呼吸性現象において、睡眠中の人は、正常な呼吸機能を継続することが不可能であり、血中の酸素飽和のレベルが減少する。脳は、この状態を感知し、睡眠者に空気を得るためにもがいたり喘いだりさせる。次いで呼吸は再開するが、無呼吸性現象が持続する場合が多い。血圧における急激な代償性の揺らぎに起因して、心臓及び血管に対する有害な作用が潜在的にある。各現象において、睡眠中の人は部分的に睡眠から覚醒し、このことは、睡眠の質を大きく減少させ、関連する日中の疲労をもたらす。
数回の無呼吸性現象は、全てのヒト及び哺乳動物において通常のことであるが、ブロックの頻度は、疾患の重篤性及び健康を損なう機会を決める。ブロックの発生が頻発する場合、矯正する措置が取られるべきである。
II.上気道の解剖
図1が示すように、上気道は、鼻の先端に位置する鼻弁で始まり喉頭へと延びる導管からなる。この喉頭(larynx)は、声帯(voice cords)を収容しているため、ボイスボックスとも呼ばれる。咽頭(pharynx、ギリシャ語で「喉」という意味)は、頭部の口腔及び鼻腔から食道及び喉頭まで通じる上気道内の円錐型の通路である。咽頭は、呼吸機能としても消化機能としても役立つ。輪状筋も縦走筋も、咽頭壁と呼ばれるこの器官の壁内に存在する。輪状筋は収縮して、食物を食道まで押し流すこと、及び、空気が飲み込まれるのを防ぐことに寄与し、一方、縦走筋は、その嚥下の間咽頭の壁を持ち上げる。
咽頭は3つの主な区分からなる。上部は、鼻腔の裏の部分の咽頭鼻部である。咽頭鼻部は、狭部と呼ばれる通路によって、第2の領域である咽頭口部とつながっている。咽頭口部は、口腔の後ろで始まり、肺までの気道を覆い且つ食物を食道まで運ぶ組織の皮弁である喉頭蓋まで喉から下に続く。口部と鼻部をつなぐ狭部によって、ヒトは鼻又は口を介して呼吸することが可能になる。第3の領域は、喉頭蓋で始まり食道まで下に通じる咽頭喉頭部である。その機能は、肺までの空気の通路及び食道までの食物の通路を制御することである。鼻腔からの空気は喉頭内に流れ、口腔からの食物はちょうど喉頭の裏にある食道まで送られる。軟骨性で葉形の皮弁である喉頭蓋は、喉頭に対する蓋として機能し、嚥下の行為中、空気及び食物の流れを規制する。
口腔は消化管の開始を表す。楕円形であり、2つの部分−前庭及び固有口腔−からなる。
前庭は、唇及び頬によって外面的に、並びに、歯茎及び歯によって内面的に境界が定められた小さな外側の部分である。前庭は、声門裂又は口の開口部を介して体表面とつながっている。前庭は、耳下の唾液腺の分泌を受け、顎が閉じられた場合には、両側の智歯の後ろにある穴によって、及び、相反する歯の間の狭い裂によって固有口腔とつながる。
固有口腔は舌を有し、中に歯を含有した歯槽弓によって横及び前に境界が定められている。上顎上の歯槽突起は上顎骨内に含まれ、下顎上の歯槽突起は下顎骨内に含まれる。下顎骨は、下顎骨(下)の歯を支持するU字型の骨である。
固有口腔は、顎下腺及び舌下腺から分泌物を受ける。固有口腔は、口狭狭部と呼ばれる狭窄した穴によって咽頭とつながっている。
舌(図1Bを参照)は、種々の形状及び位置をとることができる可動性の筋肉器官である。舌は、外因性及び内在性の筋肉を含む。外因性筋肉(図1Bに示されている)(頤舌筋、舌骨舌筋、茎突舌筋、及び、口蓋舌筋)は、その起源を他の構造体に有し、舌に結合している。その機能は、舌を動かすこと、及び、時々その形状を変えることである。舌の内在性筋肉(上縦舌筋、下縦舌筋、横舌筋、垂直舌筋)(特に図示せず)は、舌の形状に変化を起こすため舌全部に完全に結合されている。舌の下面(図1Cを参照)は、薄くて透明な粘膜で覆われており、その粘膜を介して、下にある静脈を見ることができる。(図1Cで示されているように)舌を上げると、舌小帯があらわになる。舌小帯は、舌の前部が自由に動くのを可能にしながら、舌を口底につなぐ大きな中線の粘膜ひだである。
舌は、舌骨及び下顎骨に結合された比較的固定された下部を有している。残りの舌は、舌体と呼ばれ、本質的には(粘膜によって大部分が覆われた)筋肉のかたまりである。舌の筋肉は孤立して作用しない。一部の筋肉は、1つの筋肉行為の部分が異なる、時々は拮抗する行為を独立して生み出しながら、複数の行為を行う。
舌は、部分的に口又は口腔内に、及び、部分的に咽頭内にある。静止状態で、舌は、口腔全体を本質的に占領する。舌の後部は、口腔の後ろの境界を定める。その粘膜は厚く自由に移動することができる。
舌は、咀嚼、味覚、発音、及び、口内の浄化と関わりを持っている。その2つの主な機能は、話をしている間に言葉を口にすること、及び、嚥下時に食物を咽頭内に押し込むことである。
喉頭蓋は、舌根の後ろにあり、喉頭の前にある保護用の軟骨ひだである。ヒトが呼吸をする場合、喉頭蓋は立ち上がり、空気が喉頭及び肺の中に入って行くのを可能にする。嚥下中、喉頭蓋は折り返され、喉頭を覆い、食物が気管及び肺に入るのを防ぐ。嚥下が終了すると、喉頭蓋は、その直立位置を再び取り戻す。
口蓋は、口腔(口)のアーチ形の屋根のようなもの、及び、鼻腔(鼻)の底部を形成し、口腔を鼻腔及び咽頭鼻部から分けている。口蓋は、2つの領域−前に硬口蓋、及び、後ろに軟口蓋−からなる。
硬口蓋はアーチ形に曲がっており、舌が静止している場合に舌によって満たされる空間を画定する。硬口蓋は、歯槽弓及び歯茎によって前及び横の、並びに、軟口蓋によって後ろの境界を示す。口の骨膜及び粘膜によって生じる密な構造体が硬口蓋を覆う。直線的な縫線が硬口蓋の中心線に沿って横たわっている。硬口蓋は硬い骨ばった骨格を有しており、それ故その名前がつけられている。
軟口蓋は骨ばった骨格を有しておらず、それ故その名前がつけられている。軟口蓋は、硬口蓋の後縁部からつるされた可動性のひだであり、口と咽頭との間に不完全な境界線(隔膜)を形成している。軟口蓋は、筋線維を包む粘膜、腱膜、管、神経、咽頭扁桃組織、及び粘液腺を含む。軟口蓋が弛緩して懸垂状態にある場合、その前面は凹面を有し、口の屋根部分と同じ線をたどる。軟口蓋の後面は凸面を有し、鼻腔の底部を覆う粘膜の続きである。軟口蓋の上の境界線は硬口蓋に結合し、側部は咽頭の一部になり、下の境界線はつながっていない。垂れ下がっている下の境界は、口と咽頭を分ける軟口蓋(palatine velum)として知られている。下の境界の真ん中において、小さく肉質な円錐形の突起物は口蓋垂と呼ばれ、口蓋垂は食物が鼻咽頭に入り込むのを防ぎ、軟口蓋の筋肉が食物を咽頭内に押し流す。弓が口蓋垂から横及び下向きに位置している。これらの弓は、舌口蓋弓(前弓)及び咽頭口蓋弓(後弓)と呼ばれる。口蓋腱膜は、薄くて堅い線維が詰まった薄板であり、筋肉を支持して軟口蓋を強固にしている。
軟口蓋は、硬口蓋の後縁部から吊されている。軟口蓋は曲線状の自由縁として後ろ及び下に延び、その自由縁から口蓋垂と呼ばれる円錐形の突起が垂れ下がり、軟口蓋の裏でぴったりとついていくのは、それぞれ口蓋舌弓及び口蓋咽頭弓である。筋肉が頭蓋骨の底部から上昇し、軟口蓋内に降りてくる。この筋肉により、嚥下中に軟口蓋を持ち上げて後ろの咽頭壁と接触させることが可能になる。この筋肉は、嚥下中に軟口蓋を下に引いて舌の後部と接触させることも可能にする。
軟口蓋は、その結果、非常に動的で可動性である。ヒトが嚥下する時、軟口蓋は最初にぴんと張られ、舌を軟口蓋に押しつけるのを可能にして、食物の小さな丸いかたまりを口の奥へと押し進める。次に、軟口蓋は咽頭壁に向かって後ろ及び上に持ち上げられ、鼻腔内への食物の通過を防ぐための弁として作用する。
軟口蓋の後端では、C3脊椎骨のレベルで首の前部において舌根にて、及び、下顎骨と喉頭すなわちボイスボックスの甲状軟骨との間の角度で舌骨が位置を定めている。舌骨は対称でU字型の骨であり(図2Bを参照)、舌、咽頭、及び首の前外側部分における数多くの筋肉に対する結合点として役立つより大きな角並びにより小さな角を有する本体を含んでいる(図3Aから3Dを参照)。
舌骨は、いかなる他の骨ともつながっておらず、筋肉に対しての単なる固着機能を供する。舌骨は、茎突舌骨靱帯によって側頭骨の茎状突起から吊され、甲状軟骨にしっかりと結びつけられている。機能上、舌骨は、数多くの筋肉に対する結合点、及び、気道を開けておくための支柱として役立つ。舌骨の主要な機能は、舌に対する固着構造体として役立つことである。
図3Aから3Dは、(図1Bが示しているように)舌骨に結合する数多くの筋肉の一部を示している。舌骨に結合した筋肉は、より大きな角の末端にて結合する中咽頭括約筋を含む(図3Aを参照)。中咽頭括約筋は、上咽頭括約筋及び下咽頭括約筋(これらも図3Aに示されている)と共に、上気道に沿って延びている。前述したように、咽頭括約筋の筋肉機能における変化によって、咽頭の狭小化及び咽頭の圧潰が起こり得る。
舌骨に結合した筋肉には、舌骨舌筋も含まれる(図3B及び3D、並びに、図1Bを参照)。舌骨舌筋は、より大きい角それぞれの全長に沿って、及び、舌骨の本体からも始まる。舌骨舌筋は、図3Dにおいて最もよく示されているように、舌の側部のうち後ろ半分又はそれ以上に挿入される。舌骨は、舌骨舌筋が収縮した際にそれを固着させて、舌を押し下げ且つ口腔を広げ、その結果、気道を開ける。
舌骨に結合した筋肉には、2つの頤舌骨筋も含まれる(図3Cを参照)。頤舌骨筋は、2つの下顎の半分がぶつかる点の近くで始まり、筋肉の線維が中心線付近まで下及び奥に向かって延び、舌骨の本体の中に挿入されている。頤舌骨筋の収縮により、舌骨は上及び手前に引っ張られ、口の底部を短縮して咽頭を広げる。
舌骨の下の境界における中間部分に挿入されているのは、胸骨舌骨筋である(図3Cを参照)。胸骨舌骨筋は、胸骨及び鎖骨から生じ、首において上に向かって及び互いに向かって延びる長い筋肉である。胸骨舌骨筋は、嚥下中に舌骨が持ち上げられた後舌骨を押し下げる。
舌骨に結合した他の筋肉は、口の底部に対して一種の横隔膜を形成し、嚥下中に口及び舌の底部を持ち上げる2つの顎舌骨筋(図3Cを参照);喉頭の甲状軟骨から生じ、喉頭を持ち上げる甲状舌骨筋(図3Cを参照);及び、肩甲骨の上縁部から生じ、舌骨を押し下げ、引っ込め、さらには安定化させる肩甲舌骨筋(図3Cを参照)である。
結合した筋肉に関連した舌骨の位置は、「船首及び船尾にて」錨で止められ停泊する場合に安定する船の位置に擬している。筋肉の結合を介して舌骨は、咀嚼、嚥下、及び発声において重要な役割を果たす。
発声器官(organ of voice)としても既知の喉頭は、上部気道の一部である。図1Aが示すように、喉頭は、舌根と気管との間に位置を定め、この位置は女性及び小児期においてはもっと高いけれども、垂直に、喉頭の位置はC4、C5、及びC6椎骨に一致する。図2Aは、喉頭における9つの軟骨:甲状軟骨、輪状軟骨、2つの披裂軟骨、2つの小角軟骨、2つの楔状軟骨、及び喉頭蓋を示している。
喉頭は、甲状軟骨及び喉頭蓋を舌骨と、並びに、輪状軟骨を気管と結びつける外因性の靱帯を含む(図2Bを参照)。甲状舌骨膜及び外甲状舌骨靱帯は、甲状軟骨を舌骨にくっつけている。舌骨喉頭蓋靱帯は、喉頭蓋を舌骨の上縁部につないでいる。輪状気管靱帯は、輪状軟骨を第1気管輪にくっつけている(図2B参照)。
III.睡眠及び上気道の解剖学的分析
この導管に沿った全ての組織は、動的で呼吸周期に対応するが、咽頭のみが、全体的に圧潰し得る。咽頭構造及びこの領域内の各解剖学的構成要素としては、咽頭壁;舌根;口蓋垂を有する軟口蓋;及び喉頭蓋が挙げられる。
上気道の断面積は、呼吸周期の相によって変動する。吸息の開始(I相)で、気道は拡張し始め、次いで吸息の残り(II相)を通じて比較的一定なままである。呼気の開始(III相)で、気道は広がり始めて最大直径に達し、次いで大きさが減少し、従って、呼気の終わり(IV相)でその最も狭い状態(上気道拡張筋が最も活動的でなく、そして管内の陽圧が最も低い時間に対応する)になる。従って、上気道は、呼気の終わりに最も高い圧潰及び閉鎖の可能性を有する(Schwab RJ,Goldberg AN.Upper Airway Assessment:Radiographic and other Imaging Techniques.Otolaryngol Clin North Am 1998;31:931−968)。
睡眠は、上気道拡張筋の活動の減少によって特徴付けられる。いびきをかくか、又は、閉塞性睡眠時無呼吸(OSA)、及びおそらく、閉塞性睡眠障害性呼吸(SDB)と呼ばれる群の要素の多くを含む他の障害を有する個体に関して、この筋肉機能の変化が咽頭の狭小化及び圧潰を引き起こすと考えられている。OSA患者におけるこの現象に関して、2つの可能性のある病因が理論化された。1つは、これらの個体は、睡眠中に非無呼吸の個体よりも気道拡張筋の緊張を減少させるというものである(神経理論)。その他は、全ての個体は睡眠中に拡張筋の活動における同様の減少を経験するが、無呼吸の個体は、構造的により不安定な咽頭を有するというものである(解剖学的理論)。実際は、両方の理論がOSAの原因となり得るが、最近の研究は、OSA患者が生まれつき構造的に狭く、より圧潰し得る咽頭を有するということを支持しているように見える(Isono S.Remmers J,Tanaka A Sho Y,Sato J,Nishino T.Anatomy of Pharynx in Patients with Obstructive Sleep Apnea and in Normal Subjects.J Appl Physiol 1997:82:1319−1326)。この現象は、口蓋帆咽頭レベル等の特定の部位で顕著である場合が多いが(Isono)、閉鎖性の圧力の研究(Isono)は、咽頭の全長に沿って通常起こる狭小化及び圧潰を示す、ダイナミック高速MRI画像(dynamic fast MRI imaging)を支持する(Shellock FG,Schatz CJ,Julien P,Silverman JM,Steinberg F,Foo TKF,Hopp ML,Westbrook PR.Occlusion and Narrowing of the Pharyngeal Airway in Obstructive Sleep Apnea:Evaluation by Ultrafast Spoiled GRASS MR Imaging.Am J of Roentgenology 1992:158:1019−1024)。
IV.処置の選択肢
これまで、上気道全体に沿った圧潰に取り組む唯一の療法は、持続気道陽圧(CPAP)機等の機械的陽圧呼吸装置である。種々の外科手術手順及び経口器具等、他の全ての療法は、それらの性質によって気道の特定の部分(口蓋、舌根、及び舌骨のレベル等)に焦点を当てるが、咽頭壁の部分を未処置のままにする。これは、OSAを制御することにおいて外科手術及び器具と比較して、CPAPのかなり高い成功率を説明する。呼吸周期のための気道スプリントとして本質的に働くCPAPは、非常に成功しているが、いくつかの非常に重大な欠点を有する。それは、装着して歩き回るのがやっかいである可能性があり、社会的レベルで受け入れるのが困難であり得、そして多くの人に(閉所恐怖症、顔面及び鼻のマスクの圧力による痛み、気道の炎症等の理由のため)許容されない可能性がある。これらの要因は、比較的低い長期コンプライアンス率をもたらしてきた。1つの研究は、患者の65%が、彼らのCPAP処置を6ヶ月以内に中止したことを示している。OSAに対する他の最近の処置として、頤舌筋前進術(GA)、上下顎前進術(MA)、及び、舌骨の筋切開術が挙げられる。InfluENT Medicalは、縫合糸の輪が舌を通り抜け、下顎骨内に本質的に挿入されたねじに固定される頤舌筋前進術処置を提供している。別の処置である舌骨の筋切開術及び懸垂処置では、舌骨に結びつけられた縫合糸を用いて舌骨を前進させ、その縫合糸は下顎骨内に配置された2つのねじにその構造体を固定する。これらの処置は、非常に侵襲性の外科手術手順を含み、且つ、長い回復時間を要し、従って、患者への人気は比較的低い。
睡眠障害性呼吸現象を軽減するか又は予防するための、簡素で、最小限に侵襲性の、対費用効果の高い装置、システム、及び方法に対する必要性が残る。
気道において又は気道に沿って組織領域を所望の定位に維持することによって、例えばいびき及び/又は睡眠時無呼吸等の睡眠障害性呼吸現象を軽減するか若しくは予防する装置、システム、及び方法が提供される。
正常なヒトの鼻気道、口腔、及び口咽頭における解剖学的な矢状断面図である。 上部気道の筋肉における解剖学的な矢状面図である。 舌の下側部及び口の底部を見せるために舌体が持ち上げられた、口腔の解剖学的前面図である。 部分的に剥がされた断面図を有した、舌及び軟口蓋を含めた一種の睡眠時無呼吸に苦しむヒトの解剖学的側面図であり、どのようにして舌根、軟口蓋、及び口蓋垂が咽頭壁に対して傾き、気道を事実上閉鎖し、無呼吸現象を引き起こすかを示している。 喉頭の軟骨を示した、喉頭の解剖図である。 喉頭の靱帯における前外側の図を示した、喉頭の解剖図である。 舌骨に結合した筋肉の解剖図である。 舌骨に結合した筋肉の解剖図である。 舌骨に結合した筋肉の解剖図である。 舌骨に結合した筋肉の解剖図である。 気道内の組織領域において所望の定位で植え込むために大きさを決められ構成された長尺状体の例示的な実施形態であり、組織とかみ合わせて、所望の定位からその組織領域内での本体の再定位を阻止するよう構成された突起物のアレイを有している。 組織領域内に植え込まれている図4Aで示された長尺状体の図であり、意図された植え込み方向で組織を通して本体を挿入した場合に本体に対して内側に曲げることによって弾性的に曲がっている突出物を示している。 組織領域内に植え込まれている図4Aで示された長尺状体の図であり、意図された植え込み方向で植え込みツールを通して本体を挿入した場合に本体に対して内側に曲げることによって弾性的に曲がっている突出物を示している。 組織領域内に植え込まれた後の図4Aで示された長尺状体の図であり、組織とかみ合わせて、挿入方向とは異なる方向での組織における本体の移動に抵抗するように働かせるための外側に広がる弾力的な突出物を示している。 組織領域内に植え込まれた後の図4Aで示された長尺状体の図であり、組織とかみ合わせて、挿入方向とは異なる方向での組織における本体の移動に抵抗するように働かせるための外側に広がる弾力的な突出物を示しており、前記移動は、長尺状体が植え込まれた組織領域の形状又は定位における変化に影響を及ぼす張力を長尺状体に加える。 軟口蓋において睡眠時無呼吸を処置する方法を示しており、軟口蓋における異常により睡眠時無呼吸に苦しむヒトの矢状面図を示している。 軟口蓋において睡眠時無呼吸を処置する方法を示しており、図5Aのヒトに植え込まれた図4Aの長尺状体を示している。 口蓋垂において睡眠時無呼吸を処置する方法を示しており、口蓋垂における異常により睡眠時無呼吸に苦しむヒトの矢状面図を示している。 口蓋垂において睡眠時無呼吸を処置する方法を示しており、図6Aのヒトに植え込まれた図4Aの長尺状体を示している。 舌において睡眠時無呼吸を処置する方法を示しており、舌における異常により睡眠時無呼吸に苦しむヒトの矢状面図を示している。 舌において睡眠時無呼吸を処置する方法を示しており、図7Aのヒトに植え込まれた図4Aの長尺状体を示している。 喉頭蓋において睡眠時無呼吸を処置する方法を示しており、喉頭蓋における異常により睡眠時無呼吸に苦しむヒトの矢状面図を示している。 喉頭蓋において睡眠時無呼吸を処置する方法を示しており、図8Aのヒトに植え込まれた図4Aの長尺状体を示している。 上部気道の筋肉において睡眠時無呼吸を処置する方法を示しており、上部気道の筋肉における異常により睡眠時無呼吸に苦しむヒトの矢状面図を示している。 上部気道の筋肉において睡眠時無呼吸を処置する方法を示しており、図9Aのヒトに植え込まれた図4Aの長尺状体を示している。 一定方向の棘を有する有棘縫合糸を含む長尺状体の例示的な部分を示している。 多方向の棘を有する有棘縫合糸を含む長尺状体の例示的な部分を示している。 口蓋に有棘縫合糸を挿入するための器具を示しており、口蓋内に有棘縫合糸を挿入するための例示的な器具を示している。 口蓋に有棘縫合糸を挿入するための器具及び方法を示しており、硬口蓋の一部、及び、口蓋内に挿入される有棘縫合糸を挿入するための例示的な器具を有した軟口蓋の側断面図である。 口蓋に有棘縫合糸を挿入するための器具及び方法を示しており、硬口蓋、並びに、有棘縫合糸を挿入するための例示的な器具及び該器具に通された例示的な有棘縫合糸を有した軟口蓋の側断面図である。 口蓋に有棘縫合糸を挿入するための器具及び方法を示しており、硬口蓋、及び、例示的な終片(end piece)を有した軟口蓋の側断面図である。 口蓋に有棘縫合糸を挿入するための器具及び方法を示しており、硬口蓋、並びに、有棘縫合糸及び挿入された終片を有した軟口蓋の側断面図である。 有棘縫合糸を舌に挿入する方法を示した、ヒトの上部気道系における解剖学的な矢状面図である。 有棘縫合糸を舌に挿入する方法を示した、ヒトの上部気道系における解剖学的な矢状面図である。 有棘縫合糸を舌に挿入する方法を示した、ヒトの上部気道系における解剖学的な矢状面図である。 有棘縫合糸を舌に挿入する方法を示した、ヒトの上部気道系における解剖学的な矢状面図である。 有棘縫合糸を舌に挿入する方法を示した、ヒトの上部気道系における解剖学的な矢状面図である。 有棘縫合糸を舌に挿入するために使用される針の例示的な実施形態である。 有棘縫合糸を舌に挿入するために使用される針の例示的な実施形態である。 有棘縫合糸を舌に挿入するための別の方法を示した、口腔の解剖図である。 有棘縫合糸を舌に挿入するための別の方法を示した、口腔の解剖図である。 有棘縫合糸を舌に挿入するための別の方法を示した、口腔の解剖図である。 有棘縫合糸を舌に挿入するための別の方法を示した、口腔の解剖図である。 1又は複数の有棘縫合糸を口蓋及び口蓋垂に挿入するための別の実施形態を示した、口腔の解剖図である。 1又は複数の有棘縫合糸を口蓋及び口蓋垂に挿入するための別の実施形態を示した、口腔の解剖図である。 1又は複数の有棘縫合糸を口蓋及び口蓋垂に挿入するための別の実施形態を示した、口腔の解剖図である。 1又は複数の有棘縫合糸を口蓋及び口蓋垂に挿入するための別の実施形態を示した、口腔の解剖図である。 1又は複数の有棘縫合糸を口蓋及び口蓋垂に挿入するための別の実施形態を示した、口腔の解剖図である。 1又は複数の有棘縫合糸を口蓋及び口蓋垂に挿入するための別の実施形態を示した、口腔の解剖図である。 図1Bに示された図と類似した、所望の組織定位に影響を及ぼすよう植え込まれた有棘縫合糸を示した、上部気道の筋肉における解剖学的な矢状面図である。 図3Cに示された図と類似した、所望の組織定位に影響を及ぼすよう植え込まれた有棘縫合糸を示した、上部気道の筋肉における解剖学的な矢状面図である。 喉頭蓋に挿入された有棘縫合糸を示した、解剖学的な矢状面図である。 喉頭蓋に挿入された有棘縫合糸を示した、解剖学的な矢状面図である。 喉頭蓋に挿入された有棘縫合糸を示した、解剖学的な矢状面図である。 口蓋に挿入された縫合糸を示した、口腔の解剖図である。 口蓋に挿入された縫合糸を示した、口腔の解剖図である。 口蓋に挿入された縫合糸を示した、口腔の解剖図である。 縫合糸における張力を調節するための装置を示した、口腔の解剖図である。 縫合糸における張力を調節するための装置の斜視図である。 図18Aで示されているように口蓋に植え込まれた図18Bの装置の断面図である。 縫合糸における張力を調節するための別の装置の斜視図である。 縫合糸における張力を調節するための別の装置の斜視図である。 縫合糸における張力を調節するための別の装置の側断面図である。 縫合糸における張力を調節するための別の装置の斜視図である。 縫合糸における張力を調節するための別の装置の側面図である。 図22Aで示されている装置の上面図である。 口蓋に植え込まれた図22Aで示されている装置の断面図である。 上部気道系の解剖図である。 舌の下にある外因性の筋肉領域にブレーシング材を含む植え込み構造体の挿入方法を示した、舌の断面図である。 舌の下にある外因性の筋肉領域にブレーシング材を含む植え込み構造体の挿入方法を示した、舌の断面図である。 舌の下にある外因性の筋肉領域に植え込まれた、フッキング材のバックルを含む植え込み構造体を示した、上部気道系の解剖図である。 舌の下にある外因性の筋肉領域に植え込まれた、フッキング材のバックルを含む植え込み構造体を示した、上部気道系の解剖図である。 舌の下にある外因性の筋肉領域に植え込まれた、フッキング材のバックルを含む植え込み構造体を示した、上部気道系の解剖図である。 図25A及び25Bは、舌の下にある外因性の筋肉領域に植え込まれた、エラストマー構造体を含む植え込み構造体を示した、上部気道系の解剖図である。 気道の組織領域内に所望の定位で植え込むために大きさを決められ構成された細長いエラストマー体の例示的な実施形態の図であり、弛緩した状態にあるエラストマー体の斜視図である。 気道の組織領域内に所望の定位で植え込むために大きさを決められ構成された細長いエラストマー体の例示的な実施形態の図であり、わずかに伸張された状態にある図26Aのエラストマー体の斜視図である。 気道の組織領域内に所望の定位で植え込むために大きさを決められ構成された細長いエラストマー体の例示的な実施形態の図であり、図26Aのエラストマー体の端面図である。 気道の組織領域内に所望の定位で植え込むために大きさを決められ構成された細長いエラストマー体の例示的な実施形態の図であり、伸張された状態にある図26Aのエラストマー体の斜視図である。 気道の組織領域内に所望の定位で植え込むために大きさを決められ構成された細長いエラストマー体の例示的な実施形態の図であり、弛緩した状態にあるエラストマー体の斜視図である。 気道の組織領域内に所望の定位で植え込むために大きさを決められ構成された細長いエラストマー体の例示的な実施形態の図であり、わずかに伸張された状態にある図27Aのエラストマー体の斜視図である。 気道の組織領域内に所望の定位で植え込むために大きさを決められ構成された細長いエラストマー体の例示的な実施形態の図であり、図27Aのエラストマー体の端面図である。 気道の組織領域内に所望の定位で植え込むために大きさを決められ構成された細長いエラストマー体の例示的な実施形態の図であり、伸張された状態にある図27Aのエラストマー体の斜視図である。 気道の組織領域内に所望の定位で植え込むために大きさを決められ構成された細長いエラストマー体の例示的な実施形態の図であり、弛緩した状態にあるエラストマー体の斜視図である。 気道の組織領域内に所望の定位で植え込むために大きさを決められ構成された細長いエラストマー体の例示的な実施形態の図であり、伸張された状態にある図28Aのエラストマー体の斜視図である。 気道の組織領域内に所望の定位で植え込むために大きさを決められ構成された細長いエラストマー体の例示的な実施形態の図であり、弛緩した状態にあるエラストマー体の斜視図である。 気道の組織領域内に所望の定位で植え込むために大きさを決められ構成された細長いエラストマー体の例示的な実施形態の図であり、伸張された状態にある図29Aのエラストマー体の斜視図である。 図29A又は図29Bのエラストマー体のヒトにおける挿入方法を示した、解剖学的な矢状面図である。 図29A又は図29Bのエラストマー体のヒトにおける挿入方法を示した、解剖学的な矢状面図である。 図29A又は図29Bのエラストマー体のヒトにおける挿入方法を示した、解剖学的な矢状面図である。 図29A又は図29Bのエラストマー体のヒトにおける挿入方法を示した、解剖学的な矢状面図である。 図29A又は図29Bのエラストマー体のヒトにおける挿入方法を示した、解剖学的な矢状面図である。 生体吸収性材料によって伸張された状態で保たれた図26Dのエラストマー体の斜視図である。 吸収性縫合糸によって伸張された状態で保たれた図26Dのエラストマー体の斜視図である。 生体吸収性材料によって伸張された状態で保たれた図27Dのエラストマー体の斜視図である。 吸収性縫合糸によって伸張された状態で保たれた図27Dのエラストマー体の斜視図である。 生体吸収性ビーズによって伸張された状態で保たれた図27Gのエラストマー体の斜視図である。 生体吸収性ビーズによって伸張された状態で保たれた図27Gのエラストマー体の斜視図である。 ステントアンカーをさらに含んだ図30Bのエラストマー体の斜視図である。 ステントアンカーをさらに含んだ図30Aのエラストマー体の斜視図である。 ばねがその弛緩した状態に戻り、ステントアンカーが展開された、図31A又は図31Bのエラストマー体の斜視図である。 図32A乃至32Cは、図31A又は図31Bのエラストマー体のヒトにおける挿入方法を示した、解剖学的な矢状面図である。 デイジーアンカー(daisy anchor)をさらに含んだ図30Bのエラストマー体の斜視図である。 デイジーアンカーをさらに含んだ図30Aのエラストマー体の斜視図である。 ばねがその弛緩した状態に戻り、デイジーアンカーが展開された、図33A又は図33Bのエラストマー体の斜視図である。 図33A又は図33Bのエラストマー体のヒトにおける挿入方法を示した、解剖学的な矢状面図である。 図33A又は図33Bのエラストマー体のヒトにおける挿入方法を示した、解剖学的な矢状面図である。 図33A又は図33Bのエラストマー体のヒトにおける挿入方法を示した、解剖学的な矢状面図である。 ヒトに挿入された図33A又は図33Bのエラストマー体の別の実施形態を示す解剖学的な矢状面図である。 図26Aのエラストマー体と共に使用するためのスプリングエキスパンダーの斜視図である。 エラストマー体がその上にはめ込まれている図35Aのスプリングエキスパンダーの斜視図である。 エラストマー体の一部からスプリングエキスパンダーを抜き取ることによってエラストマー体における張力が調節されている、図35Bのスプリングエキスパンダーを示している。 図36A乃至36Eは、スプリングエキスパンダーに連結されたエラストマー体、及び、連結したエラストマー体とスプリングエキスパンダーの挿入方法を示している。
本明細書中における開示は、当業者が本発明を行うことを可能にするために詳細かつ正確であるが、本明細書中で開示される実際の実施形態は、本発明を例示するのみであり、他の具体的構造で実施され得る。好ましい実施形態が記載されている一方、その詳細は、特許請求の範囲によって規定される本発明から逸脱することなく、変更され得る。
本明細書は、詰まっていない若しくは開いた気道を維持するか又はその維持に寄与するために、種々の方法、システム、及び装置を開示している。しかし、それらの種々の方法、システム、及び装置は、体内の通路等、人体内及び/又は人体の周りで生じる組織圧潰の制限を要する処置に応用されるけれども、種々の装置、システム、及び方法は、組織ベースの応用に制限される必要はない。
当該装置、システム、及び方法は、特に、睡眠時無呼吸を含めた睡眠障害性呼吸の処置に対して非常に適している。そのため、当該装置、システム、及び方法は、この状況において記述されることになる。しかし、開示された装置、システム、及び方法は、必ずしも睡眠障害に関連するものではなく、人体の別の場所における他の機能障害の処置にも適用できると正しく認識されたい。
I.解剖学的考慮及び睡眠時無呼吸
ヒトにおいて、舌は、様々な動きをする器官であり、それは、発言、食事、及び嚥下を含めた広範囲な活動に舌が関与しているためであるという理由が一部ある。ヒトが覚醒している場合、舌は、通常、上方及び前方の位置で動く。ヒトが寝ている場合、舌の筋肉は弛緩し、舌はさらに広範囲な方向に動くことができる。この動きは、回転する様式で、左右、後方、前方、頭方、尾方、又は、それらのうちいかなる組合せでも生じ得る。
舌は、他の構造体と共に動き得る(すなわち、舌と咽頭壁が一緒になるか、若しくは、舌と口蓋が一緒になる)か、又は、口蓋、後壁、若しくは喉頭蓋は動くことなく舌が動く等、他の構造体から独立して動き得る。
睡眠時無呼吸は、気道が閉塞された状態になる場合に生じる。呼吸低下は、気道が部分的に閉塞された場合に生じる。睡眠時無呼吸は、多くの形状をとり得る。気道の閉鎖は、舌、軟口蓋、喉頭蓋、咽頭壁、及び舌骨のいかなる組合せも含めた、いかなる数の気道に沿った解剖学的構造体においても生じ得る。特に、舌が咽頭壁に対して圧潰し得るか、又は、舌根及び咽頭壁の両方が同時に圧潰する場合もある。従って、睡眠時無呼吸は、特定の解剖学的構造体の圧潰を防ぐことによって処置することができる。
図1Aは、鼻腔及び口腔、舌、硬口蓋、軟口蓋、口腔咽頭、顎、及び首を示した、正常な患者の上気道系における矢状断面図である。図1Bは、舌及び口蓋を含んだ睡眠時無呼吸の一形態に苦しむ患者の側面図を示している。図1Bに示されているように、舌根、軟口蓋、及び口蓋垂が咽頭壁に対して傾き、上気道を事実上閉鎖している。結果として無呼吸の発作が生じ得る。
II.睡眠時無呼吸の処置
上記のように、睡眠時無呼吸は、気道が閉塞された状態になる場合に生じる。気道の閉塞は、上部気道系の少なくとも一部における筋肉が緊張を失い、気道を閉塞状態にさせた場合に引き起こされ得る。本発明は、上部気道系の種々の組織内に種々の装置を挿入して、周囲の組織の形を直す、周囲の組織を配置し直す、又は、周囲の組織に張力をかけることを意図する。
睡眠時無呼吸を処置する代表的な装置10が図4Aに示されている。図4Aで示されているように、処置装置10は、組織領域内に所望の定位で植え込むために大きさを決められ構成された長尺状体の形状をとっている。本体10はいかなる横断面形も有することができるけれども、例示された実施形態において、本体10は全般的に円形の断面形を有している。長尺状体10は、個体の標的となる組織領域における本体10の植え込みを容易にし、その後は所望の定位に従うよう可撓性であり得、前記所望の定位は、その組織領域の形態及び特定の処置目的に依存する。長尺状体10は、望ましくは全般的に非弾性でもあり、さもなければ、機械的な弾性又は張力を保持する能力を持つ耐久力を有しており、それは、簡潔な言い方で、「張力調整可能(tensionable)」と呼ばれる。長尺状体10は、例えばナイロン、ポリプロピレン、又はステンレス綱等、糸のような不活性プラスチック又は金属材料から作製することができる。処置目的に依存して、1又は複数の長尺状体10を選択された組織領域にて植え込むことができる。
突起物12のアレイ又は複数の突起物12は、長尺状体10から延びている。図4Aで示されているように、突起物12は、本体10の縦軸に相対して鋭角α分外側に向かって放射状に延びている。突起物12は、組織とかみ合って本体10を組織領域内に固定するよう大きさが決められ構成される。その設計によって、突起物は、長尺状体10又は長尺状体10の一部分が組織を通じて他の方向よりもある一方向でより容易に動くのを可能にする。
外側に向かって直角に傾けられ延びた状態で、突起物12は、望ましくは弾性的に本体10に連結される。この配置では、突起物12は、力の適用によって本体10上に折り返すことができ、力が取り除かれた時、直角に傾けられ延びた状態に跳ね返って戻ることができる。突起物12は、それ自体も可撓性であり得る。
例示された実施形態(図4A及び4Bを参照)において、突起物12は、(図4Bの挿入矢印によって示されている)本体10が植え込み中に組織領域内に挿入されるよう意図される方向とは反対の方向に本体10から延びている。(図4Bが示す)この様式で、本体10が意図された植え込み方向で組織を通じて引っ張られる場合に、突起物12は本体10に対して内側に曲がることによって動く能力を持つ。
あるいは、(図4Cで示されているように)本体10は、ガイド管又は針を介して植え込むことができる。この配置で、突起物12は、ガイド管内で前進した場合に本体10に対して内側に曲がり、(図4Dが示すように)ガイド管又は針がはずされた場合に組織とかみ合うよう外側に延びる能力を持つ。
植え込みの様式に関わらず、本体12の植え込み後、突起物12は組織とかみ合い、(図4Dにおいて抵抗矢印によって示されている)挿入方向とは異なる方向での組織における本体10の移動に抵抗するよう役立つ。図4Dで示されているように、抵抗方向は、挿入方向とはまさに反対の方向の周りで角度的に配置される方向の範囲内に置くことができる。
図4Eで示されているように、突起物12の定位により、植え込み中又は植え込み後に長尺状体10を抵抗方向の範囲内にある方向に引っ張ることによって、長尺状体10に対して張力が適用され、長尺状体10が植え込まれた組織領域の形状又は定位における変化に影響を及ぼすことができる。
使用中、長尺状体10は組織領域内に所望の定位で植え込まれる。前記所望の定位は、例えば気道を開けておくために、組織領域に与えられることになる所望の形状若しくは傾き、及び/又は、別の組織領域に相対した組織領域の所望の定位の維持等、組織領域の位置及び処置目的によって決定される。突起物12のアレイは、所望の定位での本体10の植え込みを適応させるよう曲がるか、さもなければ、動く。前記所望の定位は、その植え込み中の長尺状体12に対する張力の選択的な適用を含み、組織領域内の形状、定位、及び/又は他の生理学的特徴における所望の変化に影響を及ぼし得る。
所望の定位での本体10の植え込み中及び植え込み後、突起物12は組織とかみ合うよう役立ち、組織領域内での所望の定位からの本体10の再定位に抵抗する。定位が植え込み中に張力を本体10に適用することを含む場合、突起物12が与える抵抗によって組織領域自体が所望の定位で維持されるように、突起物12はその張力を維持するよう役立つ。
A.軟口蓋における植え込み
閉塞性睡眠時無呼吸は、軟口蓋の組織が「筋緊張低下」になった場合に生じ得る。図5Aで示されているように、軟口蓋の筋緊張低下の組織は、舌の奥又は他の気道構造体の上に倒れこみ、その結果、気道を塞ぐ場合がある。従って、軟口蓋の組織に張力をかけるか若しくはその位置を変えて、この気道の閉塞を減らすか又は除去することが望ましい。
図5Bに示されているように、上記の処置装置10を使用して、軟口蓋の組織に張力をかける、及び/又は、その位置を変え、気道の閉塞を減らすことができる。この代表的な実施形態において、1又は複数の長尺状体10が、軟口蓋の組織領域において所望の定位で植え込まれる。この実施形態において所望の定位は、舌の奥並びに他の気道構造体からは離れた所望の後ろ及び/又は上の定位で軟口蓋を維持するという処置目的によって決められる。本体10は、(図5Bで示されているように)舌の奥及び他の気道構造体から離して、定位で、並びに、軟口蓋をこの所望の定位に適合させる選択的な張力を用いて植え込まれる。
この配置において、突起物12は、軟口蓋における所望の定位での本体10の植え込みを適応させるために曲がるか、さもなければ動くように本体10に相対して向きが定められる。植え込み後、突起物12は、本体10から角度α分外側に延び、組織とかみ合って軟口蓋の組織領域内での所望の定位からの本体10の再定位に抵抗するよう、その結果、前及び/又は下の方向における、すなわち、舌根に向かった軟口蓋の圧潰に抵抗するよう役立つ。
B.口蓋垂における植え込み
閉塞性睡眠時無呼吸は、図6Aで示されているように、口蓋垂が「筋緊張低下」及び/又はゆがんだ状態になった場合にも生じ得る。口蓋垂が筋緊張低下状態になった場合、図6Aで示されているように、後ろの方向に位置を定めるようになり、舌の奥及び/又は咽頭壁に対して倒れこみ、且つ、気道を塞ぎ得る。従って、口蓋垂に前の方向において張力をかけるか若しくはその位置を変えて、気道の閉塞を減らすことが望ましい。
図6Bに示されているように、上記の処置装置10を使用して、口蓋垂に張力をかけて、及び/又は、その位置を変えて、気道の閉塞を減らすことができる。この代表的な実施形態において、1又は複数の長尺状体10が、口蓋垂の組織領域において所望の定位で植え込まれる。この実施形態において所望の定位は、舌の奥並びに咽頭壁から離して持ち上げた所望の前及び/又は上の定位で口蓋垂を維持するという処置目的によって決められる。本体10は、(図6Bで示されているように)舌の奥及び咽頭壁から離して、定位で、並びに、口蓋垂をこの所望の定位に適合させるか又は促す選択的な張力を用いて植え込まれる。
この配置において、突起物12は、口蓋垂における所望の定位での本体10の植え込みを適応させるために曲がるか、さもなければ動くように本体10に相対して向きが定められる。植え込み後、突起物12は、本体10から角度α分外側に延び、組織とかみ合って口蓋垂の組織領域内での所望の定位からの本体10の再定位に抵抗するよう、その結果、舌根に向かった及び/又は咽頭壁に対する口蓋垂の圧潰に抵抗するよう役立つ。
C.舌における植え込み
閉塞性睡眠時無呼吸は、図7Aで示されているように、舌の筋肉が緊張を失い、口蓋垂及び/又は咽頭壁に対して舌根を後ろの方向に倒し、その結果気道を塞いだ場合にも生じ得る。従って、舌の筋肉に張力をかけるか、さもなければ舌の位置を変えて、気道の閉塞を減らすことが望ましい。
図7Bに示されているように、上記の処置装置10を使用して、舌の筋肉をぴんと張ることができる。この代表的な実施形態において、1又は複数の長尺状体10が、舌の組織領域において所望の定位で植え込まれる。この実施形態において所望の定位は、口蓋垂及び/又は咽頭壁から離れた所望の前の定位に舌を促すか若しくは維持するという処置目的によって決められる。本体10は、(図7Bで示されているように)口蓋垂及び/又は咽頭壁から離して、定位で、並びに、舌を前の方向に促す選択的な張力を用いて植え込まれる。
この配置において、突起物12は、舌における所望の定位での本体10の植え込みを適応させるために曲がるか、さもなければ動くように本体10に相対して向きが定められる。植え込み後、突起物12は、本体10から角度α分外側に延び、組織とかみ合って舌の組織領域内での所望の定位からの本体10の再定位に抵抗するよう、その結果、口蓋垂及び/又は咽頭壁に対する舌による後方への圧潰に抵抗するよう役立つ。
D.喉頭蓋における植え込み
閉塞性睡眠時無呼吸の別の原因には、図8Aで示されているように、気道を閉鎖するか又は制限する喉頭蓋の異常が挙げられる。例えば、喉頭蓋が沈み込んで広げられ、気道を閉鎖する場合がある。喉頭蓋がゆがみ、従って気道を制限している場合があるということもあり得る。喉頭蓋も、筋肉の緊張を失い、「筋緊張低下」状態になり得る。筋緊張低下の喉頭蓋は、気道を制限する恐れがある。従って、喉頭蓋に張力をかけるか又はその位置を変えて、気道の閉塞を減らすことが望ましい。
図8Bに示されているように、上記の処置装置10を使用して、喉頭蓋をぴんと張る、及び/又は、その位置を変えて、気道の閉塞を減らすことができる。この代表的な実施形態において、1又は複数の長尺状体10が、喉頭蓋の組織領域において所望の定位で植え込まれる。この実施形態において所望の定位は、咽頭壁から離れた所望の前の定位に喉頭蓋を維持するか又は促すという処置目的によって決められる。本体10は、(図8Bで示されているように)咽頭壁から離して、定位で、及び、喉頭蓋を前の方向に促す選択的な張力を用いて植え込まれる。
この配置において、突起物12は、喉頭蓋における所望の定位での本体10の植え込みを適応させるために曲がるか、さもなければ動くように本体10に相対して向きが定められる。植え込み後、突起物12は、本体10から角度α分外側に延び、組織とかみ合って喉頭蓋の組織領域内での所望の定位からの本体10の再定位に抵抗するよう、その結果、咽頭壁に対する喉頭蓋による後方への圧潰に抵抗するよう役立つ。
E.上部気道の筋肉における植え込み
閉塞性睡眠時無呼吸の別の原因は、上部気道に沿った咽頭壁内の筋肉が緊張を失う場合である。筋肉が弛緩した場合、図9Aで示されているように、気道を塞ぐ恐れがある。これは特に、上部気道の筋肉が極度に弛緩する個体において、又は、気道が既に狭い個体において当てはまる。個体の気道は、個体の特定の形態により生まれつき狭いか、又は、肥満若しくは他の疾患等、他の要因により狭い場合がある。従って、上部気道内の筋肉に張力をかけて、気道の閉塞を減らすことが望ましい。
図9Bに示されているように、上記の処置装置10を使用して、上部気道の筋肉をぴんと張ることができる。この代表的な実施形態において、1又は複数の長尺状体10が、上部気道系の筋肉領域において所望の定位で植え込まれる。この実施形態において所望の定位は、気道に沿った他の構造体に対する圧潰から離して、所望の定位に筋肉を維持するか又は促すという処置目的によって決められる。本体10は、(図9Bで示されているように)気道に沿った他の構造体に対する圧潰から離して、定位で、及び、筋肉領域をこの定位に促す選択的な張力を用いて植え込まれる。
この配置において、突起物12は、上部気道系の筋肉領域における所望の定位での本体10の植え込みを適応させるために曲がるか、さもなければ動くように本体10に相対して向きが定められる。植え込み後、突起物12は、本体10から角度α分外側に延び、組織とかみ合って上部気道系の筋肉組織内での所望の定位からの本体10の再定位に抵抗するよう、その結果、気道に沿った他の構造体に対する筋肉領域の圧潰に抵抗するよう役立つ。
F.処置装置の使用
処置装置10は、睡眠時無呼吸の処置において、3つの異なる方法のうち少なくとも1つの方法で使用することができる。
第一に、処置装置10は、それ自体によって睡眠時無呼吸を効果的に処置するために使用することができる。前述したように、それだけには限らないが、口蓋垂、軟口蓋、硬口蓋、舌、上部気道の筋肉、又は喉頭蓋を含めた上気道の多くの部分において処置装置10を利用することができるということが意図される。
第二に、処置装置10は、睡眠時無呼吸の一時的な処置を提供し、例えば口蓋垂軟口蓋咽頭形成術(UPPP)等のより侵襲的な外科的治療処置を結果として勧めることができるかどうか評価する時間を個人及び処置を担当する医師に与えることができる。
第三に、処置装置10は、2003年9月6日に出願された、「Magnetic Force Devices,Systems,and Methods for Resisting Tissue Collapse Within the Pharyngeal Conduit」という題が付いた米国特許出願第10/656,861号明細書に開示された磁力システム等、他の種類の睡眠時無呼吸の処置と共に使用することができる。個体の解剖学的制限のため、処置装置10を使用して、特定の上部気道組織の位置にさらなる張力を提供することで補われることから、強磁性の構造体からなるシステムは利益を得ている。
III.処置装置の代表例
A.有棘縫合糸
上記の処置装置10は、種々の方法で構築することができる。1つの代表的な実施形態において、処置装置10は、図10A及び10Bで示されているように、有棘縫合糸110の形状をとる。有棘縫合糸110は、気道の組織領域において所望の定位で植え込むために大きさを決められ構成された長尺状体を含む。縫合糸100は、ナイロン、ポリプロピレン、又はステンレス綱等、可撓性で糸のようなプラスチック又は金属材料を含むことができ、それらは、本質的に、上記のように張力調整可能(tension−able)であることが望ましい。
有棘縫合糸110は、突起物又は棘112のアレイを含む。突起物112は、細長い縫合糸体から角度αを有して延びており、組織とかみ合って細長い縫合糸体を組織領域に固着させるよう大きさを決められ構成されている。突起物又は棘112のアレイは、その結果、組織領域内での所望の定位からの細長い縫合糸体の再定位に抵抗する。
突起物又は棘112は、例えば、細長い縫合糸体に斜めに切り込みを入れて、折れ曲がる鋭利な突起物を形成することによって作製することができる。突起物又は棘112は、細長い縫合糸体の中心点から、(図10Aで示されているように)同じ方向(すなわち一方向)か、又は、(図10Bで示されているように)2つの異なる方向(すなわち二方向)に延びることができる。縫合糸110の両末端では、棘のない部分が棘のある部分に続くことができる。
B.口蓋垂に有棘縫合糸を植え込むための代表的な器具及び方法
漠然と記述されたように、1又は複数の有棘縫合糸110を口蓋垂14に植え込むことができる。図11Aは、有棘縫合糸110を挿入するのに使用するための代表的な器具16を示している。器具16は、縫合糸110を通すために十分に大きな内腔20を有した空洞の鋭利な針18を含む。空洞の鋭利な針18は、ハンドル22に取り付けることができる。好ましくは、針18は、軟口蓋24に類似した、ゆるやかに曲がった形を有している。針18は、ハンドル22による近位末端、及び、ハンドルから一定の間隔に配置された遠位末端を含む。
図11Cに示されているように、縫合糸110は、前述したように一連の組織掴み棘112を含む。縫合糸110は、調整可能なスライディングトグルアンカー26も一末端にて含む(図11Cを参照)。スライディングトグルアンカー26は、以下においてより詳細に記述される。もう1つの手段として、針18は、ハンドルなしで有棘縫合糸110にスエージ加工(suaged)することができる。
全身又は局所麻酔下で植え込み処置を行うことができる。図11Bで示されているように、個体の口を開けたまま、針18の遠位末端が、軟口蓋24において粘膜下に配置され、口蓋垂14にて始まって筋肉組織内へと突入する。針18の遠位末端は、次に、軟口蓋と硬口蓋の連絡領域へと進められる。針の遠位末端は、図11Bが示すように、口腔内へと出戻ってくる。軟/硬口蓋連絡点付近の針の出口部位における組織は、堅い線維筋(fibromuscle)である。
針が粘膜から出てくるのに先立ち、小さな横切開が針の出口部位にて粘膜を通して行われ、(図11Bが示す)小さな粘膜下ポケット30を生じる。
図11Cで示されているように、針18の遠位末端が粘膜を出ると、調整可能なトグル末端アンカー26を有した有棘縫合糸110は、針18の遠位末端を通して逆行に与えられ(すなわち、始めに、トグルアンカー26を担持していない縫合糸の末端が針の遠位末端内に挿入され)、針の近位末端付近の口蓋垂の入口部位32を出る。図11Dで示されているように、空洞の針18は次に引き抜かれ、縫合糸110を軟口蓋24内の所定位置に残す。縫合糸体のこの定位において、棘112は、組織とかみ合って、トグルアンカー26を担持する縫合糸110の末端が引っ張られた場合に縫合糸体の移動に抵抗するよう方向が定められる。
あるいは、有棘縫合糸110の末端にスエージ加工された曲線状の針18が、硬口蓋−軟口蓋連絡点付近の口蓋24を貫通し、口蓋垂14の遠位末端から出て、さらに、その後ろの位置の中に有棘縫合糸110を引くことができる(図示せず)。
使用される縫合糸の挿入方法に関わらず、口蓋垂14にて可視である縫合糸110の部分は次に切り取ることができる。トグルアンカー26を担持する縫合糸110の末端は、縫合糸110の反対側の末端を順行に引くよう引っ張られ、棘12が並んだ反対側の末端を粘膜下の口蓋垂組織内に埋める。これは、棘112が引っ張られる方向における縫合糸体の移動に抵抗するため、縫合糸体を張った状態に置き始める。その張力は、前及び上の方向に口蓋垂を持ち上げて曲げ始める。
次に、個体の口は閉じられ、縫合糸110のトグル末端を口からはみ出したままにする。その個体は仰臥位にされ、可撓性の鼻咽腔鏡が、後方口蓋気道(retropalatal airway)を目視するために経鼻的に通される。
縫合糸110のトグル末端は、前の方向(口蓋では順行)にさらに引っ張られ、棘112にさらにかみ合い、さらに縫合糸を口蓋垂における所望の定位に置く。縫合糸を所望の定位に置くことによって、より局所的な張力も組織領域に適用される。応じて、図6Bで示されているように、口蓋垂、及び、通常それと共に軟口蓋が、所望の前に曲がった定位に向かって移動し、適切な後部の口蓋気道スペースを獲得する。気道スペースの定位は、引っ張ることによって縫合糸110のトグル末端に張力を選択的に適用しながら、鼻咽腔鏡によって目視されるよう続く。患者が覚醒している場合、これは呼気終末で行われ、Mueller maneuversで確証される。麻酔又は鎮静剤下で眠っている場合、口蓋の弛緩及び閉塞が明らかになる。
次に、口は再び開けられ、図11Eで示されているように、トグル26が縫合糸を滑り下ろされ、前に作製された硬/軟口蓋粘膜下連結部ポケット30にて縫合糸110上で下に堅く締めつけられる。
この処置は、粘膜下連結部ポケット30を閉めることによって完結する。粘膜下連結部ポケット30は、いかなる医学的に容認された装置及び方法を使用しても閉めることができる。
植え込み処置は、臨床的必要性により、1又は複数の有棘縫合糸110を配置するステップからなり得る。配置される有棘縫合糸110の数は、個々の患者の形態に応じて医師によって決定される。
有棘縫合糸110等の突起物を有した長尺状体の植え込みは、より羅患が少なく、よりダメージが少ない、且つ、より侵襲性の低い、外科的な口蓋垂軟口蓋咽頭形成術に代わるものを可能にする。有棘縫合糸110等の突起物を有した長尺状体の植え込みは、習慣性のいびきに対する現存する処置に代わるものとしても役立ち得る。長尺状体の引っ張りが鎮静剤を与えられた内視鏡検査下で行われた場合、一期的調整可能な懸垂処置(one−stage titratable suspension procedure)であるという能力を有する。現在利用可能な方法(レーザー切除、高周波硬化、及び、Pillar implant stiffening)は、その能力を有していない。
有棘縫合糸110等の突起物を有した長尺状体は、以下でより詳細に記述されるように、粘膜下のトグル26をはずし、口蓋垂の縫合糸110の末端の位置を突き止め、逆行に縫合糸体を引っ張り出すことによって局所麻酔下で取り除くことができる。
C.舌に有棘縫合糸を植え込む代表的な器具及び方法
1又は複数の有棘縫合糸110を舌34に挿入して、舌34を前に引っ張り、開放気道を保持することができる。舌根は、種々の方法で有棘縫合糸110を使用することによって前に引っ張ることができる。
1つの代表的な実施形態(図12Aから図12Eに示されている)において、切開が皮膚内で行われ、小さな穴が下顎骨36内に頤舌筋38の結合点にてあけられる(図12Aを参照)。図12Aで示されているように、この骨の中のドリル穴への接近は、顎の前で、又は、口内で行うことができる。
止め具又はボタン40が一末端に取り付けられた、一方向又は二方向の有棘縫合糸110の全長が針42に通される。ボタン40は、大きすぎて顎の穴を通るのに適合しないように大きさが決められることが望ましい。針42及び縫合糸110は、適応シャフト44内に挿入される。適応シャフト44は、顎の穴の中に挿入される。プランジャー46を使用して、針は、次に、(図12Aで示されているように)舌34に押し通され、(図12Bで示されているように)舌34の後部から取り除かれる。その針は、口を通して取り除かれる。次に、プランジャー46及び適応シャフト44は、顎の穴から取り除かれ、縫合糸110を舌の中に隠して残す。
次に、縫合糸110は、(図12Cで示されているように)顎を通して前の方向に引っ張られる。棘112は組織とかみ合い、引っ張る方向における縫合糸体の移動に抵抗するよう方向を定められているため、縫合糸体は、舌の中でピンと張られた状態に置かれ、舌の後方領域を前の方向に引っ張る。顎骨又は下顎骨36にもたけかせる位置でボタン40を縫合糸110に固定する(図12Dを参照)ことによって、張力は保たれる。その張力は、舌の後方領域を前の方向に維持し、気道の方向における後ろへの移動に抵抗する。その結果、気道を開けるよう、縫合糸の棘112が舌を前方の位置に保つように舌34は位置を定める。
図12Eで示されているように、縫合糸110は、舌34の表面よりわずかに下で切り取られる。次に、組織がボタン40上で閉じられて、処置は完了する。おそらく同じボタン40に多数の縫合糸110を取り付けることは有利であり得る。針42は適応シャフト44及びプランジャー46を使用することなく顎を通して挿入することができるということも意図される。
針42の除去に寄与するよう、針42は、望ましくは、可撓性で短く、より長い適応シャフトに取り付けられるか(図12F)、又は、ミシンと共に使用される種類のものである(図12G)。可撓性の針42は、舌34の後部から引っ張り出すのを容易にするために楽に曲げることができる。適応シャフトは顎の穴を通して引き抜かれる一方で、短い針42は、適応シャフトから取り除かれ、口を通して取り出されるであろう。或いは、ミシン型の針142は、舌34の奥にて縫合糸110が針から取り除かれるのを可能にするであろう。
(図13A及び13Bで示されているような)別の代表的な実施形態において、舌34の下底部にて、又は、その付近の、舌小帯48の近くで、舌の下にある外因性の筋肉(例えば頤舌筋)内に、曲線状の針242を用いて切開が行われる。曲線状の針242の穴に通された有棘縫合糸110が、曲線をなす針242の経路に続く。結果として、図13Bが示しているように、縫合糸242が、舌の下底部にて外因性の筋肉において曲線状の又は曲線をなす定位(ループ50)で植え込まれる。(図13Cで示されているように)挿入の方向とは反対の方向に針の入口部位から延びる縫合糸110の末端を引っ張ることによって、棘112が角度α分外側に延びて組織とかみ合い、この方向における移動に抵抗するため、縫合糸に張力が適用される。この張力は、縫合糸のループをよりきつく曲げられた定位に締めあげ、棘112は、この定位からの縫合糸の再定位に抵抗する。この張力は、舌の下底部にて外因性の筋肉をぴんと張る。応じて、図13Dに示されているように、舌34は前に移動する。2個以上の有棘縫合糸110を、この様式で、舌の下底部にて、又は、その付近で外因性の筋肉に植え込むことができる。
異なる方法で、下顎骨36の内縁上の顎の下での切開を介して、1又は複数の曲線状の針を用いて1又は複数の有棘縫合糸を植え込むことができる。この配置において、曲線状の針242は、頤舌骨筋及び頤舌筋の両方を通して導かれ、ループ50を形成する。輪になった有棘縫合糸110をすぐ前に記述した様式で締めることによって、頤舌筋及び頤舌骨筋をピンと張り、その結果、舌34を前に移動させる。
舌の下底部にて、又は、その付近で外因性の筋肉に植え込まれた1又は複数の輪になった有棘縫合糸は、頤舌筋の前進に類似した舌における前方の張力を生じるが、下顎骨への付着を必要とすることはない。頤舌骨筋内の有棘縫合糸は、後に記述されるように、舌骨の前進に影響を与え得る。
D.口蓋及び口蓋垂に有棘縫合糸を植え込む代表的な器具及び方法
1又は複数の有棘縫合糸110を口蓋弓52に植え込んで、口蓋24の緊張を改善し、「筋緊張低下の口蓋」と呼ばれるものを軽減することができる。
口蓋の処置の代表的な実施形態(図14A及び14Bを参照)において、1又は複数の有棘縫合糸110は、それぞれ曲線状の針242に通され、口蓋26の中心線54対して垂直に軟口蓋24を通り抜ける(図14Aを参照)。(図14Bで示されている)挿入の方向とは反対の方向に針の入口部位から延びる縫合糸110の末端を引っ張ることによって、棘112が角度α分外側に延び、組織とかみ合ってこの方向での移動に抵抗するため、張力が縫合糸に適用される。この張力が、軟口蓋24に緊張を生じる(図14Cを参照)。むき出しになった縫合糸の末端は、軟口蓋24の粘膜から2つの末端が飛び出ないように切り取られることが好ましい。同様に、有棘縫合糸110は、硬口蓋に向かって上向きで口蓋弓52に張力をかけるよう定位に配置することができる。縫合糸110は、硬口蓋に取り付ける場合もあり、取り付けない場合もある。
口腔は、いくつかのさらなる又は別の処置に対する部位であり得る。例えば、図14Dが示しているように、軟口蓋24の中心線54に沿って進む1又は複数の有棘縫合糸110は、口蓋垂14を短くすることができる。各縫合糸110は、口蓋垂14の中心線54に平行の定位で曲線状の針242によって挿入される。ここでも、有棘縫合糸110の両末端は、粘膜から飛び出ないように切り取られる。有棘縫合糸110のループを、硬口蓋28で始まり、口蓋垂14内に続き、次に硬口蓋28に戻る同じ様式で挿入することができる。ループ内の張力が口蓋垂14を引っ込める。
図14E及び14Fに示されているように、個々の患者の必要性に応じて咽頭口蓋弓及び舌口蓋弓52のうちいずれか又はその両方を所望の定位で通り抜けるよう、曲線状の針242によって1又は複数の有棘縫合糸をそれぞれ挿入することができる。
E.上部気道の筋肉に有棘縫合糸を植え込む代表的な器具及び方法
茎突舌骨筋、舌骨舌筋、茎突咽頭筋、口蓋舌筋、口蓋咽頭筋、及び、咽頭括約筋(図15Aに示されている)を含めた外側の咽頭壁筋肉のうちいかなる組合せにも張力をかけるよう1又は複数の所望の定位に1又は複数の有棘縫合糸110を植え込むことは、外側の気道壁における圧潰の除去に寄与することができる。この実施形態における所望の定位は、軸(すなわち、一般的には下から上の)方向に筋肉を短くするよう有棘縫合糸110に張力をかけるか、又は、例えば椎骨前筋膜等の基底構造体への結合によって横に1又は複数の筋肉に張力をかけるという処置目的によって決められる。一末端にて基底構造体内に横に進む軸縫合糸110等の技術の組合せも使用することができる。
舌骨に結合する筋肉(例えば、舌骨下筋、肩甲舌骨筋、頤舌骨筋等)(図15B参照)のうちどれにも張力をかけるよう1又は複数の有棘縫合糸110を1又は複数の所望の定位に植え込むことは、舌骨を前進させるか又はその位置を変えて気道を開けるよう役立ち得る。例えば、(前述のように)口蓋弓に配置された、並びに、上部気道に沿った筋肉に配置された縫合糸110の組合せによって、気道のうち広範な部分を処置することができる。
F.喉頭蓋に有棘縫合糸を植え込む代表的な器具及び方法
1又は複数の有棘縫合糸110を喉頭蓋56に植え込み、開放気道を維持することができる(図16A及び16Bを参照)。有棘縫合糸110は、種々の方法で「筋緊張低下の喉頭蓋」の処置に寄与することができる。
例えば図16Aにおいて示されているように、相当な張力をかけることなく喉頭蓋56に緊張を与えるよう縫合糸110を配置することができる。図16Bで示されているように、他の構造体に結合するか、又は、単に喉頭蓋56の組織に「群がる」ことによって、縫合糸110は喉頭蓋56内に張力を生じ得る。図16Cで示されているように、縫合糸110を喉頭蓋56を通じて配置し、(例えば甲状軟骨、舌骨、頤舌骨筋等の)他の構造体に結合させ、喉頭蓋56の位置を変えることができる。
IV.標準的な縫合糸及び無呼吸の処置
軟口蓋24上での牽引縫合による口蓋垂形成術も、縫合糸のループ50を形成する標準的な棘を有していない縫合糸を使用して行うことができる(図17Aを参照)。標準的な縫合糸のループ50は、硬口蓋28に挿入される針を使用して適用され、次に、口蓋垂14にて一時的に出され、次に、口蓋垂14の組織を通して戻されることによって続けられ、最終的に硬口蓋28を介して出されるため且つ結局は硬口蓋28に取り付けられるために戻され得る。
図17Bに示されている別の手段として、縫合糸のループ50を、硬口蓋28と軟口蓋24の連絡点にて直接軟口蓋を通じて進めることができる。スライディングノットによって、ループ50に張力をかけて口蓋垂の位置を調節することが可能になるが、以下に続く項で記述されるように、さらなる装置58を使用してこの張力に影響を及ぼすことも望ましい。
縫合糸のループ50のうち口蓋垂側の末端は、組織が引き裂かれるか又は再び形成されるのを防ぐために綿撒糸60の使用を要する場合がある(図17Cを参照)。綿撒糸60は、周囲の組織に結合した粘膜の切開を介して埋め込まれるか、又は、組織への綿撒糸60のかみ合いに寄与するよう棘(図示せず)を含むことが望ましい。好ましい実施形態において、綿撒糸60は、患者の組織と縫合糸との間に存在するパッドとして形成される。別の実施形態において、縫合糸は綿撒糸60を通り抜けることができる。
牽引縫合の起こり得る除去を容易にするために、綿撒糸60は、望ましくは、強磁性/磁性又は放射線不透過性の材料を含んでいるべきである。望ましくは、硬口蓋28でのループ50の終了によって、術中でも、単純な社内処置を介しても縫合張力に微調整を加えるよう調節が可能になる。
V.口腔及び上部気道における縫合糸の調節方法及び除去方法
A.縫合糸の調節
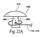
縫合糸110/210における張力は、種々の方法で調節することができる。図18Aから18Cにおいて見られるように、縫合糸210における張力を調節する手段の1つは先細りのペグ58を含む。この方法において、穴64を有する底板62は硬口蓋28に取り付けられる。図18Bで見られるように、縫合糸210は、底板62内の穴64にはめ込まれる先細りのペグ58に通され且つ結びつけられる。次に、先細りのペグ58をひねり縫合糸210の末端をその周りに巻きつけ、次に、(図18Cに示されているように)底板62内の穴64に先細りのペグ58を挿入して固定することによって、その治療結果を最大にするよう縫合糸210の長さが調節される。この種の調節は、有棘縫合糸110を用いて使用することもできる。縫合糸110のうち棘のある部分は、前述したように、その所望の固定ポイント(例えば口蓋垂)まで軟部組織を通過される。有棘縫合糸110の場合、滑らかな末端が先細りのペグ58に通され且つ結びつけられる。残りの調節は、標準的な縫合糸210に対するものと同じである。
張力調整手段の別の実施形態は、そのグリップを改善するために溝又は他の表面特徴を有するペグ及び穴を含み、先細りがペグ又は穴の両方ではなくどちらかに適用され、そのペグ及び穴は比較的まっすぐな、例えば先細りなしのプロファイルを有するが、歯車と類似の様式でそれらが連結するのを可能にする重要な特徴を有することができる。図19A及び19Bにおいて示されているように、一実施形態は、縫合糸110がその中を通される第1の構造体162を含む。第2のペグ様の構造体158は、第1の構造体162内にねじ込まれ、第1の構造体162内にねじ込むことによって、縫合糸110はその垂直にあるまっすぐな経路からはずれるよう強いられる(図19Bを参照)。縫合糸110の逸脱は、軟部組織内の縫合糸110を短くし、従って、縫合糸110をぴんと張るよう役立つ。
図20において示されているように、別の手段は、2つの構造体258/262の間で縫合糸110/210を掴むように第1の構造体262内にがっちりと組み込むことができる第2の構造体258を含む。構造体258/262のうち1つ又はその両方が、縫合糸110/210を掴むよう先細りされ、縫合糸110/210における張力が構造体258と262との境界面をきつくするよう構成されていることが望ましい。
図21に示されているさらに別の実施形態では、小型のカムクリート358が縫合糸を掴むために使用される。縫合糸110/210が矢印によって示された方向に引っ張られるに従い、カムクリート358はよりきつくかみ合わせるよう引っ張られ、縫合糸110はカムクリート間で固定される。他の縫合糸掴み装置には、登山又は航海においてロープを掴むよう設計された装置の小型版が挙げられる。
図22A、22B、及び22Cにおいて見られるように、有棘縫合糸110/210を調節する別の手段は、プラスチック又はチタンのマッシュルーム形装置458の使用を含む。図22Aは、縫合糸110/210が通される穴468を有した茎状部466を含むマッシュルーム形装置458を示している。マッシュルーム形装置458の茎状部466は、口腔組織自体、又は、口腔組織に結合した下部構造内のポケットに配置される(図22B及び22Cを参照)。縫合糸110は、マッシュルームの茎状部466の周りに巻きつけられてその張力を調節する。マッシュルームの頭部470は、その回転を安定化させるように、硬口蓋28若しくは軟口蓋24と硬口蓋28との連結点におけるさらなる穴にかすがいでとめられるか、縫い合わされるか、又は、結合される。マッシュルームの形458は、その上で粘膜が容易に癒えることができる滑らかなプロファイルを与えるという利点を有している。マッシュルーム458はプラスチック又はチタンから作製されるのが好ましいけれども、マッシュルーム458はいかなる医学的に受け入れられた材料からも作製することができると当業者には明らかなはずである。
B.縫合糸の除去
縫合糸の除去は、有棘縫合糸110に関して特に重要な問題である。有棘縫合糸110は、ノットの非存在下でどちらの方向にも自由に動くことができる従来の縫合糸のように取り除くことができない。有棘縫合糸110は、開始ポイントから固定ポイントまで(例えば、硬口蓋から口蓋垂まで)一方向において自由に動くことができる。従って、固定ポイントを容易に同定することができるということが望ましい。1つの解決策は、固定ポイントの近くに、綿撒糸60等の同定可能なマーカー(図17Cを参照)を配置することを含む。同定可能なマーカーは、触接によって又はプローブを使用することによって見つけ易くなければならない。例えば、マーカーはX線により突き止め可能であり得るか、又は、マーカーは、磁気プローブを使用して突き止めることができる強磁性部分を含むことができる。別の手段には、共鳴振動数を生じる超音波プローブの使用が含まれる。
マーカーの位置が突き止められると、外科医は周囲の組織を切り開いて、マーカーまで進み、それを安定化させることができる。次に、挿入ポイントにて切開を行い、有棘縫合糸110をその結合ポイントで切り落とす。次に、同定可能マーカーを握ったまま、有棘縫合糸110はその固定ポイントを抜き通される。
VI.舌の外因性筋肉領域内、該領域上、又は該領域付近に構造体を植え込むためのシステム及び方法
睡眠時無呼吸を処置するために、他の装置並びに方法を利用して患者の気道を安定化及び維持することができるということも意図される。例えば、植え込み構造体を、舌の動き及び/若しくは形状に影響を及ぼす外因性筋肉領域内、該領域上、又は該領域付近に植え込むために大きさを決め構成することができる。そのような外因性筋肉の例として、例えば、図1Bで示されているように、頤舌筋、舌骨舌筋、茎突舌筋、及び口蓋舌筋が挙げられる。その構造体の位置は、外因性筋肉領域に相対して安定化され、舌を所望の定位で維持する。
これらの技術的特徴を有した植え込み構造体は種々の形状をとることができ、その代表例が以下に続く。
A.外因性筋肉領域に対するブレーシング材
図23A乃至23Cは、1つの代表例として、舌の動き及び/若しくは形状に影響を及ぼす外因性筋肉領域内、該領域上、又は該領域付近に植え込むために大きさが決められ構成されたブレーシング材72を含む植え込み構造体を示している。図23Aに示されているように、ブレーシング材72は、舌の下にある外因性筋肉領域を少なくともある程度覆うよう大きさが決められ構成されている。
図23Aに示されているように、下顎骨36の一側面上で皮膚に切開が行われる。図23Bが示しているように、頤舌筋38の上を越えて延び、次に、下顎骨36のもう一方の側面上まで下に戻ってくるフック様の装置78が挿入される。図23Cに示されているように、同じ皮膚の切開を介してブレーシング材72が挿入され、固定器72の第1末端が下顎骨36の第1の側面に取り付けられる。ブレーシング材72は、フック78と同じ切開部分を使用して、固定器72が(図23A乃至23Bにおいては頤舌筋38を含む)外因性筋肉領域の上部の上を延びるように挿入され、下顎骨36の反対の側面に達するまで挿入され続ける。下顎骨36の第2の側面の下で皮膚に第2の切開が行われ、ブレーシング材72の第2末端が下顎骨72の第2の側面に取り付けられる。次に、フック様の装置78は、舌34から取り除かれる。
ブレーシング材72は、それだけに限らないが、小形ねじ及び/又は生体適合性接着剤を含めたいかなる医学的に証明され受け入れられた方法及び材料を使用しても下顎骨36に取り付けることができる。
ブレーシング材72は、外因性筋肉領域(すなわち、頤舌筋38)を尾側にそらし、舌34を前に移動させ、従って、開放気道を維持するように大きさが決められ構成されている。
B.外因性筋肉領域に対するフッキング材
図24A乃至24Cは、別の代表例として、舌の動き及び/若しくは形状に影響を及ぼす外因性筋肉領域内、該領域上、又は該領域付近に植え込むために大きさが決められ構成されたフッキング材80を含む植え込み構造体を示している。図23Bに示されているように、フッキング材80は、舌の下にある外因性筋肉領域を通して延びるよう大きさが決められ構成されている。
図24A乃至24Cに示されているように、固定要素74がフッキング材80に連結されている。図24A乃至24Cに示されているように、固定要素74とフッキング材80との組立体は、バックル(すなわち、固定要素74)に連結されたフック(すなわち、フッキング要素80)の外見を有しており、これらの要素は、従って、省略してそのように呼ばれる。
フック80は、バックル74に連結する別の部品として形成することができるか、又は、バックル74の一部として形成することができる。
図24Aに示されているように、皮膚の下で切開が行われ、バックル74に合うよう大きさが決められたポケットを生じる。バックル74は、次に、(図24A乃至24Cにおいては頤舌筋38を含む)外因性筋肉領域の下にある、ポケット内に挿入することができる。フック80は、図24Bが示すように、外因性筋肉領域(すなわち頤舌筋38)の上を越えて配置されるよう開けられている。
フック80はバックル74に取り付けられているため、頤舌筋38は尾側にそれ、舌34を前の方向に移動させ、従って、開放気道を維持する。
別の代表的な実施形態において、図24Cに示されているように、顎への取り付けクランプ82を使用して、バックル74のもう一方の側面上にフック80を再び取り付けることができる。フック80をバックル74のもう一方の側面上に取り付けるために、下顎骨36のもう一方の側面上での第2の皮膚切開が必要な場合がある。この配置において、バックル74は、顎への取り付けクランプ82を含む。顎への取り付けクランプ82の第1末端は、バックル74の末端に連結される。顎への取り付けクランプ82の第2末端は、顎又は下顎骨36の少なくとも一部に取り付けられる。望ましくは、顎への取り付けクランプ82は、外科医がバックル74の位置を調節して、それぞれ個々の患者の必要性に基づき最適な治療効果が達成されるのを可能にするよう、術中又は局所麻酔下で長さが調節可能である。クランプ部分での曲がる角度は、個々の必要に応じて0°から70°であり得る。個々の解剖学的形態によって、顎へのクランプ82は下顎骨36上にねじで固定される必要があり得る。フック80がバックル74に取り付けられると、頤舌筋38は尾側にそれ、舌34を前の方向に移動させる。
C.外因性筋肉領域に対するエラストマー構造体
図25Aは、別の代表例として、舌の動き及び/又は形状に影響を及ぼす外因性筋肉領域内に植え込むために大きさが決められ構成されたエラストマー構造体76を含む植え込み構造体を示している。図25Aで示されているように、エラストマー構造体76はばねの形状をとる。
図25Aで示されているように、外因性筋肉領域は頤舌筋を含む。ばね76は、舌34を前に引っ張るよう筋肉領域において伸びる。ばね76は、例示された実施形態において舌34に植え込まれたフック77の形状をとる組織掴み材に連結される。外因性筋肉領域に植え込まれたばね76は、フック77上に穏やかな張力を維持する。舌顎骨36の外側の部分で棒又はボタン40をばね76に取り付けて、ばね76をその位置に保持することができる。ばね76に代わるものとして、エラストマーバンドを使用することができる。
あるいは(図25Bに示されているように)、舌34を通じて針を配置することができる。針の出口ポイント付近で粘膜下組織においてポケット79を形成することができる。この配置では、そのポケットにおいてクリップ81をばね76にしっかり固定することができる。この配置は、棒40を除くことができる。
D.組織に張力をかけるエラストマー構造体
図26A、27A、及び28Aは、舌の動き及び/又は形状に影響を及ぼす組織領域内に植え込むために大きさが決められ構成されたエラストマー構造体500を含む植え込み構造体のさらなる代表例を示している。図26A及び27Aに示されているように、処置装置は、舌又は舌の外因性筋肉に所望の定位で植え込むために大きさが決められ構成された細長いエラストマー構造体500の形状をとっている。エラストマー植え込み構造体500は、舌又は舌の外因性筋肉に植え込まれた場合に、舌の形を直すか又は舌を動かすようされている。
図26A乃至26D、及び、27A乃至27Dに示されているように、エラストマー構造体500はばねの形状をとることができる。構造体500はいかなる断面形も有することができるけれども、例示された実施形態において、エラストマー構造体は、全般的に円形(例えば、図26Cで示されているコイルばね構造体510)又は半円形(例えば、図27Cで示されている半円形のばね構造体520)の断面を有している。
細長いエラストマー構造体500は、全般的に弾性でもあることが望ましい。例示された実施形態は、エラストマー構造体が、弛緩した状態(図26A及び27Aを参照)と伸びて圧力が加えられた状態(図26D及び27Dを参照)間で切り替わるのを可能にするコイル512又はパーフォレーション522を有する。
図28A乃至28Bで示されているように、エラストマー構造体500は、チャイニーズフィンガーカフに似たブレードチューブ501の形状をとることができる。図28Aで見られるように、その弛緩した状態では、チューブ501は比較的幅の広い直径及びより短い長さを有している。図28Bで見られるように、その引き伸ばされた状態では、チューブ501は比較的幅の狭い直径及を有しており、弛緩した状態よりも有意に長い。
細長いエラストマー構造体500は、例えばニチノール、他の形状記憶合金、形状記憶ポリマー、又は、チタン等の金属材料、並びに、類似の生体適合性、弾性、及び復元力の特徴を示す当技術分野において既知のいかなる他の材料からも作製することができる。
細長いエラストマー構造体500は、さらに、個体の標的組織領域へのその植え込みを容易にし、その後は所望の張力及び定位に順応するよう可撓性であり得る。所望の張力及び定位は、組織領域の形態及び特定の処置目的によって決まるであろう。
使用中、エラストマー構造体は、その構造体が圧力を加えられたか又は伸張された状態(図26D、27D、及び28Dを参照)にある時に組織に植え込まれることが望ましい。この様式でその構造体が舌の中に植え込まれた後、構造体はその本来の圧力が加えられていない状態に戻り、従って、舌をより前の位置に引っ張る。細長いエラストマー構造体は、必ずしも必要というわけではないが、下顎骨に固定することができる。
使用中、処置目的に応じて、1又は複数の細長いエラストマー構造体500を選択された組織領域にて植え込むことができる。植え込まれた細長いエラストマー構造体500の数は、例えば、気道を開けておくために、組織領域に与えられることになる所望の形状若しくは傾き、組織領域における所望の張力の維持、及び/又は、別の組織領域に相対した組織領域の所望の定位の維持等、その組織領域の位置及び処置目的によって決められる。
所望の定位は、その植え込み後の細長いエラストマー構造体500への選択的な張力の適用を含み、組織領域内での形状、定位、及び/又は他の生理学的特徴における所望の変化に影響を及ぼす。
この実施形態において所望の定位は、口蓋垂及び/又は咽頭壁から離れた所望の前の定位に舌を促すか又は維持するという処置目的によって決められる。組織領域自体が所望の定位で維持され、その結果、口蓋垂及び/又は咽頭壁に対する舌の後ろへの圧潰に抵抗するように、弛緩した/短くなった構造体500は張力を維持するよう役立つ。
エラストマー構造体を伸張されたか又は圧力が加えられた位置(図30A乃至30Fを参照)に置き、少なくとも植込み体が舌の中へ植え込まれている間は構造体をその状態で保持することが望ましい。細長いエラストマー構造体500は、種々の方法で、伸張されたか又は圧力が加えられた位置(図30A乃至30Fを参照)に置くことができる。
第1の代表例において、植え込まれたエラストマー構造体500は、適用された活性化エネルギーに応じて所定の記憶された形状をとる形状記憶金属材料を含み得る。活性化エネルギーは、熱エネルギー、並びに、電気エネルギー、機械エネルギー、電磁エネルギー、音響エネルギー、又は光エネルギーを含み得る。
形状記憶材料は、例えばNitinol(登録商標)合金(ニッケル及びチタンからなる合金)、並びに、銅ベースの合金(最も一般的にはCu−Zn−Al及びCu−Al−Ni)等の合金を含み得る。形状記憶材料44は、形状記憶ポリマーも含み得る。
図29Bは、Nitinol(登録商標)形状記憶合金から作製されたエラストマー構造体500を示している。構造体500は舌に植え込まれる(図29D乃至29Gを参照)。図29Bに示されているように、構造体500は、ソフトマルテンサイト相と呼ばれる場合がある、特定の温度条件(この場合、摂氏20°)にて比較的コンプライアンスをもった機械的特性を有している。構造体500はマルテンサイト相の間は柔らかいため、送達カニューレ570内の内部支持を使用して細長い形状で維持され、その内部支持は、舌組織内での植え込み後に解放されるアーム582を有したプランジャー装置581の形状をとることができる(図29D乃至29Eを参照)。あるいは、以下に続く項において記述されるように、マルテンサイト相における構造体500は、種々の生分解性の材料又は構造体を使用して細長い状態で維持することもできる。
上昇した温度条件に応じて、構造体500は、より少ないコンプライアンスをもった機械的特性をとり、これは促進された形状変化に付随して生じる(図29F及び29Gを参照)。これは、ハードオーステナイト相と呼ばれる場合がある。この相では(図29F及び29Gで示されているように)、構造体500は、形状変化に対して動作抵抗を提供する。例示された実施形態において、温度条件の変化は、活性化が望まれる場合に使用される外部の活性化エネルギー源によってもたらされる。活性化エネルギー源は、熱の供給源、この場合、舌組織内への植え込みを含み得る。エラストマー構造体500の温度を通常の体温(摂氏約37°)まで上げると、エラストマー構造体500の長さは短くなり、その工程において、舌組織に張力をかけ、睡眠中に筋肉が別な方法で弛緩する場合でも気道を開けたままにする。
チャイニーズフィンガーカフに似たエラストマー構造体500の場合に、その構造体も摂氏約25°にてマルテンサイト相に突入する。このマルテンサイト相の間、構造体500は無力にされ、細長くすることができる。上記の例のように、マルテンサイト相の間、構造体500は、プランジャー装置581又は類似の装置によって支持される必要がある。構造体500が舌組織に植え込まれると、その内部温度は摂氏約37°まで上がり、構造体500が再度硬くなり長さが短くなるオーステナイト相にその構造体は突入する。図28Bで見られるように、マルテンサイト相の間、互いに交差する2つの編みひも間の角度であり、構造体500の2つのくぼんだ末端のうちの1つに面する角度βは、90°未満である。構造体500がオーステナイト相に再度突入するに従い、その同じ角度は、かなり広がり、90°を超えるその設定量まで戻る。ここでも、エラストマー構造体500の温度を通常の体温(摂氏約37°)まで上げると、エラストマー構造体500の長さは短くなり、その工程において、舌組織に張力をかけ、睡眠中に筋肉が別な方法で弛緩する場合でも気道を開けたままにする。
第2の代表例では、構造体500を伸ばし、構造体510のコイル512間(図30A)、又は、構造体520の開いたパーフォレーション522内(図30C)に生じたスペースを、体に素早く吸収される能力を持つ生体吸収性材料530で充填することによって圧力が加えられた位置に構造体は置かれる。生体吸収性材料は、コラーゲン、フィブリングルー、又はポリグリコール酸(PGA)等の物質を含み得る。望ましくは、パーフォレーション又は構造体510のコイル間のスペースを充填するために使用される生体吸収性材料530の質量吸収期は、コイル512間(図30A)又はパーフォレーション522(図30C)内で組織が内に伸び始めるのに必要とされる時間(通常約3週間)よりも短い。この様式で、生体吸収性材料が周囲の組織によって吸収される場合、細長い構造体はその弛緩した状態に戻る。
別の実施形態において、構造体510のコイル512の周りに巻きつけられた(図30Bを参照)か、又は、構造体500のパーフォレーションに通された(図30Dを参照)吸収性縫合糸540を使用することによって、構造体500は伸びて圧力が加えられた位置に置かれる。望ましくは、構造体520のパーフォレーション522又は構造体510のコイル512間のスペースを充填するために使用される吸収性縫合糸540の質量吸収期は、構造体520のパーフォレーション522内(図30D)、又は、構造体510のコイル512間(図30B)で組織が内に伸び始めるのに必要とされる時間(通常約3週間)よりも短い。この様式で、吸収性のある縫合糸が周囲の組織によって吸収される場合、細長い構造体はその弛緩した状態に戻る。
図30E及び30Fに見られるさらに別の代わりとなる実施形態において、異なる速度で生分解する材料のビーズを散在させることによって、構造体500を伸張された状態に置くことができる。例として、PGAビーズ512をポリ−L−乳酸(PLLA)ビーズ511間に散在させることができる(図30Eを参照)。PGAビーズ512は、PLLA511ビーズよりもはるかに速い速度で生分解し、従って、圧力を加えられた/伸張された状態から弛緩した/短くなった状態まで構造体500が徐々に戻るのを可能にする(図30Fを参照)。
構造体500の一末端に取り付けられることになるアンカーの挿入を可能にするよう生体吸収性材料を通じて中央に位置したチャネルを維持しながら、チューブを伸張された細長いエラストマー構造体500の上に配置し、その構造体を生体吸収性材料に埋め込もうと他の方法(例示せず)はさらに意図する。次に、埋め込まれた細長いエラストマー構造体を覆うチューブは取り除かれ、構造体500は舌の組織又は筋肉に植え込まれる。
細長いエラストマー構造体500は、第1の例示された実施形態において、舌34に植え込まれるアンカー550の形状をとる組織掴み材に連結することができる。このアンカー550は、前記構造体を舌に固定する。アンカーは、当技術分野において既知のいかなる種類のものであってもよい。代表例には、ステントアンカー(図31A乃至31Cを参照)及びデイジーアンカー(図33A乃至33Cを参照)が含まれる。
図31A乃至31Cに示されているように、短縮版の血管形成術心血管ステントであるステントアンカー560は、エラストマー構造体を組織領域に固定するために使用することができる。図31Aは、上記のように、縫合糸を使用することによってその伸張された位置で保持されたエラストマー構造体のコイル形の実施形態を示している。その未展開の位置で示されたステントアンカーは、コイルの一末端に取り付けられている。図31Bは、上記のように、生体吸収性材料を使用することによってその伸張された位置で保持されたエラストマー構造体のコイル形の実施形態を示している。その未展開の位置で示されたステントアンカーは、細長いエラストマー構造体の一末端に取り付けられている。図31Cは、ステントアンカー560が展開され、生体吸収性材料又は縫合糸が体に吸収されたためエラストマー構造体がその弛緩した状態に戻った場合の細長いエラストマー構造体500を示している。
図32A乃至32Cは、付属のステントアンカーを有する細長いエラストマー構造体500を舌の組織内に挿入する方法を示している。第一に、下顎骨を通って舌の組織内まで穴が形成される(図32Aを参照)。次に、ステントアンカーが舌34の後端に位置するように細長いエラストマー構造体500及び付属のステントアンカー560を予め組み込んだカニューレが穴に挿入される。
図32Cに見られるように、植え込み体がその所望の場所に置かれると、ステントアンカー560は、次に、(それだけには限らないが、自動拡張又はバルーン拡張を含めた)既知で、神経性の末梢血管を巻き込む介入心臓学の分野の業者によって実行されるいかなる方法も使用して展開され、そのカニューレは取り除かれる。図32Cに示されているように、舌顎骨36の外側の部分で棒又はボタン40を細長いエラストマー構造体500に取り付けて、細長いエラストマー構造体500をその位置に保持することができる。
図34Dに見られるように、細長いエラストマー構造体500の各末端にそれぞれ配置された、2つの自己展開可能なステントアンカー560を使用することができるということも意図される。この配置によって、図32Cに示されている棒又はボタン40は除くことができる。
生体吸収性材料530又は吸収性縫合糸540が組織領域内に吸収されるに従い、外因性筋肉領域に植え込まれた細長いエラストマー構造体500は、ステントアンカー560上に穏やかな張力を展開し、舌の組織を後ろへ圧潰させないようにし、従って、気道を開けた状態で維持する。
ステントアンカーは、圧力下でステントを圧潰してさやの中にそれを収めることによって展開することができるということが意図される。植え込み体がその所望の場所に置かれると、さやは抜かれ、ステントアンカーはその元の拡張した位置へと戻り始めて、周囲の組織を貫き、周囲の組織内にさらに埋め込まれる。生体吸収性材料530又は吸収性縫合糸540が組織領域内に吸収されるに従い、外因性筋肉領域に植え込まれた細長いエラストマー構造体500は、ステントアンカー560上に穏やかな張力を展開し、舌の組織を後ろへ圧潰させないようにし、従って、気道を開けた状態に維持する。
カニューレタイプの装置を細長いエラストマー構造体上で再度挿入し、ステントアンカーを圧潰して、それを再度さやに収めることによってステントアンカーは取り除くことができる。
あるいは、(図33A乃至33Cに示されているように)細長いエラストマー構造体500は、以下において、エラストマー構造体を選択された組織領域に固定するのに使用するための「デイジーアンカー」と呼ばれる、自己展開可能なデイジータイプのアンカー580を少なくとも1つ備えるようになり得る。図33Aは、未展開のデイジーアンカー580が一末端に取り付けられた、生体吸収性材料530によってその拡張された位置で保持されたエラストマー構造体500を示している。図33Bは、未展開のデイジーアンカー580が一末端に取り付けられた、吸収性縫合糸540によってその拡張された位置で保持されたエラストマー構造体500を示している。図33A及び33Bで見られるように、デイジーアンカー580は、複数の「花弁」又はアームを含む。デイジーアンカー580がその未展開の位置にある場合、アームは本質的に垂直の位置で保たれている(図33A及び34Bを参照)。
図31Cは、デイジーアンカー580が展開され、生体吸収性材料530又は縫合糸540が体に吸収されたためエラストマー構造体510がその弛緩した状態に戻った場合のエラストマー構造体500を示している。図33Cに示されているように、デイジーアンカー580が展開される場合に、「花弁」又はアームは「咲く」か又は拡張し、従って、周囲の組織を貫いてエラストマー構造体500をその所望の位置に固定する。カニューレタイプの装置を細長いエラストマー構造体上で再度挿入し、アンカーを再度さやに収めることによってデイジーアンカーは取り除くことができる。
図34A乃至34Cは、細長いエラストマー構造体500を舌の組織内に挿入する方法を示している。第一に、下顎骨を通って舌の中まで穴が形成される(図34Aを参照)。次に、図34Bに示されているように、デイジーアンカー580が舌34の後端に位置するように細長いエラストマー構造体500及びその末端上に取り付けられたデイジーアンカー580を予め組み込んだカニューレ570が舌に挿入される。図34Bに見られるように、細長いエラストマー構造体500は、上記のように、その伸張された状態に置くべきである。カニューレ570は、本質的に垂直の位置である「展開の準備ができた」状態にアームを維持する。
図32Cに見られるように、植え込み体がその所望の場所に置かれると、次にカニューレを引き抜くことによってデイジーアンカー580は展開される。カニューレが引っ込められた場合、デイジーアンカー580のアームは拡張し、周囲の組織を貫いて細長いエラストマー構造体500をその所望の場所に固定する。舌顎骨36の外側の部分で棒又はボタン40を細長いエラストマー構造体500に取り付けて、細長いエラストマー構造体500のその位置での保持に寄与することができる。
生体吸収性材料又は吸収性縫合糸が組織領域内に吸収されるに従い、外因性筋肉領域に植え込まれた細長いエラストマー構造体500は、ステントアンカー560上に穏やかな張力を展開し、舌の組織を後ろへ圧潰させないようにし、従って、気道を開けた状態に維持する。
図34Dに見られるように、細長いエラストマー構造体500の各末端にそれぞれ配置された、2つの自己展開可能なデイジーアンカー580を使用することができるということも意図される。この配置によって、図34Cに示されている棒又はボタン40は除くことができる。
当技術分野において周知であるように、カニューレの撤回の前に付属のデイジーアンカー580を有するエラストマー構造体500を組織内に押すプランジャー装置をカニューレの内側は有し得るということも意図される。
E.組織に張力をかけるエラストマー構造体に対する張力調節器
図35A乃至35Cは、(図26A乃至26Dに示されている)コイルばね構造体510と共に使用することができるスプリングエキスパンダーの代表例を示している。図35Aに見られるように、スプリングエキスパンダー590は、ヘリカルリッジ又は糸が巻きつけられた可撓性円筒シャフトである。ヘリカルリッジは、可撓性円筒シャフトの近位末端付近で始まり、コイルばね構造体510によって形成された相補的ならせんとかみ合う。可撓性円筒シャフト592は、チタン、ニチノール、又はポリマー等の材料から作製されることが望ましい。
図35Bに見られるように、コイルばね構造体510内に円筒シャフト592を挿入/ねじ込む工程によって、構造体500はその圧力を加えられて拡張した位置に切り替えられる。図35B及び35Cに見られるように、細長いエラストマー構造体から円筒シャフト592をねじって抜く部分によって、コイルばね構造体510のうち対応する部分はその弛緩位置に切り替えられる。コイルばね構造体510に対して円筒シャフト590をねじ込む且つねじって抜く工程は、植え込まれた組織に対する構造体510の弾性によって及ぼされた張力を外科医が制御し、さらに、治療による利益を最大にするようこの張力を調節するのを可能にする。
図35Cが示しているように、円筒シャフト592は固定装置610に取り付けられる。使用中、シャフト592は下顎骨を通して延び、固定装置は下顎骨の外側に置かれる(図36Dを参照)。固定装置610は、ボタン、ソケット等、当技術分野において既に周知のいかなる適した形状もとることができる。図35Cに示されている代表的な実施形態において、円筒シャフト592は、円筒シャフト592の遠位末端において外部にねじやまを切られた部分を含み得る。固定装置610を円筒シャフト592にねじ込むことによって固定装置610を円筒シャフト592に固定することができるように、固定装置610は、内部にねじやまを切られた部分を含み得る。本質的に、円筒シャフト592の長さは、固定装置610への結合ポイントにおける種々の場所のいずれにおいても調節することができる。
使用中、コイルばね構造体510は、予め挿入されたスプリングエキスパンダー590と共に生じることが望ましい(図36Cを参照)。しかし、術中、医師がスプリングエキスパンダー590をコイルばね構造体510内にねじ込み、コイルばね構造体510を伸ばすということも意図される。コイルばね構造体510は、相補的ならせんを有した可撓性円筒シャフト592内にねじ込むことによって、圧力を加えられ伸張された位置に置かれ、次にその位置で維持される。
図36A乃至36Eは、スプリングエキスパンダー590−コイルばね構造体510の組立体を挿入する方法を示している。図36Cは、アンカーを有したコイルばね構造体510が予め挿入されたスプリングエキスパンダーを示している。アンカーは、ステントアンカー560及びデイジーアンカー580を含めた異なる種類のものでありえ、望ましくは、自己展開可能である。例示された実施形態では、組織領域内で展開することができるデイジーアンカー580が使用されている。
図36Aに見られるように、穴が下顎骨に形成される。図36Bは、細長いエラストマー構造体510、該構造体510の遠位末端に取り付けられたデイジーアンカー580、及び、構造体510の(口腔の前部に置かれることになる)近位末端内にねじ込まれたスプリングエキスパンダー590が予め組み込まれたトロカールとカニューレ570との組立体の挿入を示している。
図36D及び36Eに見られるように、植え込み体がその所望の場所に置かれると、次にカニューレを引き抜くことによりデイジーアンカー580が展開することによって、デイジーアンカー580は「咲き」、「花弁」/アームは、周囲の組織を貫いて細長いエラストマー構造体500をその所望の場所に固定する。コイルばね構造体510の遠位末端におけるデイジーアンカー580が自己展開されると、コイルばね構造体510の遠位末端を固定する。次に、植え込まれた組織上のコイルばね構造体510によって及ぼされた張力を外科医が調節して、治療による利益を最大にし、さらに、当技術分野において経験されてきた手段に類似した種々の手段のうちいずれによっても、可撓性円筒シャフトを下顎骨内の穴に取り付ける(図36D及び36Eを参照)。
図36Dに見られるように、下顎骨36の外側の部分でボタン40をスプリングエキスパンダー590に取り付けて、スプリングエキスパンダー590及び付随のコイルばね構造体510をその位置で維持することができる。
細長いエラストマー構造体における張力に対する将来の調節は、外科医のオフィスにおいて局所麻酔下で容易に行うことができる。調節を行うために、ボタン40はスプリングエキスパンダー590の末端から取り除かれる。次に、必要に応じて、スプリングエキスパンダー590を回転させてコイルばね構造体510を調節する。スプリングエキスパンダー590を第1の方向に回転させることによって、ばね構造体510はもっと弛緩位置に置かれ、ばね構造体510における張力は増加する。スプリングエキスパンダー590を反対の第2の方向に回転させることによって、ばね構造体510はもっと伸張された位置に置かれ、ばね構造体510における張力は減少する。前記のことは、本発明の原理を例示しているだけであると考慮される。さらに、数多くの修正及び変更が当業者に対して容易に生じるため、まさに本明細書において示され且つ記述された構成及び操作に本発明を限定することは望ましくない。好ましい実施形態が記述されてきたけれども、特許請求の範囲によって規定された本発明から逸脱することなく詳細を変更することができる。本発明の範囲は、その同等物を含めた以下の特許請求の範囲から決定されるべきである。

Claims (7)

  1. 舌又は舌の外因性筋肉内、該舌又は舌の外因性筋肉上、若しくは、該舌又は舌の外因性筋肉付近に植え込むために大きさが決められ構成された、少なくとも1つの細長い植え込み体であり、前記舌又は舌の外因性筋肉に張力を適用し、前記舌の動き及び/若しくは形状に影響を及ぼす、細長い植え込み体、並びに
    前記舌又は舌の外因性筋肉に相対して前記植え込み体の位置を安定化し、前記舌を所与の定位で維持する手段
    含み、
    記維持する手段は、前記細長い植え込み体の長尺状体から延びるよう傾けられる複数の可撓性突起物であり、前記複数の可撓性突起物は前記長尺状体の縦軸に相対して鋭角α分外側に向かって放射状に延び、前記複数の可撓性突起物は、前記細長い植え込み体が挿入される場合に、前記細長い植え込み体に対して内側に向かって曲がるように構成される、
    植え込みシステム。
  2. 前記細長い植え込み体に対して内側に向かって曲がるように前記複数の可撓性突起物を維持する手段を含む、請求項1に記載の植え込みシステム。
  3. 前記舌又は舌の領域の外因性筋肉に対する前記張力が、前記舌を所望の形状及び定位に置いて開放気道を維持する、請求項1に記載の植え込みシステム。
  4. 前記維持する手段が、舌又は舌の外因性筋肉内、若しくは、該舌又は舌の外因性筋肉付近に植え込むために大きさが決められ構成された、少なくとも1つのアンカー体である、請求項1に記載の植え込みシステム。
  5. 前記アンカー体が、自己展開可能なアンカーを含む、請求項4に記載の植え込みシステム。
  6. 前記アンカー体が、機械的に展開可能なアンカーを含む、請求項4に記載の植え込みシステム。
  7. 前記細長い植え込み体に対する張力調節することができる、請求項1に記載の植え込みシステム。
JP2010513229A 2007-06-18 2008-06-17 標的組織領域内で所望の定位を維持するための植込み型装置、システム、及び方法。 Expired - Fee Related JP5802011B2 (ja)

Applications Claiming Priority (3)

Application Number Priority Date Filing Date Title
US93615707P 2007-06-18 2007-06-18
US60/936,157 2007-06-18
PCT/US2008/007544 WO2008156761A1 (en) 2007-06-18 2008-06-17 Implantable devices, systems, and methods for maintaining desired orientations in targeted tissue regions

Related Child Applications (1)

Application Number Title Priority Date Filing Date
JP2014100835A Division JP5938434B2 (ja) 2007-06-18 2014-05-14 標的組織領域内で所望の定位を維持するための植込み型装置、システム、及び方法。

Publications (2)

Publication Number Publication Date
JP2010530276A JP2010530276A (ja) 2010-09-09
JP5802011B2 true JP5802011B2 (ja) 2015-10-28

Family

ID=40156550

Family Applications (2)

Application Number Title Priority Date Filing Date
JP2010513229A Expired - Fee Related JP5802011B2 (ja) 2007-06-18 2008-06-17 標的組織領域内で所望の定位を維持するための植込み型装置、システム、及び方法。
JP2014100835A Expired - Fee Related JP5938434B2 (ja) 2007-06-18 2014-05-14 標的組織領域内で所望の定位を維持するための植込み型装置、システム、及び方法。

Family Applications After (1)

Application Number Title Priority Date Filing Date
JP2014100835A Expired - Fee Related JP5938434B2 (ja) 2007-06-18 2014-05-14 標的組織領域内で所望の定位を維持するための植込み型装置、システム、及び方法。

Country Status (7)

Country Link
US (1) US20090044814A1 (ja)
EP (1) EP2157940B1 (ja)
JP (2) JP5802011B2 (ja)
CN (1) CN101784241B (ja)
AU (1) AU2008266834B2 (ja)
BR (1) BRPI0813757A2 (ja)
WO (1) WO2008156761A1 (ja)

Families Citing this family (53)

* Cited by examiner, † Cited by third party
Publication number Priority date Publication date Assignee Title
US9744354B2 (en) 2008-12-31 2017-08-29 Cyberonics, Inc. Obstructive sleep apnea treatment devices, systems and methods
US9186511B2 (en) 2006-10-13 2015-11-17 Cyberonics, Inc. Obstructive sleep apnea treatment devices, systems and methods
US8855771B2 (en) 2011-01-28 2014-10-07 Cyberonics, Inc. Screening devices and methods for obstructive sleep apnea therapy
US9913982B2 (en) 2011-01-28 2018-03-13 Cyberonics, Inc. Obstructive sleep apnea treatment devices, systems and methods
DE202007019439U1 (de) 2006-10-13 2012-09-12 Apnex Medical, Inc. Geräte, Systeme und Methoden zur Behandlung von obstruktiver Schalfapnoe
US9205262B2 (en) * 2011-05-12 2015-12-08 Cyberonics, Inc. Devices and methods for sleep apnea treatment
US8167787B2 (en) 2008-01-03 2012-05-01 Revent Medical, Inc. Partially erodable systems for treatment of obstructive sleep apnea
US9439801B2 (en) * 2012-06-29 2016-09-13 Revent Medical, Inc. Systems and methods for treatment of sleep apnea
US8776799B2 (en) 2010-03-19 2014-07-15 Revent Medical, Inc. Systems and methods for treatment of sleep apnea
JP5834337B2 (ja) 2008-05-12 2015-12-16 レベント メディカル インコーポレイテッド 閉塞性睡眠時無呼吸の治療のための部分的侵食性システム
US9707122B2 (en) 2010-07-26 2017-07-18 Revent Medical, Inc. Systems and methods for treatment of sleep apnea
US8932328B2 (en) * 2008-11-03 2015-01-13 Ethicon, Inc. Length of self-retaining suture and method and device for using the same
AU2009325126A1 (en) * 2008-12-09 2011-07-07 H-Medical Apparatus, systems, and methods for constraining and/or supporting tissue structures along an airway
US8555891B2 (en) * 2009-02-18 2013-10-15 Medtronic Xomed, Inc. Implant system for controlling airway passage
WO2010111140A2 (en) * 2009-03-25 2010-09-30 University Of Iowa Research Foundation Methods and devices for arytenoid repositioning
DE202009010388U1 (de) * 2009-07-31 2010-12-09 Düring, Klaus, Dr. Fixiervorrichtung zur Fixierung eines Apnoe-Stents im Atemweg
US20110087067A1 (en) * 2009-10-09 2011-04-14 Tyco Healthcare Group Lp Internal retractor systems
JP2013521952A (ja) * 2010-03-19 2013-06-13 レベント メディカル インコーポレイテッド 睡眠時無呼吸の治療システム及び方法
EP3069698A1 (en) * 2010-05-21 2016-09-21 Revent Medical, Inc. Systems and methods for treatment of sleep apnea
EP2571464A4 (en) * 2010-05-21 2014-08-06 Revent Medical Inc SYSTEMS AND METHOD FOR THE TREATMENT OF SLEEP APNEA
US20130172931A1 (en) * 2011-06-06 2013-07-04 Jeffrey M. Gross Methods and devices for soft palate tissue elevation procedures
EP3028683B1 (en) 2011-07-14 2018-05-09 Cook Medical Technologies LLC A kit to be used in the treatment of obstructive sleep apnea
WO2013182893A2 (en) * 2012-06-07 2013-12-12 Fueglister Fabian Hermann Urban Tongue deformation implant
EP2877239B1 (en) * 2012-07-26 2023-06-21 Nyxoah SA Electrical contacts on a medical device patch
US9855034B2 (en) * 2012-08-23 2018-01-02 Covidien Lp Tissue fixation device
EP3323388B1 (en) 2012-08-24 2019-09-18 Cook Medical Technologies LLC Medical device for the medialization of a vocal cord
US20140094830A1 (en) * 2012-09-28 2014-04-03 Covidien Lp Porous Substrate with Ferromagnetic Darts
WO2014189540A1 (en) 2012-10-16 2014-11-27 Catalano Peter J Method and apparatus for treating obstructive sleep apnea (osa)
US10123900B2 (en) 2013-03-15 2018-11-13 Cook Medical Technologies Llc Devices, kits, and methods for the treatment of obstructive sleep apnea
MX377522B (es) 2013-03-15 2025-03-10 Fabian Hermann Urban Fueglister Implante de deformacion de la lengua.
US9433499B2 (en) 2013-05-07 2016-09-06 Cook Medical Technologies Llc Vocal cord medialization
EP3024422A4 (en) * 2013-07-24 2017-07-12 Revent Medical, Inc. Systems and methods for treatment of an airway disorder
EP3498239B1 (en) 2013-08-01 2021-04-21 Cook Medical Technologies LLC Tissue adjustment implant
WO2015020953A1 (en) 2013-08-05 2015-02-12 Darin Schaeffer Medical devices having a releasable tubular member and methods of using the same
US9956384B2 (en) 2014-01-24 2018-05-01 Cook Medical Technologies Llc Articulating balloon catheter and method for using the same
EP3104768B1 (en) 2014-02-11 2023-07-26 Cyberonics, Inc. Systems for detecting and treating obstructive sleep apnea
WO2015123525A2 (en) 2014-02-14 2015-08-20 O'day John M Nasopharyngeal device for obstructive sleep apnea syndrome
US9974563B2 (en) 2014-05-28 2018-05-22 Cook Medical Technologies Llc Medical devices having a releasable member and methods of using the same
US9913661B2 (en) 2014-08-04 2018-03-13 Cook Medical Technologies Llc Medical devices having a releasable tubular member and methods of using the same
JP6596072B2 (ja) * 2014-08-21 2019-10-23 コーニンクレッカ フィリップス エヌ ヴェ 舌操作システムのためのツール
US10105257B2 (en) 2014-09-23 2018-10-23 Zelegent, Inc. Suspension implant
US10596330B2 (en) 2015-08-26 2020-03-24 Medtronic Xomed, Inc. Resorbable, drug-eluting submucosal turbinate implant device and method
KR101772768B1 (ko) 2015-11-27 2017-08-29 한국 한의학 연구원 턱 관절 교정 장치 및 방법
GB2551202A (en) 2016-06-10 2017-12-13 Univ Cape Town Implantable device
SG10201606822SA (en) * 2016-08-16 2018-03-28 I Support Pte Ltd Anchor and suture assembly
WO2018063183A1 (en) * 2016-09-28 2018-04-05 Oday John M Nasopharyngeal device for obstructive sleep apnea syndrome
US11116541B2 (en) * 2017-05-17 2021-09-14 Lsi Solutions, Inc. Surgical port for stay sutures and system and methods thereof
US11357660B2 (en) 2017-06-29 2022-06-14 Cook Medical Technologies, LLC Implantable medical devices for tissue repositioning
CN111110400B (zh) * 2019-12-09 2022-02-22 先健科技(深圳)有限公司 心脏瓣膜系绳及具有其的心脏瓣膜组件
KR102351798B1 (ko) * 2020-05-06 2022-01-18 주식회사 엠베이스 니들 및 캐뉼라를 동시에 구비한 리프팅 실 어셈블리
KR20230012396A (ko) * 2020-05-15 2023-01-26 엠디 팩스 클레이턴 엘. 몰리버 통합된 폐쇄부들을 포함하는 무매듭 봉합사
US12060148B2 (en) 2022-08-16 2024-08-13 Honeywell International Inc. Ground resonance detection and warning system and method
US12458343B2 (en) * 2022-11-22 2025-11-04 Cilag Gmbh International Barbed suture with removable sheath

Family Cites Families (16)

* Cited by examiner, † Cited by third party
Publication number Priority date Publication date Assignee Title
US6390096B1 (en) * 1999-09-17 2002-05-21 Pi Medical, Inc. Needle with pre-loaded implant for snoring treatment
US6601584B2 (en) * 1999-09-17 2003-08-05 Pi Medical, Inc. Contracting snoring treatment implant
US6523542B2 (en) * 1999-09-17 2003-02-25 Pi Medical, Inc. Snoring treatment implant and method
WO2002087481A1 (en) * 2001-04-27 2002-11-07 Myomend, Inc. Prevention of myocardial infarction induced ventricular expansion and remodeling
US20020188170A1 (en) * 2001-04-27 2002-12-12 Santamore William P. Prevention of myocardial infarction induced ventricular expansion and remodeling
US7188627B2 (en) * 2002-09-06 2007-03-13 Apneon, Inc. Magnetic force devices, systems, and methods for resisting tissue collapse within the pharyngeal conduit
ATE427724T1 (de) * 2002-09-06 2009-04-15 Koninkl Philips Electronics Nv Systeme zum verschieben und/oder zuruckhalten von gewebe in den oberen atemwegen
HK1079682A1 (zh) * 2002-09-06 2006-04-13 Apneon Inc. 防止咽管内组织萎陷的磁力装置、系统和方法
CN2619601Y (zh) * 2003-04-27 2004-06-09 吴占敖 阻塞型睡眠呼吸暂停综合症的防治装置
US7213599B2 (en) * 2003-10-31 2007-05-08 Restore Medical, Inc. Airway implant
NZ613869A (en) * 2004-02-26 2014-08-29 Linguaflex Inc A device for the treatment of obstructive sleep apnea and snoring
US7582110B2 (en) * 2004-04-13 2009-09-01 Cook Incorporated Implantable frame with variable compliance
US20060058867A1 (en) * 2004-09-15 2006-03-16 Thistle Robert C Elastomeric radiopaque adhesive composite and prosthesis
US7975700B2 (en) * 2005-02-08 2011-07-12 Koninklijke Philips Electronics N.V. System for adjustable tissue anchors
US20060235380A1 (en) * 2005-04-15 2006-10-19 Restore Medical, Inc. Tissue incision tool
JP2010505543A (ja) * 2006-10-03 2010-02-25 アルレ メディカル,インコーポレイテッド 低侵襲組織支持体

Also Published As

Publication number Publication date
CN101784241A (zh) 2010-07-21
AU2008266834B2 (en) 2014-07-17
US20090044814A1 (en) 2009-02-19
EP2157940A1 (en) 2010-03-03
BRPI0813757A2 (pt) 2014-12-30
JP2010530276A (ja) 2010-09-09
WO2008156761A1 (en) 2008-12-24
CN101784241B (zh) 2013-03-06
JP2014176738A (ja) 2014-09-25
EP2157940A4 (en) 2014-10-29
JP5938434B2 (ja) 2016-06-22
AU2008266834A1 (en) 2008-12-24
EP2157940B1 (en) 2016-11-16

Similar Documents

Publication Publication Date Title
JP5938434B2 (ja) 標的組織領域内で所望の定位を維持するための植込み型装置、システム、及び方法。
US8074654B2 (en) Implantable devices, systems, and methods for maintaining desired orientations in targeted tissue regions
US7845356B2 (en) Implantable devices, systems, and methods for maintaining desired orientations in targeted tissue regions
US8707959B2 (en) Implantable devices, systems, and methods for maintaining desired orientations in targeted tissue regions
US20080066764A1 (en) Implantable devices, systems, and methods for maintaining desired orientations in targeted tissue regions
US20120312307A1 (en) Implantable devices, systems, and methods for maintaining desired orientations in targeted tissue regions
US11974738B2 (en) Systems and methods for tissue suspension and compression
US8371307B2 (en) Methods and devices for the treatment of airway obstruction, sleep apnea and snoring
CN102231972B (zh) 用于治疗阻塞性睡眠呼吸暂停症的植入系统
US8757163B2 (en) Airway implants and methods and devices for insertion and retrieval
US8561616B2 (en) Methods and devices for the indirect displacement of the hyoid bone for treating obstructive sleep apnea
US8821495B2 (en) System and method for hyoidplasty
JP5371971B2 (ja) 目標組織領域における所望方向性を維持するための移植可能型デバイス、システム及び方法
US20070193587A1 (en) Devices, systems, and methods for stabilization or fixation of magnetic force devices used in or on a body

Legal Events

Date Code Title Description
A621 Written request for application examination

Free format text: JAPANESE INTERMEDIATE CODE: A621

Effective date: 20110616

A131 Notification of reasons for refusal

Free format text: JAPANESE INTERMEDIATE CODE: A131

Effective date: 20121218

A521 Request for written amendment filed

Free format text: JAPANESE INTERMEDIATE CODE: A523

Effective date: 20130318

A131 Notification of reasons for refusal

Free format text: JAPANESE INTERMEDIATE CODE: A131

Effective date: 20130611

A521 Request for written amendment filed

Free format text: JAPANESE INTERMEDIATE CODE: A523

Effective date: 20130905

A02 Decision of refusal

Free format text: JAPANESE INTERMEDIATE CODE: A02

Effective date: 20140114

A521 Request for written amendment filed

Free format text: JAPANESE INTERMEDIATE CODE: A523

Effective date: 20140514

A911 Transfer to examiner for re-examination before appeal (zenchi)

Free format text: JAPANESE INTERMEDIATE CODE: A911

Effective date: 20140522

A912 Re-examination (zenchi) completed and case transferred to appeal board

Free format text: JAPANESE INTERMEDIATE CODE: A912

Effective date: 20140620

A521 Request for written amendment filed

Free format text: JAPANESE INTERMEDIATE CODE: A523

Effective date: 20150610

A61 First payment of annual fees (during grant procedure)

Free format text: JAPANESE INTERMEDIATE CODE: A61

Effective date: 20150828

R150 Certificate of patent or registration of utility model

Ref document number: 5802011

Country of ref document: JP

Free format text: JAPANESE INTERMEDIATE CODE: R150

R250 Receipt of annual fees

Free format text: JAPANESE INTERMEDIATE CODE: R250

R250 Receipt of annual fees

Free format text: JAPANESE INTERMEDIATE CODE: R250

R250 Receipt of annual fees

Free format text: JAPANESE INTERMEDIATE CODE: R250

LAPS Cancellation because of no payment of annual fees