JP5774401B2 - 漏れのない接続を有する電気器具及び製造方法 - Google Patents

漏れのない接続を有する電気器具及び製造方法 Download PDF

Info

Publication number
JP5774401B2
JP5774401B2 JP2011161997A JP2011161997A JP5774401B2 JP 5774401 B2 JP5774401 B2 JP 5774401B2 JP 2011161997 A JP2011161997 A JP 2011161997A JP 2011161997 A JP2011161997 A JP 2011161997A JP 5774401 B2 JP5774401 B2 JP 5774401B2
Authority
JP
Japan
Prior art keywords
electrical connection
temperature
conductor
insulating layer
environment
Prior art date
Legal status (The legal status is an assumption and is not a legal conclusion. Google has not performed a legal analysis and makes no representation as to the accuracy of the status listed.)
Active
Application number
JP2011161997A
Other languages
English (en)
Other versions
JP2012028331A (ja
Inventor
ダビド・ムーラン
ロジェ・ロスティ
ブルーノ・テリエ
Original Assignee
エスケーエフ・マグネティック・メカトロニクス
Priority date (The priority date is an assumption and is not a legal conclusion. Google has not performed a legal analysis and makes no representation as to the accuracy of the date listed.)
Filing date
Publication date
Application filed by エスケーエフ・マグネティック・メカトロニクス filed Critical エスケーエフ・マグネティック・メカトロニクス
Publication of JP2012028331A publication Critical patent/JP2012028331A/ja
Application granted granted Critical
Publication of JP5774401B2 publication Critical patent/JP5774401B2/ja
Active legal-status Critical Current
Anticipated expiration legal-status Critical

Links

Images

Classifications

    • FMECHANICAL ENGINEERING; LIGHTING; HEATING; WEAPONS; BLASTING
    • F16ENGINEERING ELEMENTS AND UNITS; GENERAL MEASURES FOR PRODUCING AND MAINTAINING EFFECTIVE FUNCTIONING OF MACHINES OR INSTALLATIONS; THERMAL INSULATION IN GENERAL
    • F16CSHAFTS; FLEXIBLE SHAFTS; ELEMENTS OR CRANKSHAFT MECHANISMS; ROTARY BODIES OTHER THAN GEARING ELEMENTS; BEARINGS
    • F16C32/00Bearings not otherwise provided for
    • F16C32/04Bearings not otherwise provided for using magnetic or electric supporting means
    • FMECHANICAL ENGINEERING; LIGHTING; HEATING; WEAPONS; BLASTING
    • F16ENGINEERING ELEMENTS AND UNITS; GENERAL MEASURES FOR PRODUCING AND MAINTAINING EFFECTIVE FUNCTIONING OF MACHINES OR INSTALLATIONS; THERMAL INSULATION IN GENERAL
    • F16CSHAFTS; FLEXIBLE SHAFTS; ELEMENTS OR CRANKSHAFT MECHANISMS; ROTARY BODIES OTHER THAN GEARING ELEMENTS; BEARINGS
    • F16C32/00Bearings not otherwise provided for
    • F16C32/04Bearings not otherwise provided for using magnetic or electric supporting means
    • F16C32/0406Magnetic bearings
    • F16C32/044Active magnetic bearings
    • F16C32/047Details of housings; Mounting of active magnetic bearings
    • HELECTRICITY
    • H01ELECTRIC ELEMENTS
    • H01BCABLES; CONDUCTORS; INSULATORS; SELECTION OF MATERIALS FOR THEIR CONDUCTIVE, INSULATING OR DIELECTRIC PROPERTIES
    • H01B3/00Insulators or insulating bodies characterised by the insulating materials; Selection of materials for their insulating or dielectric properties
    • H01B3/18Insulators or insulating bodies characterised by the insulating materials; Selection of materials for their insulating or dielectric properties mainly consisting of organic substances
    • H01B3/30Insulators or insulating bodies characterised by the insulating materials; Selection of materials for their insulating or dielectric properties mainly consisting of organic substances plastics; resins; waxes
    • H01B3/42Insulators or insulating bodies characterised by the insulating materials; Selection of materials for their insulating or dielectric properties mainly consisting of organic substances plastics; resins; waxes polyesters; polyethers; polyacetals
    • H01B3/427Polyethers
    • HELECTRICITY
    • H01ELECTRIC ELEMENTS
    • H01BCABLES; CONDUCTORS; INSULATORS; SELECTION OF MATERIALS FOR THEIR CONDUCTIVE, INSULATING OR DIELECTRIC PROPERTIES
    • H01B3/00Insulators or insulating bodies characterised by the insulating materials; Selection of materials for their insulating or dielectric properties
    • H01B3/18Insulators or insulating bodies characterised by the insulating materials; Selection of materials for their insulating or dielectric properties mainly consisting of organic substances
    • H01B3/30Insulators or insulating bodies characterised by the insulating materials; Selection of materials for their insulating or dielectric properties mainly consisting of organic substances plastics; resins; waxes
    • H01B3/44Insulators or insulating bodies characterised by the insulating materials; Selection of materials for their insulating or dielectric properties mainly consisting of organic substances plastics; resins; waxes vinyl resins; acrylic resins
    • H01B3/443Insulators or insulating bodies characterised by the insulating materials; Selection of materials for their insulating or dielectric properties mainly consisting of organic substances plastics; resins; waxes vinyl resins; acrylic resins from vinylhalogenides or other halogenoethylenic compounds
    • H01B3/445Insulators or insulating bodies characterised by the insulating materials; Selection of materials for their insulating or dielectric properties mainly consisting of organic substances plastics; resins; waxes vinyl resins; acrylic resins from vinylhalogenides or other halogenoethylenic compounds from vinylfluorides or other fluoroethylenic compounds
    • FMECHANICAL ENGINEERING; LIGHTING; HEATING; WEAPONS; BLASTING
    • F16ENGINEERING ELEMENTS AND UNITS; GENERAL MEASURES FOR PRODUCING AND MAINTAINING EFFECTIVE FUNCTIONING OF MACHINES OR INSTALLATIONS; THERMAL INSULATION IN GENERAL
    • F16CSHAFTS; FLEXIBLE SHAFTS; ELEMENTS OR CRANKSHAFT MECHANISMS; ROTARY BODIES OTHER THAN GEARING ELEMENTS; BEARINGS
    • F16C2202/00Solid materials defined by their properties
    • F16C2202/30Electric properties; Magnetic properties
    • FMECHANICAL ENGINEERING; LIGHTING; HEATING; WEAPONS; BLASTING
    • F16ENGINEERING ELEMENTS AND UNITS; GENERAL MEASURES FOR PRODUCING AND MAINTAINING EFFECTIVE FUNCTIONING OF MACHINES OR INSTALLATIONS; THERMAL INSULATION IN GENERAL
    • F16CSHAFTS; FLEXIBLE SHAFTS; ELEMENTS OR CRANKSHAFT MECHANISMS; ROTARY BODIES OTHER THAN GEARING ELEMENTS; BEARINGS
    • F16C2300/00Application independent of particular apparatuses
    • F16C2300/40Application independent of particular apparatuses related to environment, i.e. operating conditions
    • F16C2300/42Application independent of particular apparatuses related to environment, i.e. operating conditions corrosive, i.e. with aggressive media or harsh conditions
    • FMECHANICAL ENGINEERING; LIGHTING; HEATING; WEAPONS; BLASTING
    • F16ENGINEERING ELEMENTS AND UNITS; GENERAL MEASURES FOR PRODUCING AND MAINTAINING EFFECTIVE FUNCTIONING OF MACHINES OR INSTALLATIONS; THERMAL INSULATION IN GENERAL
    • F16CSHAFTS; FLEXIBLE SHAFTS; ELEMENTS OR CRANKSHAFT MECHANISMS; ROTARY BODIES OTHER THAN GEARING ELEMENTS; BEARINGS
    • F16C32/00Bearings not otherwise provided for
    • F16C32/04Bearings not otherwise provided for using magnetic or electric supporting means
    • F16C32/0406Magnetic bearings
    • F16C32/044Active magnetic bearings
    • F16C32/0444Details of devices to control the actuation of the electromagnets
    • F16C32/0446Determination of the actual position of the moving member, e.g. details of sensors
    • FMECHANICAL ENGINEERING; LIGHTING; HEATING; WEAPONS; BLASTING
    • F16ENGINEERING ELEMENTS AND UNITS; GENERAL MEASURES FOR PRODUCING AND MAINTAINING EFFECTIVE FUNCTIONING OF MACHINES OR INSTALLATIONS; THERMAL INSULATION IN GENERAL
    • F16CSHAFTS; FLEXIBLE SHAFTS; ELEMENTS OR CRANKSHAFT MECHANISMS; ROTARY BODIES OTHER THAN GEARING ELEMENTS; BEARINGS
    • F16C32/00Bearings not otherwise provided for
    • F16C32/04Bearings not otherwise provided for using magnetic or electric supporting means
    • F16C32/0406Magnetic bearings
    • F16C32/044Active magnetic bearings
    • F16C32/0459Details of the magnetic circuit
    • F16C32/0461Details of the magnetic circuit of stationary parts of the magnetic circuit

Landscapes

  • Engineering & Computer Science (AREA)
  • General Engineering & Computer Science (AREA)
  • Physics & Mathematics (AREA)
  • Spectroscopy & Molecular Physics (AREA)
  • Mechanical Engineering (AREA)
  • Insulation, Fastening Of Motor, Generator Windings (AREA)
  • Connector Housings Or Holding Contact Members (AREA)
  • Cable Accessories (AREA)
  • Measuring Temperature Or Quantity Of Heat (AREA)
  • Magnetic Bearings And Hydrostatic Bearings (AREA)
  • Motor Or Generator Frames (AREA)
  • Lining Or Joining Of Plastics Or The Like (AREA)
  • Processing Of Terminals (AREA)
  • Manufacturing Of Electrical Connectors (AREA)
  • Connections Effected By Soldering, Adhesion, Or Permanent Deformation (AREA)

Description

本発明は回転機械の磁気軸受けの分野に関し、特にこのような機械の漏れのない接続を行う方法に関する。
磁気軸受けは接触せずに回転機械の回転子が回転することを可能にするために産業界で使用されている。磁気軸受けは、加圧され、腐食性であり、熱い気体を処理/抽出するための環境で直接使用されることができる。その固定子部では、軸受けは回転子を空中浮揚するために必要とされる磁界を生成するために使用される電気コイルが配置されている磁気積体の束から作られる。このタイプの機械はよく知られており、このような機械の1つは例えば本出願人の特許EP 1 395 759号明細書に記載されている。アセンブリは潜在的に導電性で腐食性の気体流中に配置される可能性があるので、環境から電気コイルの銅の導体を保護し、さらに相互からおよび接地電位に関して銅線を隔離する必要がある。
銅ワイヤの絶縁を環境に適合させることは工業用、特にガスの組成が時間で変化する可能性があり十分に制御されない気体分野では、頻繁に生じる問題である。さらに、プロセス流体、例えばモノエチレングリコールの付加は絶縁品質を劣化し回転機械全体の故障につながりかねない。さらに電気回路全体を生成するためにコイル間の接続が必要とされるが、このような接続はこれらが圧力下にあり、流体が銅の導体に到達することにより接地される可能性があるので電気的絶縁に関して弱点を生じる。この接地は恐らく回転子のランディングにより完全なシステムの故障につながるので、必ず阻止する必要がある。
電気接続を絶縁する問題に対する現在の解決策は、電気的絶縁性の樹脂、典型的にはエポキシ樹脂の含浸されている種々のテープおよび漏れのない層により絶縁された銅導体を使用することである。樹脂の目的は、ワイヤの電気的絶縁を相互に強化し、腐食性気体から化学的に銅導体を保護し、生じうる爆発的減圧の危険性を防止するため導体間の空隙を充填し、電気コイルが気密であることを確実にするために接着によって機械的に電気コイルを共に保持することである。
産業応用で遭遇する広範囲の化学的雰囲気、圧力、温度では、全ての変化に耐えることができる含浸樹脂を発見することは非常に困難である。さらに、全ての現象を識別することが困難であり、したがって既知の電気的樹脂は劣化されるため、および気体の成分とのそれらの相互作用のために、化学的保護の確認には、実質的には比較的珍しい設備で実行するには高価である多数の検査が必要である。
コイルを含浸するステップはしたがって、それが莫大な時間量及び他の手段を消費する方法であるので、人間的にも材料に関しても。労力に関しては実行するのが負担となる解決策である。さらに、電気的含浸樹脂の毒性は人に対する多くの保護と、使用される化学物質の時間を消費する管理とを必要とする。
それ故、現在、気体処理環境における磁気軸受けとそれらの検出器との信頼性を改良するため、このようなコイル間からの電気接続の改良された絶縁と、回転機械の外の気体環境からの出口が必要とされている。
したがって本発明の目的は、接続の化学的保護を強化し、絶縁が根拠としている概念の根本的変更によって、特に含浸樹脂により導体ワイヤを保護する通常の原理を、各導体ワイヤ上へ直接押し出された絶縁システムで置換することによって接続の化学的保護を漏れのないにすることであり、導電ワイヤは漏れがなく機械から出るまでは連続的である。
この目的は、腐食性気体又は液体にさらされる環境に対して漏れのない電気接続を実現する電気接続により実現され、その接続は、
・相互間でまたはコネクタ素子により前記電気接続を形成するための少なくとも2つの導体と、
・前記各導体上に形成され、前記環境の温度と予め定められたさらに高い温度との間に位置する温度で溶融可能なフッ化ポリマーから作られる外部絶縁層と、
・前記導体を包囲し、熱収縮ポリマーの外部層と、前記環境の温度と前記予め定められたさらに高い温度との間に位置する温度で溶融可能な前記フッ化ポリマーの内部層から作られる熱収縮スリーブとを有し、
前記環境の温度よりも高く前記予め定められたさらに高い温度よりも低い温度へ加熱することにより前記導体の前記外部絶縁層と前記熱収縮スリーブの前記内部層とを溶融し、それによって連続的で漏れのない制御された厚さの溶接を形成することを特徴とする。
想定されている実施形態では、前記導体の前記外部絶縁層と前記熱収縮スリーブの前記内部層はフッ化エチレンプロピレン(FEP)から作られ、または前記導体の前記外部絶縁層はパーフルオロアルコキシ共重合体(PFA)から作られる。
前記熱収縮スリーブの前記内部層は、連続的で完全に漏れのない溶接を得るために、変化し、接続のための前記素子の周囲を充填するためのゾーンに対して適応される厚さであることが有効である。
好ましくは、前記電気接続はさらに前記予め定められたさらに高い温度よりも高い温度に耐える前記各導体上に内部絶縁層を含んでいる。
想定されている実施形態では、前記導体の前記内部絶縁層はポリエーテルエーテルケトン(PEEK)から作られ、または前記導体の前記内部絶縁層および前記熱収縮スリーブの前記外部層はポリテトラフルオロエチレン(PTFE)から作られる。
前記環境の前記温度は200℃より高くはなく、前記予め定められた温度は少なくとも300℃であることが有効である。
接続される前記素子はしたがってその環境に関して密封される温度プローブであることができ、前記導体の1つは漏れのないブッシングのコンタクトであることができる。
好ましくは、前記導体は前記溶融期間中に加熱素子として使用される。
例示として、本発明の電気接続は任意の装置で、即ち電気モータ、磁気軸受、磁気軸受位置センサ、磁気軸受速度センサで使用されることができる。
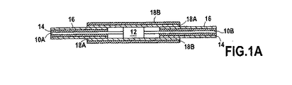
本発明の漏れのない接続を行う原理を示す図である。 本発明の漏れのない接続を行う原理を示す図である。 温度プローブに適用される漏れのない接続の第1の実施形態を示す図である。 温度プローブに適用される漏れのない接続の第1の実施形態を示す図である。 通過する電気ケーブルに適用される漏れのない接続の第2の実施形態を示す図である。
本発明の特徴及び利点は限定ではなく示されている以下の説明から添付図面を参照してさらに明瞭になるであろう。
本発明では、図1Aと1Bの図に示されているように、接続12の導体ワイヤおよび/またはケーブル10Aと10Bの絶縁はもはや電気的含浸樹脂を付加することではなく、絶縁構造に基づいており、絶縁構造は導体ワイヤから外側に設けられている。
・導体ワイヤ上へ押し出される耐化学薬品性のポリマー、典型的にはポリテトラフルオロエチレン(PTFE)またはポリエーテルエーテルケトン(PEEK)から作られ、溶融温度を示さないか300℃よりも遥かに高い溶融温度を有する絶縁層14と、
・溶融可能なフッ化ポリマー、典型的には、導体ワイヤがさらされる温度(適用温度)よりも高い溶融温度、典型的には最大200℃であるが上記の絶縁層の溶融温度よりも遥かに低い温度である溶融温度を有するフッ化エチレンポリプロピレン(FEP)またはパーフルオロアルコキシ共重合体(PFA)により形成される絶縁層16。
以下「内部」絶縁として説明の中で示されている第1の絶縁層14は随意選択的な層であり、他方で以下「外部」絶縁と呼ぶ第2の絶縁層16は常に存在する。第1の絶縁層が存在してもしなくても、第2の絶縁層は常に前記第1の層上へ押し出されるか、そうでなければ導体ワイヤ上へ直接押し出される。対照的に、第1の絶縁層は押し出されてもよく、または特に大きい直径のケーブルでは幾つかの他の方法により単に配置されてもよい。
このタイプの絶縁は、磁気軸受けを含む産業応用で遭遇する非常に多くの環境において非常に良好な化学的安定性を示す利点を与える。種々の環境に関するこの化学的不活性により軸受けのコイルが接地電位から絶縁されることを保証され、これは200度程度の温度まで応用可能である。
導体ワイヤ10A、10Bの外部絶縁層として溶融可能なフッ化ポリマーの使用は、外部層16を連結スリーブ18の類似の層18Aと共に溶融することにより導体ワイヤ間の漏れのない接続を実現することを可能にし、連結スリーブ18は接続と連結スリーブ18が接続されている導体ワイヤの端部をカバーしている。これを行うため、連結スリーブは圧力を2つの溶融可能な層へ適用する役目を行う熱収縮ポリマー18Bの外部層を有し、したがって連続的であり(溶融可能な絶縁物を含まない接続周囲のゾーンを充填する)、完全に気密および液密であり、それによって電気接続により構成される弱い点を限定する溶接20を形成する。2つの層は溶融可能な絶縁の層の溶融温度よりも高い温度へ加熱することにより溶融され、加熱素子として導体ワイヤを使用することが可能である。溶融は加圧された媒体における爆発に続いて爆発的減圧を生じる可能性がある接続中の任意の気泡または空洞を閉じ込めることを避けるために真空中で行われることができる。
溶融可能ではない内部絶縁層は随意選択的であり、熱いとき外部絶縁層がクリープを受ける場合に絶縁の連続性を保証することが必要である。その理由で、その溶融温度は外部絶縁層の溶融温度よりも高くなければならない。
溶融可能な絶縁体の2つの層を共に溶接するこの漏れのない連結接続は、機械の他の接続、特に温度プローブの接続に対して特別な難点なしに一般化されることができ、ここでは前記接続はまた腐食性気体または潜在的に湿り気のある気体中で動作する機械において弱点を構成する。したがって図2Aと2Bに示されているように、温度プローブ22は2つの導体24A、24Bにより測定電子装置(図示せず)へ接続される。各導体は第1の絶縁層26と第2の絶縁層28を有し、プローブは溶融可能な絶縁体30Aの内部層と熱収縮ポリマー30Bの外部層とを具備する連結スリーブ30により包囲される。絶縁の内部層30Aの厚さは変化でき、温度プローブ周辺で充填される必要があるゾーンに適合されることができ、それによって加熱後、連続的で完全に漏れのない溶融可能な溶接32が得られる。
この漏れのない接続原理は、信号および/または電力が媒体にさらされる機械中に存在する加圧された媒体に出入りことを可能にする漏れのないブッシングを接続することにも応用されることができることも明白である。漏れのないブッシングと接触する溶融可能な絶縁層を使用することによって、流体の含浸による絶縁の損失は接触がある限り限定される。したがって図3に示されているように、漏れのないブッシング34、36、38の3つの接触部で伝送される信号は3つの導体40、42、44に直接接続される。各導体はそれぞれ第1の各絶縁層46、48、50、第2の各絶縁層で被覆され、それぞれ連結スリーブ52、54、56により包囲され、連結スリーブは熱収縮ポリマー52B、54B、56Bの外部層と溶融可能な絶縁の内部層とを具備し、溶融可能な絶縁体の内部層は加熱後、漏れのないブッシングの接触部をカバーする外部絶縁層と共に、連続的で完全に漏れのない溶融可能な溶接58を形成する役目を行う。
したがって本発明では、同じタイプの層と関連して溶融可能な絶縁層でカバーされる導体ワイヤの使用により、侵略的環境に対して良好な保護を行いながら、時間と人員と化学物質の管理を要する含浸作業を省略することが可能である。
以下に、本願出願時の特許請求の範囲に記載された発明を付記する。
[1]腐食性の気体又は液体にさらされる環境において漏れのない電気接続を実現するための電気接続部において、前記接続は、
・相互間またはコネクタ素子(12;22)と前記電気接続を形成するための少なくとも2つの導体(10A、10B;24A、24B;34、36、38、40、42、44)と、
・各前記導体上に形成され、前記環境の温度と予め定められたさらに高い温度との間に位置する温度で溶融可能なフッ化ポリマーから作られた外部絶縁層(16;28)と、
・前記導体を包囲し、熱収縮ポリマーの外部層(18B;30B;52B、54B、56B)と、前記環境の温度と前記予め定められたさらに高い温度との間に位置する温度で溶融可能な前記フッ化ポリマーの内部層(18A;30A)から作られた熱収縮スリーブ(18;30;52、54、56)とを具備し、
前記環境の温度よりも高く前記予め定められたさらに高い温度よりも低い温度へ加熱することにより前記導体の前記外部絶縁層と前記熱収縮スリーブの前記内部層とを溶融し、それによって連続的であり漏れのない制御された厚さの溶接部(20;32;58)を形成することを特徴とする電気接続部。
[2]前記導体の前記外部絶縁層と前記熱収縮スリーブの前記内部層はフッ化エチレンプロピレン(FEP)から作られていることを特徴とする前記[1]記載の電気接続部。
[3]前記導体の前記外部絶縁層はパーフルオロアルコキシ共重合体(PFA)から作られていることを特徴とする前記[1]記載の電気接続部。
[4]前記熱収縮スリーブの前記内部層は、連続的で完全に漏れのない溶接を得るために、変化し、接続のための前記素子周辺を充填するためのゾーンに適応される厚さであることができることを特徴とする前記[1]記載の電気接続部。
[5]さらに前記予め定められたさらに高い温度よりも高い温度に耐える内部絶縁層を各前記導体上に含んでいることを特徴とする電気接続部。
[6]前記導体の前記内部絶縁層はポリエーテルエーテルケトン(PEEK)から作られていることを特徴とする前記[5]記載の電気接続部。
[7]前記導体の前記内部絶縁層および前記熱収縮スリーブの前記外部層はポリテトラフルオロエチレン(PTFE)から作られていることを特徴とする前記[5]記載の電気接続部。
[8]前記環境の前記温度は200℃よりも高くはないことを特徴とする前記[1]記載の電気接続部。
[9]前記予め定められた温度は少なくとも300℃であることを特徴とする前記[1]または[5]記載の電気接続部。
[10]接続される前記素子はしたがってその環境に関して密封される温度プローブであることを特徴とする前記[1]乃至[9]のいずれか1つに記載の電気接続部。
[11]前記導体の1つは漏れのないブッシングのコンタクトであることを特徴とする前記[1]乃至[9]のいずれか1つに記載の電気接続部。
[12]前記導体は前記溶融期間中に加熱素子として使用されることを特徴とする前記[1]乃至[9]のいずれか1つに記載の電気接続部。
[13]電気モータ、磁気軸受け、磁気軸受け位置センサ、磁気軸受け速度センサの各装置における前記[1]乃至[9]のいずれか1つに記載の電気接続の使用。

Claims (12)

  1. 腐食性の気体又は液体にさらされる環境において漏れのない電気接続を実現するための電気接続部において、前記電気接続は、
    ・相互間またはコネクタ素子(12;22)と前記電気接続を形成するための少なくとも2つの導体(10A、10B;24A、24B;34、36、38、40、42、44)と、
    ・各前記導体上に形成され、前記環境の温度と予め定められた高い温度との間に位置する温度で溶融可能なフッ化ポリマーから作られた外部絶縁層(16;28)と、
    ・前記導体を包囲し、熱収縮ポリマーの外部層(18B;30B;52B、54B、56B)と、前記環境の温度と前記予め定められた高い温度との間に位置する温度で溶融可能な前記フッ化ポリマーの内部層(18A;30A)から作られた熱収縮スリーブ(18;30;52、54、56)と
    を具備し、
    前記環境の温度よりも高く且つ前記予め定められた高い温度よりも低い温度へ加熱することにより前記導体の前記外部絶縁層と前記熱収縮スリーブの前記内部層とを溶融し、それによって連続的であり漏れのない制御された厚さの溶接部(20;32;58)を形成
    前記導体は前記溶融の期間中に加熱素子として使用される、ことを特徴とする電気接続部。
  2. 前記導体の前記外部絶縁層と前記熱収縮スリーブの前記内部層はフッ化エチレンプロピレン(FEP)から作られていることを特徴とする請求項1記載の電気接続部。
  3. 前記導体の前記外部絶縁層はパーフルオロアルコキシ共重合体(PFA)から作られていることを特徴とする請求項1記載の電気接続部。
  4. 前記熱収縮スリーブの前記内部層は、連続的で完全に漏れのない溶接を得るために、変化し、接続のための前記素子周辺を充填するためのゾーンに適応される厚さであることができることを特徴とする請求項1記載の電気接続部。
  5. 記予め定められた高い温度よりも高い温度に耐える内部絶縁層を各前記導体上にさらに含んでいることを特徴とする請求項1記載の電気接続部。
  6. 前記導体の前記内部絶縁層はポリエーテルエーテルケトン(PEEK)から作られていることを特徴とする請求項5記載の電気接続部。
  7. 前記導体の前記内部絶縁層および前記熱収縮スリーブの前記外部層はポリテトラフルオロエチレン(PTFE)から作られていることを特徴とする請求項5記載の電気接続部。
  8. 前記環境の前記温度は200℃よりも高くはないことを特徴とする請求項1記載の電気接続部。
  9. 前記予め定められた温度は少なくとも300℃であることを特徴とする請求項1または5記載の電気接続部。
  10. 接続される前記素子はその環境にして密封される温度プローブであることを特徴とする請求項1乃至9のいずれか1項記載の電気接続部。
  11. 前記導体の1つは漏れのないブッシングのコンタクトであることを特徴とする請求項1乃至9のいずれか1項記載の電気接続部。
  12. 次の装置、すなわち、電気モータ、磁気軸受け、磁気軸受け位置センサ、磁気軸受け速度センサ、のうちのいずれかにおける請求項1乃至9のいずれか1項記載の電気接続の使用。
JP2011161997A 2010-07-23 2011-07-25 漏れのない接続を有する電気器具及び製造方法 Active JP5774401B2 (ja)

Applications Claiming Priority (2)

Application Number Priority Date Filing Date Title
FR1056072 2010-07-23
FR1056072A FR2963154B1 (fr) 2010-07-23 2010-07-23 Appareil electrique a connexions etanches et procede de fabrication

Publications (2)

Publication Number Publication Date
JP2012028331A JP2012028331A (ja) 2012-02-09
JP5774401B2 true JP5774401B2 (ja) 2015-09-09

Family

ID=43662055

Family Applications (1)

Application Number Title Priority Date Filing Date
JP2011161997A Active JP5774401B2 (ja) 2010-07-23 2011-07-25 漏れのない接続を有する電気器具及び製造方法

Country Status (5)

Country Link
US (1) US8927864B2 (ja)
EP (1) EP2410533B1 (ja)
JP (1) JP5774401B2 (ja)
CA (1) CA2746809C (ja)
FR (1) FR2963154B1 (ja)

Families Citing this family (7)

* Cited by examiner, † Cited by third party
Publication number Priority date Publication date Assignee Title
GB2515970B (en) * 2012-05-14 2018-08-01 Next Wave Design Pty Ltd Cable holder
FR2994021B1 (fr) 2012-07-27 2014-08-22 Mecanique Magnetique Sa Connecteur electrique etanche pour paliers magnetiques
US20160087502A1 (en) * 2014-09-24 2016-03-24 Baker Hughes Incorporated Systems and Methods for Splicing Electrical Conductors in an ESP Motor
CN109904683B (zh) * 2018-12-29 2021-03-23 厦门广成精密工业有限公司 一种智能卫浴线束及其加工工艺
US12048479B2 (en) 2020-09-10 2024-07-30 Biosense Webster (Israel) Ltd. Surface mounted electrode catheter
CN113746258B (zh) * 2021-07-31 2023-09-01 苏州百狮腾电气有限公司 一种由电磁线连线用于测试的磁浮电机
CN114024166B (zh) * 2021-09-26 2024-07-09 浙江大华技术股份有限公司 线缆组件及线缆组件的安装方法

Family Cites Families (22)

* Cited by examiner, † Cited by third party
Publication number Priority date Publication date Assignee Title
US3451609A (en) * 1967-08-24 1969-06-24 Us Air Force Heat shrinkable plastic soldering sleeve
US3582457A (en) * 1967-12-19 1971-06-01 Electronized Chem Corp Heat shrinkable components with meltable insert liner
US3777048A (en) * 1971-09-22 1973-12-04 Kaiser Aluminium Chem Corp Molding process for splicing cable and product formed thereby
US4801501A (en) * 1986-08-28 1989-01-31 Carlisle Corporation Insulated conductor with multi-layer, high temperature insulation
JP2827236B2 (ja) * 1988-11-24 1998-11-25 住友電気工業株式会社 自己融着性絶縁電線及びそのコイル
JPH04334946A (ja) * 1991-05-08 1992-11-24 Youyuu Tansanengata Nenryo Denchi Hatsuden Syst Gijutsu Kenkyu Kumiai 高温用磁気軸受装置用軸受コイル及びセンサコイル
NO950846L (no) * 1994-03-10 1995-09-11 Atochem Elf Sa Omhyllede kabler med forbedret fleksibilitet samt fremgangsmåte for fremstilling derav
US5537742A (en) * 1995-05-22 1996-07-23 General Signal Corporation Method for joining multiple conductor cables
JP3215301B2 (ja) * 1995-08-30 2001-10-02 株式会社山武 検出素子封止構造およびその製造方法
JPH10329216A (ja) * 1997-05-28 1998-12-15 Nkk Corp 自己発熱型熱収縮チューブ
FR2826077B1 (fr) 2001-06-15 2003-09-19 Mecanique Magnetique Sa Palier magnetique actif a detecteurs integres
CA2355972C (en) * 2001-08-24 2009-11-17 Shawcor Ltd. Ionomer-insulated electrical connectors
JP4334946B2 (ja) 2003-08-27 2009-09-30 川崎重工業株式会社 自動二輪車のフレーム
JP2006349612A (ja) * 2005-06-20 2006-12-28 Okazaki Mfg Co Ltd 温度センサ及びその製造方法
US7232955B1 (en) * 2005-12-08 2007-06-19 General Electric Company Cable seals and methods of assembly
EP2126358A2 (en) * 2007-03-07 2009-12-02 Saint-Gobain Performance Plastics Corporation Multi-layer tubes
US7679242B2 (en) * 2007-10-03 2010-03-16 Baker Hughes Incorporated Shrink tube encapsulated magnet wire for electrical submersible motors
US7494289B1 (en) * 2007-10-10 2009-02-24 Schlumberger Technology Corporation Optical fibre splice protector
EP2244875A1 (en) * 2007-12-28 2010-11-03 Saint-Gobain Performance Plastics Corporation Reinforced tube
CA2658494A1 (en) * 2009-03-13 2010-09-13 Shawcor Ltd. Apparatus for heating heat shrink sleeves
US8247050B2 (en) * 2009-06-02 2012-08-21 Integran Technologies, Inc. Metal-coated polymer article of high durability and vacuum and/or pressure integrity
US8540295B2 (en) * 2010-11-04 2013-09-24 Lift-All Company, Inc. Sling with protective covering

Also Published As

Publication number Publication date
FR2963154B1 (fr) 2013-07-19
EP2410533B1 (fr) 2013-03-06
EP2410533A1 (fr) 2012-01-25
CA2746809A1 (en) 2012-01-23
US20120067640A1 (en) 2012-03-22
CA2746809C (en) 2018-03-27
JP2012028331A (ja) 2012-02-09
FR2963154A1 (fr) 2012-01-27
US8927864B2 (en) 2015-01-06

Similar Documents

Publication Publication Date Title
JP5774401B2 (ja) 漏れのない接続を有する電気器具及び製造方法
US9660374B2 (en) Sealed electrical connector for magnetic bearings
CA2833528C (en) Electrical submersible pump system having high temperature slot, end bell and phase-to-phase insulation
JP5405949B2 (ja) 2本の高電圧ケーブル間の接続点用装置
US20120093667A1 (en) Power Cable For High Temperature Environments
US4436565A (en) Method of making a heating device for utilizing the skin effect of alternating current
JP2007312594A (ja) 光ケーブルシールド層接続部
KR20110082510A (ko) 이중 절연 코일 어셈블리를 구비한 전기 장치
US20160087502A1 (en) Systems and Methods for Splicing Electrical Conductors in an ESP Motor
US8133068B2 (en) Current connection apparatus for tanks
US4617449A (en) Heating device for utilizing the skin effect of alternating current
KR100730968B1 (ko) 재료내의 물의 존재 여부 판정 방법
EP3859916A1 (en) Cable termination and method of manufacture
CA2201888A1 (en) Electrical equipment
JP6216302B2 (ja) 断熱管絶縁ユニット、及び超電導ケーブル線路
JP6965623B2 (ja) 巻線構造、コイル、変圧器及び回転機
CN111613912B (zh) 一种高温电机潜油电缆连接装置
KR20160129815A (ko) 전기기계 및 전기기계의 제조 방법
KR102853462B1 (ko) 전력 케이블 종단 시스템
Rummel et al. Insulation of the coil and bus bar ends during assemblyof W7-X
JP2000260618A (ja) 電気機器コイル及びその製造方法
US20190122785A1 (en) Mineral insulated power cables for electric motor driven integral compressors
Pelissou et al. Underground Medium-Voltage Cable Rejuvenation—Part III: Influence of Operating and Emergency Conditions
Edgerton A Premolded Splice for 138KV Extruded Dielectric Cable
Buritz Development of a Generator Stator Insulation System.

Legal Events

Date Code Title Description
A621 Written request for application examination

Free format text: JAPANESE INTERMEDIATE CODE: A621

Effective date: 20140528

A977 Report on retrieval

Free format text: JAPANESE INTERMEDIATE CODE: A971007

Effective date: 20150218

A131 Notification of reasons for refusal

Free format text: JAPANESE INTERMEDIATE CODE: A131

Effective date: 20150224

A521 Request for written amendment filed

Free format text: JAPANESE INTERMEDIATE CODE: A523

Effective date: 20150512

TRDD Decision of grant or rejection written
A01 Written decision to grant a patent or to grant a registration (utility model)

Free format text: JAPANESE INTERMEDIATE CODE: A01

Effective date: 20150602

A61 First payment of annual fees (during grant procedure)

Free format text: JAPANESE INTERMEDIATE CODE: A61

Effective date: 20150701

R150 Certificate of patent or registration of utility model

Ref document number: 5774401

Country of ref document: JP

Free format text: JAPANESE INTERMEDIATE CODE: R150

R250 Receipt of annual fees

Free format text: JAPANESE INTERMEDIATE CODE: R250

R250 Receipt of annual fees

Free format text: JAPANESE INTERMEDIATE CODE: R250

R250 Receipt of annual fees

Free format text: JAPANESE INTERMEDIATE CODE: R250

R250 Receipt of annual fees

Free format text: JAPANESE INTERMEDIATE CODE: R250

R250 Receipt of annual fees

Free format text: JAPANESE INTERMEDIATE CODE: R250

R250 Receipt of annual fees

Free format text: JAPANESE INTERMEDIATE CODE: R250

R250 Receipt of annual fees

Free format text: JAPANESE INTERMEDIATE CODE: R250

R250 Receipt of annual fees

Free format text: JAPANESE INTERMEDIATE CODE: R250