JP5728719B2 - 電流センサ - Google Patents

電流センサ Download PDF

Info

Publication number
JP5728719B2
JP5728719B2 JP2013551545A JP2013551545A JP5728719B2 JP 5728719 B2 JP5728719 B2 JP 5728719B2 JP 2013551545 A JP2013551545 A JP 2013551545A JP 2013551545 A JP2013551545 A JP 2013551545A JP 5728719 B2 JP5728719 B2 JP 5728719B2
Authority
JP
Japan
Prior art keywords
magnetoresistive
magnetic field
current
effect element
output
Prior art date
Legal status (The legal status is an assumption and is not a legal conclusion. Google has not performed a legal analysis and makes no representation as to the accuracy of the status listed.)
Active
Application number
JP2013551545A
Other languages
English (en)
Other versions
JPWO2013099504A1 (ja
Inventor
真司 三ツ谷
真司 三ツ谷
Current Assignee (The listed assignees may be inaccurate. Google has not performed a legal analysis and makes no representation or warranty as to the accuracy of the list.)
Alps Green Devices Co Ltd
Original Assignee
Alps Green Devices Co Ltd
Priority date (The priority date is an assumption and is not a legal conclusion. Google has not performed a legal analysis and makes no representation as to the accuracy of the date listed.)
Filing date
Publication date
Application filed by Alps Green Devices Co Ltd filed Critical Alps Green Devices Co Ltd
Priority to JP2013551545A priority Critical patent/JP5728719B2/ja
Publication of JPWO2013099504A1 publication Critical patent/JPWO2013099504A1/ja
Application granted granted Critical
Publication of JP5728719B2 publication Critical patent/JP5728719B2/ja
Active legal-status Critical Current
Anticipated expiration legal-status Critical

Links

Images

Classifications

    • GPHYSICS
    • G01MEASURING; TESTING
    • G01RMEASURING ELECTRIC VARIABLES; MEASURING MAGNETIC VARIABLES
    • G01R33/00Arrangements or instruments for measuring magnetic variables
    • G01R33/02Measuring direction or magnitude of magnetic fields or magnetic flux
    • G01R33/06Measuring direction or magnitude of magnetic fields or magnetic flux using galvano-magnetic devices
    • G01R33/09Magnetoresistive devices
    • G01R33/093Magnetoresistive devices using multilayer structures, e.g. giant magnetoresistance sensors
    • GPHYSICS
    • G01MEASURING; TESTING
    • G01RMEASURING ELECTRIC VARIABLES; MEASURING MAGNETIC VARIABLES
    • G01R15/00Details of measuring arrangements of the types provided for in groups G01R17/00 - G01R29/00, G01R33/00 - G01R33/26 or G01R35/00
    • G01R15/14Adaptations providing voltage or current isolation, e.g. for high-voltage or high-current networks
    • G01R15/20Adaptations providing voltage or current isolation, e.g. for high-voltage or high-current networks using galvano-magnetic devices, e.g. Hall-effect devices, i.e. measuring a magnetic field via the interaction between a current and a magnetic field, e.g. magneto resistive or Hall effect devices
    • G01R15/205Adaptations providing voltage or current isolation, e.g. for high-voltage or high-current networks using galvano-magnetic devices, e.g. Hall-effect devices, i.e. measuring a magnetic field via the interaction between a current and a magnetic field, e.g. magneto resistive or Hall effect devices using magneto-resistance devices, e.g. field plates
    • GPHYSICS
    • G01MEASURING; TESTING
    • G01RMEASURING ELECTRIC VARIABLES; MEASURING MAGNETIC VARIABLES
    • G01R19/00Arrangements for measuring currents or voltages or for indicating presence or sign thereof
    • G01R19/0046Arrangements for measuring currents or voltages or for indicating presence or sign thereof characterised by a specific application or detail not covered by any other subgroup of G01R19/00
    • GPHYSICS
    • G01MEASURING; TESTING
    • G01RMEASURING ELECTRIC VARIABLES; MEASURING MAGNETIC VARIABLES
    • G01R33/00Arrangements or instruments for measuring magnetic variables
    • G01R33/02Measuring direction or magnitude of magnetic fields or magnetic flux
    • G01R33/06Measuring direction or magnitude of magnetic fields or magnetic flux using galvano-magnetic devices
    • G01R33/09Magnetoresistive devices
    • HELECTRICITY
    • H10SEMICONDUCTOR DEVICES; ELECTRIC SOLID-STATE DEVICES NOT OTHERWISE PROVIDED FOR
    • H10NELECTRIC SOLID-STATE DEVICES NOT OTHERWISE PROVIDED FOR
    • H10N50/00Galvanomagnetic devices
    • H10N50/10Magnetoresistive devices

Landscapes

  • Physics & Mathematics (AREA)
  • General Physics & Mathematics (AREA)
  • Condensed Matter Physics & Semiconductors (AREA)
  • Measuring Instrument Details And Bridges, And Automatic Balancing Devices (AREA)
  • Measuring Magnetic Variables (AREA)

Description

本発明は、被測定電流を非接触で測定可能な電流センサに関する。
電気自動車や太陽電池などの分野では、磁気検出素子であるGMR(Giant Magneto Resistance)素子を用いて被測定電流による誘導磁界を検出する方式の電流センサが知られている(例えば、特許文献1参照)。特許文献1の電流センサでは、複数のGMR素子の出力の差分に基づいて検出対象の電流を検出することで、高感度化を実現している。
GMR素子は、反強磁性層、固定磁性層、非磁性層及びフリー磁性層を基本的な構成としている。固定磁性層は、反強磁性層上に積層されており、反強磁性層との間で生じる交換結合磁界により磁化方向が一方向に固定されている。フリー磁性層は、固定磁性層上に非磁性層(非磁性中間層)を介して積層されており、外部磁界により磁化方向が変化するようになっている。GMR素子は、外部磁界の印加によって変化するフリー磁性層の磁化方向と、固定磁性層の磁化方向との関係で電気抵抗値が変動するように構成されており、これにより外部磁界を検出可能になっている。
このようなGMR素子において、電気抵抗値と外部磁界の強さと間の線形性を高めるために、フリー磁性層にバイアス磁界を印加するハードバイアス層を設けることがある。これにより、フリー磁性層の磁化方向が同一方向に揃えられて外部磁界の検出感度が向上する。このGMR素子を用いることで、さらに検出感度に優れた電流センサが実現可能である(例えば、特許文献2参照)。
特開2006−105693号公報 特開2006−66821号公報
ところで、上述したハードバイアス層によってバイアス磁界を印加するタイプのGMR素子は、バイアス磁界によってフリー磁性層の磁化方向を揃えているため、バイアス磁界に平行な方向(感度方向に垂直な方向)に外部磁界が加わると検出感度が変化してしまう。このため、このGMR素子を用いる電流センサにおいて、バイアス磁界に平行な方向の外部磁界が存在する場合には、電流測定精度が低下する恐れがある。
本発明はかかる点に鑑みてなされたものであり、バイアス磁界に平行な方向に外部磁界が加わる場合であっても電流測定精度の低下を抑制可能な電流センサを提供することを目的とする。
本発明の電流センサは、電流路を通流する被測定電流からの誘導磁界を検出する第1の磁気抵抗効果素子及び第2の磁気抵抗効果素子を具備し、前記第1の磁気抵抗効果素子及び前記第2の磁気抵抗効果素子は、それぞれ、フリー磁性層に対してバイアス磁界を印加するハードバイアス層を有し、前記第1の磁気抵抗効果素子のバイアス磁界と、前記第2の磁気抵抗効果素子のバイアス磁界とが逆向きであり、前記第1の磁気抵抗効果素子と前記第2の磁気抵抗効果素子とは、前記被測定電流からの誘導磁界が逆の向きに印加されるよう配置され、前記第1の磁気抵抗効果素子の感度軸の方向と前記第2の磁気抵抗効果素子の感度軸の方向とが同一方向になるように構成されていることを特徴とする。
この構成によれば、第1の磁気抵抗効果素子のバイアス磁界と、第2の磁気抵抗効果素子のバイアス磁界とが逆向きであるため、バイアス磁界に平行な方向の外部磁界が加わっても、2個の磁気センサの出力を用いて感度変化を相殺できる。これにより、外部磁界による電流測定精度の低下を抑制可能である。
本発明の電流センサにおいて、前記第1の磁気抵抗効果素子の出力と前記第2の磁気抵抗効果素子の出力との差を演算処理する演算部を具備することが好ましい。
本発明の電流センサにおいて、前記電流路は、平行な第1の部分及び第2の部分と、前記第1の部分及び前記第2の部分に垂直な前記第1の部分と前記第2の部分とを接続する第3の部分と、を含んで構成されており、前記第1の磁気抵抗効果素子は、前記第1の部分を通流する被測定電流からの誘導磁界を検出するように配置されており、前記第2の磁気抵抗効果素子は、前記第2の部分を通流する被測定電流からの誘導磁界を検出するように、前記電流路の前記第1の磁気抵抗効果素子と同一面側に配置されていることが好ましい。この構成によれば、電流路の同一面に磁気抵抗効果素子を設けることができるので、製造が容易になる。
本発明の電流センサにおいて、前記電流路は、直線状に構成されており、前記第1の磁気抵抗効果素子と前記第2の磁気抵抗効果素子とが、前記電流路を挟んで配置されることが好ましい。この構成によれば、直線状の電流路を用いるため、電流測定精度の低下を抑制できる。
本発明の電流センサは、電流路を通流する被測定電流からの誘導磁界を検出する第1乃至第4の磁気抵抗効果素子を具備し、前記第1乃至第4の磁気抵抗効果素子は、それぞれ、フリー磁性層に対してバイアス磁界を印加するハードバイアス層を有し、前記第1の磁気抵抗効果素子のバイアス磁界と、前記第2の磁気抵抗効果素子のバイアス磁界とが逆向きになるように、かつ、前記第3の磁気抵抗効果素子のバイアス磁界と、前記第4の磁気抵抗効果素子のバイアス磁界とが逆向きになるように、かつ、前記第1の磁気抵抗効果素子のバイアス磁界と、前記第3の磁気抵抗効果素子のバイアス磁界とが同じ向きになるように、かつ、前記第2の磁気抵抗効果素子のバイアス磁界と、前記第4の磁気抵抗効果素子のバイアス磁界とが同じ向きになるように配置され、前記第1の磁気抵抗効果素子と前記第2の磁気抵抗効果素子とは、前記被測定電流からの誘導磁界が同じ向きに印加され、かつ、前記第3の磁気抵抗効果素子と前記第4の磁気抵抗効果素子とは、前記被測定電流からの誘導磁界が同じ向きに印加され、かつ、前記第1の磁気抵抗効果素子と前記第2の磁気抵抗効果素子とに印加される前記被測定電流からの誘導磁界の向きと前記第3の磁気抵抗効果素子と前記第4の磁気抵抗効果素子とに印加される前記被測定電流からの誘導磁界の向きとが逆の向きになるように配置され、前記第1の磁気抵抗効果素子の感度軸の方向と前記第3の磁気抵抗効果素子の感度軸の方向とが同一方向、かつ、前記第2の磁気抵抗効果素子の感度軸の方向と前記第4の磁気抵抗効果素子の感度軸の方向とが同一方向、かつ、前記第1乃至第4の磁気抵抗効果素子の感度軸が平行になるよう配置されていることを特徴とする。
この構成によれば、第1の磁気抵抗効果素子におけるバイアス磁界と、第2の磁気抵抗効果素子におけるバイアス磁界とが互いに逆向きであり、第3の磁気抵抗効果素子におけるバイアス磁界と、第4の磁気抵抗効果素子におけるバイアス磁界とが互いに逆向きであるため、バイアス磁界に平行な方向の外部磁界が加わっても、各磁気センサの感度変化を相殺できる。さらに、感度軸方向の外部磁界が加わっても、その影響を相殺できる。これにより、外部磁界による電流測定精度の低下を抑制可能である。
本発明の電流センサにおいて、前記第1乃至第4の磁気抵抗効果素子は、前記第1の磁気抵抗効果素子の感度軸乃至前記第4の磁気抵抗効果素子の感度軸の方向が同一方向になるよう配置され、前記第1乃至第4の磁気抵抗効果素子の出力を演算処理する演算部を有し、前記演算部は、前記第1の磁気抵抗効果素子の出力及び前記第2の磁気抵抗効果素子の出力の和である第1の出力和から、前記第3の磁気抵抗効果素子の出力及び前記第4の磁気抵抗効果素子の出力の和である第2の出力和を減算することが好ましい。
本発明の電流センサにおいて、前記第1乃至第4の磁気抵抗効果素子は、前記第1の磁気抵抗効果素子の感度軸の方向及び前記第3の磁気抵抗効果素子の感度軸の方向と、前記第2の磁気抵抗効果素子の感度軸の方向及び前記第4の磁気抵抗効果素子の方向とが逆の方向になるよう配置され、前記第1乃至第4の磁気抵抗効果素子の出力を演算処理する演算部を有し、前記演算部は、前記第1の磁気抵抗効果素子の出力と前記第2の磁気抵抗効果素子の出力の差である第1の出力差から、前記第3の磁気抵抗効果素子の出力及び前記第4の磁気抵抗効果素子の出力の差である第2の出力差を減算することが好ましい。
本発明の電流センサにおいて、前記電流路は、平行な第1の部分及び第2の部分と、前記第1の部分及び前記第2の部分に垂直な前記第1の部分と前記第2の部分とを接続する第3の部分と、を含んで構成されており、前記第1の磁気抵抗効果素子及び前記第2の磁気抵抗効果素子は、前記第1の部分を通流する被測定電流からの誘導磁界を検出するように配置されており、前記第3の磁気抵抗効果素子及び前記第4の磁気抵抗効果素子は、前記電流路の第2の部分を通流する被測定電流からの誘導磁界を検出するように、前記電流路の同一面に配置されていることが好ましい。この構成によれば、電流路の同一面に磁気抵抗効果素子を設けることができるので、製造が容易になる。
本発明の電流センサにおいて、前記電流路は、直線状に構成されており、前記第1の磁気抵抗効果素子と前記第2の磁気抵抗効果素子とが、前記電流路の一方の面に設けられ、前記第3の磁気抵抗効果素子と前記第4の磁気抵抗効果素子とが、前記電流路の前記一方の面と対向する面に設けられていることが好ましい。この構成によれば、直線状の電流路を用いるため、電流測定精度の低下を抑制できる。
本発明により、バイアス磁界に平行な方向に外部磁界が加わる場合であっても電流測定精度の低下を抑制可能な電流センサを提供することができる。
実施の形態1に係る電流センサ及びその周辺構成の配置例を示す平面模式図である。 実施の形態1に係る電流センサの回路構成を示すブロック図である。 磁気抵抗効果素子の構成例を示す平面模式図である。 磁気抵抗効果素子の構成例を示す断面模式図である。 実施の形態1に係る電流センサにおける各磁気センサの特性図である。 電流線の形状が異なる場合の電流センサの配置例を示す模式図である。 実施の形態2に係る電流センサ及びその周辺構成の配置例を示す平面模式図である。 実施の形態2に係る電流センサの回路構成を示すブロック図である。 実施の形態2に係る電流センサに用いられる各磁気センサの特性図である。 電流線の形状が異なる場合の電流センサの配置例を示す模式図である。 実施の形態3に係る電流センサ及びその周辺構成の配置例を示す平面模式図である。 実施の形態3に係る電流センサに用いられる各磁気センサの特性図である。 従来例に係る電流センサを示す平面模式図である。 従来例に係る電流センサにおける各磁気センサの特性図である。
本発明者は、ハードバイアス層によってバイアス磁界を印加するタイプの磁気抵抗効果素子において、バイアス磁界に平行な方向に外部磁界が加わると検出感度が変化することを見出した。これは、このタイプの磁気抵抗効果素子が、バイアス磁界によってフリー磁性層の磁化方向を揃えていることに起因する。バイアス磁界に平行な方向に外部磁界が加わると、フリー磁性層の磁化が変化する。その結果、磁気抵抗効果素子の検出感度が変化してしまう。
本発明者は当該知見に基づき、磁気抵抗効果素子の配置を、ハードバイアス層によるバイアス磁界との関係において制御することで、電流センサにおける感度変化の影響を低減できることを見出した。すなわち、本発明は、複数の磁気抵抗効果素子を用いる電流センサにおいて、対応する2個の磁気抵抗効果素子のバイアス磁界が、逆向きになるように構成されていることを骨子とするものである。以下、本発明の電流センサについて添付図面を参照して説明する。
(実施の形態1)
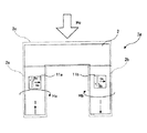
図1は、本実施の形態に係る電流センサ及びその周辺構成の配置例を示す平面模式図である。図2は、本実施の形態に係る電流センサの回路構成を示すブロック図である。図1及び図2に示すように、電流センサ1aは、被測定電流Iが通流する電流線2に近接して配置された略直方体状の磁気センサ11a、11bと、磁気センサ11a、11bの出力を演算処理する演算部13aとを含んで構成されている。
図1に示すように、電流センサ1aの磁気センサ11a、11bは、電流線2に通流する被測定電流Iを測定できるように電流線2に近接して配置されている。電流線2は、略平行に延びる腕部2a、2bと、これらに対して略垂直に延び、腕部2aの一端部と腕部2bの一端部とを接続する接続部2cとを含む。すなわち、電流線2は、平面形状が略U字状に構成されている。なお、電流線2の腕部2a、2b及び接続部2cは、それぞれ別体で構成されていても良い。
磁気センサ11aは、電流線2の腕部2aに近接して配置されており、腕部2aを通流する被測定電流Iからの誘導磁界Haを検出可能になっている。磁気センサ11bは、電流線2の腕部2bに近接して配置されており、腕部2bを通流する被測定電流Iからの誘導磁界Hbを検出可能になっている。なお、磁気センサ11a、11bは、不図示の基板に配置されている。
磁気センサ11aは、その感度方向(感度軸の方向)Saが図面右方向になるように配置されている。また、図1において被測定電流Iは、磁気センサ11aの近傍において図面右向きの誘導磁界Haを生じるように電流線2の腕部2aを通流している。つまり、図1の電流センサ1aにおいて、磁気センサ11aの感度方向Saと誘導磁界Haの向きとが同じ(順方向)になっている。
一方、磁気センサ11bは、その感度方向(感度軸の方向)Sbが図面右方向になるように配置されている。また、図1において被測定電流Iは、磁気センサ11bの近傍において図面左向きの誘導磁界Hbを生じるように電流線2の腕部2bを通流している。つまり、図1の電流センサ1aにおいて、磁気センサ11の感度方向Sbと誘導磁界Hbの向きとが逆(逆方向)になるように構成されている。
上述のように、磁気センサ11a、11bは、それぞれの感度方向Sa、Sbを基準にしてそれぞれが受ける誘導磁界Ha、Hbの方向が逆になるよう配置されている。つまり、一方の磁気センサは順方向の誘導磁界を受け、他方の磁気センサは逆方向の誘導磁界を受けるようになっている。これにより、2個の磁気センサは、被測定電流Iの影響を逆に受けて略逆極性の信号を出力する。なお、一方の磁気センサが順方向の誘導磁界を受け、他方の磁気センサが逆方向の誘導磁界を受けるように構成されていれば、各構成の配置は図1に示すものに限られない。例えば、電流線2を通流する被測定電流Iの向きは、図1と逆でも良い。
磁気センサ11a、11bは、後述するハードバイアス層を備えた磁気抵抗効果素子をそれぞれ含んで構成されている。磁気センサ11aは、磁気抵抗効果素子のハードバイアス層によるバイアス磁界Baが図面上向きになるように配置されている。また、磁気センサ11bは、磁気抵抗効果素子のハードバイアス層によるバイアス磁界Bbが図面下向きになるように配置されている。つまり、電流センサ1aにおいて、磁気センサ11aの備える磁気抵抗効果素子のバイアス磁界Baの方向と磁気センサ11bの備える磁気抵抗効果素子のバイアス磁界Bbの方向とは、逆(逆方向)になるように構成されている。
これにより、バイアス磁界に平行な成分を有する外部磁界が印加された場合、その影響は、一方の磁気センサにおいて感度が増加する方向に現れ、他方の磁気センサにおいて感度が減少する方向に現れる。例えば、磁気センサ11a、11bに対して図1に示すような外部磁場Hcが印加された場合、その影響は、磁気センサ11aにおいて感度が増加する方向に現れ、磁気センサ11bにおいて感度が減少する方向に現れる。なお、磁気センサ11a、11bにおけるバイアス磁界の向きは、逆(逆方向)になっていれば図1に示す向きに限られない。
図3は、磁気センサ11a、11bに用いられる磁気抵抗効果素子(GMR素子)の構成例を示す平面模式図である。図3に示す磁気抵抗効果素子は、複数の長尺パターン31A〜31Gを、その長手方向(X方向)に直交する方向(Y方向)に配列した磁気検出パターン31を含んで構成されている。各長尺パターンは略平行に配置されており、各長尺パターンの端部は隣接する長尺パターンの端部と接続されている。これにより、磁気検出パターン31はミアンダ形状を有している。図3において、素子の感度方向(感度軸の方向)Sは、長尺パターン31A〜31Gの長手方向に直交する方向(Y方向)である。図3では、7個の長尺パターン31A〜31Gを含む磁気検出パターン31を示しているが、磁気検出パターン31を構成する長尺パターンの数はこれに限定されない。
磁気検出パターン31の両端外側の位置には、各長尺パターンの長手方向に直交する方向(Y方向)に延びるハードバイアス層32a、32bが設けられている。ハードバイアス層32a、32bは、磁気検出パターン31を構成するフリー磁性層に対し、長尺パターン31a〜31gの長手方向に平行なバイアス磁界Bを印加できるように構成されている。
図4は、磁気抵抗効果素子(GMR素子)の構成例を示す断面模式図である。本実施の形態の電流センサに用いられる磁気抵抗効果素子は、図4に示されるように、基板101に設けられた積層構造でなる。具体的には、磁気抵抗効果素子は、磁気検出パターン31を構成する積層構造と、ハードバイアス層32a、32bとを含んで構成されている。磁気検出パターン31は、シード層102、第1の強磁性層103、反平行結合層104、第2の強磁性層105、非磁性中間層106、フリー磁性層(軟磁性自由層)107、及び保護層108を含む。第1の強磁性層103と第2の強磁性層105とは反平行結合層104を介して反強磁性的に結合されており、いわゆるセルフピン止め型の強磁性固定層(SFP層:Synthetic Ferri Pinned層)を構成している。
図2に示すように、磁気センサ11a、11bには、演算部13aが接続されている。演算部13aは、磁気センサ11aの出力と磁気センサ11bの出力との差(出力差)を算出する。なお、演算部13aが算出する出力差は、磁気センサ11aの出力と磁気センサ11bの出力との差に対応するものであれば、増幅されたものでも良い。この演算処理によって、磁気センサ11aの出力及び磁気センサ11bの出力において現れる感度変化を相殺して、バイアス磁界に対して平行な方向の外部磁界(感度方向に垂直な方向の磁界)Hcの影響を低減できる。
図5は、外部磁界Hcの影響を受けない状態における磁気センサ11aの出力及び磁気センサ11bの出力と、外部磁界Hcの影響を受けた状態における磁気センサ11aの出力及び磁気センサ11bの出力とを示す特性図である。図5において、横軸は被測定電流Iを示し、縦軸は各磁気センサの出力を示している。
上述したように、電流センサ1aにおいて、磁気センサ11aの感度方向Saと誘導磁界Haの向きとは同じ(順方向)である。このため、図5において特性A1で示すように、外部磁界Hcの影響を受けない状態の磁気センサ11aの出力は、被測定電流Iが増加すると増加する。また、磁気センサ11bの感度方向Sbと誘導磁界Hbの向きとは逆(逆方向)である。このため、図5において特性B1で示されるように、外部磁界Hcの影響を受けない状態の磁気センサ11bの出力は、被測定電流Iが増加すると減少する。なお、ここでは、磁気センサ11a、11bの感度は略等しく、磁界強度と磁気センサ11a、11bの出力との関係は略線形であり、特性A1と特性B1の傾きの絶対値は略等しいとする。また、磁気センサ11aの出力と磁気センサ11bの出力とは所定のオフセットを有している。
外部磁界Hcの影響を受けた状態において、特性A2で示すように磁気センサ11aの感度が増加する場合、磁気センサ11bの感度は減少して特性B2のようになる。これは、2個の磁気センサにおいてバイアス磁界の方向が逆(逆方向)のためである。ここで、磁気センサ11aの出力O11aと磁気センサ11bの出力O11bとは、下記の式(1)及び(2)で表される。式(1)及び(2)において、αは、外部磁界の影響を受けた場合における感度変化の割合であり、βはオフセットであり、Oiは、外部磁界の影響を受けない場合の被測定電流に対応した出力である。
(1)
11a=(1+α)Oi+β
(2)
11b=−(1−α)Oi+β
式(1)及び(2)において示すように、外部磁界の影響を受けた状態において感度変化の割合(α)を一定とすれば、下記式(3)で表されるように、演算部13aにおいて磁気センサ11aの出力O11aと磁気センサ11bの出力O11bとの差をとることで、外部磁界の影響を相殺して電流測定精度を高めることができる。
(3)
11a−O11b=2Oi
従来例として、本発明に係る電流センサ1aとは異なる構成の電流センサの出力特性について説明する。図13は、従来例に係る電流センサの構成を示す平面模式図である。図14は、従来例に係る電流センサにおける磁気センサの出力特性を示す特性図である。
図13に示すように、従来例に係る電流センサ3は、被測定電流Iが通流する電流線2に近接して配置された磁気センサ31a、31bと、不図示の演算装置とを含んで構成されている。電流センサ3において、磁気センサ31aの備える磁気抵抗効果素子のバイアス磁界の方向と磁気センサ31bの備える磁気抵抗効果素子のバイアス磁界の方向とは、同じになるように構成されている。すなわち、本実施の形態に係る電流センサ1aと従来例に係る電流センサ3との相違点は、磁気センサにおけるバイアス磁界の方向である。他の構成は同様とする。
この電流センサ3において、磁気センサ31aの備える磁気抵抗効果素子のバイアス磁界の方向と磁気センサ31bの備える磁気抵抗効果素子のバイアス磁界の方向とは同じである。このため、磁気センサ31a、31bが外部磁界Hcの影響を受けると、これらの感度は共に増加する。その結果、図14に示すように、磁気センサ31aの出力特性は特性a1から特性a2に変化し、磁気センサ31bの出力特性は特性b1から特性b2に変化する。ここで、磁気センサ31aの出力O31aと磁気センサ31bの出力O31bとは、下記の式(4)及び(5)で表される。
(4)
31a=(1+α)Oi+β
(5)
31b=−(1+α)Oi+β
この場合、磁気センサ31aの出力O31aと磁気センサ31bの出力O31bとの差をとっても、式(6)に示すように外部磁界の影響(α)は残ってしまう。
(6)
31a−O31b=2(1+α)Oi
このように、従来例に係る電流センサ3では電流センサ出力から外部磁界の影響を除去できない。これに対し、本実施の形態に係る電流センサ1aは、バイアス磁界の向きを適切に制御しているため、2個の磁気センサの出力の差により感度変化の影響を相殺して電流測定精度の低下を抑制することが可能である。
なお、本実施の形態に係る電流センサ1aは上述した構成に限定されない。例えば、電流センサ1aの磁気センサ11a、11bとしてフィードバックコイル等を用いた磁気平衡式の磁気センサを適用しても良い。また、電流センサ1aは、その構成として制御部及び演算部を備えていなくとも良い。例えば、電流センサ1a外に制御装置や演算装置を設け、これによって電流センサ1aの制御及びセンサ出力の演算処理を行う構成としても良い。
また、電流線2の形状はU字状でなくても良い。図6は、電流線2の形状が異なる場合の電流センサ1aの配置例を示す模式図である。例えば、図6Aに示すように、電流線2を略直線状(I字状)としても良い。この場合、磁気センサ11a、11bは、図6B(図6AのAA矢視断面に相当)に示すように、電流線2の一方側(表面側)と他方側(裏面側)にそれぞれ配置すればよい。なお、電流線2の形状をU字状とする場合、磁気センサ11a、11bには、接続部2cを通流する被測定電流Iによって生じるバイアス磁界に平行な向きの誘導磁界が印加される。このため、この誘導磁界の影響を抑制できるという点において、U字状の電流線2を用いる場合には本実施の形態の構成は特に有効である。
その他、本実施の形態に係る構成は、他の実施の形態に係る構成と適宜組み合わせて実施することができる。
(実施の形態2)
本実施の形態では、上述した実施の形態に係る電流センサとは異なる態様の電流センサについて説明する。図7は、本実施の形態に係る電流センサ及びその周辺構成の配置を示す平面模式図である。図8は、本実施の形態に係る電流センサの回路構成を示すブロック図である。図7及び図8に示すように、本実施の形態に係る電流センサ1bは、電流線2に近接して配置されたユニット10a、10bと、各ユニットの出力を演算処理する演算部13bとを含んで構成されている。ユニット10aは磁気センサ11c、11dを含み、ユニット10bは磁気センサ11e、11fを含む。
磁気センサ11c、11dは、電流線2の腕部2aに近接して配置されており、腕部2aを通流する被測定電流Iからの誘導磁界Haを検出可能に構成されている。磁気センサ11e、11fは、電流線2の腕部2bに近接して配置されており、腕部2bを通流する被測定電流Iからの誘導磁界Hbを検出可能に構成されている。なお、磁気センサ11c〜11fは、不図示の基板に配置されている。
ユニット10aを構成する磁気センサ11c、11dは、その感度方向(感度軸の方向)Sc、Sdが図面右方向になるように配置されている。また、図7において被測定電流Iは、磁気センサ11c、11dの近傍において図面右向きの誘導磁界Haを生じるように電流線2の腕部2aを通流している。つまり、図7の電流センサ1bにおいて、磁気センサ11c、11dの感度方向Sc、Sdと誘導磁界Haの向きとが同じ(順方向)になっている。磁気センサ11c、11dは、それぞれの感度方向Sc、Sdを基準にしてそれぞれが受ける誘導磁界Haの方向が同じになっている。
一方、ユニット10bを構成する磁気センサ11e、11fは、その感度方向(感度軸の方向)Se、Sfが図面右方向になるように配置されている。また、図7において被測定電流Iは、磁気センサ11e、11fの近傍において図面左向きの誘導磁界Hbを生じるように電流線2の腕部2bを通流している。つまり、図7の電流センサ1bにおいて、磁気センサ11e、11fの感度方向Se、Sfと誘導磁界Hbの向きとが逆(逆方向)になっている。磁気センサ11e、11fは、それぞれの感度方向Se、Sfを基準にしてそれぞれが受ける誘導磁界Hbの方向が逆になっている。
また、磁気センサ11cは、バイアス磁界Bcが図面上向きになるように配置されている。磁気センサ11dは、バイアス磁界Bdが図面下向きになるように配置されている。つまり、電流センサ1bのユニット10aにおいて、磁気センサ11cの備える磁気抵抗効果素子のバイアス磁界Bcの方向と磁気センサ11dの備える磁気抵抗効果素子のバイアス磁界Bdの方向とは、逆(逆方向)になるように構成されている。
同様に、磁気センサ11eは、バイアス磁界Beが図面上向きになるように配置されている。磁気センサ11fは、バイアス磁界Bfが図面下向きになるように配置されている。つまり、電流センサ1bのユニット10bにおいて、磁気センサ11eの備える磁気抵抗効果素子のバイアス磁界Beの方向と磁気センサ11fの備える磁気抵抗効果素子のバイアス磁界Bfの方向とは、逆(逆方向)になるように構成されている。
各ユニットの回路構成は、上述した実施の形態における電流センサ1aと同様である(図2参照)。すなわち、本実施の形態に係る電流センサ1bは、それぞれが電流センサ1aの磁気センサ11a、11b及び演算部13aに相当する2組のユニット10a、10bにより構成されている。ただし、各ユニットの演算部(演算部13aに相当)は、各ユニットの磁気センサ出力の和(出力和)を算出できるように構成されている。つまり、ユニット10aの演算部は磁気センサ11c、11dの出力の和を算出できるようになっており、ユニット10bの演算部は磁気センサ11e、11fの出力の和を算出できるようになっている。なお、これらの演算部が算出する出力和は、磁気センサ出力の和に対応するものであれば、増幅されたものでも良い。
図8に示すように、電流センサ1bの各ユニットには、さらに演算部13bが接続されている。演算部13bは、各ユニットの出力の差を算出できるように構成されている。つまり、演算部13bは、ユニット10aの演算部からの出力と、ユニット10bの演算部からの出力との差を算出する。
図9は、本実施の形態に係る電流センサにおける磁気センサの出力特性を示す特性図である。上述したように、ユニット10aにおいて、磁気センサ11cの備える磁気抵抗効果素子のバイアス磁界Bcの方向と磁気センサ11dの備える磁気抵抗効果素子のバイアス磁界Bdの方向とは逆(逆方向)である。このため、磁気センサ11c、11dが外部磁界Hcの影響を受けると、磁気センサ11cの感度は増加して特性C1から特性C2に変化し、磁気センサ11dの感度は減少して特性D1(=特性C1)から特性D2に変化する。同様に、磁気センサ11e、11fが外部磁界Hcの影響を受けると、磁気センサ11eの感度は増加して特性E1から特性E2に変化し、磁気センサ11fの感度は減少して特性F1(=特性E1)から特性F2に変化する。
ここで、磁気センサ11cの出力O11c、磁気センサ11dの出力O11d、磁気センサ11eの出力O11e、磁気センサ11fの出力O11fは、下記の式(7)〜(10)で表される。式(7)〜(10)において、αは、外部磁界の影響を受けた場合における感度変化の割合であり、βはオフセットであり、Oiは、外部磁界の影響を受けない場合の被測定電流に対応した出力である。また、図7に示すように、ここでは、感度方向の外部磁界Hdが存在し、外部磁界Hdに起因する磁気センサの出力変化Onが存在するものとする。
(7)
11c=(1+α)(Oi+On)+β
(8)
11d=(1−α)(Oi+On)+β
(9)
11e=(1+α)(−Oi+On)+β
(10)
11f=(1−α)(−Oi+On)+β
外部磁界Hcの影響を受けた状態において感度変化の割合(α)を一定とすれば、下記式(11)で表されるように、ユニット10aの演算部において磁気センサ11cの出力O11cと磁気センサ11dの出力O11dとの和をとることで、外部磁界Hcの影響を相殺することができる。
(11)
11c+O11d=2(Oi+On)+2β
また、下記式(12)で表されるように、ユニット10bの演算部において磁気センサ11eの出力O11eと磁気センサ11fの出力O11fとの和をとることで、外部磁界Hcの影響を相殺することができる。
(12)
11e+O11f=2(−Oi+On)+2β
そして、演算部13bにおいて、さらにユニット10aの出力とユニット10bの出力との差をとることで、下記式(13)で表されるように、外部磁界Hd及びオフセットβの影響を相殺できる。
(13)
(O11c+O11d)−(O11e+O11f)=4Oi
このように、本実施の形態に係る電流センサ1bは、バイアス磁界の向きを適切に制御しているため、磁気センサの感度変化の影響を相殺することができる。また、2組のユニットを用いているため、感度方向に印加される外部磁界Hdの影響も十分に低減することができる。これにより、電流測定精度の低下をさらに抑制することが可能である。
なお、本実施の形態に係る電流センサ1bは上述した構成に限定されない。例えば、電流センサ1bにおいて、各ユニットの演算部の機能(磁気センサ素子の和を算出する機能)と、演算部13bの機能(各ユニットの出力差を算出する機能)とを一つの演算部で実現しても良い。また、演算部は、電流センサ1b外の構成であっても良い。また、電流線2の形状はU字状でなくても良い。例えば、図10Aに示すように、電流線2を略直線状(I字状)としても良い。この場合、図10B(図10AのBB矢視断面に相当)に示すように、磁気センサ11c、11d(図10Bにおいて磁気センサ11cは不図示)は電流線2の一方側(表面側)に配置し、磁気センサ11e、11f(磁気センサ11eは不図示)は電流線2の他方側(裏面側)に配置すればよい。
また、本実施の形態に係る電流センサ1bにおいて、ユニットセル10aを構成する磁気センサ11c、11dを一つのパッケージに収め、ユニットセル10bを構成する磁気センサ11e、11fを一つのパッケージに収めることが好ましい。このように、各ユニットセルを一つのパッケージで実現することにより、測定位置の相違による測定誤差を抑制できるため、電流測定精度をさらに高めることができる。また、省スペース化、取り扱いの容易化等の観点においても、各ユニットセルを一つのパッケージで実現することは好ましい。
その他、本実施の形態に係る構成は、他の実施の形態に係る構成と適宜組み合わせて実施することができる。
(実施の形態3)
本実施の形態では、上述した実施の形態に係る電流センサとは異なる態様の電流センサについて説明する。図11は、本実施の形態に係る電流センサ及びその周辺構成の配置を示す平面模式図である。図11に示すように、本実施の形態に係る電流センサ1cは、電流線2に近接して配置されたユニット10c、10dを含んで構成されている。ユニット10cは磁気センサ11g、11hを含み、ユニット10dは磁気センサ11i、11jを含む。また、各ユニットの出力は、不図示の演算部によって演算処理されるように構成されている。
磁気センサ11g、11hは、電流線2の腕部2aに近接して配置されており、腕部2aを通流する被測定電流Iからの誘導磁界Haを検出可能に構成されている。磁気センサ11i、11jは、電流線2の腕部2bに近接して配置されており、腕部2bを通流する被測定電流Iからの誘導磁界Hbを検出可能に構成されている。なお、磁気センサ11g〜11jは、不図示の基板に配置されている。
ユニット10cを構成する磁気センサ11gは、その感度方向(感度軸の方向)Sgが図面右方向になるように配置されている。一方、磁気センサ11hは、その感度方向(感度軸の方向)Shが図面左方向になるように配置されている。また、図11において被測定電流Iは、磁気センサ11g、11hの近傍において図面右向きの誘導磁界Haを生じるように電流線2の腕部2aを通流している。つまり、図11の電流センサ1cにおいて、磁気センサ11gの感度方向Sgと誘導磁界Haの向きとが同じ(順方向)になっている。また、磁気センサ11hの感度方向Shと誘導磁界Haの向きとが逆(逆方向)になっている。磁気センサ11g、11hは、それぞれの感度方向Sg、Shを基準にしてそれぞれが受ける誘導磁界Haの方向が逆になっている。
ユニット10dを構成する磁気センサ11iは、その感度方向(感度軸の方向)Siが図面右方向になるように配置されている。一方、磁気センサ11jは、その感度方向(感度軸の方向)Sjが図面左方向になるように配置されている。また、図11において被測定電流Iは、磁気センサ11i、11jの近傍において図面左向きの誘導磁界Hbを生じるように電流線2の腕部2bを通流している。つまり、図11の電流センサ1cにおいて、磁気センサ11iの感度方向Siと誘導磁界Hbの向きとが逆(逆方向)になっている。また、磁気センサ11jの感度方向Sjと誘導磁界Hbの向きとが同じ(順方向)になっている。磁気センサ11i、11jは、それぞれの感度方向Si、Sjを基準にしてそれぞれが受ける誘導磁界Hbの方向が逆になっている。
また、磁気センサ11gは、バイアス磁界Bgが図面上向きになるように配置されている。磁気センサ11hは、バイアス磁界Bhが図面下向きになるように配置されている。つまり、電流センサ1cのユニット10cにおいて、磁気センサ11gの備える磁気抵抗効果素子のバイアス磁界Bgの方向と磁気センサ11hの備える磁気抵抗効果素子のバイアス磁界Bhの方向とは、逆(逆方向)になるように構成されている。
同様に、磁気センサ11iは、バイアス磁界Biが図面上向きになるように配置されている。磁気センサ11jは、バイアス磁界Bjが図面下向きになるように配置されている。つまり、電流センサ1cのユニット10dにおいて、磁気センサ11iの備える磁気抵抗効果素子のバイアス磁界Biの方向と磁気センサ11jの備える磁気抵抗効果素子のバイアス磁界Bjの方向とは、逆(逆方向)になるように構成されている。
各ユニットの回路構成は、上述した実施の形態における電流センサ1aと同様である(図2参照)。すなわち、本実施の形態に係る電流センサは、それぞれが電流センサ1aの磁気センサ11a、11b及び演算部13に相当する2組のユニット10c、10dにより構成されている。本実施の形態では、各ユニットの演算部(演算部13aに相当)は、各ユニットの磁気センサ出力の差(出力差)を算出できるように構成されている。
各ユニットと、各ユニットの演算部との接続関係は、上述した実施の形態における電流センサ1bと同様である(図8参照)。すなわち、ユニット10c、10dには、各ユニットの出力の差を算出できるように構成された演算部が接続されている。
図12は、本実施の形態に係る電流センサにおける磁気センサの出力特性を示す特性図である。上述したように、ユニット10cにおいて、磁気センサ11gの備える磁気抵抗効果素子のバイアス磁界Bgの方向と磁気センサ11hの備える磁気抵抗効果素子のバイアス磁界Bhの方向とは逆(逆方向)である。このため、磁気センサ11g、11hが外部磁界Hcの影響を受けると、磁気センサ11gの感度は増加して特性G1から特性G2に変化し、磁気センサ11hの感度は減少して特性H1から特性H2に変化する。同様に、磁気センサ11i、11jが外部磁界Hcの影響を受けると、磁気センサ11iの感度は増加して特性I1から特性I2に変化し、磁気センサ11jの感度は減少して特性J1から特性J2に変化する。
ここで、磁気センサ11gの出力O11g、磁気センサ11hの出力O11h、磁気センサ11iの出力O11i、磁気センサ11jの出力O11jは、下記の式(14)〜(17)で表される。式(14)〜(17)において、αは、外部磁界の影響を受けた場合における感度変化の割合であり、βはオフセットであり、Oiは、外部磁界の影響を受けない場合の被測定電流に対応した出力である。また、図11に示すように、ここでは、感度方向の外部磁界Hdが存在し、外部磁界Hdに起因する磁気センサの出力変化Onが存在するものとする。
(14)
11g=(1+α)(Oi+On)+β
(15)
11h=(1−α)(−Oi−On)+β
(16)
11i=(1+α)(−Oi+On)+β
(17)
11j=(1−α)(+Oi−On)+β
外部磁界Hcの影響を受けた状態において感度変化の割合(α)を一定とすれば、下記式(18)で表されるように、ユニット10cの演算部において磁気センサ11gの出力O11gと磁気センサ11hの出力O11hとの差をとることで、外部磁界Hc及びオフセットβの影響を相殺することができる。
(18)
11g−O11h=2(Oi+On)
また、下記式(19)で表されるように、ユニット10dの演算部において磁気センサ11iの出力O11iと磁気センサ11jの出力O11jとの差をとることで、外部磁界Hc及びオフセットβの影響を相殺することができる。
(19)
11i−O11j=2(−Oi+On)
そして、ユニット10c、10dの後段の演算部において、さらにユニット10cの出力とユニット10dの出力との差をとることで、下記式(20)で表されるように、外部磁界Hdの影響を相殺できる。
(20)
(O11g−O11h)−(O11i−O11j)=4Oi
このように、本実施の形態に係る電流センサ1cは、バイアス磁界の向きを適切に制御しているため、磁気センサの感度変化の影響を相殺することができる。また、2組のユニットを用いているため、感度方向に印加される外部磁界Hdの影響も十分に低減することができる。これにより、電流測定精度の低下をさらに抑制することが可能である。
なお、本実施の形態に係る電流センサ1cは上述した構成に限定されない。例えば、電流センサ1cにおいて、各ユニットの演算部の機能(磁気センサ素子の差を算出する機能)と、ユニット10c、10dの後段の演算部の機能(各ユニットの出力差を算出する機能)とを一つの演算部で実現しても良い。また、演算部は、電流センサ1c外の構成であっても良い。また、電流線2の形状はU字状でなくても良い。例えば、電流線2を略直線状(I字状)としても良い(図10参照)。
また、本実施の形態に係る電流センサ1cにおいて、ユニットセル10cを構成する磁気センサ11g、11hを一つのパッケージに収め、ユニットセル10dを構成する磁気センサ11i、11jを一つのパッケージに収めることが好ましい。このように、各ユニットセルを一つのパッケージで実現することにより、測定位置の相違による測定誤差を抑制できるため、電流測定精度をさらに高めることができる。また、省スペース化、取り扱いの容易化等の観点においても、各ユニットセルを一つのパッケージで実現することは好ましい。
その他、本実施の形態に係る構成は、他の実施の形態に係る構成と適宜組み合わせて実施することができる。
以上のように、本発明の電流センサは、対応する2個の磁気抵抗効果素子のバイアス磁界が逆向きになるように構成されているため、バイアス磁界に平行な方向に外部磁界が加わる場合であっても電流測定精度の低下を抑制することができる。
なお、上記実施の形態における各素子の接続関係、大きさなどは、発明の趣旨を変更しない限りにおいて変更可能である。また、上記実施の形態に示す構成、方法などは、適宜組み合わせて実施可能である。その他、本発明は、本発明の範囲を逸脱しないで適宜変更して実施できる。
本発明の電流センサは、例えば、電気自動車やハイブリッドカーなどのモータ駆動用電流の大きさを検知するために用いることが可能である。
本出願は、2011年12月28日出願の特願2011−287536に基づく。この内容は、全てここに含めておく。

Claims (4)

  1. 電流路を通流する被測定電流からの誘導磁界を検出する第1乃至第4の磁気抵抗効果素子を具備し、
    前記第1乃至第4の磁気抵抗効果素子は、それぞれ、フリー磁性層に対してバイアス磁界を印加するハードバイアス層を有し、
    前記第1の磁気抵抗効果素子のバイアス磁界と、前記第2の磁気抵抗効果素子のバイアス磁界とが逆向きになるように、かつ、前記第3の磁気抵抗効果素子のバイアス磁界と、前記第4の磁気抵抗効果素子のバイアス磁界とが逆向きになるように、かつ、前記第1の磁気抵抗効果素子のバイアス磁界と、前記第3の磁気抵抗効果素子のバイアス磁界とが同じ向きになるように、かつ、前記第2の磁気抵抗効果素子のバイアス磁界と、前記第4の磁気抵抗効果素子のバイアス磁界とが同じ向きになるように配置され、
    前記第1の磁気抵抗効果素子と前記第2の磁気抵抗効果素子とは、前記被測定電流からの誘導磁界が同じ向きに印加され、かつ、前記第3の磁気抵抗効果素子と前記第4の磁気抵抗効果素子とは、前記被測定電流からの誘導磁界が同じ向きに印加され、かつ、前記第1の磁気抵抗効果素子と前記第2の磁気抵抗効果素子とに印加される前記被測定電流からの誘導磁界の向きと前記第3の磁気抵抗効果素子と前記第4の磁気抵抗効果素子とに印加される前記被測定電流からの誘導磁界の向きとが逆の向きになるように配置され、
    前記第1の磁気抵抗効果素子の感度軸の方向と前記第3の磁気抵抗効果素子の感度軸の方向とが同一方向、かつ、前記第2の磁気抵抗効果素子の感度軸の方向と前記第4の磁気抵抗効果素子の感度軸の方向とが同一方向、かつ、前記第1乃至第4の磁気抵抗効果素子の感度軸が平行になるよう配置されている電流センサであって、
    前記第1乃至第4の磁気抵抗効果素子は、前記第1の磁気抵抗効果素子の感度軸乃至前記第4の磁気抵抗効果素子の感度軸の方向が同一方向になるよう配置され、
    前記第1乃至第4の磁気抵抗効果素子の出力を演算処理する演算部を有し、
    前記演算部は、前記第1の磁気抵抗効果素子の出力及び前記第2の磁気抵抗効果素子の出力の和である第1の出力和から、前記第3の磁気抵抗効果素子の出力及び前記第4の磁気抵抗効果素子の出力の和である第2の出力和を減算することを特徴とする電流センサ。
  2. 電流路を通流する被測定電流からの誘導磁界を検出する第1乃至第4の磁気抵抗効果素子を具備し、
    前記第1乃至第4の磁気抵抗効果素子は、それぞれ、フリー磁性層に対してバイアス磁界を印加するハードバイアス層を有し、
    前記第1の磁気抵抗効果素子のバイアス磁界と、前記第2の磁気抵抗効果素子のバイアス磁界とが逆向きになるように、かつ、前記第3の磁気抵抗効果素子のバイアス磁界と、前記第4の磁気抵抗効果素子のバイアス磁界とが逆向きになるように、かつ、前記第1の磁気抵抗効果素子のバイアス磁界と、前記第3の磁気抵抗効果素子のバイアス磁界とが同じ向きになるように、かつ、前記第2の磁気抵抗効果素子のバイアス磁界と、前記第4の磁気抵抗効果素子のバイアス磁界とが同じ向きになるように配置され、
    前記第1の磁気抵抗効果素子と前記第2の磁気抵抗効果素子とは、前記被測定電流からの誘導磁界が同じ向きに印加され、かつ、前記第3の磁気抵抗効果素子と前記第4の磁気抵抗効果素子とは、前記被測定電流からの誘導磁界が同じ向きに印加され、かつ、前記第1の磁気抵抗効果素子と前記第2の磁気抵抗効果素子とに印加される前記被測定電流からの誘導磁界の向きと前記第3の磁気抵抗効果素子と前記第4の磁気抵抗効果素子とに印加される前記被測定電流からの誘導磁界の向きとが逆の向きになるように配置され、
    前記第1の磁気抵抗効果素子の感度軸の方向と前記第3の磁気抵抗効果素子の感度軸の方向とが同一方向、かつ、前記第2の磁気抵抗効果素子の感度軸の方向と前記第4の磁気抵抗効果素子の感度軸の方向とが同一方向、かつ、前記第1乃至第4の磁気抵抗効果素子の感度軸が平行になるよう配置されている電流センサであって、
    前記第1乃至第4の磁気抵抗効果素子は、前記第1の磁気抵抗効果素子の感度軸の方向及び前記第3の磁気抵抗効果素子の感度軸の方向と、前記第2の磁気抵抗効果素子の感度軸の方向及び前記第4の磁気抵抗効果素子の感度軸の方向とが逆の方向になるよう配置され、
    前記第1乃至第4の磁気抵抗効果素子の出力を演算処理する演算部を有し、
    前記演算部は、前記第1の磁気抵抗効果素子の出力と前記第2の磁気抵抗効果素子の出力の差である第1の出力差から、前記第3の磁気抵抗効果素子の出力及び前記第4の磁気抵抗効果素子の出力の差である第2の出力差を減算することを特徴とする電流センサ。
  3. 前記電流路は、平行な第1の部分及び第2の部分と、前記第1の部分及び前記第2の部分に垂直な前記第1の部分と前記第2の部分とを接続する第3の部分と、を含んで構成されており、
    前記第1の磁気抵抗効果素子及び前記第2の磁気抵抗効果素子は、前記第1の部分を通流する被測定電流からの誘導磁界を検出するように配置されており、前記第3の磁気抵抗効果素子及び前記第4の磁気抵抗効果素子は、前記電流路の第2の部分を通流する被測定電流からの誘導磁界を検出するように、前記電流路の同一面に配置されていることを特徴とする請求項7に記載の電流センサ。
  4. 前記電流路は、直線状に構成されており、
    前記第1の磁気抵抗効果素子と前記第2の磁気抵抗効果素子とが、前記電流路の一方の面に設けられ、
    前記第3の磁気抵抗効果素子と前記第4の磁気抵抗効果素子とが、前記電流路の前記一方の面と対向する面に設けられていることを特徴とする請求項6に記載の電流センサ。
JP2013551545A 2011-12-28 2012-11-28 電流センサ Active JP5728719B2 (ja)

Priority Applications (1)

Application Number Priority Date Filing Date Title
JP2013551545A JP5728719B2 (ja) 2011-12-28 2012-11-28 電流センサ

Applications Claiming Priority (4)

Application Number Priority Date Filing Date Title
JP2011287536 2011-12-28
JP2011287536 2011-12-28
PCT/JP2012/080758 WO2013099504A1 (ja) 2011-12-28 2012-11-28 電流センサ
JP2013551545A JP5728719B2 (ja) 2011-12-28 2012-11-28 電流センサ

Publications (2)

Publication Number Publication Date
JPWO2013099504A1 JPWO2013099504A1 (ja) 2015-04-30
JP5728719B2 true JP5728719B2 (ja) 2015-06-03

Family

ID=48697002

Family Applications (1)

Application Number Title Priority Date Filing Date
JP2013551545A Active JP5728719B2 (ja) 2011-12-28 2012-11-28 電流センサ

Country Status (4)

Country Link
US (1) US9201126B2 (ja)
JP (1) JP5728719B2 (ja)
CN (1) CN104011550B (ja)
WO (1) WO2013099504A1 (ja)

Families Citing this family (14)

* Cited by examiner, † Cited by third party
Publication number Priority date Publication date Assignee Title
US9689903B2 (en) 2014-08-12 2017-06-27 Analog Devices, Inc. Apparatus and methods for measuring current
JP6409970B2 (ja) * 2015-07-01 2018-10-24 株式会社村田製作所 電流センサ
CN107290695A (zh) * 2016-04-01 2017-10-24 德昌电机(深圳)有限公司 一种磁传感器
EP3486664B1 (en) * 2016-07-15 2021-05-05 Alps Alpine Co., Ltd. Current sensor
CN106353561B (zh) * 2016-09-12 2019-04-26 上海兴工微电子有限公司 电流检测芯片和电流检测方法
JP2018091643A (ja) * 2016-11-30 2018-06-14 矢崎総業株式会社 磁界検出センサ
US10788517B2 (en) 2017-11-14 2020-09-29 Analog Devices Global Unlimited Company Current measuring apparatus and methods
US10690519B2 (en) * 2018-02-23 2020-06-23 Landis+Gyr Innovations, Inc. Meter reading sensor using TMR and hall effect sensors
US10712369B2 (en) 2018-03-23 2020-07-14 Analog Devices Global Unlimted Company Current measurement using magnetic sensors and contour intervals
US11131727B2 (en) * 2019-03-11 2021-09-28 Tdk Corporation Magnetic sensor device
JP2020042038A (ja) * 2019-11-26 2020-03-19 株式会社東芝 磁気センサ、生体細胞検出装置及び診断装置
CN111624386A (zh) * 2020-05-29 2020-09-04 新纳传感系统有限公司 一种电流传感器
CN112014001B (zh) * 2020-08-24 2022-06-10 歌尔微电子有限公司 微机电系统力学传感器、传感器单体及电子设备
CN113917215B (zh) * 2021-10-08 2024-01-12 江苏多维科技有限公司 一种电流传感器

Family Cites Families (8)

* Cited by examiner, † Cited by third party
Publication number Priority date Publication date Assignee Title
DE4434417A1 (de) * 1994-09-26 1996-03-28 Lust Antriebstechnik Gmbh Meßanordnung zur Messung eines elektrischen Stromes
JP4433820B2 (ja) * 2004-02-20 2010-03-17 Tdk株式会社 磁気検出素子およびその形成方法ならびに磁気センサ、電流計
JP2006066821A (ja) * 2004-08-30 2006-03-09 Yamaha Corp 磁気抵抗効果素子を備えた磁気センサ
JP4360998B2 (ja) 2004-10-01 2009-11-11 Tdk株式会社 電流センサ
CN102812366B (zh) * 2010-02-23 2015-03-11 阿尔卑斯绿色器件株式会社 电流传感器
EP2546661A4 (en) * 2010-03-12 2017-12-06 Alps Electric Co., Ltd. Current measurement device
CN103415776B (zh) * 2011-03-02 2015-06-03 阿尔卑斯绿色器件株式会社 电流传感器
JP5544502B2 (ja) * 2011-03-07 2014-07-09 アルプス・グリーンデバイス株式会社 電流センサ

Also Published As

Publication number Publication date
US9201126B2 (en) 2015-12-01
WO2013099504A1 (ja) 2013-07-04
CN104011550B (zh) 2016-08-24
CN104011550A (zh) 2014-08-27
JPWO2013099504A1 (ja) 2015-04-30
US20140247044A1 (en) 2014-09-04

Similar Documents

Publication Publication Date Title
JP5728719B2 (ja) 電流センサ
JP5648246B2 (ja) 電流センサ
US9063185B2 (en) Current sensor
JP5732679B2 (ja) 電流センサ
JP5584918B2 (ja) 電流センサ
JP5906488B2 (ja) 電流センサ
CN103080755A (zh) 电流传感器
JPWO2012117841A1 (ja) 電流センサ
JPWO2013051566A1 (ja) 電流センサ
WO2013038867A1 (ja) 電流センサ
WO2012053296A1 (ja) 電流センサ
JP5834375B2 (ja) 電流センサ
JP5688572B2 (ja) 電流センサ
WO2012046547A1 (ja) 電流センサ
JP5504483B2 (ja) 電流センサ
US11543469B2 (en) Current sensor, and electric control apparatus including the current sensor
JP5487403B2 (ja) 電流センサ
JP2019117087A (ja) 磁気センサ
JP2013142569A (ja) 電流センサ
JP5504488B2 (ja) 電流センサ
WO2012035906A1 (ja) 電流センサ

Legal Events

Date Code Title Description
TRDD Decision of grant or rejection written
A01 Written decision to grant a patent or to grant a registration (utility model)

Free format text: JAPANESE INTERMEDIATE CODE: A01

Effective date: 20150303

A61 First payment of annual fees (during grant procedure)

Free format text: JAPANESE INTERMEDIATE CODE: A61

Effective date: 20150306

R150 Certificate of patent or registration of utility model

Ref document number: 5728719

Country of ref document: JP

Free format text: JAPANESE INTERMEDIATE CODE: R150

S111 Request for change of ownership or part of ownership

Free format text: JAPANESE INTERMEDIATE CODE: R313111

R350 Written notification of registration of transfer

Free format text: JAPANESE INTERMEDIATE CODE: R350

S533 Written request for registration of change of name

Free format text: JAPANESE INTERMEDIATE CODE: R313533

R350 Written notification of registration of transfer

Free format text: JAPANESE INTERMEDIATE CODE: R350