JP5557237B2 - 細径内視鏡及び細径内視鏡セット - Google Patents

細径内視鏡及び細径内視鏡セット Download PDF

Info

Publication number
JP5557237B2
JP5557237B2 JP2009204714A JP2009204714A JP5557237B2 JP 5557237 B2 JP5557237 B2 JP 5557237B2 JP 2009204714 A JP2009204714 A JP 2009204714A JP 2009204714 A JP2009204714 A JP 2009204714A JP 5557237 B2 JP5557237 B2 JP 5557237B2
Authority
JP
Japan
Prior art keywords
endoscope
small
diameter
optical system
diameter endoscope
Prior art date
Legal status (The legal status is an assumption and is not a legal conclusion. Google has not performed a legal analysis and makes no representation as to the accuracy of the status listed.)
Expired - Fee Related
Application number
JP2009204714A
Other languages
English (en)
Other versions
JP2010082435A (ja
Inventor
賢 植木
一夫 八島
Current Assignee (The listed assignees may be inaccurate. Google has not performed a legal analysis and makes no representation or warranty as to the accuracy of the list.)
Tottori University NUC
Original Assignee
Tottori University NUC
Priority date (The priority date is an assumption and is not a legal conclusion. Google has not performed a legal analysis and makes no representation as to the accuracy of the date listed.)
Filing date
Publication date
Application filed by Tottori University NUC filed Critical Tottori University NUC
Priority to JP2009204714A priority Critical patent/JP5557237B2/ja
Publication of JP2010082435A publication Critical patent/JP2010082435A/ja
Application granted granted Critical
Publication of JP5557237B2 publication Critical patent/JP5557237B2/ja
Expired - Fee Related legal-status Critical Current
Anticipated expiration legal-status Critical

Links

Images

Landscapes

  • Surgical Instruments (AREA)
  • Endoscopes (AREA)
  • Instruments For Viewing The Inside Of Hollow Bodies (AREA)

Description

本発明は、例えば内視鏡的粘膜下層剥離術(ESD)等に使用する、他の内視鏡とともに使用するための、細径内視鏡及びこの細径内視鏡と組み合わせて使用される細径内視鏡セットに関する。更に詳しくは、本発明は、他の内視鏡とともに使用するための、鉗子口(チャネル)を備え、このチャネルに照明光学系及び対物光学系を備える光学挿入具が挿入及び取り外し自在とされた細径内視鏡及びこの細径内視鏡を備える細径内視鏡セットに関する。
従来から挿入部を有する内視鏡を用いて早期胃癌等の病変部を切除することが行われている。この早期胃癌等の病変部を切除する場合、粘膜下層と筋層との間に生理食塩水を注入して病変部を隆起させ、スネアや高周波ナイフ(ITナイフ)を用いて粘膜下層の切開、剥離を行っている。この場合、内視鏡の一つの処置具誘導チャネルから生理食塩水注入具、ITナイフ、スネア等の内視鏡処置具を交互に交換して挿入することにより処置が行われる。
しかしながら、上述のような生理食塩水を局所注入して病変部を隆起させた場合、注入された生理食塩水は時間の経過とともに粘膜下層に拡散するので、人工的に形成した粘膜隆起は徐々に平坦になって行く。病変部の切開、剥離には十分な病変部の隆起が必要であり、この病変部の隆起が十分でないと筋層の穿孔の可能性が高くなる。したがって、病変部を切除する場合、局所注入した生理食塩水が拡散して粘膜隆起が平坦になった場合、再度生理食塩水を局所注入したり、水分保水能力の高いヒアルロン酸を局所注入して病変部を隆起させることが行われているが、他の手段を併用して隣接する筋層ないしは正常組織との間の間隔を広げることも知られている。
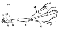
たとえば、下記特許文献1には、病変部を剥離しやすい状態とするために、磁気アンカーとクリップとを組み合わせて病変部を持ち上げる磁気アンカー誘導装置の発明が開示されている。また、下記特許文献2には、内視鏡用チャネルの他に設けられた2本の処置具誘導挿入具チャネル内に挿入された把持鉗子によって病変部を持ち上げる内視鏡治療装置の発明が開示されている。ここで、下記特許文献1及び特許文献2に開示されて装置を図9及び図10を用いて説明する。
なお、図9は下記特許文献1に開示されている磁気アンカー誘導装置の使用状況を示す図である。図10は下記特許文献2に開示されている内視鏡治療装置の斜視図である。
下記特許文献1に開示されている磁気アンカー誘導装置40は、図9に示すように、病変部41に取り付けられたクリップ42と、このクリップ42に対して連結部43を介して取り付けられた磁気アンカー44と、外部から磁気アンカー44に駆動力を与える磁気誘導体45とを備えている。この磁気アンカー誘導装置40は次のような操作により病変部41を持ち上げる。まず、従来の方法と同様にして、内視鏡46を用いて病変部41の下部に生理食塩水47を注入することにより病変部41を隆起させる。次いで、把持鉗子48によってクリップ42を病変部41に取り付ける。次いで、内視鏡46を引き抜き、把持鉗子48に磁気アンカー44を取付け、再度内視鏡46を挿入し、外部の磁気誘導体45を操作することにより磁気アンカー44を患部の所定位置に固定する。
その後、内視鏡46を引き抜き、把持鉗子48に連結部43を取付け、再度内視鏡46を挿入し、患部内で連結部43の一端をクリップ42に取り付けるとともに連結部43の他端を磁気アンカー44に取り付ける。この状態で外部から磁気誘導体45を操作してクリップ42を引っ張ることにより病変部41を持ち上げることができ、この状態でITナイフ等により病変部を安全に切除することが可能となるというものである。
また、下記特許文献2に開示されている内視鏡治療装置50は、図10に示したように、1本の内視鏡用チャネル51と2本の処置具誘導挿入具チャネル52を有する誘導チューブ53を使用し、2本の処置具誘導挿入具チャネル52からそれぞれ挿入された2本の鉗子54、55により病変部を持ち上げ、1本の内視鏡用チャネル51から挿入された内視鏡56内を通された電気メス57により病変部を切除するようになしている。
特開2004−105247号公報 特開2000−325303号公報
しかしながら、上記特許文献1に開示されている磁気アンカー誘導装置40は、クリップ42の病変部41への取付け、クリップ42と磁気アンカー44との取付け、外部の磁気誘導具45の操作により磁気アンカー44を患部の所定位置への固定及び外部の磁気誘導具45の操作による病変部の持ち上げといった多段階の操作が必要であり、また磁気アンカー44のサイズが大きいために病変部41の持ち上げまでに複数回の内視鏡46の抜き差しが必要であり、しかも、外部の磁気誘導具45の操作には把持鉗子48を操作する人が操作することができないために、別の人が操作する必要があるので、操作が煩雑で手間がかかるという問題点が存在しており、現在は一般的には普及していない。
また、上記特許文献2に開示されている内視鏡治療装置50は、2本の処置具誘導挿入具チャネル52からそれぞれ挿入された2本の鉗子54、55により病変部を持ち上げるようにしているが、このような構成では処置具誘導挿入具チャネルの数が増えた分だけ誘導チューブ53の外径が大きくなるため、患者の苦痛が大きくなるという問題点が存在している。
一方、早期胃癌に対する粘膜下層剥離術では、1本の内視鏡で手術を行う代わりに2本の内視鏡を用いて手術をすると、視野の確保ができ、安全性、確実性の高い手術が可能となることが知られている。しかし、消化管という限られた管腔では、現在の内視鏡では外径が大きいため、2本の内視鏡を挿入すると、食道胃接合部が裂けるなどの偶発症がおきやすくなる。例えば、通常の内視鏡は、内視鏡の先端を所定の病変部まで誘導するため及び病変部に対して所定の処置を行うために、光源である照明光学系と、照明された被写体を撮像するため内視鏡先端部に設けた対物光学系を必須の構成要件としており、照明光学系及び対物光学系により得られた情報を固体撮像素子を介してカラー撮像を行っている。更に、病変部に対して各種の処置を行うため、内視鏡には処置具を挿入するチャネルが必須である。
このような照明光学系、対物光学系及びチャネルの3つの構成要素を備えると、内視鏡の外径は10mm程度の太さになる。最近開発された経鼻内視鏡(外径5mm)や、胆道内視鏡(外径2.6mm)といった極細の内視鏡では、照明光学系、対物光学系及びチャネルの構成要素を犠牲にして、画質を悪くするか、チャネルに挿通させる処置具を極細処置具のみに制約している。従って、従来の照明光学系及び対物光学系と同等の明るさ及び操作精度を確保でき、しかも、一般的に使用されている丈夫な内視鏡用把持鉗子(外径2.6mm)を使用することができる内視鏡を2本使用しながらも、患者に負担を与えない細いサイズの内視鏡の開発が望まれている。
一方、発明者等は、2本の内視鏡を用いて胃粘膜下層剥離術の動物実験を行った際、光源が2つになることにより光の干渉が起こり、画面が白く飛んで観察が困難となる現象に出会った。そこで、病変部の切除の際、病変部を持ち上げる作用を行わせている側の内視鏡の光源の電源を落として処置を行ったところ、有効に胃粘膜下層剥離術を行うことができることを確認した。その結果、発明者等は、2本の内視鏡を用いた手術の場合、手術中には一方の内視鏡には必ずしも照明光学系及び対物光学系を必要としないことから、チャネルは有するが、照明光学系及び対物光学系を備えない極細の内視鏡が有用であることを見出した。
しかしながら、照明光学系及び対物光学系が無ければ、内視鏡の先端を病変部へ誘導することができず、特に喉頭から食道への挿入は困難である。そこで、発明者等は、種々実験を重ねた結果、照明光学系及び対物光学系をチャネルに挿入及び取り外し取外し自在に配置すれば、照明光学系及び対物光学系をチャネルに挿入した際に内視鏡の先端を所定の位置に誘導することができること、内視鏡の先端を所定の位置に誘導した後に照明光学系及び対物光学系をチャネルから取り出し、このチャネル内に所定の処置具を挿入することにより、別の内視鏡の照明光学系及び対物光学系による画像を利用して所定の処置を行うことができることを見出し、本発明を完成するに至ったのである。
すなわち、本発明の目的は、他の内視鏡とともに使用するための、チャネルを備えており、このチャネル内に照明光学系及び対物光学系が取外し自在に配置された細径内視鏡を提供することにある。更に、本発明の別の目的は、他の内視鏡とともに使用するための、照明光学系及び対物光学系が取り外し可能とされた細径内視鏡と、この細径内視鏡のチャネル内に挿入し得る照明光学系及び対物光学系を備える光学系挿入具と、処置具との組合せからなる細径内視鏡セットを提供することにある。
上記目的を達成するため、本発明の細径内視鏡は、チャネルが形成された細径内視鏡本体と、前記チャネルに対して取外し自在であり、照明光学系及び対物光学系を備える光学挿入具と、を有し、前記チャネルは、前記光学挿入具が取り外された場合に処置具が挿入自在となることを特徴とする。
従来の内視鏡は、処置具を挿入し得る内径のチャネルと照明光学系及び対物光学系を一体に備えている。それに対し、本発明の細径内視鏡は、処置具と照明光学系及び対物光学系を備える光学系挿入具とを交互に挿入し得る内径のチャネルを備えている。すなわち、本発明の細径内視鏡は、従来例の内視鏡の場合と同様に、先端部の動きを制御するための周知の構成を備えているが、実質的にチャネルだけが形成されており、このチャネルは、処置具と照明光学系及び対物光学系を備える光学系挿入具とを交互に挿入することができるが、処置具と照明光学系及び対物光学系とを同時に挿入することができない大きさの内径を有している。なお、本発明の細径内視鏡は、別途上述の従来の内視鏡と同時に使用されるものであるが、従来の内視鏡とは完全に独立している。
本発明の細径内視鏡によれば、チャネル内に照明光学系及び対物光学系を備える光学系挿入具を挿入することにより、本発明の細径内視鏡を所定の位置にまでガイドすることができる。その後、光学系挿入具をチャネルより引き抜き、その代わりに所定の処置具をチャネル内に挿入すると、処置具は容易に所定位置にまで導入することができる。このとき、本発明の細径内視鏡には照明光学系及び対物光学系が形成されていないので、別途所定位置の近傍に配置した別の内視鏡の照明光学系及び対物光学系により得られた画像を利用して所定の処置を行うようにすることができる。このように、本発明の細径内視鏡によれば、照明光学系及び対物光学系がチャネルに対して取外し自在とされているので、その分だけ従来の挿入部を有する内視鏡よりも外径を細くすることができ、例えば他の挿入部を有する内視鏡と組み合わせて内視鏡的粘膜下層剥離術を行うようしても、患者に与える負担を大幅に減少させることができ、しかも、安全に、かつ確実に所定の処置を行うことができるようになる。
本発明の細径内視鏡においては、前記チャネルの内径が2.0mm以上であり、前記細径内視鏡の外径が5.9mm以下であることが好ましい。
本発明の細径内視鏡のチャネルの内径を2.0mm以上とすれば、特殊な微小サイズの照明光学系及び対物光学系や微小サイズの処置具を使用しなくてもすむようになる。また、現在実用化されている経鼻内視鏡の最大外径は5.9mmであり、本発明の細径内視鏡の外径が5.9mmを超えると経鼻的に食道内に挿入することが困難となるので好ましくなく、しかも細径内視鏡の外径を5.9mm以下とすると他の挿入部を備える内視鏡と共に使用しても患者に与える負担を抑制することができるようになる。なお、従来から普通に使用されている公称外径2.6mmの各種処置具を使用することができるようにするためには、本発明の細径内視鏡のチャネルの内径を2.6mm以上とすることが好ましい。
更に、上記目的を達成するため、本発明の細径内視鏡セットは、細径内視鏡と、処置具と、を備え、前記細径内視鏡は、チャネルが形成された細径内視鏡本体と、前記チャネルに対して取外し自在であり、照明光学系及び対物光学系を備える光学挿入具と、を有し、前記チャネルは、前記光学挿入具が取り外された場合に前記処置具が挿入自在となる、ことを特徴とする。
また、本発明の細径内視鏡セットにおいては、前記チャネルの内径が2.0mm以上であり、前記細径内視鏡の外径が5.9mm以下であることが好ましい。
本発明の細径内視鏡セットによれば、上記本発明の細径内視鏡の発明の効果を有効に奏することができるようになる。なお、照明光学系及び対物光学系を備える光学系挿入具としては、特に新たに設計することなく、既存の胆道内視鏡(外径2.6mm)を使用することも可能である。
また、本発明の細径内視鏡セットにおいては、前記処置具は把持鉗子又は生検鉗子とすることができる。
内視鏡的粘膜下層剥離術を行う際には、病変部を把持して隆起させる必要があるが、処置具として把持鉗子を使用すると、容易に病変部を把持して隆起させることができるので、筋層の穿孔の可能性を低くすることができるようになる。また、本発明の細径内視鏡セットにおける細径内視鏡は細いので、従来なら盲目的に挿入していた胆管膵管分岐部を直接観察しながら挿入できるため、分岐した管腔でも任意の管腔へ正確に挿入することができる。そのため、本発明の細径内視鏡セットにおいて、所定の位置に到達した後に処置具を把持鉗子又は生検鉗子とすることにより、容易に胆管、膵管等の小さく、狭い部位からも組織を把持ないし採取することができるようになる。
また、本発明の細径内視鏡セットにおいては、前記処置具は、前記把持鉗子又は生検鉗子側がワイヤーアクションによって屈曲可能とされていることが好ましい。
本発明の細径内視鏡セットは、別途の従来の内視鏡と同時に使用されるものである。従来の内視鏡は、先端側にワイヤーアクションによって、上下、左右ないし上下左右に屈曲可能とされている。このような従来の内視鏡内に本発明の細径内視鏡を挿入すると、この細径内視鏡は従来の内視鏡の屈曲に従って屈曲し、従来の内視鏡の先端から突出させることができる。従来の内視鏡の先端から突出する細径内視鏡の突出処理は、自由に設定できる。この細径内視鏡に把持鉗子又は生検鉗子を挿入すると、この把持鉗子又は生検鉗子も細径内視鏡の先端から突出させることができる。しかも、本発明の細径内視鏡セットでは、把持鉗子又は生検鉗子としてワイヤーアクションによって屈曲可能とされているものを使用しているので、細径内視鏡の先端から突出させた把持鉗子又は生検鉗子をワイヤーアクションによって屈曲させることができる。そのため、本発明の細径内視鏡セットによれば、高価なダブルアクション型の内視鏡を使用せずに、通常のシングルアクション型の内視鏡を用いてダブルアクション型の内視鏡と同様の操作ができるようになり、胃弓りゅう部のような従来のシングルアクション型の内視鏡では届き難かった箇所にも容易に把持鉗子又は生検鉗子等の処置具を届かせることができるようになる。
また、本発明の細径内視鏡セットの発明においては、前記処置具は先端にバルーンが接続された送気チューブからなるものとすることができる。
本発明の先端にバルーンが接続された送気チューブからなる処置具は、細径内視鏡と共に他の挿入部を備える内視鏡内に挿入し、他の挿入部を備える内視鏡から突出させて所定位置まで導入した後、バルーンを膨らませると処置具を所定位置に固定できる。本発明の細径内視鏡セットにおける細径内視鏡は大腸内視鏡を鞘、すなわち支持体として交互式細径内視鏡は更に深部へと挿入することができる。そのため、本発明の先端にバルーンが接続された送気チューブからなる処置具も、容易に他の挿入部を備える内視鏡から突出させて所定位置まで挿入することができるようになる。送気チューブからなる処置具は所定位置まで導入した後、バルーンを膨らませ処置具を所定位置に固定させ、同部位を支点にして、他の挿入部を備える内視鏡を更に挿入させると、これまで内視鏡がたわんで力が伝わらなかった大腸の屈曲部でも、細径内視鏡をガイドとしながら推進力を伝えて、容易に所定位置まで挿入させることができるようになる。
また、本発明の細径内視鏡セットの発明においては、前記光学系挿入具は、光源として発光ダイオード又はレーザダイオードを備え、画像検出器として固体撮像素子を備えているものとすることが好ましい。

光源としての発光ダイオード及びレーザダイオードとしては種々の波長のものが知られており、患部や用途に応じて最適な波長のものを選択して用いることができ、しかも小型であるので、容易に内径が小さい光学系挿入具内に組み込むことができる。また、画像検出器としての固体撮像素子も、小型で高解像度のものが得られるから、容易に得る内径が小さい光学系挿入具内に組み込むことができる。なお、固体撮像素子としては周知のCCD(Charge Coupled Device)を用いるとよい。
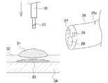
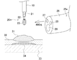
図1Aは本発明の各実施形態で使用する細径内視鏡の先端側面図であり、図1Bは図1Aのチャネル内に挿入して使用するための照明光学系及び対物光学系を備える光学系挿入具の先端部概略断面図であり、図1Cは図1Aのチャネル内に挿入して使用するための把持鉗子の先端側面図であり、図1Dは図1Aのチャネル内に挿入して使用するためのバルーン付き送気チューブの先端側面図である。 第1実施形態の細径内視鏡を病変部まで誘導する工程を説明する模式図である。 第1実施形態の細径内視鏡内に把持鉗子を挿入する工程を説明する模式図である。 把持鉗子によって病変部を把持する工程を説明する模式図である。 ITナイフで病変部を切除する過程を説明する模式図である。 図6A〜図6Fは第2実施形態の細径内視鏡セットを所定位置まで挿入する工程を順に説明する模式図である。 図7Aは従来の内視鏡を胃内に挿入した状態を示す図であり、図7Bは第3実施形態の細径内視鏡セットを胃の弓りゅう部まで到達させた状態を示す図である。 第3実施形態の細径内視鏡セットを用いて内視鏡的粘膜下層剥離術を行う過程を説明する模式図である。 従来例の胃内における磁気アンカー誘導装置の使用状況を示す図である。 従来例の内視鏡治療装置の斜視図である。
以下、本発明の各実施形態を図1〜図8を参照して詳細に説明する。ただし、以下に示す各実施形態は、本発明の技術思想を具体化するための一例としての細径内視鏡セット及びこの細径内視鏡セットを用いた内視鏡的粘膜下層剥離術等を説明するものであって、本発明をこれらの実施形態に特定することを意図するものでなく、特許請求の範囲に含まれるその他の実施形態のものにも等しく適用し得るものである。
最初に図1A〜図1Dを用いて本発明の各実施形態で使用する細径内視鏡セットの概略構成について説明する。各実施形態の細径内視鏡セットで使用する細径内視鏡10は、図1Aに示すように、外径L1が例えば5mmであり、内径L2=2.8mmの鉗子穴(チャネル)11が形成されている。この細径内視鏡10は、必要に応じてワイヤーアクションによって上下又は左右に先端部の角度を変えることができるようにしたものを用いてもよい。なお、この細径内視鏡10の操作部の構成及び細径内視鏡10を作動させるための構成は、サイズが異なる以外は従来の内視鏡の場合と差異はないので、その詳細な説明は省略する。
また、各実施形態の細径内視鏡セットで使用する照明光学系及び対物光学系を備える光学系挿入具13は、図1Bに示すように、外径L3が2.6mmの可撓性シース14内に挿入された照明光学系15及び対物光学系16を備えている。照明光学系15は、光源として発光ダイオードないしレーザダイオードが使用されており、この発光ダイオードないしレーザダイオードとしては、種々の波長のものが知られているので、患部や用途に応じて最適な波長のものを選択して用いればよい。また、対物光学系は、検出器として例えばCCDからなる固体撮像素子が使用されている。そのため、光源としての発光ダイオードないしレーザダイオードに接続される配線17及びCCDに接続される配線18がそれぞれ光学系挿入具13の可撓性シース14内を延在されて、図示しない操作部近傍から外部に引き出され、それぞれ図示しない光源用電源及び画像処理装置に接続されている。
このような光源としての発光ダイオードないしレーザダイオードは小型で高出力のものが得られており、また、固体撮像素子としてのCCDも小型で高解像度のものが得られているので、容易に外径L3が2.6mmと細い光学系挿入具13内に組み込むことができる。なお、この光学系挿入具13は、電子内視鏡とも称されるものであり、周知の胆道内視鏡をそのまま用いることもできる。なお、光学系挿入具13の外径L3は細径内視鏡10の公称内径L2よりも僅かに小さく、すなわちL3<L2の関係を満たしている。
また、第1実施形態の細径内視鏡セットで使用する処置具20aは、外径L4が2.6mmの挿入具21内に挿通された操作杆22の先端部に例えば把持鉗子又は生検鉗子(以下、これらをまとめて「把持鉗子」と表現する。)23が取り付けられた構成を備えており、この操作杆22を図示しない把持鉗子23の操作部において操作することにより、把持鉗子23の押し出し及び引き込みと、把持鉗子23の開閉動作を行うことができるようになっている。なお、このような把持鉗子23の開閉動作を行わせるための構成は周知であるので、その詳細な説明は省略する。なお、この処置具20aとしては、周知の公称外径2.6mmの強度が強い把持鉗子ないし生検鉗子をそのまま使用し得るので、病変部を確実に把持して隆起させたり、病変部を切除することができるようになる。なお、処置具20aの外径L4は細径内視鏡10の公称内径L2よりも僅かに小さく、すなわちL4<L2の関係を満たしている。また、この処置具20aとして、必要に応じてワイヤーアクションによって上下又は左右に先端部の角度を変えることができるようにしたものを用いてもよい。
また、第2実施形態の細径内視鏡セットで使用する処置具20bは、図1Dに記載されているように、先端に1個のバルーン35が接続された送気チューブ36からなる。なお、図1Dは、送気チューブ36内に送気することによってバルーン35を膨らませた状態を示しており、膨らんだ状態のバルーンの直径は例えば3cmとされており、送気チューブ36の外径は2mm程度とされている。また、バルーン35を萎ませた状態の送気管36の最大外径は細径内視鏡10の公称内径L2よりも小さくなるようにされている。
[第1実施形態]
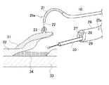
次に、図1A〜図1Cに示した第1実施形態の細径内視鏡セットを用いて、内視鏡的粘膜下層剥離術を行う工程を図2〜図5を用いて説明する。この第1実施形態で使用する細径内視鏡セットは、従来の例えば外径10mmの内視鏡25aと同時に使用される。この内視鏡25aは、シース26の端面に照明光学系27と対物光学系28とを備え、更にシース26内に処置具を挿通させるためのチャネル29を備えている。最初に、この内視鏡25aを病変部31の近傍の切開し易い位置にまで挿入し、病変部31が存在する位置の粘膜32と筋層33との間に生理食塩水34を注入し、病変部31を把持しやすいように隆起させる。
次いで、図1Aに示した細径内視鏡10のチャネル11内に図1Bに示した光学系挿入具13を挿通させ、この光学系挿入具13によって細径内視鏡10の先端を病変部31の近傍にまでガイドする。図2はこのときの状態を示している。
次いで、細径内視鏡10の先端を固定したまま光学系挿入具13を引き抜き、その後、図1Cに示した処置具20を細径内視鏡10のチャネル11内に挿入する。このとき、内視鏡25aの照明光学系27及び対物光学系28を作動させておく。細径内視鏡10内に挿入された処置具20の先端が細径内視鏡10の先端から突出すると、その画像が内視鏡25aの対物光学系28によって撮像されるので、その撮像された画像に従って処置具20の先端に配置された把持鉗子23に対して所定の操作を行わせることができる。このときの状態が図3に示されている。
次いで、把持鉗子23の操作杆22を駆動することによって把持鉗子23の先端を開き、図4に示したように、病変部31を把持し、処置具20を少し引き上げて病変部31をより隆起させる。その後、図5に示すように、内視鏡25aのチャネル29内に挿入された例えばITナイフ30によって病変部31の周囲を切開し、それと共に細径内視鏡10内に挿入された処置具20を徐々に引き上げて切開された病変部31を持ち上げ、最終的に病変部31の周囲を全て切開する。このITナイフ30による病変部の切開時には、内視鏡25aの照明光学系27からの照明光によって把持鉗子23が照らされているため、内視鏡25aの対物光学系28によって把持鉗子23の動きを撮像することができるので、ITナイフ30の動きに合わせて把持鉗子23の位置を適切に制御することができる。
このように、本発明の第1実施形態の細径内視鏡セットを使用すると、細径内視鏡10の外径を5.9mmないしそれ以下とすることができるため、例えば外径が10mm程度の通常の内視鏡と共に体腔内に患者に苦痛を与えることなく容易に挿入することができ、しかも、安全に内視鏡的粘膜下層剥離術を行うことができるようになる。加えて、本発明の第1実施形態の細径内視鏡セットによれば、内視鏡を2本使用しながらも、従来の経鼻内視鏡や胆道内視鏡のように、照明光学系、対物光学系及びチャネルの構成要素の性能を犠牲にすることなく、従来の照明光学系及び対物光学系と同等の明るさ及び操作精度を確保でき、しかも、一般的に使用されている丈夫な内視鏡用把持鉗子を使用することができるようになる。
なお、ここでは、ESDの胃癌切除用に適用した例を示したが、第1実施形態の細径内視鏡セットは胆管、膵管等の観察及び生検にも有用である。すなわち、図1Aに示した細径内視鏡10のチャネル11内に図1Bに示した光学系挿入具13を挿通させて、胆管、膵管の所定位置まで細径内視鏡10の先端を案内する。この場合、細径内視鏡10は、従来の胆管、膵管等の観察に使用していたERCPカニューレ(ボストンサイエンティフィックコーポレーション)とは異なり、直接目視しながら分岐部を挿入するので、容易に胆管、膵管のどちらかの管腔にも正確に挿入することができる。そして、細径内視鏡10を所定位置まで挿入した後、光学系挿入具13を抜き去り、次いで図1Cに示したような生検鉗子23を径内視鏡10のチャネル11内に挿入し、組織をかじり取ることによって採集できる。なお、この間は、光学系挿入具13抜き去られているために、外部からX線透視によって細径内視鏡10の位置ズレがないかどうかを確認しておく。
[第2実施形態]
次に、図1A、図1B及び図1Dに示した組合せの第2実施形態の細径内視鏡セットを用いて、大腸内の生検を行う工程を図6を用いて説明する。この第2実施形態で使用する細径内視鏡セットは、第1実施形態の場合と同様に、従来の例えば外径10mm程度の大腸内視鏡25bと同時に使用される。
通常の場合、大腸内視鏡25bは容易に盲腸の位置まで挿入できる。しかしながら、普段、大腸内視鏡を行っていると、過去の腹部手術後の癒着によって大腸の屈曲がきつく、大腸内視鏡がたわんでしまって力が伝わらないため内視鏡の推進力が得られず、盲腸まで大腸内視鏡を挿入できないことがある。一方、小腸などの非常に長い腸管を観察する場合、または、その症例が前もって内視鏡挿入困難例であることが分かっている場合には、ダブルバルーンファイバーを用いて挿入することが可能である。
しかしながら、ダブルバルーンファイバーは高価であると共に使い捨てであるため、予め準備していないと使用できない。そのため、通常の大腸内視鏡を所定位置まで挿入できなくなった場合、無理に検査を続行すると大腸を破る恐れもあるので、検査を中断して後日バリウムを用いた大腸透視を行うことが多い。しかしながら、本発明の第2実施形態の細径内視鏡セットを使用すると、このような場合にも有効に所定位置まで大腸内視鏡を挿入できるようになる。
まず、図6Aに示すように、通常の大腸内視鏡25bを用いて最初に大腸内視鏡を挿入できるところまで挿入する。大腸内視鏡25bがそれ以上挿入できなくなったら、大腸内視鏡25bのチャネル(図6においては図示省略)から、図1Aに示した細径内視鏡10を挿入する。このとき、図6Bに示すように、細径内視鏡のチャネル11内には図1Bに示した対物光学系付きの光学系挿入具13を挿入しておき、この光学系挿入具13によって案内しながら、細径内視鏡10を所定位置まで導入する。
細径内視鏡10を大腸内視鏡25bの鉗子口に挿入すると、大腸内視鏡25bを鞘として細径内視鏡10は更に深部へと挿入される。細径内視鏡10は、大腸内視鏡25bよりも細径であり、屈曲性に富むため、途中の曲がり具合が大きい上行結腸部にも、容易に細径内視鏡を導入することができる。
なお、この細径内視鏡10の挿入効果を高めるため、図6Cに示すように、大腸内視鏡25bの先端外周にアタッチメント式のバルーン37を装備しておき、大腸内視鏡25bがそれ以上挿入できなくなった部位でアタッチメント式のバルーン37を膨らませ、大腸内視鏡25bの先端を大腸管に固定すると更に良好に細径内視鏡10を所定位置まで挿入することができる。これは、ちょうどダブルバルーンファイバーの変形例となる。すなわち、従来のダブルバルーンファイバーでは、親ファイバーにはバルーンと送気チューブしか存在せず、子ファイバーが対物光学系ファイバーとなっている。
次いで、細径内視鏡10を所定位置まで導入した後、細径内視鏡10内から対物光学系付きの光学系挿入具13を取り出し、図1Dに示した処置具20bとしての先端にバルーン35が付いた送気チューブ36を挿入する。そして、図6Dに示すように、このバルーン35が所定位置(患部)よりも奥に位置するように挿入し、バルーン35を膨らませてバルーン35を固定する。
このバルーン35の挿入及び固定は、細径内視鏡10から対物光学系付きの光学系挿入具13が取り出されているため、位置を画像で確認しながら挿入できないので、次のようにして行う。すなわち、予め、萎んだ状態のバルーン35の先端が細径内視鏡10の先端と揃う位置としたとき、送気チューブ36の手元側に、細径内視鏡10の処置具挿入口(図示省略)の入口に対応する位置に目印となる線Aを書いておくと共に、バルーン35を膨らませたときの長径が仮に3cmであれば、送気チューブ36の線Aより3cm手元側に目印となる線Bを書いておく。
そして、バルーン35を萎ませた状態で、送気チューブ36の線Aが細径内視鏡10の処置具挿入口の入口と一致するまで、処置具20bとしての先端にバルーン35が付いた送気チューブ36を細径内視鏡10のチャネル11内に挿入する。このとき細径内視鏡10は処置具20bの挿入用の鞘として機能するので、スムーズに所定位置まで挿入することができる。次いで、送気チューブ36をそれ以上挿入せず、細径内視鏡10の処置具挿入口の入口が送気チューブ36の線Bと重なる位置まで、細径内視鏡10を引き抜く。そうすると、処置具20bとしての先端にバルーン35が付いた送気チューブ36は細径内視鏡10の先端より3cm突出した状態となる。そこで、バルーン35を膨らまして処置具20bの固定を行う。
次いで、送気チューブ36を引っ張った状態で大腸内視鏡25bを更に挿入すると、図6Eに示すように、大腸内視鏡25bは細径内視鏡10に従って屈曲しながら所定位置まで挿入される。なお、複雑に屈曲している箇所においては、必要に応じて上記操作を複数回行うことにより、大腸内視鏡25bを所定位置まで挿入させることができる。なお、このとき、大腸内視鏡25bとしてアタッチメント式のバルーン37を取り付けたものを使用している場合、アタッチメント式のバルーン37は萎ませておく。
この状態で処置具20bのバルーン35を萎ませ、処置具20bとともに細径内視鏡10を大腸内視鏡25bの鉗子口から取り出すと、図6Fに示したように、大腸内視鏡25bが所定位置にまで挿入された状態となる。その後、大腸内視鏡25bの鉗子口に適宜の処置具を挿入して処置を行う。この大腸内視鏡25bには、対物光学系が設けられているので、処置具の位置を確認しながら所定の処理と行うことができるようになる。
このように、第2実施形態で使用する細径内視鏡セットは、予め高価な使い捨てのダブルバルーンファイバーを用意しておかなくても、汎用型の大腸内視鏡で挿入が困難となったときのみ、大腸内視鏡のチャネル内に細径内視鏡10を挿入して上述の操作を行うことにより、大腸内視鏡を所定位置まで挿入することができるようになる。そのため、第2実施形態で使用する細径内視鏡セットを予め用意しておけば、前もって高価な使い捨てのダブルバルーンファイバーの準備は要らず、挿入困難例であることが分かった時点で、大腸内視鏡を抜去することなく、ダブルバルーンファイバーと同様の効果を達成することができるようになる。
[第3実施形態]
次に、図1A、図1B及び図1Cに示した組合せの第3実施形態の細径内視鏡セットを用いて、胃弓りゅう部の把持ないし生検を行う工程を図7を用いて説明する。ただし、この第3実施形態で使用する細径内視鏡セットは、第1実施形態の場合と同様に、従来の例えば外径10mm程度の通常の内視鏡25cと同時に使用され、また、細径内視鏡10としてワイヤーアクションによって先端部が上下又は左右に角度を変えることができるもの及び処置具20aとしてワイヤーアクションによって挿入具21の先端部を上下又は左右に角度を変えることができる把持鉗子ないし生検鉗子(以下、これらをまとめて「把持鉗子」と表現する。)23を備えたものを用いている。なお、図7Bにおいては、理解を容易にするため、把持鉗子23部分の縮尺を変えて実際よりも大きく表示してある。
胃弓りゅう部は、胃の食道側に位置する部分であり、通常の内視鏡25cは、上下、左右又は上下左右に屈曲できるが、屈曲点が1箇所のいわゆるシングルベンディング型のものであるため、先端を胃弓りゅう部に近接させ難い。例えば、通常の内視鏡25cを胃内に挿入した後、先端部をJ字状に曲折させて先端Xを胃弓りゅう部に向けると、図7Aに示した状態となる。この状態で内視鏡25cを更に押し込んでも、内視鏡25cは図7Aに矢印で示した方向に移動するのみで、内視鏡25cの先端Xは胃弓りゅう部から遠ざかってしまう。
この際、更に内視鏡25cを押し込んで下部の胃壁に当接させ、胃壁の反発力を利用して内視鏡25cの先端Xを胃弓りゅう部に近接させる方法もあるが、患者の苦痛が増大するので、好ましくない。このようなシングルベンディング型の内視鏡25に代えていわゆるダブルベンディング型の内視鏡を使用すれば、屈曲箇所が2箇所あるため、先端Xを胃弓りゅう部に近接させることができる。しかしながら、ダブルベンディング型の内視鏡は高価であるため、直ちには採用し難い。
そこで、第3実施形態においては、通常の内視鏡25cと組み合わせ、細径内視鏡セットとして細径内視鏡10としてワイヤーアクションによって先端部が上下又は左右に角度を変えることができるもの及び処置具20aとしてワイヤーアクションによって挿入具21の先端部部分を上下又は左右に角度を変えることができる把持鉗子23を備えたものを用いている。このような細径内視鏡セットを使用すると、一旦内視鏡25cを屈曲させてその角度を固定(アングル・ロック)し、その後に内視鏡25cを保持した状態(引っ張った状態)で、内視鏡25cのチャネル内に細径内視鏡10を挿入すると、図7Bに示したように、細径内視鏡10の先端を通常の内視鏡25cの先端Xから突出させることができる。ここで、必要であれば、細径内視鏡10の先端部をワイヤーアクションによって上下又は左右に角度を変えることができる。更に、細径内視鏡10の鉗子口11(図1A参照)に処置具20aとしてワイヤーアクションによって挿入具21の先端部部分を上下又は左右に角度を変えることができる把持鉗子23を備えたものを挿入すると、把持鉗子23は細径内視鏡10の先端から突出するので、把持鉗子23を容易に胃弓りゅう部に近接させることができ、容易に胃弓りゅう部の組織の把持ないし生検を行うことができるようになる。
この内視鏡25cの先端Xからの細径内視鏡10の突出距離L5は適宜設定でき、また、細径内視鏡10の先端からの処置具20aの挿入具21の突出距離L6も適宜設定することができ、更に、把持鉗子23の胃弓りゅう部に対する当接角度も、ワイヤーアクションによって挿入具21を曲折させることができるため、任意に設定することができる。そのため、第3実施形態の細径内視鏡セットを用いれば、通常の内視鏡25cを用いても、トリプルベンディング型の内視鏡としての動作を行わせることができ、図7Bに示したように、胃弓りゅう部のような通常の内視鏡25cのみでは近接し難い位置にも把持鉗子23を容易に近接させ、組織の把持ないし生検を行うことができるようになる。
加えて、従来のダブルベンディング型の内視鏡は、屈曲部の位置が固定されているために、先端部が到達可能な位置に限界があるが、第3実施形態の細径内視鏡セットを通常の内視鏡25cと組み合わせて使用すれば、内視鏡25cの先端Xからの細径内視鏡10の先端の突出距離L5、細径内視鏡10の先端からの処置具20aの挿入具21の突出距離L6を任意に設定できるため、3箇所の屈曲位置の距離をそれぞれ可変状態とすることができるので、従来のダブルベンディング型の内視鏡よりも処置具20aの先端部が到達可能な位置が広くなる。しかも、第3実施形態の細径内視鏡セットを通常の内視鏡25cと組み合わせて使用すれば、従来のダブルベンディング型の内視鏡よりも安価となる。
なお、上記の第3実施形態の細径内視鏡セットを使用すると、全体をS字状に曲折させることができるため、より適用範囲を広げることがでる。例えば、第1実施例で適用した内視鏡的粘膜下層剥離術を第3実施形態の細径内視鏡セットを用いて行う場合、図8に示すように、従来の内視鏡25aと細径内視鏡10とを同方向から挿入して、細径内視鏡10の先端側をワイヤーアクションによって上方に屈曲させ、更に細径内視鏡10内に挿通された処置具20aの挿入具21を同じくワイヤーアクションによって下方に屈曲させると、把持鉗子23を下方に向けさせることができる。この状態で把持鉗子23によって病変部31を把持した後、細径内視鏡10の屈曲をさらに強くすることで、病変部31をより確実に胃の内腔側へ挙上することが可能になるので、ITメス30による切開を行い易くなる。
なお、第3実施形態の細径内視鏡セットとしては、細径内視鏡10としてワイヤーアクションによって先端部が上下又は左右に角度を変えることができるもの及び処置具20aとしてワイヤーアクションによって挿入具21の先端部を上下又は左右に角度を変えることができる把持鉗子ないし生検鉗子23を備えたものを用いたが、細径内視鏡10のみ或いは処置具20aのみ、ワイヤーアクションによって先端部の角度を変えることができるものを用いることもできる。この場合、従来のダブルベンディング型の内視鏡と同様の操作を行うことができるが、それでもなお2箇所の屈曲位置の距離を可変状態とすることができるので、従来のダブルベンディング型の内視鏡よりも処置具20aの先端部が到達可能な位置が広くなるという効果を奏する。
10…細径内視鏡 11…鉗子穴(チャネル) 13…光学系挿入具 14…可撓性シース 15…照明光学系 16…対物光学系 17、18…配線 20a、20b…処置具 21…挿入具 22…操作杆 23…把持鉗子(生検鉗子) 25a〜25c…内視鏡 26…シース 27…照明光学系 28…対物光学系 29…チャネル 30…ITナイフ 31…病変部 32…粘膜層 33…筋層 34…生理食塩水 35…バルーン 36…送気チューブ 37…アタッチメント式のバルーン

Claims (8)

  1. チャネルが形成された細径内視鏡本体と、
    前記チャネルに対して取外し自在であり、照明光学系及び対物光学系を備える光学挿入具と、
    を有し、
    前記チャネルは、前記光学挿入具が取り外された場合に処置具が挿入自在となる細径内視鏡。
  2. 前記チャネルの内径が2.0mm以上であり、前記細径内視鏡の外径が5.9mm以下であることを特徴とする請求項1に記載の細径内視鏡。
  3. 細径内視鏡と、
    処置具と、
    を備え、
    前記細径内視鏡は、
    チャネルが形成された細径内視鏡本体と、
    前記チャネルに対して取外し自在であり、照明光学系及び対物光学系を備える光学挿入具と、
    を有し、
    前記チャネルは、前記光学挿入具が取り外された場合に前記処置具が挿入自在となる細径内視鏡セット。
  4. 前記チャネルの内径が2.0mm以上であり、前記細径内視鏡の外径が5.9mm以下であることを特徴とする請求項3に記載の細径内視鏡セット。
  5. 前記細径内視鏡及び前記処置具の少なくとも一方は、先端側がワイヤーアクションによって屈曲可能とされていることを特徴とする請求項3に記載の細径内視鏡セット。
  6. 前記処置具は把持鉗子又は生検鉗子であることを特徴とする請求項3に記載の細径内視鏡セット。
  7. 前記処置具は先端にバルーンが接続された送気チューブからなることを特徴とする請求項3に記載の細径内視鏡セット。
  8. 記光学系挿入具は、光源として発光ダイオード又はレーザダイオードを備え、画像検出器として固体撮像素子を備えていることを特徴とする請求項3〜7の何れかに記載の細径内視鏡セット。
JP2009204714A 2008-09-05 2009-09-04 細径内視鏡及び細径内視鏡セット Expired - Fee Related JP5557237B2 (ja)

Priority Applications (1)

Application Number Priority Date Filing Date Title
JP2009204714A JP5557237B2 (ja) 2008-09-05 2009-09-04 細径内視鏡及び細径内視鏡セット

Applications Claiming Priority (3)

Application Number Priority Date Filing Date Title
JP2008228738 2008-09-05
JP2008228738 2008-09-05
JP2009204714A JP5557237B2 (ja) 2008-09-05 2009-09-04 細径内視鏡及び細径内視鏡セット

Publications (2)

Publication Number Publication Date
JP2010082435A JP2010082435A (ja) 2010-04-15
JP5557237B2 true JP5557237B2 (ja) 2014-07-23

Family

ID=42246953

Family Applications (1)

Application Number Title Priority Date Filing Date
JP2009204714A Expired - Fee Related JP5557237B2 (ja) 2008-09-05 2009-09-04 細径内視鏡及び細径内視鏡セット

Country Status (1)

Country Link
JP (1) JP5557237B2 (ja)

Families Citing this family (3)

* Cited by examiner, † Cited by third party
Publication number Priority date Publication date Assignee Title
CN102379727A (zh) * 2011-09-02 2012-03-21 王宝根 多功能活检钳
JP6031002B2 (ja) * 2013-07-01 2016-11-24 日本電信電話株式会社 端面観察装置
WO2022153913A1 (ja) * 2021-01-15 2022-07-21 テルモ株式会社 医療器具および管腔の治療方法

Family Cites Families (6)

* Cited by examiner, † Cited by third party
Publication number Priority date Publication date Assignee Title
JPS62272221A (ja) * 1986-05-21 1987-11-26 Olympus Optical Co Ltd 内視鏡插入補助具用アダプタ装置
JPH078447A (ja) * 1993-06-29 1995-01-13 Olympus Optical Co Ltd 内視鏡の自動挿入装置
JP3363853B2 (ja) * 1999-11-17 2003-01-08 株式会社日立製作所 処置具
DE602004015729D1 (de) * 2003-02-11 2008-09-25 Olympus Corp Überrohr
JP3787724B2 (ja) * 2003-10-14 2006-06-21 フジノン株式会社 内視鏡装置
JP2008048905A (ja) * 2006-08-24 2008-03-06 Olympus Medical Systems Corp 内視鏡装置

Also Published As

Publication number Publication date
JP2010082435A (ja) 2010-04-15

Similar Documents

Publication Publication Date Title
US12484764B2 (en) Medical device kit with endoscope accessory
CN100473328C (zh) 内窥镜
JP3806934B2 (ja) 内視鏡システム
EP2330986B1 (en) Endoscopic suturing device
EP3461391B1 (en) Insertion assisting tool for endoscope
EP2136696B1 (en) Endoscopic apparatus having an outer rail
JP5437300B2 (ja) 内視鏡用挿入補助具
JP4500015B2 (ja) 内視鏡用オーバーチューブ
EP2394565A1 (en) Medical system
JP2008067725A (ja) 内視鏡の外部鉗子チャンネル装置
JP2009528899A (ja) 放射状溝を有する内視鏡カテーテル器具
JP5496140B2 (ja) 内視鏡用挿入補助具
JP5469115B2 (ja) ダブルオーバーチューブ
JP5557237B2 (ja) 細径内視鏡及び細径内視鏡セット
JP2005334475A (ja) 内視鏡
CN120076751A (zh) 具有集成器械的医疗装置以及相关的方法
US20250248588A1 (en) Systems and methods for medical device intubation
JP2010178934A (ja) 処置用内視鏡
JP5415746B2 (ja) 内視鏡システム
JP5030449B2 (ja) 内視鏡挿入補助具
WO2021176570A1 (ja) 内視鏡システム、および内視鏡の操作方法
US20220354515A1 (en) Endoscopic side snare tools and methods for use
JP3567723B2 (ja) 斜視内視鏡の処置具挿通チャンネル
JP2018175225A (ja) 内視鏡システム
CN118510437A (zh) 用于机器人内窥镜轴的系统和方法

Legal Events

Date Code Title Description
A521 Request for written amendment filed

Free format text: JAPANESE INTERMEDIATE CODE: A523

Effective date: 20090909

A621 Written request for application examination

Free format text: JAPANESE INTERMEDIATE CODE: A621

Effective date: 20120830

A977 Report on retrieval

Free format text: JAPANESE INTERMEDIATE CODE: A971007

Effective date: 20130704

A131 Notification of reasons for refusal

Free format text: JAPANESE INTERMEDIATE CODE: A131

Effective date: 20130723

A521 Request for written amendment filed

Free format text: JAPANESE INTERMEDIATE CODE: A523

Effective date: 20130913

RD01 Notification of change of attorney

Free format text: JAPANESE INTERMEDIATE CODE: A7421

Effective date: 20140401

RD01 Notification of change of attorney

Free format text: JAPANESE INTERMEDIATE CODE: A7421

Effective date: 20140407

TRDD Decision of grant or rejection written
A01 Written decision to grant a patent or to grant a registration (utility model)

Free format text: JAPANESE INTERMEDIATE CODE: A01

Effective date: 20140502

A61 First payment of annual fees (during grant procedure)

Free format text: JAPANESE INTERMEDIATE CODE: A61

Effective date: 20140528

R150 Certificate of patent or registration of utility model

Ref document number: 5557237

Country of ref document: JP

Free format text: JAPANESE INTERMEDIATE CODE: R150

R250 Receipt of annual fees

Free format text: JAPANESE INTERMEDIATE CODE: R250

R250 Receipt of annual fees

Free format text: JAPANESE INTERMEDIATE CODE: R250

R250 Receipt of annual fees

Free format text: JAPANESE INTERMEDIATE CODE: R250

R250 Receipt of annual fees

Free format text: JAPANESE INTERMEDIATE CODE: R250

LAPS Cancellation because of no payment of annual fees