JP5545708B2 - Step passage - Google Patents

Step passage Download PDF

Info

Publication number
JP5545708B2
JP5545708B2 JP2009186320A JP2009186320A JP5545708B2 JP 5545708 B2 JP5545708 B2 JP 5545708B2 JP 2009186320 A JP2009186320 A JP 2009186320A JP 2009186320 A JP2009186320 A JP 2009186320A JP 5545708 B2 JP5545708 B2 JP 5545708B2
Authority
JP
Japan
Prior art keywords
slope
passage
sub
main
step surface
Prior art date
Legal status (The legal status is an assumption and is not a legal conclusion. Google has not performed a legal analysis and makes no representation as to the accuracy of the status listed.)
Active
Application number
JP2009186320A
Other languages
Japanese (ja)
Other versions
JP2011038307A (en
Inventor
一郎 與那原
Original Assignee
ジャパン スチールス グループ株式会社
Priority date (The priority date is an assumption and is not a legal conclusion. Google has not performed a legal analysis and makes no representation as to the accuracy of the date listed.)
Filing date
Publication date
Application filed by ジャパン スチールス グループ株式会社 filed Critical ジャパン スチールス グループ株式会社
Priority to JP2009186320A priority Critical patent/JP5545708B2/en
Publication of JP2011038307A publication Critical patent/JP2011038307A/en
Application granted granted Critical
Publication of JP5545708B2 publication Critical patent/JP5545708B2/en
Active legal-status Critical Current
Anticipated expiration legal-status Critical

Links

Images

Landscapes

  • Steps, Ramps, And Handrails (AREA)

Description

本発明は、段差部にフォークリフト等の車両を案内するスロープを形成するための段差通路に関する。   The present invention relates to a step passage for forming a slope for guiding a vehicle such as a forklift at a step portion.

土木作業や建築作業等の工事現場に種々の資材や土砂等の荷物を運搬する際には、トラックやフォークリフト等の車両が使用されている。このような工事現場に段差のある個所つまり段差部が存在すると、車両が円滑に走行することができないので、段差部には段差通路が敷設されることになる。段差通路としては、特許文献1に記載されるように、上面が幅方向に傾斜した傾斜スペーサや断面四角形の積層スペーサ等の複数の棒状のスペーサを組み立てて段差通路を形成するようにした組スロープがあり、スペーサの本数と組合せパターンを変更することにより、任意の高さの段差通路とすることができる。また、一輪車を用いて作業者が土砂や資材を運搬する際に、段差部を作業者が通過するために、特許文献2に記載されるようにネジ部材により布板の傾斜角度を変更することができるようにした段差通路がある。   Vehicles such as trucks and forklifts are used to transport various materials and earth and sand cargo to construction sites such as civil engineering work and construction work. If there is a stepped portion, that is, a stepped portion in such a construction site, the vehicle cannot smoothly travel, and therefore a stepped passage is laid in the stepped portion. As the step passage, as described in Patent Document 1, a set slope in which a step passage is formed by assembling a plurality of rod-shaped spacers such as an inclined spacer whose upper surface is inclined in the width direction or a laminated spacer having a square cross section. By changing the number of spacers and the combination pattern, it is possible to form a step passage having an arbitrary height. Moreover, when an operator carries earth and sand and materials using a unicycle, in order for an operator to pass a level | step-difference part, changing the inclination angle of a cloth board with a screw member as described in patent document 2 There is a step passage that can be used.

特開2003−3634号公報JP 2003-3634 A 特開2005−207145号公報JP 2005-207145 A

土木工事現場等に設置される段差通路は作業が終了すれば段差通路は撤去されることになるので、段差通路は作業者による敷設作業と撤去作業とが容易に行い得るものであることが望ましい。上述のように、傾斜スペーサや積層スペーサ等の複数種類のスペーサを組み合わせるようにすると、1つのスペーサの重量を作業者が手作業で運搬することができるので、段差通路の敷設作業と撤去作業を容易に行うことができる。   Since the step passage installed at the civil engineering construction site etc. will be removed when the work is completed, it is desirable that the step passage can be easily laid and removed by the operator. . As described above, when a plurality of types of spacers such as inclined spacers and laminated spacers are combined, the weight of one spacer can be manually transported by an operator, so that the steps for laying and removing the step passages can be performed. It can be done easily.

しかしながら、車両が走行するための段差通路にあっては、段差通路の幅を車両の幅に対応した幅寸法に設定することは不要である。なぜならば、車両の左右の車輪間の空間に対応する部分には段差通路を敷設することが不要だからである。一方、特許文献2に記載されるように、ネジ部材により布板の傾斜角度を変更するようにしたタイプの段差通路は作業者の走行には適しているが、重量の嵩む車両を案内させるには強度不足となる。   However, in the step passage for the vehicle to travel, it is not necessary to set the width of the step passage to a width dimension corresponding to the width of the vehicle. This is because it is not necessary to install a step passage in a portion corresponding to the space between the left and right wheels of the vehicle. On the other hand, as described in Patent Document 2, a stepped passage of a type in which the inclination angle of the cloth plate is changed by a screw member is suitable for an operator's travel, but to guide a heavy vehicle. Becomes insufficient in strength.

そのため、車両を走行させるための段差通路にあっては、段差通路を構成する部材の強度を高める必要があることから、比較的重量の大きな部材を用いており、作業者の手作業による敷設作業と撤去作業が困難なことから、クレーンを使用して敷設作業と撤去作業とが行われている。   Therefore, in the step passage for driving the vehicle, it is necessary to increase the strength of the members constituting the step passage. Therefore, a relatively heavy member is used, and the laying work is performed manually by the operator. Since the removal work is difficult, laying work and removal work are performed using a crane.

本発明の目的は、車両を走行させる段差通路を作業者の手作業によって容易に敷設作業と撤去作業とを行い得るようにすることにある。   An object of the present invention is to make it possible to easily perform a laying operation and a removal operation of a step passage for running a vehicle by an operator's manual operation.

本発明の段差通路は、複数台を幅方向に連結した状態として下段面とこれよりも高い上段面との間に敷設され、車両の車輪を案内する段差通路であって、基端部に前記下段面に固定される固定片が設けられ、先端部の下面に前記下段面に支持される支持支柱が固定されたメインスロープと、前記メインスロープの先端に基端部において回動自在に連結され、先端部が前記上段面に当接する当接部が形成されたサブスロープと、相互に幅方向に隣り合って配置される複数の前記メインスロープにおける前記支持支柱を相互に連結し、1組の通路組立体を組み立てる連結棒材と、を有し、前記車両の前記車輪幅よりも大きい幅となるように複数個連結して前記下段面と前記上段面との間に敷設することを特徴とする。 The step passage of the present invention is a step passage that is laid between a lower step surface and an upper step surface higher than the lower step surface in a state where a plurality of vehicles are connected in the width direction, and guides the wheels of the vehicle. A fixed piece fixed to the lower step surface is provided, and a main slope in which a support column supported by the lower step surface is fixed to the lower surface of the distal end portion, and a distal end portion of the main slope is rotatably connected at the proximal end portion. The sub-slope in which the abutting portion with which the tip portion abuts on the upper surface is connected to the support struts in the plurality of main slopes arranged adjacent to each other in the width direction, and a set of A connecting bar for assembling a passage assembly, and a plurality of connecting rods are connected so as to have a width larger than the wheel width of the vehicle, and are laid between the lower step surface and the upper step surface. To do.

本発明の本発明の段差通路は、前記メインスロープと前記サブスロープとの間に連結される少なくとも1つの中間スロープを有し、前記中間スロープの先端部の下面に前記下段面に支持される支持支柱を固定し、前記サブスロープを前記メインスロープに対して前記中間スロープを介して連結することを特徴とする。本発明の段差通路は、前記中間スロープを前記メインスロープと前記サブスロープに対して取り外し自在に連結することを特徴とする。本発明の段差通路は、前記サブスロープの先端と前記上段面との間に配置される渡し板を前記サブスロープの先端に回動自在に装着することを特徴とする。 The step passage of the present invention has at least one intermediate slope connected between the main slope and the sub slope, and is supported by the lower step surface on the lower surface of the front end portion of the intermediate slope. the strut is fixed, it characterized by connecting via the intermediate slope the sub slope with respect to the main slope. The step passage according to the present invention is characterized in that the intermediate slope is detachably connected to the main slope and the sub slope. The step passage according to the present invention is characterized in that a transfer plate disposed between the tip of the sub slope and the upper step surface is rotatably mounted on the tip of the sub slope.

本発明によれば、複数の段差通路を幅方向に連結することによって通路組立体を形成するようにし、段差通路はメインスロープとこれに回動自在に連結されるサブスロープとを有するので、段差部の高さが相違しても、メインスロープを下段面に固定し、サブスロープを上段面に固定することにより、確実に車両走行用の通路を形成することができる。車両走行用の通路を複数の段差通路を連結して形成するようにしたので、1台の段差通路の重量を軽量化することができ、手作業により段差通路を運搬することができる。特に、1台の段差通路を相互に分離自在とすることにより、段差通路を構成するメインスロープとサブスロープとを手作業により容易に運搬することができる。これにより、車両を走行させる段差通路を作業者の手作業によって容易に敷設作業と撤去作業とを行うことができる。   According to the present invention, a passage assembly is formed by connecting a plurality of step passages in the width direction, and the step passage has a main slope and a sub-slope that is rotatably connected to the main slope. Even if the heights of the portions are different, the main slope is fixed to the lower step surface, and the sub slope is fixed to the upper step surface, so that a passage for traveling the vehicle can be surely formed. Since the passage for driving the vehicle is formed by connecting a plurality of stepped passages, the weight of one stepped passage can be reduced, and the stepped passages can be transported manually. In particular, by making one step passage separable from each other, the main slope and the sub slope constituting the step passage can be easily transported manually. As a result, it is possible to easily perform the laying work and the removal work of the step passage for running the vehicle by the manual work of the operator.

メインスロープとサブスロープとを少なくとも1つの中間スロープにより連結するようにすると、段差通路を長くしてその傾斜角度を小さくすることができる。   When the main slope and the sub slope are connected by at least one intermediate slope, the step passage can be lengthened and the inclination angle can be reduced.

本発明の一実施の形態である段差通路を複数個連結して段差部に敷設した状態を示す斜視図である。It is a perspective view which shows the state which connected the several level | step difference channel | path which is one embodiment of this invention, and was laid in the level | step-difference part. 図1に示された段差通路を示す平面図である。It is a top view which shows the level | step difference channel | path shown by FIG. 図2の正面図である。FIG. 3 is a front view of FIG. 2. 図3における4−4線断面図である。FIG. 4 is a sectional view taken along line 4-4 in FIG. (A)は本発明の他の実施の形態である段差通路を示す平面図であり、(B)は(A)の正面図である。(A) is a top view which shows the level | step difference channel | path which is other embodiment of this invention, (B) is a front view of (A). 図5(B)における6部の拡大正面図である。FIG. 6 is an enlarged front view of 6 parts in FIG. 図5(A)における7部の拡大平面図である。FIG. 6 is an enlarged plan view of part 7 in FIG.

以下、本発明の実施の形態を図面に基づいて詳細に説明する。図1〜図4は、本発明の一実施の形態である段差通路を示す。図1に示されるように、段差通路10は下段面11とこれより高い上段面12とを有する段差部13に敷設され、トラックやフォークリフト等の作業用車両を下段面11と上段面12との間で案内するために使用される。図1に示されるように、段差通路10は複数台が相互に幅方向に連結された状態で段差部13に敷設される。図1においては、連結された段差通路10の幅寸法が車両の左右それぞれの車輪の幅よりも大きい幅となるように、3台の段差通路10を連結して1組の通路組立体10Aが組み立てられており、車両の左右の車輪に対応させて2組の通路組立体10Aが段差部13に敷設された状態が図1に示されている。   Hereinafter, embodiments of the present invention will be described in detail with reference to the drawings. 1 to 4 show a step passage according to an embodiment of the present invention. As shown in FIG. 1, the step passage 10 is laid on a step portion 13 having a lower step surface 11 and an upper step surface 12 higher than this, and a work vehicle such as a truck or a forklift is connected between the lower step surface 11 and the upper step surface 12. Used to guide between. As shown in FIG. 1, the step passage 10 is laid on the step portion 13 in a state where a plurality of step passages 10 are connected to each other in the width direction. In FIG. 1, one set of passage assemblies 10A is formed by connecting three step passages 10 so that the width dimension of the connected step passages 10 is larger than the widths of the left and right wheels of the vehicle. FIG. 1 shows a state in which two sets of passage assemblies 10A are laid on the stepped portion 13 in correspondence with the left and right wheels of the vehicle.

このように、複数台の段差通路10により通路組立体10Aを形成するようにすると、各々の段差通路10の重量を作業者が手作業により運搬することができる重量に軽量化することができ、クレーン等の重機を使用することなく、段差通路10の敷設作業と撤去作業とを手作業により行うことができる。図1においては、通路組立体10Aを3台の段差通路10により形成するようにしているが、2台または4台の段差通路10によって通路組立体10Aを形成するようにしても良い。段差通路10の連結台数を増加することによって、相互に車幅が相違する複数種類の車両を通路組立体10Aの上を走行させることができる。   Thus, when the passage assembly 10A is formed by a plurality of stepped passages 10, the weight of each stepped passage 10 can be reduced to a weight that an operator can carry manually, Without using heavy equipment such as a crane, the laying operation and the removal operation of the step passage 10 can be performed manually. In FIG. 1, the passage assembly 10 </ b> A is formed by three step passages 10, but the passage assembly 10 </ b> A may be formed by two or four step passages 10. By increasing the number of connected stepped passages 10, a plurality of types of vehicles having different vehicle widths can be run on the passage assembly 10A.

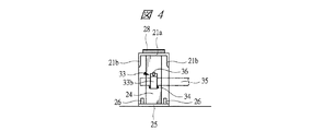
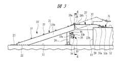
段差通路10は、図1〜図4に示されるように、メインスロープ21を有している。このメインスロープ21は、図4に示されるように、断面コの字形状の型鋼材により形成されており、上面壁21aとこれの左右両側に一体となった側壁21bを有し、例えば、幅寸法は20cm程度、長さ寸法は100cm程度となっている。したがって、3台の段差通路10を幅方向に連結すると、左右に所定の間隔を隔てて60cm幅の通路組立体10Aを段差部13に敷設することができる。ただし、各々の段差通路10の幅寸法を図示する場合よりも狭くすれば、1台の段差通路10をより軽量化することができる。   The step passage 10 has a main slope 21 as shown in FIGS. As shown in FIG. 4, the main slope 21 is formed of a steel material having a U-shaped cross section. The main slope 21 has an upper surface wall 21a and side walls 21b integrated on the left and right sides thereof. The dimension is about 20 cm, and the length dimension is about 100 cm. Therefore, when three step passages 10 are connected in the width direction, a passage assembly 10A having a width of 60 cm can be laid on the step portion 13 at a predetermined interval on the left and right. However, if the width dimension of each step passage 10 is made narrower than shown in the figure, one step passage 10 can be made lighter.

メインスロープ21の基端部の左右側壁には、図3に示されるように、下段面11に当接するように切欠き部22が形成されており、基端部には外方に突出する固定片23が設けられている。この固定片23には取付孔23aが形成されており、この取付孔23aには下段面11に取り付けられるピンやボルト等の締結具が貫通するようになっている。この締結具によりメインスロープ21は下段面11に固定される。メインスロープ21の先端部の下面には四角形の型鋼材からなる支持支柱24が固定されており、支持支柱24の下端部に設けられたフランジ部25には、図1に示されるように、下段面11に取り付けられるピンやボルト等の締結具26が貫通する取付孔25aが形成されている。   As shown in FIG. 3, notches 22 are formed on the left and right side walls of the base end portion of the main slope 21 so as to contact the lower step surface 11, and the base end portion is fixed to protrude outward. A piece 23 is provided. An attachment hole 23a is formed in the fixed piece 23, and a fastener such as a pin or a bolt attached to the lower step surface 11 passes through the attachment hole 23a. The main slope 21 is fixed to the lower surface 11 by this fastener. A support column 24 made of a square shaped steel material is fixed to the lower surface of the front end portion of the main slope 21, and a flange portion 25 provided at the lower end of the support column 24 has a lower stage as shown in FIG. An attachment hole 25a through which a fastener 26 such as a pin or bolt attached to the surface 11 passes is formed.

メインスロープ21の先端には、ヒンジ28を介してサブスロープ27が回動自在に連結されている。サブスロープ27はメインスロープ21と同一幅寸法の断面コの字形状の型鋼材により形成されており、上面壁27aとこれの左右両側に一体となった側壁27bを有し、長さ寸法は40〜50cm程度となっている。ヒンジ28はメインスロープ21の先端部にねじ固定される回動板28aとこれにピンを介して連結されサブスロープ27の基端部にねじ固定される回動板28bとを有しており、サブスロープ27はその基端部においてヒンジ28を介してメインスロープ21の先端に回動自在に連結されている。サブスロープ27の先端部の側壁27bには、図3に示されるように、上段面12の角部に当接する当接部29が形成されており、メインスロープ21と上段面12との間にはサブスロープ27が掛け渡されることになる。   A sub slope 27 is rotatably connected to the tip of the main slope 21 via a hinge 28. The sub-slope 27 is formed by a steel material having a U-shaped cross section having the same width as that of the main slope 21, and has an upper surface wall 27 a and side walls 27 b integrated on both the left and right sides thereof, and the length dimension is 40 It is about 50 cm. The hinge 28 has a rotating plate 28a screwed to the distal end portion of the main slope 21 and a rotating plate 28b connected to this via a pin and screwed to the base end portion of the sub slope 27. The sub-slope 27 is rotatably connected to the distal end of the main slope 21 via a hinge 28 at the base end portion. As shown in FIG. 3, an abutting portion 29 that abuts on a corner portion of the upper step surface 12 is formed on the side wall 27 b of the tip portion of the sub slope 27, and between the main slope 21 and the upper step surface 12. Sub-slope 27 is passed over.

サブスロープ27は、メインスロープ21に対して回動自在となっているので、図3において実線で示すように、ほぼ水平状態となって上段面12に掛け渡される状態と、図3において二点鎖線で示すように上向きに傾斜した状態となって上段面12に掛け渡される状態とのいずれにも設定される。これにより、段差部13の高さが相違しても、段差通路10を下段面11と上段面12との間に敷設することができる。サブスロープ27は、ヒンジ28によりメインスロープ21に取り付けられているので、ヒンジ28からサブスロープ27を取り外すことにより、任意の長さのサブスロープ27をメインスロープ21に連結することができる。   Since the sub slope 27 is rotatable with respect to the main slope 21, as shown by a solid line in FIG. As shown by the chain line, it is set in any of the state where it is inclined upward and is stretched over the upper surface 12. Thereby, even if the height of the step portion 13 is different, the step passage 10 can be laid between the lower step surface 11 and the upper step surface 12. Since the sub slope 27 is attached to the main slope 21 by the hinge 28, the sub slope 27 having an arbitrary length can be connected to the main slope 21 by removing the sub slope 27 from the hinge 28.

サブスロープ27の先端部にはヒンジ28と同様の部材からなる渡し片31が取り付けられており、この渡し片31はサブスロープ27の先端部にねじ固定される回動板31aとこれにピンを介して連結され上段面12に固定される回動板31bとを有しており、サブスロープ27の先端と上段面12との間には渡し片31が配置されることになる。回動板31bには、図2に示されるように、上段面12に取り付けられるピンやボルト等の締結具が貫通する取付孔32が形成されており、渡し片31を締結具により上段面12に固定することにより、サブスロープ27は上段面12に固定される。これにより、上段面12とサブスロープ27との間を円滑に車両が走行することができる。   A transfer piece 31 made of the same member as the hinge 28 is attached to the tip of the sub-slope 27. The transfer piece 31 has a rotating plate 31a screwed to the tip of the sub-slope 27 and a pin attached thereto. And a rotation plate 31 b that is connected to the upper stage surface 12. The transfer piece 31 is disposed between the tip of the sub slope 27 and the upper stage surface 12. As shown in FIG. 2, the rotating plate 31 b is formed with an attachment hole 32 through which a fastener such as a pin or a bolt attached to the upper surface 12 passes, and the transfer piece 31 is attached to the upper surface 12 by the fastener. The sub slope 27 is fixed to the upper stage surface 12 by fixing to the upper surface 12. Thus, the vehicle can smoothly travel between the upper stage surface 12 and the sub slope 27.

支持支柱24には、図3および図4に示されるように、締結部材としてのクランプ部材33が取り付けられており、このクランプ部材33は支持支柱24に固定される固定ピース33aと、これに対してヒンジ34を介して回動自在に装着される回動ピース33bとを有している。固定ピース33aと回動ピース33bには、連結棒材35が入り込む凹面が形成されており、固定ピース33aと回動ピース33bの先端部とをねじ部材36により締結することによって、クランプ部材33により連結棒材35が締結される。これにより、図1に示すように、3台の段差通路10を連結棒材35により相互に連結することによって、1組の通路組立体10Aが組み立てられることになる。メインスロープ21とサブスロープ27の上面壁21a,27aには、棒状の滑り止め金具37が幅方向に伸びてそれぞれ固定されている。   As shown in FIGS. 3 and 4, a clamp member 33 as a fastening member is attached to the support column 24, and the clamp member 33 has a fixed piece 33 a fixed to the support column 24, And a pivot piece 33b that is pivotably mounted via a hinge 34. The fixed piece 33a and the rotating piece 33b are formed with a concave surface into which the connecting bar 35 is inserted. By fastening the fixed piece 33a and the tip of the rotating piece 33b with the screw member 36, the clamp member 33 The connecting bar 35 is fastened. As a result, as shown in FIG. 1, a set of passage assemblies 10 </ b> A is assembled by connecting the three stepped passages 10 to each other by the connecting bar 35. On the upper surface walls 21a and 27a of the main slope 21 and the sub slope 27, rod-shaped anti-slip fittings 37 are extended and fixed in the width direction, respectively.

このように、複数台の段差通路10を連結棒材35により連結することにより通路組立体10Aが組み立てられるようになっており、各々の段差通路10は作業者が手作業により運搬することができる重量に設定されている。したがって、3台の段差通路10をそれぞれ手作業により段差部13に配置した状態のもとで、連結棒材35により段差通路10を相互に連結するとともに、固定片23の取付孔23aに締結具を貫通させて下段面11に固定片23を固定し、支持支柱24のフランジ部25の取付孔25aに締結具26を貫通させて下段面11に支持支柱を固定する。これにより、3台の段差通路10からなる通路組立体10Aが段差部13を跨ぐようにして下段面11と上段面12との間に敷設されることになる。渡し片31は取付孔32を貫通する締結具により上段面12に固定することができるが、段差通路10のメインスロープ21が支持支柱24と固定片23の部分で下段面11に固定されているので、取付強度は十分であり、渡し片31は必要に応じて上段面12に締結される。一方、敷設された段差通路10を取り外す際には、それぞれの締結具を取り外すとともに、連結棒材35を取り外すことにより段差通路10を撤去することができる。   In this way, the passage assembly 10A is assembled by connecting a plurality of stepped passages 10 with the connecting bar 35, and each stepped passage 10 can be transported manually by an operator. Set to weight. Accordingly, the stepped passages 10 are connected to each other by the connecting bar 35 in a state where the three stepped passages 10 are manually disposed in the stepped portions 13, and the fasteners are attached to the mounting holes 23 a of the fixing pieces 23. And the fixing piece 23 is fixed to the lower step surface 11, and the fastener 26 is passed through the mounting hole 25 a of the flange portion 25 of the support column 24 to fix the support column to the lower step surface 11. As a result, the passage assembly 10 </ b> A including the three step passages 10 is laid between the lower step surface 11 and the upper step surface 12 so as to straddle the step portion 13. The transfer piece 31 can be fixed to the upper step surface 12 by a fastener that passes through the mounting hole 32, but the main slope 21 of the step passage 10 is fixed to the lower step surface 11 at portions of the support column 24 and the fixing piece 23. Therefore, the mounting strength is sufficient, and the transfer piece 31 is fastened to the upper surface 12 as necessary. On the other hand, when removing the laid stepped passage 10, the stepped passage 10 can be removed by removing the respective fasteners and removing the connecting bar 35.

複数台の段差通路10を連結棒材35により連結するために、それぞれの支持支柱24には固定ピース33aと回動ピース33bとを有するクランプ部材33が設けられているが、連結棒材35を支持支柱24にねじ結合されるボルトにより締結するようにしても良い。その場合には、支持支柱24には締結部材としてクランプ部材33に代えてナットが設けられることになる。   In order to connect the plurality of stepped passages 10 with the connecting bar 35, each support column 24 is provided with a clamp member 33 having a fixed piece 33 a and a rotating piece 33 b. You may make it fasten with the volt | bolt couple | bonded with the support support | pillar 24 with a screw. In this case, the support strut 24 is provided with a nut instead of the clamp member 33 as a fastening member.

図5〜図7は、本発明の他の実施の形態である段差通路10aを示しており、この段差通路10aにおいては、上述した段差通路10を構成する部材と共通する部材には同一の符号が付されている。   FIGS. 5-7 has shown the level | step difference channel | path 10a which is other embodiment of this invention, In this level | step difference channel | path 10a, the same code | symbol is used for the member which is common in the member which comprises the level | step difference channel | path 10 mentioned above. Is attached.

この段差通路10aは、メインスロープ21とサブスロープ27とに加えて2つの中間スロープ41,42を有しており、2つの中間スロープ41,42を介してメインスロープ21とサブスロープ27とが連結されている。このように、段差通路10aをメインスロープ21と2つの中間スロープ41,42とサブスロープ27とにより形成することによって、段差部13の高さが図1に示す場合と同一の場合でも、段差通路10aの全長を長くして全体の傾斜角度を小さい角度とすることができる。   The step passage 10 a includes two intermediate slopes 41 and 42 in addition to the main slope 21 and the sub slope 27, and the main slope 21 and the sub slope 27 are connected via the two intermediate slopes 41 and 42. Has been. As described above, the step passage 10a is formed by the main slope 21, the two intermediate slopes 41 and 42, and the sub slope 27, so that the step passage is provided even when the height of the step portion 13 is the same as that shown in FIG. It is possible to lengthen the entire length of 10a and make the entire inclination angle a small angle.

段差通路10aは全長が長くなるので、中間スロープ41,42は連結部40により相互に取り外し自在に連結され、中間スロープ41とメインスロープ21は連結部40により相互に取り外し自在に連結されており、中間スロープ42とサブスロープ27は連結部40により相互に取り外し自在に連結されている。メインスロープ21等の幅寸法は、それぞれ上述した段差通路10と同様に20cm程度となっているのに対し、長さ寸法はメインスロープ21が約170cm、中間スロープ41,42が約125cm、サブスロープ27が約80cmとなっており、段差通路10よりも長い寸法となっている。しかしながら、段差通路10aを構成する4つのスロープがそれぞれ連結部40を介して相互に取り外し自在つまり分離自在となっているので、4つのスロープのそれぞれを作業者は手作業で運搬することができる。   Since the step passage 10a has a long overall length, the intermediate slopes 41 and 42 are detachably connected to each other by the connecting portion 40, and the intermediate slope 41 and the main slope 21 are detachably connected to each other by the connecting portion 40. The intermediate slope 42 and the sub slope 27 are detachably connected to each other by a connecting portion 40. The width dimension of the main slope 21 and the like is about 20 cm in the same manner as the step passage 10 described above, while the length dimension is about 170 cm for the main slope 21 and about 125 cm for the intermediate slopes 41 and 42, and the sub slope. 27 is about 80 cm, which is longer than the step passage 10. However, since the four slopes constituting the step passage 10a are detachable, that is, separable from each other via the connecting portion 40, the operator can carry each of the four slopes manually.

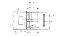
図6および図7は、メインスロープ21と中間スロープ41の連結部40を示す拡大図であり、メインスロープ21の先端部の側壁21bは上面壁21aよりも突出しており、突出した左右の側壁21bの間には連結ピン43が配置されている。この連結ピン43は支持支柱24に固定されたブラケット44を貫通してブラケット44に固定されている。一方、中間スロープ41の基端部には、外側のアングル材45が固定され、このアングル材45には内側のアングル材46が固定されており、対をなす両方のアングル材45,46により連結ピン43が収容される収容溝47が形成されている。それぞれのアングル材45,46は、ブラケット44を介してメインスロープ21の幅方向両側に一対ずつ2対設けられている。   6 and 7 are enlarged views showing the connecting portion 40 of the main slope 21 and the intermediate slope 41. The side wall 21b at the tip of the main slope 21 protrudes from the upper surface wall 21a, and the left and right side walls 21b that protrude. A connecting pin 43 is disposed between them. The connecting pin 43 passes through the bracket 44 fixed to the support column 24 and is fixed to the bracket 44. On the other hand, an outer angle member 45 is fixed to the base end portion of the intermediate slope 41, and an inner angle member 46 is fixed to the angle member 45. The angle members 45 and 46 are connected to each other. An accommodation groove 47 for accommodating the pin 43 is formed. Two pairs of each of the angle members 45 and 46 are provided on both sides in the width direction of the main slope 21 via the bracket 44.

したがって、メインスロープ21に対して上側から中間スロープ41を下降移動させると、収容溝47内に連結ピン43が入り込み、連結ピン43を介してメインスロープ21と中間スロープ41は相互に連結される。この連結作業は段差通路10aを組み立てる現場において行うことができる。幅方向一方側のアングル材45,46には収容溝47を横断するようにロックピン48が取り外し自在に装着されるようになっており、これを取り付けることにより連結ピン43が収容溝47から外れるのが防止される。   Therefore, when the intermediate slope 41 is moved downward from the upper side with respect to the main slope 21, the connection pin 43 enters the housing groove 47, and the main slope 21 and the intermediate slope 41 are connected to each other via the connection pin 43. This connection operation can be performed at the site where the step passage 10a is assembled. A lock pin 48 is detachably attached to the angle members 45, 46 on one side in the width direction so as to cross the accommodation groove 47, and the connecting pin 43 is detached from the accommodation groove 47 by attaching this. Is prevented.

図6および図7は、メインスロープ21と中間スロープ41とを取り外し自在に連結するための連結部40の構造を示すが、中間スロープ41の先端部と中間スロープ42の基端部にも同様の構造の連結部40が設けられており、中間スロープ42の先端部とサブスロープ27の基端部にも同様の構造の連結部40が設けられている。したがって、中間スロープ41の先端部には連結ピン43が設けられ、中間スロープ42の先端部にも連結ピン43が設けられている。   6 and 7 show the structure of the connecting portion 40 for detachably connecting the main slope 21 and the intermediate slope 41. The same applies to the distal end portion of the intermediate slope 41 and the proximal end portion of the intermediate slope 42. A connecting portion 40 having a structure is provided, and a connecting portion 40 having a similar structure is also provided at the distal end portion of the intermediate slope 42 and the proximal end portion of the sub slope 27. Therefore, the connecting pin 43 is provided at the tip of the intermediate slope 41, and the connecting pin 43 is also provided at the tip of the intermediate slope 42.

中間スロープ41の先端部にはこれを下段面11に支持するための支持支柱51が取り付けられており、同様に中間スロープ42の先端部にはこれを下段面11に支持するための支持支柱52が取り付けられている。中間スロープ42の先端部と下段面11との間の高さは、中間スロープ41の先端部と下段面11との間の高さよりも高いので、支持支柱52の下側にはスペーサ53が取り付けられている。これにより、同一長さの型鋼材を用いることにより、支持支柱51,52を形成することができる。ただし、中間スロープ42の支持支柱52としては、スペーサ53を含めた長さの型鋼材を使用するようにしても良い。   A support column 51 for supporting the intermediate slope 41 on the lower step surface 11 is attached to the front end portion of the intermediate slope 41. Similarly, a support column 52 for supporting this on the lower step surface 11 is attached to the front end portion of the intermediate slope 42. Is attached. Since the height between the tip of the intermediate slope 42 and the lower step surface 11 is higher than the height between the tip of the intermediate slope 41 and the lower step surface 11, a spacer 53 is attached to the lower side of the support column 52. It has been. Thereby, the support struts 51 and 52 can be formed by using the same length steel material. However, as the support struts 52 of the intermediate slope 42, a length steel material including the spacer 53 may be used.

支持支柱51,52には、上述したクランプ部材33と同一構造のクランプ部材33が取り付けられており、このクランプ部材33により連結棒材35を締結することによって、例えば、3台の段差通路10aを連結し、図1に示した場合と同様にして段差部13に敷設される。幅方向に隣り合う他の段差通路10aの支持支柱51,52を相互に連結棒材35により連結する方式としては、上述のように、連結棒材35をボルトにより支持支柱51,52に連結するようにしても良く、その場合には支持支柱51,52にはボルトがねじ結合されるナットが締結部材として設けられることになる。   A clamp member 33 having the same structure as the above-described clamp member 33 is attached to the support columns 51 and 52. By fastening the connecting bar 35 with the clamp member 33, for example, three step passages 10a are formed. It connects and is laid in the level | step-difference part 13 similarly to the case shown in FIG. As a method of connecting the supporting struts 51 and 52 of the other step passages 10a adjacent in the width direction to each other by the connecting bar 35, the connecting bar 35 is connected to the supporting struts 51 and 52 by bolts as described above. In this case, nuts to which bolts are screwed are provided as fastening members on the support columns 51 and 52.

中間スロープ41,42とサブスロープ27には、図5に示されるように、取手54が取り付けられており、これらを運搬するときには作業者は取手54の部分で把持することになる。   As shown in FIG. 5, a handle 54 is attached to the intermediate slopes 41 and 42 and the sub-slope 27, and an operator grips the intermediate slopes 41 and 42 and the sub slope 27 at the handle 54 portion.

段差通路10aを段差部13に敷設するには、メインスロープ21を下段面11の上に配置し、メインスロープ21の先端部に中間スロープ41の基端部を連結する。次いで、中間スロープ41の先端部に中間スロープ42の基端部を連結し、中間スロープ42の先端部にサブスロープ27の基端部を連結する。これにより、1台の段差通路10aが組み立てられ、同様にして他の2台の段差通路10aを組み立てる。次いで、それぞれの段差通路10aを締結具により下段面11と上段面12に締結するとともに、3台の段差通路10aの中間スロープ41を連結棒材35により相互に連結し、中間スロープ42を他の連結棒材35により相互に連結する。このようにして、3台の段差通路10aからなる通路組立体が組み立てられる。通路組立体は図1に示すように車両の左右両輪に対応させて2組段差部13に敷設される。   In order to lay the step passage 10 a in the step portion 13, the main slope 21 is disposed on the lower step surface 11, and the base end portion of the intermediate slope 41 is connected to the distal end portion of the main slope 21. Next, the proximal end portion of the intermediate slope 42 is connected to the distal end portion of the intermediate slope 41, and the proximal end portion of the sub slope 27 is connected to the distal end portion of the intermediate slope 42. Thus, one step passage 10a is assembled, and the other two step passages 10a are assembled in the same manner. Next, the respective step passages 10a are fastened to the lower step surface 11 and the upper step surface 12 by fasteners, the intermediate slopes 41 of the three step passages 10a are connected to each other by the connecting bar 35, and the intermediate slopes 42 are connected to other steps. They are connected to each other by a connecting bar 35. In this manner, a passage assembly composed of the three step passages 10a is assembled. As shown in FIG. 1, the passage assembly is laid on the two sets of stepped portions 13 so as to correspond to the left and right wheels of the vehicle.

図5および図6に示す段差通路10aは、2つの中間スロープ41,42をメインスロープ21とサブスロープ27との間に配置するようにしているが、段差部13の高さに応じて1つの中間スロープを有する形態、3つあるいはそれ以上の中間スロープを有する形態のいずれにも設定される。3つの中間スロープが用いられる場合には、中間スロープ42の先端に連結される中間スロープの支持支柱には図5(B)に示されるスペーサ53よりも高さの高いスペーサが使用される。   In the step passage 10a shown in FIGS. 5 and 6, two intermediate slopes 41 and 42 are arranged between the main slope 21 and the sub slope 27, but one step depending on the height of the step portion 13. It is set to any of a form having an intermediate slope and a form having three or more intermediate slopes. When three intermediate slopes are used, a spacer having a height higher than that of the spacer 53 shown in FIG. 5B is used for a support column of the intermediate slope connected to the tip of the intermediate slope 42.

中間スロープ41,42を用いることなく、メインスロープ21に対して直接サブスロープ27を連結すると、図1〜図4に示した形態の段差通路10となる。ただし、メインスロープ21とサブスロープ27とを連結する連結部の構造は段差通路10とは相違することになる。   When the sub slope 27 is directly connected to the main slope 21 without using the intermediate slopes 41 and 42, the step passage 10 having the form shown in FIGS. However, the structure of the connecting portion that connects the main slope 21 and the sub slope 27 is different from the step passage 10.

本発明は前記実施の形態に限定されるものではなく、その要旨を逸脱しない範囲で種々変更可能である。例えば、図1〜図4に示す段差通路10においても、メインスロープ21とサブスロープ27とを図6および図7に示す連結部40により分離自在に連結するようにしても良い。また、段差通路10aのメインスロープ21、中間スロープ41,42およびサブスロープ27に、図2および図3に示した滑り止め金具37を取り付けるようにしても良い。   The present invention is not limited to the above-described embodiment, and various modifications can be made without departing from the scope of the invention. For example, in the step passage 10 shown in FIGS. 1 to 4, the main slope 21 and the sub slope 27 may be detachably connected by the connecting portion 40 shown in FIGS. 6 and 7. Moreover, you may make it attach the anti-slip | skid metal fitting 37 shown in FIG.2 and FIG.3 to the main slope 21, the intermediate slopes 41 and 42, and the sub slope 27 of the level | step difference channel | path 10a.

10,10a 段差通路
10A 通路組立体
11 下段面
12 上段面
13 段差部
21 メインスロープ
23 固定片
24 支持支柱
25 フランジ部
26 締結具
27 サブスロープ
28 ヒンジ
29 当接部
31 渡し片
33 クランプ部材
34 ヒンジ
35 連結棒材
36 ねじ部材
40 連結部
41,42 中間スロープ
43 連結ピン
44 ブラケット
45,46 アングル材
47 収納溝
48 ロックピン
51,52 支持支柱
54 取手
10, 10a Step passage 10A Passage assembly 11 Lower step surface 12 Upper step surface 13 Step portion 21 Main slope 23 Fixing piece 24 Support post 25 Flange portion 26 Fastener 27 Sub slope 28 Hinge 29 Contact portion 31 Transfer piece 33 Clamp member 34 Hinge 35 connecting rod 36 screw member 40 connecting portion 41, 42 intermediate slope 43 connecting pin 44 bracket 45, 46 angle member 47 storage groove 48 lock pin 51, 52 support column 54 handle

Claims (4)

複数台を幅方向に連結した状態として下段面とこれよりも高い上段面との間に敷設され、車両の車輪を案内する段差通路であって、
基端部に前記下段面に固定される固定片が設けられ、先端部の下面に前記下段面に支持される支持支柱が固定されたメインスロープと、
前記メインスロープの先端に基端部において回動自在に連結され、先端部が前記上段面に当接する当接部が形成されたサブスロープと、
相互に幅方向に隣り合って配置される複数の前記メインスロープにおける前記支持支柱を相互に連結し、1組の通路組立体を組み立てる連結棒材と、を有し、
前記車両の前記車輪幅よりも大きい幅となるように複数個連結して前記下段面と前記上段面との間に敷設することを特徴とする段差通路。
A step passage laid between a lower step surface and an upper step surface higher than the lower step surface in a state where a plurality of vehicles are connected in the width direction, and guides the wheels of the vehicle,
A main slope in which a fixed piece fixed to the lower step surface is provided at the base end portion, and a support column supported by the lower step surface is fixed to the lower surface of the distal end portion;
A sub-slope that is pivotally connected to a distal end of the main slope at a proximal end portion, and a distal portion is formed with a contact portion that contacts the upper surface;
A connecting bar for connecting the support struts in the plurality of main slopes arranged adjacent to each other in the width direction and assembling a set of passage assemblies;
A step passage, wherein a plurality of the steps are connected so as to have a width larger than the wheel width of the vehicle and are laid between the lower step surface and the upper step surface.
請求項1記載の段差通路において、前記メインスロープと前記サブスロープとの間に連結される少なくとも1つの中間スロープを有し、前記中間スロープの先端部の下面に前記下段面に支持される支持支柱を固定し、前記サブスロープを前記メインスロープに対して前記中間スロープを介して連結することを特徴とする段差通路。   2. The support column according to claim 1, comprising at least one intermediate slope connected between the main slope and the sub slope, and supported by the lower step surface on a lower surface of a tip portion of the intermediate slope. And the sub-slope is connected to the main slope via the intermediate slope. 請求項記載の段差通路において、前記中間スロープを前記メインスロープと前記サブスロープに対して取り外し自在に連結することを特徴とする段差通路。 3. The step passage according to claim 2 , wherein the intermediate slope is detachably connected to the main slope and the sub slope. 請求項1〜3のいずれか1項に記載の段差通路において、前記サブスロープの先端と前記上段面との間に配置される渡し板を前記サブスロープの先端に回動自在に装着することを特徴とする段差通路。   In the level | step difference channel | path of any one of Claims 1-3, attaching the transfer board arrange | positioned between the front-end | tip of the said subslope and the said upper step surface to the front-end | tip of the said subslope so that rotation is possible. A characteristic step passage.
JP2009186320A 2009-08-11 2009-08-11 Step passage Active JP5545708B2 (en)

Priority Applications (1)

Application Number Priority Date Filing Date Title
JP2009186320A JP5545708B2 (en) 2009-08-11 2009-08-11 Step passage

Applications Claiming Priority (1)

Application Number Priority Date Filing Date Title
JP2009186320A JP5545708B2 (en) 2009-08-11 2009-08-11 Step passage

Publications (2)

Publication Number Publication Date
JP2011038307A JP2011038307A (en) 2011-02-24
JP5545708B2 true JP5545708B2 (en) 2014-07-09

Family

ID=43766336

Family Applications (1)

Application Number Title Priority Date Filing Date
JP2009186320A Active JP5545708B2 (en) 2009-08-11 2009-08-11 Step passage

Country Status (1)

Country Link
JP (1) JP5545708B2 (en)

Cited By (1)

* Cited by examiner, † Cited by third party
Publication number Priority date Publication date Assignee Title
KR102061323B1 (en) * 2019-07-12 2019-12-31 홍영광 Slope way for module

Families Citing this family (7)

* Cited by examiner, † Cited by third party
Publication number Priority date Publication date Assignee Title
JP6266572B2 (en) * 2015-08-28 2018-01-24 株式会社 シコク Slope device
JP2017198060A (en) * 2016-02-08 2017-11-02 ジー・オー・ピー株式会社 Slope device
JP6522541B2 (en) * 2016-03-31 2019-05-29 株式会社 シコク Slope device
JP6769128B2 (en) * 2016-06-21 2020-10-14 株式会社大林組 Shield tunnel lining and segments used for lining
KR101871371B1 (en) * 2018-01-10 2018-06-26 (주)상지엔지니어링건축사사무소 Stairs apparatus for building
JP6830711B1 (en) * 2020-09-24 2021-02-17 株式会社伸光リース Girder support device
JP7687678B2 (en) * 2021-11-02 2025-06-03 ジャパン スチールス グループ株式会社 Protective cover

Family Cites Families (4)

* Cited by examiner, † Cited by third party
Publication number Priority date Publication date Assignee Title
JP3375463B2 (en) * 1995-07-28 2003-02-10 和則 春田 Retractable slope
JPH11247464A (en) * 1998-02-27 1999-09-14 Sekisui Chem Co Ltd Construction stand and building construction method
JP4163153B2 (en) * 2004-07-09 2008-10-08 大一機材工業株式会社 Scaffold for construction
JP2008045382A (en) * 2006-08-11 2008-02-28 Hiroaki Sugiyama Step slope

Cited By (1)

* Cited by examiner, † Cited by third party
Publication number Priority date Publication date Assignee Title
KR102061323B1 (en) * 2019-07-12 2019-12-31 홍영광 Slope way for module

Also Published As

Publication number Publication date
JP2011038307A (en) 2011-02-24

Similar Documents

Publication Publication Date Title
JP5545708B2 (en) Step passage
US8376439B2 (en) Paneled deck assembly for transporter vehicle
US11407623B2 (en) Configurable lift system
JP3177555U (en) Assembling staircase
JP2011140802A (en) Construction machine
CN112298224B (en) Operation vehicle for track beam
EP2915771B1 (en) Forklift head-guard structure
EP3609740A1 (en) Device for supporting a two-wheeled vehicle on a structural part
KR100367028B1 (en) A self propelled working platform for construction and maintenance of bridge
JP5159926B2 (en) Parking block
CN215904477U (en) Movable and easy-to-install rail conveyor
JP5260346B2 (en) Moving shelf and its underframe
CN210113165U (en) Crawler belt shield and crawler belt excavator
KR20100067788A (en) The equipment to change the fork length
JP7208532B2 (en) Prefabricated temporary staircase
JP2003055905A (en) Footboard for temporary road mat
JP2003252184A (en) Travel assisting device
US20240116577A1 (en) High Clearance Floorboards for an All Terrain Vehicle (ATV)
JP7687678B2 (en) Protective cover
CN214929691U (en) Material transportation device is used in road and bridge construction
CN223030874U (en) Vehicle access ladder installed on the side of the spare wheel bracket
JPH09112041A (en) Moving safety net
US20080050183A1 (en) Slide rail panel pushing assembly
JP7557353B2 (en) Wheeled work vehicle
JP4133177B2 (en) Bicycle parking device cable routing structure

Legal Events

Date Code Title Description
A621 Written request for application examination

Free format text: JAPANESE INTERMEDIATE CODE: A621

Effective date: 20120802

A977 Report on retrieval

Free format text: JAPANESE INTERMEDIATE CODE: A971007

Effective date: 20130628

A131 Notification of reasons for refusal

Free format text: JAPANESE INTERMEDIATE CODE: A131

Effective date: 20130702

A521 Request for written amendment filed

Free format text: JAPANESE INTERMEDIATE CODE: A523

Effective date: 20130830

TRDD Decision of grant or rejection written
A01 Written decision to grant a patent or to grant a registration (utility model)

Free format text: JAPANESE INTERMEDIATE CODE: A01

Effective date: 20140507

A61 First payment of annual fees (during grant procedure)

Free format text: JAPANESE INTERMEDIATE CODE: A61

Effective date: 20140508

R150 Certificate of patent or registration of utility model

Ref document number: 5545708

Country of ref document: JP

Free format text: JAPANESE INTERMEDIATE CODE: R150

R250 Receipt of annual fees

Free format text: JAPANESE INTERMEDIATE CODE: R250

R250 Receipt of annual fees

Free format text: JAPANESE INTERMEDIATE CODE: R250

R250 Receipt of annual fees

Free format text: JAPANESE INTERMEDIATE CODE: R250

R250 Receipt of annual fees

Free format text: JAPANESE INTERMEDIATE CODE: R250

R250 Receipt of annual fees

Free format text: JAPANESE INTERMEDIATE CODE: R250

R250 Receipt of annual fees

Free format text: JAPANESE INTERMEDIATE CODE: R250

R250 Receipt of annual fees

Free format text: JAPANESE INTERMEDIATE CODE: R250

R250 Receipt of annual fees

Free format text: JAPANESE INTERMEDIATE CODE: R250

R250 Receipt of annual fees

Free format text: JAPANESE INTERMEDIATE CODE: R250