JP5524895B2 - Toilet handrail - Google Patents

Toilet handrail Download PDF

Info

Publication number
JP5524895B2
JP5524895B2 JP2011088321A JP2011088321A JP5524895B2 JP 5524895 B2 JP5524895 B2 JP 5524895B2 JP 2011088321 A JP2011088321 A JP 2011088321A JP 2011088321 A JP2011088321 A JP 2011088321A JP 5524895 B2 JP5524895 B2 JP 5524895B2
Authority
JP
Japan
Prior art keywords
handrail
armrest
toilet
grip
flipped
Prior art date
Legal status (The legal status is an assumption and is not a legal conclusion. Google has not performed a legal analysis and makes no representation as to the accuracy of the status listed.)
Active
Application number
JP2011088321A
Other languages
Japanese (ja)
Other versions
JP2012217718A (en
Inventor
三郎 仁木
茂元 林
Original Assignee
協立工業株式会社
池島工業株式会社
Priority date (The priority date is an assumption and is not a legal conclusion. Google has not performed a legal analysis and makes no representation as to the accuracy of the date listed.)
Filing date
Publication date
Application filed by 協立工業株式会社, 池島工業株式会社 filed Critical 協立工業株式会社
Priority to JP2011088321A priority Critical patent/JP5524895B2/en
Publication of JP2012217718A publication Critical patent/JP2012217718A/en
Application granted granted Critical
Publication of JP5524895B2 publication Critical patent/JP5524895B2/en
Active legal-status Critical Current
Anticipated expiration legal-status Critical

Links

Images

Landscapes

  • Toilet Supplies (AREA)

Description

この発明は、既設の洋風便器(以下、便器という。)に取り付けることで、足腰の弱い老人の用便動作を助けることのできる便器用手摺、特に、車椅子からの乗り移り動作が円滑に行える便器用手摺に関する。   The present invention relates to a handrail for a toilet bowl that can be attached to an existing Western-style toilet bowl (hereinafter referred to as a toilet bowl) to assist the operation of an elderly person with weak legs, particularly for a toilet bowl that can be smoothly transferred from a wheelchair. Regarding handrails.

既設の便器に取り付ける便器用手摺としては、例えば、図13に示すようなものがある。この便器用手摺70は、同図に示すように、床に設置された便器Aの左右両側に配設される一対のベースフレーム71、71と、それぞれのベースフレーム71、71の後方側に立設された起立部材72、72と、この起立部材72、72の上端部にそれぞれ支持された手摺部材73、73と、一対の起立部材72、72を、相互に連結する連結部材74と、便器Aの両側部を挟み込む一対の挟持部材75、75とを備えている。   An example of a handrail for a toilet attached to an existing toilet is shown in FIG. As shown in the figure, the toilet handrail 70 is provided with a pair of base frames 71, 71 disposed on the left and right sides of the toilet A installed on the floor, and on the rear side of the respective base frames 71, 71. Standing members 72, 72 provided, handrail members 73, 73 supported on the upper ends of the standing members 72, 72, a connecting member 74 for mutually connecting the pair of standing members 72, 72, and a toilet A pair of clamping members 75 and 75 that sandwich both sides of A are provided.

前記起立部材72、72の上端部には、手摺部材73、73を支持するための支持部材がそれぞれ固定されていると共に、手摺部材73、73には、その支持部材に回転可能に支持される被支持部材73aがそれぞれ固定されており、手摺部材73、73は、同図に二点鎖線で示すように、後方側に跳ね上げることができるようになっている。   Support members for supporting the handrail members 73 and 73 are fixed to the upper end portions of the upright members 72 and 72, respectively, and the handrail members 73 and 73 are rotatably supported by the support members. The supported members 73a are respectively fixed, and the handrail members 73 and 73 can be flipped up to the rear side as indicated by a two-dot chain line in FIG.

従って、車椅子に座った足腰の弱い老人等が用便を行う際は、便器Aの片側に車椅子を移動し、車椅子に近いほうの手摺部材73を跳ね上げて移動空間を確保した状態で、車椅子から便器Aに乗り移ることになる。   Therefore, when an elderly person with weak legs sitting in a wheelchair performs a stool, the wheelchair is moved to one side of the toilet A, and the handrail member 73 closer to the wheelchair is flipped up to secure a movement space. Will transfer to toilet A.

特開2009−45196号公報JP 2009-45196 A

しかしながら、車椅子に座った足腰の弱い老人等が、車椅子から上述したような便器用手摺70を取り付けた便器Aに乗り移る際、手摺部材73を跳ね上げて移動空間を確保すると、便器Aに乗り移る途中で体を支えたい場合は、跳ね上げた手摺部材73に手をかけて体を支えなければならず、安定した状態で体を支えることができないので、別の意味で乗り移りにくくなるといった新たな問題が発生する。   However, when an elderly person with weak legs sitting in a wheelchair moves from the wheelchair to the toilet A to which the above-described toilet handrail 70 is attached, if the handrail member 73 is flipped up to secure a moving space, the transfer to the toilet A is in progress. If you want to support the body with a hand, you have to support the body by putting your hand on the raised handrail member 73 and cannot support the body in a stable state, so it is difficult to transfer in another sense. Will occur.

そこで、この発明の課題は、手摺部材を跳ね上げた状態で便器に乗り移る際、安定した状態で体を支えることができる便器用手摺を提供することにある。   Then, the subject of this invention is providing the handrail for toilet bowls which can support a body in the stable state, when transferring to a toilet bowl in the state which raised the handrail member.

上記の課題を解決するため、請求項1に係る発明は、洋風便器の左右両側に起立する一対の起立部材を有する本体部と、先端部を後方側に跳ね上げ可能に、前記起立部材の上端部に取り付けられた肘掛けを有する手摺部材と、前記本体部に取り付けられ、前記本体部を前記洋風便器に固定する固定部材と、前記手摺部材を、所定の跳ね上げ位置でロックするロック手段とを備えた便器用手摺において、前記手摺部材は、前記肘掛けに連設された、肘掛け位置に位置している前記肘掛けの下面から下方側に突出するグリップを有しており、前記グリップは、前記肘掛けを所定の跳ね上げ位置まで跳ね上げたときに、略水平状態で前方側に張り出すようになっており、前記肘掛けを所定の跳ね上げ位置まで跳ね上げた状態で、用便者が前記グリップを掴むことによって自分の体を支えることができるように構成されていることを特徴とする便器用手摺を提供するものである。 In order to solve the above-mentioned problem, the invention according to claim 1 is directed to a main body having a pair of upright members standing on both the left and right sides of the Western-style toilet, and an upper end of the upright member so that the tip can be flipped up backward. A handrail member having an armrest attached to a portion, a fixing member attached to the main body portion and fixing the main body portion to the Western-style toilet, and a locking means for locking the handrail member at a predetermined flip-up position. In the handrail for a toilet bowl provided, the handrail member has a grip that is provided continuously with the armrest and protrudes downward from a lower surface of the armrest that is positioned at the armrest position, and the grip includes the armrest When the arm is flipped up to a predetermined flip-up position, it is projected to the front side in a substantially horizontal state. That is configured to be able to support their body by grasping the is to provide a toilet bowl handrail according to claim.

以上のように、請求項1に係る発明の便器用手摺は、手摺部材が、肘掛けに連設されたグリップを有しており、車椅子に座った足腰の弱い老人等が、手摺部材を跳ね上げた状態で、車椅子から便器に乗り移る際、グリップを掴んで体を支えることができるので、跳ね上げた肘掛けに直接手をかけて体を支える場合に比べて、安定した状態で体を支えることができ、便器に乗り移りやすいという効果が得られる。 As described above, in the handrail for a toilet according to the first aspect, the handrail member has a grip connected to the armrest, and an elderly person with weak legs sitting on a wheelchair jumps up the handrail member. When you transfer from a wheelchair to a toilet, you can support the body by grasping the grip so that you can support the body in a more stable state than when you support the body by directly placing your hand on the raised armrest It is possible to obtain an effect that it is easy to transfer to the toilet.

また、グリップが、肘掛け位置に位置している肘掛けの下面に連設されており掛けを所定の跳ね上げ位置まで跳ね上げたときに、グリップが略水平状態で前方側に張り出すようになっているので、便器に乗り移ろうとしている老人等がグリップを掴みやすくなるという効果が得られる。 Also, grip, are continuously provided on the lower surface of the armrest located in the armrest position, when flipped up the elbow hook up to a predetermined flip-up position, so as to project to the front side grip a substantially horizontal state Therefore, it is possible to obtain an effect that it becomes easy for an elderly person or the like who is going to transfer to the toilet bowl to grasp the grip.

この発明に係る便器用手摺の設置状態を示す斜視図である。It is a perspective view which shows the installation state of the handrail for toilet bowls concerning this invention. 同上の便器用手摺の設置状態を示す正面図である。It is a front view which shows the installation state of the handrail for toilet bowl same as the above. 同上の便器用手摺の設置状態を示す平面図である。It is a top view which shows the installation state of the handrail for toilet bowl same as the above. 同上の便器用手摺の設置状態を示す側面図である。It is a side view which shows the installation state of the handrail for toilet bowl same as the above. 同上の便器用手摺の固定部材を示す詳細図である。It is detail drawing which shows the fixing member of the handrail for toilet bowl same as the above. 同上の便器用手摺の肘掛けを跳ね上げた状態を示す部分拡大側面図である。It is a partial expanded side view which shows the state which raised the armrest of the handrail for toilet bowl same as the above. 図6のX−X線に沿った断面図である。It is sectional drawing along the XX line of FIG. (a)は同上の便器用手摺における被支持部材を示す側面図、(b)は同上の便器用手摺における支持部材を示す側面図である。(A) is a side view which shows the to-be-supported member in the handrail for toilet bowl same as the above, (b) is a side view which shows the support member in the handrail for toilet bowl same as the above. (a)は同上の便器用手摺における肘掛けを肘掛け位置に降ろしたときの案内孔及び長孔と係止軸との関係を説明するための説明図、(b)は同上の便器用手摺における肘掛けを所定の跳ね上げ位置まで跳ね上げたときの案内孔及び長孔と係止軸との関係を説明するための説明図である。(A) is explanatory drawing for demonstrating the relationship between a guide hole and a long hole, and a locking axis | shaft when the armrest in the handrail for toilet bowl same as the above is lowered to an armrest position, (b) is an armrest in the handrail for toilet bowl same as the above. It is explanatory drawing for demonstrating the relationship between a guide hole and a long hole, and a latching shaft when raising to a predetermined flip-up position. 同上の肘掛けを所定の跳ね上げ位置まで跳ね上げた状態を示す斜視図である。It is a perspective view which shows the state which raised the armrest same as the above to the predetermined flip-up position. 同上の肘掛けを所定の跳ね上げ位置まで跳ね上げた状態を示す側面図である。It is a side view which shows the state which raised the armrest same as the above to the predetermined flip-up position. 同上の肘掛けを所定の跳ね上げ位置まで跳ね上げた状態を示す平面図である。It is a top view which shows the state which raised the armrest same as the above to the predetermined flip-up position. 従来の便器用手摺の設置状態を示す斜視図である。It is a perspective view which shows the installation state of the conventional handrail for toilet bowls.

以下、実施の形態について図面を参照して説明する。図1〜図4に示すように、この便器用手摺1は、便所の床に固定設置された便器Aの床固定部aの両側部に沿うように配設される、扁平な金属製の角パイプからなる左右一対のベース部材10と、各ベース部材10にそれぞれ立設された左右一対の起立部材20と、左右一対の起立部材20を相互に連結する連結部材30と、連結部材30に取り付けられた左右一対の固定部材40と、先端部を後方側に跳ね上げ可能に、各起立部材20の上端部にそれぞれ支持された左右一対の手摺部材50とを備えており、左右一対の手摺部材50は、ロック手段によって、略垂直に立ち上がった所定の跳ね上げ位置でロックされるようになっている。   Hereinafter, embodiments will be described with reference to the drawings. As shown in FIGS. 1 to 4, the toilet handrail 1 is a flat metal corner disposed along both sides of a floor fixing part a of a toilet A fixedly installed on the floor of a toilet. A pair of left and right base members 10 made of pipes, a pair of left and right upright members 20 erected on each base member 10, a connecting member 30 that connects the pair of left and right upright members 20 to each other, and attachment to the connecting member 30 A pair of left and right handrail members, and a pair of left and right handrail members 50 respectively supported by the upper end portions of the upright members 20 so that the tip portion can be flipped up to the rear side. 50 is locked at a predetermined flip-up position that rises substantially vertically by the locking means.

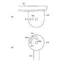
前記起立部材20は、上端側が僅かに内側(便器A側)に傾斜した状態でベース部材10の後部側に固着された金属製の角パイプからなる下部支柱21と、この下部支柱21にその上端側から差し込まれて、下部支柱21内を上下にスライドする金属製の角パイプからなる上部支柱22とから構成されており、この上部支柱22の上端部に手摺部材50を回動可能に支持するための支持部材23が固定されている。   The upright member 20 has a lower column 21 made of a metal square pipe fixed to the rear side of the base member 10 with its upper end side slightly inclined inward (toiletboard A side), and an upper end of the lower column 21 on its upper end. The upper column 22 is composed of a metal square pipe that is inserted from the side and slides up and down in the lower column 21. A handrail member 50 is rotatably supported on the upper end of the upper column 22. A support member 23 is fixed.

また、下部支柱21の前面には複数のボルト挿通孔21aが上下に形成されており、いずれかのボルト挿通孔21aに通したノブボルト20Aを、上部支柱22の下部前面に形成されたねじ孔(図示せず)にねじ込んで締め付けることにより、上部支柱22を所定の高さに段階的に固定することができるようになっている。   Also, a plurality of bolt insertion holes 21 a are formed vertically on the front surface of the lower support column 21, and a knob bolt 20 </ b> A passed through any one of the bolt insertion holes 21 a is screw holes ( The upper support column 22 can be fixed to a predetermined height in a stepwise manner by screwing and tightening it (not shown).

前記連結部材30は、左右一対の起立部材20、20を構成している下部支柱21、21から内側に張り出すように、下部支柱21、21の後面における中間高さ位置にそれぞれ固着された、便器Aの幅方向に延びる左右一対の直線部31、31と、両端部が左右一対の直線部31、31における内端側の前面にそれぞれ連設された、便器Aにおける床固定部aの前端上部を取り囲むように、中央部を略U字状に屈曲させた屈曲部32とから構成されており、直線部31は金属製の角パイプによって、屈曲部32は金属製の丸パイプによってそれぞれ形成されている。   The connecting member 30 is fixed to an intermediate height position on the rear surface of the lower struts 21, 21 so as to project inward from the lower struts 21, 21 constituting the pair of left and right standing members 20, 20. A pair of left and right straight portions 31, 31 extending in the width direction of the toilet bowl A, and a front end of the floor fixing portion a in the toilet bowl A, both ends of which are connected to the front surface on the inner end side of the pair of left and right straight portions 31, 31 respectively. The center part is comprised from the bending part 32 bent in the substantially U shape so that the upper part may be surrounded, and the linear part 31 is formed with a metal square pipe, and the bending part 32 is formed with a metal round pipe, respectively. Has been.

前記連結部材30の各直線部31には、それぞれの外端側から、各直線部31内を左右にスライドする金属製の角パイプからなる可動アーム33が差し込まれており、各直線部31の内端には、合成樹脂製のキャップがそれぞれ装着されている。   A movable arm 33 made of a metal square pipe that slides left and right in each linear portion 31 is inserted into each linear portion 31 of the connecting member 30 from each outer end side. Synthetic resin caps are respectively attached to the inner ends.

各可動アーム33、33は、その先端部が閉塞されており、閉塞された先端部にねじ孔が形成されていると共に、そのねじ孔に、便所の壁面に当接して押圧する押圧部材35が進退可能にねじ込まれている。   Each movable arm 33, 33 is closed at its tip, a screw hole is formed at the closed tip, and a pressing member 35 that presses against the wall of the toilet is pressed into the screw hole. It is screwed so that it can move forward and backward.

各直線部31の後面には、左右方向に延びる長孔(図示せず)が形成されており、この長孔に通したノブボルト34を、可動アーム33の内端後面に形成されたねじ孔(図示せず)にねじ込んで締め付けることにより、長孔の長さの範囲内で各可動アーム33を任意の位置に固定することができるようになっている。   A long hole (not shown) extending in the left-right direction is formed on the rear surface of each linear portion 31, and a knob bolt 34 that passes through the long hole is formed into a screw hole formed on the rear surface of the inner end of the movable arm 33 ( Each movable arm 33 can be fixed at an arbitrary position within the range of the length of the long hole by being screwed and tightened (not shown).

前記固定部材40は、図1〜図5に示すように、連結部材30の直線部31、31の外端部に立設された支持脚41、41と、この支持脚41、41の上端部にそれぞれ固着され、内側に向かって斜め上方に立ち上がる一対の固定アーム42、42と、それぞれの固定アーム42にその上端から差し込まれて、上下方向にスライドする可動アーム43、43と、各可動アーム43、43の先端に取り付けられ、便器Aの湾曲した上部外表面bに当接して押圧する押圧部45とから構成されており、前記固定アーム42及び可動アーム43は、金属製の角パイプによって形成されている。   As shown in FIGS. 1 to 5, the fixing member 40 includes support legs 41, 41 erected on the outer ends of the straight portions 31, 31 of the connecting member 30, and upper ends of the support legs 41, 41. A pair of fixed arms 42 and 42 that are fixed to each other and rise obliquely upward toward the inside, movable arms 43 and 43 that are inserted into the respective fixed arms 42 from their upper ends and slide in the vertical direction, and each movable arm 43 and 43, and is composed of a pressing portion 45 that abuts and presses against the curved upper outer surface b of the toilet bowl A, and the fixed arm 42 and the movable arm 43 are made of metal square pipes. Is formed.

また、固定アーム42の上面には上下方向に延びる長孔42aが形成されており、この長孔42aに通したノブボルト44を、可動アーム43の下端部に形成されたねじ孔(図示せず)にねじ込んで締め付けることにより、長孔42aの長さの範囲内で可動アーム43を任意の位置に固定することができるようになっている。   A long hole 42 a extending in the vertical direction is formed on the upper surface of the fixed arm 42, and a knob bolt 44 passed through the long hole 42 a is a screw hole (not shown) formed in the lower end portion of the movable arm 43. The movable arm 43 can be fixed at an arbitrary position within the range of the length of the long hole 42a by being screwed into and tightened.

前記押圧部45は、同図に示すように、可動アーム43の上端に取り付けられたアジャスタ46と、このアジャスタ46に取り付けられた自在アタッチメント47とから構成されている。   As shown in the figure, the pressing portion 45 includes an adjuster 46 attached to the upper end of the movable arm 43 and a free attachment 47 attached to the adjuster 46.

前記アジャスタ46は、可動アーム43の上端に形成されたネジ孔(図示せず)にねじ込まれる全ネジボルト46aと、この全ネジボルト46aに固定された、全ネジボルト46aを回転させるための回転操作部46bとから構成されており、回転操作部46bを回転させることで、全ネジボルト46aが回転しながら進退し、自在アタッチメント47が、固定アーム42の延びだし方向に進退するようになっている。   The adjuster 46 includes an entire screw bolt 46a that is screwed into a screw hole (not shown) formed at the upper end of the movable arm 43, and a rotation operation unit 46b that is fixed to the entire screw bolt 46a and rotates the entire screw bolt 46a. By rotating the rotation operation portion 46b, all the screw bolts 46a advance and retract while rotating, and the free attachment 47 advances and retracts in the extending direction of the fixed arm 42.

前記自在アタッチメント47は、自在継手を介してアジャスタ46に取り付けられており、図5に二点鎖線で示すように、便器Aの上部外表面bの湾曲状態に応じて、ある程度の自由度を持ってその接触角度を調整できるようになっている。   The universal attachment 47 is attached to the adjuster 46 through a universal joint, and has a certain degree of freedom according to the curved state of the upper outer surface b of the toilet bowl A as shown by a two-dot chain line in FIG. The contact angle can be adjusted.

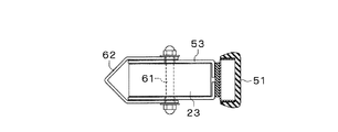
前記手摺部材50は、図1〜図4及び図6、図7に示すように、金属製のフレームに樹脂製のカバーを被せた肘掛け51と、この肘掛け51の下面から下方側に突出するように、フレームの長手方向の略中央部に連設されたグリップ52とを備えており、肘掛け51は、起立部材20の支持部材23を挟み込むように、フレームの後端部に連設された一対の被支持部材53を介して、支持部材23に回動可能に支持されている。   As shown in FIGS. 1 to 4, 6, and 7, the handrail member 50 protrudes downward from an armrest 51 in which a metal frame is covered with a resin cover, and a lower surface of the armrest 51. The arm 52 includes a pair of grips 52 that are connected to the rear end of the frame so as to sandwich the support member 23 of the upright member 20. The support member 23 is rotatably supported via the supported member 53.

前記ロック手段は、図7及び図8(a)、(b)に示すように、一対の被支持部材53に形成された長孔54と、この長孔54内を移動可能に長孔54に挿入される係止軸61と、支持部材23に形成された、係止軸61が移動可能に挿入される案内孔24と、それぞれの被支持部材53を挟み込むような状態で係止軸61の両端部に回動可能に連結された、先端がV字状に形成された操作部材62とから構成されている。   As shown in FIGS. 7 and 8A and 8B, the locking means includes a long hole 54 formed in a pair of supported members 53 and a long hole 54 that is movable in the long hole 54. The locking shaft 61 is inserted in a state where the locking shaft 61 is inserted, the guide hole 24 formed in the support member 23 into which the locking shaft 61 is movably inserted, and the supported members 53. It is comprised from the operation member 62 with which the front-end | tip was formed in the V shape, and was connected with the both ends so that rotation was possible.

前記支持部材23に形成された案内孔24は、手摺部材50の回動に伴って係止軸61が移動する円弧状の回動用孔部24aと、この回動用孔部24aの後端部から下方側に延びる直線状の係止用孔部24bとから構成されており、図9(a)、(b)に示すように、一対の被支持部材53に形成された長孔54に挿通されている係止軸61が、案内孔24における円弧状の回動用孔部24aの前端部と後端部との間を移動することで、手摺部材50が所定の肘掛け位置と跳ね上げ位置との間で回動するようになっている。   The guide hole 24 formed in the support member 23 includes an arcuate rotation hole portion 24a in which the locking shaft 61 moves as the handrail member 50 rotates, and a rear end portion of the rotation hole portion 24a. It is comprised from the linear locking hole 24b extended in the downward side, and is penetrated by the long hole 54 formed in a pair of supported member 53 as shown to Fig.9 (a), (b). The locking shaft 61 is moved between the front end portion and the rear end portion of the arcuate rotation hole portion 24a in the guide hole 24, so that the handrail member 50 has a predetermined armrest position and a flip-up position. It is designed to rotate between.

前記被支持部材53に形成された長孔54は、手摺部材50が所定の跳ね上げ位置まで回動したときに、同図(b)に示すように、その長手方向が上下方向を向いて、支持部材23に形成された案内孔24の係止用孔部24bに一致するようになっており、回動用孔部24aの後端部まで移動した係止軸61が、長孔54内を落下して案内孔24の係止用孔部24bに入り込むことで、支持部材23に対して被支持部材53が回転不能となり、これによって、手摺部材50がロックされるようになっている。   When the handrail member 50 is rotated to a predetermined flip-up position, the long hole 54 formed in the supported member 53 has its longitudinal direction facing the vertical direction as shown in FIG. The locking shaft 61 that has been moved to the rear end of the rotation hole 24a falls in the long hole 54 so as to coincide with the locking hole 24b of the guide hole 24 formed in the support member 23. Then, by entering the locking hole portion 24b of the guide hole 24, the supported member 53 cannot be rotated with respect to the support member 23, whereby the handrail member 50 is locked.

前記操作部材62は、図4に示すように、手摺部材50の肘掛け51が略水平の肘掛け位置において、V字状の先端部が下方側を向くような状態で垂下しているが、手摺部材50の肘掛け51を跳ね上げるに従って、被支持部材53の外縁に沿って持ち上がり、手摺部材50が所定の跳ね上げ位置でロックされたときは、図6に示すように、被支持部材53によって略水平状態に支持されるようになっており、その状態では、V字状の先端部に指をかけることができるようになっている。   As shown in FIG. 4, the operation member 62 hangs down with the armrest 51 of the handrail member 50 facing the lower side when the armrest 51 is in a substantially horizontal armrest position. As the armrest 51 of the 50 is flipped up, it is lifted along the outer edge of the supported member 53, and when the handrail member 50 is locked at the predetermined lifted position, as shown in FIG. In this state, a finger can be put on the V-shaped tip.

従って、手摺部材50が所定の跳ね上げ位置でロックされた状態で、V字状の先端部に指をかけて操作部材62を引き上げると、操作部材62が連結されている係止軸61が持ち上がり、案内孔24の係止用孔部24bから回動用孔部24a側に移動するので、手摺部材50のロックが解除され、手摺部材50を初期の肘掛け位置まで回動することができる状態となる。   Therefore, when the handrail member 50 is locked at the predetermined flip-up position, when the operating member 62 is pulled up by placing a finger on the V-shaped tip, the locking shaft 61 to which the operating member 62 is connected is lifted. Since the guide hole 24 moves from the locking hole 24b to the rotation hole 24a, the handrail member 50 is unlocked, and the handrail member 50 can be rotated to the initial armrest position. .

また、各ベース部材10の前後端には、それぞれの下面側に、高さ調整を行うためのアジャスタ11、11が取り付けられており、排水等を考慮して便所の床に傾斜が設けられている場合でも、それぞれのアジャスタ11、11によって部分的に高さ調整を行うことができるので、設置される便器用手摺1のがたつきをなくすことができる。   In addition, adjusters 11 and 11 for adjusting the height are attached to the front and rear ends of each base member 10 on the lower surface side, and the floor of the toilet is inclined in consideration of drainage and the like. Even if it exists, since height adjustment can be performed partially by each adjuster 11 and 11, the shakiness of the handrail 1 for toilet bowl installed can be eliminated.

以上のように、この便器用手摺1では、手摺部材50が、肘掛け51に連設されたグリップ52を有しているので、車椅子に座った足腰の弱い老人等が、手摺部材50を跳ね上げた状態で、車椅子から便器Aに乗り移る際、グリップ52を掴んで体を支えることができる。従って、跳ね上げた肘掛けに直接手をかけて体を支える場合に比べて、安定した状態で体を支えることができ、便器Aに乗り移りやすいという効果が得られる。   As described above, in the handrail 1 for the toilet bowl, the handrail member 50 has the grip 52 connected to the armrest 51. Therefore, an elderly person with weak legs sitting on a wheelchair jumps up the handrail member 50. In this state, when transferring from the wheelchair to the toilet A, the body can be supported by grasping the grip 52. Therefore, as compared with the case where the body is supported by directly placing a hand on the armrest that is flipped up, the body can be supported in a stable state, and the effect of being easily transferred to the toilet A can be obtained.

特に、この便器用手摺1では、肘掛け51を所定の跳ね上げ位置まで跳ね上げたときに、グリップ52が略水平状態で、しかも、前方側に張り出すことになるので、便器Aに乗り移ろうとしている老人等がグリップ52を掴みやすくなるという効果が得られる。   In particular, in the handrail 1 for the toilet bowl, when the armrest 51 is flipped up to a predetermined flip-up position, the grip 52 protrudes in a substantially horizontal state and further forwards. The effect that it becomes easy for the elderly and the like who are trying to grasp the grip 52 is obtained.

また、この便器用手摺1では、手摺部材50を所定の跳ね上げ位置まで跳ね上げるだけで、係止軸61が支持部材23に形成されている案内孔24の係止用孔部24bに入り込んで、手摺部材50が自動的に跳ね上げ状態にロックされるので、特別なロック操作を行う必要がない。従って、車椅子から老人等が便器Aに乗り移る際、跳ね上げた手摺部材50のグリップ52を掴んで体を支えても、手摺部材50が所定の跳ね上げ位置まで回動するといった不測の事態が発生することがなく、老人等が安心して便器Aに乗り移ることができる。   In the toilet handrail 1, the locking shaft 61 enters the locking hole portion 24 b of the guide hole 24 formed in the support member 23 only by lifting the handrail member 50 to a predetermined flip-up position. Since the handrail member 50 is automatically locked in the flip-up state, it is not necessary to perform a special locking operation. Therefore, when an elderly person or the like moves from the wheelchair to the toilet bowl A, an unforeseen situation occurs in which the handrail member 50 rotates to a predetermined flip-up position even if the body is supported by gripping the grip 52 of the handrail member 50 that is flipped up. This makes it possible for an elderly person or the like to transfer to the toilet A with a sense of security.

また、老人等が便座に着座した後は、操作部材62を引き上げることによって、案内孔24の係止用孔部24bに入り込んだ係止軸61を係止用孔部24bから持ち上げるだけで、手摺部材50のロックを簡単に解除することができるので、手摺部材50を即座に所定の肘掛け位置まで戻すことができる。   Further, after the elderly person or the like is seated on the toilet seat, the operating member 62 is pulled up to lift the locking shaft 61 that has entered the locking hole 24b of the guide hole 24 from the locking hole 24b. Since the lock of the member 50 can be easily released, the handrail member 50 can be immediately returned to a predetermined armrest position.

なお、上述した実施形態では、肘掛け51を構成している金属製のフレームの長手方向の略中央部にグリップ52が連設されているが、これに限定されるものではなく、グリップ52の取付位置は、肘掛け51を跳ね上げたときのグリップ52の高さ位置を考慮して適宜設定すればよい。   In the above-described embodiment, the grip 52 is connected to the substantially central portion in the longitudinal direction of the metal frame constituting the armrest 51. However, the present invention is not limited to this. The position may be appropriately set in consideration of the height position of the grip 52 when the armrest 51 is flipped up.

また、上述した実施形態では、肘掛け51の下面から下方側に突出するように、金属製のフレームにグリップ52を連設しているが、これに限定されるものではなく、肘掛け51の外側部から外側に突出するように、肘掛け51の側面にグリップを連設してもよい。   In the embodiment described above, the grip 52 is connected to the metal frame so as to protrude downward from the lower surface of the armrest 51. However, the present invention is not limited to this, and the outer portion of the armrest 51 is not limited thereto. A grip may be continuously provided on the side surface of the armrest 51 so as to protrude outward from the arm rest.

また、上述した実施形態では、手摺部材50を所定の跳ね上げ位置まで跳ね上げたときに、手摺部材50を自動的にロックするロック手段を採用しているが、これに限定されるものではなく、手摺部材を手動でロックするロック手段を採用することも可能である。具体的には、手摺部材を所定の跳ね上げ位置まで跳ね上げた状態で相互に一致するピン挿入孔を、起立部材の上端部に固定された支持部材及び手摺部材に固定された被支持部材にそれぞれ形成しておき、手摺部材を所定の跳ね上げ位置に跳ね上げた状態で、それらの一致したピン挿入孔にロックピン等を挿入することで、手摺部材を跳ね上げ状態にロックすること等が考えられる。   Further, in the above-described embodiment, the lock unit that automatically locks the handrail member 50 when the handrail member 50 is flipped up to a predetermined flip-up position is employed. However, the present invention is not limited to this. It is also possible to employ locking means for manually locking the handrail member. Specifically, pin insertion holes that coincide with each other in a state in which the handrail member is raised to a predetermined flip-up position are provided on the support member fixed to the upper end portion of the standing member and the supported member fixed to the handrail member. It is possible to lock the handrail member in the flipped-up state by inserting a lock pin or the like into the pin insertion holes that coincide with each other in the state where the handrail member is jumped up to a predetermined flip-up position. Conceivable.

本発明は既設の洋風便器用の手摺として利用することができる。   The present invention can be used as a handrail for an existing Western-style toilet.

1 便器用手摺
10 ベース部材
11 アジャスタ
20 起立部材
20A ノブボルト
21 下部支柱
21a ボルト挿通孔
22 上部支柱
23 支持部材
24 案内孔
24a 回動用孔部
24b 係止用孔部
30 連結部材
31 直線部
32 屈曲部
33 可動アーム
34 ノブボルト
35 押圧部材
40 固定部材
41 支持脚
42 固定アーム
43 可動アーム
44 ノブボルト
45 押圧部
46 アジャスタ
46a 全ネジボルト
46b 回転操作部
47 自在アタッチメント
50 手摺部材
51 肘掛け
52 グリップ
53 被支持部材
54 長孔
61 係止軸
62 操作部材
A 便器
a 床固定部
b 上部外表面
DESCRIPTION OF SYMBOLS 1 Handrail for toilet bowl 10 Base member 11 Adjuster 20 Standing member 20A Knob bolt 21 Lower column 21a Bolt insertion hole 22 Upper column 23 Support member 24 Guide hole 24a Rotating hole 24b Locking hole 30 Connecting member 31 Linear portion 32 Bending portion 33 movable arm 34 knob bolt 35 pressing member 40 fixed member 41 support leg 42 fixed arm 43 movable arm 44 knob bolt 45 pressing part 46 adjuster 46a full screw bolt 46b rotation operation part 47 free attachment 50 handrail member 51 armrest 52 grip 53 supported member 54 length Hole 61 Locking shaft 62 Operation member A Toilet a Floor fixing part b Upper outer surface

Claims (1)

洋風便器の左右両側に起立する一対の起立部材を有する本体部と、
先端部を後方側に跳ね上げ可能に、前記起立部材の上端部に取り付けられた肘掛けを有する手摺部材と、
前記本体部に取り付けられ、前記本体部を前記洋風便器に固定する固定部材と、
前記手摺部材を、所定の跳ね上げ位置でロックするロック手段と
を備えた便器用手摺において、
前記手摺部材は、前記肘掛けに連設された、肘掛け位置に位置している前記肘掛けの下面から下方側に突出するグリップを有しており、
前記グリップは、前記肘掛けを所定の跳ね上げ位置まで跳ね上げたときに、略水平状態で前方側に張り出すようになっており、
前記肘掛けを所定の跳ね上げ位置まで跳ね上げた状態で、用便者が前記グリップを掴むことによって自分の体を支えることができるように構成されていることを特徴とする便器用手摺。
A main body having a pair of standing members that stand on both the left and right sides of the western-style toilet;
A handrail member having an armrest attached to the upper end portion of the upright member so that the tip portion can be flipped up to the rear side;
A fixing member attached to the main body, and fixing the main body to the Western-style toilet;
In the handrail for toilet bowl provided with a lock means for locking the handrail member at a predetermined flip-up position,
The handrail member has a grip that protrudes downward from the lower surface of the armrest that is connected to the armrest and is located at the armrest position .
The grip protrudes forward in a substantially horizontal state when the armrest is flipped up to a predetermined flip-up position,
A handrail for a toilet, wherein the handrail is configured to be able to support his / her body by grasping the grip in a state where the armrest is flipped up to a predetermined flip-up position .
JP2011088321A 2011-04-12 2011-04-12 Toilet handrail Active JP5524895B2 (en)

Priority Applications (1)

Application Number Priority Date Filing Date Title
JP2011088321A JP5524895B2 (en) 2011-04-12 2011-04-12 Toilet handrail

Applications Claiming Priority (1)

Application Number Priority Date Filing Date Title
JP2011088321A JP5524895B2 (en) 2011-04-12 2011-04-12 Toilet handrail

Publications (2)

Publication Number Publication Date
JP2012217718A JP2012217718A (en) 2012-11-12
JP5524895B2 true JP5524895B2 (en) 2014-06-18

Family

ID=47269890

Family Applications (1)

Application Number Title Priority Date Filing Date
JP2011088321A Active JP5524895B2 (en) 2011-04-12 2011-04-12 Toilet handrail

Country Status (1)

Country Link
JP (1) JP5524895B2 (en)

Families Citing this family (3)

* Cited by examiner, † Cited by third party
Publication number Priority date Publication date Assignee Title
JP6061386B2 (en) * 2013-04-04 2017-01-18 株式会社 シコク Handrail device for toilet
JP2016146991A (en) * 2015-02-13 2016-08-18 協立工業株式会社 Handrail for toilet bowl
JP2018064782A (en) * 2016-10-20 2018-04-26 協立工業株式会社 Handrail for toilet bowl

Family Cites Families (4)

* Cited by examiner, † Cited by third party
Publication number Priority date Publication date Assignee Title
JPH10179438A (en) * 1996-12-20 1998-07-07 Sumitomo Forestry Co Ltd Hand rail for bathing
JP2006239095A (en) * 2005-03-02 2006-09-14 Inax Corp Handrail
JP2006288563A (en) * 2005-04-07 2006-10-26 Inax Corp Handrail
JP2009045196A (en) * 2007-08-20 2009-03-05 Kyoritsu Kogyo Kk Handrail for toilet

Also Published As

Publication number Publication date
JP2012217718A (en) 2012-11-12

Similar Documents

Publication Publication Date Title
JP2008093411A (en) Footrest mechanism for wheelchair
US11701277B1 (en) Configurable elevated seat
JP5524895B2 (en) Toilet handrail
JP2017042503A (en) Hand rail for toilet bowl
JP6783131B2 (en) Toilet armrest device
JP5250793B2 (en) wheelchair
JP5747106B1 (en) Toilet handrail
JP5511247B2 (en) Handrail device for toilet
JP6558842B2 (en) Wheelchair fixing device
JP6074175B2 (en) Toilet handrail
JP5311485B2 (en) Handrail device for toilet
JP5303601B2 (en) Toilet handrail
JP2009297465A (en) Handrail for toilet
JP6241926B2 (en) Wheelchair fixing device
JP2009045196A (en) Handrail for toilet
JP2012152297A (en) Standing-up assisting chair
JP5433312B2 (en) Lifting reclining wheelchair
JP4787378B1 (en) wheelchair
JP2011078459A (en) Handrail for toilet bowl
JP6399670B2 (en) Wheelchair fixing device
JP6074276B2 (en) Toilet handrail
JP6687458B2 (en) Chair
JP5662291B2 (en) Rotating armrest
JP5979605B2 (en) Handrail device for toilet
JP5524690B2 (en) Nursing handrail

Legal Events

Date Code Title Description
A977 Report on retrieval

Free format text: JAPANESE INTERMEDIATE CODE: A971007

Effective date: 20130606

A131 Notification of reasons for refusal

Free format text: JAPANESE INTERMEDIATE CODE: A131

Effective date: 20130611

A521 Written amendment

Effective date: 20130730

Free format text: JAPANESE INTERMEDIATE CODE: A523

TRDD Decision of grant or rejection written
A01 Written decision to grant a patent or to grant a registration (utility model)

Effective date: 20140408

Free format text: JAPANESE INTERMEDIATE CODE: A01

A61 First payment of annual fees (during grant procedure)

Effective date: 20140410

Free format text: JAPANESE INTERMEDIATE CODE: A61

R150 Certificate of patent (=grant) or registration of utility model

Country of ref document: JP

Ref document number: 5524895

Free format text: JAPANESE INTERMEDIATE CODE: R150