JP5521769B2 - ゴルフクラブ - Google Patents

ゴルフクラブ Download PDF

Info

Publication number
JP5521769B2
JP5521769B2 JP2010117439A JP2010117439A JP5521769B2 JP 5521769 B2 JP5521769 B2 JP 5521769B2 JP 2010117439 A JP2010117439 A JP 2010117439A JP 2010117439 A JP2010117439 A JP 2010117439A JP 5521769 B2 JP5521769 B2 JP 5521769B2
Authority
JP
Japan
Prior art keywords
shaft
hosel
hole
shaft case
golf club
Prior art date
Legal status (The legal status is an assumption and is not a legal conclusion. Google has not performed a legal analysis and makes no representation as to the accuracy of the status listed.)
Active
Application number
JP2010117439A
Other languages
English (en)
Other versions
JP2011240084A (ja
Inventor
史明 佐藤
Current Assignee (The listed assignees may be inaccurate. Google has not performed a legal analysis and makes no representation or warranty as to the accuracy of the list.)
Bridgestone Sports Co Ltd
Original Assignee
Bridgestone Sports Co Ltd
Priority date (The priority date is an assumption and is not a legal conclusion. Google has not performed a legal analysis and makes no representation as to the accuracy of the date listed.)
Filing date
Publication date
Application filed by Bridgestone Sports Co Ltd filed Critical Bridgestone Sports Co Ltd
Priority to JP2010117439A priority Critical patent/JP5521769B2/ja
Priority to US13/110,964 priority patent/US8632418B2/en
Publication of JP2011240084A publication Critical patent/JP2011240084A/ja
Application granted granted Critical
Publication of JP5521769B2 publication Critical patent/JP5521769B2/ja
Active legal-status Critical Current
Anticipated expiration legal-status Critical

Links

Images

Classifications

    • AHUMAN NECESSITIES
    • A63SPORTS; GAMES; AMUSEMENTS
    • A63BAPPARATUS FOR PHYSICAL TRAINING, GYMNASTICS, SWIMMING, CLIMBING, OR FENCING; BALL GAMES; TRAINING EQUIPMENT
    • A63B53/00Golf clubs
    • A63B53/02Joint structures between the head and the shaft
    • AHUMAN NECESSITIES
    • A63SPORTS; GAMES; AMUSEMENTS
    • A63BAPPARATUS FOR PHYSICAL TRAINING, GYMNASTICS, SWIMMING, CLIMBING, OR FENCING; BALL GAMES; TRAINING EQUIPMENT
    • A63B60/00Details or accessories of golf clubs, bats, rackets or the like
    • A63B60/06Handles
    • A63B60/08Handles characterised by the material

Landscapes

  • Health & Medical Sciences (AREA)
  • General Health & Medical Sciences (AREA)
  • Physical Education & Sports Medicine (AREA)
  • Golf Clubs (AREA)

Description

本発明は、ゴルフクラブに係り、特にシャフト交換を容易に行うことができるゴルフクラブに関する。
ゴルフクラブは、シャフトの先端部にヘッドが取り付けられたものである。シャフトの基端側にグリップが装着されている。
従来の一般的なゴルフクラブヘッドにあっては、ヘッドに直にホゼル穴が設けられており、シャフトは該ホゼル穴に挿入され、接着剤によって固着されている。なお、この接着剤は、一般にエポキシ系接着剤が用いられている。シャフト交換に際しては、ホゼル部分を加熱してエポキシ樹脂硬化物よりなる組織を壊すことにより、シャフトを引き抜くことができる。
特開2010−57554号公報には、シャフトの先端にヘッドが取り付けられたゴルフクラブにおいて、該シャフトの先端に略円筒形のシャフトケースが固着され、前記ヘッドのホゼルの上端側から該ホゼル内に該シャフトケースが挿入され、該シャフトケースに外嵌すると共に、該ホゼルの該上端側に着脱可能に螺着された環状の螺子部材によって該シャフトケースが該ホゼルに固定されているゴルフクラブが記載されている。同号公報のシャフトケースは、先端部のみがV字型に尖っており、シャフトケースのそれよりも上側は真円形断面形状の円筒形状となっている。
特開2010−57554号公報
本発明は、特開2010−57554号公報のゴルフクラブのように、シャフトケースをシャフト先端に固着し、該シャフトケースを螺子部材によって着脱可能に取り付けたゴルフクラブにおいて、該シャフトケースをヘッドに対し強固に固定できるようにすることを目的とする。
請求項1のゴルフクラブは、シャフトの先端にヘッドが取り付けられたゴルフクラブであって、該シャフトの先端に略筒形のシャフトケースが固着され、前記ヘッドのホゼル穴の上端側から該ホゼル穴内に該シャフトケースが挿入され、該シャフトケースの上部に外嵌すると共に、該ホゼル穴の該上端側の内周面の雌螺子に着脱可能に螺着された環状の螺子部材によって該シャフトケースが該ホゼルに固定されているゴルフクラブにおいて、該シャフトケースの下側部分の外側面及びホゼル穴の下側部分が非円形断面形状となっており、該ホゼル穴の前記雌螺子は、該ホゼル穴の上端よりも所定距離だけ下位の部分に設けられており、前記シャフトケースの上端部の外周面に雄螺子が設けられ、該雄螺子にナット部材が螺着され、該ナット部材と前記螺子部材との間にリング状スペーサが介在されており、該スペーサには、内周から外周にまで達する切れ目が設けられており、前記ホゼル穴の前記雌螺子と前記非円形断面形状の前記下側部分との間に円筒形の丸穴部が設けられ、該丸穴部の内周面と前記シャフトケースとの間に空隙部が形成されていることを特徴とするものである。
請求項2のゴルフクラブは、請求項1において、前記非円形断面形状は四角形であることを特徴とするものである。
請求項3のゴルフクラブは、請求項1又は2において、前記シャフトケースには上端側から下端側に向って前記シャフトが挿入される穴が設けられており、該穴の奥底面から該シャフトケースの下端面に雌螺子孔が貫設されており、該雌螺子孔にウェイト材がねじ込まれていることを特徴とするものである。
請求項4のゴルフクラブは、請求項1ないし3のいずれか1項において、前記丸穴部の内径は、それと対面する前記シャフトケースの外径よりも0.2〜5.0mm大きく、該丸穴部の長さは1〜8mmであることを特徴とするものである。
本発明のゴルフクラブにあっては、螺子部材を緩めてホゼルから外すと、シャフトケースをホゼルから抜き出すことができる。予めシャフトにシャフトケースを取り付けた新たなシャフトケース・シャフト連結体をこのホゼルに差し込み、螺子部材を螺着することにより、シャフト交換を行うことができる。
本発明では、シャフトケースの下側部分の側外面と、ホゼル穴下側部分とが非円形断面形状となっているので、これらの非円形断面形状部分同士が係合することにより、シャフトケースのホゼル穴軸心回りの回転が阻止され、シャフトケースの取り付けが強固なものとなる。
ホゼル穴の雌螺子をホゼル穴の上端よりも所定距離だけ下位に設けることにより、ホゼル穴に螺子部材を装着するときに、まず螺子部材の下側部分をホゼル穴に差し込んで立てた状態とし、それから螺子部材を回転させて螺子部材を螺じ込むようにすることができるので、螺子部材を螺じ込み易くなる。
シャフトケースの上端部にナット部材を螺着し、ナット部材と螺子部材との間にスペーサを介在させると、螺子部材を回転させるときの摺動抵抗が小さくなり、螺子部材を回転させ易くなる。このスペーサに、内周から外周にまで達する切目を設けておくと、スペーサが打撃時に振動することなく、かつ摺動可能に固定されるため、螺子部材を緩み方向に回転させナット部材を押し上げる際に螺子部材がナット部材に噛み込むことが防止され、螺子部材を回転させ易くなる。
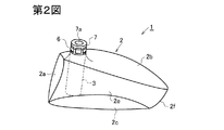
実施の形態に係るヘッドの正面図である。 ヘッドのヒール側の側面図である。 第1図のIII−III線断面図である。 シャフトの取付、交換方法を示す斜視図である。 シャフトの取付、交換方法を示す斜視図である。 ホゼル、シャフトケース及び螺子部材の斜視図である。 (a)図はホゼル、シャフトケース及び螺子部材の断面図、(b)図ないし(f)図の各図は(a)図のB−B線ないしF−F線に沿う断面図である。 ホゼルの断面斜視図である。 ホゼルの断面図である。 ホゼルの断面図である。 実施の形態に係るゴルフクラブの正面図である。 グリップの側面図である。 グリップの断面図である。 第13図のXIV−XIV線断面図である。 第14図の拡大図である。 第15図のXVI−XVI線断面図である。
以下、図面を参照して実施の形態について説明する。
第1図は実施の形態に係るゴルフクラブヘッド正面図、第2図はゴルフクラブヘッドのヒール側の側面図である。第1,2図の通り、このゴルフクラブは、ヘッド1のホゼル3にシャフト4を、シャフトケース5、螺子部材6を介して取り付け、ホゼル3の上端部にナット部材7を装着したものである。
このヘッド1は、ヘッド本体2と、このヘッド本体2に取り付けられたホゼル3とを有する。このヘッド1は中空のウッド型のものであり、フェース部2aと、クラウン部2bと、ソール部2cと、トウ部2dと、ヒール部2eと、バック部2fとを有する。
第3図の通り、クラウン部2bのフェース部2a側かつヒール部2e側に円筒状のホゼル設置部2gが設けられている。このホゼル設置部2gは、上端が開放し、下端が閉じた円筒形であり、シャフト4と同軸状に延在している。このホゼル設置部2g内にホゼル3が上方から挿入され、溶接、ろう付け、接着、焼き嵌め、冷し嵌めなどの適宜の固着手段によって固着されている。ただし、ホゼルをヘッド本体と一体に設けてもよい。例えば、ホゼルをヘッド本体と一体に鋳造によって作成し、寸法精度を高めるためにCNC加工機で加工するようにしてもよい。
第4〜8図に示す通り、ホゼル3は、上端から下端に向けて軸心線方向に穴が穿説された略筒形である。
ホゼル穴の入口側すなわちホゼル上端側の内周面には雌螺子3aが設けられている。ただし、雄螺子3aは、ホゼル3の最上端から所定距離(例えば1〜5mm特に2〜4mm程度)下位に設けられており、ホゼル3の最上端と雄螺子3aとの間のホゼル内周面は、平滑な円筒状のフラット面3f(第6図〜第8図)となっている。なお、フラット面3fの最上端に面取り状のテーパ面を形成してもよい。この実施の形態では、この雌螺子3aは逆螺子であり、この雌螺子3aに螺着する後述の螺子部材6の雄螺子6bも逆螺子となっている。
この雌螺子3aに引き続いて、縮径方向に段差面3bが設けられ、この段差面3bよりも奥側が円筒形の丸穴部3mとなっている。なお、雌螺子3aは、丸穴部3mと同径の穴面にねじ切りを施すことにより形成されたものであり、このねじ切り分だけ雌螺子3a部分の内径が丸穴部3mよりも大きくなっており、雄螺子3aと丸穴部3mとの境界に段差面3bが形成されている。
この丸穴部3mよりも奥側(下側)が四角穴部3sとなっている。この四角穴部3sよりも奥側に、ホゼル3の軸心と斜交する2対の斜面3dが設けられ、穴底部は、切頭四角錐形状となっている。対向する斜面3d,3dは、ホゼル3の軸心を挟んで対称に配置されている。対向する斜面3d,3d間の距離すなわちホゼル軸心線と直交方向の間隔は、ホゼル下端側ほど小さくなっている。対向する斜面3d,3d同士の交差角度θ(第7図(a))は10〜30°特に15〜20°程度が好適である。
第6,7図の通り、シャフトケース5は、上部が円筒形で下部が四角筒形の略筒形部材であり、上端側から下端側に向って、シャフト4の挿入用の穴5aが設けられている。シャフトケース5の長さは30mm以上、例えば40〜60mm特に45〜55mm程度が好ましい。シャフトケース5は、ホゼル3に挿入され固定された状態において、ホゼル3から10〜30mm特に15〜20mm程度突出することが好ましい。
穴5aの奥底面からシャフトケース5の下端面に雌螺子孔が貫設され、この雌螺子孔にウェイト材10がねじ込まれている。
穴5aの深さは、20mm〜50mm特に25〜40mmが好ましい。
シャフトケース5の筒軸心線方向(長手方向)の途中の外周面に凸部5tが設けられている。この実施の形態では、凸部5tはシャフトケース5を周回するフランジ状である。この凸部5tは段差面3bに上方から当接する直径を有している。
シャフトケース5の該凸部5tよりも上側が円筒形であり、その上部の外周面に雄螺子5nが設けられている。凸部5tよりも下側部分が四角筒部5sとなっている。
シャフトケース5の上端から凸部5tまでの距離は、10〜30mm特に15〜20mm程度が好ましい。
シャフトケース5の下端側の外面には2対の斜面5cが設けられ、切頭四角錐形状となっている。対向する斜面5c,5cは、シャフトケース5の軸心線を挟んで対称に設けられている。対向する斜面5c,5c間の距離すなわちシャフトケース5の軸心線と直交方向の間隔は、シャフトケース下端側ほど小さくなっている。対向する斜面5c,5c同士の交差角度は、ホゼル3の斜面3d,3dの交差角度θと同一である。シャフトケース5の斜面5cの大きさは、ホゼル3の斜面3dと同一とされてもよく、弾性体を介在させる場合にはわずかに小さなものとされてもよい。
なお、図示は省略するが、シャフトケース5の上端側の内周縁に角度20〜45°程度の面取りを形成してシャフト4を差し込み易くしてもよい。
螺子部材6は、略円環形であり、その上半部6aに比べて下半部が小径とされ、下半部の外周面に雄螺子6bが刻設されている。上半部6aの上端側の外周面は、工具係合部6eが設けられ、ナット状となっている。
螺子部材6の下半部は、雄螺子6bがホゼル3の雌螺子3aに螺合する直径のものとなっている。螺子部材6は、軸心線方向に貫通する孔6cを有する。この孔6cの直径はシャフトケース5の凸部5tよりも上側の円筒形状部分の直径よりも極くわずかに大きいものとなっており、螺子部材6はシャフトケース5の凸部5よりも上側部分に摺動可能に外嵌している。
この螺子部材6の上半部6aの下端面とホゼル3の上端面との間、及び、下半部6bの下端面と凸部5tの上面との間に、第3、7図の通り、リング状のスペーサ(例えばゴム又はエラストマー等の弾性体よりなる薄いスペーサ)6f,6gを介在させている。
この実施の形態では、螺子部材6の上側にナット部材7が設けられている。ナット部材7の内周面には、シャフトケース5の雄螺子5nに螺着する雌螺子7a(第7図(a))が設けられている。雄螺子5nと雌螺子7aとは正螺子となっている。
ナット部材7と螺子部材6との間には、第3、7図の通り、ゴム又はエラストマー等の弾性体やプラスチック、金属よりなる薄いスペーサ7fが介在している。このスペーサ7fは平たい円環形状であるが、その周方向の1箇所において、内周縁から外周縁にまで達する切れ目が設けられている。この切目を設けることにより、スペーサが打撃時に振動することなく、かつ摺動可能に固定されるため、螺子部材6を緩み方向に回転させてナット部材7を押し上げる際に、螺子部材6がナット部材7に噛みこむことが防止され、螺子部材6をスムーズに回転させることができる。
ゴルフクラブを組み立てるには、第4図のように、シャフト4の先端側からナット部材7及び螺子部材6を嵌め通し、該シャフト4の先端にシャフトケース5を接着剤を用いて固着しておく。好ましくは、この接着剤をシャフト4の先端部の外周面に塗着し、シャフトケース5の穴5aの最奥部まで該シャフト4を差し込む。接着剤としてはエポキシ系接着剤などが好適である。なお、シャフト4を差し込むときにウェイト材10を外しておくと、穴5a内の空気が抜けるのでシャフト4を差し込み易い。
このようにナット部材7及び螺子部材6が嵌挿されると共にシャフトケース5が固着されたシャフトケース・シャフト連結体の該シャフトケース5を、第4図の如くヘッド1のホゼル3に差し込む。
第5図(a)の通り、シャフトケース5をホゼル3内に挿入し、角筒部5sと角穴部3sとを係合させ、斜面5cと斜面3dとを重ね合わせる。凸部5tは段差面3bに係合する。次いで、第5図(b)の通り、螺子部材6の雄螺子6bをホゼル3の雌螺子3aに螺じ込み、次いでナット部材7をシャフトケース5の雄螺子5aに螺じ込む。
この際、雌螺子3aの上側にフラット部3fが設けられているので、螺子部材6の下端側をフラット部3fに差し込んで螺子部材6を立てた状態とし、その後螺子部材6を回すようにして螺子部材をホゼル3に容易に螺じ込むことができる。
これにより、第3図の通り、螺子部材6の下端面がシャフトケース5の凸部5tの上面を押圧し、シャフトケース5の斜面5cがホゼル3の斜面3dに押し付けられ、シャフトケース5がホゼル3に固定される。シャフトケース5とシャフト4とは接着剤によって強固に接着されているので、これにより、シャフト4とヘッド1とが一体となったゴルフクラブが完成する。
この実施の形態では、螺子部材6はシャフトケース5に外嵌してホゼル3に螺じ込まれ、ナット部材7はシャフトケース5の上端外周に螺じ込まれるようになっており、螺子部材6及びナット部材7を回転させるときにこれらがシャフト4に接触しない。このため、シャフト4の傷付きが防止される。
このゴルフクラブからシャフトケース5を抜き出すには、ナット部材7を付けた状態にて螺子部材6を緩み方向に回す。この螺子部材6の雄螺子6bがホゼル3の雌螺子3aに螺合しているので、螺子部材6が緩み方向に回転すると、螺子部材6は上方へ移動(螺進)し、ナット部材7を押し上げる。ナット部材7はシャフトケース5に固着されているため、ナット部材7が螺子部材6によって上方に押されると、ナット部材7とシャフトケース5とが一体となって上方に移動する。これにより、シャフトケース5がホゼル3から離脱する上方向へ移動するので、容易に取り外すことができる。
このゴルフクラブにあっては、ホゼル3にシャフト4付のシャフトケース5を差し込んで螺子部材6で固定しているので、シャフト4及びシャフトケース5の取付強度及び剛性が高い。また、ホゼル3の四角穴部3sにシャフトケース5の四角筒部5sを係合させると共に、斜面3d,5c同士を係合させるので、ガタツキが少なく、シャフト4のシャフト軸心周り方向の回転が阻止される。すなわち、シャフト4のトルク方向の固定剛性が高い。
ゴルフクラブのシャフト交換を行うには、交換すべき新シャフトに、予め上記シャフトケース5と同型のシャフトケースを接着剤によって固着しておく。なお、ナット部材7及び螺子部材6もこのシャフトに装着しておく。
既存のゴルフクラブの螺子部材6を外し、旧シャフト4を旧シャフトケース5、ナット部材7及び螺子部材6共々ヘッド1から取り外す。次いで、シャフトケース、トップ部材及び螺子部材付きの新シャフト(シャフトケース・シャフト連結体)をヘッド1に差し込み、螺子部材6及びナット部材7によって固定する。
このようにシャフトの取り付けや交換を極めて簡単かつ迅速に行うことができる。なお、従来では、シャフトの交換に際し既存のゴルフクラブのホゼル部分を加熱して接着剤硬化物の組織を壊し、シャフトを抜いた後、新シャフトを接着剤で固着するようにしていたため、数時間〜1日程度の時間がかかっていたが、上記実施の形態では、予め新シャフトにシャフトケース5を接着剤で取り付けておくことにより、シャフト交換を数分程度で行うことができる。従って、シャフトケース付きの各種スペックのシャフトを用意しておき、同一のヘッド本体に順次に異なるシャフトを取り付けて試打する様な利用方式が実現可能となる。
なお、2対の斜面5cを設けてシャフトケース5の先端側を先細形としているので、シャフトケース5をホゼル3内に挿入し易い。
上記ホゼル、シャフトケース及び螺子部材は金属製とされることが好ましく、特にアルミ又はチタンもしくはそれらの合金よりなることが好ましい。ナット部材7はアルミ又は合成樹脂製であることが好ましい。ヘッド1とは別体のホゼル3については、ヘッド本体と同等又はそれよりも低い比重の材質が好ましく、例えばチタン合金、アルミニウム、アルミ合金、マグネシウム合金、FRP、合成樹脂などを用いてもよい。
ヘッドの材質は特に限定されないが、ウッド型ゴルフクラブヘッドの場合、例えばチタン合金やアルミ合金、ステンレス等とすることができる。
上記実施の形態ではホゼル3の段差面3bよりも奥側(下側)に丸穴部3mを設け、この丸穴部3mの内周面とシャフトケース5との間に空隙部を形成しているので、その分だけホゼル3の重量が少ない。丸穴部3mの内径は、シャフトケース5の上部の円筒形状部の外径よりも0.2〜5.0mm特に1.0〜3.0mm大きいことが好ましい。丸穴部3mの長さ(深さ)は1〜8mm特に3〜6mm程度であることが好ましい。
上記実施の形態では、ホゼル3及びシャフトケース5に正方形状の四角穴部3s及び四角筒部5sを設けているが、長方形又は台形などの断面形状としてもよく、四角以外の非円形断面形状としてもよい。そのような非円形断面形状としては、六角形等の多角形や、スター形、歯車形、楕円形、円の一部を弦方向に切り欠いた形状などが例示される。第9図は長方形断面形状の四角穴部3sを有したホゼル3’の断面図であり、第10図は台形断面形状の四角穴部3sを有したホゼル3’’の断面図であり、各々第7図(f)と同様の部分の断面を示している。
なお、シャフト4に取り付けるグリップとして、断面が非真円形のものを用いることがある。例えば、グリップ外周面のうちアドレス状態で地面を指向する下側面をその他の面よりも膨出した形状とすることがある。このような場合、シャフト4にシャフトケース5を取り付けるに際し、シャフトケース5の周方向の向きをグリップ膨出部に対応して定めておくことにより、グリップ膨出部が確実に地面側となるようにシャフトをヘッドに取り付けることができる。
このような断面非真円形のグリップの一例を第12図〜第16図に示し、このグリップをゴルフクラブヘッド1に装着したゴルフクラブを第11図に示す。
なお、第12図はグリップ9の側面図、第13図はグリップ9の長手方向の縦断面図、第14図は第13図のXIV−XIV線に沿う断面図、第15図は第14図の拡大図、第16図は第11図のXVI−XVI線に沿う拡大断面図である。
第11図の通り、ヘッド1のホゼルにシャフト4の先端が差し込まれ、接着剤によって固定されている。
グリップ9は、シャフト4の挿入穴9bを有した略々筒状のものであり、ラバー等よりなる。このグリップ9は、その周方向の一部(第11図の下側)が厚肉部9aとなっている。この厚肉部9aは、グリップ9の長手方向にわたって延在している。厚肉部9aは、グリップ9の内周面の断面形状(グリップ9の長手方向と直交方向の断面形状)が弦形となるように設けられている。このグリップ9にシャフト4を挿入すると、第16図の通り、厚肉部9aが内側から外方に向って押されて外周が膨出し、凸条部9cが形成される。この凸条部9cは、グリップ9の長手方向(シャフト4の長手方向)に延在する。この凸条部9cが、ゴルフクラブをアドレス状態とした場合に下側すなわち地面を向く側に位置するようにシャフトケース5をシャフト4に取り付けてシャフトケース・シャフト連結体を構成しておく。そうすると、どのシャフトケース・シャフト連結体をヘッド1に取り付けても、凸条部9cはアドレス状態で必ず正しく地面側に配置される。第9図や第10図特に第10図の断面形状のホゼル及びシャフトケースであれば、凸条部9cを正しく地面側に配置することができる。
上記実施の形態ではゴルフクラブヘッドはウッド型であるが、ユーティリティ型、アイアン型、パターなどのいずれのタイプのゴルフクラブヘッドにも本発明を適用することができる。
なお、図示の中空型のゴルフクラブヘッドの場合、ホゼル3及びホゼル設置部2g並びにシャフトケース5、螺子部材6を設けたことにより、ヒール側の重量が一般的なゴルフクラブヘッドに比べて大きくなる。そのため、トウ側やバック部の肉厚を大きくしたり、トウ側にウェイトを設けたりすることにより、ゴルフクラブヘッドのバランスをとるのが好ましい。
1 ヘッド
2 ヘッド本体
2a フェース部
2e ヒール部
3,3’,3’’ ホゼル
3a 雌螺子
3b 段差面
3d 斜面
3f フラット部
3m 丸穴部
3s 四角穴部
4 シャフト
5 シャフトケース
5c 斜面
5n 雄螺子
5t 凸部
5s 四角筒部
6 螺子部材
6b 雄螺子
6c 貫通孔
7 ナット部材

Claims (4)

  1. シャフトの先端にヘッドが取り付けられたゴルフクラブであって、
    該シャフトの先端に略筒形のシャフトケースが固着され、
    前記ヘッドのホゼル穴の上端側から該ホゼル穴内に該シャフトケースが挿入され、
    該シャフトケースの上部に外嵌すると共に、該ホゼル穴の該上端側の内周面の雌螺子に着脱可能に螺着された環状の螺子部材によって該シャフトケースが該ホゼルに固定されているゴルフクラブにおいて、
    該シャフトケースの下側部分の外側面及びホゼル穴の下側部分が非円形断面形状となっており、
    該ホゼル穴の前記雌螺子は、該ホゼル穴の上端よりも所定距離だけ下位の部分に設けられており、
    前記シャフトケースの上端部の外周面に雄螺子が設けられ、
    該雄螺子にナット部材が螺着され、該ナット部材と前記螺子部材との間にリング状スペーサが介在されており、
    該スペーサには、内周から外周にまで達する切れ目が設けられており、
    前記ホゼル穴の前記雌螺子と前記非円形断面形状の前記下側部分との間に円筒形の丸穴部が設けられ、該丸穴部の内周面と前記シャフトケースとの間に空隙部が形成されていることを特徴とするゴルフクラブ。
  2. 請求項1において、前記非円形断面形状は四角形であることを特徴とするゴルフクラブ。
  3. 請求項1又は2において、前記シャフトケースには上端側から下端側に向って前記シャフトが挿入される穴が設けられており、
    該穴の奥底面から該シャフトケースの下端面に雌螺子孔が貫設されており、
    該雌螺子孔にウェイト材がねじ込まれていることを特徴とするゴルフクラブ。
  4. 請求項1ないし3のいずれか1項において、前記丸穴部の内径は、それと対面する前記シャフトケースの外径よりも0.2〜5.0mm大きく、該丸穴部の長さは1〜8mmであることを特徴とするゴルフクラブ。
JP2010117439A 2010-05-21 2010-05-21 ゴルフクラブ Active JP5521769B2 (ja)

Priority Applications (2)

Application Number Priority Date Filing Date Title
JP2010117439A JP5521769B2 (ja) 2010-05-21 2010-05-21 ゴルフクラブ
US13/110,964 US8632418B2 (en) 2010-05-21 2011-05-19 Golf club

Applications Claiming Priority (1)

Application Number Priority Date Filing Date Title
JP2010117439A JP5521769B2 (ja) 2010-05-21 2010-05-21 ゴルフクラブ

Publications (2)

Publication Number Publication Date
JP2011240084A JP2011240084A (ja) 2011-12-01
JP5521769B2 true JP5521769B2 (ja) 2014-06-18

Family

ID=44972923

Family Applications (1)

Application Number Title Priority Date Filing Date
JP2010117439A Active JP5521769B2 (ja) 2010-05-21 2010-05-21 ゴルフクラブ

Country Status (2)

Country Link
US (1) US8632418B2 (ja)
JP (1) JP5521769B2 (ja)

Families Citing this family (12)

* Cited by examiner, † Cited by third party
Publication number Priority date Publication date Assignee Title
US9868035B2 (en) 2011-08-31 2018-01-16 Karsten Manufacturing Corporation Golf clubs with hosel inserts and related methods
US9327170B2 (en) 2011-08-31 2016-05-03 Karsten Manufacturing Corporation Golf clubs with hosel inserts and related methods
US8926447B2 (en) 2011-08-31 2015-01-06 Karsten Manufacturing Corporation Golf coupling mechanisms and related methods
US10004952B2 (en) 2011-08-31 2018-06-26 Karsten Manufacturing Corporation Golf coupling mechanisms and related methods
US9168426B2 (en) 2013-03-12 2015-10-27 Karsten Manufacturing Corporation Golf clubs with hosel inserts and methods of manufacturing golf clubs with hosel inserts
US8790191B2 (en) 2011-08-31 2014-07-29 Karsten Manufacturing Corporation Golf coupling mechanisms and related methods
US8932147B2 (en) * 2011-08-31 2015-01-13 Karsten Maunfacturing Corporation Golf coupling mechanisms and related methods
USD687504S1 (en) 2012-03-24 2013-08-06 Karsten Manufacturing Corporation Golf club hosel sleeve
USD757194S1 (en) 2012-03-24 2016-05-24 Karsten Manufacturing Corporation Golf club hosel insert
USD723121S1 (en) 2013-10-14 2015-02-24 Karsten Manufacturing Corporation Golf club hosel insert
USD872203S1 (en) 2018-04-17 2020-01-07 Karsten Manufacturing Corporation Shaft sleeve
US10716972B1 (en) * 2019-03-18 2020-07-21 Barry Lyn Holtzman Offset golf shaft and coupling apparatus

Family Cites Families (10)

* Cited by examiner, † Cited by third party
Publication number Priority date Publication date Assignee Title
US3897058A (en) * 1974-03-22 1975-07-29 Alvin F Koch Athletic testing device
JPH0213790U (ja) * 1988-07-11 1990-01-29
JP2962124B2 (ja) * 1993-12-14 1999-10-12 三菱自動車工業株式会社 ナット自動締付用ソケット構造
US5951411A (en) * 1998-01-05 1999-09-14 Zevo Golf Co., Inc. Hosel coupling assembly and method of using same
US6669573B2 (en) * 1998-05-22 2003-12-30 Golfsmith Licensing, L.L.C. Hosel construction and method of making same
JP2003225333A (ja) * 2002-01-30 2003-08-12 ▲そ▼ 文正 ゴルフクラブのための動的バランス保持機構
JP2005270402A (ja) * 2004-03-25 2005-10-06 Daiwa Seiko Inc ゴルフクラブ
US7083529B2 (en) * 2004-11-17 2006-08-01 Callaway Golf Company Golf club with interchangeable head-shaft connections
US7883430B2 (en) * 2008-07-22 2011-02-08 Nike, Inc. Releasable and interchangeable connections for golf club heads and shafts
JP5309801B2 (ja) * 2008-09-01 2013-10-09 ブリヂストンスポーツ株式会社 ゴルフクラブ及びシャフト交換方法

Also Published As

Publication number Publication date
US20110287853A1 (en) 2011-11-24
JP2011240084A (ja) 2011-12-01
US8632418B2 (en) 2014-01-21

Similar Documents

Publication Publication Date Title
JP5521769B2 (ja) ゴルフクラブ
JP5401951B2 (ja) ゴルフクラブ、その特性調節方法及びシャフト交換方法
JP5262261B2 (ja) ゴルフクラブ及びシャフト交換方法
JP5359586B2 (ja) ゴルフクラブ及びその特性調節方法
JP5353473B2 (ja) ゴルフクラブ、そのヘッド及び特性調節方法
JP5309801B2 (ja) ゴルフクラブ及びシャフト交換方法
JP5239964B2 (ja) ゴルフクラブ、シャフト挿入深さ変更方法及びシャフト交換方法
JP5387351B2 (ja) ゴルフクラブヘッド及びゴルフクラブ
JP5463864B2 (ja) ゴルフクラブヘッド及びゴルフクラブ
US8636606B2 (en) Golf club and method of adjusting properties thereof
JP2012165864A (ja) ゴルフクラブ及びその特性調節方法
JP5670568B2 (ja) ゴルフクラブ
JP2014113251A (ja) ゴルフクラブ及びその特性調節方法
JP5447141B2 (ja) ゴルフクラブ
JP5604958B2 (ja) ゴルフクラブの重量調節方法
US9283446B2 (en) Golf club
JP5386932B2 (ja) ゴルフクラブ、その特性調節方法及びシャフト交換方法
JP2011217916A (ja) ゴルフクラブ及びその特性調節方法
US20110256952A1 (en) Golf club, shaft replacing method and head replacing method
JP6118201B6 (ja) ゴルフクラブ

Legal Events

Date Code Title Description
A621 Written request for application examination

Free format text: JAPANESE INTERMEDIATE CODE: A621

Effective date: 20130419

A977 Report on retrieval

Free format text: JAPANESE INTERMEDIATE CODE: A971007

Effective date: 20131217

A131 Notification of reasons for refusal

Free format text: JAPANESE INTERMEDIATE CODE: A131

Effective date: 20131224

A521 Written amendment

Free format text: JAPANESE INTERMEDIATE CODE: A523

Effective date: 20140217

TRDD Decision of grant or rejection written
A01 Written decision to grant a patent or to grant a registration (utility model)

Free format text: JAPANESE INTERMEDIATE CODE: A01

Effective date: 20140311

A61 First payment of annual fees (during grant procedure)

Free format text: JAPANESE INTERMEDIATE CODE: A61

Effective date: 20140324

R150 Certificate of patent or registration of utility model

Ref document number: 5521769

Country of ref document: JP

Free format text: JAPANESE INTERMEDIATE CODE: R150

R250 Receipt of annual fees

Free format text: JAPANESE INTERMEDIATE CODE: R250

R250 Receipt of annual fees

Free format text: JAPANESE INTERMEDIATE CODE: R250

R250 Receipt of annual fees

Free format text: JAPANESE INTERMEDIATE CODE: R250