JP5439552B2 - ロボットシステム - Google Patents

ロボットシステム Download PDF

Info

Publication number
JP5439552B2
JP5439552B2 JP2012173582A JP2012173582A JP5439552B2 JP 5439552 B2 JP5439552 B2 JP 5439552B2 JP 2012173582 A JP2012173582 A JP 2012173582A JP 2012173582 A JP2012173582 A JP 2012173582A JP 5439552 B2 JP5439552 B2 JP 5439552B2
Authority
JP
Japan
Prior art keywords
robot
map
map data
distance
robots
Prior art date
Legal status (The legal status is an assumption and is not a legal conclusion. Google has not performed a legal analysis and makes no representation as to the accuracy of the status listed.)
Active
Application number
JP2012173582A
Other languages
English (en)
Other versions
JP2012256344A (ja
Inventor
良三 正木
俊夫 守屋
高斉 松本
淳一 玉本
素也 谷口
Current Assignee (The listed assignees may be inaccurate. Google has not performed a legal analysis and makes no representation or warranty as to the accuracy of the list.)
Hitachi Industrial Equipment Systems Co Ltd
Original Assignee
Hitachi Industrial Equipment Systems Co Ltd
Priority date (The priority date is an assumption and is not a legal conclusion. Google has not performed a legal analysis and makes no representation as to the accuracy of the date listed.)
Filing date
Publication date
Application filed by Hitachi Industrial Equipment Systems Co Ltd filed Critical Hitachi Industrial Equipment Systems Co Ltd
Priority to JP2012173582A priority Critical patent/JP5439552B2/ja
Publication of JP2012256344A publication Critical patent/JP2012256344A/ja
Application granted granted Critical
Publication of JP5439552B2 publication Critical patent/JP5439552B2/ja
Active legal-status Critical Current
Anticipated expiration legal-status Critical

Links

Images

Landscapes

  • Control Of Position, Course, Altitude, Or Attitude Of Moving Bodies (AREA)

Description

本発明は移動ロボットシステムに関し、特に、地図を生成・更新する機能を有する移動
ロボットシステムに関する。
移動ロボットが周囲状態を計測し、そのデータを基に自己位置を推定しながら、かつ、同時に地図を生成する方法が提案されている。この方法はSLAM(Simultaneous Localization and Mapping)とよばれる技術で、地図情報を持たない環境にロボットが置かれた場合でも、ロボットが地図を生成しながら自己位置を推定していくことができるので、自律的に移動する特徴を持っている。
例えば、特許文献1には、移動ロボットの移動センサと認識手段により、物体間の相対姿勢で表わされる地図情報とロボットの姿勢の同時推定を行うことで、新規地図情報を作成していく方法が示されている。また、特許文献2では、GPS(Global Positioning System)などの自己位置検出手段と、周囲の物体との距離と方向を検出する物体検出手段と、それらの検出データを基に移動する方向の環境地図を生成する機能を備えた移動制御装置が述べられている。さらに、特許文献3においては、マップデータ生成部と位置推定部が自律移動型ロボット、あるいは、サーバ装置に配置されていることが示されている。
特開2004−276168号公報 特開2005−332204号公報 特開2007−94743号公報
これらの公知例で示されているロボットシステムは、地図を生成する地図生成部とロボ
ットの自己位置を推定する自己位置推定部の配置方法により、2つのケースに分けられる
。一方の方法は地図生成部と自己位置推定部がロボットに内蔵されている場合であり、他
方はロボットの動作を制御する上位のコントローラ(サーバ装置)にそれらが内蔵されて
いる場合である。なお、地図生成をすること自体を目的としたロボットシステムの場合、
ロボットは自律的に動作する必要はないので、人間が操作あるいは押す車両も本発明のロ
ボットとよぶことにする。
前者の場合、ロボットに内蔵したロボットコントローラの演算負荷が非常に大きくなっ
てしまうとともに、地図を保存する記憶装置も大きくなってしまう課題がある。特に、複
数のロボットが同時に稼動するシステムにおいては、それぞれのロボットで生成した地図
を相互に利用する場合には、上位のコントローラに各ロボットの地図情報を出力し、上位
のコントローラがそれぞれの地図の整合性を取りながら、広い地図を再生成していく必要
がある。そのため、膨大な地図データを通信して、上位のコントローラで高速演算処理し
なければならない。
また、後者の場合、ロボットで得られた周囲の環境情報(画像、障害物検知、移動機構
のセンサ情報など)を上位のコントローラに送信し、位置を推定しながら地図を生成する
ので、それを基にロボットを移動制御する場合には、上位コントローラとロボットの間の
送受信で時間がかかり、高速応答のロボット走行制御を行うことができない問題点がある
。さらに、複数のロボットをこの方式により稼動する場合には、ロボット走行制御演算の
ため、上位コントローラは高速・高性能の演算処理を必要とする課題がある。
本発明は前記課題に対してなされたもので、その目的とするところは、ロボットの高応
答性能を確保しながら演算負荷を低減するとともに、複数のロボットを駆動する場合にも
、上位のコントローラが比較的安価になるロボットシステムを提供することにある。
上記課題を解決するに当って、以下のような対応を図るものである。
地図データを有するコントローラと複数の移動するロボットから構成されるロボットシステムであって、前記ロボットは、それぞれ周囲の物体との距離を複数計測し、前記コントローラから入力した地図データと照合することで前記ロボットの位置及び角度を同定し、前記コントローラは、複数の前記ロボットのうち、動作中であることを確認したロボットが計測した前記物体との距離と前記位置及び角度を基に、動作中の複数のロボットの地図更新データを合成することにより、前記地図データを生成又は更新する。
また、地図データを有するコントローラと複数の移動するロボットから構成されるロボットシステムであって、前記ロボットは、周囲の物体との距離を複数計測する距離センサと、前記地図データのうち、ロボット近傍の地域地図データを選択するデータ選択装置と、前記地域地図データと前記距離を照合することで前記ロボットの位置と角度を同定する同定装置を備え、前記コントローラは、複数の前記ロボットのうち、動作中であることを確認したロボットの位置と角度、及び、動作中のロボットが計測した前記物体との距離を基に、動作中の複数のロボットの地図更新データを合成することにより、前記地図データを生成又は更新する。
本発明によれば、ロボット及びコントローラの演算負荷を低減できるので、高応答性を
有するロボットを制御する比較的安価なロボットシステムを提供できる効果がある。
実施例1のシステム構成を示すブロック図 ロボットの動き方と物体距離を測長する範囲を示した地図 ロボットの初期姿勢と物体の距離を計測したときの状態を上部から見た関係図 地図データと測長した距離を照合してロボットの位置と角度を同定したときの状態を上部から見た関係図 ロボットの姿勢を同定する処理方法を示したフローチャート 同定したロボットの姿勢と測長データから、新たな物体を検出する地図生成方法を示した関係図 実際のロボットと物体の関係を上部から見た関係図 地図生成の演算を行うフローチャート 図1と異なる他の実施例で、複数のロボットが動作するときのシステム構成を示すブロック図 複数のロボットにより地図生成を行うフローチャート 複数のロボットが相互に位置同定する機能を追加した図10と異なる実施例のフローチャート ロボット22が物体との距離を測長したときの状態を上部から見た関係図 ロボット21が物体との距離を測長したときの状態を上部から見た関係図 ロボットが相互に計測した範囲を上部から見た関係図 広範囲の動作領域を運行するロボットシステムの構成を示すブロック図
以下、本発明の実施の形態を図1〜図14に基づいて説明する。
図1は、本発明に特徴的な上位のコントローラ1と移動する1つのロボット2から構成
されるロボットシステムのブロック図である。コントローラ1はロボット2の走行指令を
出力する走行制御指令部3、ロボット2が走行する領域の地図を記憶した地図データ記憶
部4、地図生成を行う地図生成装置5、及び、ロボット2とデータの送受信を行う送受信
部6から構成される。また、ロボット2は上位のコントローラ2との通信を行う送受信部
7、コントローラ1から出力される走行指令によりロボット2の走行状態を制御する走行
制御部8、ロボット2と周囲にある物体13との距離dを計測する距離センサ9、この距
離dのデータと、コントローラ1から入力される地図のデータを基にロボット2の自己位
置を同定する同定装置10、及び、ロボット2を走行する車輪11、12から構成されて
いる。
ここで、絶対座標系(x−y静止座標系)におけるロボット2の位置を(xr、yr)
とし、ロボット2の角度をθrと表わすことにする。また、ロボット位置(xr、yr)
及び角度θrを合わせて、ロボット2の姿勢とよぶ。
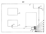
まず、ロボット2の走行制御に関する動作を、図1、図2により説明する。図2はロボ
ットが動作領域14の中を移動する状態の一例を上部から見た状態図である。図2の動作
領域14は塀に囲まれており、ロボット2は物体15、16、17、18を避けながらそ
の他の領域(つまり、通路)を走行することができる。ここで、物体15、16、17、
18は作業台、部屋、あるいは、壁などを意味しているが、ここでは説明を単純化するた
めに、物体もしくは作業台とよぶことにする。図2はロボット2を作業台15の出発点4
1から到着点42まで移動している途中の状態を示している。
コントローラ1の走行制御指令部3では、人間からの指令、あるいは、記述していない
上位のロボット運行管理システムからの指令などを与えられると、それらの指令とロボッ
ト2の姿勢から得られるロボット位置(xr、yr)を基に、ロボット2を出発点41に
移動させた後、到着点42までのロボットの走行経路を計画し、図2のような破線で示し
た経路を走行指令として、ロボット2の走行制御部8に出力する。走行制御部8では、走
行指令に対して、後述する同定装置10から出力されるロボット2の姿勢を入力し、フィ
ードバック制御を行い、車輪11、12の走行速度、及び、操舵角を制御する。これによ
り、ロボット2は図2の破線で示した経路どおりに到着点42まで移動することができる
。また、走行制御部8では、入力したロボット2の姿勢と、その後に走行制御によりロボ
ットが移動した距離、角度から、ロボット2の姿勢が幾何学的に推定される。しかしなが
ら、車輪11、12のすべりなどがあるため、実際のロボット2の姿勢と異なることがあ
るので、以下、走行制御部8で算出されたロボット2の姿勢は推定姿勢とよぶことにする
次に、図1の距離センサ9について説明する。距離センサ9が測長する範囲を図2に示す
。この実施例で用いる距離センサ9はレーザ測長器とよばれるもので、ロボット2の前方
に取り付けられている。この距離センサ9により、ロボット2の正面を中心に±90°、
つまり、180°の範囲でロボット2から周囲の物体までの距離dを計測できる。図2の
場合には、ロボット2から見たそれぞれの角度に対する動作領域14の壁と、あるいは、
物体17までの距離dを計測していることを示している。
ここで、図1の同定装置10における処理内容について図3から図8までを用いて説明
する。走行制御部8において算出された前述の推定姿勢が同定装置10に入力される。同
定装置10では、入力された推定姿勢を、初期姿勢(xr0、yr0、θr0)と定義し、以下これに従う。この初期姿勢(xr0、yr0、θr0)をロボット2の姿勢と見なして、計測した距離dを地図上に展開すると、図3のようになる。なお、この地図はコントローラ1の地図記憶部4から同定装置10に入力されたものである。図3によれば、動作領域14の壁の下側及び右側において、距離dのデータと地図が大きくずれていることがわかる。この距離dのデータと地図が図4のようにほぼ一致すると、ロボット2の姿勢(xr、yr、θr)が距離dを計測したときの実際の姿勢を示していることを意味する。初期姿勢(xr0、yr0、θr0)は走行制御部8で推定した値であり、図3の場合には、ロボット2の実際の姿勢(xr、yr、θr)とは異なることを意味している。
そこで、初期姿勢(xr0、yr0、θr0)を基にロボット2の実際の姿勢(xr、yr、θr)を求める同定装置10の演算方法について、図5を用いて、初期姿勢(xr0、yr0、θr0)は実際の姿勢(xr、yr、θr)の近傍にあることを前提とした場合について説明する。
なお、求めるパラメータは位置xr、yr、及び、角度θrの3つである。このうち、x軸、
y軸に関しては、xr0とxrの差、yr0とyrの差が最大となる可能性がある値よりも大きい
距離探索値Wを設定する。また、θ方向に関しては、θr0とθrの差が最大となる可能性が
ある値よりも大きい角度探索値γを設定する。
初期姿勢(xr0、yr0、θr0)のそれぞれの値が同時に実際の姿勢(xr、yr、θr)と一致したとき、図4のように、地図と距離dのデータがほぼ一致する。言い換えれば、図4の状態のとき、複数からなる距離dのデータから地図までの誤差の和を計算すると、その値が最小となる。これを下記のようにして、探索法で求める。
ステップ101で、ロボットの推定姿勢、つまり、初期姿勢(xr0、yr0、θr0)を入力する。ステップ102では、図5に示すように、3つのパラメータについて、探索するための初期値(xrc、yrc、θrc)を計算する。また、差の総和Eを総和最大値Emaxに設定する。総和最大値Emaxは、下記に示すステップ103,104で計算されるEcの中で最大
となる値よりも、はるかに大きい値に設定するものとする。ステップ103においては、
ロボットの姿勢が(xrc、yrc、θrc)であるとして、距離d(η)と地図との差e(η
)を求める。なお、距離d(η)は距離センサ9で計測した角度ηの距離のことを表わす
ものとする。また、e(η)は、地図のデータの中で、距離d(η)に最も近い地図デー
タとの差を示す。例えば、図3では、図示するように、η=0のとき、距離d(0)に対
するe(0)は動作領域14の右側の壁との最小距離がその値となる。ステップ103で
は、角度ηを−90°から+90°までの誤差e(η)をそれぞれ計算する。次のステッ
プ104は、角度ηを−90°から+90°までの誤差e(η)の総和Ecを求める。
総和Eと総和Ecとをステップ105で比較した結果、EcがEより小さい場合には、ステップ106の処理を行う。EcがE以上のときには、ステップ107に直接ジャンプする。ステップ106の処理は、総和Ec、位置xrc、yrc、角度θrcを、それぞれ総和E、位置xr、yr、角度θrにセットする。ステップ106の処理は、ステップ103、ステップ104で計算した総和Ecの中で、最も小さいときの位置xrc、yrc、角度θrcを位置xr、yr、角度θrに記憶しておくことを意味している。ステップ106の処理が終了した後は、ステップ107に飛ぶ。
ステップ107の計算は、位置xrcをx軸計算幅Δxだけ加算したものを位置xrcとし
て再設定するものである。x軸計算幅Δxは同定して得られる姿勢(xr、yr、θr)の精
度と計算量から考慮される小さい値に設定することが望ましい。後述するy軸計算幅Δy
、角度計算幅Δθについても、同様である。
ステップ108において、位置xrcがxr0+W/2に到達したかを判断し、位置xrcがxr
0+W/2以下であれば、ステップ103からステップ107までの処理を繰り返す。ここまでの処理は、位置yrc、角度θrcを一定とした状態で、位置xrcをxr0―W/2からxr0+W/2まで、x軸計算幅Δx毎に、総和Ecの計算を行い、その範囲における最小値を求めるものである。ステップ108で位置xrcがxr0+W/2を越えたと判断したときには、距離探索の領域外となることを意味するので、ステップ109にジャンプし、図5に記述しているように、位置xrcを初期値であるxr0―W/2に、位置yrcをy軸計算幅Δyだけ加算したものを位置yrcに置換えている。ステップ110は、ステップ108と同様に、位置yrcがyr0+W/2に到達したかを判断し、位置yrcがyr0+W/2以下であれば、ステップ103からステップ109までの処理を繰り返す。この結果、総和Eは、θrcを一定の値として、x軸、y軸方向の距離探索の領域全域における最小値を求めることができる。従って、その範囲における総和Eが最小となるロボットの姿勢(xr、yr、θr)も得られる。
ステップ110で位置yrcがyr0+W/2を越えたと判断した場合には、図5のステップ
111に示す処理を行う。つまり、位置yrcを初期値であるyr0―W/2に、位置θrcを角
度計算幅Δθだけ加算したものを位置θrcに置換えている。次に、ステップ112では、
角度θrcがθr0+γ/2に到達したかを判断し、角度θrcがθr0+γ/2以下である場合には
、ステップ103からステップ111までの処理を繰り返す。角度θrcがθr0+γ/2を越
えたときには、同定演算を終了することになる。以上の処理を行うことにより、x軸、y
軸の距離探索値Wの範囲、及び、θ方向の角度探索値γの範囲について、すべての総和Ec
を計算し、その中で最小となるEcを総和Eとして確定することができる。そのとき、記憶
されている位置xr、yr、角度θrが、実際のロボットの姿勢(xr、yr、θr)であると同
定することができる。図4がそのときの結果である。
ここで、図4の右側において、距離dのデータの中に、明らかに地図と一致しないデー
タd(a)、d(b)、d(c)があり、その場所に地図に示されていない何らかの物体が存在
することを意味している。例えば、レイアウト替えにより物体が配置された場合が考えら
れる。本実施例では、図7における動作領域14の右側の壁と物体17の間にある物体1
9がある場合で説明する。図4の結果から、図6に示すように、新たな物体19の一部を
検出することになる。この情報を基に、コントローラ1の地図生成装置5では、地図の生
成・更新を行う。
この演算方法について、図8のフローチャートを用いて説明する。まず、ステップ20
1でロボット2の姿勢(xr、yr、θr)を入力し、ステップ202において距離センサ9
で得られた距離dを入力する。次のステップ203では、角度ηに対する物体との距離d
(η)を基に、ロボット2から±90°の範囲内で検出される物体の位置(静止座標系)
、つまり、物体検出位置(xd(η)、yd(η))を求める。角度ηの演算刻み幅Δηは
距離センサ9のデータ数、演算処理時間などにより決定するものであり、ステップ203
、204、及び、205の繰返し演算はこの演算刻み幅Δη毎に行う。ステップ204に
おける演算は、ロボット位置(xr(η)、yr(η))から物体検出位置(xd(η)、
yd(η))までの地図更新データを作成するものである。ロボット2から物体の位置ま
での距離を検出するということは、物体が存在する位置を検出することだけでなく、ロボ
ット2から検出した物体の位置までの間には、他の物体が存在しないことも計測している
ことになる。従って、ステップ204では、物体の位置だけでなく、物体が存在しない範
囲も含めて、地図更新データを作成する。ステップ205では、この地図更新データを用
いて、地図データの要素毎に、書き換え、及び、フィルタリング処理演算を行う。この結
果得られる地図の変更データは地図データ記憶部4に出力される。
以上の処理により、ロボット2が収集した距離データに基づきロボット2の姿勢を同定
するとともに、コントローラ1が常に地図を追加・更新する。これにより、高速の演算処
理時間を必要とする姿勢の同定処理と、地図生成を分離するので、ロボット2で行う演算
処理を軽減でき、ロボットを安価にすることができる。
図9は複数のロボットがコントローラ1により運行されるシステムの実施例である。ロ
ボット20、21及び22が動作領域14の中を動作するものであり、それぞれのロボッ
トはコントローラ1により制御される。図9におけるコントローラ1は、ロボット運行管
理部23、走行制御指令部24、25、26、地図生成装置27、地図データ記憶部4、
送受信部6から構成される。ロボット運行管理部23は、ロボット20、21及び22の
運行方法を管理するもので、各ロボットをそれぞれ設定した位置まで移動するように指令
を与える機能を有する。この運行指令により、走行制御指令部24、25及び26はそれ
ぞれロボット20、21及び22に走行指令を出力し、それらの動作を制御する。これら
の処理方法は、図3の走行制御指令部3で説明したものと同様である。これらの走行指令
により、ロボット20、21及び22は移動・停止を行う。また、図5の実施例で説明し
たように、各ロボットはそれぞれ自己の姿勢を同定し、その結果を走行制御指令部24、
25、26と地図生成装置27に出力する。
次に、本実施例で特徴的な地図生成装置27について図10を用いて説明する。ステッ
プ301において、ロボット20が動作中であるか否かを判断し、動作中である場合には
ステップ302の処理を、そうでない場合にはステップ303にジャンプする。ステップ
302はロボット20の地図更新データを作成するものであり、ロボット20の距離セン
サにより検出できる範囲について、図8で説明した処理方法と同様の処理を行う。ロボッ
ト20が動作中でない場合には、新しい情報が得られないので、ステップ302の処理を
行わないことにする。ステップ303、304はロボット21を対象として、ステップ3
05、306はロボット22を対象として、それぞれ地図更新データを作成するものであ
る。これらの処理により得られた地図更新データは、ステップ307で合成される。この
結果、3つのロボットで得られた情報を1つの地図更新データにまとめると、次のステッ
プ308において、地図の書き換え、フィルタリング処理を行い、新しい情報を含む地図
を更新することができる。
ここで、従来のシステムと本実施例の違いについてまとめる。まず、従来のシステムの
1つとして、ロボットの姿勢の同定と地図生成をコントローラ1ですべて行うシステムで
ある場合を説明する。この場合、多くのロボットの姿勢同定をするために、演算が膨大に
なってしまい、演算結果を得るまでの時間が長くなる問題がある。つまり、姿勢同定結果
を基にしたロボットのフィードバック制御では、高速応答化することができない。また、
従来システムの他の事例として、ロボットが姿勢の同定と地図生成をそれぞれ行うシステ
ムでは、各ロボットが収集した情報だけで作成した地図が複数存在することになり、他の
ロボットが得た最新の情報を活用できないという問題がある。これに対して、図9、図1
0の実施例によれば、複数のロボットが運行されるシステムにおいて、それぞれのロボッ
トの演算負荷を大きくすることなく、ロボットの姿勢を同定することができる。また、コ
ントローラ1において複数のロボットからの情報を集めて、地図を統一的に作成すること
ができるので、すべてのロボットが同じ地図情報を基に制御され、移動することになる。
そのため、他のロボットが収集した情報を含む最新の地図情報でロボットの姿勢の同定も
行うことができるので、より信頼度と精度の高い同定を行うことができる。
図11は、図9、図10の実施例における地図生成装置27の演算が異なる他の実施例
である。図10と比べて、ステップ309の演算が追加されたものであり、複数のロボッ
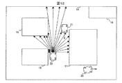
トが動作する場合に有効な処理である。例えば、図12〜図14に示すように、ロボット
21とロボット22が互いに距離センサにより地図更新データとして検出できる場合を考
える。ロボット22は搭載している距離センサで図12に示す範囲の距離を検出すること
になるので、図11のステップ306において、ロボット21を含めて地図更新データを
作成する。また、図13のように、ロボット21についても、図11のステップ304に
おいて、ロボット22を含めて地図更新データを作成する。
ステップ309では、図9の地図生成装置に入力されたすべてのロボットの姿勢と、図
11のステップ302、304、306で得られた地図更新データを照合して、ロボット
の位置が正しく同定されているかを判断する。正しく同定されていないと判断した場合に
は、ロボット位置同定異常として、警報を吹鳴する、あるいは、システムを停止するなど
の処置を行う。
また、図14に示すように、ロボット21とロボット22が向かい合っている場合には
、互いのロボットの姿勢と距離の情報から、ロボット21とロボット22の距離が誤差精
度範囲内で正しく計測されているかを確認する。この方法により、ロボットに搭載した距
離センサの高い信頼性を確保することができる。さらに、2つのロボットが同時に計測す
る物体の範囲については、三角測量の原理から、高精度に地図を生成することができる。
図14の場合には、太線で表した物体17の左側の一部、物体15の上部右側、物体18
の下部右側がそれに相当する。このように、複数のロボットで相互にロボットの位置を同
定することにより、高い信頼性を持つシステムを構築できるとともに、地図生成の高精度
化にも寄与できる特徴を持つ。
図15は広範囲の領域を動くロボットシステムの実施例であり、広範囲の地図データの
うち、ロボット2がいる位置の近傍だけの地図をロボットの姿勢の同定に利用するもので
ある。以下、このロボット近傍の地図を地域地図とよぶことにする。図15の実施例が図
1と異なる点は、地図データ記憶部30、走行制御指令部31、モータ制御部32の処理
方法である。
走行制御指令部31では、図1の走行制御指令部3と同様の方法で走行指令を求める。
次に、ロボット2から検出された車輪11、12の回転数、舵角を走行制御指令部31に
入力する。なお、これらの回転数、舵角のことをオドメトリとよぶことにする。また、ロ
ボット2の同定装置10で同定された姿勢も走行制御指令部31に入力している。入力さ
れた姿勢とオドメトリから、最新のロボット2の姿勢を推定して、走行指令に対するロボ
ット2の姿勢のフィードバック制御を行う。この結果に基づき、車輪11、12を駆動す
る各モータのモータ制御指令をロボット2に出力する。ロボット2のモータ制御部32で
は、これらのモータ制御指令に基づき、モータの制御を行い、ロボット2を駆動する。
また、本実施例の特徴的な点は、地図データ記憶部30に入出力するデータである。地
図生成装置5で、ロボット2の姿勢からロボット2がどの地域にいるかを判断し、地域選
択指令を地図データ記憶部30に出力する。この地域選択指令に基づき、ロボットが存在
する地域地図を地図データ記憶部30からロボット2の同定装置10に出力する。同定装
置10は、図1の実施例と同様であり、地域地図を基にロボット2の姿勢を同定する処理
を行う。なお、地図生成装置5から地図データ記憶部30に出力される変更データは、地
域地図の範囲に限定されるものではなく、ロボット2が測定した距離データから得られる
地図更新データに基づくものである。
ロボットが設定した地域外に移動する場合には、地域選択指令を変更することにより、
自動的にロボット2が必要とする地域地図に書き換えられる特徴がある。従って、本実施
例を用いることにより、広範囲の領域を動き回るロボットシステムにおいて、ロボットの
地図が必要とする記憶装置を大きくすることなく、ロボットの姿勢同定、地図生成・更新
を行うことができるので、工場や物流センタなどの広範囲の動作領域を動くロボットシス
テムを比較的安価に提供できる利点がある。
以上が、工場や物流センタなどの所定の動作領域で運行するロボットシステムにおいて
、適用した実施例であるが、ビルや病院内で運行するロボットシステムにも適用できる。
1つのロボットが運行するシステムと複数のロボットが運行するシステムについて、異な
る制御方法によりロボットを制御する方法を実施例として説明したが、これらの方法を組
合せて実施する方法も、有効である。また、先にも述べたように、地図生成することを目
的としたロボットシステムの場合、ロボットは自律的に動作する必要はないので、人間が
操作あるいは押す車両も本発明のロボットであり、それに適用することもできる。従って
、本実施例に述べた方法に限定するものでなく、複数の組合せを併用した場合でも、本発
明は広く適用できる。
1:コントローラ 2、20、21、22:ロボット
3、24、25、26、31:走行制御指令部
4、27、30:地図データ記憶部 5:地図生成装置
6、7:送受信部 8:走行制御 9:距離センサ
10:同定装置 11、12:車輪
13、15、16、17、18、19:物体もしくは作業台
14:動作領域 23:ロボット運行管理部
32:モータ制御部 41:出発点 42:到着点

Claims (8)

  1. 地図データを有するコントローラと複数の移動するロボットから構成されるロボットシステムであって、
    前記ロボットは、それぞれ周囲の物体との距離を複数計測し、前記コントローラから入力した地図データと照合することで前記ロボットの位置及び角度を同定し、
    前記コントローラは、複数の前記ロボットのうち、動作中であることを確認したロボットが計測した前記物体との距離と前記位置及び角度を基に、動作中の複数のロボットの地図更新データを合成することにより、前記地図データを生成又は更新することを特徴とするロボットシステム。
  2. 地図データを有するコントローラと複数の移動するロボットから構成されるロボットシステムであって、
    前記ロボットは、周囲の物体との距離を複数計測する距離センサと、前記地図データのうち、ロボット近傍の地域地図データを選択するデータ選択装置と、前記地域地図データと前記距離を照合することで前記ロボットの位置と角度を同定する同定装置を備え、
    前記コントローラは、複数の前記ロボットのうち、動作中であることを確認したロボットの位置と角度、及び、動作中のロボットが計測した前記物体との距離を基に、動作中の複数のロボットの地図更新データを合成することにより、前記地図データを生成又は更新する地図生成装置を備えたことを特徴とするロボットシステム。
  3. 地図データを有するコントローラと複数の移動するロボットから構成されるロボットシステムであって、
    前記ロボットは、周囲の物体との距離を複数計測する距離センサと、前記地図データのうち、ロボット近傍の地域地図データを記憶する記憶装置と、前記地域地図データと前記距離を照合することで前記ロボットの位置と角度を同定する同定装置を備え、
    前記コントローラは、複数の前記ロボットのうち、動作中であることを確認したロボットの位置と角度、及び、動作中のロボットが計測した前記物体との距離を基に、動作中の複数のロボットの地図更新データを合成することにより、前記地図データを生成又は更新する地図生成装置を備えたことを特徴とするロボットシステム。
  4. 請求項1乃至3のいずれかに記載のロボットシステムにおいて、
    前記距離センサはレーザ測長器であることを特徴とするロボットシステム。
  5. 請求項1乃至3のいずれかに記載のロボットシステムにおいて、
    前記ロボットの位置と角度を同定した後に、該位置と角度、及び、前記コントローラからの動作指示により前記ロボットが自律移動することを特徴とするロボットシステム。
  6. 請求項1記載のロボットシステムにおいて、
    前記複数のロボットは相互にロボットの位置を同定することを特徴とするロボットシステム。
  7. 請求項2乃至3のいずれかに記載のロボットシステムにおいて、
    前記地域地図データは同定したロボットの位置により変更することを特徴とするロボットシステム。
  8. 請求項記載のロボットシステムにおいて、
    前記地域地図データを選択又は記憶したときのロボットの位置から所定距離以上、前記ロボットの位置が移動したとき、前記地域地図データを変更することを特徴とするロボットシステム。
JP2012173582A 2012-08-06 2012-08-06 ロボットシステム Active JP5439552B2 (ja)

Priority Applications (1)

Application Number Priority Date Filing Date Title
JP2012173582A JP5439552B2 (ja) 2012-08-06 2012-08-06 ロボットシステム

Applications Claiming Priority (1)

Application Number Priority Date Filing Date Title
JP2012173582A JP5439552B2 (ja) 2012-08-06 2012-08-06 ロボットシステム

Related Parent Applications (1)

Application Number Title Priority Date Filing Date
JP2007261517A Division JP2009093308A (ja) 2007-10-05 2007-10-05 ロボットシステム

Publications (2)

Publication Number Publication Date
JP2012256344A JP2012256344A (ja) 2012-12-27
JP5439552B2 true JP5439552B2 (ja) 2014-03-12

Family

ID=47527803

Family Applications (1)

Application Number Title Priority Date Filing Date
JP2012173582A Active JP5439552B2 (ja) 2012-08-06 2012-08-06 ロボットシステム

Country Status (1)

Country Link
JP (1) JP5439552B2 (ja)

Cited By (1)

* Cited by examiner, † Cited by third party
Publication number Priority date Publication date Assignee Title
US11774545B2 (en) * 2017-08-04 2023-10-03 Robert Bosch Gmbh Method for creating an object map for a factory environment

Families Citing this family (3)

* Cited by examiner, † Cited by third party
Publication number Priority date Publication date Assignee Title
JP2014197294A (ja) 2013-03-29 2014-10-16 株式会社日立産機システム 位置同定装置、及びそれを備えた移動ロボット
JP6412207B2 (ja) * 2017-05-25 2018-10-24 株式会社日立産機システム 位置同定装置
CN112859874B (zh) * 2021-01-25 2024-04-30 上海思岚科技有限公司 用于移动机器人的动态环境区域运维方法与设备

Family Cites Families (6)

* Cited by examiner, † Cited by third party
Publication number Priority date Publication date Assignee Title
JP2543848B2 (ja) * 1985-09-09 1996-10-16 株式会社東芝 自律的移動体
JPS63213005A (ja) * 1987-03-02 1988-09-05 Hitachi Ltd 移動体誘導方法
JP2523005B2 (ja) * 1988-11-29 1996-08-07 株式会社小松製作所 建設作業の管制システム
JPH04333903A (ja) * 1991-05-09 1992-11-20 Fujita Corp 自走車の走行制御装置
JPH05265548A (ja) * 1992-03-24 1993-10-15 Nippon Telegr & Teleph Corp <Ntt> 移動ロボットの環境学習方法
JP2007094743A (ja) * 2005-09-28 2007-04-12 Zmp:Kk 自律移動型ロボットとそのシステム

Cited By (1)

* Cited by examiner, † Cited by third party
Publication number Priority date Publication date Assignee Title
US11774545B2 (en) * 2017-08-04 2023-10-03 Robert Bosch Gmbh Method for creating an object map for a factory environment

Also Published As

Publication number Publication date
JP2012256344A (ja) 2012-12-27

Similar Documents

Publication Publication Date Title
JP2009093308A (ja) ロボットシステム
US8515612B2 (en) Route planning method, route planning device and autonomous mobile device
JP6599543B2 (ja) 自動搬送車
JP6769659B2 (ja) 移動体の管理システム、方法、およびコンピュータプログラム
JP6825712B2 (ja) 移動体、位置推定装置、およびコンピュータプログラム
JP2022511359A (ja) ウェイポイントマッチングを用いた自律マップトラバーサル
KR20210066791A (ko) 로봇식 장치의 타이트 턴을 위한 경로 계획을 최적화하는 시스템 및 방법
US11852484B2 (en) Method for determining the orientation of a robot, orientation determination apparatus of a robot, and robot
CN111433697A (zh) 用于自主移动机器人的运动规划
US20180173242A1 (en) Pre-Computation of Kinematically Feasible Roadmaps
EP3590016A1 (en) Method and system for simultaneous localization and sensor calibration
CN117795444A (zh) 动态环境中导航的定向探索
KR20170088228A (ko) 다중로봇의 자기위치인식에 기반한 지도작성 시스템 및 그 방법
CN102893232B (zh) 用于布置采矿车定位的方法和设备
JP2018527689A (ja) 自律車両のための仮想的なライン追従方法及び改造方法
KR100772912B1 (ko) 절대 방위각을 이용한 로봇 및 이를 이용한 맵 작성 방법
WO2015037222A1 (ja) 三次元物体認識装置、三次元物体認識方法、及び移動体
US11137768B2 (en) Position estimation system, position detection method, and program
CN113218384B (zh) 一种基于激光slam的室内agv自适应定位方法
JP5439552B2 (ja) ロボットシステム
JP2015036840A (ja) 自律走行車両、自律走行車両の制御システム及び自律走行車両の制御方法
JP5561730B2 (ja) 移動体の誘導制御システム及び誘導制御方法
US10035264B1 (en) Real time robot implementation of state machine
Aref et al. Position-based visual servoing for pallet picking by an articulated-frame-steering hydraulic mobile machine
JP2008059218A (ja) 自律走行ロボットの自己位置回復方法

Legal Events

Date Code Title Description
A977 Report on retrieval

Free format text: JAPANESE INTERMEDIATE CODE: A971007

Effective date: 20130823

A131 Notification of reasons for refusal

Free format text: JAPANESE INTERMEDIATE CODE: A131

Effective date: 20130910

A521 Request for written amendment filed

Free format text: JAPANESE INTERMEDIATE CODE: A523

Effective date: 20131024

TRDD Decision of grant or rejection written
A01 Written decision to grant a patent or to grant a registration (utility model)

Free format text: JAPANESE INTERMEDIATE CODE: A01

Effective date: 20131119

A61 First payment of annual fees (during grant procedure)

Free format text: JAPANESE INTERMEDIATE CODE: A61

Effective date: 20131216

R150 Certificate of patent or registration of utility model

Ref document number: 5439552

Country of ref document: JP

Free format text: JAPANESE INTERMEDIATE CODE: R150

Free format text: JAPANESE INTERMEDIATE CODE: R150