JP5387783B2 - 電気製品 - Google Patents
電気製品 Download PDFInfo
- Publication number
- JP5387783B2 JP5387783B2 JP2012546735A JP2012546735A JP5387783B2 JP 5387783 B2 JP5387783 B2 JP 5387783B2 JP 2012546735 A JP2012546735 A JP 2012546735A JP 2012546735 A JP2012546735 A JP 2012546735A JP 5387783 B2 JP5387783 B2 JP 5387783B2
- Authority
- JP
- Japan
- Prior art keywords
- wireless
- conductor
- power cable
- loop
- electrical product
- Prior art date
- Legal status (The legal status is an assumption and is not a legal conclusion. Google has not performed a legal analysis and makes no representation as to the accuracy of the status listed.)
- Expired - Fee Related
Links
Images
Classifications
-
- H—ELECTRICITY
- H01—ELECTRIC ELEMENTS
- H01Q—ANTENNAS, i.e. RADIO AERIALS
- H01Q1/00—Details of, or arrangements associated with, antennas
- H01Q1/44—Details of, or arrangements associated with, antennas using equipment having another main function to serve additionally as an antenna, e.g. means for giving an antenna an aesthetic aspect
- H01Q1/46—Electric supply lines or communication lines
-
- G—PHYSICS
- G06—COMPUTING OR CALCULATING; COUNTING
- G06K—GRAPHICAL DATA READING; PRESENTATION OF DATA; RECORD CARRIERS; HANDLING RECORD CARRIERS
- G06K19/00—Record carriers for use with machines and with at least a part designed to carry digital markings
- G06K19/06—Record carriers for use with machines and with at least a part designed to carry digital markings characterised by the kind of the digital marking, e.g. shape, nature, code
- G06K19/067—Record carriers with conductive marks, printed circuits or semiconductor circuit elements, e.g. credit or identity cards also with resonating or responding marks without active components
- G06K19/07—Record carriers with conductive marks, printed circuits or semiconductor circuit elements, e.g. credit or identity cards also with resonating or responding marks without active components with integrated circuit chips
- G06K19/0723—Record carriers with conductive marks, printed circuits or semiconductor circuit elements, e.g. credit or identity cards also with resonating or responding marks without active components with integrated circuit chips the record carrier comprising an arrangement for non-contact communication, e.g. wireless communication circuits on transponder cards, non-contact smart cards or RFIDs
-
- H—ELECTRICITY
- H02—GENERATION; CONVERSION OR DISTRIBUTION OF ELECTRIC POWER
- H02J—CIRCUIT ARRANGEMENTS OR SYSTEMS FOR SUPPLYING OR DISTRIBUTING ELECTRIC POWER; SYSTEMS FOR STORING ELECTRIC ENERGY
- H02J50/00—Circuit arrangements or systems for wireless supply or distribution of electric power
- H02J50/05—Circuit arrangements or systems for wireless supply or distribution of electric power using capacitive coupling
-
- H—ELECTRICITY
- H02—GENERATION; CONVERSION OR DISTRIBUTION OF ELECTRIC POWER
- H02J—CIRCUIT ARRANGEMENTS OR SYSTEMS FOR SUPPLYING OR DISTRIBUTING ELECTRIC POWER; SYSTEMS FOR STORING ELECTRIC ENERGY
- H02J50/00—Circuit arrangements or systems for wireless supply or distribution of electric power
- H02J50/10—Circuit arrangements or systems for wireless supply or distribution of electric power using inductive coupling
-
- H—ELECTRICITY
- H04—ELECTRIC COMMUNICATION TECHNIQUE
- H04B—TRANSMISSION
- H04B3/00—Line transmission systems
- H04B3/54—Systems for transmission via power distribution lines
- H04B3/542—Systems for transmission via power distribution lines the information being in digital form
-
- H—ELECTRICITY
- H04—ELECTRIC COMMUNICATION TECHNIQUE
- H04B—TRANSMISSION
- H04B5/00—Near-field transmission systems, e.g. inductive or capacitive transmission systems
- H04B5/70—Near-field transmission systems, e.g. inductive or capacitive transmission systems specially adapted for specific purposes
- H04B5/79—Near-field transmission systems, e.g. inductive or capacitive transmission systems specially adapted for specific purposes for data transfer in combination with power transfer
-
- H—ELECTRICITY
- H04—ELECTRIC COMMUNICATION TECHNIQUE
- H04B—TRANSMISSION
- H04B2203/00—Indexing scheme relating to line transmission systems
- H04B2203/54—Aspects of powerline communications not already covered by H04B3/54 and its subgroups
- H04B2203/5429—Applications for powerline communications
- H04B2203/5441—Wireless systems or telephone
Landscapes
- Engineering & Computer Science (AREA)
- Computer Networks & Wireless Communication (AREA)
- Power Engineering (AREA)
- Signal Processing (AREA)
- Computer Hardware Design (AREA)
- Microelectronics & Electronic Packaging (AREA)
- Physics & Mathematics (AREA)
- General Physics & Mathematics (AREA)
- Theoretical Computer Science (AREA)
- Details Of Aerials (AREA)
- Near-Field Transmission Systems (AREA)
Description
本発明は、電気製品、特に、RFID(Radio Frequency Identification)システムなどの無線通信を好適に利用できる電気製品に関する。
従来、物品の管理システムとして、電磁界を発生するリーダライタと物品に付された所定の情報を記憶したRFIDタグ(無線IC素子)とを非接触方式で通信し、情報を伝達するRFIDシステムが開発されている。特許文献1,2では、家電製品のリサイクル管理のためにRFIDタグを利用した例が示されている。しかし、特許文献1に記載のリサイクルシステムでは冷蔵庫の扉に内蔵される制御基板にタグを取り付けているため、タグの周辺に金属材が配置されると、リーダライタとの間で安定した通信が阻害されるおそれがある。特許文献2ではタグの取付け形態に言及することはない。
一方、特許文献3には、電力線又はプラグにRFIDタグを取り付け、電力線の一部をアンテナとして用いる例が示されている。しかし、この電源コードでは、製品に取り付けて管理する場合、コードが製品から引き抜かれると管理が不能となる。仮に、コードを製品に固定した場合であって、コードの補修や交換されることを考慮すると、タグをコードに取り付けることは好ましいことではない。
そこで、本発明の目的は、リーダライタとの安定した通信を可能とし、かつ、無線IC素子の損傷や離脱などを防止できる電気製品を提供することにある。
前記目的を達成するため、本発明の一形態である電気製品は、
電気製品本体の内部に、高周波信号を処理する無線IC素子が配置され、
前記無線IC素子は入出力端子を有し、
前記入出力端子は、前記電気製品本体から外部に導出した電源ケーブルの少なくとも一部と結合しており、
前記無線IC素子は前記入出力端子及び前記電源ケーブルを介して他の機器と有線通信可能であること、
を特徴とする。
電気製品本体の内部に、高周波信号を処理する無線IC素子が配置され、
前記無線IC素子は入出力端子を有し、
前記入出力端子は、前記電気製品本体から外部に導出した電源ケーブルの少なくとも一部と結合しており、
前記無線IC素子は前記入出力端子及び前記電源ケーブルを介して他の機器と有線通信可能であること、
を特徴とする。
前記電気製品においては、無線IC素子は入出力端子が結合する電源ケーブルを介して他の機器との有線通信が可能であり、無線IC素子は電気製品本体の内部に配置されているため、外部からの衝撃などで損傷したり離脱することはない。また、電源ケーブルをモノポールアンテナあるいはダイポールアンテナとして機能させ、リーダライタと無線通信を行い、電気製品のリサイクル、ライフサイクルなどを管理してもよい。外部に導出した電源ケーブルがアンテナとして機能するため、無線IC素子に近接して金属材が配置されたり、電気製品のカバー材に金属が用いられた場合であっても無線通信に支障を生じることはなく安定した通信が可能になる。
本発明によれば、安定した無線通信が可能であり、かつ、無線IC素子の損傷や離脱などを防止できる。
以下に、本発明に係る電気製品の実施例について添付図面を参照して説明する。なお、各図において、同一の部品、部分には共通する符号を付し、重複する説明は省略する。
(第1実施例、図1〜図3参照)
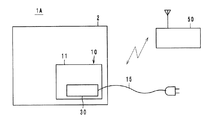
第1実施例である電気製品1Aは、図1に示すように、金属などでできた製品本体2に内蔵された電源ユニット10の基板11に無線IC素子30を搭載し、該無線IC素子30を製品本体2から外部に導出した電源ケーブル15の少なくとも一部に(直接的にあるいは間接的に)結合させたもので、電源ケーブル15が無線IC素子30のアンテナとして機能し、RFIDシステムのリーダライタ50と所定の周波数帯で無線通信を行う。なお、本明細書で「結合」というときは、直接的な電気結合、磁界結合、電界結合又は電磁界結合のいずれかである。
第1実施例である電気製品1Aは、図1に示すように、金属などでできた製品本体2に内蔵された電源ユニット10の基板11に無線IC素子30を搭載し、該無線IC素子30を製品本体2から外部に導出した電源ケーブル15の少なくとも一部に(直接的にあるいは間接的に)結合させたもので、電源ケーブル15が無線IC素子30のアンテナとして機能し、RFIDシステムのリーダライタ50と所定の周波数帯で無線通信を行う。なお、本明細書で「結合」というときは、直接的な電気結合、磁界結合、電界結合又は電磁界結合のいずれかである。
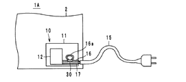
詳しくは、図2に示すように、電源基板11には電源部12に加えて電源ケーブル15と接続された導体パターン16,17が形成されている。一方の導体パターン16の中間部には、図3に示すように、ループ状導体16aが形成されており、該ループ状導体16aの両端部には無線IC素子30の入出力端子31,32が結合されている。ループ状導体16aはその線路長に応じて無線IC素子30とのインピーダンスを整合する機能を有している。
無線IC素子30はRFIDタグとして従来から周知のものであり、内部に高周波信号を処理する処理回路(CPUや書換え可能なメモリを含む)を有している。なお、無線IC素子30としては、無線ICチップと該無線ICチップと結合した給電回路を有する給電回路基板とを組み合わせたものであってもよい。
以上の構成において、無線IC素子30の入出力端子31,32がループ状導体16aと結合して電力、高周波信号を伝達し、ループ状導体16aは導体パターン16を介して電源ケーブル15の一方の導体と結合し、電源ケーブル15がモノポールアンテナとして機能する。従って、電源ケーブル15を介して無線IC素子30と外部のリーダライタ50との通信が可能となる。電源ケーブル15がコンセントから引き抜かれた状態にあっても通信が可能である。
本第1実施例では、外部に導出した電源ケーブル15がアンテナとして機能するため、無線IC素子30に近接して金属材が配置されたり、電気製品のカバー材に金属が用いられた場合であっても無線通信に支障を生じることはなく安定した通信が可能になる。また、無線IC素子30は製品本体2の内部に配置されているため、外部からの衝撃などで損傷したり離脱することはない。さらに、無線IC素子30は電源ケーブル15の1本の導体と結合されるため、入出力端子31,32に加わる電源電圧は非常に小さく、電圧印加によって無線IC素子30がダメージを受けることはない。
なお、電源基板11は多層基板であってもよく、多層基板であれば、導体パターン16,17やループ状導体16aを基板11に内蔵させてもよい。無線IC素子30を基板11に内蔵させてもよい。
(変形例、図4及び図5参照)
前記第1実施例における無線IC素子30の配置の変形例を図4(A),(B)に示す。図4(A)に示す変形例1は、電源基板11に導体パターン16,17とグランドパターン18を形成し、無線IC素子30を導体パターン17とグランドパターン18とに結合させたものである。この場合、導体パターン17と接続されている電源ケーブル15の一方の導体がモノポールアンテナとして機能する。図4(B)に示す変形例2は、無線IC素子30を導体パターン16,17に結合させたものである。この場合、導体パターン16,17と接続されている電源ケーブル15の双方の導体がダイポールアンテナとして機能する。
前記第1実施例における無線IC素子30の配置の変形例を図4(A),(B)に示す。図4(A)に示す変形例1は、電源基板11に導体パターン16,17とグランドパターン18を形成し、無線IC素子30を導体パターン17とグランドパターン18とに結合させたものである。この場合、導体パターン17と接続されている電源ケーブル15の一方の導体がモノポールアンテナとして機能する。図4(B)に示す変形例2は、無線IC素子30を導体パターン16,17に結合させたものである。この場合、導体パターン16,17と接続されている電源ケーブル15の双方の導体がダイポールアンテナとして機能する。
以上説明した変形例1,2にあっては、前記第1実施例のごとくループ状導体16aを必要としないので、無線IC素子30の設置面積を小さくできる。
図5に示す変形例3は、インピーダンス整合用のループ状導体36を子基板35上に形成し、該ループ状導体36の両端部に無線IC素子30を結合させたものである。子基板35は電源基板11上に形成した導体パターン16上に搭載され、これにて、ループ状導体36が導体パターン16と結合する。即ち、無線IC素子30はループ状導体36と結合し、かつ、ループ状導体36が導体パターン16を介して電源ケーブル15と結合している。これにて、電源ケーブル15の一方の導体がモノポールアンテナとして機能する。本変形例3によれば、もともと無線IC素子30の搭載を予定していない電気製品であっても電源ユニット10に子基板35を搭載することでRFIDシステムに組み込むことが可能となる。また、無線IC素子30に直接電源電圧や外部からの静電気入力等が印加されることがなく、無線IC素子30が破壊される危険性を低くすることができる。
(第2実施例、図6及び図7参照)
第2実施例である電気製品1Bは、図6に示すように、電源基板11に無線IC素子30を搭載し、該無線IC素子30を電源ケーブル15の少なくとも一部に(直接的にあるいは間接的に)結合させるとともに、無線IC素子30を電気製品1Bの本体制御回路5に接続したものである。
第2実施例である電気製品1Bは、図6に示すように、電源基板11に無線IC素子30を搭載し、該無線IC素子30を電源ケーブル15の少なくとも一部に(直接的にあるいは間接的に)結合させるとともに、無線IC素子30を電気製品1Bの本体制御回路5に接続したものである。
詳しくは、図7に示すように、電源基板11上に、電源ケーブル15と接続された導体パターン16,17、本体制御回路5と接続された導体パターン20を形成し、導体パターン16にはループ状導体16aが形成されている。無線IC素子30は第1端子31、第2端子32及び第3端子33を有し、第1及び第2端子31,32が導体パターン16(ループ状導体16aの根本部)に結合している。また、第3端子33が導体パターン20の端部に結合している。導体パターン16,17は電源部12(図2参照)に接続されている。
以上の構成において、無線IC素子30の第1及び第2端子31,32がループ状導体16aと結合して電力、高周波信号を伝達し、ループ状導体16aは導体パターン16を介して電源ケーブル15の一方の導体と結合し、電源ケーブル15がモノポールアンテナとして機能する。従って、電源ケーブル15を介して無線IC素子30と外部のリーダライタ50との通信が可能となる。また、無線IC素子30の第2及び第3端子32,33を通じて必要な情報を本体制御回路5に有線にて伝送することができる。このとき、端子32及び導体パターン16は、有線伝送する情報信号に対しグランド電位を定める端子として働くが、グランド電位端子についてはこれに限る必要はなく、無線IC素子30にさらに別のグランド端子を設け、その端子を基板上のグランドパターンに接続するような構成をとってもよい。
本第2実施例では、前記第1実施例での機能に加えて、例えば、電気製品本体2の電源がオフされているときであってもリーダライタ50から無線IC素子30に必要な情報を送信し、該情報を無線IC素子30のメモリに格納しておき、本体2の電源がオンされたときに、該情報が無線IC素子30から本体制御回路5に伝送されることにより、電気製品1Bに必要な指示を与えることができる。
(第3実施例、図8及び図9参照)
第3実施例である電気製品1Cは、図8に示すように、電源基板11に無線IC素子30を搭載し、該無線IC素子30を電源ケーブル15の少なくとも一部に(直接的にあるいは間接的に)結合させるとともに、無線IC素子30を電気製品1Cの本体制御回路5に接続し、さらに、電源ケーブル15を介してサーバ55と電力線通信(Power Line Communication)を可能としたものである。
第3実施例である電気製品1Cは、図8に示すように、電源基板11に無線IC素子30を搭載し、該無線IC素子30を電源ケーブル15の少なくとも一部に(直接的にあるいは間接的に)結合させるとともに、無線IC素子30を電気製品1Cの本体制御回路5に接続し、さらに、電源ケーブル15を介してサーバ55と電力線通信(Power Line Communication)を可能としたものである。
詳しくは、図9に示すように、電源基板11上に、電源ケーブル15と接続された導体パターン16,17を形成し、導体パターン16にはループ状導体16aが形成されている。無線IC素子30は第1端子31、第2端子32及び第3端子33を有し、第1及び第2端子31,32が導体パターン16(ループ状導体16aの根本部)に結合している。また、第3端子33が導体パターン17に結合している。導体パターン16,17は2分岐して電源部12(図2参照)及び本体制御回路5に接続されている。
以上の構成において、無線IC素子30の第1及び第2端子31,32がループ状導体16aと結合して電力、高周波信号を伝達し、ループ状導体16aは導体パターン16を介して電源ケーブル15の一方の導体と結合し、電源ケーブル15がモノポールアンテナとして機能する。従って、電源ケーブル15を介して無線IC素子30と外部のリーダライタ50との通信が可能となる。また、無線IC素子30の第2及び第3端子32,33を通じてかつ電源ケーブル15を介してサーバ55と電力線通信が可能である。
本第3実施例では、前記第1実施例での機能に加えて、例えば、サーバ55が電力線通信によって電気製品1Cの情報を入手したり、無線IC素子30に情報や指令を送信できる。電気製品1Cの電源がオフされているときであってもこの種の通信は可能である。通常、サーバ55は複数の電気製品の管理を行うことになる。
(他の実施例)
なお、本発明に係る電気製品は前記実施例に限定するものではなく、その要旨の範囲内で種々に変更できることは勿論である。
なお、本発明に係る電気製品は前記実施例に限定するものではなく、その要旨の範囲内で種々に変更できることは勿論である。
例えば、電気製品は冷蔵庫など電源ケーブルが引き出されているものが対象となり、幅広く様々な電気製品に本発明を適用することができる。また、電源ユニットやその基板の構成は任意である。また、電源ケーブルは、電源基板側に固定されているものでなくともよく、電源基板に設けられたコネクタを介して着脱可能に接続されるものであってもよい。また、ACアダプタが外部ユニットとして構成されており、電源基板はDC入力となっているものであってもよい。
以上のように、本発明は、電気製品に有用であり、特に、安定した無線通信が可能であり、かつ、無線IC素子の損傷や離脱などを防止できる点で優れている。
1A,1B,1C…電気製品
2…電気製品本体
5…本体制御回路
10…電源ユニット
11…電源基板
15…電源ケーブル
16,17,20…導体パターン
18…グランドパターン
16a,36…ループ状導体
30…無線IC素子
31,32,33…入出力端子
35…子基板
50…リーダライタ
55…サーバ
2…電気製品本体
5…本体制御回路
10…電源ユニット
11…電源基板
15…電源ケーブル
16,17,20…導体パターン
18…グランドパターン
16a,36…ループ状導体
30…無線IC素子
31,32,33…入出力端子
35…子基板
50…リーダライタ
55…サーバ
Claims (8)
- 電気製品本体の内部に、高周波信号を処理する無線IC素子が配置され、
前記無線IC素子は入出力端子を有し、
前記入出力端子は、前記電気製品本体から外部に導出した電源ケーブルの少なくとも一部と結合しており、
前記無線IC素子は前記入出力端子及び前記電源ケーブルを介して他の機器と有線通信可能であること、
を特徴とする電気製品。 - 前記無線IC素子はさらに前記入出力端子及び前記電源ケーブルを介してリーダライタと無線通信可能であること、を特徴とする請求項1に記載の電気製品。
- 前記入出力端子は前記電気製品本体の制御回路と接続されていること、を特徴とする請求項1又は請求項2に記載の電気製品。
- 前記無線IC素子は電源回路を搭載した第1基板の表面又は内部に搭載されていること、を特徴とする請求項1ないし請求項3のいずれかに記載の電気製品。
- 前記第1基板には前記電源ケーブルと接続された導体パターンが形成されており、該導体パターンの少なくとも一部に前記無線IC素子とのインピーダンスを整合させるためのループ状導体が形成されており、
前記無線IC素子は前記ループ状導体と結合していること、
を特徴とする請求項4に記載の電気製品。 - 前記無線IC素子とのインピーダンスを整合させるためのループ状導体が第2基板に形成されており、
前記無線IC素子は、前記ループ状導体と結合しており、かつ、前記ループ状導体は前記電源ケーブルの少なくとも一部と結合していること、
を特徴とする請求項5に記載の電気製品。 - 電源回路を搭載した第1基板には前記電源ケーブルと接続された導体パターンが形成されており、
前記第2基板は前記第1基板に搭載されて前記ループ状導体が前記導体パターンと結合していること、
を特徴とする請求項6に記載の電気製品。 - 前記無線IC素子と前記電源ケーブル、前記導体パターン若しくは前記ループ状導体との結合、又は、前記ループ状導体と前記電源ケーブル若しくは前記導体パターンとの結合は、直接的な電気結合、磁界結合、電界結合又は電磁界結合のいずれかであること、を特徴とする請求項1ないし請求項7のいずれかに記載の電気製品。
Priority Applications (1)
| Application Number | Priority Date | Filing Date | Title |
|---|---|---|---|
| JP2012546735A JP5387783B2 (ja) | 2010-12-01 | 2011-10-19 | 電気製品 |
Applications Claiming Priority (4)
| Application Number | Priority Date | Filing Date | Title |
|---|---|---|---|
| JP2010268252 | 2010-12-01 | ||
| JP2010268252 | 2010-12-01 | ||
| PCT/JP2011/074009 WO2012073608A1 (ja) | 2010-12-01 | 2011-10-19 | 電気製品 |
| JP2012546735A JP5387783B2 (ja) | 2010-12-01 | 2011-10-19 | 電気製品 |
Publications (2)
| Publication Number | Publication Date |
|---|---|
| JP5387783B2 true JP5387783B2 (ja) | 2014-01-15 |
| JPWO2012073608A1 JPWO2012073608A1 (ja) | 2014-05-19 |
Family
ID=46171560
Family Applications (1)
| Application Number | Title | Priority Date | Filing Date |
|---|---|---|---|
| JP2012546735A Expired - Fee Related JP5387783B2 (ja) | 2010-12-01 | 2011-10-19 | 電気製品 |
Country Status (5)
| Country | Link |
|---|---|
| US (1) | US20130140362A1 (ja) |
| EP (1) | EP2592585A1 (ja) |
| JP (1) | JP5387783B2 (ja) |
| CN (1) | CN103026370A (ja) |
| WO (1) | WO2012073608A1 (ja) |
Family Cites Families (4)
| Publication number | Priority date | Publication date | Assignee | Title |
|---|---|---|---|---|
| US7135974B2 (en) * | 2002-04-22 | 2006-11-14 | Symbol Technologies, Inc. | Power source system for RF location/identification tags |
| JP2005050581A (ja) * | 2003-07-30 | 2005-02-24 | Seiko Epson Corp | 電源コード、電源コード検査装置及び電源コード検査方法 |
| JP4191088B2 (ja) * | 2004-05-14 | 2008-12-03 | 株式会社デンソー | 電子装置 |
| EP2166616B1 (en) * | 2007-07-18 | 2013-11-27 | Murata Manufacturing Co. Ltd. | Wireless ic device |
-
2011
- 2011-10-19 JP JP2012546735A patent/JP5387783B2/ja not_active Expired - Fee Related
- 2011-10-19 WO PCT/JP2011/074009 patent/WO2012073608A1/ja not_active Ceased
- 2011-10-19 EP EP11845261.4A patent/EP2592585A1/en not_active Withdrawn
- 2011-10-19 CN CN201180035339XA patent/CN103026370A/zh active Pending
-
2013
- 2013-02-04 US US13/757,991 patent/US20130140362A1/en not_active Abandoned
Also Published As
| Publication number | Publication date |
|---|---|
| JPWO2012073608A1 (ja) | 2014-05-19 |
| CN103026370A (zh) | 2013-04-03 |
| EP2592585A1 (en) | 2013-05-15 |
| US20130140362A1 (en) | 2013-06-06 |
| WO2012073608A1 (ja) | 2012-06-07 |
Similar Documents
| Publication | Publication Date | Title |
|---|---|---|
| US10659106B2 (en) | RFID tag | |
| CN102915462B (zh) | 无线ic器件 | |
| JP5835360B2 (ja) | アンテナ装置、カード型通信デバイス及び通信端末装置 | |
| CN209434380U (zh) | Rfid标签 | |
| JPWO2011055702A1 (ja) | 情報処理システム | |
| CN104898532A (zh) | 用于检测电活动的电活动传感器设备以及电活动监视装置 | |
| WO2014167881A1 (ja) | 通信端末 | |
| JP4896922B2 (ja) | 無線タグ及び無線タグを有する導電性パイプ | |
| JPWO2013115148A1 (ja) | アンテナ装置および通信端末装置 | |
| JP2012253700A (ja) | 無線通信デバイス、その製造方法及び無線通信デバイス付き金属物品 | |
| CN101071906A (zh) | 天线装置和物品管理系统 | |
| CN108698218B (zh) | 手持式工具机和放大器天线 | |
| EP3098609A1 (en) | Electrical activity sensor device for detecting electrical activity and electrical activity monitoring apparatus | |
| JP5387783B2 (ja) | 電気製品 | |
| CN107534219A (zh) | 天线装置及电子设备 | |
| JP5187083B2 (ja) | Rfidタグ、rfidシステム及びrfidタグ製造方法 | |
| EP3549067A1 (en) | Systems and methods for improving performance of rfid tags | |
| US10528861B2 (en) | Radio-frequency identification transponder for aggressive environments | |
| JPWO2021075159A1 (ja) | 無線icタグ付き医療用金属製器具 | |
| JP6264504B2 (ja) | アンテナおよび電子機器 | |
| JP2015225579A (ja) | 無線icデバイス、その製造方法、及び、無線icデバイス付き物品 | |
| TWI355611B (ja) | ||
| CN105184351A (zh) | 一种在家电控制器嵌入射频识别芯片的方法 | |
| JP2016116231A (ja) | 無線icデバイス及び無線icデバイス付き金属体 | |
| CN203826709U (zh) | 具有天线模块的电源插座装置 |
Legal Events
| Date | Code | Title | Description |
|---|---|---|---|
| TRDD | Decision of grant or rejection written | ||
| A01 | Written decision to grant a patent or to grant a registration (utility model) |
Free format text: JAPANESE INTERMEDIATE CODE: A01 Effective date: 20130910 |
|
| A61 | First payment of annual fees (during grant procedure) |
Free format text: JAPANESE INTERMEDIATE CODE: A61 Effective date: 20130923 |
|
| R150 | Certificate of patent or registration of utility model |
Ref document number: 5387783 Country of ref document: JP Free format text: JAPANESE INTERMEDIATE CODE: R150 Free format text: JAPANESE INTERMEDIATE CODE: R150 |
|
| LAPS | Cancellation because of no payment of annual fees |