JP5260552B2 - パンクロマティック画素を使用した鮮鋭化方法 - Google Patents
パンクロマティック画素を使用した鮮鋭化方法 Download PDFInfo
- Publication number
- JP5260552B2 JP5260552B2 JP2009545537A JP2009545537A JP5260552B2 JP 5260552 B2 JP5260552 B2 JP 5260552B2 JP 2009545537 A JP2009545537 A JP 2009545537A JP 2009545537 A JP2009545537 A JP 2009545537A JP 5260552 B2 JP5260552 B2 JP 5260552B2
- Authority
- JP
- Japan
- Prior art keywords
- image
- panchromatic image
- high frequency
- block
- panchromatic
- Prior art date
- Legal status (The legal status is an assumption and is not a legal conclusion. Google has not performed a legal analysis and makes no representation as to the accuracy of the status listed.)
- Active
Links
Images
Classifications
-
- G—PHYSICS
- G06—COMPUTING OR CALCULATING; COUNTING
- G06T—IMAGE DATA PROCESSING OR GENERATION, IN GENERAL
- G06T5/00—Image enhancement or restoration
- G06T5/73—Deblurring; Sharpening
-
- G—PHYSICS
- G06—COMPUTING OR CALCULATING; COUNTING
- G06T—IMAGE DATA PROCESSING OR GENERATION, IN GENERAL
- G06T5/00—Image enhancement or restoration
- G06T5/50—Image enhancement or restoration using two or more images, e.g. averaging or subtraction
-
- G—PHYSICS
- G06—COMPUTING OR CALCULATING; COUNTING
- G06T—IMAGE DATA PROCESSING OR GENERATION, IN GENERAL
- G06T2207/00—Indexing scheme for image analysis or image enhancement
- G06T2207/10—Image acquisition modality
- G06T2207/10024—Color image
Landscapes
- Physics & Mathematics (AREA)
- General Physics & Mathematics (AREA)
- Engineering & Computer Science (AREA)
- Theoretical Computer Science (AREA)
- Image Processing (AREA)
- Color Television Image Signal Generators (AREA)
Description
(a) カラー画素とパンクロマティック画素との両方を有する二次元センサ・アレイを使用してシーンの画像を捕捉するステップ;
(b) 捕捉されたカラー画素に応答してフルカラー画像を形成し、該捕捉されたパンクロマティック画素に応答して基準パンクロマティック画像を形成するステップ;
(c) 該基準パンクロマティック画像から高周波数パンクロマティック画像を形成するステップ;そして
(d) 該高周波数パンクロマティック画像及び該フルカラー画像に応答して、鮮鋭化されたフルカラー画像を提供するステップ
を含んで成るシーンのフルカラー画像を鮮鋭化する方法によって達成される。
112 マイクロプロセッサをベースとするユニット
114 ディスプレイ
116 キーボード
118 マウス
120 ディスプレイ上のセレクタ
122 ディスク・ドライブ・ユニット
124 コンパクトディスク読み出し専用メモリ(CD−ROM)
126 フロッピー(登録商標)ディスク
127 ネットワーク接続
128 プリンタ
130 パーソナルコンピュータ・カード(PCカード)
132 PCカードリーダ
134 デジタルカメラ
136 カメラ・ドッキング・ポート
138 ケーブル接続
140 ワイヤレス接続
200 RGBP CFA画像
202 パンクロマティック画像補間
204 基準パンクロマティック画像
206 RGB CFA画像補間
208 フルカラー画像
210 高周波数パンクロマティック画像生成
212 高周波数パンクロマティック画像
214 鮮鋭化されたフルカラー画像生成
216 鮮鋭化されたフルカラー画像
218 高周波数パンクロマティック画像生成
220 高周波数パンクロマティック画像
222 高周波数パンクロマティック画像変更
224 変更された高周波数パンクロマティック画像
226 鮮鋭化されたフルカラー画像生成
228 鮮鋭化されたフルカラー画像
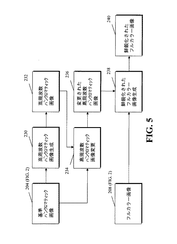
230 高周波数パンクロマティック画像生成
232 高周波数パンクロマティック画像
234 高周波数パンクロマティック画像変更
236 変更された高周波数パンクロマティック画像
238 鮮鋭化されたフルカラー画像生成
240 鮮鋭化されたフルカラー画像
242 エッジ・マスク生成
244 エッジ・マスク
246 高周波数パンクロマティック画像スケーリング
248 エッジ・マスク生成
250 エッジ・マスク
252 高周波数パンクロマティック画像スケーリング
254 スケーリングされた高周波数パンクロマティック画像
256 コアリング
258 エッジ・マスク生成
260 エッジ・マスク
262 コアリング
264 コアリングされたエッジ・マスク
266 高周波数パンクロマティック画像スケーリング
268 エッジ・マスク生成
270 エッジ・マスク
272 高周波数パンクロマティック画像スケーリング
274 コアリング
276 コアリングされた高周波数パンクロマティック画像
278 基準パンクロマティック画像を変更
280 変更された基準パンクロマティック画像
282 高周波数パンクロマティック画像を計算
284 高周波数パンクロマティック画像
286 コアリング
288 低周波数パンクロマティック画像を計算
290 低周波数パンクロマティック画像
292 コアリングされた高周波数パンクロマティック画像
294 変更された基準パンクロマティック画像を生成
296 基準パンクロマティック画像を変更
298 変更された基準パンクロマティック画像
300 低周波数パンクロマティック画像を計算
302 低周波数パンクロマティック画像
304 変更された基準パンクロマティック画像を生成
306 高周波数パンクロマティック画像を計算
308 高周波数パンクロマティック画像
310 高周波数パンクロマティック画像をマスキング
312 エッジ・マスクを生成
314 エッジ・マスク
316 マスキングされた高周波数パンクロマティック画像
318 基準パンクロマティック画像を変更
320 変更された基準パンクロマティック画像
322 フォトメトリック空間変換
324 変更された基準パンクロマティック画像
326 変更された基準パンクロマティック画像
328 変更された基準パンクロマティック画像
Claims (3)
- (a) カラー画素とパンクロマティック画素との両方を有する二次元センサ・アレイを使用してシーンの画像を捕捉するステップと、
(b) 捕捉されたカラー画素に応答してフルカラー画像を形成し、該捕捉されたパンクロマティック画素に応答して基準パンクロマティック画像を形成するステップと、
(c) 該基準パンクロマティック画像から高周波数パンクロマティック画像を形成するステップと、
(d) 該基準パンクロマティック画像から生成されたエッジ・マスクを使用することにより該高周波数パンクロマティック画像を変更するステップと、
(e) 該高周波数パンクロマティック画像及び該フルカラー画像に応答して、鮮鋭化されたフルカラー画像を提供するステップと
を含む、シーンのフルカラー画像を鮮鋭化する方法。 - 該エッジ・マスクを使用して該高周波数パンクロマティック画像をスケーリングして、変更された高周波数パンクロマティック画像を生成することをさらに含む、請求項1に記載の方法。
- 該変更が、該高周波数パンクロマティック画像をコアリングすることをさらに含む、請求項1に記載の方法。
Applications Claiming Priority (3)
| Application Number | Priority Date | Filing Date | Title |
|---|---|---|---|
| US11/621,139 | 2007-01-09 | ||
| US11/621,139 US7769241B2 (en) | 2007-01-09 | 2007-01-09 | Method of sharpening using panchromatic pixels |
| PCT/US2007/025355 WO2008085248A2 (en) | 2007-01-09 | 2007-12-12 | Method of sharpening using panchromatic pixels |
Publications (3)
| Publication Number | Publication Date |
|---|---|
| JP2010516176A JP2010516176A (ja) | 2010-05-13 |
| JP2010516176A5 JP2010516176A5 (ja) | 2011-08-04 |
| JP5260552B2 true JP5260552B2 (ja) | 2013-08-14 |
Family
ID=39585115
Family Applications (1)
| Application Number | Title | Priority Date | Filing Date |
|---|---|---|---|
| JP2009545537A Active JP5260552B2 (ja) | 2007-01-09 | 2007-12-12 | パンクロマティック画素を使用した鮮鋭化方法 |
Country Status (5)
| Country | Link |
|---|---|
| US (1) | US7769241B2 (ja) |
| EP (1) | EP2102815B1 (ja) |
| JP (1) | JP5260552B2 (ja) |
| TW (1) | TWI430202B (ja) |
| WO (1) | WO2008085248A2 (ja) |
Families Citing this family (24)
| Publication number | Priority date | Publication date | Assignee | Title |
|---|---|---|---|---|
| US8594451B2 (en) * | 2007-03-30 | 2013-11-26 | Omnivision Technologies, Inc. | Edge mapping incorporating panchromatic pixels |
| US7844127B2 (en) * | 2007-03-30 | 2010-11-30 | Eastman Kodak Company | Edge mapping using panchromatic pixels |
| US8896712B2 (en) * | 2007-07-20 | 2014-11-25 | Omnivision Technologies, Inc. | Determining and correcting for imaging device motion during an exposure |
| US8350952B2 (en) * | 2008-06-04 | 2013-01-08 | Omnivision Technologies, Inc. | Image sensors with improved angle response |
| US8130278B2 (en) * | 2008-08-01 | 2012-03-06 | Omnivision Technologies, Inc. | Method for forming an improved image using images with different resolutions |
| KR101574733B1 (ko) * | 2008-11-19 | 2015-12-04 | 삼성전자 주식회사 | 고화질 컬러 영상을 획득하기 위한 영상 처리 장치 및 방법 |
| US8224082B2 (en) * | 2009-03-10 | 2012-07-17 | Omnivision Technologies, Inc. | CFA image with synthetic panchromatic image |
| US8237831B2 (en) * | 2009-05-28 | 2012-08-07 | Omnivision Technologies, Inc. | Four-channel color filter array interpolation |
| US8253832B2 (en) * | 2009-06-09 | 2012-08-28 | Omnivision Technologies, Inc. | Interpolation for four-channel color filter array |
| US8761506B1 (en) | 2011-04-22 | 2014-06-24 | DigitalGlobe, Incorporated | Pan sharpening digital imagery |
| US9020256B2 (en) * | 2011-04-22 | 2015-04-28 | Exelis Inc. | System and method for combining color information with spatial information in multispectral images |
| EP2702375A2 (en) | 2011-04-25 | 2014-03-05 | Skybox Imaging, Inc. | Systems and methods for overhead imaging and video |
| JP5900273B2 (ja) * | 2012-10-03 | 2016-04-06 | 株式会社ソシオネクスト | 合焦評価値生成装置、合焦評価値生成方法、及び、合焦評価値生成プログラム |
| CN103198463B (zh) * | 2013-04-07 | 2014-08-27 | 北京航空航天大学 | 基于整体结构和空间细节信息融合的光谱图像全色锐化方法 |
| WO2015192056A1 (en) | 2014-06-13 | 2015-12-17 | Urthecast Corp. | Systems and methods for processing and providing terrestrial and/or space-based earth observation video |
| KR101580585B1 (ko) * | 2014-12-02 | 2015-12-28 | 서울시립대학교 산학협력단 | 전정색영상과 적외선영상의 융합 방법 및 장치 |
| CA2980920C (en) | 2015-03-25 | 2023-09-26 | King Abdulaziz City Of Science And Technology | Apparatus and methods for synthetic aperture radar with digital beamforming |
| WO2017044168A2 (en) | 2015-06-16 | 2017-03-16 | King Abdulaziz City Of Science And Technology | Efficient planar phased array antenna assembly |
| EP3380864A4 (en) | 2015-11-25 | 2019-07-03 | Urthecast Corp. | APPARATUS AND METHODS FOR OPEN SYNTHESIS RADAR IMAGING |
| WO2018217902A1 (en) | 2017-05-23 | 2018-11-29 | King Abdullah City Of Science And Technology | Synthetic aperture radar imaging apparatus and methods for moving targets |
| EP3631504B8 (en) | 2017-05-23 | 2023-08-16 | Spacealpha Insights Corp. | Synthetic aperture radar imaging apparatus and methods |
| US10572976B2 (en) | 2017-10-18 | 2020-02-25 | International Business Machines Corporation | Enhancing observation resolution using continuous learning |
| CA3083033A1 (en) | 2017-11-22 | 2019-11-28 | Urthecast Corp. | Synthetic aperture radar apparatus and methods |
| CN116703769B (zh) * | 2023-06-08 | 2024-03-12 | 福建鼎旸信息科技股份有限公司 | 一种卫星遥感图像全色锐化系统 |
Family Cites Families (22)
| Publication number | Priority date | Publication date | Assignee | Title |
|---|---|---|---|---|
| JPS6339293A (ja) * | 1986-08-05 | 1988-02-19 | Fuji Photo Film Co Ltd | 映像信号形成装置 |
| US5038388A (en) * | 1989-05-15 | 1991-08-06 | Polaroid Corporation | Method for adaptively sharpening electronic images |
| US5237402A (en) * | 1991-07-30 | 1993-08-17 | Polaroid Corporation | Digital image processing circuitry |
| JP3112531B2 (ja) * | 1991-11-19 | 2000-11-27 | 株式会社日立製作所 | 撮像装置 |
| US5708729A (en) * | 1995-04-12 | 1998-01-13 | Eastman Kodak Company | Method and system for the reduction of memory capacity required for digital representation of an image |
| US5949914A (en) * | 1997-03-17 | 1999-09-07 | Space Imaging Lp | Enhancing the resolution of multi-spectral image data with panchromatic image data using super resolution pan-sharpening |
| US6097835A (en) * | 1997-07-23 | 2000-08-01 | Lockheed Martin Corporation | Projective pan sharpening methods and apparatus |
| JP3540567B2 (ja) * | 1997-10-01 | 2004-07-07 | オリンパス株式会社 | 電子的撮像装置 |
| US6011875A (en) * | 1998-04-29 | 2000-01-04 | Eastman Kodak Company | Process for enhancing the spatial resolution of multispectral imagery using pan-sharpening |
| US6529239B1 (en) * | 1998-06-01 | 2003-03-04 | Fairchild Imaging, Inc. | Image sensor with stripes of cyan filter material perpendicular to stripes of yellow filter material |
| US6173085B1 (en) * | 1998-09-18 | 2001-01-09 | Eastman Kodak Company | Edge enhancement using modified edge boost function |
| AUPQ289099A0 (en) * | 1999-09-16 | 1999-10-07 | Silverbrook Research Pty Ltd | Method and apparatus for manipulating a bayer image |
| US6757012B1 (en) * | 2000-01-13 | 2004-06-29 | Biomorphic Vlsi, Inc. | Color selection for sparse color image reconstruction |
| US6937774B1 (en) * | 2000-10-24 | 2005-08-30 | Lockheed Martin Corporation | Apparatus and method for efficiently increasing the spatial resolution of images |
| US6813046B1 (en) * | 2000-11-07 | 2004-11-02 | Eastman Kodak Company | Method and apparatus for exposure control for a sparsely sampled extended dynamic range image sensing device |
| US20030222998A1 (en) * | 2000-12-20 | 2003-12-04 | Satoru Yamauchi | Digital still camera system and method |
| US7012643B2 (en) | 2002-05-08 | 2006-03-14 | Ball Aerospace & Technologies Corp. | One chip, low light level color camera |
| US7379590B2 (en) * | 2003-01-17 | 2008-05-27 | University Of New Brunswick | Method for generating natural colour satellite images |
| US7340099B2 (en) * | 2003-01-17 | 2008-03-04 | University Of New Brunswick | System and method for image fusion |
| EP1594321A3 (en) | 2004-05-07 | 2006-01-25 | Dialog Semiconductor GmbH | Extended dynamic range in color imagers |
| US7298922B1 (en) * | 2004-07-07 | 2007-11-20 | Lockheed Martin Corporation | Synthetic panchromatic imagery method and system |
| US7667762B2 (en) * | 2006-08-01 | 2010-02-23 | Lifesize Communications, Inc. | Dual sensor video camera |
-
2007
- 2007-01-09 US US11/621,139 patent/US7769241B2/en active Active
- 2007-12-12 WO PCT/US2007/025355 patent/WO2008085248A2/en not_active Ceased
- 2007-12-12 EP EP07853342.9A patent/EP2102815B1/en active Active
- 2007-12-12 JP JP2009545537A patent/JP5260552B2/ja active Active
-
2008
- 2008-01-08 TW TW097100726A patent/TWI430202B/zh active
Also Published As
| Publication number | Publication date |
|---|---|
| WO2008085248A2 (en) | 2008-07-17 |
| EP2102815A2 (en) | 2009-09-23 |
| WO2008085248A3 (en) | 2008-11-13 |
| TWI430202B (zh) | 2014-03-11 |
| JP2010516176A (ja) | 2010-05-13 |
| EP2102815B1 (en) | 2018-10-24 |
| US20080166062A1 (en) | 2008-07-10 |
| US7769241B2 (en) | 2010-08-03 |
| TW200837658A (en) | 2008-09-16 |
Similar Documents
| Publication | Publication Date | Title |
|---|---|---|
| JP5260552B2 (ja) | パンクロマティック画素を使用した鮮鋭化方法 | |
| JP5395053B2 (ja) | パンクロマティック画素を使用するエッジマッピング | |
| JP5291084B2 (ja) | パンクロマティック画素を組み込むエッジマッピング | |
| JP5260635B2 (ja) | パンクロマチック画像を用いたノイズ低減されたカラーの画像 | |
| JP5123212B2 (ja) | パンクロマチック画素及びカラー画素の補間 | |
| JP5156022B2 (ja) | パンクロマチックおよびカラーの画像のノイズ低減 | |
| US8396315B2 (en) | Method for improving digital images and an image sensor for sensing the same | |
| JP2010511350A (ja) | 所望の解像度を有するカラー画像の提供 | |
| US20060182361A1 (en) | Selection of alternative image processing operations to maintain high image quality | |
| JP2008527852A (ja) | ディジタル・カメラの画像のホワイト・バランス補正 | |
| US20070132865A1 (en) | Filtered noise reduction in digital images | |
| JP2008527861A (ja) | 散在カラー・ディジタル画像のノイズ除去 | |
| US20050281458A1 (en) | Noise-reducing a color filter array image | |
| JP2002281316A (ja) | ノイズ成分識別方法、画像処理方法、画像処理装置およびプログラム |
Legal Events
| Date | Code | Title | Description |
|---|---|---|---|
| A521 | Request for written amendment filed |
Free format text: JAPANESE INTERMEDIATE CODE: A523 Effective date: 20101209 |
|
| A621 | Written request for application examination |
Free format text: JAPANESE INTERMEDIATE CODE: A621 Effective date: 20101209 |
|
| A711 | Notification of change in applicant |
Free format text: JAPANESE INTERMEDIATE CODE: A711 Effective date: 20110608 |
|
| A977 | Report on retrieval |
Free format text: JAPANESE INTERMEDIATE CODE: A971007 Effective date: 20120723 |
|
| A131 | Notification of reasons for refusal |
Free format text: JAPANESE INTERMEDIATE CODE: A131 Effective date: 20120731 |
|
| A521 | Request for written amendment filed |
Free format text: JAPANESE INTERMEDIATE CODE: A523 Effective date: 20121030 |
|
| TRDD | Decision of grant or rejection written | ||
| A01 | Written decision to grant a patent or to grant a registration (utility model) |
Free format text: JAPANESE INTERMEDIATE CODE: A01 Effective date: 20130326 |
|
| A61 | First payment of annual fees (during grant procedure) |
Free format text: JAPANESE INTERMEDIATE CODE: A61 Effective date: 20130425 |
|
| FPAY | Renewal fee payment (event date is renewal date of database) |
Free format text: PAYMENT UNTIL: 20160502 Year of fee payment: 3 |
|
| R150 | Certificate of patent or registration of utility model |
Ref document number: 5260552 Country of ref document: JP Free format text: JAPANESE INTERMEDIATE CODE: R150 Free format text: JAPANESE INTERMEDIATE CODE: R150 |
|
| R250 | Receipt of annual fees |
Free format text: JAPANESE INTERMEDIATE CODE: R250 |
|
| R250 | Receipt of annual fees |
Free format text: JAPANESE INTERMEDIATE CODE: R250 |
|
| R250 | Receipt of annual fees |
Free format text: JAPANESE INTERMEDIATE CODE: R250 |
|
| R250 | Receipt of annual fees |
Free format text: JAPANESE INTERMEDIATE CODE: R250 |
|
| R250 | Receipt of annual fees |
Free format text: JAPANESE INTERMEDIATE CODE: R250 |
|
| R250 | Receipt of annual fees |
Free format text: JAPANESE INTERMEDIATE CODE: R250 |
|
| R250 | Receipt of annual fees |
Free format text: JAPANESE INTERMEDIATE CODE: R250 |
|
| R250 | Receipt of annual fees |
Free format text: JAPANESE INTERMEDIATE CODE: R250 |
|
| R250 | Receipt of annual fees |
Free format text: JAPANESE INTERMEDIATE CODE: R250 |
|
| R250 | Receipt of annual fees |
Free format text: JAPANESE INTERMEDIATE CODE: R250 |
