JP5259558B2 - 携帯電子機器 - Google Patents

携帯電子機器 Download PDF

Info

Publication number
JP5259558B2
JP5259558B2 JP2009270829A JP2009270829A JP5259558B2 JP 5259558 B2 JP5259558 B2 JP 5259558B2 JP 2009270829 A JP2009270829 A JP 2009270829A JP 2009270829 A JP2009270829 A JP 2009270829A JP 5259558 B2 JP5259558 B2 JP 5259558B2
Authority
JP
Japan
Prior art keywords
sliding
battery cover
locking
locking portion
alarm
Prior art date
Legal status (The legal status is an assumption and is not a legal conclusion. Google has not performed a legal analysis and makes no representation as to the accuracy of the status listed.)
Expired - Fee Related
Application number
JP2009270829A
Other languages
English (en)
Other versions
JP2011114729A (ja
Inventor
英二 片岡
Current Assignee (The listed assignees may be inaccurate. Google has not performed a legal analysis and makes no representation or warranty as to the accuracy of the list.)
Kyocera Corp
Original Assignee
Kyocera Corp
Priority date (The priority date is an assumption and is not a legal conclusion. Google has not performed a legal analysis and makes no representation as to the accuracy of the date listed.)
Filing date
Publication date
Application filed by Kyocera Corp filed Critical Kyocera Corp
Priority to JP2009270829A priority Critical patent/JP5259558B2/ja
Publication of JP2011114729A publication Critical patent/JP2011114729A/ja
Application granted granted Critical
Publication of JP5259558B2 publication Critical patent/JP5259558B2/ja
Expired - Fee Related legal-status Critical Current
Anticipated expiration legal-status Critical

Links

Images

Classifications

    • YGENERAL TAGGING OF NEW TECHNOLOGICAL DEVELOPMENTS; GENERAL TAGGING OF CROSS-SECTIONAL TECHNOLOGIES SPANNING OVER SEVERAL SECTIONS OF THE IPC; TECHNICAL SUBJECTS COVERED BY FORMER USPC CROSS-REFERENCE ART COLLECTIONS [XRACs] AND DIGESTS
    • Y02TECHNOLOGIES OR APPLICATIONS FOR MITIGATION OR ADAPTATION AGAINST CLIMATE CHANGE
    • Y02EREDUCTION OF GREENHOUSE GAS [GHG] EMISSIONS, RELATED TO ENERGY GENERATION, TRANSMISSION OR DISTRIBUTION
    • Y02E60/00Enabling technologies; Technologies with a potential or indirect contribution to GHG emissions mitigation
    • Y02E60/10Energy storage using batteries

Landscapes

  • Telephone Function (AREA)
  • Battery Mounting, Suspending (AREA)
  • Telephone Set Structure (AREA)

Description

本発明は携帯電話機、PDA、携帯型ゲーム機、携帯用テレビ、携帯用ラジオ等のバッテリカバーを有する携帯電子機器に関する。
特許文献1には、電子機器のバッテリカバーを簡単な構成でロックし、構造を知らない第三者には容易に取り外せないようにして、バッテリを取り外して携帯電子機器の機能を停止させようとする不当な行為を防止する携帯電子機器が開示されている。
特開平10―61618号公報
しかしながら、特許文献1に記載の方法においては、バッテリカバーを取り外させない構造としてバイザークリップを設けているが、このような方法では第三者がバイザークリップを取り外すことを容易に想到してしまい、それによって、バッテリカバーが取り外されてしまうおそれがある。
また、第三者がバッテリカバーを容易に取り外しできない構造を設ける場合には、構造が複雑化してしまい、小型化が要求される携帯電子機器においては大型化してしまうという不利益もある。
本発明の目的は、スペースを有効に活用して小型化しつつ、バッテリカバーを容易に取り外すことができない携帯電子機器を提供することにある。
なお、バッテリカバーはバッテリ蓋の意味として用いている。
本発明の携帯電子機器は、スライド可能な係止部が形成された筐体と、前記筐体の一面に開口して形成されたバッテリ収納部と、前記バッテリ収納部の開口した部分を覆い、前記係止部のスライドによって前記係止部と係合状態又は非係合状態となる被係止部が形成されたバッテリカバーと、を有し、前記係止部は、前記筐体に対してスライド可能で、かつ、前記被係止部と係合可能な摺動部と、前記摺動部をスライド可能に保持する保持部と、を含み、前記保持部は、前記摺動部との係合により前記摺動部のスライドを制限し、外力によって前記摺動部との係合が解除されてスライドを許容する。
好適には、前記係止部の突起部は、外部側の表面に内部側に窪んだ凹部が形成されている。
好適には、アラームスイッチと、警報用スピーカと、前記バッテリカバーの除去の有無を検出するバッテリカバー開検出部と、前記係止部位置検出部と、前記アラームスイッチがオンされた場合に、前記スピーカに一定の警告音を出力させる制御部と、を有し、前記制御部は、前記アラームスイッチがオンされた場合に、前記係止部位置検出部によって検出される前記係止部の前記摺動部の位置が前記被係止部と係合状態で、かつ、前記バッテリカバー開検出部によって検出される前記バッテリカバーの除去状態、を検出したときに、前記警報用スピーカに通常の警告音よりも大音量による警告音を発生させる。
本発明によると、スペースを有効に活用して小型化しつつ、バッテリカバーを容易に取り外すことができない携帯電子機器を提供することができる。
本発明の実施形態に係る携帯電話機の外観を示す斜視図である。 筐体の裏面方向から見た外観の斜視図である。 バッテリカバーの被係止部と係止部との係合状況の説明図である。 バッテリカバーと筐体との係合の説明図である。 係止部駆動用具の使用方法の説明図である。 係止部の各構成部品の説明図である。 係止部と被係止部の結合の状況の説明図である。 図5のVIII―VIIIにおける断面図である。 図5のIX−IXにおける断面図である。 第1の変形例の説明図である。 第2の変形例の構成図である。 第2の変形例の信号処理系を示すブロック図である。 第2の変形例のフローチャートである。 第4の変形例における、図5のVIII―VIIIの断面図である。
図1は、本発明の実施形態に係る携帯電話機1の外観を示す斜視図である。
携帯電話機1は、非折り畳み式の携帯電話機1として構成されている。
携帯電話機1は入力部10及び表示部8が形成されているフロントケース4と、反対側部分を構成するリアケース6とを有している。また、フロントケース4とリアケース6との間には、インナーケース5が配置されている。
インナーケース5の表面側には、フロントケースが配置されており、インナーケース5の裏面側にはリアケース6が配置されている。
以下、フロントケース4、リアケース6及びインナーケース5をあわせて筐体2という。
フロントケース4及びリアケース6はネジ等によりインナーケース5に固定されている。
また、インナーケース5内に形成された空間に種々の電子部材を収容する収容空間が構成される。
フロントケース4、リアケース6及びインナーケース5は、例えば、樹脂により形成されている。
入力部10には、複数の入力キーが配置されており、ユーザはこの入力キーを押圧することによって携帯電話機1に命令・入力を行う。
なお、入力部10は図1ではフロントケース4の表面にのみ配置されているが、筐体2の右側面、左側面、上側面及び下側面に配置されているサイドキーも含まれる。
表示部8は、携帯電話機1の状態、ユーザの操作内容、発信先電話番号、電子メールの内容の表示、ゲーム画面等の様々な情報を表示するためのものである。
また、表示部8はLCD(液晶ディスプレイ)、OLED(Organic light-emitting diode:有機EL)等によって構成されている。
携帯電話機1の表示部8の上側面方向の位置には、スピーカ12が配置されている。
このスピーカ12は、携帯電話機1が通話に用いられている場合には通話の相手方の音声を出力する。
また、携帯電話機1の表示部8の上側面方向の位置には、マイクロフォン14が配置されている。
このマイクロフォン14は、携帯電話機1が通話に用いられている場合には通話しているユーザの音声の入力を受ける。
警報用ひも部16は、携帯電話機1の上側面に配置されているアラームスイッチ30(図2参照のこと)と紐等で連結されている。
この警報用ひも部16を引くことによって、アラームスイッチ30が引き出される。そしてアラームスイッチ30が引き出されたことによって、警報用スピーカ18(図2参照のこと)から大音量の音が出力される。
これによって、ユーザの保護等が行われる。
なお、方向を示すときは、リアケース6からフロントケース4に向かう方向を表面方向(図1においては、紙面手前の方向)といい、フロントケース4からリアケース6に向かう方向を裏面方向(図1においては、紙面奥手の方向)という。
また、入力部10から表示部8に向かう方向の位置にある側面を上側面とし、表示部8から入力部10に向かう方向の位置にある側面を下側面とする。
そして、上側面に向かう方向を上側面方向(図1においては紙面右の方向)といい、下側面に向かう方向を下側面方向(図1においては紙面左の方向)という。
さらに、表示部8を上にして入力部10を下として、携帯電話機1を見たときに、右側に来る側面を右側面とし、左側に来る側面を左側面という。
そして、右側面側に向かう方向を右側面方向(図1においては、紙面下の方向)といい、左側面側に向かう方向を左側面方向(図1においては、紙面上の方向)という。
図2は、筐体2の裏面方向から見た外観の斜視図である。
なお、図2は、図1の携帯電話機1を上側面と下側面を逆にして180度回転させている。
インナーケース5とリアケース6によって構成される筐体2の裏面には、バッテリカバー20(バッテリ蓋)が着脱自在に装着される。
つまり、リアケース6の中央部分及び上側面側の部分を覆うようなバッテリカバー20が装着される。
また、リアケース6の下側面側の部分には警報用スピーカ18が設けられている。
警報用スピーカ18は、音を外部に出力するために図2のように複数のスピーカ用穴部18aを有する(図6も参照されたい)。
また、警報用スピーカ18は、防水膜を張ること等によって防水構造を有する。
バッテリカバー20が装着される位置の内部には、バッテリ収納部32が設けられている。
このバッテリ収納部32にはバッテリ50aが収納され(図12参照のこと)、このバッテリ50aの電力が携帯電話機1を駆動するのに用いられている。
より本実施形態に即して換言すれば、警報用ひも部16が引かれた場合に、このバッテリ50aの電力によって、警報用スピーカ18が警報音を出力している。
したがって、このバッテリカバー20が除去されてバッテリ50aが携帯電話機1から外されることは、警報音が止まることを意味することから、できるだけ避ける必要がある。
バッテリカバー20を取り外すための構成として、バッテリカバー20には係止部操作用穴部22が設けられている。
また、この係止部操作用穴部22の近傍には被係止部34が設けられている(特に、図7及び図8参照のこと)。
そして、この被係止部34と係合することによって、バッテリカバー20を係止する係止部28が設けられている。
この係止部28は、摺動部26とこの摺動部26を保持する保持部24から構成されている。
具体的には、後述するが、係止部28の摺動部26が右側面方向に移動(図2において、紙面左方向に移動)することによって、係止部28と被係止部34との係合が解除されることによって、バッテリカバー20が取り外し可能となる。
アラームスイッチ30は、上側面に設けられこれが引き出されることによって警告音がなる。
図3は、バッテリカバー20の被係止部34と係止部28との係合状況の説明図である。
図3のように、バッテリカバー20には被係止部34が形成されている。
また、リアケース6には、係止部28の摺動部26が形成されている。
そして、摺動部26の一部分である、係合部26cと、被係止部34とが係合することによって、バッテリカバー20が、筐体2に固定される。
図4は、バッテリカバー20と筐体2との係合の説明図である。
バッテリカバー20と筐体2(リアケース6、インナーケース5)とは、2つの方法によって固定される。
一つは、バッテリカバー20に設けられた係合用張出部40とリアケース6に設けられた係合用溝部42による方法である。
この係合用張出部40を、係合用溝部42に挿入することによってバッテリカバー20と筐体2とは固定される。
もう一つは、バッテリカバー20に設けられた被係止部34と筐体2に設けられた係止部28による方法である。
なお、係合用溝部42は、バッテリ収納部32の係止部28の反対側位置に設けられている。
また、係合用溝部42は2か所設けられている。
係止部28は、摺動部26とこの摺動部26を摺動可能に保持する保持部24から構成されている。
また、摺動部26は、突出部26a、穴部26b、係合部26c、本体部26d及び脱落防止部26e(図6参照のこと)から構成されている。
本体部26dは、断面がコ字形状を有している。
そして、摺動部26は、本体部26dの中央付近に設けられた2つの穴部26bが形成されている。
この穴部26bの間には、突出部26aが設けられている。
さらに、本体部26dの一側面には被係止部34と係合する係合部26cが設けられている。
摺動部26がスライドすることによって係合部26cも移動して、被係止部34との係合が解除される。
係止部駆動用具38は、筐体2からバッテリカバー20を取り外すための取り外し具である。
この係止部駆動用具38は、溝部38aと張出部38bとを有する。なお、具体的な使用方法は、図9のところで詳説する。
図5は、係止部駆動用具38の使用方法の説明図である。
図5のように、係止部駆動用具38をバッテリカバー20に形成されている係止部操作用穴部22に挿入して左側面側に移動させることによって、係止部28と被係止部34との係合を解除することができる。
図6は、係止部28の各構成部品の説明図である。
図6のように、筐体2は、リアケース6とインナーケース5とによって構成されている。
また、係止部28は、摺動部26と保持部24とで構成されている。
摺動部26は、突出部26a、穴部26b、係合部26c、本体部26dに加えて脱落防止部26eから構成されている。
脱落防止部26eは、保持部24のスライドレール24e上をスライド(摺動)している。
また、脱落防止部26eは、組み立て時に脱落防止部用穴部24cを通って、スライドレール24e上に位置し、リアケース6とインナーケース5との間の空間に位置することになる。
そして、リアケース6がインナーケース5に固定されると、脱落防止部用穴部24cに脱落防止部用突出部24dが位置することになる。
これによって、脱落防止部26eは脱落防止部用穴部24cを通過することができず、摺動部26が保持部24から、摺動は可能であるが外れることが無くなる。
また、係合部26cはL字形状をした被係止部34と、スライドによって係合及び非係合状態となる。
突出部26aは、係止部駆動用具38が用いられる際に、係止部駆動用具38の溝部38a内に位置する部分である。
また、穴部26bは、張出部38bが挿入される部分である。
保持部24は、リアケース6に設けられる部分と、インナーケース5に設けられる部分とによって構成される。
リアケース6に設けられる部分は、アーム部24a、突起部24b及び脱落防止部用穴部24cである。
アーム部24aは、外力によって内部側に撓むことが可能である。
また、このアーム部24aの先端側には、突起部24bが設けられている。この突起部24bに外力が加わると、アーム部24aの弾性力(撓み)によって、突起部24bが内部に押し込まれることになる。
なお、この一対の突起部24bの高さは同一の高さを有している。
なお、外力はバッテリカバー20の係止部操作用穴部22を通じて、挿入される係止部駆動用具38の張出部38bによって与えられる。
このアーム部24a及び突起部24bは、筐体2の両側面から中心側に対面して張出して形成されている。
また、脱落防止部用穴部24cは、脱落防止部用突出部24d及び脱落防止部26eと対応して4つの穴から形成されている。
そして、この4つの脱落防止部用穴部24cを通じて、摺動部26の脱落防止部26eが挿入される。そして、リアケース6がインナーケース5に固定されると、脱落防止部用穴部24cに脱落防止部用突出部24d挿入される。
これによって、リアケース6がインナーケース5に固定された後は、摺動部26が保持部24から外れてしまうことがなくなっている。
インナーケース5に設けられる部分は、脱落防止部用突出部24d及びスライドレール24eである。
このうち、脱落防止部用突出部24dはリアケース6がインナーケース5に固定されると脱落防止部用穴部24cに挿入されて、脱落防止部26eが通過することを防いでいる。
スライドレール24eは、摺動部26の本体部26d及び脱落防止部26eをスライドさせるレールの役割を有している。
警報用スピーカ18を収納するために、インナーケース5にはスピーカ収納部18bを有している。
また、リアケース6にはスピーカ用穴部18aが設けられている。このスピーカ用穴部18aを通して、警報用スピーカ18の音が携帯電話機1の外部に出力される。
図7は、係止部28と被係止部34の結合の状況の説明図である。
図7のように、係止部操作用穴部22の近傍、かつ、下側面方向の位置には被係止部34が形成されている。
この被係止部34にスライドによって係合する係合部26cが摺動部26に形成されている。
脱落防止部26eは、4つ外部に張出すように形成されている。
また、リアケース6には、アーム部24aが対面した状態で2つ設けられている。
リアケース6はインナーケース5に固定される。
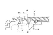
図8は、図5のVIII―VIIIにおける断面図である。
また、図8は、係合部26cと被係止部34との結合の状況の説明図である。
図8のように、L字形状をした被係止部34に、係合部26cが係合している。この係合は、摺動部26が摺動(スライド)することによって解除される。
また、摺動部26はスライドレール24e上を摺動する。
摺動部26の突出部26aは、バッテリカバー20の係止部操作用穴部22に挿入状態となる。そして、突出部26aが係止部操作用穴部22に挿入されていることによって、摺動部26はガイドされる。
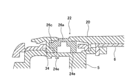
図9は、図5のIX−IXにおける断面図である。
また、図9は、係止部駆動用具38によって、摺動部26が摺動してバッテリカバー20の固定が解除される様子の説明図である。
図9(a)のように、リアケース6に形成されたアーム部24aの先端位置に突起部24bが1対形成されている。
そして、この2つの突起部24bは摺動部26の穴部26b内にそれぞれ挿入されている。
この突起部24bは摺動部26の穴部26bに挿入されていることによって、突出部26a及び本体部26dが左方向にスライドすることを妨げている。
つまり、突起部24bが穴部26bに挿入される構造を有していることによって、摺動部26が左方向に移動することを防いでいる。
図9(b)は、係止部駆動用具38による駆動方法の説明図である。
図9(b)のように、係止部操作用穴部22に係止部駆動用具38が挿入される。
このように係止部駆動用具38が挿入されることによって、係止部駆動用具38の張出部38bが、保持部24の突起部24bを内部方向に押し下げる。
なお、突起部24bはアーム部24aの弾性作用によって押し下げ可能となっている。
また、係止部駆動用具38の溝部38aは突出部26aと当接する。
この溝部38aが突出部26aと当接することによって、係止部駆動用具38の張出部38bが必要以上に内部側に挿入されることを防いでいる。
このように保持部24の突起部24bを内部方向に押し下げられると、それまで摺動部26を固定していた突起部24bが穴部26bとの係合状態から脱する。
そうすると、摺動部26は左に摺動が可能となる。
この状態で、図9(c)のように、係止部駆動用具38を左方向に移動させると摺動部26も左方向に移動する。
すると、摺動部26の一部である係合部26cも、被係止部34との係合重体ではなくなる(図7及び図8も参照のこと)。
これによって、バッテリカバー20は取り外し可能となる。
以上のように構成したことによって、係止部駆動用具38がないと、バッテリカバー20を取り外しが極めて困難となるという効果がある。
一方で、係止部駆動用具38を有するユーザは簡単な方法でバッテリカバー20を取り外すことが可能となる。
そのことは、ユーザが携帯電話機1の警報用ひも部16を引いて警報音をさせていた場合に、第三者によってバッテリ50aが取り外されて警報音が鳴りやんでしまうということが無くなる。
<第1の変形例>
より好適な実施形態について説明する。
以上の実施形態では、突起部24bの形状は上に凸であったが、これでは係止部駆動用具38を用いなくても鉛筆などの尖った器具によって、摺動部26が移動させられてしまう可能性がないわけではない。
そして、摺動部26が移動させられてしまうと、バッテリカバー20が開けられてしまい、バッテリ50aが取り外されてしまう恐れがある。
そこで、尖った器具によって摺動部26を移動させられない、より好適な構成を以下に説明する。
図10は、第1の変形例の説明図である。
図10(a)のように、突起部24bの外部側の先端部に、内部方向に凹んでいる凹部24fを形成する。
なお、凹部24fは、図10(a)のように貫通した構造であるとより好適である。
このように構成すると、係止部駆動用具38を用いると当然に摺動部26を駆動可能である。
一方、このように構成すると、鉛筆などの尖った器具によって、突起部24bを押し下げようとすると、図10(b)のような状態となる。
つまり、突起部24bの凹部24fに鉛筆などの尖った器具が入り込むことになる。
そうすると、尖った器具が凹部24fに入っているために、摺動部26を動かすことができなくなる。
以上のように構成したことによって、これでは係止部駆動用具38を用いなくても鉛筆などの尖った器具によって、摺動部26が移動させられてしまう可能性をより低減することが可能である。
<第2の変形例>
さらに好適な変形例を以下で説明する。
図11は、第2の変形例の構成図である。
図11のように、リアケース6にバッテリカバー開検出部46及び係止部位置検出部48を設ける。
バッテリカバー開検出部46は、たとえばスイッチによって、バッテリカバー20が除去されたか否かを検出する。
また、係止部位置検出部48は、係止部28の摺動部26の位置がどの位置にあるかを検出する。
このバッテリカバー開検出部46及び係止部位置検出部48によって、正しく摺動部26の位置を移動させてから、バッテリカバー20が除去されたのかを判別できる。
つまり、ユーザであれば係止部駆動用具38を有していることから、係止部駆動用具38を用いて摺動部26を係合解除位置まで動かした後にバッテリカバー20を除去するはずである。
しかし、警報用スピーカ18によって警報音が鳴っている場合に、摺動部26を係合解除位置まで動かすことなく、バッテリカバー20を除去する第三者は、ユーザに極めて重大な危険を及ぼすものであると考えられる。
また、そのような第三者によって、バッテリカバー20が除去されるということは、その数秒後にはバッテリ50aが除去されて携帯電話機1の警報機能が停止される恐れがある。
その場合には、警報用スピーカ18に定められている定格の音量や、バッテリ50a消費を考慮して通常供給されている電力量をも無視しても、可能な限り大音量を鳴らすことが好適である。
係止部位置検出部48の具体的な構造は、例えば、摺動部26の一部を金属性の導体部材から構成し、通電の有無によって検出することが考えられる。
図12は、第2の変形例の信号処理系を示すブロック図である。
図12に示されるように、携帯電話機1は、制御・処理の中枢である制御部57と、電源制御部50と、通信部51と、操作部52と、音声入出力部53と、表示部8と、記憶部56と、アラームスイッチ30と、バッテリカバー開検出部46と、係止部位置検出部48、警報部59のそれぞれが、アドレス、データ、コントロールのためのラインが複数本からなるシステムバス58に共通に接続され、構成される。
電源制御部50は、携帯電話機1が携帯して使用されている場合には、携帯電話機1内の、表示部8及び制御部57等が実装される回路基板等への電力の供給を制御している。
また、充電時には充電回路を制御して、バッテリ50aへの充電開始及び停止、並びに充電の速度等を制御している。
通信部51は、無線通信システムを捕捉し、通信ネットワークに接続される基地局との間で無線通信を行い、各種データの送受信を行う。各種データとは、Web上のダウンロードサイトからダウンロードされるファイルのデータ、音声通話時の音声データ、メール送受信時のメールデータ、ウェブ閲覧時のウェブページデータ、等である。
操作部52は、入力部10及びその他の部分から入力されるユーザの指示を受け付ける。
入力部10には、例えば、電源キー、通話キー、数字キー、文字キー、方向キー、決定キー、発信キー、ファンクションキーなど、各種の機能が割り当てられたキーが配置されている。
そして、これらのキーがユーザによって操作された場合に、その操作内容に対応する信号を発生し、これをユーザの指示として制御部57に出力する。
音声入出力部53は、スピーカ12から出力される音声信号やマイクロフォン14において入力される音声信号の入出力処理を行う。
すなわち、音声入出力部53は、マイクロフォン14から入力された音声を増幅し、アナログ/デジタル変換を行い、更に符号化等の信号処理を施し、デジタルの音声データに変換して制御部57に出力する。
また、音声入出力部53は、制御部57から供給される音声データに復号化、デジタル/アナログ変換、増幅等の信号処理を施し、アナログの音声信号に変換してスピーカ12に出力する。
表示部8は、例えばLCDやOLEDを用いて構成されており、制御部57から供給される映像信号に応じた画像を表示する。
表示部8は、例えば、通信部51による無線発信時における発信先の電話番号、着信時における発信元の電話番号、受信メールや送信メールの内容、日付、時刻、電池残量、発信成否、待ち受け画面等を表示する。
記憶部56では、携帯電話機1の各種処理に利用される各種データを記憶する。記憶部56は、例えば制御部57が実行するコンピュータのプログラム、通信相手の電話番号や電子メールアドレス等の個人情報を管理するアドレス帳、着信音やアラーム音を再生するための音声ファイル、待ち受け画面用の画像ファイル、各種の設定データ、プログラムの処理過程で利用される一時的なデータが記憶される。
なお、記憶部56は、例えば、不揮発性の記憶デバイス(不揮発性半導体メモリ、ハードディスク装置、光ディスク装置など)やランダムアクセス可能な記憶デバイス(例えばSRAM、DRAM)などによって構成される。
バッテリカバー開検出部46は、たとえばスイッチによって、バッテリカバー20が除去されたか否かを検出する。
係止部位置検出部48は、係止部28の摺動部26の位置がどの位置にあるかを検出する。
アラームスイッチ30は、アラームスイッチ30が引き出されたか否かを検出する。
警報部59は、制御部57の指令に応じて、警報用スピーカ18に警報音を出力させる。
通常は、警報用スピーカ18に定められている定格音量及びバッテリ50a消費を考慮して供給されている電力量において、警報音を出力する。
制御部57は、携帯電話機1の全体的な動作を統括的に制御する。
すなわち、制御部57は、携帯電話機1の各種処理を制御する。
さらに、制御部57は、記憶部56に格納されるプログラム(オペレーティングシステム、アプリケーションプログラム等)に基づいて処理を実行するコンピュータ(マイクロプロセッサ)を備えており、このプログラムにおいて指示された手順に従って上述した処理を実行する。
すなわち、制御部57は、記憶部56に格納されるオペレーティングシステムやアプリケーションプログラム等のプログラムから命令コードを順次受け取って処理を実行する。
また、特に本変形例において、制御部57は、このバッテリカバー開検出部46及び係止部位置検出部48によって、正しく摺動部26の位置を移動させてから、バッテリカバー20が除去されたのかを判断する。
そして、すでに警報音が鳴っている場合に、正しく摺動部26の位置を移動させずに、バッテリカバー20が除去されたのを検出したときには、制御部57は、警報部59に定格の音量を超えてさらに大きな音量で警告音を出力する。
図13は、第2の変形例のフローチャートである。
ステップST01において、バッテリカバー20が開かれたか(除去されたか)を判断する。
バッテリカバー20が開かれていない場合には、ステップST01の処理を再度行う。
バッテリカバー20が開かれている場合には、ステップST02の処理に移行する。
ステップST02において、警報音が鳴っているのか判断する。
警報音が鳴っている場合には、ステップST03の処理に移行する。
警報音が鳴っていない場合には、ステップST01の処理に戻る。
ステップST03において、係止部28の摺動部26が係合解除位置に位置しているかを判断する。
係止部28の摺動部26が係合解除位置に位置している場合には、ステップST01の処理に戻る。
係止部28の摺動部26が係合解除位置に位置している場合には、ステップST04の処理に移行する。
ステップST04において、最大音量によって警報音を出力する。
なお、最大音量によって警報音を出力する以外に、他の携帯電話機1へ位置情報等を出力してもよい。
以上のように構成したことによって、正しい方法によらずバッテリカバー20を取り外してバッテリ50aが除去されそうになっていることを検出して、最大音量での警報音を出力することができる。
これによって、ユーザの安全性がより向上する。
<第3の変形例>
前述した例では、1対形成された突起部24bの外部側表面の形状は、両者とも凸形状又は凹形状であった。
しかし、一方を凸形状とし他方を凹形状とすることも考えられる。
このように構成したことによって、より特殊な係止部駆動用具38を用いずして、バッテリカバー20を開くことができなくなる。
<第4の変形例>
図14は、第4の変形例における、図5のVIII―VIIIの断面図である。
図14のように、インナーケース5を設けず、インナーケース5に該当する部分をリアケース6と一体構造にしてもよい。
なお、インナーケース5を設ける理由は、防水構造を設けることが容易になるからである。
このように、一体構造としたことによって、部品点数の削減という効果がある。
以上の実施形態によれば、本発明の携帯電話機1は、スライド可能な係止部28が形成された筐体2と、筐体2の一面に開口して形成されたバッテリ収納部32とを有している。
また、バッテリ収納部32の開口した部分を覆い、係止部28のスライドによって係止部28と係合状態又は非係合状態となる被係止部34が形成されたバッテリカバー20と、を有している。
そして、係止部28は、筐体2に対してスライド可能で、かつ、被係止部34と係合可能な摺動部26と、摺動部26をスライド可能に保持する保持部24と、を含んでいる。
さらに、保持部24は、摺動部26との係合により摺動部26のスライドを制限し、外力によって摺動部26との係合が解除されてスライドを許容する。
このように構成したことによって、ユーザが携帯電話機1の警報用ひも部16を引いて警報音をさせていた場合に、第三者によってバッテリ50aが取り外されて警報音が鳴りやんでしまうということが無くなる。
さらに、このようにスライド可能としていることから、係止部28及び被係止部34の構造か単純化されることによって、携帯電話機1のスペースを有効に使用することが可能となる。
そして、この携帯電話機1のスペースを有効に使用することが可能となることは、携帯電話機1の小型化することを可能とする。
一方で、係止部駆動用具38を有するユーザは簡単な方法でバッテリカバー20を取り外すことが可能となる。
係止部28の突起部24bは、外部側の表面に内部側に窪んだ凹部24fが形成されている。
このように構成したことによって、係止部駆動用具38を用いなくても鉛筆などの尖った器具によって摺動部26が移動させられてしまう可能性を、より低減することが可能である。
アラームスイッチ30と、警報用スピーカ18と、バッテリカバー20の除去の有無を検出するバッテリカバー開検出部46と、係止部位置検出部44とを有している。
また、アラームスイッチ30がオンされた場合に、警報用スピーカ18に一定の警告音を出力させる制御部57と、を有している。
そして、制御部57は、アラームスイッチ30がオンされた場合に、係止部位置検出部48によって検出される係止部28の摺動部26の位置が被係止部34と係合状態で、かつ、バッテリカバー開検出部46によって検出される前記バッテリカバー20の除去状態、を検出したときに、前記警報用スピーカ18に通常の警告音よりも大音量による警告音を発生させる。
以上のように構成したことによって、正しい方法によらずバッテリカバー20を取り外してバッテリ50aを除去されそうになっていることを検出して、最大音量での警報音を出力することができる。
これによって、ユーザの安全性がより向上する。
なお、以上の実施形態において、筐体2は本発明の筐体の一例である。つまり、筺体とは、携帯電子機器を収容する容器に該当するものであればどのようなものであってもよい。さらに、容器の一部、例えば、フロントケース4、インナーケース5及びリアケース6であっても筺体に該当する。
なお、筐体とはインナーケース5とリアケース6とが一体となったものをもいう。
本発明は、以上の実施形態に限定されず、種々の態様で実施されてよい。
携帯電子機器は、携帯電話機1に限定されない。例えば、携帯電子機器は、ノートパソコン、PDA、ゲーム機、カメラであってもよい。また、携帯電子機器は、非折り畳み式のものに限定されない。ケースが2つ折りに構成されたもの(2のケース)であってもよいし、スライド式に構成されたものであってもよい。
1…携帯電話機、2…筐体、4…フロントケース、5…インナーケース、6…リアケース、8…表示部、10…入力部、12…通話用スピーカ、14…マイクロフォン、16…警報用ひも部、18…警報用スピーカ、18a…スピーカ用穴部、18b…スピーカ収納部、20…バッテリカバー(バッテリ蓋)、22…係止部操作用穴部、24…保持部、24a…アーム部、24b…突起部、24c…脱落防止部用穴部、24d…脱落防止部用突出部、24e…スライドレール、24f…凹部、26…摺動部、26a…突出部、26b…穴部、26c…係合部、26d…本体部、26e…脱落防止部、28…係止部、30…アラームスイッチ、32…バッテリ収容部、34…被係止部、38…係止部駆動用具、38a…溝部、38b…張出部、40…係合用張出部、42…係合用溝部、46…バッテリカバー開検出部、48…係止部位置検出部、50…電源制御部、50a…バッテリ、51…通信部、52…操作部、53…音声入出力部、56…記憶部、57…制御部、58…システムバス、59…警報部

Claims (3)

  1. スライド可能な係止部が形成された筐体と、
    前記筐体の一面に開口して形成されたバッテリ収納部と、
    前記バッテリ収納部の開口した部分を覆い、前記係止部のスライドによって前記係止部と係合状態又は非係合状態となる被係止部が形成されたバッテリカバーと、を有し、
    前記係止部は、
    前記筐体に対してスライド可能で、かつ、前記被係止部と係合可能な摺動部と、
    前記摺動部をスライド可能に保持する保持部と、を含み、
    前記保持部は、前記摺動部との係合により前記摺動部のスライドを制限し、外力によって前記摺動部との係合が解除されてスライドを許容する
    携帯電子機器。
  2. 前記係止部の前記突起部は、外部側の表面に内部側に窪んだ凹部が形成されている
    請求項1に記載の携帯電子機器。
  3. アラームスイッチと、
    警報用スピーカと、
    前記バッテリカバーの除去の有無を検出するバッテリカバー開検出部と、
    前記係止部位置検出部と、
    前記アラームスイッチがオンされた場合に、前記警報用スピーカに一定の警告音を出力させる制御部と、を有し、
    前記制御部は、前記アラームスイッチがオンされた場合に、前記係止部位置検出部によって検出される前記係止部の前記摺動部の位置が前記被係止部と係合状態で、かつ、前記バッテリカバー開検出部によって検出される前記バッテリカバーの除去状態、を検出したときに、前記警報用スピーカに通常の警告音よりも大音量による警告音を発生させる
    請求項1又は2に記載の携帯電子機器。
JP2009270829A 2009-11-27 2009-11-27 携帯電子機器 Expired - Fee Related JP5259558B2 (ja)

Priority Applications (1)

Application Number Priority Date Filing Date Title
JP2009270829A JP5259558B2 (ja) 2009-11-27 2009-11-27 携帯電子機器

Applications Claiming Priority (1)

Application Number Priority Date Filing Date Title
JP2009270829A JP5259558B2 (ja) 2009-11-27 2009-11-27 携帯電子機器

Publications (2)

Publication Number Publication Date
JP2011114729A JP2011114729A (ja) 2011-06-09
JP5259558B2 true JP5259558B2 (ja) 2013-08-07

Family

ID=44236719

Family Applications (1)

Application Number Title Priority Date Filing Date
JP2009270829A Expired - Fee Related JP5259558B2 (ja) 2009-11-27 2009-11-27 携帯電子機器

Country Status (1)

Country Link
JP (1) JP5259558B2 (ja)

Families Citing this family (2)

* Cited by examiner, † Cited by third party
Publication number Priority date Publication date Assignee Title
WO2013047421A1 (ja) * 2011-09-26 2013-04-04 Necカシオモバイルコミュニケーションズ株式会社 電子機器
JP6009930B2 (ja) * 2012-12-18 2016-10-19 京セラ株式会社 携帯電子機器

Family Cites Families (4)

* Cited by examiner, † Cited by third party
Publication number Priority date Publication date Assignee Title
JP4215478B2 (ja) * 2002-09-27 2009-01-28 三洋電機株式会社 携帯式電子機器のバッテリーロック機構
KR101168936B1 (ko) * 2006-05-16 2012-08-02 엘지전자 주식회사 배터리 커버 록킹 장치 및 이를 구비하는 이동통신 단말기
JP4836821B2 (ja) * 2007-02-06 2011-12-14 富士通東芝モバイルコミュニケーションズ株式会社 携帯電子機器
CN101931066A (zh) * 2009-06-26 2010-12-29 深圳富泰宏精密工业有限公司 卡合机构及应用该卡合机构的便携式电子装置

Also Published As

Publication number Publication date
JP2011114729A (ja) 2011-06-09

Similar Documents

Publication Publication Date Title
KR101545588B1 (ko) 프로젝팅 기능을 가지는 휴대 단말기
US8358513B2 (en) Expansion module for mobile device and mobile device having the same
JP5047145B2 (ja) 携帯端末装置及び携帯端末装置におけるキー操作ロック方法並びにプログラム
US20090280872A1 (en) Mobile apparatus
JP5259558B2 (ja) 携帯電子機器
KR20170054877A (ko) 이동 단말기
US20060245585A1 (en) Portable computer device with wireless earpiece
KR101427258B1 (ko) 휴대 단말기
KR20090011327A (ko) 휴대 단말기
JP5777436B2 (ja) 電子機器
US20090170551A1 (en) Method for providing a quick list using an end key and mobile communication device using the same
US7376397B2 (en) Key setting methods
JP2008052612A (ja) 携帯機器
JP2006166085A (ja) 携帯通信端末
JP5402770B2 (ja) 移動体端末
JP2008301068A (ja) 電子機器
KR101501948B1 (ko) 휴대 단말기 및 그 동작 제어방법
JP2009296052A (ja) 携帯端末
JP2008005271A (ja) 防犯機能付き携帯電話機
KR101587134B1 (ko) 휴대 단말기
KR101513304B1 (ko) 슬라이드 모듈을 구비한 휴대 단말기
KR101356511B1 (ko) 휴대단말기 및 그 외부기기 연결 방법
KR101587131B1 (ko) 이동 단말기
KR100828916B1 (ko) 거치대로 사용가능한 하드 디스크 드라이브 홀더를 가지는휴대 멀티미디어 플레이어
KR101506490B1 (ko) 휴대 단말기 및 그 제어방법

Legal Events

Date Code Title Description
A621 Written request for application examination

Free format text: JAPANESE INTERMEDIATE CODE: A621

Effective date: 20121015

A977 Report on retrieval

Free format text: JAPANESE INTERMEDIATE CODE: A971007

Effective date: 20130304

TRDD Decision of grant or rejection written
A01 Written decision to grant a patent or to grant a registration (utility model)

Free format text: JAPANESE INTERMEDIATE CODE: A01

Effective date: 20130402

A61 First payment of annual fees (during grant procedure)

Free format text: JAPANESE INTERMEDIATE CODE: A61

Effective date: 20130424

FPAY Renewal fee payment (event date is renewal date of database)

Free format text: PAYMENT UNTIL: 20160502

Year of fee payment: 3

R150 Certificate of patent or registration of utility model

Ref document number: 5259558

Country of ref document: JP

Free format text: JAPANESE INTERMEDIATE CODE: R150

Free format text: JAPANESE INTERMEDIATE CODE: R150

LAPS Cancellation because of no payment of annual fees