JP5113130B2 - コンクリート天端表示具 - Google Patents

コンクリート天端表示具 Download PDF

Info

Publication number
JP5113130B2
JP5113130B2 JP2009196347A JP2009196347A JP5113130B2 JP 5113130 B2 JP5113130 B2 JP 5113130B2 JP 2009196347 A JP2009196347 A JP 2009196347A JP 2009196347 A JP2009196347 A JP 2009196347A JP 5113130 B2 JP5113130 B2 JP 5113130B2
Authority
JP
Japan
Prior art keywords
top end
pole
hole
concrete top
concrete
Prior art date
Legal status (The legal status is an assumption and is not a legal conclusion. Google has not performed a legal analysis and makes no representation as to the accuracy of the status listed.)
Active
Application number
JP2009196347A
Other languages
English (en)
Other versions
JP2011047193A (ja
Inventor
貞義 坂井
淳史 坂井
Current Assignee (The listed assignees may be inaccurate. Google has not performed a legal analysis and makes no representation or warranty as to the accuracy of the list.)
Individual
Original Assignee
Individual
Priority date (The priority date is an assumption and is not a legal conclusion. Google has not performed a legal analysis and makes no representation as to the accuracy of the date listed.)
Filing date
Publication date
Application filed by Individual filed Critical Individual
Priority to JP2009196347A priority Critical patent/JP5113130B2/ja
Publication of JP2011047193A publication Critical patent/JP2011047193A/ja
Application granted granted Critical
Publication of JP5113130B2 publication Critical patent/JP5113130B2/ja
Active legal-status Critical Current
Anticipated expiration legal-status Critical

Links

Images

Landscapes

  • On-Site Construction Work That Accompanies The Preparation And Application Of Concrete (AREA)

Description

本発明は、鉄筋造床コンクリートの敷設作業において、打設するコンクリートの天端位置を表示するためのコンクリート天端表示具に関する。
従来のこの種の天端表示具としては、該天端表示具を鉄筋に対して取付固定するための取付手段が、縦筋用と横筋用で異なる構造のものが知られている(例えば、特許文献1参照。)。
特開平2006−152611号公報
しかしながら、従来例の天端表示具にあっては、天端表示具を鉄筋に対して取付固定するための取付手段が、縦筋用と横筋用で異なる構造であったため、部品点数の増加により製造コストが高く付くだけでなく、鉄筋造床コンクリートの敷設作業において2種類準備し、縦筋と横筋で2種類の天端表示具のいずれかをその都度選択使用する必要があるため、作業効率が悪いという問題があった。
本発明の解決しようとする課題は、縦筋用と横筋用の兼用を可能とすることにより、コンクリート天端表示具の部品点数の削減によるコスト低減と、鉄筋造床コンクリートの敷設作業における作業効率を高めることができるコンクリート天端表示具を提供することにある。
上記課題を解決するため請求項1記載のコンクリート天端表示具は、鉄筋に対し取り付け固定可能な取付手段と、該取付手段により鉄筋に取付固定されるポールと、該ポールに対し上下移動可能に装着される天端表示部を備えた天端表示部材と、該天端表示部材を前記ポールの任意の移動位置で固定可能な固定手段と、構成され、前記取付手段はクリップ本体と締結部材とで構成され、前記クリップ本体は帯状の鋼板を曲げ加工して対向する一対の略平行二面部とこれらを繋ぐ略半円状の背面部とを設けた略U字状に形成され、前記一方の略平行二面部にはボルト挿通穴が穿設され、もう一方の略平行二面部には前記クリップ本体の長手方向に長い長孔とこの長孔と直交する長孔とで構成される十字状の穴が穿設され、前記締結部材は終端が幅広の楔状頭部を有する締結ボルトと該締結ボルトに螺合される締結ナットとで構成され、前記楔状頭部は前記略平行二面部に穿設された十字状の穴を構成する両長穴のいずれかに前記楔状頭部先端の幅狭部がそれぞれ挿入係止可能に構成され、前記締結ボルトは前記略平行二面部に穿設されたボルト挿通穴に挿通可能に構成され、前記楔状頭部の終端の幅広部にはポールを着脱可能に取り付けるための雌ねじ穴が形成され、前記ポールの下端部には前記雌ねじ穴に螺合可能な雄ねじが備えられていることを特徴とする手段とした。
請求項2記載のコンクリート天端表示具は、請求項1に記載のコンクリート天端表示具において、前記ボルト挿通穴が前記クリップ本体の長手方向に沿って2つ以上穿設されていることを特徴とする手段とした。
請求項3記載のコンクリート天端表示具は、請求項1または2に記載のコンクリート天端表示具において、前記雄ねじとポールとの間が可撓性連結部材を介して連結されていることを特徴とする手段とした。
請求項4記載のコンクリート天端表示具は、請求項3に記載のコンクリート天端表示具において、前記可撓性連結部材はゴムパイプで構成され、その軸心穴に両端からそれぞれ前記雄ねじの上端部とポールの下端部を圧入することによって雄ねじとポールとの間を屈曲可能に連結されていることを特徴とする手段とした。
請求項5記載のコンクリート天端表示具は、請求項4に記載のコンクリート天端表示具において、前記ゴムパイプに圧入される前記ポールの側面に該ポールの長手方向に沿った溝が形成されていることを特徴とする手段とした。
請求項6記載のコンクリート天端表示具は、請求項3または4に記載のコンクリート天端表示具において、前記ゴムパイプに圧入される前記ポールの側面に該ポールの長手方向に沿った溝が形成されていることを特徴とする手段とした。前記ゴムパイプに圧入される前記ポールの側面に該ポールの長手方向に沿った溝が形成されていることを特徴とする手段とした。
請求項1記載のコンクリート天端表示具では、上述のように、取付手段はクリップ本体と締結部材とで構成され、クリップ本体は帯状の鋼板を曲げ加工して対向する一対の略平行二面部とこれらを繋ぐ略半円状の背面部とを設けた略U字状に形成され、一方の略平行二面部にはボルト挿通穴が穿設され、もう一方の略平行二面部12にはクリップ本体の長手方向に長い長孔とこの長孔と直交する長孔とで構成される十字状の穴が穿設され、締結部材は終端が幅広の楔状頭部を有する締結ボルトと該締結ボルトに螺合される締結ナットとで構成され、楔状頭部は略平行二面部に穿設された十字状の穴を構成する両長穴のいずれかに楔状頭部先端の幅狭部がそれぞれ挿入係止可能に構成され、締結ボルトは略平行二面部に穿設されたボルト挿通穴に挿通可能に構成され、楔状頭部の終端の幅広部にはポールを着脱可能に取り付けるための雌ねじ穴が形成され、ポールの下端部には雌ねじ穴に螺合可能な雄ねじが備えられている構成とした。
このため、ポールを縦筋に対して取り付ける場合は、縦筋に対しクリップ本体を横方向から装着し、締結部材の締結ボルトを平行二面部の十字状の穴から差し込んで平行二面部のボルト挿通穴を貫通させる際に、クリップ本体の長手方向に向けて長い長穴に楔状頭部の幅狭部が挿入係止するように差し込む。そして、ボルト挿通穴を貫通した締結ボルトに締結ナットを螺合して締結することにより、縦筋に対し取付手段を介してポールを垂直に取付固定することができる。
また、ポールを横筋に対して取り付ける場合は、横筋に対しクリップ本体を上下いずれかの方向から装着し、締結部材の締結ボルトを平行二面部の十字状の穴から差し込んで平行二面部のボルト挿通穴を貫通させる。その際に、クリップ本体の長手方向に向けて長い長穴と直交する長穴に楔状頭部の幅狭部が挿入係止するように差し込む。そして、ボルト挿通穴を貫通した締結ボルトに締結ナットを螺合して締結することにより、横筋に対し取付手段を介してポールを垂直に取付固定することができる。
以上のように、1種類の天板表示具を製造及び準備するだけで、縦筋と横筋のいずれにも取付固定することができるため、コンクリート天端表示具の部品点数の削減によるコスト低減と、鉄筋造床コンクリートの敷設作業における作業効率を高めることができるようになるという効果が得られる。
請求項2記載のコンクリート天端表示具では、上述のように、ボルト挿通穴がクリップ本体の長手方向に沿って2つ以上穿設されている構成としたことで、1種類の天板表示具を製造及び準備するだけで径の異なる複数の鉄筋に対して取付手段を取り付けることができ、これにより、コンクリート天端表示具の部品点数の削減によるコスト低減と、鉄筋造床コンクリートの敷設作業において作業効率を高めることができるようになる。
請求項3記載のコンクリート天端表示具では、上述のように、雄ねじとポールとの間が可撓性連結部材を介して連結されている構成としたことで、コンクリート供給パイプ移動中に接触しても可撓性連結部材が撓むことで移動作業の妨げにならず、かつ、作業者の安全性を確保することができると共に、撓んだ可撓性連結部材もその可撓性により元に戻るため、天端表示機能を維持させることができる。
請求項4記載のコンクリート天端表示具では、上述のように、可撓性連結部材はゴムパイプで構成され、その軸心穴に両端からそれぞれ雄ねじの上端部とポールの下端部を圧入することによって雄ねじとポールとの間を屈曲可能に連結されている構成としたことで、圧入作業のみで雄ねじとポールとの間を容易に連結することができるようになる。
請求項5記載のコンクリート天端表示具では、上述のように、雄ねじの上端にフランジを介してゴムパイプに圧入可能な丸棒状連結部が一体に備えられている構成としたことで、ゴムパイプに対する雄ねじの圧入作業を容易に行えるようになる。
また、フランジを備えたことで、ゴムパイプの下端面にフランジが当接するまで丸棒状連結部を差し込むだけで雄ねじの位置合わせを行うことができる。
請求項6記載のコンクリート天端表示具では、上述のように、ゴムパイプに圧入されるポール側面に該ポールの長手方向に沿った溝が形成されている構成としたことで、可撓性連結部材の軸心穴に圧入する際の空気抜きとして作用するため、ポールの圧入作業を楽に行えるようになる。
実施例1のコンクリート天端表示具を示す縦筋に対する取り付け状態の斜視図である。 実施例1のコンクリート天端表示具におけるクリップ本体を示す平面図である。 実施例1のコンクリート天端表示具におけるクリップ本体を示す展開図である。 実施例1のコンクリート天端表示具における固定手段を示す斜視図である。 実施例1のコンクリート天端表示具におけるポール部分を示す縦断面図である。 実施例のコンクリート天端表示具を示す横筋に対する取り付け状態の斜視図である。 実施例2のコンクリート天端表示具におけるクリップ本体を示す展開図である。 実施例2のコンクリート天端表示具における縦筋に対する取付状態を示す斜視図である。 クリップ本体の他の例を示す展開図である。
以下にこの発明の実施例を図面に基づいて説明する。
この実施例1のコンクリート天端表示具は、請求項1、3〜6に記載の発明に対応する。
まず、この実施例1のコンクリート天端表示具を図面に基づいて説明する。
図1はこの実施例1のコンクリート天端表示具を示す縦筋に対する取り付け状態の斜視図、図2はクリップ本体を示す平面図、図3はクリップ本体を示す展開図、図4は固定手段を示す斜視図、図5はポール部分を示す縦断面図、図6はこの実施例1のコンクリート天端表示具を示す横筋に対する取り付け状態の斜視図である。
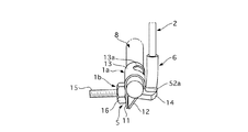
このコンクリート天端表示具は、図1に示すように、取付手段1と、ポール2と、天端表示部材3と、固定手段4と、ポール取付手段5と、可撓性連結部材6とを主な構成として備えている。
さらに詳述すると、前記取付手段1は、前記ポール2の下端部を縦筋7又は横筋8のいずれかに対し取り付け固定するための手段であり、クリップ本体1aと、締結部材1bとで構成されている。
前記クリップ本体1aは、図2、3に示すように、帯状の鋼板を曲げ加工して対向する一対の略平行二面部11,12と、これらを繋ぐ略半円状の背面部13とを設けた略U字状に形成されている。
略半円状の背面部13の幅方向中央部には長手方向に向けて長い長穴13aが穿設されている。
一方の略平行二面部11にはボルト挿通穴11aが穿設され、もう一方の略平行二面部12にはクリップ本体1aの長手方向に長い長孔12aとこの長孔12aと直交する長孔12bとで構成される十字状の穴Aが穿設されている。
なお、背面部13に穿設された長穴13aは、コンクリートを打設する際、背面部13内側へのコンクリートの入りをよくする役目をなすものである。
前記締結部材1bは、図1、4に示すように、クリップ本体1aに対し鉄筋を締結固定する役目をなすもので、終端が幅広の楔状頭部14を有する締結ボルト15と、該締結ボルト15に螺合される締結ナット16とで構成されている。
楔状頭部14は、図3に示す略平行二面部12に穿設された十字状の穴Aを構成する長穴12a又は長孔12bのいずれかに先端の幅狭部14aがそれぞれ挿入係止可能な構成で、締結ボルト15は略平行二面部11に穿設されたボルト挿通穴11aに挿通可能な構成となっている。なお、十字状の穴Aの中心部は締結ボルト15を挿通可能な大きさに設定されている。
楔状頭部14の終端の幅広部14bにはポール2を着脱可能に取り付けるためのポール取付手段5の一方を構成する雌ねじ穴51が形成されている。
即ち、楔状頭部14の終端の幅広部1bが十字状の穴Aを構成する長穴12a、12bの長手方向幅より幅広になるように形成されている。
前記ポール2は、図5に示すように、ジラコン等の可撓性を有する合成樹脂製の丸棒で構成されている。
このポール2の下端側には楔状頭部14の終端の幅広部14bに形成された雌ねじ穴51に対し着脱可能に螺合する雄ねじ52が備えられている。
この雄ねじ52は雌ねじ穴51と共にポール取付手段5を構成するもので、その上端にフランジ52aを介してポール2と略同径の丸棒状連結部52bが一体に備えられている。
前記可撓性連結部材6は、雄ねじ52とポール2を連結させるもので、可撓性を有するゴムパイプで構成され、その軸心穴6aに両端からそれぞれ雄ねじ52の丸棒状連結部52bとポール2の下端部を圧入することによって雄ねじ52とポール2との間を屈曲可能に連結されている。
なお、可撓性連結部材6の軸心穴6aに圧入する際の空気抜きとしてポール2の側面の長手方向に沿った溝2aが形成されている。
前記天端表示部材3は、天端位置を表示する役目をなすもので、前記ポール2の外周に上下移動自在に装着可能な円筒部31と、該円筒部31の下端に形成された円盤状の天端位置表示板(板状の天端表示部)32とを備え、合成樹脂により一体に形成されている。
前記固定手段4は、前記天端表示部材3をポール2の任意の移動位置で固定する役目をなすもので、前記円筒部31の上端側に形成された小径部31aの外周に装着固定されたナット状金具41と、該ナット状金具41の側壁を貫通する状態で形成された雌ねじ孔41aに対し螺合される蝶ねじ42とで構成されている。
そして、この蝶ねじ42をねじ込むことにより、該蝶ねじ42の先端が円筒部31の上端側に形成された小径部31aの側壁を内側へ押し込んでポール2に圧接させ、これにより、天端表示部材3をポール2の所定位置に固定することができるようになっている。
次に、この実施例1の作用・効果を説明する。
先ず、ポール2を縦筋7に対して取り付ける場合を図1〜4に基づいて説明する。
この実施例1のコンクリート天端表示具では、上述のように構成されるため、縦筋7に対しクリップ本体1aを横方向から装着し、締結部材1bの締結ボルト15を平行二面部12の十字状の穴Aから差し込んで平行二面部11のボルト挿通穴11aを貫通させる。その際に、クリップ本体1aの長手方向に向けて長い長穴13aに楔状頭部14の幅狭部14aが挿入係止するように差し込む。そして、ボルト挿通穴11aを貫通した締結ボルト15に締結ナット16を螺合して締結することにより、縦筋7に対し取付手段1を介してポール2が垂直に取付固定された状態になる。
次に、ポール2を横筋8に対して取り付ける場合を図2〜5に基づいてについて説明する。
この実施例1のコンクリート天端表示具では、上述のように構成されるため、横筋8に対しクリップ本体1aを上下いずれかの方向(この実施例では上方向)から装着し、締結部材1bの締結ボルト15を平行二面部12の十字状の穴Aから差し込んで平行二面部11のボルト挿通穴11aを貫通させる。その際に、クリップ本体1aの長手方向に向けて長い長穴13aと直交する長穴13bに楔状頭部14の幅狭部14aが挿入係止するように差し込む。そして、ボルト挿通穴11aを貫通した締結ボルト15に締結ナット16を螺合して締結することにより、横筋8に対し取付手段1を介してポール2が垂直に取付固定された状態になる。
次に、天端位置表示板32を目的の天端位置に位置調整する時は、蝶ねじ42を緩めると、ポール2に対する小径部31aの圧接状態が解除され、天端表示部材3のポール2に対する固定状態が解除されるため、ポール2に対し天端表示部材3を上下移動させて天端位置表示板32が目的の天端位置になるように調整し、この状態で蝶ねじ42をねじ込むことにより、該蝶ねじ42の先端が円筒部31の上端側に形成された小径部31aの側壁を内側へ押し込んでポール2に圧接させ、これにより、天端表示部材3をポール2の所定位置に固定することができる。
次に、生コンクリートの打設後、生コンクリート硬化前に、ポール2を半時計方向に回すことにより、雌ねじ穴51に対する雄ねじ52の螺合状態が解除され、ポール2を生コンクリート内から容易に抜き取ることができる。
以上詳細に説明してきたように、この実施例1のコンクリート天端表示具では、クリップ本体1aの一方の略平行二面部11にはボルト挿通穴11aが穿設され、もう一方の略平行二面部12にはクリップ本体1aの長手方向に長い長孔12aとこの長孔12aと直交する長孔12bとで構成される十字状の穴Aが穿設されている構成としたため、1種類の天板表示具を製造及び準備するだけで、縦筋7と横筋8のいずれにも取付固定することができるため、コンクリート天端表示具の部品点数の削減によるコスト低減と、鉄筋造床コンクリートの敷設作業における作業効率を高めることができるようになるという効果が得られる。
また、雄ねじ52とポール2との間が可撓性連結部材6を介して連結されている構成としたことで、コンクリート供給パイプ移動中に接触しても可撓性連結部材6が撓むことで移動作業の妨げにならず、かつ、作業者の安全性を確保することができると共に、撓んだ可撓性連結部材6もその可撓性により元に戻るため、天端表示機能を維持させることができる。
また、可撓性連結部材6はゴムパイプで構成され、その軸心穴6aに両端からそれぞれ雄ねじ52の上端部とポール2の下端部を圧入することによって雄ねじ52とポール2との間を屈曲可能に連結されている構成としたことで、圧入作業のみで雄ねじ52とポール2との間を容易に連結することができるようになる。
また、雄ねじ52の上端にフランジ52aを介してゴムパイプに圧入可能な丸棒状連結部52bが一体に備えられている構成としたことで、ゴムパイプに対する雄ねじ52の圧入作業を容易に行えるようになる。
また、フランジ52aを備えたことで、ゴムパイプの下端面にフランジ52aが当接するまで丸棒状連結部52bを差し込むだけで雄ねじ52の位置合わせを行うことができる。
また、ゴムパイプに圧入されるポール2の側面に該ポール2の長手方向に沿った溝が形成されている構成としたことで、可撓性連結部材6の軸心穴6aに圧入する際の空気抜きとして作用するため、ポール2の圧入作業を楽に行えるようになる。
また、前記天端表示部材3が、ポール2の外周に上下移動自在に装着可能な円筒部31と、該円筒部31の下端に形成された円盤状の天端位置表示板32とで構成されることにより、天端表示位置の調整が正確に行なえるようになる。
また、固定手段4が、円筒部31の上端側に形成された小径部31aの外周に装着固定されたナット状金具41と、該ナット状金具41の側壁を貫通する状態で形成された雌ねじ孔41aに対し螺合される蝶ねじ42とで構成されることにより、蝶ねじ42を緩めることで天端位置表示板32の位置調整が容易に行なえるようになると共に、蝶ねじ42をねじ込むことにより任意の位置に固定することができるようになる。
次に、他の実施例について説明する。この他の実施例の説明にあたっては、前記実施例1と同様の構成部分については図示を省略し、もしくは同一の符号を付けてその説明を省略し、相違点についてのみ説明する。
この実施例2は、上記実施例1のコンクリート天端表示具におけるクリップ本体1aの変形例を示すもので、請求項1、2に記載の発明に対応する。
即ち、この実施例2は、図7の展開図に示すように、クリップ本体1aの略平行二面部11にクリップ本体1aの長手方向に沿って2つのボルト挿通穴11a、11bが穿設されている点が前記実施例1とは相違したものである。
この実施例2では上述のように構成したため、図8(a)の斜視図に示すように、締結ボルト15をボルト挿通穴11aに挿通することで、クリップ本体1aを小径の鉄筋に締結することができ、図8(b)の斜視図に示すように、締結ボルト15をボルト挿通穴11bに挿通することで、クリップ本体1aを大径の鉄筋に締結することができる。
以上のように、この実施例2では、ボルト挿通穴11a、11bがクリップ本体1aの長手方向に沿って2つ穿設されている構成としたことで、1種類の天板表示具を製造及び準備するだけで径の異なる2種類以上の鉄筋に対して取付手段1を取り付けることができ、これにより、コンクリート天端表示具の部品点数の削減によるコスト低減と、鉄筋造床コンクリートの敷設作業において作業効率を高めることができるようになるという追加の効果が得られる。
以上本実施例を説明してきたが、本発明は上述の実施例に限られるものではなく、本発明の要旨を逸脱しない範囲の設計変更等があっても、本発明に含まれる。
例えば、実施例では、固定手段4としてナット状金具41を用い、このナット状金具41に蝶ねじ42をねじ込む蝶ねじ孔41aを形成したが、ナット状金具41を省略し、円筒部31に直接蝶ねじ孔を形成するようにしてもよい。
また、実施例2において、ボルト挿通穴11aは、図9の展開図に示すように、長孔13aと一体に繋げた状態としても同様の効果が得られる。
A 十字状の穴
1 取付手段
1a クリップ本体
1b 締結部材
11 略平行二面部
11a ボルト挿通穴
11b ボルト挿通穴
12 略平行二面部
12a 長穴
12b 長穴
13 背面部
13a 長穴
14 楔状頭部
14a 幅狭部
14b 幅広部
15 締結ボルト
16 締結ナット
2 ポール
3 天端表示部材
31 円筒部
31a 小径部
32 円盤状の天端位置表示板
4 固定手段
41 ナット状金具
41a 雌ねじ孔
42 蝶ねじ
5 ポール取付手段
51 雌ねじ穴
52 雄ねじ
52a フランジ
52b 丸棒状連結部
6 可撓性連結部材
6a 軸心穴
7 縦筋
8 横筋

Claims (6)

  1. 鉄筋に対し取り付け固定可能な取付手段と、
    該取付手段により鉄筋に取付固定されるポールと、
    該ポールに対し上下移動可能に装着される天端表示部を備えた天端表示部材と、
    該天端表示部材を前記ポールの任意の移動位置で固定可能な固定手段と、
    で構成され、
    前記取付手段はクリップ本体と締結部材とで構成され、
    前記クリップ本体は帯状の鋼板を曲げ加工して対向する一対の略平行二面部とこれらを繋ぐ略半円状の背面部とを設けた略U字状に形成され、
    前記一方の略平行二面部にはボルト挿通穴が穿設され、もう一方の略平行二面部には前記クリップ本体の長手方向に長い長孔とこの長孔と直交する長孔とで構成される十字状の穴が穿設され、
    前記締結部材は終端が幅広の楔状頭部を有する締結ボルトと該締結ボルトに螺合される締結ナットとで構成され、
    前記楔状頭部は前記略平行二面部に穿設された十字状の穴を構成する両長穴のいずれかに前記楔状頭部先端の幅狭部がそれぞれ挿入係止可能に構成され、
    前記締結ボルトは前記略平行二面部に穿設されたボルト挿通穴に挿通可能に構成され、
    前記楔状頭部の終端の幅広部にはポールを着脱可能に取り付けるための雌ねじ穴が形成され、
    前記ポールの下端部には前記雌ねじ穴に螺合可能な雄ねじが備えられていることを特徴とするコンクリート天端表示具。
  2. 請求項1に記載のコンクリート天端表示具において、
    前記ボルト挿通穴が前記クリップ本体の長手方向に沿って2つ以上穿設されていることを特徴とするコンクリート天端表示具。
  3. 請求項1または2に記載のコンクリート天端表示具において、
    前記雄ねじとポールとの間が可撓性連結部材を介して連結されていることを特徴とするコンクリート天端表示具。
  4. 請求項3に記載のコンクリート天端表示具において、
    前記可撓性連結部材はゴムパイプで構成され、その軸心穴に両端からそれぞれ前記雄ねじの上端部とポールの下端部を圧入することによって雄ねじとポールとの間を屈曲可能に連結されていることを特徴とするコンクリート天端表示具。
  5. 請求項4に記載のコンクリート天端表示具において、
    前記雄ねじの上端にフランジを介して前記ゴムパイプに圧入可能な丸棒状連結部が一体に備えられていることを特徴とするコンクリート天端表示具。
  6. 請求項3または4に記載のコンクリート天端表示具において、
    前記ゴムパイプに圧入される前記ポールの側面に該ポールの長手方向に沿った溝が形成されていることを特徴とするコンクリート天端表示具。
JP2009196347A 2009-08-27 2009-08-27 コンクリート天端表示具 Active JP5113130B2 (ja)

Priority Applications (1)

Application Number Priority Date Filing Date Title
JP2009196347A JP5113130B2 (ja) 2009-08-27 2009-08-27 コンクリート天端表示具

Applications Claiming Priority (1)

Application Number Priority Date Filing Date Title
JP2009196347A JP5113130B2 (ja) 2009-08-27 2009-08-27 コンクリート天端表示具

Publications (2)

Publication Number Publication Date
JP2011047193A JP2011047193A (ja) 2011-03-10
JP5113130B2 true JP5113130B2 (ja) 2013-01-09

Family

ID=43833784

Family Applications (1)

Application Number Title Priority Date Filing Date
JP2009196347A Active JP5113130B2 (ja) 2009-08-27 2009-08-27 コンクリート天端表示具

Country Status (1)

Country Link
JP (1) JP5113130B2 (ja)

Families Citing this family (4)

* Cited by examiner, † Cited by third party
Publication number Priority date Publication date Assignee Title
JP5583109B2 (ja) * 2011-12-15 2014-09-03 株式会社国元商会 天端ポインター
JP2015132134A (ja) * 2014-01-15 2015-07-23 大成建設株式会社 天端ポイント
JP6574114B2 (ja) * 2015-08-06 2019-09-11 株式会社Nsp Ks 天端出し補助具
CN109297844B (zh) * 2018-11-28 2023-03-21 山西水利职业技术学院 一种钢筋混凝土结构无损检测装置

Family Cites Families (2)

* Cited by examiner, † Cited by third party
Publication number Priority date Publication date Assignee Title
JPH0379924U (ja) * 1989-12-05 1991-08-15
JP2006152611A (ja) * 2004-11-26 2006-06-15 Zen Giken Kk コンクリート天端表示具

Also Published As

Publication number Publication date
JP2011047193A (ja) 2011-03-10

Similar Documents

Publication Publication Date Title
US9829026B2 (en) Anchor bolt
JP5113130B2 (ja) コンクリート天端表示具
US10047777B2 (en) Anchor bolt
US10738462B2 (en) Deck connector
JP2018179104A (ja) ナット緩み防止具
US7441729B2 (en) J-hook hanger assembly
US20090169328A1 (en) Fixing Implement
US8006459B2 (en) Shear plate
JP2011026930A (ja) 三次元交差鉄筋締結金具
US8096518B1 (en) Truss mounted support system
JP6496305B2 (ja) アンカーボルト
US6944994B2 (en) Anchoring bracket
JP2006152611A (ja) コンクリート天端表示具
KR101445369B1 (ko) 연결구를 이용한 쏘일네일링 장치 및 이의 시공방법
JP6613125B2 (ja) 固定金具
JP4387156B2 (ja) 木造建築部材の連結金具
JP2008261174A (ja) 建築用仮設金物
JP3115524U (ja) 足場組付け装置
JP2014234600A (ja) 鉄筋コンクリート工事用スペーサー
JP2016037815A (ja) 床板の固定具
JP3183739U (ja) アンカーボルト用ナット
JP4804239B2 (ja) 高負荷用鉄筋交差部締結具
US20150192013A1 (en) Truss system installation
JP6181688B2 (ja) 支柱支持構造およびそれを用いた手摺り支持構造
JP6215599B2 (ja) 落下防止のための野縁取付金具

Legal Events

Date Code Title Description
A621 Written request for application examination

Free format text: JAPANESE INTERMEDIATE CODE: A621

Effective date: 20120726

A871 Explanation of circumstances concerning accelerated examination

Free format text: JAPANESE INTERMEDIATE CODE: A871

Effective date: 20120726

A621 Written request for application examination

Free format text: JAPANESE INTERMEDIATE CODE: A621

Effective date: 20120726

TRDD Decision of grant or rejection written
A975 Report on accelerated examination

Free format text: JAPANESE INTERMEDIATE CODE: A971005

Effective date: 20120904

A01 Written decision to grant a patent or to grant a registration (utility model)

Free format text: JAPANESE INTERMEDIATE CODE: A01

Effective date: 20120911

A01 Written decision to grant a patent or to grant a registration (utility model)

Free format text: JAPANESE INTERMEDIATE CODE: A01

A61 First payment of annual fees (during grant procedure)

Free format text: JAPANESE INTERMEDIATE CODE: A61

Effective date: 20121011

FPAY Renewal fee payment (event date is renewal date of database)

Free format text: PAYMENT UNTIL: 20151019

Year of fee payment: 3

R150 Certificate of patent or registration of utility model

Ref document number: 5113130

Country of ref document: JP

Free format text: JAPANESE INTERMEDIATE CODE: R150

Free format text: JAPANESE INTERMEDIATE CODE: R150

R250 Receipt of annual fees

Free format text: JAPANESE INTERMEDIATE CODE: R250

R250 Receipt of annual fees

Free format text: JAPANESE INTERMEDIATE CODE: R250

R250 Receipt of annual fees

Free format text: JAPANESE INTERMEDIATE CODE: R250

R250 Receipt of annual fees

Free format text: JAPANESE INTERMEDIATE CODE: R250

R250 Receipt of annual fees

Free format text: JAPANESE INTERMEDIATE CODE: R250

R250 Receipt of annual fees

Free format text: JAPANESE INTERMEDIATE CODE: R250

R250 Receipt of annual fees

Free format text: JAPANESE INTERMEDIATE CODE: R250

R250 Receipt of annual fees

Free format text: JAPANESE INTERMEDIATE CODE: R250