JP5111817B2 - 固定式等速自在継手 - Google Patents

固定式等速自在継手 Download PDF

Info

Publication number
JP5111817B2
JP5111817B2 JP2006249854A JP2006249854A JP5111817B2 JP 5111817 B2 JP5111817 B2 JP 5111817B2 JP 2006249854 A JP2006249854 A JP 2006249854A JP 2006249854 A JP2006249854 A JP 2006249854A JP 5111817 B2 JP5111817 B2 JP 5111817B2
Authority
JP
Japan
Prior art keywords
cage
pocket
long
pockets
spherical surface
Prior art date
Legal status (The legal status is an assumption and is not a legal conclusion. Google has not performed a legal analysis and makes no representation as to the accuracy of the status listed.)
Expired - Fee Related
Application number
JP2006249854A
Other languages
English (en)
Other versions
JP2008069888A (ja
Inventor
輝明 藤尾
学 星野
亮 中川
和三郎 菅沼
Current Assignee (The listed assignees may be inaccurate. Google has not performed a legal analysis and makes no representation or warranty as to the accuracy of the list.)
NTN Corp
Original Assignee
NTN Corp
Priority date (The priority date is an assumption and is not a legal conclusion. Google has not performed a legal analysis and makes no representation as to the accuracy of the date listed.)
Filing date
Publication date
Application filed by NTN Corp filed Critical NTN Corp
Priority to JP2006249854A priority Critical patent/JP5111817B2/ja
Priority to US12/310,903 priority patent/US8029374B2/en
Priority to PCT/JP2007/067191 priority patent/WO2008032600A1/ja
Priority to DE112007002086.5T priority patent/DE112007002086B4/de
Priority to CN2007800342702A priority patent/CN101517255B/zh
Publication of JP2008069888A publication Critical patent/JP2008069888A/ja
Application granted granted Critical
Publication of JP5111817B2 publication Critical patent/JP5111817B2/ja
Expired - Fee Related legal-status Critical Current
Anticipated expiration legal-status Critical

Links

Images

Landscapes

  • Rolling Contact Bearings (AREA)

Description

本発明は、固定式等速自在継手に関し、詳しくは、自動車や各種産業機械の動力伝達系において使用されるもので、駆動側と従動側の二軸間で角度変位のみを許容する固定式等速自在継手に関する。
例えば、自動車のエンジンから車輪に回転力を等速で伝達する手段として使用される等速自在継手の一種に固定式等速自在継手がある。この固定式等速自在継手は、駆動側と従動側の二軸を連結してその二軸が作動角をとっても等速で回転トルクを伝達し得る構造を備えている。一般的に、前述した固定式等速自在継手としては、バーフィールド型(BJ)やアンダーカットフリー型(UJ)が広く知られている。
例えば、UJタイプの固定式等速自在継手は、図27と図28に示すように内球面1に複数のトラック溝2が円周方向等間隔に軸方向に沿って形成された外方部材としての外輪3と、外球面4に外輪3のトラック溝2と対をなす複数のトラック溝5が円周方向等間隔に軸方向に沿って形成された内方部材としての内輪6と、外輪3のトラック溝2と内輪6のトラック溝5との間に介在してトルクを伝達する複数のボール7と、外輪3の内球面1と内輪6の外球面4との間に介在してボール7を保持するケージ8とを備えている。ケージ8には、ボール7が収容されるポケット9が周方向に沿って複数配設されている。
前記外輪3のトラック溝2は、トラック溝底が円弧部となる奥側トラック溝2aと、トラック溝底が外輪軸線と平行なストレート部となる開口側トラック溝2bとからなる。奥側トラック溝2aは、その曲率中心O1を継手中心Oから軸方向に外輪3の開口側にずらしている。また、内輪6のトラック溝5は、トラック溝底が内輪軸線と平行なストレート部となる奥側トラック溝5aと、トラック溝底が円弧部となる開口側トラック溝5bとからなる。開口側トラック溝5bの曲率中心O2を継手中心Oから軸方向に外輪3の奥側トラック溝2aの曲率中心O1と反対側の奥側に等距離kだけ離して設けている。
また、ケージ外球面8aは、その曲率半径O3を継手中心Oから軸方向にケージ8の開口側にずらし、ケージ内球面8bは、その曲率中心O4を継手中心Oから軸方向にケージ外球面8aの曲率中心O3と反対側の奥側に等距離k1だけ離して設けている。従来のこの種の等速自在継手では、内外輪のトラックオフセット量を大きく、ケージのオフセット量を小さくしている。また、隣合う2個のボール7のピッチ角は、図28に示すように、60度である。すなわち、ボール7が周方向に沿って60度ピッチで6個配置されている。
ところで、固定式等速自在継手において、近年では、小型化できてしかもトルク負荷容量を上げることが求められている。6個のボールを有する固定式等速自在継手を小型化し、かつトルク負荷容量を上げる方法として、出来るだけ大きなボールを出来るだけ小さなPCD上に配置することが考えられる。しかしながら、大きなボールを使用すると、ケージのポケット間の柱(窓柱)が細くなり、ケージの剛性が低下する。特に高角時の捩りトルク負荷に対しては、ケージの破損が生じ易く、等速自在継手の強度低下の要因となっている。
特に、図27に示すように、内外輪のトラックオフセット量が大きく、ケージのオフセット量が小さい場合、外輪奥側のトラック溝深さが浅くなり、高角時のトルク負荷容量が小さくなる。つまり、高角時のトルク負荷に対してボールがトラックエッジに乗り上げ易く、エッジ部に過大な応力が発生する。そのため、エッジ部の欠けによる損傷や、塑性変形が生じることによるケージとのロック現象が発生する。これらの損傷やロック現象は、作動性を悪くし、耐久寿命を低下させたり、ケージ破損の要因となっている。また、内輪においても奥側のトラック深さも浅くなっており、外輪と同様の欠点を有する。このため、高角度域での継手強度および耐久性の向上は従来からの課題である。
そこで、従来には、周方向に隣合うポケット同士の間に存在する柱部の周方向長さ寸法を大きくして、ケージの耐久性の確保を図って、等速自在継手全体の耐久性の向上を図るようにしたものがある(特許文献1)。すなわち、この特許文献1に記載のものは、一つのポケットに複数個のボールを収納することによって、同一のポケット内に収容したボールの間隔を狭くして、周方向に隣合うポケット同士の間に存在する柱部の周方向長さ寸法を大きくするものであり、ボールの数を7個以上としている。
また、従来には、ケージの各ポケットに2個ずつ収納して、回転中のモーメントの周期的変動を抑制するようにしたものがある(特許文献2)。すなわち、この特許文献2に記載のものは、ケージの全ポケットをその周方向間隔を大とした長窓として、一つの窓柱の周方向長さを大きくしている。
特開平11−303882号公報 英国特許1537067
特許文献1に記載のものでは、ポケットに複数個のボールを収納することによって、周方向に隣合うポケット同士の間に存在する柱部の周方向長さ寸法を大きくして、ケージの耐久性確保を図って、等速自在継手全体の耐久性の向上を図るようにしている。しかしながら、特許文献1に記載のものでは、ボールを7個以上とすることを前提としており、6個のボールを有するものにおいて、高角度時の負荷容量の低下、及び内輪とケージ内球面の接触面圧の増加の防止等ができるようにしたものではない。
また、特許文献2に記載のものでは、ケージの各ポケットに2個ずつ収納して、前記特許文献1と同様、全体のポケット数を少なくして窓柱の周方向長さを大きくしている。このため、この場合であっても、高角度時の負荷容量の低下、および内輪とケージ内球面の接触面圧の増加の防止等ができるものではない。
本発明は、上記課題に鑑みて、小型化を図ることができ、しかも小型化しても、作動角をとった際においても、負荷容量の低下が少なく、また高角時のトラックへのボールの乗り上げを緩和することによって、高角度強度及び耐久性を向上させることができる固定式等速自在継手を提供する。
本発明の固定式等速自在継手は、内球面に複数のトラック溝が形成された外方部材と、外球面に複数のトラック溝が形成された内方部材と、前記外方部材のトラック溝と内方部材のトラック溝との間に介在してトルクを伝達する複数のボールと、このボールを収容するポケットを有するとともに外方部材と内方部材との間に介装されるケージとを備えた固定式等速自在継手において、前記ケージのポケットは、周方向間隔が大の一対の長ポケットと、周方向間隔が小の一対の短ポケットとの4個を有し、一対の長ポケットを周方向に沿って180度ずらせるとともに、一対の短ポケットを周方向に沿って180度ずらせて、長ポケットと短ポケットとを周方向に沿って交互に配置し、かつ長ポケットには2個のボールを収容するとともに、短ポケットには1個のボールを収容し、長ポケットのケージ外球面側とケージ内球面側のエッジ部との少なくともいずれか一方に面取部を設けたものである。
本発明の固定式等速自在継手では、ケージのポケット間の窓柱の数を4つとすることができ、1本あたりの窓柱の周方向長さを長くすることができる。これにより、各ケージ窓柱の剛性を大きくすることができる。長ポケットを有することによって、内輪のケージへの組込みが容易となる。
長ポケットに設ける面取部を、継手開口部側のケージ外球面側のエッジ部に形成すれば、この等速自在継手が作動角をとる際に、外方部材の開口(入口)のインローエッジ部に干渉するケージ外球面側のポケットエッジ部を有さないものとできる。また、長ポケットに設ける面取部を、継手奥側のケージ内球面側のエッジ部に形成すれば、この等速自在継手が作動角をとる際に、内方部材の外球面の奥側エッジ部と干渉するケージ内球面側のポケットエッジ部を有さないものとできる。
面取部を長ポケット全周に亘って形成しても、長ポケットの長辺側にのみ形成してもよい。すなわち、面取部を長ポケット全周に亘って形成する場合、ケージ外球面側のポケットエッジ部に形成する際には、ケージ外球面側の全周に亘って形成し、面取部をケージ内球面側のポケットエッジ部に形成する際には、ケージ内球面側の全周に亘って形成することになる。また、長ポケットの長辺側にのみ形成する場合、ケージ外球面側のポケットエッジ部に形成する際には、ケージ外球面側の長辺側に形成し、ケージ内球面側のポケットエッジ部に形成する際には、ケージ内球面側の長辺側に形成することになる。
本発明の他の固定式等速自在継手は、内球面に複数のトラック溝が形成された外方部材と、外球面に複数のトラック溝が形成された内方部材と、前記外方部材のトラック溝と内方部材のトラック溝との間に介在してトルクを伝達する複数のボールと、このボールを収容するポケットを有するとともに外方部材と内方部材との間に介装されるケージとを備えた固定式等速自在継手において、前記ケージのポケットは、周方向間隔が大の一対の長ポケットと、周方向間隔が小の一対の短ポケットとの4個を有し、一対の長ポケットを周方向に沿って180度ずらせるとともに、一対の短ポケットを周方向に沿って180度ずらせて、長ポケットと短ポケットとを周方向に沿って交互に配置し、かつ長ポケットには2個のボールを収容するとともに、短ポケットには1個のボールを収容し、ケージ外球面に、外方部材の内径面と非接触となる切欠部を設けたものである。
本発明の他の固定式等速自在継手では、前記請求項1の固定式等速自在継手と同様、各ケージ窓柱の剛性を大きくすることができ、さらに、長ポケットを有することによって、内輪のケージへの組込みが容易となる。
また、ケージ外球面に外方部材の内径面と非接触となる切欠部を設けたので、この等速自在継手が作動角をとる際に、外方部材の開口(入口)のインローエッジ部と、ケージ外球面側のポケットエッジ部との干渉を避けることができる。
長ポケットに収容される2個のボールのPCD上のピッチ角を60度よりも小さくするとともに、その他のボールのピッチ角を60度よりも大きくした。詳しくは、長ポケットに収容される2個のボールの、ピッチ円直径(PCD)上にある2つの中心と継手中心とを通る2つの直線がなすピッチ角(e)を60度よりも小さくするとともに、長ポケットに収容される1つボールと、これと周方向に隣合う短ポケットに収容されるボールの、ピッチ円直径(PCD)上にある2つの中心と継手中心とを通る2つの直線がなすピッチ角(d)を60度よりも大きくした。これにより、長ポケットに収した2個のボールのピッチ間距離が小さくなり、これに対応する外方部材のトラック溝のピッチ間距離が小さくなる。
長ポケットの周方向間隔よりも前記内方部材の軸方向長さを短くした。これにより、内方部材のケージへの組込みが一層容易となる。さらに、ケージの長ポケットに対応する外方部材の2つのトラック溝間肩幅寸法を、ケージ軸方向におけるポケット幅よりも小さく設定した。これにより、ケージの外輪への組込みが容易となる。
外方部材のトラック溝の曲率中心と内方部材のトラック溝の曲率中心とを、継手中心に対して等距離だけ軸方向に逆向きにオフセットさせるとともに、ケージの外球面の曲率中心とケージの内球面の曲率中心とを、継手中心に対して等距離だけ軸方向に逆向きにオフセットさせ、このケージのオフセット量を、トラック溝のオフセット量と略同一となるように大きくした。具体的には、ケージのオフセット量k2とトラック溝のオフセット量kを(k−k2)/k≦0.3とした。これによって、継手奥側のトラック溝深さが浅くなるのを防止できるとともに、開口側のケージの肉厚(径方向厚さ)を大きくすることができる。
なお、固定式等速自在継手として、内方部材および外方部材のトラック溝底が円弧部とストレート部とを備えたものであっても、内方部材および外方部材のトラック溝底が円弧部とテーパ部とを備えたものであってもよい。
本発明では、各ケージ窓柱の剛性を大きくすることができるので、小さなPCDに大きなボールを配置することができ、負荷容量を低下させずにコンパクト化が可能となる。しかも、高角度時の捩りトルク負荷に対して、ケージの破損を防止できる。また、長ポケットを有することによって、内輪のケージへの組込みが容易となる。特に、長ポケットの周方向間隔の最小長さよりも前記内輪の軸方向長さを短くすることにより、内輪のケージへの組込みが一層容易となって、組立作業性を向上することができる。
継手開口部側のケージ外球面側の長ポケットのエッジ部に面取部を設けたり、ケージ外球面に外方部材の内径面と非接触となる切欠部を設けたりすれば、外方部材の開口(入口)のインローエッジ部と、ケージ外球面側のポケットエッジ部との干渉を避けることができ、また、継手奥側のケージ内球面側の長ポケットのエッジ部に面取部を設ければ、内方部材の外球面の奥側エッジ部とケージ内球面側のポケットエッジ部との干渉を避けることができる。このため、ケージの外方部材の内球面や内方部材の外球面に案内しやすくなり、継手の作動性が悪化するのを防止でき、窓枠の剛性向上による継手の作動性の悪化防止と相俟って、ケージの欠けや割れを有効に防止できる。
長ポケットに収納した2個のボールのピッチ間距離を小さくでき、これに対応する外方部材のトラック溝のピッチ間距離を小さくできる。これにより、ケージの外輪への組込みが容易となる。特に、このピッチ間距離(トラック溝間肩幅寸法)を、ケージ軸方向におけるポケット幅よりも小さくでき、これにより、ケージの外輪への組込みが一層容易となって、組立作業性を向上することができる。
ケージのオフセット量を、トラック溝のオフセット量と略同一となるように大きくしたので、継手奥側のトラック溝深さが浅くなるのを防止できるとともに、開口側のケージの肉厚(径方向厚さ)を大きくすることができる。このため、高角時のボールがトラックエッジに乗り上げるのを防止でき、エッジに過大な応力は作用することがなくなる。すなわち、高角時の捩りトルク負荷容量の低下を防ぎ、高角耐久寿命の向上(改善)や高角時の内方部材と外方部材のトラック溝の塑性変形に起因する破損強度の向上(改善)を図ることができる。
また、継手開口側のケージの肉厚(径方向厚さ)を大きくすることができるので、継手開口側のケージ窓枠の剛性を大きくすることができる。このため、各ケージ窓柱の剛性が大となるのと相俟って、高角時の捩りトルク負荷に対するケージ破損強度の向上を大幅に図ることができる。
なお、長ポケットに2個のボールを収納させれば、このボール間に窓柱が存在しないので、ボールからの大きな負荷を受ける継手開口側の窓枠の剛性を上げる必要があるが、前記したように、ケージのオフセット量を、トラック溝のオフセット量と略同一となるように大きくすることにより、継手開口側の窓枠の剛性を上げることができ、長ポケットに2個のボールを収納する構造であっても、ケージの強度を十分保つことができる。
以下本発明の実施の形態を図1〜図20に基づいて説明する。
この固定式等速自在継手は、図1に示すように内球面21に複数のトラック溝22が円周方向不等間隔に軸方向に沿って形成された外方部材としての外輪23と、外球面24に外輪23のトラック溝22と対をなす複数のトラック溝25が円周方向不等間隔に軸方向に沿って形成された内方部材としての内輪26と、外輪23のトラック溝22と内輪26のトラック溝25との間に介在してトルクを伝達する複数のボール27と、外輪23の内球面21と内輪26の外球面24との間に介在してボール27を保持するケージ28とを備えている。
前記外輪23のトラック溝22は、トラック溝底が円弧部となる奥側トラック溝22aと、トラック溝底が外輪軸線と平行なストレート部となる開口側トラック溝22bとからなる。奥側トラック溝22aは、その曲率中心O1を継手中心Oから軸方向に外輪23の開口側にずらしている。また、内輪26のトラック溝25は、トラック溝底が内輪軸線と平行なストレート部となる奥側トラック溝25aと、トラック溝底が円弧部となる開口側トラック溝25bとからなる。開口側トラック溝25bの曲率中心O2を継手中心Oから軸方向に外輪23の奥側トラック溝22aの曲率中心O1と反対側の奥側に等距離kだけ離して設けている。
ケージ28は、外球面28aの曲率中心O3と内球面28bの曲率中心O4とを、継手中心(ケージ中心)Oに対して等距離k2だけ軸方向に逆向きにオフセットさせ、このケージ28のオフセット量をトラック溝のオフセット量と略同一として大きくしている。
このため、ケージ28の外球面28aは、外輪23の奥側トラック溝22aの溝底とほぼ同心円弧(曲率半径は相違する同心円弧)を形成することができ、継手奥側のトラック溝深さが浅くなるのを防止できるとともに、ケージ28の開口側の肉厚(径方向厚さ)を大きくすることができる。
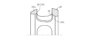
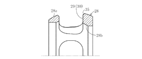
また、ケージ28にはボール27を収容するポケット29が設けられている。この場合、ケージ28のポケット29は、図2に示すように、周方向間隔が大の一対の長ポケット30と、周方向間隔が小の一対の短ポケット31との4個を有している。そして、一対の長ポケット30を周方向に沿って180度ずらせるとともに、一対の短ポケット31を周方向に沿って180度ずらせて、長ポケット30と短ポケット31とを周方向に沿って交互に配置している。このため、ポケット間に設けられる窓柱(ケージ窓柱)33が4個となる。そして、長ポケット30には2個のボール27を収容するとともに、短ポケット31には1個のボール27を収容する。
長ポケット30に収容される2個のボール27のPCD上のピッチ角eを60度よりも小さくするとともに、その他のボール27のピッチ角dを60度よりも大きくしている。また、長ポケット30の周方向間隔h(図6参照)よりも内輪26の軸方向長さi(図7参照)を短くしている。さらに図8に示すように、ケージ28の長ポケット30に対応する外輪23の2つのトラック溝間肩幅寸法fを、ケージ軸方向におけるポケット幅gよりも小さく設定している。また、ケージ28の内球面の継手開口側にインロー部32が形成されている。
ところで、長ポケット30には、図3と図4に示すように、外球面28a及び内球面28b側のエッジ部の全周に亘って、面取部(チャンファ部)35、36が形成されている。この実施形態では、図5に示すように、面取部35、36がテーパ面であるが、図16に示すように、アール部をもってこれらの面取部35、36を形成してもよい。
本発明の固定式等速自在継手によれば、ケージ28のポケット間の窓柱33の数を4つとすることができ、1本あたりの窓柱33の周方向長さを長くすることができる。これにより、各ケージ窓柱33の剛性を大きくすることができるので、小さなPCDに大きなボール27を配置することができ、負荷容量を低下させずにコンパクト化が可能となる固定式等速自在継手として小型化を図ることができ、しかも、高角度時の捩りトルク負荷に対して、ケージ28の破損を防止できる。
ところで、図21と図22に示すように、面取部35、36を設けないものとすることも可能である。しかしながら、面取部35、36を設けない場合、以下の課題が発生する。
また、この等速自在継手が作動角をとる際に、図23と図24に示すように、外方部材の開口(入口)のインローエッジ部37と、ケージ外球面側のポケットエッジ部38とが干渉するとともに、図25と図26に示すように、内方部材の外球面の奥側エッジ部40とケージ内球面側のポケットエッジ部39とが干渉する。このため、作動性が悪化し、窓エッジの欠けや割れが発生し、継手の早期破損に繋がる。
これに対して、本発明では、継手開口部側のケージ外球面28a側の長ポケット30のエッジ部に面取部35を設けることによって、図9に示すような作動角をとった場合に、図10に示すように、外方部材の開口(入口)のインローエッジ部37と干渉するケージ外球面側のポケットエッジ部38を有さないものとすることができる。
また、長ポケット30に設ける面取部を、継手奥側のケージ内球面側の長ポケットのエッジ部に設けることによって、図11に示すような作動角をとった場合に、内方部材の外球面24の奥側エッジ部40と干渉するケージ内球面側のポケットエッジ部39を有さないものとすることができる。このため、ケージ28の外方部材の内球面21や内方部材の外球面24に案内しやすくなり、継手の作動性が悪化するのを防止でき、窓枠の剛性向上による継手の作動性の悪化防止と相俟って、ケージ28の欠けや割れを有効に防止できる。
また、長ポケット30を有することによって、内輪26のケージ28への組込みが容易となる。特に、長ポケット30の周方向間隔hよりも内輪26の軸方向長さiを短くすることにより、内輪26のケージ28への組込みが一層容易となって、組立作業性を向上させることができる。
すなわち、内輪26をケージ28に組み込むに際しては、ケージ28の軸線に対して内輪26をその軸線が垂直になるように配置した状態(ケージ28に対して内輪26を90°回転させた状態)で、その内輪26の外球面24の一部をケージ28のポケット29に落とし込み、この状態で内輪26をケージ28に挿入し、その後、内輪26をケージ28に対して90°回転させて、ケージ28の軸線に内輪26の軸線を一致させて正規の姿勢に配置する。このため、内輪26をケージ28に組み込む際に、長ポケット30に内輪26の外球面24の一部を落とし込むようにでき、内輪26のケージへの組込みが容易となる。
また、長ポケット30に収納した2個のボール27のピッチ間距離を小さくでき、これに対応する外輪23のトラック溝22のピッチ間距離を小さくできる。これにより、ケージ28の外輪23への組込みが容易となる。特に、このピッチ間距離(トラック溝間肩幅寸法f)を、ケージ軸方向におけるポケット幅gよりも小さくでき、これにより、ケージ28の外輪23への組込みが一層容易となって、組立作業性を向上することができる。
ケージ28のオフセット量を、トラック溝22、25のオフセット量と略同一となるように大きくしたので、継手奥側のトラック溝深さが浅くなるのを防止できるとともに、開口側のケージ28の肉厚(径方向厚さ)を大きくすることができる。このため、高角時のボールがトラックエッジに乗り上げるのを防止でき、エッジに過大な応力は作用することがなくなる。すなわち、高角時の捩りトルク負荷容量の低下を防ぎ、高角耐久寿命の向上(改善)や高角時の内方部材と外方部材のトラック溝の塑性変形に起因する破損強度の向上(改善)を図ることができる。
なお、長ポケット30に2個のボール27を収納させれば、このボール間に窓柱33が存在しないので、ボール27からの大きな負荷を受ける継手開口側の窓枠の剛性を上げる必要があるが、前記したように、ケージ28のオフセット量を、トラック溝22、25のオフセット量と略同一となるように大きくすることにより、継手開口側の窓枠の剛性を上げることができ、長ポケット30に2個のボール27を収納する構造であっても、ケージ28の強度を十分保つことができる。
また、図13はケージ内球面28b側に面取部36を設けない場合を示し、図14はケージ外球面28a側に面取部35を設けない場合を示ししている。すなわち、図13では、外方部材の開口(入口)のインローエッジ部37と、ケージ外球面側のポケットエッジ部38との干渉を避けることができ、図14では、内方部材の外球面24の奥側エッジ部40とケージ内球面側のポケットエッジ部39との干渉を避けることができる。また、面取部35としては、図15に示すように、長ポケット30の長辺部41、41にのみ設けてもよい。
次に、図17と図18は他の実施形態を示し、この場合、ケージ外球面28aに、外輪23の内径面23aと非接触となる切欠部50a、50bを設けたものである。各切欠部50a、50bは、外側方からみて半楕円形状であって、一方(継手開口側)の長辺部41aの切欠部50aが他方(継手奥側)の長辺部41bの切欠部50bよりも大きく形成されている。
このように、切欠部50a、50bを形成したケージ28を使用した等速自在継手において、図19に示すような作動角をとった場合、図20に示すように、外輪23の開口(入口)のインローエッジ部37の干渉を避けることができる。
すなわち、図17と図18に示すケージ28であっても、ケージ28の欠けや割れを有効に防止できる。
ところで、前記実施形態では、固定式等速自在継手として、トラック溝22、25にストレート溝22b、25aを有するアンダーカットフリー型(UJ)であったが、このようなストレート溝を有さないバーフィールド型(BJ)であってもよい。また、内輪26および外輪23のトラック溝底が円弧部とテーパ部とを備えたものであってもよい。この場合、外輪23のトラック溝22のテーパ部を開口側に設け、かつ奥側から開口側に向かって拡大するようにするのが好ましい。これは作動角を大きくとれるからである。
以上、本発明の実施形態につき説明したが、本発明は前記実施形態に限定されることなく種々の変形が可能であって、例えば、前記実施形態では、曲率中心O1と曲率中心O3とは僅かにずれた位置に配置されるとともに、曲率中心O2と曲率中心O4とは僅かにずれた位置に配置されているが、曲率中心O1と曲率中心O3とが同一位置であっても、曲率中心O2と曲率中心O4とが同一位置であってもよい。また、曲率中心O1と曲率中心O3とがずれたり、曲率中心O2と曲率中心O4とがずれたりする場合、そのずれ量は、任意に設定できるが、オフセット量kとずれ量(k−k2)との比は(k−k2)/k≦0.3と設定するのが好ましい。(k−k2)/k>0.3になると、図2に示す従来の固定式等速自在継手と差異が無くなって、継手奥側のトラック溝深さが浅くなるとともに、開口側のケージ28の肉厚を大きくできなくなり、ジョイントの必要強度を下回る(図2参照)。
また、長ポケット30の周方向間隔hとしても、内輪26へのケージ28の組込み性の向上が図れて、しかも、窓柱33の剛性が低下しない範囲で種々設定できる。さらに、トラック溝間肩幅寸法fやケージ28のケージ軸方向におけるポケット幅g等も、ケージ28の外輪23への組込み性等を考慮して設定できる。
本発明の実施形態を示す固定式等速自在継手の断面図である。 前記固定式等速自在継手の要部断面図である。 前記固定式等速自在継手のケージの断面図である。 前記固定式等速自在継手のケージの側面図である。 前記固定式等速自在継手のケージの要部断面図である。 前記固定式等速自在継手の横断面図である。 前記固定式等速自在継手の内輪の断面図である。 前記固定式等速自在継手の外輪とケージとの関係を示す断面図である。 前記固定式等速自在継手の外輪のインローエッジ部とケージの面取部との関係を示す断面図である。 前記図9の要部拡大断面図である。 前記固定式等速自在継手の内輪の奥側エッジ部とケージの面取部との関係を示す断面図である。 前記図11の要部拡大断面図である。 前記固定式等速自在継手のケージの第1変形例を示す断面図である。 前記固定式等速自在継手のケージの第2変形例を示す断面図である。 前記固定式等速自在継手のケージの第3変形例を示す側面図である。 ケージの面取部の変形例の断面図である。 本発明の実施形態を示す他の固定式等速自在継手のケージの側面図である。 前記図17のケージの側面図である。 前記図17のケージを使用した等速自在継手の要部断面図である。 前記図19の要部断面図である。 等速自在継手のケージの比較例を示す側面図である。 前記図21のケージの斜視図である。 前記図21のケージを使用した等速自在継手の要部断面図である。 前記図23の要部拡大断面図である。 前記図21のケージを使用した等速自在継手の要部断面図である。 前記図25の要部拡大断面図である。 従来の等速自在継手の縦断面図である。 従来の等速自在継手の横断面図である。 オフセット量kとずれ量(k-k2)の関係を示す図である。
符号の説明
21 内球面
22 トラック溝
24 外球面
25 トラック溝
26 内輪
27 ボール
28 ケージ
28b 内球面
28a 外球面
29 ポケット
30 長ポケット
31 短ポケット
35 面取部
36 面取部
41a 長辺部
41b 長辺部
50a 切欠部
50b 切欠部

Claims (8)

  1. 内球面に複数のトラック溝が形成された外方部材と、外球面に複数のトラック溝が形成された内方部材と、前記外方部材のトラック溝と内方部材のトラック溝との間に介在してトルクを伝達する複数のボールと、このボールを収容するポケットを有するとともに外方部材と内方部材との間に介装されるケージとを備えた固定式等速自在継手において、
    前記ケージのポケットは、周方向間隔が大の一対の長ポケットと、周方向間隔が小の一対の短ポケットとの4個を有し、一対の長ポケットを周方向に沿って180度ずらせるとともに、一対の短ポケットを周方向に沿って180度ずらせて、長ポケットと短ポケットとを周方向に沿って交互に配置し、かつ長ポケットには2個のボールを収容するとともに、短ポケットには1個のボールを収容し、長ポケットのケージ外球面側とケージ内球面側のエッジ部との少なくともいずれか一方に面取部を設けたことを特徴とする固定式等速自在継手。
  2. 面取部が長ポケット全周に亘って形成されたことを特徴とする請求項1の固定式等速自在継手。
  3. 前記面取部が長ポケットの長辺側にのみ形成されたことを特徴とする請求項1の固定式等速自在継手。
  4. 内球面に複数のトラック溝が形成された外方部材と、外球面に複数のトラック溝が形成された内方部材と、前記外方部材のトラック溝と内方部材のトラック溝との間に介在してトルクを伝達する複数のボールと、このボールを収容するポケットを有するとともに外方部材と内方部材との間に介装されるケージとを備えた固定式等速自在継手において、
    前記ケージのポケットは、周方向間隔が大の一対の長ポケットと、周方向間隔が小の一対の短ポケットとの4個を有し、一対の長ポケットを周方向に沿って180度ずらせるとともに、一対の短ポケットを周方向に沿って180度ずらせて、長ポケットと短ポケットとを周方向に沿って交互に配置し、かつ長ポケットには2個のボールを収容するとともに、短ポケットには1個のボールを収容し、ケージ外球面に、外方部材の内径面と非接触となる切欠部を設けたことを特徴とする固定式等速自在継手。
  5. 前記長ポケットに収容される2個のボールの、ピッチ円直径(PCDにある2つの中心と継手中心とを通る2つの直線がなすピッチ角(e)を60度よりも小さくするとともに、前記長ポケットに収容される1つボールと、これと周方向に隣合う前記短ポケットに収容されるボールの、ピッチ円直径(PCD)上にある2つの中心と継手中心とを通る2つの直線がなすピッチ角(d)を60度よりも大きくしたことを特徴とする請求項1〜請求項4のいずれかの固定式等速自在継手。
  6. 前記長ポケットの周方向間隔よりも前記内方部材の軸方向長さを短くしたことを特徴とする請求項1〜請求項5のいずれかの固定式等速自在継手。
  7. 前記ケージの長ポケットに対応する外方部材の2つのトラック溝間肩幅寸法を、ケージ軸方向におけるポケット幅よりも小さく設定したことを特徴とする請求項1〜請求項6のいずれかの固定式等速自在継手。
  8. 外方部材のトラック溝の曲率中心と内方部材のトラック溝の曲率中心とを、継手中心に対して等距離だけ軸方向に逆向きにオフセットさせるとともに、ケージの外球面の曲率中心とケージの内球面の曲率中心とを、継手中心に対して等距離だけ軸方向に逆向きにオフセットさせ、このケージのオフセット量k2とトラック溝のオフセット量kを(k−k2)/k≦0.3としたことを特徴とする請求項1〜請求項7のいずれかの固定式等速自在継手。
JP2006249854A 2006-09-14 2006-09-14 固定式等速自在継手 Expired - Fee Related JP5111817B2 (ja)

Priority Applications (5)

Application Number Priority Date Filing Date Title
JP2006249854A JP5111817B2 (ja) 2006-09-14 2006-09-14 固定式等速自在継手
US12/310,903 US8029374B2 (en) 2006-09-14 2007-09-04 Fixed constant-velocity universal joint
PCT/JP2007/067191 WO2008032600A1 (en) 2006-09-14 2007-09-04 Fixed constant velocity universal joint
DE112007002086.5T DE112007002086B4 (de) 2006-09-14 2007-09-04 Stationäres Doppeluniversalgelenk
CN2007800342702A CN101517255B (zh) 2006-09-14 2007-09-04 固定式等速万向接头

Applications Claiming Priority (1)

Application Number Priority Date Filing Date Title
JP2006249854A JP5111817B2 (ja) 2006-09-14 2006-09-14 固定式等速自在継手

Publications (2)

Publication Number Publication Date
JP2008069888A JP2008069888A (ja) 2008-03-27
JP5111817B2 true JP5111817B2 (ja) 2013-01-09

Family

ID=39291651

Family Applications (1)

Application Number Title Priority Date Filing Date
JP2006249854A Expired - Fee Related JP5111817B2 (ja) 2006-09-14 2006-09-14 固定式等速自在継手

Country Status (1)

Country Link
JP (1) JP5111817B2 (ja)

Families Citing this family (1)

* Cited by examiner, † Cited by third party
Publication number Priority date Publication date Assignee Title
DE102009025707B4 (de) * 2009-06-20 2021-06-02 Robert Bosch Gmbh Vorrichtung zur Steuerung einer Anlage mit Hydraulikkreisen

Family Cites Families (3)

* Cited by examiner, † Cited by third party
Publication number Priority date Publication date Assignee Title
JPS4821363B1 (ja) * 1967-12-31 1973-06-28
JPS5865428U (ja) * 1981-10-27 1983-05-04 豊田工機株式会社 等速ボ−ルジヨイント
JP3941214B2 (ja) * 1998-04-15 2007-07-04 日本精工株式会社 等速ジョイント

Also Published As

Publication number Publication date
JP2008069888A (ja) 2008-03-27

Similar Documents

Publication Publication Date Title
EP2192315B1 (en) Fixed constant velocity universal joint
EP2000689B1 (en) Fixed constant velocity universal joint
WO2008032600A1 (en) Fixed constant velocity universal joint
EP2149719B1 (en) Fixed uniform-motion universal coupling
JP5111816B2 (ja) 固定式等速自在継手
JP5355876B2 (ja) 等速自在継手
JP5602497B2 (ja) 固定式等速自在継手
JP5111817B2 (ja) 固定式等速自在継手
JP2008069889A (ja) 固定式等速自在継手
JP5143460B2 (ja) 固定式等速自在継手
JP2009085326A (ja) 等速自在継手
JP5143493B2 (ja) 固定式等速自在継手
JP2008274973A (ja) 固定式等速自在継手
JP5138423B2 (ja) 固定式等速自在継手
JP2010106890A (ja) 固定式等速自在継手
JP2010276049A (ja) 固定式等速自在継手
JP2010281378A (ja) 固定式等速自在継手
WO2010137481A1 (ja) 固定式等速自在継手
JP2009204062A (ja) 固定式等速自在継手
JP2010101339A (ja) 固定式等速自在継手
JP2007263222A (ja) 固定式等速自在継手
JP2008051273A (ja) 固定式等速自在継手およびその外輪の製造方法
JP2007211807A (ja) 固定式等速自在継手

Legal Events

Date Code Title Description
A621 Written request for application examination

Free format text: JAPANESE INTERMEDIATE CODE: A621

Effective date: 20090805

RD04 Notification of resignation of power of attorney

Free format text: JAPANESE INTERMEDIATE CODE: A7424

Effective date: 20091105

A131 Notification of reasons for refusal

Free format text: JAPANESE INTERMEDIATE CODE: A131

Effective date: 20120209

A521 Request for written amendment filed

Free format text: JAPANESE INTERMEDIATE CODE: A523

Effective date: 20120404

TRDD Decision of grant or rejection written
A01 Written decision to grant a patent or to grant a registration (utility model)

Free format text: JAPANESE INTERMEDIATE CODE: A01

Effective date: 20120928

A01 Written decision to grant a patent or to grant a registration (utility model)

Free format text: JAPANESE INTERMEDIATE CODE: A01

A61 First payment of annual fees (during grant procedure)

Free format text: JAPANESE INTERMEDIATE CODE: A61

Effective date: 20121010

FPAY Renewal fee payment (event date is renewal date of database)

Free format text: PAYMENT UNTIL: 20151019

Year of fee payment: 3

R150 Certificate of patent or registration of utility model

Ref document number: 5111817

Country of ref document: JP

Free format text: JAPANESE INTERMEDIATE CODE: R150

Free format text: JAPANESE INTERMEDIATE CODE: R150

R250 Receipt of annual fees

Free format text: JAPANESE INTERMEDIATE CODE: R250

R250 Receipt of annual fees

Free format text: JAPANESE INTERMEDIATE CODE: R250

R250 Receipt of annual fees

Free format text: JAPANESE INTERMEDIATE CODE: R250

R250 Receipt of annual fees

Free format text: JAPANESE INTERMEDIATE CODE: R250

R250 Receipt of annual fees

Free format text: JAPANESE INTERMEDIATE CODE: R250

R250 Receipt of annual fees

Free format text: JAPANESE INTERMEDIATE CODE: R250

R250 Receipt of annual fees

Free format text: JAPANESE INTERMEDIATE CODE: R250

LAPS Cancellation because of no payment of annual fees