JP4970544B2 - スピーカ用磁気回路、スピーカ装置及びスピーカ用磁気回路の製造方法 - Google Patents
スピーカ用磁気回路、スピーカ装置及びスピーカ用磁気回路の製造方法 Download PDFInfo
- Publication number
- JP4970544B2 JP4970544B2 JP2009532008A JP2009532008A JP4970544B2 JP 4970544 B2 JP4970544 B2 JP 4970544B2 JP 2009532008 A JP2009532008 A JP 2009532008A JP 2009532008 A JP2009532008 A JP 2009532008A JP 4970544 B2 JP4970544 B2 JP 4970544B2
- Authority
- JP
- Japan
- Prior art keywords
- magnet
- yoke
- speaker
- magnets
- magnetic circuit
- Prior art date
- Legal status (The legal status is an assumption and is not a legal conclusion. Google has not performed a legal analysis and makes no representation as to the accuracy of the status listed.)
- Active
Links
- 238000004519 manufacturing process Methods 0.000 title claims description 12
- 238000000034 method Methods 0.000 title claims description 12
- 230000004907 flux Effects 0.000 claims description 93
- 230000002093 peripheral effect Effects 0.000 claims description 83
- 239000006247 magnetic powder Substances 0.000 claims description 4
- 238000003825 pressing Methods 0.000 claims description 3
- 230000005855 radiation Effects 0.000 description 43
- 239000000853 adhesive Substances 0.000 description 26
- 230000001070 adhesive effect Effects 0.000 description 26
- 230000005415 magnetization Effects 0.000 description 20
- XEEYBQQBJWHFJM-UHFFFAOYSA-N Iron Chemical compound [Fe] XEEYBQQBJWHFJM-UHFFFAOYSA-N 0.000 description 14
- -1 polypropylene Polymers 0.000 description 12
- 229910052742 iron Inorganic materials 0.000 description 7
- 239000000463 material Substances 0.000 description 7
- 229920003002 synthetic resin Polymers 0.000 description 7
- 239000000057 synthetic resin Substances 0.000 description 7
- PPBRXRYQALVLMV-UHFFFAOYSA-N Styrene Chemical compound C=CC1=CC=CC=C1 PPBRXRYQALVLMV-UHFFFAOYSA-N 0.000 description 6
- 239000000835 fiber Substances 0.000 description 6
- 229910052751 metal Inorganic materials 0.000 description 6
- 239000002184 metal Substances 0.000 description 6
- 229910000976 Electrical steel Inorganic materials 0.000 description 5
- CWYNVVGOOAEACU-UHFFFAOYSA-N Fe2+ Chemical compound [Fe+2] CWYNVVGOOAEACU-UHFFFAOYSA-N 0.000 description 5
- 229910000831 Steel Inorganic materials 0.000 description 5
- 239000010959 steel Substances 0.000 description 5
- 229910045601 alloy Inorganic materials 0.000 description 4
- 239000000956 alloy Substances 0.000 description 4
- 238000010586 diagram Methods 0.000 description 4
- 238000009826 distribution Methods 0.000 description 4
- 239000006260 foam Substances 0.000 description 4
- 239000011553 magnetic fluid Substances 0.000 description 4
- 239000007769 metal material Substances 0.000 description 4
- 229920005989 resin Polymers 0.000 description 4
- 239000011347 resin Substances 0.000 description 4
- 239000002759 woven fabric Substances 0.000 description 4
- 229910000859 α-Fe Inorganic materials 0.000 description 4
- FYYHWMGAXLPEAU-UHFFFAOYSA-N Magnesium Chemical compound [Mg] FYYHWMGAXLPEAU-UHFFFAOYSA-N 0.000 description 3
- 229910052779 Neodymium Inorganic materials 0.000 description 3
- 239000004743 Polypropylene Substances 0.000 description 3
- 229910052772 Samarium Inorganic materials 0.000 description 3
- 229910000828 alnico Inorganic materials 0.000 description 3
- 229910052782 aluminium Inorganic materials 0.000 description 3
- XAGFODPZIPBFFR-UHFFFAOYSA-N aluminium Chemical compound [Al] XAGFODPZIPBFFR-UHFFFAOYSA-N 0.000 description 3
- 229910017052 cobalt Inorganic materials 0.000 description 3
- 239000010941 cobalt Substances 0.000 description 3
- GUTLYIVDDKVIGB-UHFFFAOYSA-N cobalt atom Chemical compound [Co] GUTLYIVDDKVIGB-UHFFFAOYSA-N 0.000 description 3
- 239000003822 epoxy resin Substances 0.000 description 3
- 229910052749 magnesium Inorganic materials 0.000 description 3
- 239000011777 magnesium Substances 0.000 description 3
- QEFYFXOXNSNQGX-UHFFFAOYSA-N neodymium atom Chemical compound [Nd] QEFYFXOXNSNQGX-UHFFFAOYSA-N 0.000 description 3
- 229920000647 polyepoxide Polymers 0.000 description 3
- 229920000139 polyethylene terephthalate Polymers 0.000 description 3
- 239000005020 polyethylene terephthalate Substances 0.000 description 3
- 229920001155 polypropylene Polymers 0.000 description 3
- KZUNJOHGWZRPMI-UHFFFAOYSA-N samarium atom Chemical compound [Sm] KZUNJOHGWZRPMI-UHFFFAOYSA-N 0.000 description 3
- KXGFMDJXCMQABM-UHFFFAOYSA-N 2-methoxy-6-methylphenol Chemical compound [CH]OC1=CC=CC([CH])=C1O KXGFMDJXCMQABM-UHFFFAOYSA-N 0.000 description 2
- KAKZBPTYRLMSJV-UHFFFAOYSA-N Butadiene Chemical compound C=CC=C KAKZBPTYRLMSJV-UHFFFAOYSA-N 0.000 description 2
- 229910000737 Duralumin Inorganic materials 0.000 description 2
- CERQOIWHTDAKMF-UHFFFAOYSA-N Methacrylic acid Chemical compound CC(=C)C(O)=O CERQOIWHTDAKMF-UHFFFAOYSA-N 0.000 description 2
- VVQNEPGJFQJSBK-UHFFFAOYSA-N Methyl methacrylate Chemical compound COC(=O)C(C)=C VVQNEPGJFQJSBK-UHFFFAOYSA-N 0.000 description 2
- 239000004698 Polyethylene Substances 0.000 description 2
- 239000004793 Polystyrene Substances 0.000 description 2
- RTAQQCXQSZGOHL-UHFFFAOYSA-N Titanium Chemical compound [Ti] RTAQQCXQSZGOHL-UHFFFAOYSA-N 0.000 description 2
- NIXOWILDQLNWCW-UHFFFAOYSA-N acrylic acid group Chemical group C(C=C)(=O)O NIXOWILDQLNWCW-UHFFFAOYSA-N 0.000 description 2
- 229910052790 beryllium Inorganic materials 0.000 description 2
- ATBAMAFKBVZNFJ-UHFFFAOYSA-N beryllium atom Chemical compound [Be] ATBAMAFKBVZNFJ-UHFFFAOYSA-N 0.000 description 2
- QHIWVLPBUQWDMQ-UHFFFAOYSA-N butyl prop-2-enoate;methyl 2-methylprop-2-enoate;prop-2-enoic acid Chemical compound OC(=O)C=C.COC(=O)C(C)=C.CCCCOC(=O)C=C QHIWVLPBUQWDMQ-UHFFFAOYSA-N 0.000 description 2
- 239000003795 chemical substances by application Substances 0.000 description 2
- 239000004744 fabric Substances 0.000 description 2
- 238000001746 injection moulding Methods 0.000 description 2
- 239000000696 magnetic material Substances 0.000 description 2
- FPYJFEHAWHCUMM-UHFFFAOYSA-N maleic anhydride Chemical compound O=C1OC(=O)C=C1 FPYJFEHAWHCUMM-UHFFFAOYSA-N 0.000 description 2
- FQPSGWSUVKBHSU-UHFFFAOYSA-N methacrylamide Chemical compound CC(=C)C(N)=O FQPSGWSUVKBHSU-UHFFFAOYSA-N 0.000 description 2
- 239000004745 nonwoven fabric Substances 0.000 description 2
- 239000003960 organic solvent Substances 0.000 description 2
- 229920001568 phenolic resin Polymers 0.000 description 2
- 239000005011 phenolic resin Substances 0.000 description 2
- 229920003207 poly(ethylene-2,6-naphthalate) Polymers 0.000 description 2
- 229920003229 poly(methyl methacrylate) Polymers 0.000 description 2
- 229920001230 polyarylate Polymers 0.000 description 2
- 229920000515 polycarbonate Polymers 0.000 description 2
- 239000004417 polycarbonate Substances 0.000 description 2
- 229920000573 polyethylene Polymers 0.000 description 2
- 239000011112 polyethylene naphthalate Substances 0.000 description 2
- 239000004926 polymethyl methacrylate Substances 0.000 description 2
- 229920002223 polystyrene Polymers 0.000 description 2
- 230000035945 sensitivity Effects 0.000 description 2
- 229920002050 silicone resin Polymers 0.000 description 2
- 239000000243 solution Substances 0.000 description 2
- 230000005236 sound signal Effects 0.000 description 2
- 229910052719 titanium Inorganic materials 0.000 description 2
- 239000010936 titanium Substances 0.000 description 2
- NLHHRLWOUZZQLW-UHFFFAOYSA-N Acrylonitrile Chemical compound C=CC#N NLHHRLWOUZZQLW-UHFFFAOYSA-N 0.000 description 1
- 229910001209 Low-carbon steel Inorganic materials 0.000 description 1
- 239000004974 Thermotropic liquid crystal Substances 0.000 description 1
- HCHKCACWOHOZIP-UHFFFAOYSA-N Zinc Chemical compound [Zn] HCHKCACWOHOZIP-UHFFFAOYSA-N 0.000 description 1
- 150000001336 alkenes Chemical class 0.000 description 1
- 238000005452 bending Methods 0.000 description 1
- 230000015572 biosynthetic process Effects 0.000 description 1
- 239000011248 coating agent Substances 0.000 description 1
- 238000000576 coating method Methods 0.000 description 1
- 239000000470 constituent Substances 0.000 description 1
- 125000004122 cyclic group Chemical group 0.000 description 1
- 238000004512 die casting Methods 0.000 description 1
- 238000005516 engineering process Methods 0.000 description 1
- 239000003365 glass fiber Substances 0.000 description 1
- 238000000465 moulding Methods 0.000 description 1
- 229920001690 polydopamine Polymers 0.000 description 1
- 229920001225 polyester resin Polymers 0.000 description 1
- 239000004645 polyester resin Substances 0.000 description 1
- 229910052761 rare earth metal Inorganic materials 0.000 description 1
- 150000002910 rare earth metals Chemical class 0.000 description 1
- 239000012763 reinforcing filler Substances 0.000 description 1
- 239000007787 solid Substances 0.000 description 1
- 125000006850 spacer group Chemical group 0.000 description 1
- 229920005992 thermoplastic resin Polymers 0.000 description 1
- 229910052725 zinc Inorganic materials 0.000 description 1
- 239000011701 zinc Substances 0.000 description 1
Images
Classifications
-
- H—ELECTRICITY
- H04—ELECTRIC COMMUNICATION TECHNIQUE
- H04R—LOUDSPEAKERS, MICROPHONES, GRAMOPHONE PICK-UPS OR LIKE ACOUSTIC ELECTROMECHANICAL TRANSDUCERS; DEAF-AID SETS; PUBLIC ADDRESS SYSTEMS
- H04R9/00—Transducers of moving-coil, moving-strip, or moving-wire type
- H04R9/02—Details
- H04R9/025—Magnetic circuit
-
- H—ELECTRICITY
- H04—ELECTRIC COMMUNICATION TECHNIQUE
- H04R—LOUDSPEAKERS, MICROPHONES, GRAMOPHONE PICK-UPS OR LIKE ACOUSTIC ELECTROMECHANICAL TRANSDUCERS; DEAF-AID SETS; PUBLIC ADDRESS SYSTEMS
- H04R31/00—Apparatus or processes specially adapted for the manufacture of transducers or diaphragms therefor
-
- Y—GENERAL TAGGING OF NEW TECHNOLOGICAL DEVELOPMENTS; GENERAL TAGGING OF CROSS-SECTIONAL TECHNOLOGIES SPANNING OVER SEVERAL SECTIONS OF THE IPC; TECHNICAL SUBJECTS COVERED BY FORMER USPC CROSS-REFERENCE ART COLLECTIONS [XRACs] AND DIGESTS
- Y10—TECHNICAL SUBJECTS COVERED BY FORMER USPC
- Y10T—TECHNICAL SUBJECTS COVERED BY FORMER US CLASSIFICATION
- Y10T29/00—Metal working
- Y10T29/49—Method of mechanical manufacture
- Y10T29/49002—Electrical device making
- Y10T29/49005—Acoustic transducer
Landscapes
- Engineering & Computer Science (AREA)
- Physics & Mathematics (AREA)
- Acoustics & Sound (AREA)
- Signal Processing (AREA)
- Manufacturing & Machinery (AREA)
- Audible-Bandwidth Dynamoelectric Transducers Other Than Pickups (AREA)
Description
【0001】
本発明は、特に、携帯電話、携帯ラジオあるいはPDA(Personal Digital Assistants)等の携帯用電子機器に搭載される薄型のスピーカ装置に使用して好適なスピーカ用磁気回路、このスピーカ用磁気回路を有するスピーカ装置及びこのスピーカ用磁気回路の製造方法に関する。
【背景技術】
【0002】
携帯電話、携帯ラジオあるいはPDA等の携帯用電子機器は、携帯するという目的のために、機器全体について小型化、薄型化が要求される。したがって、このような携帯用電子機器に用いられるスピーカ装置についても、薄型化、小型化等が要求される。上記したスピーカ装置に対する薄型化、小型化の要求に応えるために、磁石と、ヨークとを備えたスピーカ用磁気回路の厚みを薄くすることが考えられる。スピーカ用磁気回路の厚みを薄くするためには、例えば、ラジアル方向に着磁された磁石を用いれば良い。
【0003】
この種の従来のスピーカ用磁気回路には、例えば、以下に示すものがある。すなわち、この従来のスピーカ用磁気回路では、図1に示すように、ヨーク1は、その断面形状が略平板状を呈している。ヨーク1の上面には、その中央部に円柱状磁石2が配置され、円柱状磁石2を取り囲むように円筒状磁石3が配置されている。また、円柱状磁石2の上面に上部プレート4が固着されているとともに、円筒状磁石3の上面には、上部プレート5が固着されている。この上部プレート4と上部プレート5との間には、磁気間隙(磁気ギャップ)6が形成されている(例えば、特許文献1参照。)。
【0004】
【特許文献1】
実開昭58−599号公報(実用新案登録請求の範囲第1項、第2図等)
【発明の開示】
【発明が解決しようとする課題】
【0005】
上記した従来のスピーカ用磁気回路では、円柱状磁石2及び円筒状磁石3は、図1において上下方向、すなわち、ヨーク1に対して垂直方向、言い換えれば、磁気間隙6に挿入されるボイスコイル(図示略)の振動方向に対して平行な方向に着磁されている。このような従来のスピーカ用磁気回路において、磁気間隙6内の磁束密度を大きくするために上部プレート5を取り外して円柱状磁石2の厚みを上部プレート5の厚みだけ大きくした場合、上部プレート4からヨーク1に向かって磁束が流れてしまい(磁束漏洩の発生)、円柱状磁石2と円筒状磁石3との間に形成された磁気間隙6内の磁束密度が低下し、磁気間隙6において十分な磁束密度が得られないという問題がある。
[0006]
また、上記した従来のスピーカ用磁気回路では、磁束密度のピークがヨーク1寄りになるため、ボイスコイルが支持される位置に十分な磁束密度を持たせることが難しいという問題がある。一方、磁束密度が最も大きくなる位置にボイスコイルを設置しようとすると、ボイスコイルの十分な振幅が確保することが難しいという問題がある。このため、上記した従来のスピーカ用磁気回路を薄型化してスピーカ装置を構成した場合、大きな感度を得ることが難しいという問題がある。
[0007]
本発明は、上述した事情に鑑みてなされたものであり、上述のような問題を解決することを課題の一例とするものであり、これらの課題を解決することができるスピーカ用磁気回路、スピーカ装置及びスピーカ用磁気回路の製造方法を提供することを目的とする。
課題を解決するための手段
[0008]
このような目的を達成するために、本発明は、以下の各独立請求項に係る構成を少なくとも具備するものである。
【0009】
請求項1に記載の発明に係るスピーカ用磁気回路は、磁石と、ヨークとを備え、前記磁石の配向の向きは、その厚み方向に対して斜め方向に沿っており、当該磁石の配向の向きは、当該磁石の厚さ方向において実質的に同じであり、前記磁石から発せられる磁束は、前記磁石側であって、前記ヨークの上面から離れた位置を通過し、前記磁束が通過する位置であって、前記磁石の位置と、前記磁石とは異なる位置に配置される前記ヨークの一部の位置との間には、磁気ギャップが設けられていることを特徴としている。
【0010】
また、請求項23に記載の発明に係るスピーカ装置は、請求項1に記載のスピーカ用磁気回路と、フレームと、振動体とを備え、前記スピーカ用磁気回路は、前記磁石を含む複数の磁石と、プレートとを備え、前記複数の磁石が有する内磁石の上にはプレートが配置され、外磁石は前記磁石であり、前記内磁石の配向の向きは、その厚さ方向に沿っており、前記外磁石の配向の向きは、その厚さ方向に対して斜め方向に沿っており、前記外磁石の配向の向きは、その厚さ方向に対して略同じであり、前記振動体は、振動板と当該振動板を前記フレームに支持するエッジと、当該振動板に支持されるボイスコイルとを有し、前記振動板は前記ボイスコイルを前記プレートの外側端部近傍に振動自在に支持していることを特徴としている。
さらに、請求項25に記載の発明に係るスピーカ用磁気回路の製造方法は、ヨークと磁石とを備えるスピーカ用磁気回路の製造方法であって、前記磁石の配向の向きは、その厚み方向に対して斜め方向に沿っており、当該磁石の配向の向きは、当該磁石の厚さ方向において実質的に同じであり、前記磁石に対し、所定方向に磁場を作用させて着磁をする着磁工程と、前記磁石を前記ヨークの上に固着する磁石の固着工程とを含み、前記磁石から発せられる磁束は、前記磁石側であって、前記ヨークの上面から離れた位置を通過し、前記磁束が通過する位置であって、前記磁石と、前記磁石とは異なる位置に配置される前記ヨークの一部との間には、磁気ギャップが設けられていることを特徴としている。
【図面の簡単な説明】
【0011】
【図1】従来のスピーカ用磁気回路の構成を示す断面図である。
【図2】本発明の実施の形態1に係るスピーカ用磁気回路の構成を示す概略図であり、(a)は平面図、(b)は(a)のA−A断面図である。
【図3】図2に示すスピーカ用磁気回路を備えたスピーカ装置の構成を示す概略断面図であり、(a)は振動板の縦断面形状が略円錐状(コーン状)を呈している例、(b)は振動板の縦断面形状が略平板状を呈している例である。
【図4】図3に示すスピーカ装置のヨークを構成する底面部上面からの距離に対する磁束密度分布の一例を示す図である。
【図5】本発明の実施の形態2に係るスピーカ用磁気回路の第1の構成例を示す概略断面図である。
【図6】本発明の実施の形態2に係るスピーカ用磁気回路の第2の構成例を示す概略断面図である。
【図7】本発明の実施の形態3に係るスピーカ用磁気回路の構成を示す概略断面図である。
【図8】本発明の実施の形態4に係るスピーカ用磁気回路の構成を示す概略断面図である。る。
【図9】本発明の実施の形態5に係るスピーカ用磁気回路の構成を示す概略断面図である。
【図10】本発明の実施の形態6に係るスピーカ用磁気回路の構成を示す概略断面図である。
【図11】本発明の実施の形態7に係るスピーカ用磁気回路の構成を示す概略断面図であり、(a)は平面図、(b)は(a)のA−A断面図である。
【図12】本発明の実施の形態8に係るスピーカ用磁気回路の構成を示す概略断面図である。
【図13】本発明の実施の形態9に係るスピーカ用磁気回路の構成を示す概略断面図である。
【図14】本発明の実施の形態10に係るスピーカ用磁気回路の構成を示す概略断面図である。
【図15】本発明の実施の形態11に係るスピーカ用磁気回路の構成を示す概略断面図である。
【図16】本発明の実施の形態12に係るスピーカ用磁気回路の構成を示す概略図であり、(a)は平面図、(b)は(a)のA−A断面図である。
【図17】本発明の実施の形態13に係るスピーカ用磁気回路の製造方法を説明するための概念図である。
【図18】本発明の実施の形態13に係るスピーカ用磁気回路の製造方法に用いられる着磁装置の構成を示す概略図である。
【図19】本発明の実施の形態14に係るスピーカ装置の構成を示す概略断面図である。
【発明を実施するための最良の形態】
【0012】
実施の形態1.
図2は、本発明の実施の形態1に係るスピーカ用磁気回路11の構成を示す概略図であり、(a)は平面図、(b)は(a)のA−A断面図である。本実施の形態1に係るスピーカ用磁気回路11は、ヨーク12と磁石群13とを有している。このスピーカ用磁気回路11の寸法は、例えば、縦が約15mm、横が約10mm、厚みが約1.5mmである。
【0013】
ヨーク12は、例えば、純鉄、無酸素鋼、ケイ素鋼等からなる。ヨーク12は、平面の全体形状が略矩形状を呈している。ヨーク12の略中央には、略矩形状を呈する貫通孔12aが穿設されている。ヨーク12は、底面部12bと、外周側部12cと、内周側部12dとが一体に形成されて構成されている。底面部12bは、略ロ字状を呈している。外周側部12cは、底面部12bの外周縁に略垂直に立設されている。一方、内周側部12dは、底面部12bの内周縁に略垂直に立設されている。
【0014】
磁石群13は、外磁石21〜24及び内磁石25〜28により構成されている。外磁石21〜24及び内磁石25〜28は、例えば、ネオジウム系、サマリウム・コバルト系、アルニコ系、フェライト系磁石等の永久磁石等からなる。外磁石21〜24並びに内磁石26及び28は、いずれも、略角柱状を呈している。一方、内磁石25及び27は、8個の角部のうち、ヨーク12を構成する底面部12bの上面12baに固着された際に、ヨーク12を構成する外周側部12cと対向する4個の角部がいずれも丸められている。外磁石21〜24及び内磁石25〜28のそれぞれの厚みは、図1の例では、ヨーク12の底面部12bの上面12baから外側部12cの上端までの距離に略等しい。
【0015】
外磁石21〜24は、ヨーク12を構成する底面部12bの上面12ba及び外周側部12cの内周面12caに当接するとともに、隣接する他の外磁石に当接して接着剤等によりヨーク12に固着されている。一方、内磁石25〜28は、ヨーク12を構成する底面部12bの上面12ba及び内周側部12dの外周面12daに当接するとともに、隣接する他の内磁石に当接して接着剤等によりヨーク12に固着されている。
【0016】
外磁石21〜24と内磁石25〜28との間には、磁気間隙(磁気ギャップ)14が形成されている。外磁石21〜24及び内磁石25〜28は、その厚み方向に対して斜め方向に着磁されている。具体的には、外磁石21〜24は、例えば、図2(b)に示すように、このスピーカ用磁気回路11を備えたスピーカ装置(図3参照)の前面側(音響放射方向)がS極でスピーカ装置の背面側(音響放射方向と反対の側)がN極であって、ヨーク12の中心から外側に向かう水平方向に対して約10°〜約70°の角度で着磁されている。このように、外磁石21〜24を上記した約10°〜約70°の角度で着磁すれば、後述するボイスコイルが支持される位置の近傍に磁束密度のピークを確保することができる。さらに、外磁石21〜24を、例えば、スピーカ装置の前面側(音響放射方向)がS極でスピーカ装置の背面側(音響放射方向と反対の側)がN極であって、ヨーク12の中心から外側に向かう水平方向に対して約30°〜約45°の角度で着磁した場合には、磁気間隙14内の磁束密度を大きくすることができる。
【0017】
一方、内磁石25〜28は、例えば、図2(b)に示すように、スピーカ装置の背面側(音響放射方向と反対の側)がS極でスピーカ装置の前面側(音響放射方向)がN極であって、ヨーク12の中心から外側に向かう水平方向に対して約10°〜約70°の角度で着磁されている。このように、内磁石25〜28を上記した約10°〜約70°の角度で着磁すれば、後述するボイスコイルが支持される位置の近傍に磁束密度のピークを確保することができる。さらに、内磁石25〜28を、例えば、スピーカ装置の背面側(音響放射方向と反対の側)がS極でスピーカ装置の前面側(音響放射方向)がN極であって、ヨーク12の中心から外側に向かう水平方向に対して約30°〜約45°の角度で着磁した場合には、磁気間隙14内の磁束密度を大きくすることができる。
【0018】
図3は、図2に示すスピーカ用磁気回路11を備えたスピーカ装置の構成を示す概略断面図であり、(a)は振動板32の縦断面形状が略円錐形(コーン状)を呈している例、(b)は振動板32の縦断面形状が略平板状を呈している例である。このスピーカ装置は、上記したスピーカ用磁気回路11と、振動体31とを備えている。振動体31は、振動板32と、ボイスコイルボビン33と、ボイスコイル34と、図示せぬフレームとを有している。振動板32は、平面形状が略矩形状を呈しているとともに、縦断面形状が略円錐形状(コーン状)(図3(a)参照)又は略平板状(図3(b)参照)を呈している。
【0019】
振動板32の材料としては、例えば、紙、繊維を用いた織布、繊維を用いた編み物、不織布、繊維を用いた織布にフェノール系樹脂やシリコーン系樹脂等の樹脂、又はこれらの樹脂と有機溶媒からなる溶液を含浸させたもの、金属材料、合成樹脂、アクリル発泡体などがある。金属材料には、例えば、アルミニウムやチタニウム、ジュラルミン、ベリリウム、マグネシウム、あるいはこれらの合金等がある。合成樹脂には、例えば、ポリプロピレン、ポリエチレン、ポリスチレン、ポリエチレンテレフタレート、ポリエチレンナフタレート、ポリメチルメタアクリレート、ポリカーボネイト、ポリアリレート、エポキシ樹脂等などがある。また、アクリル発泡体は、例えば、メタアクリル酸メチルと、メタアクリル酸と、スチレンと、無水マレイン酸と、メタアクリルアミドとを原料とする。
【0020】
図3(a)に示す振動板32の内周縁32aには、平面形状が略矩形状を呈する貫通孔32aaが形成されている。貫通孔32aaには、略角筒形状を呈するボイスコイルボビン33の上端近傍外周面が接着剤等により固着されている。ボイスコイルボビン33の下端近傍外周面には、ボイスコイル34が巻き回されている。一方、図3(b)に示す振動板32の内周縁32aには、平面形状が略矩形状を呈するボイスコイル収容部35が振動板32と一体に形成されている。ボイスコイル収容部35には、略角筒形状を呈するボイスコイル36が収容され、接着剤等により固着されている。さらに、ボイスコイル収容部35の外周縁35aには、平面形状が略角環形状を呈するエッジ37がボイスコイル収容部35及び振動板32と一体に形成されている。
【0021】
ボイスコイル34及び36の両端は、それぞれボイスコイルボビン33又は振動板32に沿って引き出され、例えば振動板32の内周縁近傍において図示せぬ一対のリード線とそれぞれ電気的に接続されている。図示せぬ一対のリード線は、例えば、複数の細い電線を撚り合せて形成された屈曲に強い錦糸線からなる。
【0022】
上記構成を有するスピーカ装置は、音声信号(音声電流)が供給されると、音声電流が図示せぬ一対のリード線を介してボイスコイル34又は36に供給される。一方、外磁石21〜24及び内磁石25〜28は、その厚み方向に対して斜め方向に着磁されている。したがって、内磁石25〜28から発せられた磁束は、外磁石21〜24に向かって流れる。この結果、ボイスコイル34又は36の十分な振幅が確保できるボイスコイル位置(後述)に効率良く磁束が集中される。
【0023】
これにより、スピーカ用磁気回路11を構成する磁石群13に基づく磁束とボイスコイル34又は36に流された音声電流との間の電磁気力(ローレンツ力)に基づいてスピーカ装置の中心軸方向の駆動力がボイスコイル34又は36に誘起される。この駆動力は、ボイスコイルボビン33又は36を介して振動板32に伝達される。振動板32は、この駆動力の作用を受けて振動し、音声電流に応じた音波を前面(音響放射方向)にある空間に向けて放射する。
【0024】
このように、本発明の実施の形態1によれば、外磁石21〜24と内磁石25〜28の着磁方向をその厚み方向に対して斜め方向としているので、内磁石25〜28から発せられた磁束は、外磁石21〜24に向かって流れるため、ヨーク12の底面部12bに向かって流れる漏洩磁束の発生を低減することができる。この結果、内磁石25〜28と外磁石21〜24との間に形成された磁気間隙14内の磁束密度を大きくすることが可能となる。したがって、図3に示すスピーカ装置を構成するボイスコイル34及び36の十分な振幅が確保できる位置に磁束密度のピークを確保することができる。
【0025】
また、外磁石21〜24及び内磁石25〜28の各底面及び各側面をヨーク12の底面部12b上面12ba、外周側部12cの内周面12ca又は内周側部12dの外周面12daと接触させることにより、磁束の漏洩を少なくすることが可能となるとともに、外磁石21〜24又は内磁石25〜28とヨーク12との接触面積を大きくするか、外磁石21〜24又は内磁石25〜28の各体積を大きくすることにより、磁気間隙14内の磁束密度を大きくすることができる。特に、磁気間隙14内の磁束密度は、外磁石21〜24及び内磁石25〜28が希土類系磁石である場合には、外磁石21〜24又は内磁石25〜28とヨーク12との接触面積に大きく影響され、外磁石21〜24及び内磁石25〜28がフェライト系磁石である場合には、外磁石21〜24及び内磁石25〜28の各体積に大きく影響される。
【0026】
その結果、上記した薄型のスピーカ用磁気回路11を備えたスピーカ装置であっても、大きな感度を得ることできる。さらに、本発明の実施の形態1によれば、漏洩磁束の発生を低減できるため、ロングボイスコイルを用いてできるだけボイスコイルに磁束が作用する領域を確保する必要はなく、ショートボイスコイルを用いること等が可能となる。
【0027】
ここで、図4にヨーク12を構成する底面部12bの上面12baからの距離に対する磁束密度分布の一例を示す。図4において、曲線a及びbは、本発明の実施の形態1に係るスピーカ用磁気回路11の特性の一例である。曲線aは、外磁石21〜24及び内磁石25〜28の着磁方向を、ヨーク12の中心から外側に向かう水平方向に対して約60°の角度とした場合の特性の一例である。また、曲線bは、外磁石21〜24及び内磁石25〜28の着磁方向を、ヨーク12の中心から外側に向かう水平方向に対して約30°の角度とした場合の特性の一例である。一方、曲線cは、従来のスピーカ用磁気回路の特性の一例である。また、図4において、BCPは、ボイスコイル位置を示している。このボイスコイル位置BCPとは、スピーカ装置の静止状態(スピーカ装置が駆動されない状態)におけるボイスコイル34の静止位置を表している。図4から分かるように、曲線aの方が、曲線cと比較して、ボイスコイル位置BCPの中央付近に磁束密度のピークがある。さらに、曲線bの方が、曲線aと比較して、磁束密度のピークが大きくなっている。よって、図4に示される磁束密度分布からは、本発明の実施の形態1に係るスピーカ用磁気回路11によれば、磁気間隙14内において大きい磁束密度を確保できることが分かる。
【0028】
実施の形態2.
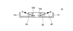
上述の実施の形態1では、外磁石21〜24及び内磁石25〜28の両方を設ける例を示したが、これに限定されない。例えば、図5に示すスピーカ用磁気回路41のように、内磁石25〜28だけを設けても良い。図5の例では、内磁石25〜28の外側面とヨーク12を構成する外周側部12cの内周面との間に磁気間隙(磁気ギャップ)42が形成されている。また、図6に示すスピーカ用磁気回路43のように、外磁石21〜24だけを設けても良い。図6の例では、外磁石21〜24の内側面とヨーク12を構成する内周側部12dの外周面との間に磁気間隙(磁気ギャップ)44が形成されている。図5及び図6において、図2(b)の各部に対応する部分には同一の符号を付け、その説明を省略する。
【0029】
このように構成すれば、これらのスピーカ用磁気回路41又は43を備えたスピーカ装置において、磁気間隙42又は44内の磁束密度が低下することを抑止できるため、磁気間隙42又は44内に大きい磁束密度を確保することができる。また、部品点数を削減することができる。
【0030】
実施の形態3.
上述の実施の形態1では、外磁石21〜24及び内磁石25〜28の両方の各底面及び各側面をヨーク12の底面部12b上面12ba、外周側部12cの内周面12ca又は内周側部12dの外周面12daと接触させる例を示した。また、上述の実施の形態1では、外磁石21〜24及び内磁石25〜28のそれぞれの厚みをヨーク12の底面部12bの上面12baから外側部12cの上端までの距離に略等しくする例を示した。しかし、これに限定されない。例えば、外磁石21〜24及び内磁石25〜28に換えて、図7に示すスピーカ用磁気回路45のように、ヨーク12の底面部12bの上面12baと外磁石21〜24及び内磁石25〜28とのそれぞれの間に間隙を設け、外磁石21〜24の各側面及び内磁石25〜28の各側面をそれぞれ、ヨーク12の外周側部12c及び内周側部12dに取り付けても良い。図7において、図2の各部に対応する部分には同一の符号を付け、その説明を省略する。
【0031】
図7の例では、図2(a)及び(b)に示す外磁石22及び24に対応する、これらの厚みよりも小さく、例えば略半分の厚みを有する外磁石46及び47と、図2(a)及び(b)に示す内磁石26及び28に対応する、これらの厚みよりも小さく、例えば略半分の厚みを有する内磁石48及び49とが示されている。なお、図7には、図2(a)に示す外磁石21及び23に対応する、これらの厚みよりも小さく、例えば略半分の厚みを有する2個の外磁石と、図2(a)に示す内磁石25及び27に対応する、これらの厚みよりも小さく、例えば略半分の厚みを有する2個の内磁石とについては示されていない。
【0032】
上記した外磁石46及び47並びに図示せぬ2個の外磁石は、ヨーク12を構成する外周側部12cの内周面12caに当接するとともに、隣接する他の外磁石に当接して接着剤等によりヨーク12に固着されている。一方、上記した内磁石48及び49並びに図示せぬ2個の内磁石は、ヨーク12を構成する内周側部12dの外周面12daに当接するとともに、隣接する他の内磁石に当接して接着剤等によりヨーク12に固着されている。図7の例では、内磁石48及び49並びに図示せぬ2個の内磁石の外側面と、外磁石46及び47並びに図示せぬ2個の外磁石の内側面との間には、磁気間隙(磁気ギャップ)50が形成されている。
【0033】
また、外磁石46及び47並びに図示せぬ2個の外磁石は、例えば、このスピーカ用磁気回路45を備えたスピーカ装置の前面側(音響放射方向)がS極でスピーカ装置の背面側(音響放射方向と反対の側)がN極であって、ヨーク12の中心から外側に向かう水平方向に対して約10°〜約70°の角度で着磁されている。このように、外磁石46及び47並びに図示せぬ2個の外磁石を上記した約10°〜約70°の角度で着磁すれば、ボイスコイルが支持される位置の近傍に磁束密度のピークを確保することができる。さらに、外磁石46及び47並びに図示せぬ2個の外磁石を、例えば、スピーカ装置の前面側(音響放射方向)がS極でスピーカ装置の背面側(音響放射方向と反対の側)がN極であって、ヨーク12の中心から外側に向かう水平方向に対して約30°〜約45°の角度で着磁した場合には、磁気間隙50内の磁束密度を大きくすることができる。
【0034】
一方、内磁石48及び49並びに図示せぬ2個の内磁石は、例えば、スピーカ装置の背面側(音響放射方向と反対の側)がS極でスピーカ装置の前面側(音響放射方向)がN極であって、ヨーク12の中心から外側に向かう水平方向に対して約10°〜約70°の角度で着磁されている。このように、内磁石48及び49並びに図示せぬ2個の内磁石を上記した約10°〜約70°の角度で着磁すれば、ボイスコイルが支持される位置の近傍に磁束密度のピークを確保することができる。さらに、内磁石48及び49並びに図示せぬ2個の内磁石を、例えば、スピーカ装置の背面側(音響放射方向と反対の側)がS極でスピーカ装置の前面側(音響放射方向)がN極であって、ヨーク12の中心から外側に向かう水平方向に対して約30°〜約45°の角度で着磁した場合には、磁気間隙14内の磁束密度を大きくすることができる。
【0035】
なお、ヨーク12の底面部12a上面と、外磁石46、47及び図示せぬ2個の外磁石並びに内磁石48、49及び図示せぬ2個の内磁石のそれぞれの下面との間に、スペーサを設けても良い。
【0036】
このように構成すれば、このスピーカ用磁気回路45を備えたスピーカ装置において、磁気間隙50内の磁束密度が低下することを抑止できるため、磁気間隙50内に大きい磁束密度を確保することができる。
【0037】
実施の形態4.
上述の実施の形態1〜3では、ヨーク12は、底面部12bと、外周側部12cと、内周側部12dとが一体に形成されて構成されている例を示したが、これに限定されない。例えば、ヨーク12に換えて、図8に示すスピーカ用磁気回路51のように、平面形状が略平板矩形状を呈するヨーク52を用いても良い。図8において、図2の各部に対応する部分には同一の符号を付け、その説明を省略する。図8には、外磁石22及び24と、内磁石26及び28とが示されているが、図2(a)に示す外磁石21及び23と、図2(a)に示す内磁石25及び27とについては示されていない。ヨーク52は、例えば、純鉄、無酸素鋼、ケイ素鋼等からなる。
【0038】
上記した外磁石22及び24並びに図示せぬ2個の外磁石21及び23は、ヨーク52の外周縁上面に当接するとともに、接着剤等によりヨーク52に固着されている。一方、ヨーク52の上面略中央において、内磁石26及び28が所定の間隔を隔てて配置されるとともに、図示せぬ2個の内磁石25及び27が同一側面の上端部及び下端部を内磁石26及び28の各端面に当接させて配置され、これら当接部に接着剤等が塗布されることによりヨーク52に固着されている。図8の例では、内磁石26及び28並びに図示せぬ2個の内磁石25及び27の外側面と、外磁石22及び24並びに図示せぬ2個の外磁石21及び23の内周面との間には、磁気間隙14が形成されている。このように構成すれば、このスピーカ用磁気回路51を備えたスピーカ装置において、磁気間隙14内の磁束密度が低下することを抑止できるため、磁気間隙14内に大きい磁束密度を確保することができる。
【0039】
実施の形態5.
図9は、本発明の実施の形態5に係るスピーカ用磁気回路53の構成を示す概略断面図である。図9において、図8の各部に対応する部分には同一の符号を付け、その説明を省略する。図9においては、図8に示す外磁石22及び24並びに図示せぬ2個の外磁石21及び23に換えて、外磁石54及び55並びに図示せぬ2個の外磁石が新たに設けられている。外磁石54及び55並びに図示せぬ2個の外磁石は、外磁石21〜24と同一の材質から構成されているが、その厚みは内磁石26及び28の厚みよりも小さく、例えば略半分である。図9には、外磁石54及び55と、内磁石26及び28とが示されているが、図2(a)に示す外磁石21及び23に対応する、これらの厚みよりも小さく、例えば略半分の厚みを有する2個の外磁石と、図2(a)に示す内磁石25及び27とについては示されていない。
【0040】
上記した外磁石54及び55並びに図示せぬ2個の外磁石は、ヨーク52の外周縁上面に当接するとともに、隣接する他の外磁石に当接して接着剤等によりヨーク52に固着されている。一方、ヨーク52の上面略中央において、内磁石26及び28が所定の間隔を隔てて配置されるとともに、図示せぬ2個の内磁石が同一側面の上端部及び下端部を内磁石26及び28の各端面に当接させて配置され、これら当接部に接着剤等が塗布されることによりヨーク52に固着されている。図9の例では、内磁石26及び28並びに図示せぬ2個の内磁石の外側面と、外磁石54及び55並びに図示せぬ2個の外磁石の内周面との間には、磁気間隙(磁気ギャップ)56が形成されている。
【0041】
また、外磁石54及び55並びに図示せぬ2個の外磁石は、例えば、このスピーカ用磁気回路53を備えたスピーカ装置の前面側(音響放射方向)がS極でスピーカ装置の背面側(音響放射方向と反対の側)がN極であって、ヨーク52の中心から外側に向かう水平方向に対して約10°〜約70°の角度で着磁されている。このように、外磁石54及び55並びに図示せぬ2個の外磁石を上記した約10°〜約70°の角度で着磁すれば、ボイスコイルが支持される位置の近傍に磁束密度のピークを確保することができる。さらに、外磁石54及び55並びに図示せぬ2個の外磁石を、例えば、スピーカ装置の前面側(音響放射方向)がS極でスピーカ装置の背面側(音響放射方向と反対の側)がN極であって、ヨーク52の中心から外側に向かう水平方向に対して約30°〜約45°の角度で着磁した場合には、磁気間隙56内の磁束密度を大きくすることができる。また、外磁石54及び55並びに図示せぬ2個の外磁石の着磁方向に対し、内磁石25〜28の着磁方向を異ならしめることにより、ボイスコイルが支持される位置の近傍に、磁束密度のピークを確保することができる。
【0042】
このように構成すれば、このスピーカ用磁気回路52を備えたスピーカ装置において、磁気間隙56内の磁束密度が低下することを抑止できるため、磁気間隙56内に大きい磁束密度を確保することができる。
【0043】
実施の形態6.
図10は、本発明の実施の形態6に係るスピーカ用磁気回路57の構成を示す概略断面図である。図10において、図8の各部に対応する部分には同一の符号を付け、その説明を省略する。図10においては、図8に示す内磁石26及び28並びに図示せぬ2個の内磁石25及び27に換えて、内磁石58及び59並びに図示せぬ2個の内磁石が新たに設けられている。内磁石58及び59並びに図示せぬ2個の内磁石は、内磁石25〜28と同一の材質から構成されているが、その厚みは外磁石22及び24の厚みよりも小さく、例えば略半分である。図10には、内磁石58及び59と、外磁石22及び24とが示されているが、図2(a)に示す内磁石25及び27に対応する、これらの厚みよりも小さく、例えば略半分の厚みを有する2個の内磁石と、図2(a)に示す外磁石21及び23とについては示されていない。
【0044】
上記した内磁石58及び59並びに図示せぬ2個の内磁石は、ヨーク52の上面略中央において、内磁石58及び59が所定の間隔を隔てて配置されるとともに、図示せぬ2個の内磁石が同一側面の上端部及び下端部を内磁石58及び59の各端面に当接させて配置され、これら当接部に接着剤等が塗布されることによりヨーク52に固着されている。一方、外磁石22及び24並びに図示せぬ2個の外磁石21及び23は、ヨーク52の外周縁上面に当接するとともに、隣接する他の内磁石に当接して接着剤等によりヨーク52に固着されている。図10の例では、内磁石58及び59並びに図示せぬ2個の内磁石の外側面と、外磁石22及び24並びに図示せぬ2個の外磁石21及び23の内周面との間には、磁気間隙(磁気ギャップ)60が形成されている。
【0045】
また、内磁石58及び59並びに図示せぬ2個の内磁石は、例えば、このスピーカ用磁気回路57を備えたスピーカ装置の背面側(音響放射方向と反対の側)がS極でスピーカ装置の前面側(音響放射方向)がN極であって、ヨーク52の中心から外側に向かう水平方向に対して約10°〜約70°の角度で着磁されている。このように、内磁石58及び59並びに図示せぬ2個の内磁石を上記した約10°〜約70°の角度で着磁すれば、ボイスコイルが支持される位置の近傍に磁束密度のピークを確保することができる。さらに、内磁石58及び59並びに図示せぬ2個の内磁石を、例えば、スピーカ装置の背面側(音響放射方向と反対の側)がS極でスピーカ装置の前面側(音響放射方向)がN極であって、ヨーク52の中心から外側に向かう水平方向に対して約30°〜約45°の角度で着磁した場合には、磁気間隙60内の磁束密度を大きくすることができる。また、内磁石58及び59並びに図示せぬ2個の内磁石の着磁方向に対し、外磁石21〜24の着磁方向を異ならしめることにより、ボイスコイルが支持される位置の近傍に、磁束密度のピークを確保することができる。
【0046】
このように構成すれば、このスピーカ用磁気回路57を備えたスピーカ装置において、磁気間隙60内の磁束密度が低下することを抑止できるため、磁気間隙60内に大きい磁束密度を確保することができる。
【0047】
実施の形態7.
図11は、本発明の実施の形態7に係るスピーカ用磁気回路61の構成を示す概略図であり、(a)は平面図、(b)は(a)のA−A断面図である。本実施の形態7に係るスピーカ用磁気回路61は、ヨーク62と磁石群63とプレート64とを有している。ヨーク62は、例えば、純鉄、無酸素鋼、ケイ素鋼等からなる。ヨーク62は、平面の全体形状が略矩形状を呈している。ヨーク62は、底面部62aと、外周側部62bとが別個又は一体に形成されて構成されている。図11の例では、底面部62aと、外周側部62bとが別個に形成されている。底面部62aは、平面形状が略平板矩形状を呈している。外周側部62bは、平面形状が略ロ字状を呈している。外周側部62bは、底面部62aの外周縁に当接して接着剤等により底面部62aに固着されている。
【0048】
磁石群63は、外磁石71〜74及び内磁石75により構成されている。外磁石71〜74及び内磁石75は、例えば、ネオジウム系、サマリウム・コバルト系、アルニコ系、フェライト系磁石等の永久磁石等からなる。外磁石71〜74は、いずれも、略角柱状を呈している。一方、内磁石75は、平面形状が略平板矩形状を呈している。外磁石71〜74のそれぞれの厚みは、図11の例では、ヨーク62の底面部62aの上面62aaから外側部62bの上端までの距離に略等しい。一方、内磁石75の厚みは、図11の例では、外磁石71〜74の厚みよりも小さく、ヨーク62の底面部62aの上面62aaから外側部62bの上端までの距離の略半分に等しい。
【0049】
外磁石71〜74は、ヨーク62を構成する底面部62aの上面62aa及び外周側部62bの内周面62baに当接するとともに、隣接する他の外磁石に当接して接着剤等によりヨーク62に固着されている。一方、内磁石75は、ヨーク62を構成する底面部62aの上面62aa略中央に接着剤等により固着されている。内磁石75の上面には、プレート64が接着剤等により固着されている。プレート64は、平面形状が略平板矩形状を呈しており、内磁石74とほぼ同一寸法である。プレート64は、例えば、鉄(例えば、ローカーボンスチール)等の軟質磁性材料からなる。
【0050】
外磁石71〜74と内磁石75との間には、磁気間隙(磁気ギャップ)65が形成されている。外磁石71〜74は、その厚み方向に対して斜め方向に着磁されている。具体的には、外磁石71〜74は、例えば、図11(b)に示すように、このスピーカ用磁気回路61を備えたスピーカ装置の前面側(音響放射方向)がS極でスピーカ装置の背面側(音響放射方向と反対の側)がN極であって、ヨーク62の中心から外側に向かう水平方向に対して約10°〜約70°の角度で着磁されている。このように、外磁石71〜74を上記した約10°〜約70°の角度で着磁すれば、ボイスコイルが支持される位置の近傍に磁束密度のピークを確保することができる。さらに、外磁石71〜74を、例えば、スピーカ装置の前面側(音響放射方向)がS極でスピーカ装置の背面側(音響放射方向と反対の側)がN極であって、ヨーク62の中心から外側に向かう水平方向に対して約30°〜約45°の角度で着磁した場合には、磁気間隙65内の磁束密度を大きくすることができる。
【0051】
一方、内磁石75は、例えば、図2(b)に示すように、スピーカ装置の背面側(音響放射方向と反対の側)がS極でスピーカ装置の前面側(音響放射方向)がN極であって、垂直方向(内磁石75の厚み方向)に略平行に着磁されている。
【0052】
このように構成すれば、このスピーカ用磁気回路61を備えたスピーカ装置において、磁気間隙65内の磁束密度が低下することを抑止できるため、磁気間隙65内に大きい磁束密度を確保することができる。また、内磁石75の着磁方向に対し、外磁石71〜74の着磁方向を異ならしめることにより、ボイスコイルが支持される位置の近傍に、磁束密度のピークを確保することができる。
【0053】
実施の形態8.
図12は、本発明の実施の形態8に係るスピーカ用磁気回路81の構成を示す概略断面図である。図12において、図11の各部に対応する部分には同一の符号を付け、その説明を省略する。図12においては、図11に示す外周側部62b及び外磁石71〜74に換えて、外周側部62c、外磁石82及び83並びに図示せぬ2個の外磁石が新たに設けられている。外周側部62cは、外周側部62bと同一の材質から構成されているが、その厚みは、例えば、外磁石82及び83並びに図示せぬ2個の外磁石の厚みと略等しい。また、外磁石82及び83並びに図示せぬ2個の外磁石は、外磁石71〜74と同一の材質から構成されているが、その厚みは、例えば、内磁石75の厚みと略等しい。図12には、内磁石75と、外磁石82及び83とが示されているが、図11に示す外磁石71及び74に対応し、内磁石75の厚みと略等しい厚みを有する2個の外磁石については示されていない。
【0054】
上記した外周側部62cは、平面形状が略ロ字状を呈している。外周側部62cは、底面部62aの外周縁に当接して接着剤等により底面部62aに固着されている。上記した外磁石82及び83並びに図示せぬ2個の外磁石は、底面部62aの上面62aa及び外周側部62cの内周面62caに当接するとともに、隣接する他の外磁石に当接して接着剤等により底面部62a及び外周側部62cに固着されている。
【0055】
外磁石82及び83並びに図示せぬ2個の外磁石と、内磁石75との間には、磁気間隙(磁気ギャップ)84が形成されている。外磁石82及び83並びに図示せぬ2個の外磁石は、その厚み方向に対して斜め方向に着磁されている。具体的には、外磁石82及び83並びに図示せぬ2個の外磁石は、例えば、図12に示すように、このスピーカ用磁気回路81を備えたスピーカ装置の前面側(音響放射方向)がS極でスピーカ装置の背面側(音響放射方向と反対の側)がN極であって、底面部62aの中心から外側に向かう水平方向に対して約10°〜約70°の角度で着磁されている。このように、外磁石82及び83並びに図示せぬ2個の外磁石を上記した約10°〜約70°の角度で着磁すれば、ボイスコイルが支持される位置の近傍に磁束密度のピークを確保することができる。さらに、外磁石82及び83並びに図示せぬ2個の外磁石を、例えば、スピーカ装置の前面側(音響放射方向)がS極でスピーカ装置の背面側(音響放射方向と反対の側)がN極であって、底面部62aの中心から外側に向かう水平方向に対して約30°〜約45°の角度で着磁した場合には、磁気間隙84内の磁束密度を大きくすることができる。
【0056】
このように構成すれば、このスピーカ用磁気回路81を備えたスピーカ装置において、磁気間隙84内の磁束密度が低下することを抑止できるため、磁気間隙84内に大きい磁束密度を確保することができる。また、内磁石75の着磁方向に対し、外磁石82及び83並びに図示せぬ2個の外磁石の着磁方向を異ならしめることにより、ボイスコイルが支持される位置の近傍に、磁束密度のピークを確保することができる。
【0057】
実施の形態9.
図13は、本発明の実施の形態9に係るスピーカ用磁気回路85の構成を示す概略断面図である。図13において、図11の各部に対応する部分には同一の符号を付け、その説明を省略する。図13においては、図11に示すヨーク62に換えて、ヨーク86が新たに設けられている。ヨーク86は、底面部62aと同一の材質から構成され、底面部62aと同様に平面形状が略平板矩形状を呈している。ヨーク86の面積は、底面部62aの面積と比較して、取り除かれた外周側部62bの底面積の分だけ小さい。図13には、内磁石75と、外磁石82及び83と、プレート64とが示されているが、図11に示す外磁石71及び74に対応し、内磁石75の厚みと略等しい厚みを有する2個の外磁石については示されていない。
【0058】
上記した外磁石82及び83並びに図示せぬ2個の外磁石は、底面部62aの上面62aaに当接するとともに、隣接する他の外磁石に当接して接着剤等によりヨーク86に固着されている。一方、内磁石75は、ヨーク86の上面略中央に接着剤等によりに固着されている。外磁石82及び83並びに図示せぬ2個の外磁石と、内磁石75との間には、磁気間隙(磁気ギャップ)87が形成されている。
【0059】
このように構成すれば、このスピーカ用磁気回路85を備えたスピーカ装置において、磁気間隙87内の磁束密度が低下することを抑止できるため、磁気間隙87内に大きい磁束密度を確保することができる。また、内磁石75の着磁方向に対し、外磁石72及び74並びに図示せぬ2個の外磁石の着磁方向を異ならしめることにより、ボイスコイルが支持される位置の近傍に、磁束密度のピークを確保することができる。
【0060】
実施の形態10.
図14は、本発明の実施の形態10に係るスピーカ用磁気回路88の構成を示す概略断面図である。図14において、図11の各部に対応する部分には同一の符号を付け、その説明を省略する。図14においては、図11に示すヨーク62に換えて、図13に示すヨーク86が新たに設けられている。すなわち、この実施の形態10に係るスピーカ用磁気回路88の構成は、上記した実施の形態7に係るスピーカ用磁気回路61から外周側部62bを取り除いた構成である。外磁石72及び74並びに図示せぬ2個の外磁石71及び73と、内磁石75との間には、磁気間隙(磁気ギャップ)65が形成されている。
【0061】
このように構成すれば、このスピーカ用磁気回路88を備えたスピーカ装置において、磁気間隙65内の磁束密度が低下することを抑止できるため、磁気間隙65内に大きい磁束密度を確保することができる。また、内磁石75の着磁方向に対し、外磁石72及び74並びに図示せぬ2個の外磁石の着磁方向を異ならしめることにより、ボイスコイルが支持される位置の近傍に、磁束密度のピークを確保することができる。
【0062】
実施の形態11.
図15は、本発明の実施の形態11に係るスピーカ用磁気回路91の構成を示す概略断面図である。図15において、図9の各部に対応する部分には同一の符号を付け、その説明を省略する。図15においては、図9に示す外磁石54及び55並びに図示せぬ2個の外磁石に換えて、外磁石92及び93並びに図示せぬ2個の外磁石が新たに設けられている。また、外磁石92及び93並びに図示せぬ2個の外磁石の各上面には、プレート94及び95並びに図示せぬ2個のプレートが新たに接着剤等によりに固着されている。プレート94及び95並びに図示せぬ2個のプレートの各幅は、図15の例では、対応する外磁石92及び93並びに図示せぬ2個の外磁石の各幅より広くなっている。
【0063】
また、外磁石92及び93並びに図示せぬ2個の外磁石は、例えば、図15に示すように、このスピーカ用磁気回路91を備えたスピーカ装置の前面側(音響放射方向)がS極でスピーカ装置の背面側(音響放射方向と反対の側)がN極であって、垂直方向に略平行に着磁されている。外磁石92及び93並びに図示せぬ2個の外磁石と、対応する内磁石26及び28並びに図示せぬ2個の内磁石との間には、磁気間隙(磁気ギャップ)96が形成されている。
【0064】
このように構成すれば、このスピーカ用磁気回路91を備えたスピーカ装置において、磁気間隙96内の磁束密度が低下することを抑止できるため、磁気間隙96内に大きい磁束密度を確保することができる。また、内磁石26及び28並びに図示せぬ2個の内磁石の着磁方向に対し、外磁石92及び93並びに図示せぬ2個の外磁石の着磁方向を異ならしめることにより、ボイスコイルが支持される位置の近傍に、磁束密度のピークを確保することができる。さらに、このスピーカ用磁気回路91を備えたスピーカ装置を薄型かつ小型に構成しても、大きな磁束密度を確保することができる。
【0065】
実施の形態12.
上述の各実施の形態では、スピーカ用磁気回路は、平面の全体形状が略矩形状を呈している例を示したが、これに限定されず、平面の全体形状が、略円形状又は略楕円状、あるいは、多角形状を呈していても良い。また、上述の各実施の形態では、ヨークの上面に配置される外磁石及び内磁石を、いずれも複数の磁石で構成する例を示したが、これに限定されず、いずれか一方又は両方を環状を呈する1個の磁石で構成しても良い。以下、スピーカ用磁気回路の平面の全体形状が略円形状を呈しているとともに、ヨークの上面に配置される外磁石及び内磁石をいずれも環状を呈する1個の磁石で構成した例について説明する。
【0066】
図16は、本発明の実施の形態12に係るスピーカ用磁気回路15の構成を示す概略図であり、(a)は平面図、(b)は(a)のA−A断面図である。本実施の形態12に係るスピーカ用磁気回路15は、ヨーク16と、外磁石17と、内磁石18とを有している。このスピーカ用磁気回路15の寸法は、例えば、外径が約10mm、厚みが約1.5mmである。
【0067】
ヨーク16は、例えば、純鉄、無酸素鋼、ケイ素鋼等からなる。ヨーク16は、平面の全体形状が略円形状を呈している。ヨーク16の略中央には、略円形状を呈する貫通孔16aが穿設されている。ヨーク16は、底面部16bと、外周側部16cと、内周側部16dとが一体に形成されて構成されている。底面部16bは、略円環状を呈している。外周側部16cは、底面部16bの外周縁に略垂直に立設されている。一方、内周側部16dは、底面部16bの内周縁に略垂直に立設されている。
【0068】
外磁石17及び内磁石18は、例えば、ネオジウム系、サマリウム・コバルト系、アルニコ系、フェライト系磁石等の永久磁石等からなる。外磁石17及び内磁石18は、いずれも、略円環状を呈している。外磁石17及び内磁石18のそれぞれの厚みは、図16の例では、ヨーク16の底面部16bの上面16baから外側部16cの上端までの距離に略等しい。
【0069】
外磁石17は、ヨーク16を構成する底面部16bの上面16ba及び外周側部16cの内周面16caに当接して接着剤等によりヨーク16に固着されている。一方、内磁石18は、ヨーク16を構成する底面部16bの上面16ba及び内周側部16dの外周面16daに当接して接着剤等によりヨーク16に固着されている。
【0070】
外磁石17と内磁石18との間には、磁気間隙(磁気ギャップ)19が形成されている。外磁石17及び内磁石18は、その厚み方向に対して斜め方向に着磁されている。具体的には、外磁石17は、例えば、図16(b)に示すように、このスピーカ用磁気回路15を備えたスピーカ装置(図示略)の前面側(音響放射方向)がS極でスピーカ装置の背面側(音響放射方向と反対の側)がN極であって、ヨーク16の中心から外側に向かう水平方向に対して約10°〜約70°の角度で着磁されている。このように、外磁石17を上記した約10°〜約70°の角度で着磁すれば、ボイスコイルが支持される位置の近傍に磁束密度のピークを確保することができる。さらに、外磁石17を、例えば、スピーカ装置の前面側(音響放射方向)がS極でスピーカ装置の背面側(音響放射方向と反対の側)がN極であって、ヨーク16の中心から外側に向かう水平方向に対して約30°〜約45°の角度で着磁した場合には、磁気間隙19内の磁束密度を大きくすることができる。
【0071】
一方、内磁石18は、例えば、図2(b)に示すように、スピーカ装置の背面側(音響放射方向と反対の側)がS極でスピーカ装置の前面側(音響放射方向)がN極であって、ヨーク16の中心から外側に向かう水平方向に対して約10°〜約70°の角度で着磁されている。このように、内磁石18を上記した約10°〜約70°の角度で着磁すれば、ボイスコイルが支持される位置の近傍に磁束密度のピークを確保することができる。さらに、内磁石18を、例えば、スピーカ装置の背面側(音響放射方向と反対の側)がS極でスピーカ装置の前面側(音響放射方向)がN極であって、ヨーク16の中心から外側に向かう水平方向に対して約30°〜約45°の角度で着磁した場合には、磁気間隙19内の磁束密度を大きくすることができる。
【0072】
このように構成すれば、このスピーカ用磁気回路15を備えたスピーカ装置において、磁気間隙19内の磁束密度が低下することを抑止できるため、磁気間隙19内に大きい磁束密度を確保することができる。
【0073】
実施の形態13.
次に、図14に示す本発明の実施の形態10に係るスピーカ用磁気回路88を製造する製造方法について、図17及び図18を参照して説明する。
(i)第1工程(磁石形成工程)
まず、例えば、図17に示す所定の容器101を磁性粉末(磁性流体)102で充分に満たす。この時、図17に矢印で示すように、容器101の底部101aから垂直方向に対し斜め上方向(後述する磁石103の厚み方向に対し斜めの方向)を向く磁場を作用させる。次に、図17に示すように、磁性粉末(磁性流体)102に押圧力を作用させることにより、磁石(固体)103を形成する。この時、磁石103の磁気性能を最大限に引き出すには、磁場の方向に対し略垂直な方向にて押圧力を作用させることが好ましいとされている。上記磁石形成工程を経ることにより、磁性粉末(磁性体)102の配向が決定される。
【0074】
(ii)第2工程
上記第1工程により得られた磁石103を、ヨーク86の上面外周縁に、接着剤等により固着することによりヨークアセンブリを作製する。
(iii)第3工程(磁石着磁工程)
次に、図17に示す着磁装置111を用いた磁石着磁工程について説明する。この着磁装置111は、着磁ヨーク112と、着磁コイル113とを有している。上記第2工程により得られたヨークアセンブリを、図17に示す着磁装置111にセットし、図17に矢印で示すように、磁石103の配向の向きに略平行な磁場を作用させて磁石103を着磁することにより、外磁石71〜74を得る。この時、磁石103の配向の向きと異なる向きに磁場を作用させて磁石103を着磁させようとしても、磁石103をうまく着磁させることは難しい。
【0075】
(iv)第4工程
内磁石75となるべき磁石の上面にプレート64を接着剤等により固着することによりプレートアセンブリを作製する。
(v)第5工程
次に、上記第4工程で得られたプレートアセンブリを、所定の着磁装置にセットし、図14に示すように、上記プレートアセンブリの厚み方向に略平行な磁場を作用させてプレートアセンブリを構成する磁石を着磁することにより、内磁石75を得る。
(vi)第6工程
次に、上記第3工程で得られたアセンブリを構成するヨーク86の略中央に、上記第5工程で得られたアセンブリを接着剤及び治具等により固着することにより、図14に示すスピーカ用磁気回路88を得る。
【0076】
このように、本発明の実施の形態13によれば、スピーカ用磁気回路88を簡単な装置および簡単な工程により製造することができる。
【0077】
実施の形態14.
図19は、本発明の実施の形態14に係るスピーカ装置の構成を示す概略断面図である。図19において、図14の各部に対応する部分には同一の符号を付け、その説明を省略する。このスピーカ装置は、図14に示す本発明の実施の形態10に係るスピーカ用磁気回路88と、フレーム121と、振動板122と、ボイスコイル123とを有している。
【0078】
フレーム121は、例えば、鉄系金属、非鉄金属又はそれらの合金、合成樹脂などから構成されている。鉄系金属としては、例えば、純鉄、無酸素鋼又はケイ素鋼等がある。非鉄金属としては、例えば、アルミニウム、マグネシウム又は亜鉛等がある。合成樹脂としては、例えば、ポリプロピレンなどのオレフィン系、ABS(アクリロニトリル・ブダジエン・スチレン)、ポリエチレンテレフタレート系などの熱可塑性樹脂に、補強用フィラーとしてガラス繊維又はフィブリル化したサーモトロピック液晶ポリエステル樹脂を添加してなるものなどがある。フレーム121は、例えば、鉄系金属を絞り成形したり、非鉄金属又はそれらの合金をダイキャスト成形したり、合成樹脂を射出成形したりして形成されている。
【0079】
フレーム121は、平面の全体形状が略矩形状を呈している。フレーム121は、ヨーク86の端部と係合する内周側上端に形成された係合段部121aと、振動板122の端部と嵌合する外周側上端に形成された係合段部121bとを有している。
【0080】
振動板122は、ドーム状振動部131と、ボイスコイルボビン132と、コーン状振動部133と、エッジ134とを有している。ドーム状振動部131と、ボイスコイルボビン132と、コーン状振動部133と、エッジ134とは、一体成形されている。振動板122の材料としては、例えば、紙、繊維を用いた織布、繊維を用いた編み物、不織布、繊維を用いた織布にフェノール系樹脂やシリコーン系樹脂等の樹脂、又はこれらの樹脂と有機溶媒からなる溶液を含浸させたもの、金属材料、合成樹脂、アクリル発泡体などがある。金属材料には、例えば、アルミニウムやチタニウム、ジュラルミン、ベリリウム、マグネシウム、あるいはこれらの合金等がある。合成樹脂には、例えば、ポリプロピレン、ポリエチレン、ポリスチレン、ポリエチレンテレフタレート、ポリエチレンナフタレート、ポリメチルメタアクリレート、ポリカーボネイト、ポリアリレート、エポキシ樹脂等などがある。また、アクリル発泡体は、例えば、メタアクリル酸メチルと、メタアクリル酸と、スチレンと、無水マレイン酸と、メタアクリルアミドとを原料とする。
【0081】
ドーム状振動部131は、振動板122の中央部にスピーカ装置の前面側(音響放射方向)に凸形状に形成されている。ドーム状振動部131の縦断面形状としては、例えば、放射曲線形状、ドーム半球形状、円錐形状、多段曲線形状等、各種形状を採用することができる。図18の例では、ドーム状振動部131は、放射曲線形状に形成されている。また、図18の例では、ドーム状振動部131は、中央部の頂部がエッジ134よりも高く形成されている。この形状により広い角度の指向特性を得ることができる。また、ドーム状振動部131は、ボイスコイルボビン132、コーン状振動部133、エッジ134によりプレート64上の規定位置に、駆動方向に沿って振動自在に支持されている。
【0082】
ボイスコイルボビン132は、ドーム状振動部131とエッジ134の間に形成され、図18の例では、断面形状が略L字形状に形成されている。ボイスコイルボビン132には、例えば、予め略角筒形状に形成されたボイスコイル123が、ボイスコイルボビン132とコーン状振動部133とにより形成される凹部内に落とし込まれ、エポキシ樹脂等の接着剤等によりボイスコイル123の固定が行われている。
【0083】
コーン状振動部133は、例えば、図18に示すように、ボイスコイルボビン132の下側端部から、振動板122のエッジ134にかけて形成されている。このコーン状振動部133は、断面の母線形状が略円錐形状(コーン状)に形成されている。また、コーン状振動部133の形状としては、例えば、断面の母線形状が円弧状に形成されたカーブドコーン状、直線形状に形成されたフラットコーン状、放物線状に形成されたパラボリックコーン状等、各種形状を採用することができる。
【0084】
上記構成の振動板122は、ボイスコイル123をプレート64の端部近傍に振動自在に支持している。また、振動板122は、上記したように、ボイスコイルボビン132とコーン状振動部133により形成される凹部において、その凹部の底部から上側の開口側にかけて幅広に形成されているので、簡単に形成することができる。
【0085】
エッジ134は、図18に示すように、フレーム121の係合段部121bと嵌合する嵌合部134aを有している。エッジ134の嵌合部134aと、フレーム121の係合段部121bとが嵌合することにより、スピーカ用磁気回路88やフレーム121に対する振動板122の位置決めが行われる。上記構成のスピーカ装置では、ボイスコイル123が、外磁石71〜74、内磁石75、プレート64及びヨーク86により形成される磁束分布中の規定位置に、振動板122により支持されている。
【0086】
上記構成を有するスピーカ装置は、音声信号(音声電流)が供給されると、音声電流が図示せぬ一対のリード線を介してボイスコイル123に供給される。一方、外磁石71〜74は、その厚み方向に対して斜め方向に着磁されている。これに対し、内磁石75は、その厚み方向に対して略平行方向に着磁されている。したがって、内磁石75から発せられた磁束は、外磁石71〜74に向かって流れる。この結果、ボイスコイル123の十分な振幅が確保できるボイスコイル位置又はその近傍に効率良く磁束が集中される。
【0087】
これにより、スピーカ用磁気回路88を構成する外磁石71〜74及び内磁石75に基づく磁束とボイスコイル123に流された音声電流との間の電磁気力(ローレンツ力)に基づいてスピーカ装置の中心軸方向の駆動力がボイスコイル123に誘起される。ボイスコイル123が備えられたボイスコイルボビン132は、その駆動力により、図中上下方向に沿って振動し、ドーム状振動部131及びコーン状振動部133を振動させる。このスピーカ装置は、ドーム状振動部131及びコーン状振動部133が振動することにより、音声電流に応じた音波を前面(音響放射方向)にある空間に向けて放射するので、一般的なドーム型スピーカとコーン状スピーカの2つの特性を兼ね備えている。
【0088】
以上説明したように、本発明の実施形態13に係るスピーカ装置は、スピーカ用磁気回路88と、フレーム121と、振動板122と、ボイスコイル123とを備えている。スピーカ用磁気回路88は、外磁石71〜74と、内磁石75と、内磁石75の一極側に配備されたプレート64と、内磁石75の他極側に配備されたヨーク86とを備えている。外磁石71〜74は、その厚み方向に対して斜め方向に着磁されている。外磁石71〜74は、内磁石75を取り囲むように配置されている。内磁石75は、その厚み方向に対し略平行に着磁されている。そして、内磁石75、プレート64の順にヨーク86の上面に積層されている。
【0089】
また、振動板122は、ドーム状振動部131と、ボイスコイルボビン132と、コーン状振動部133と、エッジ134とを備えている。振動板122及びボイスコイル123は、振動体を構成している。そして、振動板122は、エッジ134を介して、フレーム121に支持されている。ボイスコイル123は、スピーカ用磁気回路88を構成するプレート64の端部近傍に配設されている。振動板122は、ボイスコイル123をプレート64の端部近傍に振動自在に支持している。
【0090】
したがって、上記構成を有するスピーカ装置において、磁気間隙65内の磁束密度が低下することを抑止できるため、磁気間隙65内に大きい磁束密度を確保することができる。また、内磁石75の着磁方向に対し、外磁石72及び74並びに図示せぬ2個の外磁石の着磁方向を異ならしめることにより、ボイスコイル123が支持される位置の近傍に、磁束密度のピークを確保することができる。また、このスピーカ装置を薄型かつ小型に構成しても、大きな磁束密度を確保することができる。
【0091】
また、振動板122は、振動板122の中央部に形成されたドーム状振動部(第1の振動部)131と、外周が直接又は間接的にフレーム121に支持されるコーン状振動部(第2の振動部)133と、ドーム状振動部131とコーン状振動部133との間に形成され、ボイスコイル123が配置されるボイスコイルボビン132とを有し、ドーム状振動部131、コーン状振動部133及びボイスコイルボビン132が、例えばプレス成形や射出成形等により一体成形されているので、簡単に振動板122を得ることができる。
【0092】
また、振動板122は、当該振動板122の端部に形成され、フレーム121に形成された係合段部(被嵌合部)121bに嵌合する嵌合部134aを有し、振動板122の嵌合部134aと、フレーム121の係合段部121bとが嵌合して、振動板122とフレーム121との位置合わせを行うので、簡単に振動板122とフレーム121との位置合わせを行うことができる。
【0093】
この際、ドーム状振動部131、ボイスコイルボビン132、コーン状振動部133及びコーン状振動部133が一体成形されているので、それぞれの構成要素を規定位置に高精度に位置合わせすることができる。特に、上記構成により、簡単な取り付け工程により、ボイスコイルボビン132を、プレート64の端部近傍の予め規定された位置に高精度に配置することができる。
【0094】
さらに、振動板122の端部の内側側面をフレーム121に形成された係合段部121bの外側側面に固着することで、有効振動面積を大きくすることができ、音圧を大きくすることができる。また、ボイスコイル123を、ボイスコイルボビン132の断面L字形状部の側面部に接着剤を用いて固定する工程により、簡単にボイスコイル123をボイスコイルボビン132に取り付けることができる。
【0095】
以上、本発明の実施の形態について図面を参照して詳述してきたが、具体的な構成はこれらの実施の形態に限られるものではなく、本発明の要旨を逸脱しない範囲の設計の変更等があっても本発明に含まれる。
【0096】
例えば、上述の実施の形態1では、振動板32は、縦断面形状がコーン状を呈する例を示したが、これに限定されず、縦断面形状が前面側(音波の放射側)に突き出た略ドーム形状を呈していても良い。
【0097】
また、上述の実施の形態14では、ボイスコイル123は、ボイスコイルボビン132の内側側面に取り付けられている例を示したが、これに限定されず、ボイスコイルボビン132の外側側面に取り付けられていても良い。
また、上述の実施の形態14において、プレート64と、ボイスコイルボビン132又はボイスコイル123との間に磁性流体を設けても良い。このように磁性流体を設ければ、ボイスコイル123に作用する電磁気力を大きくすること、ボイスコイル123で生じる熱(ジュール熱)をプレート64に伝達させて放熱すること、等が可能となる。
【0098】
また、上述の各実施の形態では、磁石の極性は、図2(b)、図5〜図10、図11(b)、図12〜図15、図16(b)にそれぞれ矢印で示す向きである例を示したが、これに限定されず、これらの図にそれぞれ矢印で示す向きの逆でも良い。
また、上述の各実施の形態は、その目的及び構成等に特に矛盾や問題がない限り、互いの技術を流用することができる。
Claims (28)
- 磁石と、ヨークとを備え、
前記磁石の配向の向きは、その厚み方向に対して斜め方向に沿っており、当該磁石の配向の向きは、当該磁石の厚さ方向において実質的に同じであり、
前記磁石から発せられる磁束は、前記磁石側であって、前記ヨークの上面から離れた位置を通過し、
前記磁束が通過する位置であって、前記磁石の位置と、前記磁石とは異なる位置に配置される前記ヨークの一部の位置との間には、磁気ギャップが設けられていることを特徴とするスピーカ用磁気回路。 - 前記磁石を含む複数の磁石と、プレートとを備え、
前記複数の磁石は、前記ヨークに支持されており、
前記複数の磁石が有する内磁石と外磁石のうち、当該一方の磁石は前記ヨークの一部の位置に設けられており、他方の磁石は前記磁石であり、
前記一方の磁石の上にはプレートが配置されており、
前記一方の磁石の配向の向きは、その厚さ方向に沿っており、
当該他方の磁石の配向の向きは、その厚さ方向に対して斜め方向に沿っており、
前記他方の磁石の配向の向きは、その厚さ方向に対して実質的に同じであり、
前記プレートと前記他方の磁石とで実質的に形成される前記磁気ギャップは、前記ヨークの底面部に対し前記他方の磁石側又は前記プレート側であって、当該ヨークの底面部から離れた位置に設けられていることを特徴とする請求項1に記載のスピーカ用磁気回路。 - 前記内磁石及び前記外磁石の外側側面及び内側側面は、前記ヨークに対し略直交する方向に沿って立設していることを特徴とする請求項2に記載のスピーカ用磁気回路。
- 前記ヨークの底面部は平板状に形成されていることを特徴とする請求項3に記載のスピーカ用磁気回路。
- 前記外磁石の内側側面から外側側面にかけて、当該外磁石の下面は前記ヨークに取り付けられていることを特徴とする請求項4に記載のスピーカ用磁気回路。
- 前記内磁石は長軸及び短軸で規定される平面形状を備え、
前記外磁石としての複数の棒状の磁石は、前記内磁石を挟んで、前記内磁石の長軸又は短軸に沿って並べて配置されていることを特徴とする請求項5に記載のスピーカ用磁気回路。 - 前記外磁石の上面は、前記プレートの上面に対して低い位置に設けられていることを特徴とする請求項6に記載のスピーカ用磁気回路。
- 前記磁気ギャップにおける磁束密度のピーク位置は、前記プレートの上面が形成される高さの近傍であることを特徴とする請求項7に記載のスピーカ用磁気回路。
- 請求項8に記載のスピーカ用磁気回路と、フレームと、振動体とを備え、
前記振動体は、振動板と、当該振動板に支持される筒状のボイスコイルとを備え、
前記ボイスコイルの下端部が、前記プレートの上面に対して低い位置に配置されており、
前記ボイスコイルの中心位置は、前記プレートの上面に対して略同じ位置又は低い位置に配置されており、
前記磁気ギャップは、前記ボイスコイルが配置される位置に形成されていることを特徴とするスピーカ装置。 - 前記磁気ギャップにおける磁束密度のピーク位置は、前記ボイスコイルの中央位置近傍であることを特徴とする請求項9に記載のスピーカ装置。
- 前記振動体は、前記振動板を前記フレームに支持するエッジを備え、
前記振動板はドーム状又は平板状の形状を有しており、
前記振動体及び前記スピーカ用磁気回路は、短軸及び長軸で規定される平面形状を有することを特徴とする請求項10に記載のスピーカ装置。 - 内磁石及び外磁石を備え、
前記内磁石及び前記外磁石の一方の磁石は前記磁石であり、他方の磁石は前記ヨークの一部の位置に設けられており、
前記内磁石及び前記外磁石の配向の向きは、その厚み方向に対して斜め方向に沿っており、
前記内磁石及び前記外磁石の配向の向きは、当該内磁石及び当該外磁石の厚さ方向に対して実質的に同じであり、
前記内磁石と前記外磁石とで実質的に形成される磁気ギャップは、前記ヨークに対し前記内磁石側又は前記外磁石側であって、当該ヨークから離れた位置に設けられていることを特徴とする請求項1に記載のスピーカ用磁気回路。 - 前記内磁石及び前記外磁石の外側側面及び内側側面は、当該内磁石及び当該外磁石の下面に対向する前記ヨークの面に対し、略直交する方向に沿って形成されていることを特徴とする請求項12に記載のスピーカ用磁気回路。
- 前記ヨークは、平板状の底面部と当該底面部に立設される内周側部と外周側部とを備え、
前記内磁石は前記ヨークの内周側部に取り付けられ、
前記外磁石は、前記ヨークの外周側部に取り付けられており、
前記内磁石及び前記外磁石の下面と、前記ヨークとの間には所定の間隙が設けられていることを特徴とする請求項13に記載のスピーカ用磁気回路。 - 前記ヨークは、平板状の底面部と当該底面部に立設される内周側部と外周側部とを備え、
前記内磁石は前記ヨークの内周側部に取り付けられ、
前記外磁石は、前記ヨークの外周側部に取り付けられており、
前記内磁石及び前記外磁石の下面が取り付けられる、前記ヨークの底面部は平板状に形成されていることを特徴とする請求項13に記載のスピーカ用磁気回路。 - 前記内磁石の上面の高さと前記外磁石の上面の高さは、略同じであり、
前記磁気ギャップは、前記内磁石及び前記外磁石の上面における高さの近傍にて形成されていることを特徴とする請求項12に記載のスピーカ用磁気回路。 - 前記内磁石の上面は、前記外磁石の上面に対して高い位置に設けられ、
前記磁気ギャップは、前記内磁石の上面における高さの近傍にて形成されていることを特徴とする請求項12に記載のスピーカ用磁気回路。 - 前記外磁石の上面は、前記内磁石の上面に対して高い位置に設けられ、
前記磁気ギャップは、前記外磁石の上面における高さの近傍にて形成されていることを特徴とする請求項12に記載のスピーカ用磁気回路。 - 前記外磁石の外径は、前記ヨークの底面部の外径と略同じであることを特徴とする請求項16から18までのいずれかに記載のスピーカ用磁気回路。
- 前記ヨークは、前記磁石の下面が取り付けられる平板状の底面部と、当該磁石の内側側面又は外側側面と対向する側部とを備え、
前記磁石と前記ヨークの側部とで実質的に形成される磁気ギャップは、前記ヨークに対し前記磁石側であって、当該ヨークから離れた位置に設けられていることを特徴とする請求項1に記載のスピーカ用磁気回路。 - 前記磁石を含む複数の磁石と、プレートとを備え、
前記複数の磁石が有する内磁石と外磁石のうち、当該一方の磁石は前記ヨークの一部の位置に設けられており、他方の磁石は前記磁石であり、
前記一方の磁石の上にはプレートが配置されており、
前記一方の磁石の配向の向きは、その厚さ方向に沿っており、
前記他方の磁石の配向の向きは、その厚さ方向に対して斜め方向に沿っており、
前記他方の磁石の配向の向きは、その厚さ方向に対して略同じであり、
前記プレートと前記他方の磁石とで実質的に形成される磁気ギャップは、前記ヨークに対し前記プレート側又は前記他方の磁石側であって、当該ヨークから離れた位置に設けられていることを特徴とする請求項1に記載のスピーカ用磁気回路。 - 前記プレート及び前記他方の磁石の上面における高さは、略同じであり、
前記磁気ギャップは、前記プレート及び前記他方の磁石の上面における高さの近傍にて形成されていることを特徴とする請求項21に記載のスピーカ用磁気回路。 - 請求項1に記載のスピーカ用磁気回路と、フレームと、振動体とを備え、
前記スピーカ用磁気回路は、前記磁石を含む複数の磁石と、プレートとを備え、
前記複数の磁石が有する内磁石の上にはプレートが配置され、外磁石は前記磁石であり、
前記内磁石の配向の向きは、その厚さ方向に沿っており、
前記外磁石の配向の向きは、その厚さ方向に対して斜め方向に沿っており、
前記外磁石の配向の向きは、その厚さ方向に対して略同じであり、
前記振動体は、振動板と当該振動板を前記フレームに支持するエッジと、当該振動板に支持されるボイスコイルとを有し、
前記振動板は前記ボイスコイルを前記プレートの外側端部近傍に振動自在に支持していることを特徴とするスピーカ装置。 - 前記振動板は、コーン状、ドーム状又は平板状の形状を有し、
前記振動板は、前記ボイスコイルを収容するボイスコイル収容部を備え、
前記エッジの外周部は、前記フレームの外周部に形成される段部に取り付けられていることを特徴とする請求項23に記載のスピーカ装置。 - ヨークと磁石とを備えるスピーカ用磁気回路の製造方法であって、
前記磁石の配向の向きは、その厚み方向に対して斜め方向に沿っており、当該磁石の配向の向きは、当該磁石の厚さ方向において実質的に同じであり、
前記磁石に対し、所定方向に磁場を作用させて着磁をする着磁工程と、
前記磁石を前記ヨークの上に固着する磁石の固着工程とを含み、
前記磁石から発せられる磁束は、前記磁石側であって、前記ヨークの上面から離れた位置を通過し、前記磁束が通過する位置であって、前記磁石の位置と、前記磁石とは異なる位置に配置される前記ヨークの一部の位置との間には、磁気ギャップが設けられていることを特徴とするスピーカ用磁気回路の製造方法。 - 所定の方向に向けられた磁場中にて、磁性粉末に押圧力を作用させて磁石を形成する磁石形成工程を有し、
前記所定の方向は、前記磁石の厚み方向に対し斜めであることを特徴とする請求項25に記載のスピーカ用磁気回路の製造方法。 - 請求項1に記載のスピーカ用磁気回路と、フレームと、振動体とを備え、
前記振動体は、振動板と当該振動板を前記フレームに支持するエッジと、当該振動板に支持されるボイスコイルとを有することを特徴とするスピーカ装置。 - 請求項27に記載のスピーカ装置を備えることを特徴とする電子機器。
Applications Claiming Priority (1)
| Application Number | Priority Date | Filing Date | Title |
|---|---|---|---|
| PCT/JP2007/067752 WO2009034627A1 (ja) | 2007-09-12 | 2007-09-12 | スピーカ用磁気回路、スピーカ装置及びスピーカ用磁気回路の製造方法 |
Publications (2)
| Publication Number | Publication Date |
|---|---|
| JPWO2009034627A1 JPWO2009034627A1 (ja) | 2010-12-16 |
| JP4970544B2 true JP4970544B2 (ja) | 2012-07-11 |
Family
ID=40451650
Family Applications (1)
| Application Number | Title | Priority Date | Filing Date |
|---|---|---|---|
| JP2009532008A Active JP4970544B2 (ja) | 2007-09-12 | 2007-09-12 | スピーカ用磁気回路、スピーカ装置及びスピーカ用磁気回路の製造方法 |
Country Status (5)
| Country | Link |
|---|---|
| US (1) | US20110150264A1 (ja) |
| EP (1) | EP2190214A4 (ja) |
| JP (1) | JP4970544B2 (ja) |
| CN (1) | CN101790891A (ja) |
| WO (1) | WO2009034627A1 (ja) |
Families Citing this family (15)
| Publication number | Priority date | Publication date | Assignee | Title |
|---|---|---|---|---|
| CN201789618U (zh) * | 2010-09-01 | 2011-04-06 | 瑞声光电科技(常州)有限公司 | 磁路结构及使用该磁路结构的扬声器 |
| WO2012149938A1 (en) * | 2011-05-04 | 2012-11-08 | Dali A/S | Electromagnetic drive unit |
| KR20130089396A (ko) * | 2012-02-02 | 2013-08-12 | 삼성전자주식회사 | 엔 분할된 마그넷 구조를 갖는 스피커 장치 |
| KR101481651B1 (ko) * | 2013-07-02 | 2015-01-14 | 주식회사 이엠텍 | 3 마그넷 마이크로스피커 |
| JP2015039161A (ja) * | 2013-07-19 | 2015-02-26 | 株式会社Jvcケンウッド | スピーカ用磁気回路 |
| US10257614B2 (en) * | 2014-07-29 | 2019-04-09 | Yeil Electronics Co., Ltd. | Sensory signal output apparatus |
| KR102691540B1 (ko) | 2016-11-04 | 2024-08-05 | 삼성전자주식회사 | 평면형 마그넷 스피커 |
| US10555085B2 (en) * | 2017-06-16 | 2020-02-04 | Apple Inc. | High aspect ratio moving coil transducer |
| CN108600920A (zh) * | 2018-01-08 | 2018-09-28 | 深圳市韶音科技有限公司 | 一种骨传导扬声器 |
| CN107948883A (zh) * | 2018-01-08 | 2018-04-20 | 深圳市韶音科技有限公司 | 一种骨传导扬声器 |
| CN107948881B (zh) * | 2018-01-08 | 2024-08-06 | 深圳市韶音科技有限公司 | 一种骨传导扬声器 |
| CN108347679B (zh) * | 2018-05-14 | 2020-11-20 | 苏州上声电子股份有限公司 | 一种高音扬声器 |
| KR102629489B1 (ko) | 2020-04-29 | 2024-01-29 | 썬전 샥 컴퍼니 리미티드 | 음향장치 및 그 자기회로조립체 |
| FI130007B (fi) * | 2020-11-10 | 2022-12-15 | Ps Audio Design Oy | Akustinen muunnin, jossa magneetit ovat poikittain |
| CN119233175B (zh) * | 2024-12-03 | 2025-03-07 | 瑞声光电科技(常州)有限公司 | 扬声器 |
Citations (3)
| Publication number | Priority date | Publication date | Assignee | Title |
|---|---|---|---|---|
| JPS6399700A (ja) * | 1986-10-15 | 1988-04-30 | Seiko Epson Corp | スピ−カ−用磁気回路構造 |
| JP2001176723A (ja) * | 1999-12-16 | 2001-06-29 | Hitachi Metals Ltd | リング磁石およびスピーカ |
| WO2002074009A1 (fr) * | 2001-03-09 | 2002-09-19 | Akito Hanada | Convertisseur elctroacoustique |
Family Cites Families (4)
| Publication number | Priority date | Publication date | Assignee | Title |
|---|---|---|---|---|
| EP1843630B1 (en) * | 2005-01-28 | 2012-02-22 | Panasonic Corporation | Electrodynamic electroacoustic transducer and electronic device |
| US20060239499A1 (en) * | 2005-04-25 | 2006-10-26 | Stiles Enrique M | Semi-radially-charged conical magnet for electromagnetic transducer |
| JP2006305453A (ja) * | 2005-04-27 | 2006-11-09 | Sony Corp | 振動装置、噴流発生装置及び電子機器 |
| US7953240B2 (en) * | 2005-05-24 | 2011-05-31 | Panasonic Corporation | Loudspeaker apparatus |
-
2007
- 2007-09-12 JP JP2009532008A patent/JP4970544B2/ja active Active
- 2007-09-12 US US12/675,079 patent/US20110150264A1/en not_active Abandoned
- 2007-09-12 WO PCT/JP2007/067752 patent/WO2009034627A1/ja not_active Ceased
- 2007-09-12 CN CN200780100363A patent/CN101790891A/zh active Pending
- 2007-09-12 EP EP07807159A patent/EP2190214A4/en not_active Withdrawn
Patent Citations (3)
| Publication number | Priority date | Publication date | Assignee | Title |
|---|---|---|---|---|
| JPS6399700A (ja) * | 1986-10-15 | 1988-04-30 | Seiko Epson Corp | スピ−カ−用磁気回路構造 |
| JP2001176723A (ja) * | 1999-12-16 | 2001-06-29 | Hitachi Metals Ltd | リング磁石およびスピーカ |
| WO2002074009A1 (fr) * | 2001-03-09 | 2002-09-19 | Akito Hanada | Convertisseur elctroacoustique |
Also Published As
| Publication number | Publication date |
|---|---|
| WO2009034627A1 (ja) | 2009-03-19 |
| JPWO2009034627A1 (ja) | 2010-12-16 |
| US20110150264A1 (en) | 2011-06-23 |
| EP2190214A4 (en) | 2013-02-27 |
| CN101790891A (zh) | 2010-07-28 |
| EP2190214A1 (en) | 2010-05-26 |
Similar Documents
| Publication | Publication Date | Title |
|---|---|---|
| JP4970544B2 (ja) | スピーカ用磁気回路、スピーカ装置及びスピーカ用磁気回路の製造方法 | |
| US10149063B2 (en) | Vibrating body for acoustic transducer and speaker device | |
| US7885425B2 (en) | Electrodynamic electroacoustic transducer and electronic device | |
| US9998833B2 (en) | Speaker | |
| JP2004032659A (ja) | 電気音響変換器及び電子機器 | |
| JP4034696B2 (ja) | スピーカ用振動板 | |
| KR101208243B1 (ko) | 박형 스피커 및 이를 위한 자기회로 | |
| JP4361580B2 (ja) | スピーカ用振動板およびスピーカ | |
| JP2007104626A (ja) | 動電型電気音響変換器および電子機器 | |
| CN116389997A (zh) | 振动发声装置和电子设备 | |
| KR20090028877A (ko) | 전기역학적 전기음향 변환기 | |
| CN118317235B (zh) | 一种扬声器及一种扬声器箱 | |
| CN209787432U (zh) | 振动发声装置以及电子产品 | |
| JP2009200919A (ja) | スピーカ装置 | |
| KR20090003687A (ko) | 방사형 착자 방향 외륜 마그네트를 이용한 마이크로스피커 | |
| US20090323990A1 (en) | Speaker | |
| JP2010154443A (ja) | スピーカ用磁気回路、スピーカ装置及び電子機器 | |
| CN105050005A (zh) | 扬声器装置 | |
| CN220156646U (zh) | 音圈骨架组件及扬声器 | |
| CN214429699U (zh) | 喇叭 | |
| CN212850994U (zh) | 电声转换装置和电子设备 | |
| CN222030072U (zh) | 磁路系统和扬声器 | |
| JP4087878B2 (ja) | 動電型電気音響変換器および電子機器 | |
| CN214675664U (zh) | 喇叭 | |
| CN103297899A (zh) | 耳机磁性振膜 |
Legal Events
| Date | Code | Title | Description |
|---|---|---|---|
| A131 | Notification of reasons for refusal |
Free format text: JAPANESE INTERMEDIATE CODE: A131 Effective date: 20111206 |
|
| A521 | Request for written amendment filed |
Free format text: JAPANESE INTERMEDIATE CODE: A523 Effective date: 20120206 |
|
| TRDD | Decision of grant or rejection written | ||
| A01 | Written decision to grant a patent or to grant a registration (utility model) |
Free format text: JAPANESE INTERMEDIATE CODE: A01 Effective date: 20120306 |
|
| A01 | Written decision to grant a patent or to grant a registration (utility model) |
Free format text: JAPANESE INTERMEDIATE CODE: A01 |
|
| A61 | First payment of annual fees (during grant procedure) |
Free format text: JAPANESE INTERMEDIATE CODE: A61 Effective date: 20120404 |
|
| FPAY | Renewal fee payment (event date is renewal date of database) |
Free format text: PAYMENT UNTIL: 20150413 Year of fee payment: 3 |
|
| R150 | Certificate of patent or registration of utility model |
Ref document number: 4970544 Country of ref document: JP Free format text: JAPANESE INTERMEDIATE CODE: R150 Free format text: JAPANESE INTERMEDIATE CODE: R150 |