JP4906397B2 - シミュレーション装置及びシミュレーション方法 - Google Patents

シミュレーション装置及びシミュレーション方法 Download PDF

Info

Publication number
JP4906397B2
JP4906397B2 JP2006134148A JP2006134148A JP4906397B2 JP 4906397 B2 JP4906397 B2 JP 4906397B2 JP 2006134148 A JP2006134148 A JP 2006134148A JP 2006134148 A JP2006134148 A JP 2006134148A JP 4906397 B2 JP4906397 B2 JP 4906397B2
Authority
JP
Japan
Prior art keywords
movement amount
virtual
worker
setting
amount vector
Prior art date
Legal status (The legal status is an assumption and is not a legal conclusion. Google has not performed a legal analysis and makes no representation as to the accuracy of the status listed.)
Active
Application number
JP2006134148A
Other languages
English (en)
Other versions
JP2007304973A (ja
Inventor
隆史 河合
浩志 盛川
勝之 神部
史彦 斎藤
宏 西村
睦 野中
Current Assignee (The listed assignees may be inaccurate. Google has not performed a legal analysis and makes no representation or warranty as to the accuracy of the list.)
Waseda University
Mitsubishi Heavy Industries Environmental and Chemical Engineering Co Ltd
Original Assignee
Waseda University
Mitsubishi Heavy Industries Environmental and Chemical Engineering Co Ltd
Priority date (The priority date is an assumption and is not a legal conclusion. Google has not performed a legal analysis and makes no representation as to the accuracy of the date listed.)
Filing date
Publication date
Application filed by Waseda University, Mitsubishi Heavy Industries Environmental and Chemical Engineering Co Ltd filed Critical Waseda University
Priority to JP2006134148A priority Critical patent/JP4906397B2/ja
Publication of JP2007304973A publication Critical patent/JP2007304973A/ja
Application granted granted Critical
Publication of JP4906397B2 publication Critical patent/JP4906397B2/ja
Active legal-status Critical Current
Anticipated expiration legal-status Critical

Links

Images

Landscapes

  • Processing Or Creating Images (AREA)
  • User Interface Of Digital Computer (AREA)

Description

本発明は、シミュレーション装置及びシミュレーション方法に関する。
企業及び関連官庁の努力により、労働災害による死亡者数は昭和36年の6712人をピークに減少し、平成16年には1620人(就業者数約6000万人のうちの0.003%)となった。しかしながら、一度に3人以上が被災する重大災害はついては、昭和60年の141件から増加する傾向にあり、平成16年は273件と昭和60年の2倍近い件数となった。このような状況を踏まえ、厚生労働省は平成18年4月より労働安全衛生法の一部を改正し、各企業に対し“より一層の安全への配慮”を“自主的に”求めることとした。
労働災害では“はさまれ・巻き込まれ”に関連するものの頻度が高い。その原因は、機械に挟まっているものをその機械を停止せずに取り除こうとしたり、自ら危険箇所に身をさらしてしまったという“うっかりミス”、すなわちヒューマンエラーに関するものが多い。
労働災害数は長期的には減少しているが、近年その減少率が鈍化している。その理由としては、ヒューマンエラーを原因とする労働災害への対策が設備面での安全対策に比較して不十分であった可能性がある。
人間が何らかの作業をする場合には、自分自身を客観的に把握するメタ認知機能を働かせていると考えられる。具体的には、(1)作業に対する意識、(2)その作業で発生する危険に対する意識、(3)外界の変化を察知する意識がある。これらの意識のバランス(以下安全バランス)は人それぞれで、ある人は(1)70%、(2)25%、(3)5%であったり、別の人は(1)60%、(2)30%、(3)10%であったりする。このような安全バランスは、その人の経験、知識、性格などから意識の配分が決定されていると考えられる。
例えば、新人はその作業自体をよく理解していないために、安易な行動をとってしまったり、逆に恐る恐る作業してしまったりと、その作業が持つ危険に対するバランス感覚が悪い。逆に熟練者では、その作業に合わせて、危険に対する意識を増減しているものと考えられる。すなわち作業に慣れるということは、作業手順を理解し、技能を習得することのみならず、これらの安全バランスを適正に保てるようになることであるといえる。
安全バランスが適正である場合には事故が発生しないと考えられるが、安全バランスは非常に崩れやすい。例えば作業に集中し過ぎた場合や別なことを考えている場合、邪魔が入った場合などは、危険に対する注意力が散漫になる。そしてヒューマンエラーはこの安全バランスが大きく崩れた時に発生すると考えられる。これらの要因により安全バランスが大きく崩れた場合には、熟練者といえどもヒューマンエラーを発生させてしまう可能性がある。すなわちヒューマンエラーとは、誰しもが起こしうるものであり、かつ労働災害の防止にはこの安全バランスの制御が重要であると考えられる。
従来の安全教育では、心理テストを実施して作業者のエラー傾向を判定することが行われてきた。発明者は、従来の心理テストは事務所内での筆記テストに基づいて評価をするものであるため、従来の心理テストにおいては実作業現場でのヒューマンエラーに影響を及ぼす重要な要因である作業集中度、騒音、トラブルなどが排除されてしまっていることに気がついた。
そこで発明者は、より現実に近い作業状態を再現し、その中でヒューマエラーを起こすような状況を意図的に作り出し、その時の自らの行動、心理状態を作業者に客観的に把握させることが可能なシミュレーション装置が必要であることを認識した。
一方、知覚心理学の領域における最近の研究は、人間の身体感覚がこれまで考えられていたよりも簡単に変化する可変なものであり、必ずしも現実との対応を持たない仮想的なものであることを明らかにしつつある。
Botvinickらは、被験者にゴム手袋を自分の手であるかのように錯覚させる方法を報告している。この方法においては、被験者をテーブルに向かって座らせ、テーブル上に遮蔽物を設置する。被験者の右手を被験者の視界から隠れるように遮蔽物の後へまわし、ゴム手袋を被験者から見えるように遮蔽物の前に置く。以上の準備をおこなったのちに、助手がゴム手袋と被験者の右手の同じ部位に同じタイミングでランダムに接触刺激を与える。すると、被験者は、理性では「作り物」とわかっているゴム手袋を「自分の手」であるかのように実感していく。この現象は、早ければ数秒で起こるとされている。
特許文献1は、Botvinickらの方法において、現実のゴム手袋に現実に触れるかわりに、仮想的な手に仮想的に触れる映像を被験者に見せることで仮想的な手が自分の手であるかのような感覚にさせる「視覚及び触覚を利用した感覚呈示装置」を開示している。
特開2003−330582号公報
本発明の目的は、意識バランスの改善に好適なシミュレーション装置及びシミュレーション方法を提供することである。
以下に、(発明を実施するための最良の形態)で使用される番号を用いて、課題を解決するための手段を説明する。これらの番号は、(特許請求の範囲)の記載と(発明を実施するための最良の形態)との対応関係を明らかにするために付加されたものである。ただし、それらの番号を、(特許請求の範囲)に記載されている発明の技術的範囲の解釈に用いてはならない。
本発明によるシミュレーション装置は、作業者(5)の現実の身体(53)の位置情報(57)を検出する位置検出部(22)と、仮想的な身体(42)を仮想空間内に計算する身体計算部(33)と、前記仮想的な身体を含む前記仮想空間の画像(14)を表示する表示部(11)と、制御部(31)とを具備している。前記身体計算部は、前記位置情報から前記現実の身体の移動を示す第1移動量ベクトル(X)を計算し、前記第1移動量ベクトルから所定の移動量変換規則を用いて前記仮想的な身体の移動を示す第2移動量ベクトル(Y(n))を計算し、前記第2移動量ベクトルを反映させて前記仮想的な身体を計算する。前記表示部は、前記画像の中の前記仮想的な身体を示す光が前記作業者と前記現実の身体とを結ぶ前記作業者の視線上を前記作業者に向かって進むように前記画像を表示する。前記制御部は、前記移動量変換規則の設定を変更する。
移動量変換規則の設定が変更されることで、作業者は自己の心理状態を認識し、意識バランスを改善することができる。
本発明によるシミュレーション装置においては、前記制御部は、前記仮想的な身体が移動する速さと前記現実の身体が移動する速さとの対応関係が変化するように、又は、前記仮想的な身体が移動する方向と前記現実の身体が移動する方向との対応関係が変化するように、前記設定を変更する。
本発明によるシミュレーション装置においては、前記制御部は、前記第1移動量ベクトルの大きさと前記第2移動量ベクトルの大きさの比を変化させるように前記設定を変更する。
本発明によるシミュレーション装置においては、前記制御部は、前記第1移動量ベクトルが第1変化をする第1タイミングと前記第2移動量ベクトルが前記第1変化に応答した第2変化をする第2タイミングとのタイミング差を変化させるように前記設定を変更する。
本発明によるシミュレーション装置は、前記視線上に配置されたハーフミラー(12a)を具備する。前記表示部は、前記ハーフミラーに向けて前記光を出力する。
本発明によるシミュレーション装置は、前記作業者の生体情報(59、60)を検出する生体情報検出部(24、61)を具備している。
本発明によるシミュレーション装置においては、前記制御部は、前記生体情報の所定の変化に応答して前記設定を変更する。
本発明によるシミュレーション装置は、前記生体情報を記憶する記憶部(36)を具備している。前記表示部は、前記記憶部に記憶された前記生体情報を表示する。
本発明によるシミュレーション装置は、仮想的な物体(41、411〜415)を前記仮想空間内に計算する物体計算部(32)と、前記仮想的な物体と接触している前記仮想的な身体の接触部位に対応した前記現実の身体の部位に触覚刺激を与える触覚刺激部(22)とを具備している。前記画像は前記仮想的な物体を含んでいる。前記物体計算部は、前記仮想的な物体が前記仮想的な身体に接触する運動をするように前記仮想的な物体を計算する。
本発明によるシミュレーション方法は、作業者(5)に仮想空間内の仮想的な身体(42)を自己の現実の身体(53)であると錯覚させるステップ(S1)と、前記錯覚させるステップの後に、前記作業者に前記仮想空間内で所定の作業をさせるステップ(S2)とを具備している。前記錯覚させるステップ及び前記作業をさせるステップは、前記現実の身体の位置情報(57)を検出するステップと、前記位置情報から前記現実の身体の移動を示す第1移動量ベクトル(X)を計算するステップと、前記第1移動量ベクトルから所定の移動量変換規則を用いて前記仮想的な身体の移動を示す第2移動量ベクトル(Y(n))を計算するステップと、前記第2移動量ベクトルを反映させて前記仮想的な身体を前記仮想空間内に計算するステップと、表示部(11)が、前記仮想的な身体を含む前記仮想空間の画像(14)を表示するステップとを備えている。前記表示部は、前記仮想的な身体を示す光が前記作業者と前記現実の身体とを結ぶ前記作業者の視線上を前記作業者に向かって進むように前記画像を表示する。前記作業をさせるステップは、前記移動量変換規則の設定を変更するステップを備えている。
本発明によるシミュレーション方法における前記設定を変更するステップにおいては、前記仮想的な身体が移動する速さを遅くするように前記設定を変更する。
本発明によるシミュレーション方法における前記設定を変更するステップにおいては、前記第1移動量ベクトルの大きさと前記第2移動量ベクトルの大きさの比を変化させるように前記設定を変更する。
本発明によるシミュレーション方法における前記設定を変更するステップにおいては、前記第1移動量ベクトルが第1変化をする第1タイミングと前記第2移動量ベクトルが前記第1変化に応答した第2変化をする第2タイミングとのタイミング差を変化させるように前記設定を変更する。
本発明によるシミュレーション方法において前記作業をさせるステップは、仮想的な第1物体(412)を前記仮想空間内に計算するステップと、前記仮想的な第1物体を含む前記画像を表示するステップと、前記仮想的な身体の少なくとも一部が、前記仮想的な第1物体を含むように前記仮想空間内に設定された領域に入った場合に、前記仮想的な身体が所定の運動をするように前記仮想的な身体を計算する身体強制運動ステップとを備えている。ここで、前記身体強制運動ステップにおいては、前記仮想的な身体は前記位置情報に基づかないで計算される。
本発明によるシミュレーション方法において前記作業をさせるステップは、前記仮想空間内における前記仮想的な身体及び前記領域の位置に基づいて、前記仮想的な身体から前記領域を見る方向への前記仮想的な身体の移動を示す強制移動量ベクトルを生成するステップと、前記強制移動量ベクトルを反映させて前記仮想的な身体を前記仮想空間内に計算するステップを備える。
本発明によるシミュレーション方法において前記作業をさせるステップは、前記作業者の生体情報(59、60)を検出するステップを備えている。
本発明によるシミュレーション方法の前記設定を変更するステップにおいては、前記生体情報の所定の変化に応答して前記設定を変更する。
本発明によるシミュレーション方法において前記作業をさせるステップは、前記作業をさせるステップにおいて検出された前記生体情報を記憶するステップを備えている。本発明によるシミュレーション方法は、前記作業をさせるステップの後に、前記作業をさせるステップにおいて検出された前記生体情報を表示するステップ(S3)を備えている。
本発明によるシミュレーション方法おいて前記錯覚させるステップは、仮想的な第2物体(411)が前記仮想空間内で前記仮想的な身体に接触する第2運動をするように前記仮想的な第2物体を仮想空間内に計算するステップと、前記仮想的な第2物体を含む前記画像を表示するステップと、前記仮想的な第2物体と接触している前記仮想的な身体の接触部位に対応する前記現実の身体の部位に触覚刺激を与えるステップとを備えている。
本発明によるシミュレーション装置は、作業者(5)の現実の身体(53)の位置情報(57)を検出する位置検出部(22)と、仮想的な身体(42)を仮想空間内に計算する身体計算部(33)と、仮想的な物体(41、411〜415)を前記仮想空間内に計算する物体計算部(32)と、前記仮想的な身体と前記仮想的な物体とを含む前記仮想空間の画像(14)を表示する表示部(11)と、前記現実の身体を前記作業者の視界から隠す遮蔽物(12a)と、制御部(31)と、前記仮想的な物体と接触している前記仮想的な身体の接触部位に対応した前記現実の身体の部位に触覚刺激を与える触覚刺激部(21)とを具備している。前記物体計算部は、前記仮想的な物体が前記仮想的な身体に接触する運動をするように前記仮想的な物体を計算する。前記身体計算部は、前記位置情報から前記現実の身体の移動を示す第1移動量ベクトル(X)を計算し、前記第1移動量ベクトルから所定の移動量変換規則を用いて前記現実の身体の移動を示す第2移動量ベクトル(Y(n))を計算し、前記第2移動量ベクトルを反映させて前記仮想的な身体を計算しする。前記制御部は、前記移動量変換規則を変更する。
本発明によるシミュレーション方法は、作業者(5)に仮想空間内の仮想的な身体(42)を自己の現実の身体(53)であると錯覚させるステップ(S1)と、前記錯覚させるステップの後に、前記作業者に前記仮想空間内で所定の作業をさせるステップ(S2)とを具備している。前記錯覚させるステップ及び前記作業をさせるステップは、前記現実の身体の位置情報(57)を検出するステップと、前記位置情報から前記現実の身体の移動を示す第1移動量ベクトル(X)を計算するステップと、前記第1移動量ベクトルから所定の移動量変換規則を用いて前記仮想的な身体の移動を示す第2移動量ベクトル(Y(n))を計算するステップと、前記第2移動量ベクトルを反映させて前記仮想的な身体を前記仮想空間内に計算するステップと、表示部(11)が、前記仮想的な身体を含む前記仮想空間の画像(14)を表示するステップとを備えている。前記錯覚させるステップは、仮想的な物体(41、411〜415)が前記仮想空間内で前記仮想的な身体に接触する運動をするように前記仮想的な物体を仮想空間内に計算するステップと、前記仮想的な物体を含む前記画像を表示するステップと、前記仮想的な物体と接触している前記仮想的な身体の接触部位に対応する前記現実の身体の部位に触覚刺激を与えるステップとを備えている。前記表示部は、前記仮想的な身体を示す光が前記作業者と前記現実の身体とを結ぶ前記作業者の視線上を前記作業者に向かって進むように前記画像を表示する。前記作業をさせるステップは、前記移動量変換規則の設定を変更するステップを備えている。
本発明によれば、意識バランスの改善に好適なシミュレーション装置及びシミュレーション方法が提供される。
添付図面を参照して、本発明によるシミュレーション装置及びシミュレーション方法を実施するための最良の形態を以下に説明する。
図1は、本発明の実施形態に係るシミュレーション装置の構成を示している。シミュレーション装置は、支持構造1と、支持構造1が支持する表示部11及びカバー12と、作業者5が座る椅子13と、作業者5の手に装着されたインターフェースとしてのデータグローブ2と、コンピュータ3と、音声出力部15とを具備している。なお、図1(a)においては、コンピュータ3は省略されており、図1(c)においては、作業者5、データグローブ2、及び椅子13は省略されている。
なお、立ち作業を想定し、作業者5が椅子13に座らないで立って作業することとしてもよい。
図1(b)に示すように、箱形状のカバー12は、開口部を作業者5に向けており、その上面はハーフミラー12aとされている。作業者5は、データグローブ2を装着した手をカバー12の開口部からカバー12の中に入れている。データグローブ2はインターフェースとして機能する。ハーフミラー12aは、作業者5がデータグローブ2を装着した自分の手を見る視線を遮るように、且つ、表示部11の表示面11aが表示する画像を作業者5の目の方向へ反射するように設置されている。また、カバー12の内側には、照明装置12bが設けられ、仮想的な面12cが示されている。照明装置12bは、データグローブ2を装着した作業者5の手に照明を当てるため、ハーフミラー12aに対して表示面11aと異なる側に設置されている。表示面11aと仮想的な面12cとは、ハーフミラー12aに対して平面対称である。
ここで、表示面11aが表示する画像が暗く、照明装置12bが作業者5のデータグローブ2を装着した手に当てる照明が明るければ、作業者5にはデータグローブ2を装着した自分の手がハーフミラー12a越しにはっきりと見える。逆に、表示面11aが表示する画像が明るく、照明装置12bがデータグローブ2を装着した作業者5の手に当てる照明が暗ければ、作業者5にはデータグローブ2を装着した自分の手はハーフミラー12aに遮蔽されて見えず、表示面11aが表示する画像がはっきりと見える。すなわち、表示面11aが表示する画像の明るさと、照明装置12bが作業者5のデータグローブ2を装着した手に当てる照明の明るさとを相対的に変化させることで、作業者5に対して画像又は自分の手が選択的に提示される。
図2は、本発明の実施形態に係るシミュレーション装置の機能ブロック図を示している。
データグローブ2は、触覚刺激部21と、位置検出部22と、姿勢検出部23と、GSR検出部24とを備えており、作業者5の身体53(手)に装着されている。触覚刺激部21は、身体53に圧迫感を与える圧力素子、振動を与える振動素子、熱感を与える熱感素子や冷感を与える冷感素子といった触覚刺激発生器を備え、触覚刺激指令44が指定する身体53の部位に触覚刺激指令44が指定する内容の触覚刺激25を与える。位置検出部22は、身体53の位置情報57を検出し、位置検出信号26として出力する。ここで位置情報57は、例えば、カバー12を基準とした身体53の位置情報を含んでいる。姿勢検出部23は、身体53の姿勢情報58を検出し、姿勢検出信号27として出力する。ここで姿勢情報58は、身体53の関節の開き角度のような姿勢情報を含んでいる。GSR検出部24は、身体53からGSR情報59を検出し、GSR検出信号28として出力する。ここで、GSR(galvanic skin response)は、精神的動揺により起こる発汗活動と皮膚電位の変化とを意味する。GSRは、PGR(psychogalvanic response)とも言われ、うそ発見器に利用されている。
本発明の実施形態に係るシミュレーション装置は、心拍数検出器61を具備している。心拍数検出器61は、身体53から心拍数(脈拍数)情報60を検出し、心拍数検出信号62として出力する。
GSR検出器28及び心拍数検出器61は、作業者5から作業者5の心理状態を示す生体情報(59、60)を検出して生体情報検出信号(28、62)を出力する生体情報検出器である。生体情報検出器としては、光トポグラフィー装置を利用しても良い。
コンピュータ3は、制御部31と、物体計算部32と、身体計算部33と、画像情報生成部34と、触覚刺激指令生成部35、記憶部36とを備えている。制御部31は、仮想的な物体41及び仮想的な身体42の情報と、GSR検出信号28と、心拍数検出信号62とが入力され、物体運動指令45と、身体運動指令47と、音声出力指令63と、汚れ情報64と、画像情報生成指令65と、照明強度指令66と、ヒューマンエラー誘引プログラム情報67と、得点情報68とを出力する。物体計算部32は、物体運動指令45が入力され、仮想的な物体41が物体運動指令45に基づいて運動するように、仮想的な物体41を仮想空間内に計算する。身体計算部33は、位置検出信号26と、姿勢検出信号27と、身体運動指令47とが入力され、これらに基づいて仮想的な身体42を仮想空間内に計算する。このとき身体計算部33は、仮想的な身体42が位置検出信号26及び姿勢検出信号27に基づいて運動するように、仮想的な身体42を計算する。画像情報生成部34は、仮想的な物体41及び仮想的な身体42の情報と、汚れ情報64と、画像情報生成指令65と、作業記録情報71とが入力され、これらに基づいて画像14を表示させるための画像情報43を生成し、画像情報43を表示部11に対して出力する。触覚刺激指令生成部35は、仮想的な物体41及び仮想的な身体42の情報が入力され、仮想的な物体41と仮想的な身体42との接触状態に対応する触覚刺激指令44を生成し、触覚刺激部21に対して出力する。ここで、触覚刺激指令44は、仮想的な物体41と接触している仮想的な身体42の接触部位に対応した身体53の部位を示す情報と、仮想的な身体42が仮想的な物体41から受けている接触刺激の内容についての情報とを含んでいる。ここで、接触刺激の内容についての情報とは、振動の強弱、硬軟、冷熱、接触圧の強弱などである。記憶部36は、画像情報43と、GSR検出信号28と、心拍数検出信号62と、ヒューマンエラー誘引プログラム情報67と、得点情報68とが入力され、これらが示す情報を時間によって相互に関連付けて作業記録テーブル70に記憶する。また記憶部36は、作業記録テーブル70に記憶した情報を読み出して作業記録情報71として画像情報生成部34に対して出力する。
表示部11は、画像情報43が入力され、画像14を作業者5に対して表示する。音声出力部15は、音声出力指令63が入力され、音声出力指令63が指定する音声を出力する。照明装置12bは、照明強度指令66が入力され、照明強度指令66にしたがって照明の明るさを調節する。
作業者5は、図2に示すように、目51と、脳52と、身体53とを有するシステムとして把握され得る。目51は、画像14を視覚情報54として脳52に伝える。身体53は、身体感覚情報55を脳52に伝える。身体感覚情報55は、身体53が受けている触覚刺激25や身体53の位置情報57及び姿勢情報58を含んでいる。
図6に示されるように、制御部31は、仮想的な身体42の移動量を計算するための係数として、変換係数k1と、割増・割引係数k2と、時定数係数k3と、強制移動係数k4とを設定し、これらを示す情報を含む身体運動指令47を出力する。また、制御部31は、仮想空間内の領域としての危険エリアを設定する。危険エリアは、例えば、後述する汚泥脱水機の回転部分412を含むように設定される。制御部31は、危険エリアの仮想空間内の位置を示す危険エリアの位置ベクトルPkと、仮想的な身体41の仮想空間内の位置を示す仮想的な身体の位置べクトルPcとについての情報を含む身体運動指令47を出力する。
図7に示されるように、身体計算部33は、身体運動指令47に基づいて、移動量ベクトルY(n)を式(1)のように計算し、仮想的な身体42が移動量ベクトルY(n)に従って仮想空間内を移動するように仮想的な身体42を計算する。
Y(n)=k1・k2・k3・X+(1−k3)・Y(n−1)+k4・(Pk−Pc)…(1)
移動量ベクトルY(n)は、右辺第1項のベクトルと、右辺第2項のベクトルと、右辺第3項のベクトルとの和として表現されている。右辺第1項のベクトルは、身体計算部33が位置検出信号26に基づいて計算した身体53の移動を示す移動量ベクトルXと、変換係数k1と、割増・割引係数k2と、時定数係数k3との積である。右辺第2項のベクトルは、身体計算部33が前回計算した仮想的な身体42の移動量ベクトルY(n−1)と(1−k3)との積である。右辺第3項のベクトルは、仮想的な身体42から危険エリアを見る方向のベクトル(Pk−Pc)と強制移動係数k4の積である。変換係数k1は、割増・割引係数k2、及び時定数係数k3が1に設定され、強制移動係数k4がゼロに設定されている場合に、作業者5から見た身体53の移動量ベクトルと作業者5から見た画像14に表示された仮想的な身体42の移動量ベクトルとが、始点、方向、大きさにおいて一致するように設定されている。ここで、表示部11が画像14を表示することは画像14を示す光を表示面11aから出力することである。したがって、変換係数k1の設定を別の言葉で表現すれば、変換係数k1は、割増・割引係数k2、及び時定数係数k3が1に設定され、強制移動係数k4がゼロに設定されている場合に、表示部11から出力され、ハーフミラー12aによって反射された画像14の中の仮想的な身体42を示す光が、作業者5が身体53を見る視線を逆方向に進むように設定されている。なお、割増・割引係数k2は、正の値をとる。時定数係数k3は、ゼロより大きく1以下の値をとる。強制移動係数k4は、ゼロ以上の値をとる。
図3は、本発明の実施形態に係るシミュレーション方法についてのフローチャートを示している。本発明の実施形態に係るシミュレーション装置を使用するこのシミュレーション方法は、作業者5に仮想空間内の仮想的な身体42を自己の身体であると錯覚させるステップS1と、作業者5に仮想空間内で所定の作業をさせるステップS2と、ステップS2において行った作業に関する評価を表示するステップS3とを有している。作業者5は、予めステップS1において仮想的な身体42を自己の身体53であるかのように錯覚しているため仮想的な身体42を自己の身体53と認識した状態でステップS2における作業をすることとなる。
図4に示すように、ステップS1は、ステップS11と、ステップS12と、ステップS13と、ステップS14とを有している。
ステップS11〜ステップS14においては、制御部31は、割増・割引係数k2及び時定数係数k3を1に設定し、強制移動係数k4をゼロに設定している。
ステップS11は、準備をするステップである。作業者5は、椅子13に座り、データグローブ2を装着した身体53(手)をカバー12の開口部からカバー12の中に入れ、ハーフミラー12a越しに身体53を見る。
ステップS12は、表示部11が身体53の位置及び姿勢にリアルタイムで追従する仮想的な身体42を含む画像14の表示を開始するステップである。位置検出部22は位置情報57を検出して位置検出信号26を出力し、姿勢検出部23は姿勢情報58を検出して姿勢検出信号27を出力する。身体計算部33は、身体運動指令47、位置検出信号26、及び姿勢検出信号27が入力され、位置情報57及び姿勢情報58が反映された仮想的な身体42を仮想空間内に計算する。画像情報生成部34は、仮想的な身体42を含む仮想空間の画像14を示す画像情報43を生成して出力する。表示部11は、画像情報43に基づいて画像14を作業者5に対して表示する。このとき、画像14として表示されている仮想的な身体42は、身体53の位置及び姿勢にリアルタイムで追従して運動する。
ステップS13は、照明と画像の明るさを調節するステップである。制御部31は、画像14を時間の経過とともに徐々に明るくさせるための画像情報生成指令65を出力し、照明装置12bが身体53に当てている照明を時間の経過とともに徐々に暗くさせるための照明強度指令66を出力する。画像情報生成部34は、画像情報生成指令65に応答して、画像14が時間の経過とともに徐々に明るくなるように画像情報43を生成する。照明装置12bは、照明強度指令66に応答して身体53に当てている照明を時間の経過とともに徐々に暗くする。このようにすることで、身体53が作業者5の視界から隠され、身体53の位置及び姿勢が反映された仮想的な身体42が画像14として作業者5に示される。このとき、作業者5は、自己の身体53があるべき位置に表示され、且つ、身体動作指令56のとおりに動作する仮想的な身体42を、自己の身体53であるかのように錯覚する。
ステップS14は、仮想的な身体42に物体が繰り返し接触する画像14を表示し、画像14に同期した触覚刺激25を身体53に与えるステップである。物体計算部32は、仮想空間内に仮想的な物体41としての第1物体411を計算する。ここで、制御部31は、第1物体411及び仮想的な身体42の情報に基づいて、第1物体411を仮想的な身体42に繰り返し接触させるための物体運動指令45を生成して物体計算部32に対して出力する。物体計算部32は、物体運動指令45が規定する運動をするように第1物体411を計算する。したがって、表示部11は、第1物体411が仮想的な身体42に繰り返し接触する画像14を表示する。一方、触覚刺激指令生成部35は、第1物体411と仮想的な身体42とが接触したタイミングで、接触の部位及び接触刺激の内容を示す触覚刺激指令44を生成して出力する。触覚刺激部21は、触覚刺激指令44に対応する触覚刺激25を身体53に与える。ここで、身体53が触覚刺激部21から受ける触覚刺激25と、目51が表示部11から受ける画像14とでは、接触の部位、強弱等の接触刺激の内容、接触のタイミングとが一致するため、作業者5は、画像14として表示された仮想的な身体42を、自己の身体53であるかのように更に強く錯覚する。
なお、作業者5から見た身体53の移動量ベクトルと作業者5から見た画像14に表示された仮想的な身体42の移動量ベクトルとが、始点、方向、大きさにおいて一致するようになされていない場合であっても、ステップS14によって作業者5に仮想的な身体42を自己の身体53であるかのように錯覚させることは可能である。この場合、ハーフミラー12aのような遮蔽物によって身体53が作業者5の視界から隠されていることが好ましい。
ステップS2においては、作業者5は、画像14として表示される仮想的な身体42を自己の身体53であると錯覚した状態で、所定の作業を仮想的に行う。ここでは、汚泥脱水機に付着した汚れを清掃する作業を例として説明する。
仮想的な物体41としての汚泥脱水機は、回転をしている回転部分412と、それ以外の部分である清掃対象部分413とを有している。作業者5は、回転部分412に巻きこまれないように注意しながら清掃対象部分413に付着した汚れ414を仮想的な物体41としてのウエス415を用いて拭き取る。
図6に示されるように、制御部31は、汚れに関する情報310を設定することで汚れ414を発生させる。汚れに関する情報310は、清掃対象部分413上の位置と、汚れが付着している清掃対象部分413上の範囲と、汚れの程度と、汚れの落ち易さと、汚れを落とすことにより加算される得点とを設定している。ここで、汚れの程度としては、汚れの色を指定する数値又は汚れの透過度を指定するアルファ値のような所定の数値が設定されている。落ち易さとしては、汚れの程度を示す数値を減少させる単位減少分が設定されている。汚れを落とすことにより加算される得点は、例えば、回転部分412に近い汚れ414では高く、回転部分412から遠い汚れ414では低く、ただし回転部分412を含むように設定された危険エリア内の汚れ414では減点となるように設定することが可能である。
ステップS2においては、物体計算部32は、仮想的な物体41としての回転部分412、汚れ414が付着した清掃対象部分413、及びウエス415を仮想空間内に計算する。物体運動指令45は、回転部分412の回転運動を規定している。また、制御部31は、仮想的な身体42がウエス415の位置で掴む姿勢をとっている場合は、ウエス415が仮想的な身体42と一体となって動くことを規定する物体運動指令45を生成して出力する。制御部31は、汚れに関する情報310を設定した場合には、汚れに関する情報310において設定されている汚れ414の位置、範囲、及び程度を指定する汚れ情報64を画像情報生成部34に対して出力する。画像情報生成部34は、汚れ情報64が指定する汚れ414が付着した清掃対象部分413を含む画像14を示す画像情報43を生成する。制御部31は、仮想的な物体41としてのウエス415と仮想的な物体41としての汚れ414との位置が重なっている場合において両者が相対的に移動したときに汚れに関する情報310に設定されている汚れの程度を示す数値を汚れの落ち易さを示す単位減少分だけ減少させる。したがって、作業者5は、仮想的な身体42がウエス415の位置にくるように身体53を動かし、さらに、掴む姿勢をとるように身体53を動かすことで、仮想的な身体42でウエス415を掴むことができる。そして、作業者5が、ウエス415で汚れ414をこするように身体53を動かせば、そのたびに汚れに関する情報310に設定されている汚れの程度を示す数値が減少し、汚れ414がウエス415で拭き取られていくかのような画像14が表示される。ここで、制御部31は、汚れに関する情報310に設定されている汚れの程度を示す数値が所定の値(例えばゼロ)以下にまで減少した場合は、汚れに関する情報310の設定を取り消す。なお、制御部31は、同時に複数の汚れに関する情報310を設定することで複数の異なる汚れ414を発生させることが可能である。
ステップS2においては、触覚刺激指令生成部35は、仮想的な物体41としての清掃対象部分413と仮想的な身体42とが接触している場合、触覚刺激部21に振動としての触覚刺激25を身体53に与えさせる触覚刺激指令44を出力してもよい。汚泥脱水機の振動が身体53に伝わるために現実感が高まる。
図5に示すように、ステップS2は、ステップS21と、ステップS22と、ステップS23と、ステップS24と、ステップS25と、ステップS26とを有している。
ステップS21、ステップS22、ステップS25においては、制御部31は、ヒューマンエラー誘引プログラムが実行されていないときの設定として、割増・割引係数k2及び時定数係数k3を1に設定し、強制移動係数k4をゼロに設定している。
ステップS21は、1台目の汚泥脱水機の清掃作業をするステップである。制御部31は、汚れに関する情報310を設定することで汚れ414を発生させる。作業者5は、汚れ414をウエス415で拭き取る汚泥脱水機の清掃作業を仮想的に実行する。ステップS21においては、作業者5を仮想的な清掃作業に慣れさせることが目的であり、清掃作業に対して制限時間は設けられていない。また、作業中に事故は発生せず、事故の発生しやすい状況を意図的につくるためのヒューマンエラー誘引プログラムも実行されない。
ステップS22は、2台目の汚泥脱水機の清掃作業を実行するステップである。制御部31は、汚れに関する情報310を設定することで汚れ414を発生させる。作業者5は、汚れ414をウエス415で拭き取る汚泥脱水機の清掃作業を仮想的に実行する。制御部31は、回転部分412を含むように危険エリアを設定し、仮想的な身体42又は仮想的な身体42が保持しているウエス415が危険エリアに入らないか監視する。
ステップS22においては、本発明の実施形態に係るシミュレーション装置は、ヒューマンエラー誘引プログラムを実行する。
図8は、ヒューマンエラー誘引プログラムを示している。
作業への集中過多によるミスを誘引しようとするヒューマンエラー誘引プログラムは、作業者5に手元ばかりを見させるような、つまり画像14の中の仮想的な身体42の近くだけを見させるような演出を行うものである。具体的には、汚れを落とすごとに得点を加算すること、作業者5の視覚を制限すること、若しくは得点が一定値を超えた場合に汚れを落ちにくくするとともに汚れの発生位置を危険エリアに近づけること、又はこれらを組み合わせたものを実行する。
汚れを落とすごとに得点を加算するため、制御部31は、汚れ414が拭き取られて汚れに関する情報310で設定されている汚れの程度を示す数値が所定の値以下になった場合に、汚れに関する情報310で設定されている得点分だけ加算した総得点を計算する。そして制御部31は、総得点が画像14の中に表示される画像情報43を画像情報生成部34に生成させるための画像情報生成指令65を画像情報生成部34に対して出力する。したがって、表示部11は、画像14中に総得点を表示する。
作業者5の視覚を制限するため、制御部31は、画像14を暗くさせる画像情報43、又は、画像14中に仮想的な身体42の近傍だけをはっきりと表示させる画像情報43を、画像情報生成部34に生成させるための画像情報生成指令65を出力する。したがって、表示部11は、相対的に暗い画像14、又は、仮想的な身体42の近傍だけがはっきりと表示された画像14を表示する。
総得点が一定値を超えた場合には、汚れを落ちにくくするとともに汚れの発生位置を危険エリアに近づけるため、制御部31は、汚れに関する情報310を設定して汚れ414を発生させるときに、汚れの落ち易さを示す単位減少分を小さく設定し、汚れの位置を危険エリアの近くに設定する。
作業者5は、作業への集中過多によるミスを誘引しようとするヒューマンエラー誘引プログラムが実行された状況で作業を行うことにより、集中過多であることを自覚できるようになり、メタ認知による注意配分を改善することができる。
見た目判断によるミスを誘引しようとするヒューマンエラー誘引プログラムは、作業環境に対して作業者5が持った第一印象と現在の作業環境とにずれを生じさせる演出を行うものである。具体的には、注意をそらすような表示をしている間に汚れを危険エリアに移動させること、若しくは仮想的な身体42を危険エリアの方に移動させる場合に作業者5が意図するよりも大きく移動させること、又はこれらを組み合わせたものを実行する。
注意をそらすような表示をしている間に汚れを危険エリアに移動するため、制御部31は、汚れに関する情報310を設定して危険エリア外に汚れ414を発生させる。その後制御部31は、作業者5の注意をそらせるような所定の表示を含む画像14の画像情報43を画像情報生成部34に生成させるための画像情報生成指令65を出力する。そして制御部31は、表示部11が作業者5の注意をそらせるような所定の表示をしている間に汚れに関する情報310における汚れの位置の設定を危険エリア内となるように変更する。したがって、作業者5が所定の表示に気を取られているあいだに汚れ414の位置が危険エリア内に変更される。
仮想的な身体42を危険エリアの方に移動させる場合に作業者5が意図するよりも大きく移動させるため、制御部31は、移動量ベクトルY(n−1)と同じ方向を向く単位ベクトルと仮想的な身体42から危険エリアを見る方向を示す単位ベクトルとの内積が所定の値より大きい場合に、割増・割引係数k2を1より大きい値に設定する。したがって、作業者5が仮想的な身体42を危険エリアの方に動かそうとする場合には、仮想的な身体42は作業者5が意図するよりも大きく移動する。
作業者5は、見た目判断によるミスを誘引しようとするヒューマンエラー誘引プログラムが実行された状況で作業を行うことにより、第一印象に対する信頼度を低減してメタ認知による注意配分を改善することができる。
パニック状態によるミスを誘引しようとするヒューマンエラー誘引プログラムは、所定の異音を大音量で発生させる演出を行うものである。具体的には、サイレンの音、衝突音、爆発音のような危険を連想させる音を発生すること、若しくは悲鳴を発生すること、又はこれらを組み合わせたものを実行する。
制御部31は、危険を連想させる所定の音、又は、所定の悲鳴を発生させるための音声出力指令63を音声出力部15に対して出力する。音声出力部15は、音声出力指令63に従って、危険を連想させる所定の音、又は所定の悲鳴を大音量で発生する。
集中力欠如によるミスを誘引しようとするヒューマンエラー誘引プログラムは、作業者5の視覚情報54と身体感覚情報55とにずれを生じさせる演出を行うものである。具体的には、身体53の移動とは無関係に仮想的な身体42を移動させて仮想的な身体42を危険エリアに近づけること、雑音・騒音などの所定の効果音を発生すること、画像14の端に作業とは無関係の所定のメッセージを一瞬だけ表示すること、若しくは作業中にウエスの大きさを変化させること、又はこれらを組み合わせたものを実行する。
身体53の移動とは無関係に仮想的な身体42を移動させて仮想的な身体42を危険エリアに近づけるために、制御部31は、強制移動係数k4を正の値に設定する。したがって仮想的な身体42は、作業者5の意思が反映された身体53の移動とは無関係に危険エリアに接近する。
雑音・騒音などの所定の効果音を発生するために、制御部31は、所定の効果音を発生させるための音声出力指令63を音声出力部15に対して出力する。音声出力部15は、音声出力指令63に従って、所定の効果音を発生する。
画像14の端に作業とは無関係の所定のメッセージを一瞬だけ表示させるため、制御部31は、画像14の端に所定のメッセージが一時的に表示される画像情報43を画像情報生成部34に生成させるための画像情報生成指令65を出力する。したがって表示部11は、画像14の端に作業とは無関係なメッセージを一時的に表示する。
作業中にウエス415の大きさを変化させるため、物体計算部32は、サイズが大きく又は小さくなるようにウエス415を計算する。
作業者5は、集中力欠如によるミスを誘引しようとするヒューマンエラー誘引プログラムが実行された状況で作業を行うことにより、技能ベースの作業における身体感覚と視覚情報のずれを認識し、メタ認知による意識配分を改善することができる。
慌てることによるミスを誘引しようとするヒューマンエラー誘引プログラムは、作業者5を慌てさせる演出を行うものである。具体的には、制限時間を設けること、若しくは作業を急がせるような所定のメッセージを表示すること、又はこれらを組み合わせたものを実行する。
制御部31は、制限時間を設定し、画像14中に残り時間が表示される画像情報43を画像情報生成部34に生成させるための画像情報生成指令65を出力する。したがって表示部11は、画像14中に残り時間を表示する。
作業を急がせるような所定のメッセージを表示させるため、制御部31は、画像14中に所定のメッセージが表示される画像情報43を画像情報生成部34に生成させるための画像情報生成指令65を出力する。したがって、表示部11は、画像14中に所定のメッセージを表示する。
イライラ(ストレス)によるミスを誘引しようとするヒューマンエラー誘引プログラムは、作業者をイライラさせるような演出を行うものである。具体的は、仮想的な身体42を汚れ414の方へ移動させる場合に作業者5が意図するよりも小さく移動させること、汚れ414を落ちにくくすること、若しくは作業者5をイライラさせる(作業者5にストレスを与えるような)表示をすること、又はこれらを組み合わせたものを実行する。
仮想的な身体42を汚れ414の方へ移動させる場合に作業者5が意図するよりも小さく移動させるため、制御部31は、移動量ベクトルY(n−1)と同じ方向を向く単位ベクトルと仮想的な身体42から汚れ414を見る方向を示す単位ベクトルとの内積が所定の値より大きい場合に、割増・割引係数k2を1より小さい値に設定する。したがって、作業者5が仮想的な身体42を汚れ414の方に動かそうとする場合には、仮想的な身体42は作業者5が意図するよりも小さく移動する。
汚れ414を落ちにくくするため、制御部31は、汚れに関する情報310を設定して汚れ414を発生させるときに、汚れの落ち易さを示す単位減少分を小さく設定する。あるいは、制御部31は、ウエス415と汚れ414との位置が重なっている場合において両者が相対的に移動したときに汚れに関する情報310に設定されている汚れの程度を示す数値を汚れの落ち易さを示す単位減少分だけ減少させるか否かをランダムに選択する。したがって、汚れ414をウエス415で拭いたときに、汚れ414が少ししか落ちなくなり、又は、汚れ414が全く落ちない場合が生じる。
作業者5をイライラさせるような表示をするため、制御部31は、画像14中に所定の表示、例えば作業が遅いことを非難する表示がなされる画像情報43を画像情報生成部34に生成させるための画像情報生成指令65を出力する。したがって、表示部11は、画像14中にこの表示を表示する。
ここで、制御部31は、生体情報検出器としてのGSR検出部24及び心拍数検出器61が出力したGSR検出信号28及び心拍数検出信号62に基づいて、イライラ(ストレス)によるミスを誘引しようとするヒューマンエラー誘引プログラムを実行するタイミングを決定してもよく、又は、仮想的な身体42を汚れ414の方へ移動させる場合に作業者5が意図するよりも小さく移動させること、汚れ414を落ちにくくすること、若しくは作業者5をイライラさせる(作業者5にストレスを与えるような)表示をすること、又はこれらを組み合わせたものを実行すること、のいずれを行うかを選択してもよい。ここで「GSR検出信号28及び心拍数検出信号62に基づいて」とは、例えば、GSR検出信号28及び心拍数検出信号62が示す数値が所定の閾値をまたいで変化したことに応答してヒューマンエラー誘引プログラムを実行すること、又は、実行すべきヒューマンエラー誘引プログラムの具体的内容をGSR検出信号28及び心拍数検出信号62が示す数値又は数値の変化に対応させて予め設定しておいてその内容を実行することである。GSR検出信号28及び心拍数検出信号62に基づいてイライラ(ストレス)によるミスを誘引しようとするヒューマンエラー誘引プログラムを実行することとすれば、作業者5を確実にイライラさせることができる。
ステップS23は、制御部31がステップS22において、仮想的な身体42又は仮想的な身体42に保持されたウエス415が危険エリアに入ったことを検出し、又は、汚れ414が全て拭き取られて作業が終了したことを検出するステップである。ステップS23において制御部31が危険エリアに入ったことを検出した場合はステップS24に進み、作業が終了したことを検出した場合にはステップS25に進む。
ステップS24においては、制御部31は、ウエス415及び仮想的な身体42が回転部分412に巻きこまれたときのウエス415及び仮想的な身体42の運動をそれぞれ指定する物体運動指令45及び身体運動指令47を出力する。身体運動指令47が指定する運動は、巻きこまれによる身体の変形、身体の位置の変化、又はその両者を含むものとする。身体計算部33は、仮想的な身体42が身体運動指令47が指定する運動をするように仮想的な身体42を計算する。このとき身体計算部は、位置情報57及び姿勢情報58がまったく反映されないように仮想的な身体42を計算してもよく、部分的に反映されるように計算してもよい。
また、ステップS24においては、触覚刺激指令生成部35は触覚刺激指令44を出力しなくても良いが、出力した場合には作業者5は仮想的な身体42の身体運動指令47に基づく運動に高度の現実感を覚える。ここで、触覚刺激指令生成部35が仮想的な身体42と仮想的な物体41とに基づいて触覚刺激指令44を出力するときには、触覚刺激25が所定の強度を超えないように触覚刺激部21が調整されていることが望ましい。
作業者5は、画像14中に表示される仮想的な身体42を自己の身体53であると錯覚しているため、事故が現実に起きたときと同様の身体感覚情報55が脳52に入力されない場合であっても、脳52に入力される仮想的な身体42の事故による運動という視覚情報54によって、現実に事故を経験しているかのような感覚に襲われる。
ステップS24が終了するとステップS3に進む。
ステップS25は、3台目の汚泥脱水機の清掃作業を実行するステップである。制御部31は、汚れに関する情報310を設定することで汚れ414を発生させる。作業者5は、汚れ414をウエス415で拭き取る汚泥脱水機の清掃作業を仮想的に実行する。制御部31は、回転部分412を含むように危険エリアを設定し、仮想的な身体42又は仮想的な身体42が保持しているウエス415が危険エリアに入らないか監視する。
ステップS25においては、本発明の実施形態に係るシミュレーション装置は、ステップS22と同様にヒューマンエラー誘引プログラムを実行する。このとき、ヒューマンエラー誘引プログラムを実行する頻度を増加すること等により、作業をより難しくすることが可能である。
ステップS26は、制御部31がステップS25において、仮想的な身体42又は仮想的な身体42に保持されたウエス415が危険エリアに入ったことを検出し、又は、汚れ414が全て拭き取られて作業が終了したことを検出するステップである。ステップS26において制御部31が危険エリアに入ったことを検出した場合はステップS24に進み、作業が終了したことを検出した場合にはステップS3に進む。
ステップS2においては、特にステップS21、S22、S25においては、記憶部36は、画像情報43と、GSR検出信号28と、心拍数検出信号62と、ヒューマンエラー誘引プログラム情報67と、得点情報68とが入力され、これらが示す情報を記憶部36に入力された時(又はこれらが生成された時)によって相互に関連付けて作業記録テーブル70に記憶する。ステップS2において、制御部31は、ヒューマンエラー誘引プログラムを実行したときにその内容を示すヒューマンエラー誘引プログラム情報67を出力し、汚れ414を拭き取ったことにより得点を加算したときにその加算した得点と加算後の総得点とを示す得点情報68を出力する。
本実施形態に係るシミュレーション装置は、ステップS22及びステップS25において、以下に示す3つの処理を実行してもよい。
第1の処理として、制御部31は、1に設定されていた時定数係数k3を1より小さい値に設定する。すると、仮想的な身体42が移動する速さが遅くなる。同様にして仮想的な身体42の姿勢が変化する速さも遅くすることができる。つまり、仮想的な身体42が動く速さを遅くすることができる。このとき作業者5は、自己の身体53が突然重たくなったかのように感じる。
第2の処理として、制御部31は、1に設定されていた割増・割引定数k2を1より大きい値に設定する。または、第2の処理として、制御部31は、ゼロに設定されていた強制移動係数k4を正の値に設定する。作業者5が意図するよりも仮想的な身体42が大きく移動するため、作業者5は自己の身体53が何かに引っ張られて移動したかのように感じる。第2の処理においては、移動量ベクトルXの大きさと移動量ベクトルY(n)の大きさとの比が変化する。
第3の処理として、制御部31は、割増・割引定数k2及び時定数係数k3を変化させる。また、第3の処理として、制御部31は、割増・割引定数k2、時定数係数k3、及び強制移動係数k4を時間や条件に応じて変化させる。このとき、移動量ベクトルXが変化するタイミングと、この変化に応答して移動量ベクトルY(n)が変化するタイミングとのタイミング差が変化する。つまり、身体53の動きが変化するタイミングと、この動きの変化に応答して仮想的な身体42の動きが変化するタイミングとのタイミング差が変化する。第3の処理によりこのタイミング差を大きくすれば、作業者5は、今まで身体53であると錯覚していた仮想的な身体42が突然に身体動作指令56に応答しなくなるため、これまで仮想的な身体42に誘発されていた身体感覚が自己の身体53に戻る。これにより、作業者5に身体感覚がずれていたことを気づかせることができる。
ステップS3は、ステップS2で実行した作業についての作業者5の評価を表示するステップである。制御部31は、作業についての作業者5の評価を表示する画像14の画像情報43を画像情報生成部34に生成ささるための画像情報生成指令65を出力する。画像情報生成部34は、記憶部36が出力した作業記録テーブル70に記録されたステップS2における作業中の画像情報43、GSR検出信号28、心拍数検出信号62、ヒューマンエラー誘引プログラム情報67、及び得点情報68を示す作業記録情報71に基づいて画像情報43を生成する。したがって表示部11は、作業についての作業者5の評価を表示する画像14を表示する。このとき画像14は、ステップS2における作業中の場面を示す画像と、得点と、作業中に実行されたヒューマンエラー誘引プログラムの内容と、作業者5の心理状態を示す生体情報としてのGSR情報59及び心拍数情報60とを、これらについての時間情報とともに表示するものであってもよい。
作業者5は、ステップS3により作業中の自身の行動と心理状態とを客観的に把握することができる。
作業者5は、ステップS22及びステップS25において、現実さながらの緊張感を感じつつ高度の集中力を発揮して仮想的な作業を実行する。したがって、作業者5は、この仮想的な作業によって現実の作業をしたのと同じような経験を積むことができる。
また、本実施形態に係るシミュレーション装置を使用すれば、危険な作業のトレーニングも安全かつ効果的に行なうことができる。また、このシミュレーション装置は、作業者の能力や適正の評価に利用しても良い。
本実施形態に係るシミュレーション装置は、機械の清掃のみならず、外科手術等を含む様々な作業の訓練及び作業者の評価に利用することができるが、自己の安全を確保しながら作業しなければならない場合に特に好適である。
本実施形態に係るシミュレーション装置は、データグローブ2の代わりとなる全身を覆うデータスーツとゴーグル型の表示部11とを作業者5に装着することで、全身を使う作業に対しても適用できる。
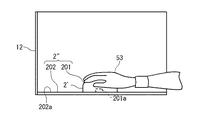
また、図9に示すように、データグローブ2の代わりに触覚刺激部21及びGSR検出部24が組み込まれたマウス2’を使用してもよい。マウス2’は、ボールによる移動検出手段、又は、光学式移動検出手段を位置検出部22として備えている。この場合、姿勢検出部23としてのマウス2’の左ボタン又は右ボタンが押されているときに身体(手)53が物を掴む姿勢であることが検出される。従来のマウスを改造したマウス2’をインターフェースとして用いれば、本実施形態に係るシミュレーション装置を低コストで製造できる。
また、図9に示すように、データグローブ2の代わりにタブレット式マウス2’’をインターフェースとして使用してもよい。タブレット式マウス2’’は、マウスの形状をしているマウス形状体201と、位置検出板202とを備えている。マウス形状体201は、通常のマウスのような左ボタン及び右ボタンを備えている。マウス形状体201は、ボール式又は光学式による位置検出手段を備える代わりに位置指示器201aを備え、さらに、触覚刺激部21及びGSR検出部24を備えている。位置検出板202は、平面202aに沿って配列された多数のセンサを備えている。位置検出部22としての位置指示器201a及び位置検出板202は、両者の間の電磁波の授受により、位置情報57を平面202a上の2次元座標情報として検出する。この場合、姿勢検出部23としてのマウス形状体201の左ボタン又は右ボタンが押されているときに身体(手)53が物を掴む姿勢であることが検出される。タブレット式マウス2’’は、位置検出板とペンとからなる公知のタブレットにおいてはペンに装備される位置指示器をマウス形状体201に装備したものとして理解することも可能である。タブレット式マウス2’’は、マウス2’と同様に本実施形態に係るシミュレーション装置の低コスト化に貢献するが、身体(手)53の絶対座標を検出できる点がマウス2’よりも優れている。
なお、平面202aを仮想的な面12cの位置に配置し、マウス2’又はマウス形状体201を平面202aに沿って移動させることとしてもよい。
図1は、本発明の実施形態に係るシミュレーション装置の構成を示す図である。図1(a)は、シミュレーション装置の側面図である。図1(b)は、シミュレーション装置の側面図であって、表示部と、ハーフミラーと、作業者の手に装着されたデータグローブとの空間的配置を示す。図1(c)は、シミュレーション装置の正面図である。 図2は、本発明の実施形態に係るシミュレーション装置の機能ブロック図である。 図3は、本発明の実施形態に係るシミュレーション方法を示すフローチャートである。 図4は、作業者に仮想空間内の身体を自己のものと錯覚させるステップについて示すフローチャートである。 図5は、作業者に仮想空間内で作業をさせるステップについて示すフローチャートである。 図6は、制御部が設定する情報について説明するための図である。 図7は、身体計算部が仮想的な身体の移動量を計算する式について説明するための図である。 図8は、ヒューマンエラー誘引プログラムを示す図である。 図9は、マウス及びタブレット式マウスについて示す図である。
符号の説明
1…支持構造
11…表示部
11a…表示面
12…カバー
12a…ハーフミラー
12b…照明装置
12c…仮想的な面
13…椅子
14…画像
15…音声出力部
2…データグローブ(インターフェース)
2’…マウス(インターフェース)
2’’…タブレット式マウス(インターフェース)
201…マウス形状体
201a…位置指示器
202…位置検出板
202a…平面
21…触覚刺激部
22…位置検出部
23…姿勢検出部
24…GSR検出部
25…触覚刺激
26…位置検出信号
27…姿勢検出信号
28…GSR検出信号
3…コンピュータ
31…制御部
310…汚れに関する情報
32…物体計算部
33…身体計算部
34…画像情報生成部
35…触覚刺激指令生成部
36…記憶部
41…仮想的な物体
411…第1物体
412…回転部分
413…清掃対象部分
414…汚れ
415…ウエス
42…仮想的な身体
43…画像情報
44…触覚刺激指令
45…物体運動指令
47…身体運動指令
5…作業者
51…目
52…脳
53…身体(手)
54…視覚情報
55…身体感覚情報
56…身体動作指令
57…位置情報
58…姿勢情報
59…GSR情報
60…心拍数(脈拍)情報
61…心拍数(脈拍)検出器
62…心拍数(脈拍)検出信号
63…音声出力指令
64…汚れ情報
65…画像情報生成指令
66…照明強度指令
67…ヒューマンエラー誘引プログラム情報
68…得点情報
70…作業記録テーブル
71…作業記録情報

Claims (19)

  1. 作業者の現実の身体の位置情報を検出する位置検出部と、
    仮想的な身体を仮想空間内に計算する身体計算部と、
    前記仮想的な身体を含む前記仮想空間の画像を表示する表示部と、
    制御部と
    を具備し、
    前記身体計算部は、前記位置情報から前記現実の身体の移動を示す第1移動量ベクトルを計算し、前記第1移動量ベクトルから所定の移動量変換規則を用いて前記仮想的な身体の移動を示す第2移動量ベクトルを計算し、前記第2移動量ベクトルを反映させて前記仮想的な身体を計算し、
    前記表示部は、前記画像の中の前記仮想的な身体を示す光が前記作業者と前記現実の身体とを結ぶ前記作業者の視線上を前記作業者に向かって進むように前記画像を表示し、
    前記移動量変換規則は、第1設定において、前記作業者から見た前記現実の身体の移動量ベクトルと前記作業者から見た前記画像に表示された前記仮想的な身体の移動量ベクトルとが、始点、方向、及び大きさにおいて一致するように設定され、
    前記制御部は、前記仮想的な身体が移動する速さと前記現実の身体が移動する速さとの対応関係が変化するように、又は、前記仮想的な身体が移動する方向と前記現実の身体が移動する方向との対応関係が変化するように前記移動量変換規則の設定を前記第1設定から第2設定に変更する
    シミュレーション装置。
  2. 作業者の現実の身体の位置情報を検出する位置検出部と、
    仮想的な身体を仮想空間内に計算する身体計算部と、
    前記仮想的な身体を含む前記仮想空間の画像を表示する表示部と、
    制御部と
    を具備し、
    前記身体計算部は、前記位置情報から前記現実の身体の移動を示す第1移動量ベクトルを計算し、前記第1移動量ベクトルから所定の移動量変換規則を用いて前記仮想的な身体の移動を示す第2移動量ベクトルを計算し、前記第2移動量ベクトルを反映させて前記仮想的な身体を計算し、
    前記表示部は、前記画像の中の前記仮想的な身体を示す光が前記作業者と前記現実の身体とを結ぶ前記作業者の視線上を前記作業者に向かって進むように前記画像を表示し、
    前記移動量変換規則は、第1設定において、前記作業者から見た前記現実の身体の移動量ベクトルと前記作業者から見た前記画像に表示された前記仮想的な身体の移動量ベクトルとが、始点、方向、及び大きさにおいて一致するように設定され、
    前記制御部は、前記第1移動量ベクトルの大きさと前記第2移動量ベクトルの大きさの比を変化させるように前記移動量変換規則の設定を前記第1設定から第2設定に変更する
    ミュレーション装置。
  3. 作業者の現実の身体の位置情報を検出する位置検出部と、
    仮想的な身体を仮想空間内に計算する身体計算部と、
    前記仮想的な身体を含む前記仮想空間の画像を表示する表示部と、
    制御部と
    を具備し、
    前記身体計算部は、前記位置情報から前記現実の身体の移動を示す第1移動量ベクトルを計算し、前記第1移動量ベクトルから所定の移動量変換規則を用いて前記仮想的な身体の移動を示す第2移動量ベクトルを計算し、前記第2移動量ベクトルを反映させて前記仮想的な身体を計算し、
    前記表示部は、前記画像の中の前記仮想的な身体を示す光が前記作業者と前記現実の身体とを結ぶ前記作業者の視線上を前記作業者に向かって進むように前記画像を表示し、
    前記移動量変換規則は、第1設定において、前記作業者から見た前記現実の身体の移動量ベクトルと前記作業者から見た前記画像に表示された前記仮想的な身体の移動量ベクトルとが、始点、方向、及び大きさにおいて一致するように設定され、
    前記制御部は、前記第1移動量ベクトルが第1変化をする第1タイミングと前記第2移動量ベクトルが前記第1変化に応答した第2変化をする第2タイミングとのタイミング差を変化させるように前記移動量変換規則の設定を前記第1設定から第2設定に変更する
    ミュレーション装置。
  4. 前記視線上に配置されたハーフミラーを具備し、
    前記表示部は、前記ハーフミラーに向けて前記光を出力する
    請求項1乃至3のいずれか1項に記載のシミュレーション装置。
  5. 前記作業者の生体情報を検出する生体情報検出部を具備する
    請求項1乃至4のいずれか1項に記載のシミュレーション装置。
  6. 前記制御部は、前記生体情報の所定の変化に応答して前記移動量変換規則の設定を前記第1設定から前記第2設定に変更する
    請求項のシミュレーション装置。
  7. 前記生体情報を記憶する記憶部を具備し、
    前記表示部は、前記記憶部に記憶された前記生体情報を表示する
    請求項5又は6のシミュレーション装置。
  8. 作業者の現実の身体の位置情報を検出する位置検出部と、
    仮想的な身体を仮想空間内に計算する身体計算部と、
    前記仮想的な身体を含む前記仮想空間の画像を表示する表示部と、
    制御部と、
    仮想的な物体を前記仮想空間内に計算する物体計算部と、
    前記仮想的な物体と接触している前記仮想的な身体の接触部位に対応した前記現実の身体の部位に触覚刺激を与える触覚刺激部と
    を具備し、
    前記身体計算部は、前記位置情報から前記現実の身体の移動を示す第1移動量ベクトルを計算し、前記第1移動量ベクトルから所定の移動量変換規則を用いて前記仮想的な身体の移動を示す第2移動量ベクトルを計算し、前記第2移動量ベクトルを反映させて前記仮想的な身体を計算し、
    前記表示部は、前記画像の中の前記仮想的な身体を示す光が前記作業者と前記現実の身体とを結ぶ前記作業者の視線上を前記作業者に向かって進むように前記画像を表示し、
    前記移動量変換規則は、第1設定において、前記作業者から見た前記現実の身体の移動量ベクトルと前記作業者から見た前記画像に表示された前記仮想的な身体の移動量ベクトルとが、始点、方向、及び大きさにおいて一致するように設定され、
    前記制御部は、前記移動量変換規則の設定を前記第1設定から第2設定に変更し、
    前記画像は前記仮想的な物体を含み、
    前記物体計算部は、前記仮想的な物体が前記仮想的な身体に接触する運動をするように前記仮想的な物体を計算する
    ミュレーション装置。
  9. 作業者に仮想空間内の仮想的な身体を自己の現実の身体であると錯覚させるステップと、
    前記錯覚させるステップの後に、前記作業者に前記仮想空間内で所定の作業をさせるステップと
    を具備し、
    前記錯覚させるステップ及び前記作業をさせるステップは、
    前記現実の身体の位置情報を検出するステップと、
    前記位置情報から前記現実の身体の移動を示す第1移動量ベクトルを計算するステップと、
    前記第1移動量ベクトルから所定の移動量変換規則を用いて前記仮想的な身体の移動を示す第2移動量ベクトルを計算するステップと、
    前記第2移動量ベクトルを反映させて前記仮想的な身体を前記仮想空間内に計算するステップと、
    表示部が、前記仮想的な身体を含む前記仮想空間の画像を表示するステップと
    を備え、
    前記表示部は、前記仮想的な身体を示す光が前記作業者と前記現実の身体とを結ぶ前記作業者の視線上を前記作業者に向かって進むように前記画像を表示し、
    前記移動量変換規則は、第1設定において、前記作業者から見た前記現実の身体の移動量ベクトルと前記作業者から見た前記画像に表示された前記仮想的な身体の移動量ベクトルとが、始点、方向、及び大きさにおいて一致するように設定され、
    前記錯覚させるステップにおいて、
    前記移動量変換規則は前記第1設定に設定され、
    前記作業をさせるステップは、
    前記移動量変換規則の設定を前記第1設定から第2設定に変更するステップを備え、
    シミュレーション方法
  10. 作業者に仮想空間内の仮想的な身体を自己の現実の身体であると錯覚させるステップと、
    前記錯覚させるステップの後に、前記作業者に前記仮想空間内で所定の作業をさせるステップと
    を具備し、
    前記錯覚させるステップ及び前記作業をさせるステップは、
    前記現実の身体の位置情報を検出するステップと、
    前記位置情報から前記現実の身体の移動を示す第1移動量ベクトルを計算するステップと、
    前記第1移動量ベクトルから所定の移動量変換規則を用いて前記仮想的な身体の移動を示す第2移動量ベクトルを計算するステップと、
    前記第2移動量ベクトルを反映させて前記仮想的な身体を前記仮想空間内に計算するステップと、
    表示部が、前記仮想的な身体を含む前記仮想空間の画像を表示するステップと
    を備え、
    前記表示部は、前記仮想的な身体を示す光が前記作業者と前記現実の身体とを結ぶ前記作業者の視線上を前記作業者に向かって進むように前記画像を表示し、
    前記移動量変換規則は、第1設定において、前記作業者から見た前記現実の身体の移動量ベクトルと前記作業者から見た前記画像に表示された前記仮想的な身体の移動量ベクトルとが、始点、方向、及び大きさにおいて一致するように設定され、
    前記錯覚させるステップにおいて、
    前記移動量変換規則は前記第1設定に設定され、
    前記作業をさせるステップは、
    前記移動量変換規則の設定を前記第1設定から第2設定に変更するステップを備え、
    前記移動量変換規則の設定を前記第1設定から前記第2設定に変更するステップにおいては、前記第1移動量ベクトルの大きさと前記第2移動量ベクトルの大きさの比を変化させるように前記移動量変換規則の設定を変更する
    シミュレーション方法。
  11. 作業者に仮想空間内の仮想的な身体を自己の現実の身体であると錯覚させるステップと、
    前記錯覚させるステップの後に、前記作業者に前記仮想空間内で所定の作業をさせるステップと
    を具備し、
    前記錯覚させるステップ及び前記作業をさせるステップは、
    前記現実の身体の位置情報を検出するステップと、
    前記位置情報から前記現実の身体の移動を示す第1移動量ベクトルを計算するステップと、
    前記第1移動量ベクトルから所定の移動量変換規則を用いて前記仮想的な身体の移動を示す第2移動量ベクトルを計算するステップと、
    前記第2移動量ベクトルを反映させて前記仮想的な身体を前記仮想空間内に計算するステップと、
    表示部が、前記仮想的な身体を含む前記仮想空間の画像を表示するステップと
    を備え、
    前記表示部は、前記仮想的な身体を示す光が前記作業者と前記現実の身体とを結ぶ前記作業者の視線上を前記作業者に向かって進むように前記画像を表示し、
    前記移動量変換規則は、第1設定において、前記作業者から見た前記現実の身体の移動量ベクトルと前記作業者から見た前記画像に表示された前記仮想的な身体の移動量ベクトルとが、始点、方向、及び大きさにおいて一致するように設定され、
    前記錯覚させるステップにおいて、
    前記移動量変換規則は前記第1設定に設定され、
    前記作業をさせるステップは、
    前記移動量変換規則の設定を前記第1設定から第2設定に変更するステップを備え、
    前記移動量変換規則の設定を前記第1設定から前記第2設定に変更するステップにおいては、前記第1移動量ベクトルが第1変化をする第1タイミングと前記第2移動量ベクトルが前記第1変化に応答した第2変化をする第2タイミングとのタイミング差を変化させるように前記移動量変換規則の設定を変更する
    ミュレーション方法。
  12. 作業者に仮想空間内の仮想的な身体を自己の現実の身体であると錯覚させるステップと、
    前記錯覚させるステップの後に、前記作業者に前記仮想空間内で所定の作業をさせるステップと
    を具備し、
    前記錯覚させるステップ及び前記作業をさせるステップは、
    前記現実の身体の位置情報を検出するステップと、
    前記位置情報から前記現実の身体の移動を示す第1移動量ベクトルを計算するステップと、
    前記第1移動量ベクトルから所定の移動量変換規則を用いて前記仮想的な身体の移動を示す第2移動量ベクトルを計算するステップと、
    前記第2移動量ベクトルを反映させて前記仮想的な身体を前記仮想空間内に計算するステップと、
    表示部が、前記仮想的な身体を含む前記仮想空間の画像を表示するステップと
    を備え、
    前記表示部は、前記仮想的な身体を示す光が前記作業者と前記現実の身体とを結ぶ前記作業者の視線上を前記作業者に向かって進むように前記画像を表示し、
    前記移動量変換規則は、第1設定において、前記作業者から見た前記現実の身体の移動量ベクトルと前記作業者から見た前記画像に表示された前記仮想的な身体の移動量ベクトルとが、始点、方向、及び大きさにおいて一致するように設定され、
    前記錯覚させるステップにおいて、
    前記移動量変換規則は前記第1設定に設定され、
    前記作業をさせるステップは、
    前記移動量変換規則の設定を前記第1設定から第2設定に変更するステップと、
    仮想的な第1物体を前記仮想空間内に計算するステップと、
    前記仮想的な第1物体を含む前記画像を表示するステップと、
    前記仮想的な身体の少なくとも一部が、前記仮想的な第1物体を含むように前記仮想空間内に設定された領域に入った場合に、前記仮想的な身体が所定の運動をするように前記仮想的な身体を計算する身体強制運動ステップとを備え、
    前記身体強制運動ステップにおいては、前記仮想的な身体は前記位置情報に基づかないで計算される
    ミュレーション方法。
  13. 作業者に仮想空間内の仮想的な身体を自己の現実の身体であると錯覚させるステップと、
    前記錯覚させるステップの後に、前記作業者に前記仮想空間内で所定の作業をさせるステップと
    を具備し、
    前記錯覚させるステップ及び前記作業をさせるステップは、
    前記現実の身体の位置情報を検出するステップと、
    前記位置情報から前記現実の身体の移動を示す第1移動量ベクトルを計算するステップと、
    前記第1移動量ベクトルから所定の移動量変換規則を用いて前記仮想的な身体の移動を示す第2移動量ベクトルを計算するステップと、
    前記第2移動量ベクトルを反映させて前記仮想的な身体を前記仮想空間内に計算するステップと、
    表示部が、前記仮想的な身体を含む前記仮想空間の画像を表示するステップと
    を備え、
    前記表示部は、前記仮想的な身体を示す光が前記作業者と前記現実の身体とを結ぶ前記作業者の視線上を前記作業者に向かって進むように前記画像を表示し、
    前記移動量変換規則は、第1設定において、前記作業者から見た前記現実の身体の移動量ベクトルと前記作業者から見た前記画像に表示された前記仮想的な身体の移動量ベクトルとが、始点、方向、及び大きさにおいて一致するように設定され、
    前記錯覚させるステップにおいて、
    前記移動量変換規則は前記第1設定に設定され、
    前記作業をさせるステップは、
    前記移動量変換規則の設定を前記第1設定から第2設定に変更するステップと、
    前記仮想空間内における前記仮想的な身体及び前記領域の位置に基づいて、前記仮想的な身体から前記領域を見る方向への前記仮想的な身体の移動を示す強制移動量ベクトルを生成するステップと、
    前記強制移動量ベクトルを反映させて前記仮想的な身体を前記仮想空間内に計算するステップを備える
    ミュレーション方法。
  14. 前記作業をさせるステップは、
    前記作業者の生体情報を検出するステップを備える
    請求項乃至13のいずれか1項に記載のシミュレーション方法。
  15. 前記移動量変換規則の設定を前記第1設定から前記第2設定に変更するステップ
    においては、前記生体情報の所定の変化に応答して前記移動量変換規則の設定を変更する
    請求項14のシミュレーション方法。
  16. 前記作業をさせるステップは、前記作業をさせるステップにおいて検出された前記生体情報を記憶するステップを備え、
    前記作業をさせるステップの後に、前記作業をさせるステップにおいて検出された前記生体情報を表示するステップを備える
    請求項14又は15のシミュレーション方法。
  17. 作業者に仮想空間内の仮想的な身体を自己の現実の身体であると錯覚させるステップと、
    前記錯覚させるステップの後に、前記作業者に前記仮想空間内で所定の作業をさせるステップと
    を具備し、
    前記錯覚させるステップ及び前記作業をさせるステップは、
    前記現実の身体の位置情報を検出するステップと、
    前記位置情報から前記現実の身体の移動を示す第1移動量ベクトルを計算するステップと、
    前記第1移動量ベクトルから所定の移動量変換規則を用いて前記仮想的な身体の移動を示す第2移動量ベクトルを計算するステップと、
    前記第2移動量ベクトルを反映させて前記仮想的な身体を前記仮想空間内に計算するステップと、
    表示部が、前記仮想的な身体を含む前記仮想空間の画像を表示するステップと
    を備え、
    前記表示部は、前記仮想的な身体を示す光が前記作業者と前記現実の身体とを結ぶ前記作業者の視線上を前記作業者に向かって進むように前記画像を表示し、
    前記移動量変換規則は、第1設定において、前記作業者から見た前記現実の身体の移動量ベクトルと前記作業者から見た前記画像に表示された前記仮想的な身体の移動量ベクトルとが、始点、方向、及び大きさにおいて一致するように設定され、
    前記錯覚させるステップにおいて、
    前記移動量変換規則は前記第1設定に設定され、
    前記作業をさせるステップは、
    前記移動量変換規則の設定を前記第1設定から第2設定に変更するステップを備え、
    前記錯覚させるステップは、
    仮想的な第2物体が前記仮想空間内で前記仮想的な身体に接触する第2運動をするように前記仮想的な第2物体を仮想空間内に計算するステップと、
    前記仮想的な第2物体を含む前記画像を表示するステップと、
    前記仮想的な第2物体と接触している前記仮想的な身体の接触部位に対応する前記現実の身体の部位に触覚刺激を与えるステップとを備える
    ミュレーション方法。
  18. 作業者の現実の身体の位置情報を検出する位置検出部と、
    仮想的な身体を仮想空間内に計算する身体計算部と、
    仮想的な物体を前記仮想空間内に計算する物体計算部と、
    前記仮想的な身体と前記仮想的な物体とを含む前記仮想空間の画像を表示する表示部と、
    前記現実の身体を前記作業者の視界から隠す遮蔽物と、
    制御部と、
    前記仮想的な物体と接触している前記仮想的な身体の接触部位に対応した前記現実の身体の部位に触覚刺激を与える触覚刺激部と
    を具備し、
    前記物体計算部は、前記仮想的な物体が前記仮想的な身体に接触する運動をするように前記仮想的な物体を計算し、
    前記身体計算部は、前記位置情報から前記現実の身体の移動を示す第1移動量ベクトルを計算し、前記第1移動量ベクトルから所定の移動量変換規則を用いて前記仮想的な身体の移動を示す第2移動量ベクトルを計算し、前記第2移動量ベクトルを反映させて前記仮想的な身体を計算し、
    前記移動量変換規則は、第1設定において、前記作業者から見た前記現実の身体の移動量ベクトルと前記作業者から見た前記画像に表示された前記仮想的な身体の移動量ベクトルとが、始点、方向、及び大きさにおいて一致するように設定され、
    前記制御部は、前記移動量変換規則の設定を前記第1設定から第2設定に変更する
    シミュレーション装置
  19. 作業者に仮想空間内の仮想的な身体を自己の現実の身体であると錯覚させるステップと、
    前記錯覚させるステップの後に、前記作業者に前記仮想空間内で所定の作業をさせるステップと
    を具備し、
    前記錯覚させるステップ及び前記作業をさせるステップは、
    前記現実の身体の位置情報を検出するステップと、
    前記位置情報から前記現実の身体の移動を示す第1移動量ベクトルを計算するステップと、
    前記第1移動量ベクトルから所定の移動量変換規則を用いて前記仮想的な身体の移動を示す第2移動量ベクトルを計算するステップと、
    前記第2移動量ベクトルを反映させて前記仮想的な身体を前記仮想空間内に計算するステップと、
    表示部が、前記仮想的な身体を含む前記仮想空間の画像を表示するステップと
    を備え、
    前記移動量変換規則は、第1設定において、前記作業者から見た前記現実の身体の移動量ベクトルと前記作業者から見た前記画像に表示された前記仮想的な身体の移動量ベクトルとが、始点、方向、及び大きさにおいて一致するように設定され、
    前記錯覚させるステップにおいて、
    前記移動量変換規則は前記第1設定に設定され、
    前記錯覚させるステップは、
    仮想的な物体が前記仮想空間内で前記仮想的な身体に接触する運動をするように前記仮想的な物体を仮想空間内に計算するステップと、
    前記仮想的な物体を含む前記画像を表示するステップと、
    前記仮想的な物体と接触している前記仮想的な身体の接触部位に対応する前記現実の身体の部位に触覚刺激を与えるステップとを備え、
    前記作業をさせるステップは、
    前記移動量変換規則の設定を前記第1設定から第2設定に変更するステップ
    を備える
    シミュレーション方法。
JP2006134148A 2006-05-12 2006-05-12 シミュレーション装置及びシミュレーション方法 Active JP4906397B2 (ja)

Priority Applications (1)

Application Number Priority Date Filing Date Title
JP2006134148A JP4906397B2 (ja) 2006-05-12 2006-05-12 シミュレーション装置及びシミュレーション方法

Applications Claiming Priority (1)

Application Number Priority Date Filing Date Title
JP2006134148A JP4906397B2 (ja) 2006-05-12 2006-05-12 シミュレーション装置及びシミュレーション方法

Publications (2)

Publication Number Publication Date
JP2007304973A JP2007304973A (ja) 2007-11-22
JP4906397B2 true JP4906397B2 (ja) 2012-03-28

Family

ID=38838832

Family Applications (1)

Application Number Title Priority Date Filing Date
JP2006134148A Active JP4906397B2 (ja) 2006-05-12 2006-05-12 シミュレーション装置及びシミュレーション方法

Country Status (1)

Country Link
JP (1) JP4906397B2 (ja)

Families Citing this family (5)

* Cited by examiner, † Cited by third party
Publication number Priority date Publication date Assignee Title
JP5324506B2 (ja) * 2010-03-25 2013-10-23 麒麟麦酒株式会社 疑似体験装置
JP5629144B2 (ja) * 2010-06-28 2014-11-19 株式会社タイトー ゲーム装置
JP5934768B2 (ja) * 2014-10-03 2016-06-15 株式会社タイトー ゲーム装置
KR102023024B1 (ko) * 2018-11-09 2019-11-04 가천대학교 산학협력단 사용자의 상태정보에 따라 피드백을 제공하는 사용자의 정서 증진 및 심리파악을 위한 가상현실 시스템
KR102021848B1 (ko) * 2018-11-09 2019-09-17 가천대학교 산학협력단 사용자의 정서 증진 및 심리파악을 위한 가상현실 시스템

Family Cites Families (5)

* Cited by examiner, † Cited by third party
Publication number Priority date Publication date Assignee Title
JP2002082751A (ja) * 2000-09-08 2002-03-22 Mitsubishi Electric Corp 仮想空間とのインタラクション装置およびこれを応用した仮想空間システム
JP2003330582A (ja) * 2002-05-14 2003-11-21 Univ Waseda 視覚及び触覚を利用した感覚呈示装置
JP2004013309A (ja) * 2002-06-04 2004-01-15 Canon Inc 情報処理方法および複合現実感提示装置
JP2005122233A (ja) * 2003-10-14 2005-05-12 Canon Inc 情報処理装置および方法並びに記憶媒体
JP2007219869A (ja) * 2006-02-17 2007-08-30 Nagoya Institute Of Technology 仮想現実感呈示装置

Also Published As

Publication number Publication date
JP2007304973A (ja) 2007-11-22

Similar Documents

Publication Publication Date Title
Adhanom et al. Eye tracking in virtual reality: a broad review of applications and challenges
Mayor et al. A comparative study of virtual reality methods of interaction and locomotion based on presence, cybersickness, and usability
Trepkowski et al. The effect of narrow field of view and information density on visual search performance in augmented reality
US8531354B2 (en) Image generation system
Miall et al. Performing hand actions assists the visual discrimination of similar hand postures
De Paolis et al. The impact of the input interface in a virtual environment: the Vive controller and the Myo armband
Porcino et al. Minimizing cybersickness in head-mounted display systems: causes and strategies review
JP2019515361A5 (ja)
US10304245B2 (en) Method for operating a virtual reality system, and virtual reality system
Bloomfield et al. Collision awareness using vibrotactile arrays
CN113031269A (zh) 一种vr显示防眩晕调节系统
JP4906397B2 (ja) シミュレーション装置及びシミュレーション方法
JP2024020292A (ja) 動作要求システム、動作要求方法および動作要求プログラム
Zhang et al. Seeing our blind spots: smart glasses-based simulation to increase design students’ awareness of visual impairment
Yokoro et al. DecluttAR: an interactive visual clutter dimming system to help focus on work
Hussain et al. Virtual reality as a non-conventional rehabilitation for stroke: A comprehensive review
EP3104764A1 (en) Vision training method and apparatus
WO2015198023A1 (en) Ocular simulation tool
EP3352052A1 (en) Line-of-sight-based control device and medical device
Kotranza et al. Virtual multi-tools for hand and tool-based interaction with life-size virtual human agents
JP6531811B1 (ja) 物品判定教育訓練装置
KR20210063856A (ko) 가상 현실 트레이닝 관련 추가 정보 제공 방법 및 장치
KR20170132044A (ko) 공용 hmd장치 및 이를 구비한 게임기
WO2009022924A1 (en) Image generation system
Barbuceanu et al. Eye tracking applications

Legal Events

Date Code Title Description
A621 Written request for application examination

Free format text: JAPANESE INTERMEDIATE CODE: A621

Effective date: 20090508

A977 Report on retrieval

Free format text: JAPANESE INTERMEDIATE CODE: A971007

Effective date: 20110620

A131 Notification of reasons for refusal

Free format text: JAPANESE INTERMEDIATE CODE: A131

Effective date: 20110623

A521 Request for written amendment filed

Free format text: JAPANESE INTERMEDIATE CODE: A523

Effective date: 20110815

A131 Notification of reasons for refusal

Free format text: JAPANESE INTERMEDIATE CODE: A131

Effective date: 20110907

A521 Request for written amendment filed

Free format text: JAPANESE INTERMEDIATE CODE: A523

Effective date: 20111107

TRDD Decision of grant or rejection written
A01 Written decision to grant a patent or to grant a registration (utility model)

Free format text: JAPANESE INTERMEDIATE CODE: A01

Effective date: 20120110

A01 Written decision to grant a patent or to grant a registration (utility model)

Free format text: JAPANESE INTERMEDIATE CODE: A01

A61 First payment of annual fees (during grant procedure)

Free format text: JAPANESE INTERMEDIATE CODE: A61

Effective date: 20120110

FPAY Renewal fee payment (event date is renewal date of database)

Free format text: PAYMENT UNTIL: 20150120

Year of fee payment: 3

R150 Certificate of patent or registration of utility model

Ref document number: 4906397

Country of ref document: JP

Free format text: JAPANESE INTERMEDIATE CODE: R150

Free format text: JAPANESE INTERMEDIATE CODE: R150

R250 Receipt of annual fees

Free format text: JAPANESE INTERMEDIATE CODE: R250

R250 Receipt of annual fees

Free format text: JAPANESE INTERMEDIATE CODE: R250

R250 Receipt of annual fees

Free format text: JAPANESE INTERMEDIATE CODE: R250

R250 Receipt of annual fees

Free format text: JAPANESE INTERMEDIATE CODE: R250

R250 Receipt of annual fees

Free format text: JAPANESE INTERMEDIATE CODE: R250

R250 Receipt of annual fees

Free format text: JAPANESE INTERMEDIATE CODE: R250

R250 Receipt of annual fees

Free format text: JAPANESE INTERMEDIATE CODE: R250

R250 Receipt of annual fees

Free format text: JAPANESE INTERMEDIATE CODE: R250

R250 Receipt of annual fees

Free format text: JAPANESE INTERMEDIATE CODE: R250

R250 Receipt of annual fees

Free format text: JAPANESE INTERMEDIATE CODE: R250

R250 Receipt of annual fees

Free format text: JAPANESE INTERMEDIATE CODE: R250