JP4868960B2 - 発光装置およびその製造方法 - Google Patents
発光装置およびその製造方法 Download PDFInfo
- Publication number
- JP4868960B2 JP4868960B2 JP2006181800A JP2006181800A JP4868960B2 JP 4868960 B2 JP4868960 B2 JP 4868960B2 JP 2006181800 A JP2006181800 A JP 2006181800A JP 2006181800 A JP2006181800 A JP 2006181800A JP 4868960 B2 JP4868960 B2 JP 4868960B2
- Authority
- JP
- Japan
- Prior art keywords
- light
- molded body
- emitting device
- concave
- fluorescent
- Prior art date
- Legal status (The legal status is an assumption and is not a legal conclusion. Google has not performed a legal analysis and makes no representation as to the accuracy of the status listed.)
- Expired - Fee Related
Links
Images
Classifications
-
- H10W90/756—
Landscapes
- Led Device Packages (AREA)
- Led Devices (AREA)
Description
LEDチップからなる光源と、該LEDチップを封止する樹脂成形体と、該光源の光により励起されて発光する蛍光体を含む高分子物質で形成された蛍光部と、を有し、
前記蛍光部は、前記光源側の面に凹部と凸部が交互に形成された凹凸部を有し、かつ、前記樹脂成形体に積層して配置され、
前記凹凸部は、前記凹部に空気層を有し、かつ、前記凹部が前記樹脂成形体に非接触状態であり、
前記凹部は、ピッチが0.15mm〜1.30mm、深さが0.003mm〜0.510mm、幅が0.04mm〜0.35mmで形成される。
前記LEDチップは、350nm〜500nmの範囲に主発光ピーク波長を有することができる。
LEDチップからなる光源と、該LEDチップを封止する樹脂成形体と、該光源の光により励起されて発光する蛍光体を含む高分子物質で形成された蛍光部と、を有する発光装置の製造方法において、
前記蛍光部の面に凹部と凸部が交互に形成された凹凸部を形成する工程と、
前記面を前記光源に対向して配置する工程と、
を有し、
前記面を配置する工程は、前記凹部に空気層が形成されるように、前記凹部を前記樹脂成形体に非接触状態で前記蛍光部と前記樹脂成形体とを積層し、
前記凹凸部を形成する工程は、前記凹部のピッチが0.15mm〜1.30mm、前記凹部の深さが0.003mm〜0.510mm、前記凹部の幅が0.04mm〜0.35mmとなるように形成した。
図1に示すように、第1の実施形態にかかる発光装置40は、LED10と、LED10を覆う蛍光部20と、を有する。LED10は、光源としてのLEDチップ11と、LEDチップ11を封止する樹脂成形体14と、を有する。蛍光部20は、LEDチップ11の光により励起されて発光する蛍光体22を含む。LEDチップ11は、ベース部材12のほぼ中央に設けられたステム13上に載置されている。蛍光部20は、樹脂成形体14の外表面16に密着して被せられたキャップ状の成形体24として形成されている。樹脂成形体14は、円板状のベース部材12上に円柱状の胴部と略半球状の頂部(レンズ部)とからなり、外表面16がいわゆる砲弾型である。樹脂成形体14の材質としては、LEDチップ11からの紫外線を含む発光に対して安定な性質を有するシリコーン樹脂が好ましいが、透光性の樹脂例えばアクリル樹脂、ポリカーボネート樹脂、ポリスチレン樹脂、ポリエステル樹脂、エポキシ樹脂などを用いることができる。
図2に示すように、第2の実施形態にかかる発光装置42は、光源としてのLEDチップ11と、LEDチップ11を封止する樹脂成形体14a、14bと、LEDチップ11の光により励起されて発光する蛍光体22を含む蛍光部20と、を有している。蛍光部20は、第1の面26に凹部32と凸部34が交互に形成された凹凸部30を有している。蛍光部20は、第1の面26をLEDチップ11に対向して配置され、凹部32と樹脂成形体14aとの間には空気層38が形成されている。
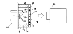
図3に示すように、第3の実施形態にかかる発光装置44は、第1、第2の実施形態がいわゆる砲弾型のLEDであるのに対して、LEDチップ11を実装するパッケージが小型化、薄型化されたSMD型(Surface Mount Device:表面実装型)LED100である点で異なる。SMD型LED100は、セラミック製の基板50上にタングステン(W)等によってパターン形成された配線導体(アノードリード)52及び配線導体(カソードリード)54と、基板50と一体的に成形された例えば無機材料の焼結体からなる本体56と、を有する。本体56は、略円筒状であり、横断面円形の内壁はLEDチップ11の光が放射する方向に拡径された形状を有する側壁部58に形成されている。LEDチップ11は、本体56の底部に露出した配線導体52、54にボンディングワイヤ15によって電気的に接続され、本体56の側壁部58内に充填された透光性樹脂の樹脂成形体14によって封止されている。LEDチップ11に対向する本体56の上面には薄い円板状の蛍光部20が樹脂成形体14の外表面16に密着して配置されている。
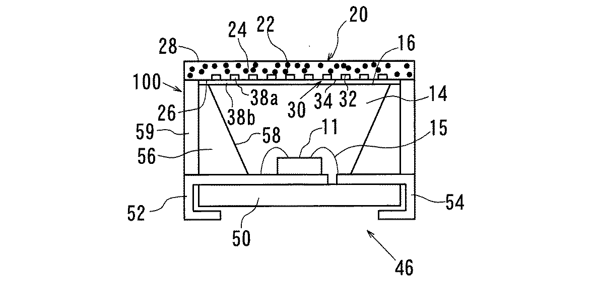
図4に示すように、第4の実施形態にかかる発光装置46は、凹部32に形成された第1の空気層38aと、樹脂成形体14と蛍光部20の第1の面16との間に形成された第2の空気層38bと、を除けば、第3の実施形態と基本的に同じ構成である。また、蛍光部20の成形体24を樹脂成形体14の外表面16と離間配置するために、本体58の周囲に側壁部58よりも高い外周壁59が形成され、外周壁の上端に成形体24の周縁部が接着されている。なお、第1の空気層38a及び第2の空気層38bに透光性材料を充填し、透光部36a,36bとしてもよい。
図5に示すように、第5の実施形態にかかる発光装置48は、上下に分割された樹脂成形体14a,14bの間に蛍光部20が形成されている点が第2の実施形態と同様であり、その他は、第4の実施形態と基本的に同様である。第5の実施形態にかかる発光装置48の製造方法は、基本的に第2の実施形態と同様であり、まず、LEDチップ11を樹脂成形体14aで封止し、樹脂成形体14aの平坦な表面16上に別途成形した凹凸部30を有する蛍光部20を配置させ、さらに蛍光部20の第2の面28の上に樹脂成形体14bを流し込んで封止することで製造される。
図6に示すように、第6の実施形態にかかる発光装置49は、筐体57の底部に配置された基板51上にモノシリックに直列接続された複数のLEDチップ11と、これら複数のLEDチップ11を封止する樹脂成形体14と、樹脂成形体14の外表面16を覆うシート状の成形体24からなる蛍光部20と、を含む。蛍光部20は、複数のLEDチップ11の光により励起されて発光する蛍光体22を含む。LEDチップ11は、基板51上に例えばn型GaN層301、p型GaN層302、p電極303、n電極304を有している。隣り合うLEDチップ11は、p電極303とn電極304とをエアブリッジ配線17で接続されている。このように複数のLEDチップをモノリシックに形成して互いに直列接続することで、各LEDチップに流れる電流は同一となり、バンドギャップエネルギーに高低が生じてもフラットな発光スペクトルが得られる。
各実施例及び比較例で用いる蛍光部として、蛍光体を含む薄い円板状の成形体を試料1〜8として製作した。
まず、試料1〜6は、表1に示すように、シリコーンゴム1gに対し、赤色蛍光体LiEu0.96Sm0.04W2O8と、緑色蛍光体ZnS:Cu,Alと、青色蛍光体(Sr,Ca,Ba)5(PO4)3Cl:Eu2+と、を適量混合した後、金型内で10MPa、130℃、5分間プレス成形して表2に示す厚さ(凸部を含む)の成形体を得た。なお、各試料における蛍光体の量が異なっているのは、各試料の相対輝度を測定するため、色度を同程度に調整したからである。また、金型内には予めNBC社製のナイロンメッシュを配置し、プレス成形でナイロンメッシュの形状を転写することで、試料1〜6の成形体の第1の面(任意の片面)に所望の凹凸部が成形されている。つまり、ナイロンメッシュの繊維部分が凹凸部の凹部になり、孔の部分が四角錘の凸部になる。成形体の隣り合う凹部のピッチ(mm)、凹部の深さ(mm)、凹部の幅(mm)及び凸部の幅(mm)は、表1に示すとおりである。また、プレス成形する際、ブラスト加工された金型を用いることで、第1の面が、算術平均粗さが0.07μmの粗面を持つ試料7(比較例1)を作成した。なお、試料8は、成形体に凹凸部がなく、第1の面26が鏡面状の比較例2である。こうして得られた成形体を直径6mmの薄い円板状に切り出し試料1〜8とした。
次に、図7に示すように、試料1〜8の薄い円板状の成形体24をLED10の樹脂成形体14の外表面16に密着させ、第3の実施形態のような発光装置44aを作成し、発光装置44aからの全ての発光を図示されていないが積分球及び光ファイバーを介して分光光度計60に導き入れるように各装置を配置した。LED10は、樹脂成形体14の外周を金属(銅)製の筒(ステム)70で囲ったステムタイプのLEDであった。凹凸部30の凸部34は、樹脂成形体14の外表面16に密着した。なお、第3の実施形態の発光装置44aは凹部32には空気層38が形成されている。発光装置44aを発光させて分光光度計60で色度及び輝度(Cd/m2)を測定し、その結果を表2及び図9に示した。相対輝度は、試料8(比較例2)の輝度を100%とし、試料8(比較例2)の輝度に対する試料1〜7の相対輝度(%)を示した。LED10は、主発光ピーク波長395nmのepitex社製ステムタイプLED「L395−30T52(商品名)」を用いた。分光光度計60は、大塚電子社製超高感度瞬間マルチ測光システム「MCPD−7000(商品名)」を用いた。
11 LEDチップ
12 ベース部材
13 ステム
14 樹脂成形体
15 ボンディングワイヤ
16 外表面
17 エアブリッジ配線
20 蛍光部
22 蛍光体
24 成形体
26 第1の面
28 第2の面
30 凹凸部
32 凹部
34 凸部
36 透光部
38 空気層
38a 第1の空気層
38b 第2の空気層
40 発光装置(第1の実施形態)
42 発光装置(第2の実施形態)
44 発光装置(第3の実施形態)
46 発光装置(第4の実施形態)
48 発光装置(第5の実施形態)
49 発光装置(第6の実施形態)
50 セラミック基板
51 基板
52 配線導体(アノードリード)
54 配線導体(カソードリード)
56 本体
57 筐体
57a 開口部
58 側壁部
60 分光光度計
100 SMD型LED
301 n型GaN層
302 p型GaN層
303 p電極
304 n電極
Claims (3)
- LEDチップからなる光源と、該LEDチップを封止する樹脂成形体と、該光源の光により励起されて発光する蛍光体を含む高分子物質で形成された蛍光部と、を有し、
前記蛍光部は、前記光源側の面に凹部と凸部が交互に形成された凹凸部を有し、かつ、前記樹脂成形体に積層して配置され、
前記凹凸部は、前記凹部に空気層を有し、かつ、前記凹部が前記樹脂成形体に非接触状態であり、
前記凹部は、ピッチが0.15mm〜1.30mm、深さが0.003mm〜0.510mm、幅が0.04mm〜0.35mmで形成された発光装置。 - 請求項1において、
前記LEDチップは、350nm〜500nmの範囲に主発光ピーク波長を有する発光装置。 - LEDチップからなる光源と、該LEDチップを封止する樹脂成形体と、該光源の光により励起されて発光する蛍光体を含む高分子物質で形成された蛍光部と、を有する発光装置の製造方法において、
前記蛍光部の面に凹部と凸部が交互に形成された凹凸部を形成する工程と、
前記面を前記光源に対向して配置する工程と、
を有し、
前記面を配置する工程は、前記凹部に空気層が形成されるように、前記凹部を前記樹脂成形体に非接触状態で前記蛍光部と前記樹脂成形体とを積層し、
前記凹凸部を形成する工程は、前記凹部のピッチが0.15mm〜1.30mm、前記凹部の深さが0.003mm〜0.510mm、前記凹部の幅が0.04mm〜0.35mmとなるように形成した発光装置の製造方法。
Priority Applications (1)
| Application Number | Priority Date | Filing Date | Title |
|---|---|---|---|
| JP2006181800A JP4868960B2 (ja) | 2006-06-30 | 2006-06-30 | 発光装置およびその製造方法 |
Applications Claiming Priority (1)
| Application Number | Priority Date | Filing Date | Title |
|---|---|---|---|
| JP2006181800A JP4868960B2 (ja) | 2006-06-30 | 2006-06-30 | 発光装置およびその製造方法 |
Related Child Applications (1)
| Application Number | Title | Priority Date | Filing Date |
|---|---|---|---|
| JP2011184491A Division JP5291162B2 (ja) | 2011-08-26 | 2011-08-26 | 発光装置およびその製造方法 |
Publications (2)
| Publication Number | Publication Date |
|---|---|
| JP2008010748A JP2008010748A (ja) | 2008-01-17 |
| JP4868960B2 true JP4868960B2 (ja) | 2012-02-01 |
Family
ID=39068672
Family Applications (1)
| Application Number | Title | Priority Date | Filing Date |
|---|---|---|---|
| JP2006181800A Expired - Fee Related JP4868960B2 (ja) | 2006-06-30 | 2006-06-30 | 発光装置およびその製造方法 |
Country Status (1)
| Country | Link |
|---|---|
| JP (1) | JP4868960B2 (ja) |
Cited By (1)
| Publication number | Priority date | Publication date | Assignee | Title |
|---|---|---|---|---|
| JP2011233942A (ja) * | 2011-08-26 | 2011-11-17 | Fine Rubber Kenkyusho:Kk | 発光装置およびその製造方法 |
Families Citing this family (3)
| Publication number | Priority date | Publication date | Assignee | Title |
|---|---|---|---|---|
| JP2010258093A (ja) * | 2009-04-22 | 2010-11-11 | Ccs Inc | 発光装置 |
| JP2014038876A (ja) * | 2010-12-15 | 2014-02-27 | Panasonic Corp | 半導体発光装置 |
| CN107123724B (zh) * | 2017-03-29 | 2023-05-23 | 华南理工大学 | 一种电控变曲面荧光膜片模压方法及装置 |
Family Cites Families (4)
| Publication number | Priority date | Publication date | Assignee | Title |
|---|---|---|---|---|
| JP3434658B2 (ja) * | 1997-01-14 | 2003-08-11 | サンケン電気株式会社 | 半導体発光装置 |
| JP2004235337A (ja) * | 2003-01-29 | 2004-08-19 | Toyoda Gosei Co Ltd | 発光ダイオード |
| US20050156510A1 (en) * | 2004-01-21 | 2005-07-21 | Chua Janet B.Y. | Device and method for emitting output light using group IIB element selenide-based and group IIA element gallium sulfide-based phosphor materials |
| JP2005327841A (ja) * | 2004-05-13 | 2005-11-24 | Asahi Rubber:Kk | 発光ダイオード用キャップ及び発光ダイオード装置 |
-
2006
- 2006-06-30 JP JP2006181800A patent/JP4868960B2/ja not_active Expired - Fee Related
Cited By (1)
| Publication number | Priority date | Publication date | Assignee | Title |
|---|---|---|---|---|
| JP2011233942A (ja) * | 2011-08-26 | 2011-11-17 | Fine Rubber Kenkyusho:Kk | 発光装置およびその製造方法 |
Also Published As
| Publication number | Publication date |
|---|---|
| JP2008010748A (ja) | 2008-01-17 |
Similar Documents
| Publication | Publication Date | Title |
|---|---|---|
| KR101008762B1 (ko) | 발광 장치 및 그 제조 방법 | |
| KR102277127B1 (ko) | 발광소자 패키지 | |
| KR100944008B1 (ko) | 백색 발광소자 및 그 제조방법 | |
| US9420642B2 (en) | Light emitting apparatus and lighting apparatus | |
| US8421102B2 (en) | Semiconductor light-emitting device having a member in a periphery made of a material whose color, transparency or adhesiveness changes overtime due to light or heat emission from the emitting element | |
| US20090321758A1 (en) | Led with improved external light extraction efficiency | |
| CN104752590A (zh) | 具光致发光波长转换的固态发光装置 | |
| JP2006237264A (ja) | 発光装置および照明装置 | |
| JP2014060328A (ja) | 発光装置 | |
| KR20160036489A (ko) | 발광 장치 | |
| JP7108171B2 (ja) | 発光装置 | |
| US20140376223A1 (en) | Light source with led chip and luminophore layer | |
| JP3898721B2 (ja) | 発光装置および照明装置 | |
| US9989197B2 (en) | Optical device and light source module including the same | |
| JP2013038353A (ja) | 発光モジュール | |
| US20210184086A1 (en) | Light-emitting device and method of manufacturing the same | |
| US11355678B2 (en) | Light-emitting device and method of manufacturing the same | |
| JP4417757B2 (ja) | 発光装置およびその製造方法ならびに照明装置 | |
| US20190103522A1 (en) | Lighting apparatus and light emitting apparatus | |
| JP4868960B2 (ja) | 発光装置およびその製造方法 | |
| JP2008010749A (ja) | 発光装置およびその製造方法 | |
| JP2009099759A (ja) | 発光装置 | |
| KR101666844B1 (ko) | 광학 소자 및 이를 포함하는 광원 모듈 | |
| JP5291162B2 (ja) | 発光装置およびその製造方法 | |
| KR20180093989A (ko) | 다중 네오디뮴 및 불소 화합물을 사용하여 색조정 필터링을 채택하는 led 장치 |
Legal Events
| Date | Code | Title | Description |
|---|---|---|---|
| A621 | Written request for application examination |
Free format text: JAPANESE INTERMEDIATE CODE: A621 Effective date: 20090430 |
|
| A521 | Request for written amendment filed |
Free format text: JAPANESE INTERMEDIATE CODE: A523 Effective date: 20100212 |
|
| A131 | Notification of reasons for refusal |
Free format text: JAPANESE INTERMEDIATE CODE: A131 Effective date: 20110629 |
|
| A977 | Report on retrieval |
Free format text: JAPANESE INTERMEDIATE CODE: A971007 Effective date: 20110629 |
|
| A521 | Request for written amendment filed |
Free format text: JAPANESE INTERMEDIATE CODE: A523 Effective date: 20110826 |
|
| TRDD | Decision of grant or rejection written | ||
| A01 | Written decision to grant a patent or to grant a registration (utility model) |
Free format text: JAPANESE INTERMEDIATE CODE: A01 Effective date: 20111026 |
|
| A01 | Written decision to grant a patent or to grant a registration (utility model) |
Free format text: JAPANESE INTERMEDIATE CODE: A01 |
|
| A61 | First payment of annual fees (during grant procedure) |
Free format text: JAPANESE INTERMEDIATE CODE: A61 Effective date: 20111115 |
|
| R150 | Certificate of patent or registration of utility model |
Free format text: JAPANESE INTERMEDIATE CODE: R150 |
|
| FPAY | Renewal fee payment (event date is renewal date of database) |
Free format text: PAYMENT UNTIL: 20141125 Year of fee payment: 3 |
|
| R250 | Receipt of annual fees |
Free format text: JAPANESE INTERMEDIATE CODE: R250 |
|
| R250 | Receipt of annual fees |
Free format text: JAPANESE INTERMEDIATE CODE: R250 |
|
| LAPS | Cancellation because of no payment of annual fees |
