JP4829552B2 - 熱電変換モジュール - Google Patents

熱電変換モジュール Download PDF

Info

Publication number
JP4829552B2
JP4829552B2 JP2005197362A JP2005197362A JP4829552B2 JP 4829552 B2 JP4829552 B2 JP 4829552B2 JP 2005197362 A JP2005197362 A JP 2005197362A JP 2005197362 A JP2005197362 A JP 2005197362A JP 4829552 B2 JP4829552 B2 JP 4829552B2
Authority
JP
Japan
Prior art keywords
conversion module
thermoelectric conversion
heat source
container
heating plate
Prior art date
Legal status (The legal status is an assumption and is not a legal conclusion. Google has not performed a legal analysis and makes no representation as to the accuracy of the status listed.)
Expired - Fee Related
Application number
JP2005197362A
Other languages
English (en)
Other versions
JP2006049872A5 (ja
JP2006049872A (ja
Inventor
満 神戸
英雄 四方
Current Assignee (The listed assignees may be inaccurate. Google has not performed a legal analysis and makes no representation or warranty as to the accuracy of the list.)
Central Research Institute of Electric Power Industry
Original Assignee
Central Research Institute of Electric Power Industry
Priority date (The priority date is an assumption and is not a legal conclusion. Google has not performed a legal analysis and makes no representation as to the accuracy of the date listed.)
Filing date
Publication date
Application filed by Central Research Institute of Electric Power Industry filed Critical Central Research Institute of Electric Power Industry
Priority to JP2005197362A priority Critical patent/JP4829552B2/ja
Publication of JP2006049872A publication Critical patent/JP2006049872A/ja
Publication of JP2006049872A5 publication Critical patent/JP2006049872A5/ja
Application granted granted Critical
Publication of JP4829552B2 publication Critical patent/JP4829552B2/ja
Anticipated expiration legal-status Critical
Expired - Fee Related legal-status Critical Current

Links

Images

Landscapes

  • Cooling Or The Like Of Semiconductors Or Solid State Devices (AREA)

Description

本発明は、例えば各種産業機器および自動車などの廃熱を熱源とする熱電変換システムに用いられる熱電変換モジュールに関する。さらに詳述すると、本発明は、熱電変換モジュールを大型化するための技術に関する。
従来の熱電変換モジュールは、図16に示すように、複数対の熱電半導体101の上下面に電極102を備えることで電気回路を構成し、さらにそれぞれの電極の外側に電気絶縁性を備える板103例えばセラミックス板あるいは電気絶縁膜を有する金属板などを備える構造が一般的である。これら複数対の熱電半導体101と電極102を2枚の板103で挟み付けるようにして接着剤やろう材等の接合材で結合することによって熱電変換モジュールが組み立てられる。別の形式としては、図17に示すように、熱電半導体101の電極102の一方若しくは双方を、電極層と電気絶縁層を有する傾斜機能材料から成るコンプライアント・パッド(FGMコンプライアント・パッド、特許文献1,特許文献2参照)104に置換し、さらにその外側に、セラミックスなどの電気絶縁性または金属などの導電性の板103を備える構造もある。
更に、熱電変換モジュールは、熱電半導体101と電極102またはFGMコンプライアント・パッド104のみで電気回路を構成できるため、熱電半導体101を挟み付ける板103は発電上は必ずしも無くても良い。そこで、片面または両面の板103が無い構造の熱電変換モジュールも存在する。このように片面または両面の板103が無い構造は、内部が見えることからスケルトン型と呼ばれている。
特許第3056047号 特許第3482094号
しかしながら、スケルトン型の熱電変換モジュールは、電極102またはFGMコンプライアント・パッド104のみで熱電半導体101を互いに結合するため、強度が弱く壊れやすい欠点がある。特に、両面に板103を備えないスケルトン構造は、組み立てが難しく、手作業での組み立てはできるにせよ、工業的な量産には適さない。以上の理由から、量産規模の従来の熱電変換モジュールは、両面に板103を備える図16並びに図17に示すような構造が一般的となっている。
ところが、図16並びに図17に示すような熱電変換モジュールの構造では、大型化が難しく、平面寸法が4cm角程度のものが一般的で、大きなものでも7cm角程度である。これ以上の大型化を実現できない理由は、熱電変換モジュールに負荷される温度差に起因する熱応力が、上記温度差と熱電変換モジュールの寸法の積にほぼ比例するためである。即ち、熱電半導体を挟み付ける板、中でも高温熱源側に配置される加熱面側の板103aが熱膨張するために、この板103aの周辺部の電極102またはFGMコンプライアント・パッド104並びにこれらと接合された熱電半導体101の加熱面側は、板103aの膨張に伴って同方向に移動する。しかし低温熱源側に配置される冷却面側の板103bは熱膨張しないため、熱電半導体101およびその上下の電極102またはFGMコンプライアント・パッド104には、せん断応力が作用し、脆弱な熱電半導体101を破壊したり、各部材間の接合面で剥離を生じる恐れがある。この問題は特に自動車や産業廃熱などを想定した使用温度500℃以上の高温用熱電変換モジュールにおいて重大である。例えば4cm角のモジュールの加熱面側の板103aとして銅またはステンレス鋼を採用している場合において500℃に加熱すると、端部の変位量(板の中心から計った相対変位量)は0.16mm程度となる。上記板103aがセラミックスの場合は、上記変位量は0.07mm程度となる。この加熱板103aの熱膨張に起因するせん断力の発生は、加熱板103aの大型化に伴い無視できない問題となり、モジュールの大型化を妨げる要因となる。
一方、複数の熱電変換モジュールを備えた熱電変換システムにおいて単位面積当たりの出力を上げるには、熱電半導体101の充填密度を上げる必要がある。従来の熱電変換システムでは、充填密度は50%程度である。これ以上充填密度を上げられない理由としては、(1)熱電半導体101が互いに接触して短絡しないように適度な隙間が必要であること、(2)熱電変換モジュールの周囲およびリード線の取り付け部には熱電半導体101を置けない場所があること、(3)隣接する熱電変換モジュールが互いに干渉しないように熱電変換モジュール間に適切な隙間が必要であること、が挙げられる。上記のうち、熱電変換モジュールが小さいほど(2)および(3)の影響が相対的に大きくなる。従って、充填密度を上げるには、できるだけ熱電変換モジュールを大型化することが望ましい。しかし、その場合は上記に述べたように、大型化にともなう別の問題が生じてしまう。また、熱抵抗を低減させることが熱電変換効率を向上させる上で要求されるが、熱電モジュールの構成要素を密着させるために加熱板と冷却板との間で熱電半導体を強力に挟みつけると、脆弱な熱電半導体が圧潰する虞があるので、熱抵抗を低減させることが難しかった。
また、熱電変換モジュールの設置される雰囲気が、高温の空気中など酸化雰囲気であったり、ゴミ焼却炉の燃焼ガスのような腐食性雰囲気である場合、熱電半導体や電極部分が外気に晒される構造の熱電変換モジュールでは酸化または腐食の恐れが伴う。したがって、従来の熱電変換モジュールは、このような雰囲気下に剥き出しにして設置できないため、上記高温ガスをダクトや仕切壁で隔離して、間接的に熱電変換モジュールを加熱する方法が一般的である。しかし、このようなシステムは、ダクトや仕切壁などの構造物が新たに必要になるばかりか、間接加熱のために熱電半導体に加わる温度差が減少する分だけ熱電変換モジュールの発電性能が低下する欠点がある。
そこで本発明は、健全性を備えた大型モジュールを実現し、熱電半導体の実質的な充填密度を向上させ、出力密度を増大できる熱電変換モジュールを提供することを目的とする。更に本発明は、強度を向上でき、いかなる雰囲気下でも使用できる熱電変換モジュールを提供することを目的とする。
かかる目的を達成するため、本発明の熱電変換モジュールは、少なくとも一対の熱電半導体と、前記熱電半導体の高温熱源側の面に設置され前記熱電半導体を電気的に直列に接続する熱源側電極部と、前記熱電半導体の低温熱源側の面に設置され前記熱電半導体を電気的に直列に接続する放熱側電極部と、前記熱源側電極部を覆い高温熱源から熱を受ける加熱板と、前記放熱側電極部を覆い低温熱源へ熱を伝える冷却板と、少なくとも前記熱源側電極部と前記加熱板との間に介在される熱伝導性を有する滑り材と、前記加熱板と前記冷却板とを連結板で連結することによって該連結板で前記加熱板と前記冷却板の全周側面を覆って前記加熱板と前記冷却板との間の空間を密閉する気密構造とされた容器とを備え、前記容器内の圧力を当該容器の外の圧力よりも低いものとして運転時に0.4気圧以上の差圧が得られる減圧雰囲気又は真空とし、前記差圧により得られる加圧力により、前記滑り材が前記熱源側電極部に押圧されて前記熱源側電極部と一体に保持され、且つ前記滑り材が前記加圧状態において前記熱源側電極部または前記加熱板との間の相対的摺動を許容するようにしている。
したがって、本発明によると、少なくとも熱源側電極部が高温熱源側の加熱板と直接接合されることなく滑り材を介在させることにより、高温熱源側の加熱板が熱膨張しても、加熱板と滑り材との間で滑りが生ずるために、熱電半導体および熱源側電極部および放熱側電極部にはせん断応力が作用しない。また、シート材が介在する界面は、熱電変換モジュールに作用する加圧力により良好に密着し、当該界面における接触熱抵抗を小さくできる。また、気密の容器に熱電変換モジュールの構成部品が密封されるので、外気の影響を受けず、容器の内部に収容された熱電変換モジュールの構成部品並びに滑り材の酸化による劣化を防止できる。加えて、熱電変換モジュールの構成部品が容器内に収容されるので、外部からの物理的衝撃や圧力・温度などの急激な変動などを緩和し、外部からの力に対する強度が高まる。さらに、滑り材が介在する加熱板と熱源側電極部との間の界面は、容器内の圧力を当該容器の外の圧力よりも低いものとして運転時にも0.4気圧以上の差圧が生じ、差圧により得られる加圧力によって、より良好に密着する。
ここで、滑り材は、少なくとも熱伝導性と摺動性(滑り)を備えているものである。この滑り材は電気絶縁性を備えていることが好ましい。しかし、電極部と滑り材との間に電気絶縁材あるいは電気絶縁層が介在されれば、滑り材そのものが電気絶縁性を備える必要はない。そこで、滑り材としては、熱伝導性を有する低摩擦係数のシート材あるいはグリースのような粘性物の使用が好ましい。さらに、シート材としては、カーボンシートあるいは高分子シートの使用が好ましい。カーボンシートは、摺動性に優れる上に熱伝導性並びに耐熱性にも優れるのでより高い最高使用温度の熱電半導体の使用を可能とすると共に、カーボンシートが介在する界面の熱抵抗をこれが存在しない場合の1/10以下に低減することができる。特に、気密容器に収めて使用する場合には、大気中で使用する場合よりも高温まで使用することができる。また、高分子シートは、摺動性に優れると共に電気絶縁性であることから、電気絶縁層を有さない電極材および電気絶縁層を有するFGMコンプライアント・パッドのいずれにも直接接触させることができる。さら、粘性物質であるグリースを滑り材として加熱板と熱源側電極部との間に介在させる場合には、加熱板の膨張に起因するせん断応力の作用をしない。
さらに、滑り材としてカーボンシートを用いる場合、該カーボンシートと接触する電極部には、電極層と電気絶縁層を有する傾斜機能材料で構成される電極部とすることが好ましく、さらに好ましくは熱源側電極部とカーボンシートとの間にさらにマイカシートを介在させることである。この場合には、カーボンと電極部との電気絶縁を確実なものとした上に加熱板と電極部との間での滑りを良好なものとすることができる。
また、滑り材として熱伝導性のグリースを用いる場合には、容器と熱源側電極部との相対的なスライド移動を可能にしてせん断応力の発生を防ぐと共に、粘性物質であるために加熱板と電極部とを隙間なく密着させて当該界面における接触熱抵抗を小さくできる。これにより熱電半導体に大きな温度差を負荷できる。しかも、気密容器に密封されているため、熱酸化によるグリースの劣化やグリースの蒸発などの問題が無くなり、グリースを長期に安定して容器と熱源側電極部との間に保持できる。
また、本発明にかかる熱電変換モジュールの容器は連結板部分に加熱板と冷却板との間隔を伸縮可能とするベローズを備え、加熱板と冷却板との間に作用する加圧力によりベローズを変形させて加熱板と熱源側電極部とを滑り材を介して密着させるようにすることが好ましい。この場合、容器の内外での圧力差により加わる圧力によりべローズが変形して、容器の加熱側内面と容器内部の熱電変換モジュールの構成部品との密着が促進される。
また、本発明の熱電変換モジュールは、加熱板の高温側熱源に向かう面の放射率に比べ、連結板の面の放射率を小さくすることが好ましい。この場合、放射率が大きい加熱板の高温熱源に向かう面は熱を吸収し易くなって加熱され、熱電半導体の周りを囲む連結板の面は放射率が小さく熱を吸収し難くなって加熱され難くなるので、熱電半導体の周りからの入熱を遮って熱電半導体に負荷される温度差を大きくできる。しかも、熱電変換モジュールの側面即ち連結板部分からの発電に寄与しない入熱量が少なくなるので、気密の容器を用いる場合には無用の内圧の上昇を抑えることができる。
また、本発明にかかる熱電変換モジュールは、熱電変換モジュールの使用温度下で液状を呈する低融点材料と、この低融点材料を封入し且つ液状の低融点材料の変形を許容する柔軟性を備えるシェルとを有する伝熱用クッションを、加熱板とこれに接触する高温熱源との間または冷却板とこれに接触する低温熱源との間の少なくとも一方若しくは双方に備えることが好ましい。これにより、使用温度下で液状を呈する低融点材料およびこの低融点材料を封入する柔軟なシェルが、接触する伝熱面の曲面状の変形(面外変形)に追従して、2つの伝熱面の間を良好に充填し、これら2面の間に空隙が生じてしまうことを防いで、接触熱抵抗を小さくする。しかも、液状の低融点材料は熱伝導率が高いので、伝熱用クッションそのものの熱抵抗を低く抑えることができ、効率的に熱を伝える。また、液状の低融点材料を封入した柔軟なシェルがクッションとして機能し、むやみに強く挟み付けなくとも高温熱源と加熱板とを密着させ得る。
さらに、好ましくは、伝熱用クッションと加熱板あるいは冷却板との間には熱伝導性を有する低摩擦係数のシート材からなる第2の滑り材を介在させることである。この場合には、伝熱面が熱膨張した場合でも、伝熱面を第2の滑り材上で滑らせて面方向にスライド移動させるので、シェルに作用しようとするせん断応力を逃がし、シェルの破壊を防止できる。
請求項1記載の熱電変換モジュールによれば、高温熱源側の加熱板が膨張しても、熱源側電極部との間に介在される滑り材によって滑りを生じさせるため、熱電半導体および熱源側電極部および放熱側電極部にはせん断応力が作用することがない。このため、熱電変換モジュールを大型化しても、脆弱な熱電半導体を破壊したり、接合面で剥離を生じることがなく、熱電変換モジュールの大型化が可能となり、熱電半導体の実質的な充填密度を向上でき、出力密度(単位面積当たりの出力)を増大することができる。また、滑り材が介在する界面は、熱電変換モジュールに作用する加圧力により良好に密着し、当該界面における接触熱抵抗を小さくできるので、熱電半導体に大きな温度差を負荷できる。さらに、本発明の熱電変換モジュールは、冷却板と加熱板とが連結板で連結され、滑り材を介して冷却板と加熱板との間で熱電半導体並びに電極部を挟んで一体化されているので、モジュールとしての強度が強く壊れ難いものとなると共に取り扱いが容易になる上に、組み立ても容易で工業的な量産に適するものとなる。
また、この熱電変換モジュールによれば、熱電変換モジュールの構成部品が気密の容器内に密封されるので、いかなる雰囲気例えば酸化雰囲気や腐食性雰囲気の下でも使用することができる。加えて、熱電変換モジュールの構成部品が気密の容器内に収容されるので、外部からの力に対する強度が高まる。さらに、滑り材が介在する少なくとも加熱板と熱源側電極部との間の界面は、容器内外の差圧により容器外から加圧されるため、良好な密着性により当該界面における接触熱抵抗を小さくでき、さらに熱電半導体に大きな温度差を負荷できる。
さらに、この熱電変換モジュールによれば、容器内を真空または不活性雰囲気または還元雰囲気とするので、容器の内部に収容された熱電変換モジュールの構成部品並びに滑り材の酸化による劣化を防止できる。
また、請求項記載の熱電変換モジュールによれば、滑り材としてシート材を採用しているので、組み立て時の取り扱いが容易である。
さらに請求項記載の熱電変換モジュールによれば、滑り材として高分子シート材を採用しているので、摺動性に優れると共に電気絶縁性であることから、電気絶縁層を有さない電極材に対しても、あるいは電気絶縁層を有するFGMコンプライアント・パッドのいずれにも直接接触させることができ、モジュール部品点数を削減できると共に構造を簡単にすることができる。
さらに請求項記載の熱電変換モジュールによれば、滑り材としてカーボンシートを採用することにより、摺動性だけでなく熱伝導性並びに耐熱性にも優れるので、熱抵抗が大幅に低減して大きな熱負荷をかけることができる。しかも、カーボンシートは耐熱性に優れるので、熱電半導体の使用最高温度を高温域のものとすることが可能である。
さらに請求項記載の熱電変換モジュールによれば、滑り材として粘性物質であるグリースを採用しているので、加熱板と電極部とを隙間なく密着させて当該界面における接触熱抵抗を小さくできると共に熱電半導体に大きな温度差を負荷できる。しかも、加熱板の熱膨張時にも、グリースの潤滑効果により、加熱板が滑らかに移動するので、熱源側並びに放熱側の電極部や熱電半導体にはせん断応力が作用しない上に、各電極部と加熱板あるいは冷却板との間の密着関係も損なわれない。
さらに請求項記載の熱電変換モジュールによれば、容器の内外での圧力差により加わる圧力によりべローズが変形して、容器の加熱側内面と容器内部の熱電変換モジュールの構成部品との密着が促進されるので、より熱抵抗を少なくして大きな温度差を負荷できる。
さらに請求項記載の熱電変換モジュールによれば、加熱板からの給熱量を大きくしながら熱電半導体の周りからの入熱を遮って熱電半導体に負荷される温度差を大きくできるので、熱電半導体に負荷される温度差を大きくできる。熱電変換モジュールの発電性能は熱電半導体に負荷される温度差のほぼ2乗に比例するため、熱電変換モジュールの発電性能を大幅に向上できる。しかも、熱電変換モジュールの側面即ち連結板部分からの発電に寄与しない入熱量が少なくなるので、気密の容器を用いる場合には内圧の上昇を抑えて、容器の膨張による部品相互の密着を妨げることがないし、容器内の減圧度そのものを少なくすることも可能となる。
さらに請求項記載の熱電変換モジュールによれば、使用温度下で液状を呈する低融点材料およびこの低融点材料を封入する柔軟なシェルが、接触する伝熱面の曲面状の変形(面外変形)に追従して、2つの伝熱面の間を良好に充填し、これら2面の間に空隙が生じてしまうことを防いで接触熱抵抗を小さくすると共に液状の低融点材料が熱伝導率が高く伝熱用クッションそのものの熱抵抗を低く抑えることができるので、効率的に熱を伝えることができる。これにより、熱電変換モジュールに負荷できる温度差をさらに増大でき、熱電変換モジュールの発電電力を向上できる。すなわち実質的なエネルギー変換効率を向上できる。これにより熱電変換システムの発電単価を低減できる。また、液状の低融点材料を封入した柔軟なシェルがクッションとして機能し、むやみに強く挟み付けなくとも高温熱源と加熱板とが密着できるので、熱電変換モジュールに作用する加圧力により熱電半導体が破壊してしまうことを防止できる。
さらに請求項10記載の熱電変換モジュールによれば、伝熱用クッションと加熱板あるいは冷却板との間に低摩擦係数のシート材からなる第2の滑り材が介在されているので、伝熱面が熱膨張した場合でも、伝熱面を第2の滑り材上で滑らせて面方向にスライド移動させるので、シェルに作用しようとするせん断応力を逃がし、シェルの破壊を防止できる。これにより、伝熱面が大型となる場合の大きな熱膨張変位、例えば大型の加熱ダクトの運転・停止中の温度差に起因する熱膨張変位を許容できる。
さらに請求項11記載の熱電変換モジュールによれば、熱源側電極部として電極層と電気絶縁層を有する傾斜機能材料を用いかつ滑り材としてカーボンシートを用いているので、摺動性だけでなく熱伝導性に優れ、かつびに耐熱性にも優れるので、熱抵抗が大幅に低減して大きな熱負荷をかけることができる。しかも、カーボンシートは耐熱性に優れるので、熱電半導体の使用最高温度を高温域のものとすることが可能である。
さらに請求項12記載の熱電変換モジュールによれば、熱源側電極部とカーボンシートとの間にマイカシートを介在させることで、カーボンと電極部との電気絶縁を確実なものとした上に加熱板と電極部との間での滑りを良好なものとすることができる。
以下、本発明の構成を図面に示す実施形態に基づいて詳細に説明する。
図1から図9に本発明の熱電変換モジュールの実施の一形態を示す。この熱電変換モジュール1は、気密の容器7に熱電半導体2を密封するタイプであり、少なくとも一対の熱電半導体2と、熱電半導体2の熱源側の面に設置され熱電半導体2と電気的に接続されている熱源側電極部3と、熱源側電極部3とは反対側で熱電半導体2の低温側の面に設置され熱電半導体2と電気的に接続されている放熱側電極部4並びに各電極部3,4をそれぞれ覆って受熱部を構成する加熱板7a並びに冷却板6とを備え、加熱板7a並びに冷却板6を各々介して熱電半導体2の高温側の受熱面と低温側の放熱面との間にかけられる温度差により発電するものである。
この熱電変換システム1の少なくとも加熱板7aと熱源側電極部3の間には、熱伝導性を有する滑り材5が備えられ、滑り材5を介在させて加熱板7aと熱源側電極部3との間の熱的連結が図られている。ここで、滑り材5としては少なくとも熱伝導性を有しかつ2部材間の摺動を容易ならしめる物質であれば良く、本実施形態においては例えば低摩擦係数の材質からなる熱伝導性を有するシート材あるいは熱伝導性のグリースなどが採用されている。また、本実施形態における加熱板7a並びに冷却板6は、熱電半導体2と各電極部3,4を収容する気密性の容器7の一部を構成するものである。即ち、加熱板7aと冷却板6とは、それらの全周側面を連結板7bで覆われるように連結されて、加熱板7aと冷却板6との間の空間を密閉する気密の容器7を構成するようにしている。そして、容器7内の圧力を当該容器7の外の圧力よりも低いものとして、容器内外の差圧により加熱板7aと冷却板6との間、即ち加熱板7aの内側の面(高温面S1と呼ぶ)と冷却板6の内側の面(低温面S2と呼ぶ)との間に作用する加圧力により、滑り材5が熱源側電極部3に押圧されて密着され熱源側電極部3と一体に保持されるように設けられている。尚、図1から図9の例では熱源の図示を省略している。本実施形態の熱電変換モジュールにおいては、受熱の方法は特に限定されず、容器上面の加熱板への熱源との直接接触による伝熱でも、離れた熱源からの放射熱あるいはガス状熱源による熱伝達によっても良い。
本実施形態の場合の気密の容器7は、剛性の高い冷却板6とその上に被せられる比較的柔軟性のある箱形状の蓋体70とで構成され、冷却板6と蓋体70の周縁とを溶接あるいは接着剤やロウ付けで接合することにより一体化されている。蓋体70は、加熱板7a部分と連結板7b部分とを含むものであり、例えば1枚の薄い金属板をプレス成形加工して作製される。ここで、蓋体70のシート材5と対向する上面部7aが加熱板に相当し、周辺の側面部7bが連結板に相当する。
容器7は内外の差圧により外側から押圧力を受ける。この押圧力を利用して容器7の加熱板7a部分の内面により、シート材5および更に内側に位置する熱源側電極部3を均一に押しつける。容器7は、内外の差圧により変形してシート材5を良好に押圧できる程度の柔軟性と、外気に押圧されても密封性を確保できる程度の剛性とを備える。
熱電半導体2として例えばBiTeなどを用いて低温用の熱電変換モジュール1を構成する場合、容器7の上面の加熱板7a部分の温度は例えば250℃程度以下となるため、蓋体70の材質としては、アルミニウム(Al)、銅(Cu)、ステンレス鋼(例えばSUS304,SUS316)などを採用できる。また、熱電半導体2として例えばFeSiなどを用いて高温用の熱電変換モジュール1を構成する場合、容器7の加熱側即ち加熱板7a部分の温度は例えば600℃程度となるため、蓋体70の材質としては、インコネル(Special Metals Corporationの登録商標)などを採用できる。
但し、蓋体70の材質は上記に例示したものに限定されず、また必ずしも金属に限定されず、耐熱性、耐蝕性、加工性などの観点から適宜選択して良い。またプレス成形加工により一体品の蓋体70を作製することには限定されない。例えば一枚の板をプレス成形加工で深絞りすることが困難な材質の場合は、シート材5と対向する上面の加熱板7a部分とその周辺の曲率部(連結板の一部)のみを一枚の板でプレス成形加工し、他の側面部即ち残りの連結板部分を冷却板と一体にあるいは別の部材(金属またはセラミックなど)で用意して、これらを溶接またはろう材や接着剤を用いた接合などの方法により組み立てて、容器7を構成するようにしても良い。
容器7の加熱板7a部分と連結板7b部分とを構成する蓋体70の厚みは、内外の差圧により変形してシート材5を良好に押圧できるように、また熱抵抗を小さくする観点から、薄くすることが望ましく、例えば20μm〜0.5mm程度とすることが好ましい。但し、上記例示に限定されるものではなく、熱電変換モジュール1の大きさや差圧の大きさなどに応じて適宜決定するべきである。
容器7の加熱板7a部分の内面(高温面S1)と熱源側電極部3との間に介在させるシート材5としては、接触熱抵抗を低減でき、且つ高い摺動性(即ち低摩擦係数)、耐熱性、容器7の加熱板7a部分の変形に追従できる柔軟性を備えるものが選択される。より望ましくは、厚さ方向に高い熱伝導率を有する材質が選択される。例えば、カーボンシートや高分子シートなどの利用が好ましい。
尚、カーボンシートは電気伝導性であるため、カーボンシートをシート材5として用いる場合には、熱源側電極部3は絶縁層を備える必要がある。一方、高分子シートなどの電気絶縁性シートをシート材5として用いる場合には、熱源側電極部3は絶縁層を備える必要がない。絶縁層を備える熱源側電極部3として、電極層と電気絶縁層を有する傾斜機能材料から成るコンプライアント・パッド(FGMコンプライアント・パッド)30を用いても良い。FGMコンプライアント・パッド30は、例えば熱電半導体2側が電極層、その反対側が電気絶縁層で、両者の組成が連続的に変化するものであり、例えば特許第3056047号や特許第3482094号に開示された物を利用することができる。尚、両面が電極層、内部が電気絶縁層から成るFGMコンプライアント・パッド30を用いても良い。
ここで、既存のカーボンシートは、面方向の熱伝導率は高いが、厚さ方向の熱伝導率が低いものが一般的である。しかし、このような既存のカーボンシートでも、接触熱抵抗を大きく低減できる効果が得られることが、本願発明者の実験により明らかになった。以下に当該実験について説明する。
例えば厚さ方向の熱伝導率が5W/mK、厚さ0.15mmのカーボンシートを、銅製の2つのブロックの間に介在させて、0.4kg/cmで加圧して、熱抵抗を測定した。また、比較例として、カーボンシートを介在させずに、上記2つのブロックを上記と同じ圧力で加圧して、熱抵抗を測定した。さらに上記測定を温度条件を変化させて行った。測定結果を表1に示す。
Figure 0004829552
表1に示すカーボンシート使用時の熱抵抗の値はカーボンシートを挟む2個の銅ブロックをカーボンシートの面と平行に相対変位させてもほとんど変化しない。また、表1に示すカーボンシート使用時の熱抵抗は、カーボンシートの上下面における銅ブロックとの接触熱抵抗およびカーボンシート自体の熱抵抗の合計である。このうちカーボンシート自体の熱抵抗Rcは式1の計算で求めることができる。
カーボンシート自体の熱抵抗Rc=(厚さ)/(熱伝導率)
=0.15×10−3(m)/5(W/mK)
=3×10−5(mK/W) …(1)
一方、熱抵抗の合計をRとすると、カーボンシートの上下面における銅ブロックとの接触熱抵抗は(R−Rc)/2で計算される。即ち、カーボンシートの上下面における銅ブロックとの接触熱抵抗は、150〜200℃で3.5×10−5K/W、300〜400℃で3×10−5K/Wと推定される。
他方、カーボンシートを介在させない場合の2個の銅ブロックの接触熱抵抗は、100×10−5K/W以上である。従ってカーボンシートを採用することにより、熱抵抗を1/10以下に低減できる。また、上記実験結果から、カーボンシートが接触熱抵抗を低減する効果を発揮するために、0.4kg/cm以上の加圧力をカーボンシートに作用させることが望ましいと考えられる。尚、厚さ方向の熱伝導率を高くしたカーボンシートも開発される途上にあり、このようなカーボンシートを採用すれば、上記熱抵抗をさらに低減することができる。
また、カーボンシートは、一般に、空気中では400℃程度まで、真空および不活性雰囲気中では1100℃程度まで使用可能である。従って容器7内部を真空または不活性雰囲気とすれば、カーボンシート自体は1100℃まで使用可能である。熱電変換モジュール1の最高使用温度は、一般的には熱電半導体2の制約により決まるが、最も高温で使用できるSiGeでも最高使用温度は1100℃である。従ってカーボンシートを使って容器7内部を真空または不活性雰囲気とすれば、いかなる熱電半導体2にも対応できる。
容器7の加熱側内面(高温面S1)と熱源側電極部3とがシート材5を介して密着するように、容器7の内部は真空となっているか、容器7が設置される雰囲気の圧力において負圧となっている必要がある。容器7の内部を真空とするか、或いは減圧雰囲気とするかは、設置雰囲気の圧力および運転温度などに基づいて適宜決定して良い。また、容器7の内部を減圧雰囲気とする場合においては、当該容器7の内部を不活性雰囲気または還元雰囲気としても良い。これにより、容器7の内部に収容された熱電変換モジュール1の構成部品の酸化による劣化を防止できる。尚、不活性ガスとしてはアルゴン(Ar)が最適である。この他の不活性ガスも使用できるが、窒素(N)は高温で反応する材料もあるので注意が必要であり、ヘリウム(He)は漏れやすいので余り適さない。また、水素(H)を封入して還元雰囲気とすることが適する材料系もある。
例えば550℃、大気圧下で運転する熱電変換モジュール1で、室温(27℃)での封入圧力(PRT)を−0.8気圧(ゲージ圧)とすると、550℃に加熱した際の内圧P550はボイル・シャルルの法則により式2で計算される。
550 =0.2×(550+273)/(27+273)
=0.55気圧(絶対圧)
=−0.45気圧(ゲージ圧) …(2)
従って、550℃でも負圧を維持できる。この場合に容器7を外部から押しつける圧力は0.45kg/cm=4.5ton/mである。表1に示したごとく、カーボンシートを介在させて0.4kg/cmで加圧すれば接触熱抵抗の低減に有効である。よって上述したカーボンシートの効果が期待できる。
室温(27℃)での封入圧力と550℃での差圧の関係を表2に示す。熱電変換モジュール1が設置される雰囲気(外圧)は大気圧として計算した。尚、表2に示す圧力の単位は気圧である。
Figure 0004829552
事例1は容器7内を真空とした場合で、1気圧の差圧を受けるため充分な効果が得られる。事例2は上述した室温(27℃)での封入圧力(PRT)を−0.8気圧(ゲージ圧)とした場合であり、これも充分な効果が得られる。事例3は差圧が不充分で、当該箇所の接触熱抵抗が若干増大する恐れがある。事例4は容器7の内圧の方が大きく、容器7が膨らむために容器7の加熱側内面(高温面S1)と熱源側電極部3とがシート材5を介して密着できず、接触熱抵抗が極端に増大する。以上より、0.4気圧以上の差圧を達成するには表2の事例1および事例2が望ましく、事例3および事例4は避けるべきである。
容器7の内圧を目的値に設定する方法の例を以下に説明する。容器7を構成する蓋体70と冷却板6を電子ビーム溶接する場合は、真空雰囲気で行うため、上記溶接方法を採用すれば容器7内部を真空とできる。また、容器7内部を真空とせずに、容器7の内圧を目的値に設定する方法としては、例えば図6に示すように容器7側面にノズル部8を設けておく。そして、蓋体70と冷却板6を溶接またはろう材等で接合し、一体化された蓋体70と冷却板6を図示を省略するグローブボックスに入れて先ず真空引きし、次にグローブボックスに不活性ガス又は還元ガスを目的の圧力となるように導入する。これにより容器7の内部も同一圧力になる。その後、ノズル部8の先端を工具で押し潰して、容器7を応急的に密閉する。さらに容器7をグローブボックスから取り出してノズル部8の先端を溶接またはろう材等で完全に密閉する。
熱電変換モジュール1の構成例を図1〜図9に示す。
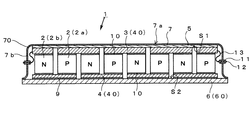
例えば図1に示す熱電変換モジュール1は、交互に並ぶ複数の熱電半導体2としてのP型熱電半導体2aとN型熱電半導体2bと、隣接するP型熱電半導体2aとN型熱電半導体2bとを熱源側で電気的に直列に連結する熱源側電極部3としてのFGMコンプライアント・パッド30と、隣接するP型熱電半導体2aとN型熱電半導体2bとを冷却板6側で電気的に直列に連結する放熱側電極部4としての電極材40と、FGMコンプライアント・パッド30の面に載置されるシート材5としてのカーボンシートと、電極材40が設置される冷却板6と、冷却板6と周縁部が接合されて気密の容器7を構成する蓋体70とを備え、蓋体70の上面の加熱板7a部分と冷却板6との間でシート材5を介在させて熱電半導体2および各電極部3,4を挟んで一体化すると共に収容するようにしている。
冷却板6は例えば金属板60であり、この金属製冷却板60には電気絶縁性接合材9により電気伝導性の電極材40が接合されている。また、熱電半導体2としてのP型熱電半導体2aとN型熱電半導体2bは、導電性接合材10によりFGMコンプライアント・パッド30および電極材40に接合されている。FGMコンプライアント・パッド30は電気絶縁層を内在するので、シート材5としての電気伝導性のカーボンシート5を直接接触させることができる。また、金属製冷却板60の上にFGMコンプライアント・パッド30を接合すれば、電気絶縁性接合材9により電気伝導性の電極材40を配置することはない。このように滑り材5として耐熱性に優れるカーボンシートを気密容器7内で使用する場合には、熱電半導体としてFeSi(最高使用温度700℃程度)やSiGe(最高使用温度1000℃程度)を用いることが可能となる。更には、カーボンシート5とFGMコンプライアント・パッド30との間には、図15に示すように、電気絶縁性を有するシート材例えばマイカシート25を介在させることでより電気絶縁性を十分なものとすることが好ましい。ここで、熱源側電極3と加熱板7aとの間に介在される滑り材5が熱伝導性と電気絶縁性並びに摺動性(滑り)の全てを兼ね備えた材質例えば高分子シートのようなものであれば、上述のような複層にする必要はない。尚、蓋体70と金属製冷却板60とは例えば溶接等の手段で密着される。
また、図2に示す熱電変換モジュール1は、図1における金属製冷却板60とこれに接合された電極材40の代わりに、電極材40が蒸着または接合されたセラミック製の冷却板61を採用している。電気絶縁性のセラミック板61を用いて冷却板6を構成するため、冷却板6と電極材40との間に電気絶縁性接合材9は不要である。例えばアルミナなどの板に銅を電極の形状に蒸着した製品がDBC(Direct Bonding Copper)として入手可能であり、これを冷却板6および電極材40として利用することができる。蓋体70とセラミック製冷却板61は、例えば接着剤やろう材などを用いて接合され密着される。
また、図3に示す熱電変換モジュール1は、図1におけるFGMコンプライアント・パッド30の代わりに、放熱側電極部4と同じ電気伝導性の電極材40を熱源側電極部3として採用している。シート材5は、カーボンシートではなく高分子シートとしている。高分子シートは電気絶縁性であり、電気絶縁層を有さない電極材40および電気絶縁層を有するFGMコンプライアント・パッド30のいずれにも直接接触させることができる。高分子としては、例えばポリアリレート、ポリサルファン、ポリエーテルイミド、ポリフェニレンサルファイドなどの準スーパーエンジニアリングプラスチックと呼ばれるもの、あるいはPEEK、ポリアミドイミド、全芳香族エステル、ポリイミドなどのスーパーエンジニアリングプラスチックと呼ばれるものの使用が好ましい。これらプラスチックの場合には、使用限界温度が200〜250℃程度なので、熱電半導体2として例えばBiTeなどを用いて低温用の熱電変換モジュール1を構成することが可能である。また、図4に示す熱電変換モジュール1は、図2におけるFGMコンプライアント・パッド30の代わりに、放熱側電極部4と同じ電極材40を熱源側電極部3として採用している。シート材5は、カーボンシートではなく高分子シートとしている。また、図6に示す熱電変換モジュール1は、図1における熱電変換モジュール1の容器7に、容器7の内圧を目的値に設定するためのノズル部8を設けた例である。また、図7は熱電変換モジュール1の平面形状の一例を示す。蓋体70を一枚の板からプレス加工するには、図7に示すように角7cに曲率を付けることが、成形性の観点で好ましい。
ここで、容器7には、例えばその側面部7bにおいて電気絶縁体11を介して一対の導電部12が貫通している。この導電部12の容器7内側の端は、例えばリード線13を介して熱電変換モジュール1の熱源側電極部3と接続される。本実施形態ではこの構成により、容器7の密封性を保ちつつ、熱電変換モジュール1が発電した電力を容器7の外側へと取り出すことができるようにしている。熱電変換モジュール1が発生した電力は図示を省略する電力回収用ラインを介して蓄電装置や電力利用機器などに供給される。
図8および図9は、容器7の他の構成例を示す。図8は、図1における金属製冷却板60の周縁を熱源側に向かって立ち上げて、冷却板60の当該立ち上げた部分60aに、電気絶縁体11を介して一対の導電部12を設けた例である。一方、図9は、図2におけるセラミック製冷却板61の周縁を熱源側に向かって立ち上げて、この立ち上げ部分61aに、一対の導電部12を設けた例である。図9の構成では、セラミック製冷却板61が電気絶縁性であるため、導電部12を電気絶縁体11を介することなく冷却板6に直接取り付けることができる。
また、図5に示す熱電変換モジュール1は、図1におけるシート材5の代わりに熱伝導性のグリース14を用いた例である。グリース14により、容器7の加熱板7a部分の内面(高温面S1)と熱源側電極部3との間の円滑なスライド移動を実現できる。容器7の加熱板7a部分の内面と熱源側電極部3との間に介在させるグリース14として、例えばシリコーンオイル系のグリース14で耐熱温度300℃程度のものの利用が好ましい。特に、シリコーンオイルにアルミナなど熱伝導性のよい粉末を配合したグリース状の製品の利用が好ましい。容器7を密封し、また容器7内を真空または不活性雰囲気とすることで、熱酸化によるグリース14の劣化やグリース14の蒸発などの問題が無くなり、グリース14を長期に安定して容器7の加熱板7a部分と熱源側電極部3との間に保持できる。また、グリース14は良好に容器7の加熱板7a部分および熱源側電極部3に密着するため、接触熱抵抗を低減できる。
例えば厚さ方向の熱伝導率0.8W/mK、厚さ0.04mmのグリース14自体の熱抵抗Rgは、式3の計算で求めることができる。
グリース自体の熱抵抗(Rg)=(厚さ)/(熱伝導率)
=0.04×10−3(m)/0.8(W/mK)
=5×10−5(mK/W) …(3)
従って、グリース14が介在する界面の接触熱抵抗と上記Rgを合計しても、熱抵抗合計は上述のカーボンシート使用時と同等の値が得られると予想される。熱電半導体2としてBiTeを使用する場合、最高使用温度が220℃程度となり、上記に例示したシリコーンオイル系のグリース14を使用できる。
尚、上記に示した熱電変換モジュール1の構成例は好適例であって、これらの例示に限定されない。例えば、放熱側電極部4として、電極材40ではなくFGMコンプライアント・パッド30を用いても良い。また、熱電変換モジュール1を最小単位の熱電半導体2を有するものにする、例えばP型とN型の熱電半導体を各1個備えるユニ・カップル型としても構わない。また、容器7の内外の差圧による加圧力によって熱電変換モジュール1が一体に保持された状態が常に維持できるような場合には、熱源側電極部3または放熱側電極部4と熱電半導体2、放熱側電極部4と冷却板6とを結合する接合材は必ずしも必要ない。
以上のように構成された熱電変換モジュール1によれば、容器7の加熱板7a部分(高温面S1)と熱源側電極部3との間に介在するシート材5またはグリース14が、加熱板7a部分と熱源側電極部3との相対的なスライド移動を可能にする。このため、例えば容器7が熱膨張しても、容器7の加熱板7a部分をシート材5またはグリース14上で滑らせて面方向にスライド移動させるので、熱電半導体2および熱源側電極部3および放熱側電極部4には、せん断応力は作用しない。従って、熱電変換モジュール1を大型化しても、脆弱な熱電半導体2を破壊したり、接合面で剥離を生じることはない。また、シート材5またはグリース14が介在する界面は、容器7内外の差圧により容器7外から加圧されるため、良好な密着性により当該界面における接触熱抵抗を小さくできる。これにより熱電半導体2に大きな温度差を負荷できる。
また、上記のように部材の熱膨張を許容する構造とすることで、熱電変換モジュール1を大型化することが可能となるので、熱電半導体2の実質的な充填密度を向上でき、出力密度(単位面積当たりの出力)を増大することができる。また、熱電変換モジュール1の構成部品は容器7内に収容されるので、外部からの力に対する強度が高まる。また、熱電変換モジュール1の構成部品は容器7に密封されるため、いかなる雰囲気の下でも、例えば酸化雰囲気や腐食性雰囲気の下でも、熱電変換モジュール1を直接設置して使用できる。
次に、本発明の他の実施形態について説明する。尚、以下に説明する他の実施形態において上述の実施形態と同様の構成要素については、同一符号を付してその詳細な説明を省略する。
例えば図10に示すように、容器7の側面部7bにべローズ15を設ける構造として、容器7の外より加わる圧力によりべローズ15が変形して、容器7の加熱側内面(高温面S1)と容器7内部の熱電変換モジュール1の構成部品との密着を促進するようにしても良い。
また、図11に示す熱電変換モジュール1は、使用温度下で液状を呈する低融点材料16と、この低融点材料16を封入し且つ液状の前記低融点材料16の変形を許容する柔軟性を備えるシェル17とを有する伝熱用クッション18を更に備えている。図11の例では容器7の加熱板7a側に伝熱用クッション18を備えている。但し、容器7の加熱板7a側のみに伝熱用クッション18を備える構成に限定されず、冷却板6側のみ又は加熱板7a側と冷却板6側の双方に、伝熱用クッション18を備える構成としても良い。
シェル17の厚みは、シェル17が対向する面の温度差による曲面状の変形(面外変形)に柔軟に追従することができるように、また熱抵抗を小さくする観点から、薄くすることが望ましく、例えば20μm〜100μm(0.1mm)程度とすることが好ましい。また、シェル17の材料は、使用温度下で低融点材料16を確実に密封できるように融点が使用温度よりも高く、且つ封入する低融点材料16との共存性が良いものが選択される。特に高い熱伝導率を有する金属材料の利用が好ましい。例えば、使用温度が250℃以下の場合にはアルミニウム(Al)、銅(Cu)などが利用でき、使用温度が400℃以下ではステンレス鋼(SUS304,SUS316)などが利用でき、使用温度が600℃以下では、インコネル(Special Metals Corporationの登録商標)などが利用できる。本実施形態のシェル17は例えば薄い金属フォイル(金属箔)を用いて形成されている。但し、シェル17の材料が金属に限定されるものではない。
一方、低融点材料16は、使用温度よりも融点が低く、且つ高い熱伝導率を有し、シェル17との共存性が良いものが選択される。具体的には、すず(Sn:融点232℃)、ビスマス(Bi:融点271℃)などが利用できる。ここで、融点が使用温度以下の金属に、当該金属よりも熱伝導率の高い微粒子を添加することで、使用温度よりも融点が低く且つ高い熱伝導率を有するとの条件を満足した低融点材料16を得るようにしても良い。例えばビスマスに、銅(Cu)またはタングステン(W)などの微粒子を添加することで、見かけの熱伝導率を高めることができる。この他、高価なため一般的ではないが、ガリウム(Ga:融点30℃)、インジウム(In:融点157℃)なども低融点材料16として利用可能である。但し、低融点材料16が金属に限定されるものではない。例えば、金属以外では溶融塩(例えばNaNO/KNO)などを低融点材料16として利用できる。
伝熱用クッション18は例えば次のように作製される。例えば、2枚の薄い平板状の金属フォイルの一方または両方に対してプレス成形加工などを施し、これら2枚の金属フォイルの周縁を合わせた場合にこれら2枚の金属フォイル間に1〜2mm程度の隙間ができるようにする。この隙間に、当該隙間と同一厚さのシート状に成形された低融点材料16を入れて、前記2枚の金属フォイルを合わせた状態で、周囲を電子ビーム溶接などの方法により密封する。これにより、上記2枚の金属フォイルはシェル17として機能する。尚、図11は、2枚の平板状金属フォイルの一方のみに対してプレス成形加工を施し、低融点材料16を封入するための隙間を形成した例を示す。但し、図11の構成には限定されず、例えば2枚の平板状金属フォイルの双方に対してプレス成形加工などを施して、シェル17を構成する2枚の金属フォイルを上下対称の形状として、当該シェル17の内部に低融点材料16を封入するための隙間を形成するようにしても良い。また、低融点材料16を粉末(例えば上記に例示した金属の粉末)とし、当該粉末状の低融点材料16をシェル17の内部に形成した隙間に充填するようにしても良い。
ここで、低融点材料16を封入した状態でシェル17の内部に隙間19ができるようにすることが好ましい。例えば本実施形態では、低融点材料16のシートの寸法をシェル17の内部の平面寸法よりも小さくして、シェル17の内部の隙間19を確保するようにしている。隙間19を確保することで、低融点材料16が溶融した際の体積膨張を吸収することができ、低融点材料16の体積膨張によりシェル17が破損してしまうことを防止できる。
さらに、シェル17の内部に確保した隙間19は、真空または不活性雰囲気とすることが、低融点材料16の酸化を防ぐ上で好ましい。尚、シェル17の周囲を電子ビーム溶接により密封する場合は、電子ビーム溶接が真空雰囲気で行われるため、シェル17の内部は自ずと真空になる。シェル17の内部を不活性雰囲気とする場合には、例えばアルゴン(Ar)やヘリウム(He)などの不活性ガスを低融点材料16とともにシェル17内に封入するようにする。
シェル17を構成する2枚の金属フォイルの間の隙間の大きさ、換言すれば伝熱用クッション18の厚みhは、大きくするほど、シェル17と対向する面の温度差による曲面状の変形に柔軟に追従することができ、シェル17を挟む2枚の面の間を良好に充填することができるが、伝熱用クッション18自体の熱抵抗も大きくなるため、必要最小限とすることが好ましい。このため、伝熱用クッション18の厚みhは、シェル17と対向する面に想定される変形の程度により適宜決定する。
図11の例では、例えば加熱ダクトが熱源20であり、伝熱用クッション18は熱源20と容器7との間に介在する。熱電変換モジュール1の冷却板6は、例えば冷媒が内部を通過する冷却ダクト21に高い熱伝導率を有する接合材(例えば接着剤やろう材)を用いて接合される。熱源20としての加熱ダクトと冷却手段としての冷却ダクト21には、熱電変換モジュール1を押圧する力が作用する。例えば冷却ダクト21が固定され熱源20が移動可能となる構成とし、熱源20を冷却ダクト21側に移動させて、図11に示す加圧力Pを作用させる。
シェル17内に封入された低融点材料16は例えば熱源20で加熱されて溶融する。シェル17は液状の低融点材料16の変形を許容する柔軟性を備えるので、伝熱用クッション18は熱源20の加熱面および容器7の加熱板7a部分に密着し、熱源20の加熱面や容器7の加熱板7a部分が温度差により曲面状に変形してもこの変形に柔軟に追従して、熱源20と容器7の加熱板7a部分との間を良好に充填し、熱源20と容器7の加熱板7a部分との間に空隙が生じてしまうことを防ぐ。従って、伝熱用クッション18は熱源20および容器7と常に良好な密着状態を保つ。
ここで、シェル17の熱源20と対向する面または容器7と対向する面の一方または双方に、熱源20または容器7が接触し且つ摺動可能な第2のシート材22を設けることがより好ましい。この場合、熱源20や容器7の伝熱用クッション18との接触面が熱膨張により大きく相対変位しても、熱源20や容器7が第2のシート材22上を滑りスライド移動するので、当該熱膨張変位を柔軟に許容し、シェル17にせん断応力が作用することを防ぎ、シェル17が破壊されてしまうことを防止できる。第2のシート材22は、例えば熱伝導率の高い接合材(例えば接着剤)を用いて、シェル17の熱源20と対向する面に貼り付けられる。また、シェル17の容器7と対向する面は、熱伝導率の高い接合材(例えば接着剤)23を用いて、容器7に貼り付けられる。第2のシート材22には、例えば上述したシート材5と同じカーボンシートや高分子シートなどを用いてよい。
この図11に示す熱電変換モジュール1によれば、液状の低融点材料16およびこの低融点材料16を封入する柔軟なシェル17が、熱源20や容器7の加熱板7a部分の曲面状の変形(面外変形)に追従して、熱源20と容器7との間を良好に充填し、熱源20と容器7との間に空隙が生じてしまうことを防ぐ。従って、伝熱用クッション18は熱源20および容器7と常に良好な密着状態を保つ。しかも、溶融した金属である低融点材料16は熱伝導率が高く、シェル17は金属製であり且つ柔軟性を達成するように薄く形成されているので、伝熱用クッション18自体の熱抵抗は低く、効率的に熱源20から容器7内の熱電半導体2へと熱を伝えることができる。この伝熱用クッション18を用いることにより、熱源20としての加熱ダクトおよび容器7の平面度および表面粗さに対する要求条件を緩和できる。また、液状の低融点材料16を封入した柔軟なシェル17がクッションとして機能し、熱電変換モジュール1に作用する加圧力Pにより熱電半導体2が破壊してしまうことを防止する。
さらに、熱源20としての加熱ダクトが熱膨張した場合でも、熱源20の熱電変換モジュール1に対する接触面を第2のシート材22上で滑らせて面方向(図11中の矢印A方向)にスライド移動させるので、シェル17に作用しようとするせん断応力を逃がし、シェル17の破壊を防止する。これにより、加熱ダクトの運転・停止中の温度差に起因する熱膨張変位を許容できる。また、第2のシート材22としてのカーボンシートが介在する界面の熱抵抗を、これがない場合の1/10以下に低減することができる。以上により、熱電変換モジュール1に負荷できる温度差を従来よりも増大でき、熱電変換モジュール1の発電電力を向上できる。すなわち実質的なエネルギー変換効率を向上できる。これにより熱電変換システムの発電単価を低減できる。
また、図12に示す熱電変換モジュール1は、容器7は図示を省略する熱源から放射で熱を受ける受熱面S3を有し、受熱面S3に対して側面S4となる容器7の外周面部分の放射率を受熱面S3の放射率よりも小さくするようにしている。放射率が小さい面ほど熱を吸収し難くなって加熱され難くなり、逆に放射率が大きい面ほど熱を吸収し易くなって加熱され易くなる。従って、容器7の受熱面S3(上面)の放射率を大きく設定することで受熱面S3は加熱され易くなり、熱電半導体2に負荷される温度差を大きくでき、一方、容器7の側面S4の放射率を小さく設定することで当該容器7の側面S4は加熱され難くなり、熱電半導体2の熱落差が小さくなってしまうことを防止できる。熱電変換モジュール1の発電性能は熱電半導体2に負荷される温度差のほぼ2乗に比例するため、上記のように受熱面S3と側面S4に異なる放射率を設定することで、熱電変換モジュール1の発電性能を大幅に向上できる。
放射率は、材料のみならず、表面仕上げ状態にも依存し、また空気中での使用する場合には、酸化の程度にも依存する。したがって、容器7の表面の放射率は、例えば容器7を構成する材料の選択によって、または容器素材の一部または全部を覆う1または2以上の被覆材の選択によって、または容器7の表面の仕上げの状態すなわち表面粗さの程度によって、目的とする値に設定することができる。勿論、上述した方策の一部または全部を組み合わせて、容器7表面の放射率を目的とする値に設定することも可能である。被覆材は、例えばコーティングまたは蒸着、メッキ、塗装、貼り付けなどによって素地材に付着させることができる。また、容器7表面を鏡面仕上げとすれば放射率を小さくでき、容器7表面上に微細な凹凸があるような粗仕上げとすれば放射率を大きくできる。
なお、上述の実施形態は本発明の好適な実施の一例ではあるがこれに限定されるものではなく、本発明の要旨を逸脱しない範囲において種々変形実施可能である。例えば上述の実施形態では、気密の容器7を採用し、熱電半導体2などの構成部品を収めた容器7内を真空または減圧雰囲気とする構成を主に挙げて説明したが、熱電変換モジュールの一体化と強度の保持を達成するという観点からは、気密容器7である必要なく、加熱板と冷却板との全周縁にわたって連結板を配置していても非気密の容器としても良いし、連結板で部分的に連結するようにしても良い。例えば図13に示すように、加熱板26と、放熱側電極部4が接触する冷却板6とを少なくとも2点、好ましくは数点以上において連結板24を用いて接続して、加熱板26と冷却板6とに挟まれた熱電変換モジュール1に加圧力Pを作用させるようにしている。これにより、シート材5が熱源側電極部3に押圧されて熱電半導体2並びに放熱側電極部4ともども一体に保持されている。尚、使用時には、熱源20としての加熱ダクトと、冷却ダクト21との間に熱電変換モジュール1を挟み、当該加熱ダクトと冷却ダクト21との間の距離を調整することで、熱電変換モジュール1に対して適切な加圧力を作用させるようにしても良い。
また、図14に示すように、加熱板26と冷却板6とを連結する連結板24の範囲を拡張し、ほぼ全周縁にわたって連結板24を配置することで、加熱板と冷却板との間で非気密の容器を構成するようにしても良い。例えば、幅の広い連結板24を加熱板26と冷却板6とにそれぞれ溶接あるいは接着やろう付けなどで接合したり、加熱板26の周りに4枚の連結板24を配置した1枚の板を曲げ加工などによって一体に成形したものを冷却板6と接合したりすることによって容易に成形できる。更には、前述の気密容器を構成する蓋体70の側面の一部に貫通孔をあけて非気密状態とすることも可能である。
この構成によっても、熱源側電極部3は加熱板26に直接接合されず、加熱板26と熱源側電極部3との間に介在するシート材5が、加熱板26と熱源側電極部3と相対的なスライド移動を可能にする。このため、加熱板26の加熱面が熱膨張しても、加熱板26の加熱面をシート材5上で滑らせて面方向にスライド移動させるので、熱電半導体2および熱源側電極部3および放熱側電極部4には、せん断応力は作用しない。従って、熱電変換モジュール1を大型化しても、脆弱な熱電半導体2を破壊したり、接合面で剥離を生じることはない。また、シート材5が介在する界面は、熱電変換モジュール1に作用する加圧力Pにより良好に密着し、当該界面における接触熱抵抗を小さくできる。これにより熱電半導体2に大きな温度差を負荷できる。また、熱電変換モジュール1を大型化することが可能となるので、熱電半導体2の実質的な充填密度を向上でき、出力密度(単位面積当たりの出力)を増大することができる。
本発明の熱電変換モジュールの実施の一形態を示す縦断面図である。 本発明の熱電変換モジュールの他の構成例を示す縦断面図である。 本発明の熱電変換モジュールの更に他の構成例を示す縦断面図である。 本発明の熱電変換モジュールの更に他の構成例を示す縦断面図である。 シート材に代えてグリースを用いた熱電変換モジュールの構成例を示す縦断面図である。 熱電変換モジュールの容器の内圧を目的値に設定するためのノズル部を設けた構成例を示す縦断面図である。 図1の熱電変換モジュールの平面図である。 容器の他の構成例を示す縦断面図である。 容器の更に他の構成例を示す縦断面図である。 ベローズを備えた熱電変換モジュールの構成例を示す縦断面図である。 伝熱用クッションを備えた熱電変換モジュールの構成例を示す縦断面図である。 異なる放射率を有する熱電変換モジュールの構成例を示す縦断面図である。 本発明の熱電変換モジュールの他の実施形態の一例を示す縦断面図である。 非気密性の容器を用いる熱電変換モジュールの一実施形態を示す縦断面である。 気密性容器を用いた熱電変換モジュールの一実施形態を示す斜視図であり、容器を部分的に断面して内部構造を示す。 従来の熱電変換モジュールを示す縦断面図である。 従来の熱電変換モジュールの他の構成を示す縦断面図である。
符号の説明
1 熱電変換モジュール
2 熱電半導体
3 熱源側電極部
4 放熱側電極部
5 シート材
6 冷却板
7 容器
7a 加熱板
7b 連結板
14 グリース
15 べローズ
16 低融点材
17 シェル
18 伝熱用クッション
22 第2のシート
24 連結板
70 蓋体
S1 高温面
S2 低温面
S3 受熱面
S4 側面

Claims (12)

  1. 少なくとも一対の熱電半導体と、前記熱電半導体の高温熱源側の面に設置され前記熱電半導体を電気的に直列に接続する熱源側電極部と、前記熱電半導体の低温熱源側の面に設置され前記熱電半導体を電気的に直列に接続する放熱側電極部と、前記熱源側電極部を覆い高温熱源から熱を受ける加熱板と、前記放熱側電極部を覆い低温熱源へ熱を伝える冷却板と、少なくとも前記熱源側電極部と前記加熱板との間に介在される熱伝導性を有する滑り材と、前記加熱板と前記冷却板とを連結板で連結することによって該連結板で前記加熱板と前記冷却板の全周側面を覆って前記加熱板と前記冷却板との間の空間を密閉する気密構造とされた容器とを備え、前記容器内の圧力を当該容器の外の圧力よりも低いものとして運転時に0.4気圧以上の差圧が得られる減圧雰囲気又は真空とし、前記差圧により得られる加圧力により、前記滑り材が前記熱源側電極部に押圧されて前記熱源側電極部と一体に保持され、且つ前記滑り材が前記加圧状態において前記熱源側電極部または前記加熱板との間の相対的摺動を許容する熱電変換モジュール。
  2. 前記滑り材は低摩擦係数のシート材である請求項1記載の熱電変換モジュール。
  3. 前記シート材は電気絶縁性の高分子シートであることを特徴とする請求項2記載の熱電変換モジュール。
  4. 前記シート材はカーボンシートであり、前記電極部と前記シート材との間に電気絶縁材あるいは電気絶縁層が介在している請求項2記載の熱電変換モジュール。
  5. 前記滑り材としてグリースを用いるものである請求項1記載の熱電変換モジュール。
  6. 前記容器内を不活性雰囲気または還元雰囲気で満たしたものである請求項1から4のいずれか1つに記載の熱電変換モジュール。
  7. 前記容器は前記連結板部分に前記加熱板と前記冷却板との間隔を伸縮可能とするベローズを備え、前記加圧力により前記ベローズを変形させて前記加熱板と前記熱源側電極部とを前記滑り材を介して密着させるものである請求項1から6のいずれか1つに記載の熱電変換モジュール。
  8. 前記加熱板の前記高温側熱源に向かう面の放射率に比べ、前記連結板の面の放射率を小さくしたものである請求項1から7のいずれか1つに記載の熱電変換モジュール。
  9. 熱電変換モジュールの使用温度下で液状を呈する低融点材料と、この低融点材料を封入し且つ液状の前記低融点材料の変形を許容する柔軟性を備えるシェルとを有する伝熱用クッションを、前記加熱板とこれに接触する高温熱源との間または前記冷却板とこれに接触する低温熱源との間の少なくとも一方に備えるものである請求項1から8のいずれか1つに記載の熱電変換モジュール。
  10. 前記伝熱用クッションと前記加熱板あるいは前記冷却板との間には熱伝導性を有する低摩擦係数のシート材からなる第2の滑り材が介在されている請求項9記載の熱電変換モジュール。
  11. 前記熱源側電極部が電極層と電気絶縁層を有する傾斜機能材料で構成され、かつ前記滑り材がカーボンシートである請求項1記載の熱電変換モジュール。
  12. 前記熱源側電極部と前記カーボンシートとの間にさらにマイカシートを介在させたものである請求項11記載の熱電変換モジュール。
JP2005197362A 2004-07-06 2005-07-06 熱電変換モジュール Expired - Fee Related JP4829552B2 (ja)

Priority Applications (1)

Application Number Priority Date Filing Date Title
JP2005197362A JP4829552B2 (ja) 2004-07-06 2005-07-06 熱電変換モジュール

Applications Claiming Priority (3)

Application Number Priority Date Filing Date Title
JP2004198968 2004-07-06
JP2004198968 2004-07-06
JP2005197362A JP4829552B2 (ja) 2004-07-06 2005-07-06 熱電変換モジュール

Publications (3)

Publication Number Publication Date
JP2006049872A JP2006049872A (ja) 2006-02-16
JP2006049872A5 JP2006049872A5 (ja) 2008-08-14
JP4829552B2 true JP4829552B2 (ja) 2011-12-07

Family

ID=36028009

Family Applications (1)

Application Number Title Priority Date Filing Date
JP2005197362A Expired - Fee Related JP4829552B2 (ja) 2004-07-06 2005-07-06 熱電変換モジュール

Country Status (1)

Country Link
JP (1) JP4829552B2 (ja)

Cited By (3)

* Cited by examiner, † Cited by third party
Publication number Priority date Publication date Assignee Title
KR20180063207A (ko) * 2015-10-01 2018-06-11 파나소닉 아이피 매니지먼트 가부시키가이샤 열전 발전 장치 및 열전 발전 방법
KR20190018001A (ko) * 2016-06-23 2019-02-20 쓰리엠 이노베이티브 프로퍼티즈 컴파니 가요성 열전 모듈
EP4287329A1 (en) 2022-05-16 2023-12-06 LSI Cooler Co., Ltd. Housing for secondary battery cells

Families Citing this family (31)

* Cited by examiner, † Cited by third party
Publication number Priority date Publication date Assignee Title
JP4528571B2 (ja) * 2004-07-16 2010-08-18 株式会社東芝 熱−電気直接変換装置
JP4912964B2 (ja) * 2007-06-07 2012-04-11 住友化学株式会社 熱電変換モジュール
DE102008038985A1 (de) * 2008-08-13 2010-02-18 Emitec Gesellschaft Für Emissionstechnologie Mbh Thermoelektrische Vorrichtung
EP2383809A1 (en) * 2009-01-21 2011-11-02 Central Research Institute of Electric Power Industry Packaged thermoelectric conversion module
US20110030754A1 (en) * 2009-08-06 2011-02-10 Laird Technologies, Inc. Thermoelectric modules and related methods
JP5642419B2 (ja) * 2010-05-07 2014-12-17 一般財団法人電力中央研究所 気密ケース入り熱電変換モジュール
US8649179B2 (en) 2011-02-05 2014-02-11 Laird Technologies, Inc. Circuit assemblies including thermoelectric modules
DE102012206085B4 (de) * 2012-04-13 2013-11-21 Eberspächer Exhaust Technology GmbH & Co. KG Wärmetauscher
RU2545317C2 (ru) * 2012-05-02 2015-03-27 Андрей Анатольевич Зыкин Термоэлектрический модуль
JP6039347B2 (ja) * 2012-10-05 2016-12-07 日立化成株式会社 熱電変換式発電装置
DE112013004882T5 (de) * 2012-10-05 2015-06-18 Hitachi Chemical Company, Ltd. Stromerzeugungsvorrichtung mit thermoelektrischer Umwandlung
JP5972743B2 (ja) * 2012-10-05 2016-08-17 日立化成株式会社 熱電変換式発電装置
JP6039346B2 (ja) * 2012-10-05 2016-12-07 日立化成株式会社 熱電変換式発電装置
JP6064591B2 (ja) * 2012-12-27 2017-01-25 トヨタ自動車株式会社 熱電発電装置
AU2014233147B2 (en) * 2013-03-15 2017-10-05 Vecarius, Inc. Thermoelectric device
KR101503242B1 (ko) 2013-04-12 2015-03-17 리빙케어소재기술(주) 온도 조절이 가능한 차량용 스티어링 휠
JP5765363B2 (ja) 2013-04-16 2015-08-19 トヨタ自動車株式会社 熱電発電装置
KR101514254B1 (ko) * 2013-11-20 2015-04-22 자동차부품연구원 진동차단형 열전발전장치
KR101673711B1 (ko) * 2014-12-09 2016-11-07 현대자동차주식회사 열전 발전장치
EP3331036B1 (en) * 2015-07-28 2019-08-28 Panasonic Intellectual Property Management Co., Ltd. Thermoelectric device and thermoelectric conversion unit
WO2017179735A1 (ja) * 2016-04-15 2017-10-19 ヤマハ株式会社 熱電変換モジュールパッケージ
EP3475989B1 (en) * 2016-06-23 2021-03-17 3M Innovative Properties Company Flexible thermoelectric module
US20190181322A1 (en) * 2016-06-23 2019-06-13 3M Innovative Properties Company Thermoelectric tape
KR101846685B1 (ko) * 2016-07-11 2018-05-18 현대자동차주식회사 열전모듈 패키징방법
WO2019112200A1 (ko) * 2017-12-07 2019-06-13 엘지이노텍 주식회사 열전 모듈
KR102072577B1 (ko) 2017-12-07 2020-02-03 엘지이노텍 주식회사 열전 모듈
WO2019171915A1 (ja) * 2018-03-08 2019-09-12 住友電気工業株式会社 熱電材料素子、発電装置、光センサおよび熱電材料の製造方法
CN114080695A (zh) 2019-09-19 2022-02-22 雅马哈株式会社 热电转换模块
JP7552023B2 (ja) * 2020-02-07 2024-09-18 三菱マテリアル株式会社 熱電変換構造体
JP7524556B2 (ja) * 2020-03-05 2024-07-30 株式会社プロテリアル 熱電変換装置
US11549981B2 (en) * 2020-10-01 2023-01-10 Advantest Test Solutions, Inc. Thermal solution for massively parallel testing

Family Cites Families (7)

* Cited by examiner, † Cited by third party
Publication number Priority date Publication date Assignee Title
JPS4118988Y1 (ja) * 1966-02-03 1966-09-05
JPH09321349A (ja) * 1996-05-27 1997-12-12 Matsushita Electric Works Ltd 熱電気変換装置
JPH10125960A (ja) * 1996-10-23 1998-05-15 Matsushita Electric Works Ltd 熱電変換装置
JP2000050661A (ja) * 1998-07-23 2000-02-18 Nishinomiya Kinzoku Kogyo Kk 発電装置
JP4121679B2 (ja) * 1998-11-18 2008-07-23 株式会社小松製作所 温度調節器及びその製造方法
JP3510831B2 (ja) * 1999-12-22 2004-03-29 株式会社小松製作所 熱交換器
JP2005277206A (ja) * 2004-03-25 2005-10-06 Toshiba Corp 熱電変換装置

Cited By (5)

* Cited by examiner, † Cited by third party
Publication number Priority date Publication date Assignee Title
KR20180063207A (ko) * 2015-10-01 2018-06-11 파나소닉 아이피 매니지먼트 가부시키가이샤 열전 발전 장치 및 열전 발전 방법
KR102098362B1 (ko) * 2015-10-01 2020-04-07 파나소닉 아이피 매니지먼트 가부시키가이샤 열전 발전 장치
KR20190018001A (ko) * 2016-06-23 2019-02-20 쓰리엠 이노베이티브 프로퍼티즈 컴파니 가요성 열전 모듈
KR102047736B1 (ko) * 2016-06-23 2019-11-25 쓰리엠 이노베이티브 프로퍼티즈 컴파니 가요성 열전 모듈
EP4287329A1 (en) 2022-05-16 2023-12-06 LSI Cooler Co., Ltd. Housing for secondary battery cells

Also Published As

Publication number Publication date
JP2006049872A (ja) 2006-02-16

Similar Documents

Publication Publication Date Title
JP4829552B2 (ja) 熱電変換モジュール
EP1615274A2 (en) Thermoelectric conversion module
JP5432927B2 (ja) パッケージ熱電変換モジュール
JP5642419B2 (ja) 気密ケース入り熱電変換モジュール
JP4901350B2 (ja) 熱電変換装置及びその製造方法
CN100449811C (zh) 热电变换装置
CN101515628B (zh) 热电装置及其制造方法
JP2006049872A5 (ja)
JP2012156227A (ja) 熱電発電モジュールのケーシング及びその製造方法
US11764125B2 (en) Heatsink assembly, method of manufacturing a heatsink assembly, and an electrical device
US7096926B2 (en) Thermal pouch interface
JP4775932B2 (ja) 伝熱用クッションおよびこれを備える熱電変換モジュール
JP6754973B2 (ja) グラファイト放熱板
JP6010941B2 (ja) 気密ケース入り熱電変換モジュール
JP6641858B2 (ja) 熱電変換モジュール及び熱電変換器並びに熱電変換モジュールの製造方法
JP6327513B2 (ja) 半導体装置及びその製造方法
JP2011183798A (ja) 積層材およびその製造方法
JP2584785B2 (ja) 熱電素子モジュ−ル
JP7151068B2 (ja) ケース付熱電変換モジュール
JP5049533B2 (ja) 熱電変換装置
JP2006237547A (ja) 熱電変換モジュール、これを用いた発電装置及び冷却装置
JPH08204241A (ja) 熱電気変換装置
EP4523892A1 (en) Heating device
JP2023118593A (ja) 電子冷却ユニット、電子冷却装置、熱電変換ユニット、及び電子冷却ユニットの製造方法
CN101320781A (zh) 热电变换装置

Legal Events

Date Code Title Description
A711 Notification of change in applicant

Free format text: JAPANESE INTERMEDIATE CODE: A711

Effective date: 20080125

A521 Request for written amendment filed

Free format text: JAPANESE INTERMEDIATE CODE: A821

Effective date: 20080125

A521 Request for written amendment filed

Free format text: JAPANESE INTERMEDIATE CODE: A523

Effective date: 20080627

A621 Written request for application examination

Free format text: JAPANESE INTERMEDIATE CODE: A621

Effective date: 20080702

A977 Report on retrieval

Free format text: JAPANESE INTERMEDIATE CODE: A971007

Effective date: 20100630

A131 Notification of reasons for refusal

Free format text: JAPANESE INTERMEDIATE CODE: A131

Effective date: 20110524

TRDD Decision of grant or rejection written
A01 Written decision to grant a patent or to grant a registration (utility model)

Free format text: JAPANESE INTERMEDIATE CODE: A01

Effective date: 20110913

A01 Written decision to grant a patent or to grant a registration (utility model)

Free format text: JAPANESE INTERMEDIATE CODE: A01

A61 First payment of annual fees (during grant procedure)

Free format text: JAPANESE INTERMEDIATE CODE: A61

Effective date: 20110916

FPAY Renewal fee payment (event date is renewal date of database)

Free format text: PAYMENT UNTIL: 20140922

Year of fee payment: 3

R150 Certificate of patent or registration of utility model

Free format text: JAPANESE INTERMEDIATE CODE: R150

R250 Receipt of annual fees

Free format text: JAPANESE INTERMEDIATE CODE: R250

R250 Receipt of annual fees

Free format text: JAPANESE INTERMEDIATE CODE: R250

R250 Receipt of annual fees

Free format text: JAPANESE INTERMEDIATE CODE: R250

LAPS Cancellation because of no payment of annual fees