JP4759740B2 - 画像処理装置及び画像処理方法 - Google Patents
画像処理装置及び画像処理方法 Download PDFInfo
- Publication number
- JP4759740B2 JP4759740B2 JP2006066553A JP2006066553A JP4759740B2 JP 4759740 B2 JP4759740 B2 JP 4759740B2 JP 2006066553 A JP2006066553 A JP 2006066553A JP 2006066553 A JP2006066553 A JP 2006066553A JP 4759740 B2 JP4759740 B2 JP 4759740B2
- Authority
- JP
- Japan
- Prior art keywords
- image data
- unit
- updated
- pixels
- image
- Prior art date
- Legal status (The legal status is an assumption and is not a legal conclusion. Google has not performed a legal analysis and makes no representation as to the accuracy of the status listed.)
- Active
Links
- 238000003672 processing method Methods 0.000 title claims description 8
- 238000003384 imaging method Methods 0.000 claims description 42
- 230000005540 biological transmission Effects 0.000 claims description 18
- 238000000034 method Methods 0.000 claims description 4
- 238000010586 diagram Methods 0.000 description 5
- 230000006870 function Effects 0.000 description 5
- 238000011156 evaluation Methods 0.000 description 4
- 230000033001 locomotion Effects 0.000 description 4
- 230000000694 effects Effects 0.000 description 2
- 238000009825 accumulation Methods 0.000 description 1
- 238000004364 calculation method Methods 0.000 description 1
- 238000004891 communication Methods 0.000 description 1
- 230000006835 compression Effects 0.000 description 1
- 238000007906 compression Methods 0.000 description 1
- 239000011159 matrix material Substances 0.000 description 1
- 230000003287 optical effect Effects 0.000 description 1
- 230000002093 peripheral effect Effects 0.000 description 1
Images
Classifications
-
- H—ELECTRICITY
- H04—ELECTRIC COMMUNICATION TECHNIQUE
- H04N—PICTORIAL COMMUNICATION, e.g. TELEVISION
- H04N9/00—Details of colour television systems
- H04N9/79—Processing of colour television signals in connection with recording
- H04N9/80—Transformation of the television signal for recording, e.g. modulation, frequency changing; Inverse transformation for playback
- H04N9/804—Transformation of the television signal for recording, e.g. modulation, frequency changing; Inverse transformation for playback involving pulse code modulation of the colour picture signal components
- H04N9/8042—Transformation of the television signal for recording, e.g. modulation, frequency changing; Inverse transformation for playback involving pulse code modulation of the colour picture signal components involving data reduction
Landscapes
- Engineering & Computer Science (AREA)
- Multimedia (AREA)
- Signal Processing (AREA)
- Studio Devices (AREA)
- Television Signal Processing For Recording (AREA)
- Compression Or Coding Systems Of Tv Signals (AREA)
Description
本発明は、画像処理装置及び画像処理方法に関する。
高解像度及び高速で撮像可能なビデオカメラが知られている(例えば、非特許文献1参照)。このようなビデオカメラを用いると、例えば512×512ピクセルといった高解像度を保ちながらも、例えば500FPS(Frame per Second)といった高速で連続なビデオ撮像が可能となる。これによって、撮像対象物に対して表現力の豊かな画像データの提供が期待される。
A.Krymsk i.D.V.Blerkon,A.Anderson,et.al.,"A high-speed 500frame/s 512×512 CMOS image sensor" Dig.Tech. Papers Symp.on VLSI Circuits,No.14-3,June 1999.
A.Krymsk i.D.V.Blerkon,A.Anderson,et.al.,"A high-speed 500frame/s 512×512 CMOS image sensor" Dig.Tech. Papers Symp.on VLSI Circuits,No.14-3,June 1999.
しかしながら、上記したようなビデオカメラを用いて高解像度撮像及び高速撮像をある程度以上まで求めると、撮像した画像データの量が蓄積手段における蓄積可能容量を超えてしまい、上記容量の超過分の画像データを蓄積することができない場合が生じる。
このことを解決するための対策として、仮に、撮像した画像データの膨大な量に応じる膨大な容量の蓄積手段を設けたとしても、撮像データの単位時間あたりの量がビデオカメラと蓄積手段間のデータ伝送路における伝送レートを越えた場合には、上記伝送レートの超過分の画像データを蓄積手段に送ることができず、結果的には、せっかく設けた蓄積手段を有効に活用することができなくなる。
そこで、本発明は、高解像度及び高速で撮像した後に保存すべき画像データの量が膨大になることを防止することが可能な画像処理装置及び画像処理方法を提供することを目的とする。
すなわち、本発明に係る画像処理装置は、撮像手段が撮像した画像フレームを取得する取得手段と、取得手段が取得した画像フレームを所定の大きさの複数の領域に分割する分割手段と、分割手段が分割した領域単位で更新すべき画素の個数を決定する決定手段と、決定手段が決定した個数の画素を領域内で選択して更新する更新手段とを備え、決定手段は、取得手段が今回取得した画像フレームにおける一領域の画像データと、取得手段が過去に取得した画像フレームにおける一領域の画像データとの差分に応じて、取得手段が今回取得した画像フレームにおける一領域内で更新すべき画素の個数を決定すると共に、更新手段が更新すべき画像データの量が所定のしきい値を超えた場合に、当該画像データの量がしきい値以下になるように個数を減らして決定することを特徴としている。
また、本発明に係る画像処理方法は、取得手段が、撮像手段の撮像した画像フレームを取得する取得ステップと、分割手段が、取得ステップにて取得された画像フレームを所定の大きさの複数の領域に分割する分割ステップと、決定手段が、分割ステップにて分割された領域単位で更新すべき画素の個数を決定する決定ステップと、更新手段が、決定ステップにて決定された個数の画素を領域内で選択して更新する更新ステップとを備え、決定ステップにおける決定手段は、取得手段が今回取得した画像フレームにおける一領域の画像データと、取得手段が過去に取得した画像フレームにおける一領域の画像データとの差分に応じて、取得手段が今回取得した画像フレームにおける一領域内で更新すべき画素の個数を決定すると共に、更新ステップにて更新されるべき画像データの量が所定のしきい値を超えた場合に、当該画像データの量がしきい値以下になるように個数を減らして決定することを特徴としている。
このような本発明の画像処理装置及び画像処理方法によれば、分割手段は、取得手段がフレーム単位で取得した画像データを所定大きさの複数の領域に分割する。そして、決定手段が上記領域単位で更新すべき画像データの量(画素数)を決め、更新手段が上記決められた量だけの画像データを更新する。
このように、決定手段が決定した画素数に対する画像データの更新は、取得手段が取得した画像フレーム単位でなく、分割手段が分割した領域単位で行われる。すなわち、例えば、画像フレーム内の一部の領域のみが更新の対象となった場合に、画像フレーム全体を更新するのでなく、当該更新対象領域のみを更新するだけで済む。このため、上記更新対象領域以外の領域におけるデータの量だけ、更新して後に保存すべきデータの量を減らすことができる。
また、本発明においては、取得手段が今回取得した画像データと、取得手段が過去に取得した画像データとの差分に応じて、更新すべき画素の個数が決定される。このように、差分が大きい場合には更新データの量が大きく決定され、差分が小さい場合には更新データの量が小さく決定される。このため、更新されて保存される画像データの再現性を維持しながらも、更新データの保存容量を減らすことができる。
更に、本発明における決定手段は、更新手段が更新すべき画像データの量が所定のしきい値を超えた場合に、当該画像データの量がしきい値以下になるように画素数を減らして決定する。このことにより、更新手段が更新すべき画像データの量がしきい値を超えて膨大になることを防止することができる。
また、画像処理装置において、しきい値は、更新手段により更新された画像データが任意の外部装置に伝送される時に限界となる伝送速度に応じて設定されたことを特徴としている。
また、画像処理方法において、しきい値は、更新ステップにて更新された画像データが任意の外部装置に伝送される時に限界となる伝送速度に応じて設定されたことを特徴としている。
この場合に、決定手段は、画像処理装置と任意の外部装置間のデータ伝送速度以内の範囲で、更新手段が更新すべき画像データの量を決める。このため、更新手段によって更新された画像データの全てがもれなく外部装置に伝送されて保存されることができる。
本発明によれば、高解像度及び高速で撮像した後に保存すべき画像データの量が膨大になることを防止することが可能となる。
本発明の知見は、例示のみのために示された添付図面を参照して以下の詳細な記述を考慮することによって容易に理解することができる。引き続いて、添付図面を参照しながら本発明の実施の形態を説明する。なお、可能な場合には、同一の部分には同一の符号を付して、重複する説明を省略する。
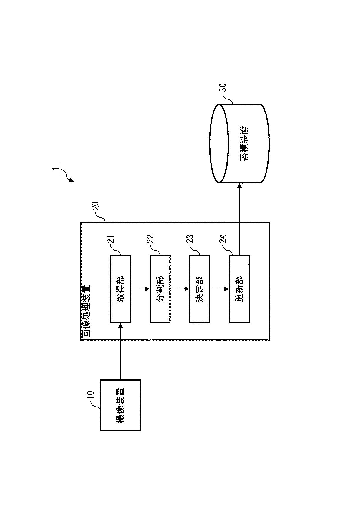
本発明の画像処理装置20を含む撮像システム1について、図1を参照しながら説明する。図1は、撮像システム1の構成概要図である。図1に示す撮像システム1においては、撮像装置10(撮像手段)が撮像した画像データに対して、画像処理装置20がデータ量を減らす処理を施し、蓄積装置30(任意の外部装置)がデータ量の減った当該画像データを蓄積する。以下、撮像システム1を構成する各要素について詳細に説明する。
撮像装置10は、入射する光信号を電気信号に変換することで撮像対象物を撮像するものであり、本実施形態においては、高速かつ高解像度で動画を連続的に撮像可能な通常のビデオカメラである。撮像装置10は、2N×2Nピクセルの画素領域を有し、γFPSでビデオ撮像を行う。以下、本実施形態においては、例えば、N=9と設定され、γ=1000と設定されている。この撮像装置10は、撮像した画像データをフレーム単位で画像処理装置20に出力する。
画像処理装置20は、撮像装置10から入力された画像データの量を後述するアルゴリズムによって適宜に減らし、蓄積装置30に伝送するものである。画像処理装置20は、物理的には、例えば通常のFPGA(Field Programmable Gate Array)ボード上に組み込まれる。そして、このFPGAボードはCPU、メモリ、通信インタフェイス、表示インタフェイス等を備えた通常のコンピュータシステム内に設けられる。
蓄積装置30は、画像処理装置20から入力された画像データを蓄積するものである。蓄積装置30は、物理的には、例えば上記コンピュータシステム内に設けられたハードディスクといった格納手段である。
画像処理装置20と蓄積装置30間は、画像データを画像処理装置20から蓄積装置30へ伝送するためのデータ伝送路として、例えばPCIバス(Peripheral Components Interconnect Bus、図示せず)を介して接続されている。本実施形態におけるPCIバスは、理論値として1064Mbps(133MB/s)の伝送レート(限界となる伝送速度)を有する通常のものである。
図1に示すように、画像処理装置20は、機能的な構成要素として取得部21(取得手段)、分割部22(分割手段)、決定部23(決定手段)及び更新部24(更新手段)を備える。以下、画像処理装置20を構成する各要素について詳細に説明する。
取得部21は、撮像装置10が撮像した画像データをフレーム単位で取得するものである。図2は、取得部21が撮像装置10から取得した画像フレームのイメージを示す図である。図2に示すように、取得部21は、512×512ピクセル(2N×2Nピクセル)の画像データを1/1000秒ごとに(すなわち、1/γ秒ごとの画像フレーム単位で)取得する。なお、図2においては、取得部21が今回取得した画像フレームをフレームkと表し、前回(今回と比べて1/1000秒前)取得した画像フレームをフレーム(k−1)と表し、前々回(今回と比べて2/1000秒前)取得した画像フレームをフレーム(k−2)と表す。取得部21は、取得した画像フレームを分割部22に出力する。
分割部22は、取得部21から入力された画像フレームを所定の大きさの領域に分割するものである。図3は、分割部22がフレームkを分割したイメージを示す図である。図3(a)に示すように、分割部22は、512×512ピクセルのフレームkを4096(64×64)個の正方領域に分割する。分割部22によって分割された一の正方領域は、図3(b)に示すように、2M×2Mピクセルの画像データである。以下、本実施形態において、M=3とする。
図3においては、フレームkから分割された4096(64×64)個の各正方領域を区別するために、各正方領域をR(i,j)で表す。ただし、iは1から64までの自然数であって画像フレームにおける横軸を表すためのパラメータであり、jは1から64までの自然数であって画像フレームにおける縦軸を表すためのパラメータである。すなわち、図3(a)のフレームkにおいて、最左上段の正方領域をR(1,1)と表し、最右上段の正方領域をR(64,1)と表し、最左下段の正方領域をR(1,64)と表し、最右下段の正方領域をR(64,64)と表す。
また、図3において、一の正方領域内の8×8ピクセルの各画素を区別するために、各画素をxとyの組み合わせで表す。ただし、xは1から8までの自然数であって正方領域における横軸を表すためのパラメータであり、yは1から8までの自然数であって正方領域における縦軸を表すためのパラメータである。すなわち、図3(b)に示す領域R(i,j)において、最左上段の画素は(x,y)=(1,1)と表し、最右上段の画素は(x,y)=(8,1)と表し、最左下段の画素は(x,y)=(1,8)と表し、最右下段の画素は(x,y)=(8,8)と表す。分割部22は、このように64×64個の正方領域に分割した画像フレームを決定部23及び更新部24に出力する。
決定部23は、分割部22から入力された画像フレームの一正方領域内の全画素(8×8ピクセル)中、後に更新手段が更新して保存すべき画素の個数(ピクセル数)を決定するものである。すなわち、上記更新して保存すべき画素数以外の画素は後で保存されない。決定部23は、前回に更新された領域の画像データと今回更新すべき領域の画像データを比べて、その差分が所定の第1しきい値ΔSを超えた場合に、今回更新すべき画素の個数を上記差分に比例して決定する。
以下、例えば、分割部22から今回入力された画像フレームをフレームkとし、かつフレームkの正方領域R(i,j)を上記一正方領域として、決定部23の機能を具体的に説明する。なお、以下においては、前回撮像されたが、正方領域R(i,j)が更新されていないフレームをフレーム(k−1)とする。また、前々回撮像されて、正方領域R(i,j)について前回更新されたフレームをフレーム(k−2)とする。このように、撮像と更新が必ずしも一致するものではない。
まず、決定部23は、フレームkにおけるR(i,j)の画像データと、フレーム(k−2)における正方領域R(i,j)の画像データとを比較する。なお、フレーム(k−1)における正方領域R(i,j)の画像データは前回更新されていないため、比較対象とならない。この比較に用いられるアルゴリズムを下記の式(1)及び式(2)に示す。
次に、決定部23は、上記式(1)によって求めた評価関数S(i,j)と第1しきい値ΔSとを比較する。そして、上記評価関数S(i,j)が第1しきい値ΔSを超えた場合に、正方領域R(i,j)内の全画素(8×8ピクセル)中、後に更新部24が更新して保存すべき画素の個数p(i,j)を上記評価関数S(i,j)に比例して決定する。一方、上記評価関数S(i,j)が第1しきい値ΔSを超えない場合には、後に更新部24が更新して保存すべき画素の個数p(i,j)を0とする。この画素数p(i,j)の決定に用いられるアルゴリズムを下記の式(3)及び式(4)に示す。
決定部23は、式(5)に示した単位時間あたりに更新されるデータ量Dと第2しきい値Dmax(しきい値)とを比較する。そして、決定部23は、この比較の結果をもとに、式(4)によって自ら決定した画素数p(i,j)をそのまま維持するか否かを判断する。ここで、第2しきい値Dmaxは、上記PCIバスの伝送レートに応じて(すなわち、PCIバスの理論値としての伝送レートと比べて同等以下に)設定されるものである。つまり、決定部23は、式(4)に従って自ら決定した画素数p(i,j)をもとに、後に更新部24が単位時間あたりに蓄積装置30に伝送するデータ量DがPCIバスの伝送レートを越えるか否かを確認する。
単位時間あたりのデータ量Dが第2しきい値Dmaxを超えた場合に、決定部23は、上記決定した画素数p(i,j)を維持せず、画素数p´(i,j)を再決定する。この再決定に用いられるアルゴリズムを下記の式(6)に示す。
決定部23は、式(7)に示したΔDが0となるように、つまり単位時間あたりのデータ量Dが第2しきい値Dmaxを超えないように、画素数p´(i,j)を再決定する。すなわち、下記の式(8)を上記式(6)に代入することで、画素数p´(i,j)は式(9)のように表現される。
決定部23は、このように再決定した画素数p´(i,j)を更新部24に出力する。一方、単位時間あたりのデータ量Dが第2しきい値Dmaxを超えなかった場合に、決定部23は、上記の式(3)及び式(4)によって決定した画素の画素数p(i,j)をそのまま維持し、更新部24に出力する。
更新部24は、決定部23から入力された画素数p(i,j)または画素数p´(i,j)だけの画素を上記正方領域R(i,j)内でランダムに選択して更新するものである。更新部24は、画素数p(i,j)または画素数p´(i,j)以内の範囲で画素をランダムに選択するために、例えば周知のベイヤ(Bayer)型のディザ(Dither)行列を用いる。更新部24は更新した画像データをPCIバスを通じて蓄積装置30に伝送する。そして、蓄積装置30は更新部24から伝送されてきた画像データを蓄積する。
続いて、撮像システム1の動作(画像処理方法)について、図4を参照しながら説明する。図4は、撮像システム1の動作を説明するためのフローチャートである。なお、図4のフローチャートに示す動作は、画像フレーム単位で繰り返される。
まず、撮像装置10が、29×29ピクセルの画素領域を1000FPSで撮像する。撮像装置10は、撮像したフレームを取得部21に出力する(ステップS1)。
次に、取得部21が、撮像装置10から入力されたフレームを取得する。取得部21は、取得した画像フレームを分割部22に出力する(ステップS2)。
次に、分割部22が、取得部21から入力された画像フレームを23×23ピクセルの正方領域に分割する。すなわち、分割部22は、一つの画像フレームを26×26個の正方領域に分割する。分割部22は、正方領域に分割された画像フレームを決定部23に出力する(ステップS3)。
次に、決定部23は、正方領域に分割されたフレームを分割部22から入力される。決定部23は、分割部22された各正方領域内の全画素中、後に更新して保存すべき画素の画素数p(i,j)を正方領域ごとに決定する。決定部23は、まず、前回更新された正方領域の画像データと今回更新すべき正方領域の画像データを比べる。そして、その差分が所定の第1しきい値ΔSを超えた場合に、決定部23は上記画素数p(i,j)を上記差分に比例して決定する。一方、決定部23は、上記差分が第1しきい値ΔSを超えない場合に、上記画素数p(i,j)を0とする。このような決定部23による画素数p(i,j)の決定は、例えば式(1)〜式(4)に示すアルゴリズムに従って、正方領域R(1,1)から正方領域R(64,64)まで26×26回行われる(ステップS4)。
次に、決定部23は、上記画素数p(i,j)をもとに、更新部24が単位時間あたりに更新して蓄積装置30に伝送するデータ量Dと、PCIバスの伝送レートに応じて設定された第2しきい値Dmaxとを比較する。決定部23は、この比較の結果をもとに、上記ステップS4にて自ら決定した画素数p(i,j)をそのまま維持するか否かを判断する(ステップS5)。
ステップS5にて、単位時間あたりのデータ量Dが第2しきい値Dmaxを超えた場合に、決定部23は、上記ステップS4にて決定した画素数p(i,j)を維持せず、画素数p´(i,j)を再決定する。決定部23は、例えば式(6)〜式(9)に示すアルゴリズムに従って画素数p´(i,j)を再決定する。そして、決定部23は、再決定した画素数p´(i,j)を更新部24に出力する(ステップS6)。
ステップS5にて、単位時間あたりのデータ量Dが第2しきい値Dmaxを超えない場合に、決定部23は、上記ステップS4にて決定した画素数p(i,j)をそのまま維持し、更新部24に出力する。
次に、更新部24が、決定部23から入力された画素数p(i,j)または画素数p´(i,j)だけの画素を各正方領域内でランダムに選択して更新する。更新部24は更新した画像データをPCIバスを通じて蓄積装置30に伝送する(ステップS7)。
次に、蓄積装置30が、更新部24から伝送されてきた画像データを保存して蓄積する(ステップS8)。そして、処理の流れは、次の画像フレームを対象とするステップS1に戻る。
続いて、撮像システム1の動作の結果について、図5〜図7を参照しながら説明する。図5〜図7は、人が手前に向かって走って来る様子を、撮像装置10が0.75秒間(すなわち、750フレーム)撮像した場合に、撮像システム1の行った動作の結果を説明するための図である。なお、図5〜図7においては、説明を簡略にするために、750個のフレームの中で時刻0.00秒のフレーム(a)、時刻0.25秒のフレーム(b)、時刻0.50秒のフレーム(c)、及び時刻0.75秒のフレーム(d)のみを示す。
図5は、ステップS2〜ステップS6までの処理を行わない場合、すなわち撮像装置10が撮像した画像データをそのまま保存した場合を示している。図5に示すように、保存された各画像データは高解像度を維持しているが、この場合に必要とされる保存容量は約187.5MBもする。
図6は、第1しきい値ΔS=1.0と設定し、かつ第2しきい値Dmax=1000Mbpsと設定した場合、すなわち第2しきい値をPCIバスの理論値としての伝送レートとほぼ同等に設定した場合を示している。図6に示すように、保存された各画像データは高解像度を維持していながらも、この場合に必要とされた保存容量はわずか38.96MBである。
図7は、第1しきい値ΔS=1.0と設定し、かつ第2しきい値Dmax=300Mbpsと設定した場合、すなわち第2しきい値をPCIバスの理論値としての伝送レートより小さく設定した場合を示している。図7に示すように、保存された各画像データは高解像度を維持していながらも、この場合に必要とされた保存容量は、わずか26.71MBである。
続いて、本実施形態の作用及び効果について説明する。本実施形態の画像処理システム1によれば、分割部22は、取得部21がフレーム単位で取得した画像データを所定大きさの複数の領域に分割する。そして、決定部23が上記領域単位で更新すべき画像データの量(画素数)を決め、更新部24が上記決められた量だけの画像データを領域ごとに更新する。
このように、決定部23が決定した画素数に対する画像データの更新は、取得部21が取得したフレーム単位でなく、分割部22が分割した領域単位で行われる。すなわち、例えば、フレーム内の一部の領域のみが更新の対象となった場合に、フレーム全体を更新するのでなく、当該更新対象領域のみを更新するだけで済む。このため、上記更新対象領域以外の領域におけるデータの量だけ、更新するデータの量を減らすことができる。
また、本実施形態においては、取得部21が今回取得した画像データと、更新部24が前回更新した画像データとの差分に応じて、更新すべき画素の個数が決定される。このように、差分が大きい場合には更新すべき画像データの量が大きく決定され、差分が小さい場合には更新すべき画像データの量が小さく決定される。このため、更新されて保存される画像データの再現性を維持しながらも、当該画像データの保存容量を減らすことができる。
更に、本実施形態においては、上記差分が第1しきい値ΔSを超えた場合のみに、画像データの更新が行われる。すなわち、上記差分が第1しきい値以下の場合には、画像データの更新を行なわず、例えば前回更新して保存してある画像データを今回取得した画像データとして、以後の処理にて用いることができる。このため、上記差分が第1しきい値ΔS以下の場合のデータの量だけ、更新して保存すべきデータの量を減らすことができる。更に、上記差分が第1しきい値ΔS以下の場合のデータについてはステップS4〜ステップS7の処理をしないため、演算時間を短くすることができる。
更に、決定部23は、更新部24が更新すべき画像データの量が第2しきい値を超えた場合に、当該画像データの量が第2しきい値以下になるように画素数を減らして再決定する。このことにより、更新部24が更新して蓄積装置30に伝送すべき画像データの量が第2しきい値を超えて膨大になることを防止することができる。
また、決定部23は、蓄積装置30との間の伝送速度以内の範囲で、更新部24が更新して伝送すべき画像データの量を決める。このため、更新部24によって更新された画像データの全てがもれなく蓄積装置30に伝送されて保存されることができる。
以上、本発明の好適な実施形態について説明したが、本発明が上記実施形態に限定されないことは言うまでもない。
また、更新部24が更新した画像データを蓄積装置30に伝送する時に、例えばMPEG(Motion Picture Experts Group)など可変長符号化圧縮手法を用いて圧縮して伝送しても良い。
1…撮像システム、10…撮像装置、20…画像処理装置、21…取得部、22…分割部、23…決定部、24…更新部、30…蓄積装置。
Claims (4)
- 撮像手段が撮像した画像フレームを取得する取得手段と、
前記取得手段が取得した画像フレームを所定の大きさの複数の領域に分割する分割手段と、
前記分割手段が分割した領域単位で更新すべき画素の個数を決定する決定手段と、
前記決定手段が決定した個数の画素を前記領域内で選択して更新する更新手段と
を備え、
前記決定手段は、
前記取得手段が今回取得した画像フレームにおける一領域の画像データと、前記取得手段が過去に取得した画像フレームにおける前記一領域の画像データとの差分に応じて、前記取得手段が今回取得した画像フレームにおける前記一領域内で更新すべき画素の個数を決定すると共に、
前記更新手段が更新すべき画像データの量が所定のしきい値を超えた場合に、当該画像データの量が前記しきい値以下になるように前記個数を減らして決定することを特徴とする画像処理装置。 - 前記しきい値は、前記更新手段により更新された画像データが任意の外部装置に伝送される時に限界となる伝送速度に応じて設定されたことを特徴とする請求項1に記載の画像処理装置。
- 取得手段が、撮像手段の撮像した画像フレームを取得する取得ステップと、
分割手段が、前記取得ステップにて取得された画像フレームを所定の大きさの複数の領域に分割する分割ステップと、
決定手段が、前記分割ステップにて分割された領域単位で更新すべき画素の個数を決定する決定ステップと、
更新手段が、前記決定ステップにて決定された個数の画素を前記領域内で選択して更新する更新ステップと
を備え、
前記決定ステップにおける決定手段は、
前記取得手段が今回取得した画像フレームにおける一領域の画像データと、前記取得手段が過去に取得した画像フレームにおける前記一領域の画像データとの差分に応じて、前記取得手段が今回取得した画像フレームにおける前記一領域内で更新すべき画素の個数を決定すると共に、
前記更新ステップにて更新されるべき画像データの量が所定のしきい値を超えた場合に、当該画像データの量が前記しきい値以下になるように前記個数を減らして決定することを特徴とする画像処理方法。 - 前記しきい値は、前記更新ステップにて更新された画像データが任意の外部装置に伝送される時に限界となる伝送速度に応じて設定されたことを特徴とする請求項3に記載の画像処理方法。
Priority Applications (2)
| Application Number | Priority Date | Filing Date | Title |
|---|---|---|---|
| JP2006066553A JP4759740B2 (ja) | 2006-03-10 | 2006-03-10 | 画像処理装置及び画像処理方法 |
| PCT/JP2007/054691 WO2007105641A1 (ja) | 2006-03-10 | 2007-03-09 | 画像処理装置及び画像処理方法 |
Applications Claiming Priority (1)
| Application Number | Priority Date | Filing Date | Title |
|---|---|---|---|
| JP2006066553A JP4759740B2 (ja) | 2006-03-10 | 2006-03-10 | 画像処理装置及び画像処理方法 |
Publications (2)
| Publication Number | Publication Date |
|---|---|
| JP2007243832A JP2007243832A (ja) | 2007-09-20 |
| JP4759740B2 true JP4759740B2 (ja) | 2011-08-31 |
Family
ID=38509464
Family Applications (1)
| Application Number | Title | Priority Date | Filing Date |
|---|---|---|---|
| JP2006066553A Active JP4759740B2 (ja) | 2006-03-10 | 2006-03-10 | 画像処理装置及び画像処理方法 |
Country Status (2)
| Country | Link |
|---|---|
| JP (1) | JP4759740B2 (ja) |
| WO (1) | WO2007105641A1 (ja) |
Families Citing this family (1)
| Publication number | Priority date | Publication date | Assignee | Title |
|---|---|---|---|---|
| CN109451312A (zh) * | 2018-11-05 | 2019-03-08 | 深圳威尔视觉传媒有限公司 | 方便视频解码的视频处理方法、装置、设备及存储介质 |
Family Cites Families (4)
| Publication number | Priority date | Publication date | Assignee | Title |
|---|---|---|---|---|
| JPH09219853A (ja) * | 1996-02-09 | 1997-08-19 | Canon Inc | 動画像処理方法および装置 |
| JP2002077905A (ja) * | 2000-09-04 | 2002-03-15 | Matsushita Electric Ind Co Ltd | 符号化制御装置および方法 |
| JP2003111050A (ja) * | 2001-09-27 | 2003-04-11 | Olympus Optical Co Ltd | 映像配信サーバ及び映像受信クライアントシステム |
| JP4404290B2 (ja) * | 2002-12-04 | 2010-01-27 | カシオ計算機株式会社 | 動画撮影装置、及び動画撮影方法 |
-
2006
- 2006-03-10 JP JP2006066553A patent/JP4759740B2/ja active Active
-
2007
- 2007-03-09 WO PCT/JP2007/054691 patent/WO2007105641A1/ja not_active Ceased
Also Published As
| Publication number | Publication date |
|---|---|
| WO2007105641A1 (ja) | 2007-09-20 |
| JP2007243832A (ja) | 2007-09-20 |
Similar Documents
| Publication | Publication Date | Title |
|---|---|---|
| US10582196B2 (en) | Generating heat maps using dynamic vision sensor events | |
| US20220222776A1 (en) | Multi-Stage Multi-Reference Bootstrapping for Video Super-Resolution | |
| US7873221B2 (en) | Image processing apparatus, image processing method, program for image processing method, and recording medium which records program for image processing method | |
| CN110366048B (zh) | 视频传输方法、装置、电子设备和计算机可读存储介质 | |
| US9344736B2 (en) | Systems and methods for compressive sense imaging | |
| JP2008225600A (ja) | 画像表示システム、画像送信装置、画像送信方法、画像表示装置、画像表示方法およびプログラム | |
| CN106488117B (zh) | 数字图像的预处理方法和数字图像预处理系统 | |
| US9172870B2 (en) | Real-time image processing method and device enhancing the resolution of successive images | |
| JP2022002376A (ja) | 画像処理装置、画像処理方法およびプログラム | |
| US20140002645A1 (en) | Server and video surveillance method of target place | |
| US8625933B2 (en) | Image processing apparatus and method for the same | |
| JP6282133B2 (ja) | 撮像装置、その制御方法、および制御プログラム | |
| JP4759740B2 (ja) | 画像処理装置及び画像処理方法 | |
| JP2009100259A (ja) | 監視カメラおよび画像監視システム | |
| JP4561649B2 (ja) | 画像圧縮装置、画像圧縮プログラム及び画像圧縮方法、hdr画像生成装置、hdr画像生成プログラム及びhdr画像生成方法、並びに画像処理システム、画像処理プログラム及び画像処理方法 | |
| JP7435208B2 (ja) | 画像処理装置及びプログラム | |
| CN110475044B (zh) | 图像传输方法和装置、电子设备、计算机可读存储介质 | |
| CN110213457B (zh) | 一种图像传输方法及装置 | |
| JP2009065619A (ja) | 手振れ補正装置及び撮像装置 | |
| US20250024035A1 (en) | Image compression device and image compression method | |
| US20250024054A1 (en) | Video data processing technology for reducing transmission bandwidth | |
| CN112911299A (zh) | 一种视频码率控制方法、装置、电子设备和存储介质 | |
| US11570492B2 (en) | Image capturing system, distribution apparatus, image capturing apparatus, control method, and non-transitory computer-readable storage medium | |
| EP3506633A1 (en) | Video encoding method and system | |
| KR101551568B1 (ko) | 가변 크기 블록을 이용한 영상 잡음 제거 방법 및 장치 |
Legal Events
| Date | Code | Title | Description |
|---|---|---|---|
| A621 | Written request for application examination |
Free format text: JAPANESE INTERMEDIATE CODE: A621 Effective date: 20090304 |
|
| A01 | Written decision to grant a patent or to grant a registration (utility model) |
Free format text: JAPANESE INTERMEDIATE CODE: A01 Effective date: 20110510 |
|
| R150 | Certificate of patent or registration of utility model |
Free format text: JAPANESE INTERMEDIATE CODE: R150 |
