JP4641908B2 - ドラム式洗濯機 - Google Patents

ドラム式洗濯機 Download PDF

Info

Publication number
JP4641908B2
JP4641908B2 JP2005260102A JP2005260102A JP4641908B2 JP 4641908 B2 JP4641908 B2 JP 4641908B2 JP 2005260102 A JP2005260102 A JP 2005260102A JP 2005260102 A JP2005260102 A JP 2005260102A JP 4641908 B2 JP4641908 B2 JP 4641908B2
Authority
JP
Japan
Prior art keywords
water
heater
washing
drum
laundry
Prior art date
Legal status (The legal status is an assumption and is not a legal conclusion. Google has not performed a legal analysis and makes no representation as to the accuracy of the status listed.)
Expired - Fee Related
Application number
JP2005260102A
Other languages
English (en)
Other versions
JP2007068807A (ja
Inventor
治夫 井田
智 児玉
正 犬塚
真二 松岡
Current Assignee (The listed assignees may be inaccurate. Google has not performed a legal analysis and makes no representation or warranty as to the accuracy of the list.)
Panasonic Corp
Panasonic Holdings Corp
Original Assignee
Panasonic Corp
Matsushita Electric Industrial Co Ltd
Priority date (The priority date is an assumption and is not a legal conclusion. Google has not performed a legal analysis and makes no representation as to the accuracy of the date listed.)
Filing date
Publication date
Application filed by Panasonic Corp, Matsushita Electric Industrial Co Ltd filed Critical Panasonic Corp
Priority to JP2005260102A priority Critical patent/JP4641908B2/ja
Publication of JP2007068807A publication Critical patent/JP2007068807A/ja
Application granted granted Critical
Publication of JP4641908B2 publication Critical patent/JP4641908B2/ja
Anticipated expiration legal-status Critical
Expired - Fee Related legal-status Critical Current

Links

Images

Landscapes

  • Main Body Construction Of Washing Machines And Laundry Dryers (AREA)
  • Detail Structures Of Washing Machines And Dryers (AREA)

Description

本発明は、水槽内に配設した回転ドラムを回転駆動することにより、回転ドラム内に収容した洗濯物を洗浄するドラム式洗濯機に関するものである。
ドラム式洗濯機に限らず洗濯機によって洗濯工程を実施する際に用いる水の温度は洗濯性能を発揮させる上で重要な要素である。洗剤の性能を充分に発揮させ、洗濯物の種類に適合する最適の水温があり、その水温を保って洗濯工程を実施することにより、洗剤の性能を最大限に引き出して効果的な洗浄力を得ることができる。特に、酵素などの作用を利用した洗剤では、水温によって酵素の働きが左右されるので、水温を適正に維持することによって顕著な効果を得ることができる。また、水温を意図的に上昇させることにより、洗濯物に付着したダニなどの害虫を駆除する効果や殺菌する効果などを得ることができる。
この洗濯工程時の水温が所望温度になるように、洗剤を混合した洗濯水をヒータによって加熱する構造を設けたドラム式洗濯機として、回転ドラムを収容した水槽の下部周面に形成した凹部内に水槽周面と略平行にヒータを配設し、給水された水を凹部に配設したヒータにより加熱し、水温検出によってヒータによる加熱を制御し、所要の温度に水温を保って洗濯性能を向上させるようにした構成が知られている(特許文献1参照)。
特開平10−263284号公報
上記従来技術に係るドラム式洗濯機においては、水槽の側周面と略平行に洗濯水を貯留する凹部を設け、その中にヒータを配設しているので、洗濯工程中の回転ドラムの回転に伴って凹部から洗濯水が散出し、ヒータが空気中に露出する状態が生じることがある。ヒータが空気中に露出すると、露出した部分が局所的に温度上昇し、ヒータに変形が生じて回転ドラムに接触する課題があった。この課題は、回転ドラム及び水槽を傾斜配置して洗濯物の出し入れを容易にした斜めドラム形式のドラム式洗濯機においては、より顕著となる。従って、ヒータは局部加熱が生じた際にも変形が生じ難いように確実に保持する構造を設けることが望ましいものとなる。
また、ヒータにより洗濯水を加熱する凹部は水槽の最下部となるため、そこに排水口が形成される。排水口にはそれに接続して排水管路や排水弁などが設けられるので、ヒータの輻射熱がそれらに及ぶと樹脂製の部材に悪影響を与えることになる。特に、何らかの故障によりヒータが異常過熱したような場合に、樹脂製の部材はヒータからの高熱輻射を直接受けることになり、変形や溶解、更には溶解した樹脂が発火する恐れもある。
本発明が目的とするところは、洗濯水の加熱構造を構成したとき、ヒータからの熱輻射により排水口とそれに接続された部材に悪影響が生じない構造を設けたドラム式洗濯機を提供することにある。
上記目的を達成するための本発明に係るドラム式洗濯機は、回転駆動される有底円筒形の回転ドラムを有底円筒形に形成された水槽内に収容し、前記水槽の最下部位から下方に向けて底面が略水平方向となるように貯水空間を形成し、前記底面の最下部に排水口を開口させ、前記底面と略平行に配したヒータを保持するヒータ保持金具により前記排水口の上方に位置するヒータの一部を覆って前記ヒータの一部と前記排水口とを遮蔽した洗濯水加熱槽を形成してなる水槽ユニットが、洗濯機筐体の正面側から背面側に向けて回転ドラムの回転軸心が下向き傾斜となり、前記排水口が水槽内部の最下点となるように洗濯機筐体内に配設され、前記洗濯水加熱槽の内壁面を被覆する遮熱板が敷設されるとともに前記排水口は前記遮熱板で被覆しない構成としたことを特徴とする。
上記構成によれば、ヒータにより洗濯水を加熱する洗濯水加熱槽は水槽の最下部位に位置しているので、必然的にその底面に排水口を開口させることになる。そのため排水口の上方にはヒータが配設されることになり、ヒータからの輻射熱が排水口に直接及ぶことになる。そこで、ヒータを所定位置に保持するヒータ保持金具により排水口からヒータを遮蔽すると、ヒータからの輻射熱は排水口に直接及ばなくなるので、何らかの故障によりヒータが異常温度上昇したような場合でも排水口に高熱が輻射されることが抑えられ、排水口とそれに接続された排水管路や排水弁などに熱による影響が生じ難くなる。
本発明によれば、回転ドラム及び水槽を傾斜配置して回転ドラムに対して洗濯物を出し入れする作業を容易にした斜めドラム形式のドラム式洗濯機に洗濯水を所望温度に加熱する機能を設けた場合に、洗濯水加熱槽は水槽の最下部位から下方に向けた凹部で、その底面に排水口が開口することになるので、排水口の上方に位置するヒータからの熱輻射が排水口に直接及ぶことになるが、ヒータ保持金具によって排水口の上方に位置するヒータと排水口との間が遮蔽されるので、高熱輻射が排水口に直接及ぶことが抑制され、排水口とそれに接続された排水管路や排水弁などに熱輻射による悪影響が生じ難くなる。
実施形態に係るドラム式洗濯機の構成を示す断面図。 ヒータの配設構造を示す(a)は平面図、(b)は側面図。 温度ヒューズの取付構造を示す断面図。
図1は、実施形態に係るドラム式洗濯機1の構成を断面図として示すもので、回転ドラム5と、それを収容する水槽3とを水平方向から上向き方向に角度θで傾斜させ、回転ドラム5及び水槽3の開口部が水平方向から上向きとなるようにして洗濯機筐体2内に配設し、洗濯機筐体2の正面を上向きに傾斜させた傾斜面に設けられた扉体8から回転ドラム5内への洗濯物の出し入れを容易にした斜めドラム形式のドラム式洗濯機1に構成されている。因みに、本構成における回転ドラム5の傾斜角度θは、本願発明者らによる様々な観点からの調査研究により、θ=25±5度に設定するのが最適の角度であるとの結論を得ており、子供(幼児を除く)から大人までの身長差があっても、車椅子を使用する障害者であっても、扉体8を開いて回転ドラム5に洗濯物を出し入れする作業が行いやすく、出し入れに際して腰を屈めることがないので、洗面所などの狭いスペースに設置することもできるように構成されている。
前記回転ドラム5は、有底円筒形の開口部側を洗濯機筐体2の正面側に、底面側を洗濯機筐体2の背面側にして、回転軸心Rが正面側から背面側に向けて角度θで下向き傾斜となるようにして水槽3内に配置され、その回転軸15は水槽3の背面に設けられた軸受16で軸支されている。回転軸15には従動プーリ18が装着され、水槽3の下面に取り付けられたドラム駆動モータ4の回転駆動軸に装着された駆動プーリ17との間に駆動ベルト19が架設されたベルト駆動構造に構成され、ドラム駆動モータ4によって回転ドラム5は回転駆動される。回転ドラム5の周面には多数の透孔20が形成されて水槽3内との間で水の流通がなされるように構成され、回転ドラム5の内周面の複数位置には攪拌突起21が設けられ、回転ドラム5の回転により洗濯物を上方に持ち上げ、上方から落下させる叩き洗いの作用がなされるように構成されている。
前記水槽3は、水槽本体3aと水槽蓋体3bとを連結した有底円筒形に形成され、収容した回転ドラム5と同様に正面側から背面側に向けて下向き傾斜させて洗濯機筐体2内に図示しないサスペンション構造により支持されている。この水槽3は、軽量化を図ると同時に様々な構成要素の構築及び接続が容易に行い得るように樹脂成形によって形成されている。水槽3の正面側には洗濯物出入口6が開口し、その開口中心Cは回転ドラム5の開口中心(回転軸心Rと一致)から上方に偏心した位置とし、扉体8の中心も洗濯物出入口6の中心線上に略一致させている。このように洗濯物出入口6及び扉体8をその中心位置Cが回転ドラム5の回転軸心Rから上方に偏心した位置になるように構成すると、円形に形成される扉体8の直径や洗濯物出入口6の開口径が制約を受ける状態にあっても扉体8を開き、洗濯物出入口6を通して回転ドラム5の内部を覗いたときに死角となる部位が少なくなる。従って、回転ドラム5内に収容した洗濯物が広範囲にわたって見えるので、洗濯物の取り出し忘れなどが生じ難くなる。特に、本実施形態に係るドラム式洗濯機1のように回転ドラム5を傾斜配置し、回転ドラム5の傾斜角度に対応させた洗濯機筐体2の傾斜面に扉体8を設けた構成においては、より広範囲に回転ドラム5の内部を見渡すことができる。
しかし、回転ドラム5の開口径より洗濯物出入口6の開口径が小さく、回転ドラム5の回転軸心Rから洗濯物出入口6の中心位置Cが上方に偏っていると、図示するように回転ドラム5の開口端に洗濯物出入口6の下方がオーバーラップすることになる。この状態で回転ドラム5の開口部から洗濯物の一部が飛び出た場合に、回転ドラム5の回転に伴って飛び出た部分が回転ドラム5と水槽3との間に噛み込まれてしまうことがある。このような洗濯物の噛み込みを防止するために、洗濯物出入口6の周縁部を覆い、回転ドラム5の開口部にオーバーラップする部分を中心に回転ドラム5内に向けて突出する噛み込み防止突起13を形成した出入口枠体14が設けられている。前記噛み込み防止突起13は、回転ドラム5の開口部とオーバーラップする量が大きくなる下方の突出量が大きくなるように形成され、噛み込み防止突起13は回転ドラム5の開口部から内側に突出しているので、洗濯物の量が多い場合に回転ドラム5の回転に伴って洗濯物が開口部から飛び出ることを抑えるように作用し、回転ドラム5の開口部から飛び出した洗濯物が水槽3との間に噛み込んでしまうことが防止できる。
また、噛み込み防止突起13は回転ドラム5によって攪拌される洗濯物が接触する状態になりやすいため、接触面積が大きいと洗濯物が張り付いて接触抵抗が増加するため、洗濯物との間で擦れ摩擦が発生する度合いが大きくなり、弱い繊維質の洗濯物では擦れ摩擦の繰り返しにより損傷が生じる恐れがある。そこで、噛み込み防止突起13の表面形状は、図1に断面図として示すように、平坦面を無くしたアール面に形成している。噛み込み防止突起13の表面がアール形状であることにより、洗濯物との接触面積が小さくなり、接触摩擦が小さくなるので、洗濯物に損傷を与えることが抑制される。更に接触抵抗の低減を図るためには、噛み込み防止突起13に多数の孔又は凹部を形成すると、洗濯物との接触面積を低下させることができる。
また、本実施形態に係るドラム式洗濯機1においては、水に洗剤を混合させた洗剤混合水を洗剤の性能が充分に発揮される温度に加熱して洗浄効果を向上させ、洗濯物の種類に適した水温が得られるように、水槽3内に注水された洗剤混合水を加熱する洗濯水加熱槽10が水槽の最下部位に構築され、その底面に排水口22が開口し、内部に水加熱用のヒータ11が配設されている。前記洗濯水加熱槽10の底面は略水平方向に形成され、底面前方側に開口させた排水口22の開口位置が最下点となるように若干の傾斜を設けて配置され、ヒータ11は底面と略平行になるように配設されている。
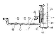
図2(a)(b)は、前記洗濯水加熱槽10に配設されたヒータ11の装着構造を示すもので、洗濯水加熱槽10の内壁面はステンレス薄板によって形成された遮熱板33によって被覆され、この遮熱板33に取り付けられたヒータ保持金具34により屈曲形成したヒータ11の先端部が保持されている。ヒータ11は洗濯水加熱槽10の後側壁に形成された穴から洗濯水加熱槽10内に挿入され、先端部をヒータ保持金具34に挿入し、後側壁に設けられた穴がヒータ支持体32によって防水構造に閉じられるように固定される。ヒータ保持金具34は、ステンレス薄板を略T字状にプレス抜きし、T字左右方向に幅広に形成した部分を互いに中央にヒータ11が挟持できる間隔を設けて折り返した保持部34aを形成し、T字縦方向の幅の狭い部分は保持金具取付部34bとして遮熱板33の底面に溶接固定されている。前記保持部34aの下面は排水口22の上方に位置し、排水口22のほぼ全面を覆う大きさを有している。また、洗濯水加熱槽10の一外側面には温度ヒューズ35が装着され、それに対向する遮熱板33にはヒータ11の一端側を挟持してヒータ11の熱を温度ヒューズ35に伝熱させるための伝熱板36が遮熱板33の側面に取り付けられている。
図3に示すように、前記伝熱板36はその取付基部が遮熱板33の側面に形成された凹部内に溶接接合されているので、遮熱板33を洗濯水加熱槽10内に装着すると凹部の外面が洗濯水加熱槽10の側面に密着し、ヒータ11の温度を洗濯水加熱槽10の側面を介して温度ヒューズ35に効率よく伝熱させることができる。温度ヒューズ35はその温度検知面が洗濯水加熱槽10の外側面に密着するように温度ヒューズ取付金具39に取り付けられており、前記伝熱板36から洗濯水加熱槽10の側面を介して伝熱してきたヒータ11の温度を検知する。前記温度ヒューズ取付金具39には、左右一対の付勢片40と固定片41とが形成されており、洗濯水加熱槽10の側面から所定間隔を隔てて設けられているリブ37と洗濯水加熱槽10の外側面との間に前記付勢片40が嵌入するように押し入れると、付勢片40がリブ37に押されて温度ヒューズ取付金具39を洗濯水加熱槽10の外側面に押し付けるように付勢するので、温度ヒューズ取付金具39に取り付けられた温度ヒューズ35の温度検知面が洗濯水加熱槽10の外側面に密着する。この状態は固定片41を水槽3に設けられているボス38にネジ固定することにより維持される。
上記洗濯水の加熱構造は、洗濯水加熱槽10に洗濯水が満たされてヒータ11が水中に没した状態にしてヒータ11に通電する必要があり、ヒータ11が空気中の露出した状態で通電されると、異常温度上昇により空気中に露出した部分が変形して回転ドラム5に接触したり、樹脂によって形成された水槽3、特に洗濯水加熱槽10を熱変形させたりする状態になる。また、温度上昇が継続され過熱状態になると、樹脂製の水槽3に溶解を生じさせ、溶解した樹脂が発火する恐れもある。上記構成では洗濯水加熱槽10は水槽3の最下部に排水口22につながる略水平面を形成した凹部になっているので、洗濯中の水位変動によって洗濯水加熱槽10内から洗濯水がなくなることはなく、ヒータ11が空気中に露出して異常温度上昇することが防止できる。
また、故障や制御不良等によってヒータ11の温度が異常上昇した場合でも洗濯水加熱槽10の内周壁は遮熱板33で被覆されているため、高熱が洗濯水加熱槽10に輻射されて変形や溶解に至ることが防止される。また、ヒータ11の排水口22上に位置するヒータ保持金具34の保持部34aは排水口22をヒータ11から遮蔽しているので、ヒータ11の輻射熱が直接排水口22に及ばず、排水口22及びそれに接続された排水管路や排水弁などの樹脂部材に及ぼす影響が抑制される。また、ヒータ保持金具34の保持部34aの天面はヒータ11の上部を遮蔽しているので、ヒータ11からの輻射熱が鏡面仕上げされた回転ドラム5で反射して水槽3の遮熱板33で被覆されていない部位に熱影響を及ぼすことを抑制する効果もある。
上記遮熱板33によって遮熱できる温度以上にヒータ11の温度が上昇した場合には、その温度は伝熱板36から温度ヒューズ35に伝熱されるので、予め設定された温度ヒューズ35の作動温度にまでヒータ11が過熱すると、温度ヒューズ35は溶断してヒータ11への通電回路を遮断し、ヒータ11の異常過熱を停止させることができる。この温度ヒューズ35は洗濯水加熱槽10を含む水槽3が溶解したり発火するような状態に陥ることを未然に防ぐ最終手段であり、故障などによって最悪の状態になることが防止される。また、ヒータ保持金具34の保持部34aはヒータ11に密接し、ヒータ11の熱を保持金具取付部34bから遮熱板33に伝熱させるので、ヒータの熱は伝熱板36だけでなく遮熱板33からも温度ヒューズ35に伝熱され、温度ヒューズ35の作動をより確実に行わせることができる。
上記のように洗濯水を加熱する機能を設けた場合、加熱に伴って水槽3内には蒸気が発生する。水槽3は扉体8が閉じられることにより密閉状態となるため、蒸気発生によって水槽3内の内圧が上昇する。この水槽3内の気圧変化は好ましくなく、本構成のように水槽3内の気圧変化から給水水位を検知する機能の障害となる。水位検知は排水口22に連通するエアトラップ45内の空気が給水水量に応じて圧縮される状態をエアパイプ47によって水位センサ46に導き、水位センサ46が検出する空圧から給水水位を検知している。従って、水槽3内の気圧は大気圧に保つ必要があり、加熱に伴う蒸気発生により気圧が上昇したときには水槽3から圧力を排出することになる。本構成においては、水槽3の上方から洗剤投入部27に向けて排気パイプ48が接続されており、水槽3内で発生した蒸気は排気パイプ48から洗剤投入部27の洗剤収容室61を閉じる注水蓋体62に流れ、冷却により結露し、結露によって生じた水は給水パイプ7から水槽3に戻されるように構成されている。また、給水パイプ7にはトラップ7aが設けられているので、水槽3内の蒸気が給水パイプ7から洗剤投入部27に流れることが防止される。
上記構成になる水槽3は、図示しないサスペンション構造により洗濯機筐体2内に支持される。洗濯機筐体2は樹脂製の台枠25上に制振鋼板等により構築され、要所に補強部材、制振部材などを配すると共に台枠25を防振支持脚24で設置面上に支持し、洗濯や脱水時の振動が外部に伝導することを抑制している。また、洗濯機筐体2には、水道栓に接続する給水受口26や洗剤投入部27、図示しない操作・表示パネルなどが外部露出するように設けられている。
上記構成になるドラム式洗濯機1の運転動作について簡単に説明する。洗濯工程から脱水工程に至る一連の動作は、操作・表示パネルから指示入力を行うことにより図示しない制御構成により自動的に実行される。
扉体8を開いて回転ドラム5内に洗濯物を投入し、洗濯物の量に対応する量の洗剤を洗剤投入部27に投入し、操作・表示パネルから運転開始を入力すると、排水弁28は閉じられ、まず第1給水弁29が開かれ、給水された水はシャワーノズル31から回転ドラム5内に散水されて洗濯物に水を含ませ、洗剤が溶け込んだ洗濯水が染み込みやすい状態にする。引き続いて第2給水弁30が開かれ、給水された水は洗剤投入部27の注水蓋体62から洗剤収容室61に注水され、洗剤を混合した洗剤混合水は給水口9から水槽3内に給水される。前記給水口9は水槽3の上方背面寄りの位置に開口しており、水槽3が傾斜しているので、流入した洗剤混合水は水槽3の背面に沿うように流れ落ち、最下部位である洗濯水加熱槽10にその背面寄りから流入する。洗濯水加熱槽10は前述したように、その底面が略水平方向に形成され、前方側に開口する排水口22の開口位置に向かって若干の傾斜(2〜3度)が形成されているので、洗濯水加熱槽10に流入した洗剤混合水の中の洗剤は底面との摩擦抵抗により底面の後方側に残り、水だけが排水口22に流入し、排水弁28が閉じられていることから速やかに排水口22を満たす状態になり、洗剤は洗濯水加熱槽10の底に溜まった状態になる。水槽3内には洗濯物の量に対応する水位まで洗剤混合水が給水されるので、これをヒータ11によって所定温度に加熱すると、洗剤が水に溶け込みやすい状態になる。
次いで、ドラム駆動モータ4により回転ドラム5が回転駆動されると、水槽3内に生じる激しい水流により洗濯水加熱槽10内に渦流が発生して洗剤と水とが攪拌されるので、ヒータ11による加熱と相まって洗剤は水に充分に溶け込んだ洗濯水が得られる。洗濯水は透孔20を通して回転ドラム5内に入るので、水を含んだ洗濯物に効果的に浸透する。この洗濯物は回転ドラム5の回転により、その内周面に設けられた攪拌突起21により持ち上げられ、上方から洗濯水中に落下する叩き洗いの動作が繰り返されるので、洗濯物は攪拌されて効果的に洗濯動作がなされる。回転ドラム5の開口部及び水槽3の洗濯物出入口6は開口しているが、扉体8が閉じられたとき出入口枠体14に取り付けられたベローズ12が扉体8の内側に密着するので洗濯水が外部に飛散することはない。
洗濯工程が終了すると排水弁28が開かれて汚れた洗濯水は外部に排出されるので、引き続き回転ドラム5を高速回転させる脱水動作により洗濯物に含まれた洗濯水を透孔20から水槽3内に排出させて外部に排出する。この脱水動作の後、第1及び第2の各給水弁29,30を開いて水槽3内に給水し、回転ドラム5を回転させるすすぎ工程と脱水動作を所定回数繰り返すことにより、洗濯物に残存している洗濯水がすすぎ出されるので、最後に脱水工程を実行することによって洗濯された洗濯物は脱水された状態になって工程は終了するので、扉体8を開いて洗濯物を取り出すことができる。
上記構成のように回転ドラム5を傾斜配置すると、回転ドラム5に洗濯物を出し入れする動作が容易になることや、回転ドラム5内に給水された水が背面側に溜まって少ない水量でも深い貯水状態が得られる利点がある反面、回転ドラム5内に収容した洗濯物が最も低い位置となる底面側の下部に集まり、回転ドラム5を回転させると更に洗濯物を底面側に集めてしまう弊害が生じやすくなるが、本実施形態に係るドラム式洗濯機1においては、ドラム駆動モータ4による回転ドラム5の回転駆動を制御することにより洗濯物の位置が入れ替わるように構成され、更には攪拌突起21の形状により回転ドラム5の回転に伴って洗濯物が前後に入れ替わるようにしている。これらの構成により洗濯物の位置を入れ替えて全ての洗濯物に満遍なく洗浄力が与えられるようにしている。
以上の説明の通り本発明に係るドラム式洗濯機は、回転ドラム及び水槽を傾斜配置して回転ドラムに対して洗濯物を出し入れする作業を容易にした斜めドラム形式のドラム式洗濯機に洗濯水を所望温度に加熱する機能を設けた場合に、洗濯水加熱槽は水槽の最下部位から下方に向けた凹部で、その底面に排水口が開口することになるので、ヒータからの熱輻射が排水口に直接及ぶことになるが、ヒータ保持金具によってヒータと排水口との間が遮蔽されるので、高熱輻射が排水口に直接及ぶことが抑制され、排水口とそれに接続された排水管路や排水弁などに熱輻射による悪影響を及ぼすことがなく、使い勝手がよく洗濯性能のよいドラム式洗濯機を提供することができる。
1 ドラム式洗濯機
2 洗濯機筐体
3 水槽
5 回転ドラム
10 洗濯水加熱槽
11 ヒータ
22 排水口
33 遮熱板
34 ヒータ保持金具
35 温度ヒューズ
36 伝熱板

Claims (1)

  1. 回転駆動される有底円筒形の回転ドラムを有底円筒形に形成された水槽内に収容し、前記水槽の最下部位から下方に向けて底面が略水平方向となるように貯水空間を形成し、前記底面の最下部に排水口を開口させ、前記底面と略平行に配したヒータを保持するヒータ保持金具により前記排水口の上方に位置するヒータの一部を覆って前記ヒータの一部と前記排水口とを遮蔽した洗濯水加熱槽を形成してなる水槽ユニットが、洗濯機筐体の正面側から背面側に向けて回転ドラムの回転軸心が下向き傾斜となり、前記排水口が水槽内部の最下点となるように洗濯機筐体内に配設され、前記洗濯水加熱槽の内壁面を被覆する遮熱板が敷設されるとともに前記排水口は前記遮熱板で被覆しない構成としたドラム式洗濯機。
JP2005260102A 2005-09-08 2005-09-08 ドラム式洗濯機 Expired - Fee Related JP4641908B2 (ja)

Priority Applications (1)

Application Number Priority Date Filing Date Title
JP2005260102A JP4641908B2 (ja) 2005-09-08 2005-09-08 ドラム式洗濯機

Applications Claiming Priority (1)

Application Number Priority Date Filing Date Title
JP2005260102A JP4641908B2 (ja) 2005-09-08 2005-09-08 ドラム式洗濯機

Publications (2)

Publication Number Publication Date
JP2007068807A JP2007068807A (ja) 2007-03-22
JP4641908B2 true JP4641908B2 (ja) 2011-03-02

Family

ID=37930774

Family Applications (1)

Application Number Title Priority Date Filing Date
JP2005260102A Expired - Fee Related JP4641908B2 (ja) 2005-09-08 2005-09-08 ドラム式洗濯機

Country Status (1)

Country Link
JP (1) JP4641908B2 (ja)

Families Citing this family (5)

* Cited by examiner, † Cited by third party
Publication number Priority date Publication date Assignee Title
WO2009004021A1 (en) * 2007-07-02 2009-01-08 Arcelik Anonim Sirketi A washing machine
WO2015059824A1 (ja) * 2013-10-25 2015-04-30 ハイアールアジアインターナショナル株式会社 洗濯機
JP2015205109A (ja) * 2014-04-23 2015-11-19 日立アプライアンス株式会社 ドラム式洗濯機
JP6667221B2 (ja) * 2015-07-22 2020-03-18 東芝ライフスタイル株式会社 ドラム式洗濯機
JP6893488B2 (ja) * 2018-04-16 2021-06-23 日立グローバルライフソリューションズ株式会社 洗濯機

Family Cites Families (3)

* Cited by examiner, † Cited by third party
Publication number Priority date Publication date Assignee Title
JPH01101475U (ja) * 1987-12-26 1989-07-07
JP3774979B2 (ja) * 1997-03-27 2006-05-17 松下電器産業株式会社 ドラム式洗濯機
JP2004167064A (ja) * 2002-11-21 2004-06-17 Toshiba Corp 洗濯機

Also Published As

Publication number Publication date
JP2007068807A (ja) 2007-03-22

Similar Documents

Publication Publication Date Title
JP4634260B2 (ja) ドラム式洗濯機
EP1826310B1 (en) Steam generator and drum-type washing machine with the same
RU2311505C2 (ru) Стиральная машина и способ управления ею
RU2326194C2 (ru) Парообразующее устройство для стиральной машины (варианты)
JP5695103B2 (ja) 洗濯装置の制御方法
RU2471025C2 (ru) Стиральная машина с парогенератором (варианты)
CN100453728C (zh) 滚筒式洗衣机及其使用方法
JP2004298614A (ja) 蒸気噴射式ドラム洗濯機
JP4607718B2 (ja) ドラム式洗濯機
FR2930955A1 (fr) Partie de chauffage et machine de traitement de linge associee.
CN103492627B (zh) 滚筒式洗衣机
JP4641908B2 (ja) ドラム式洗濯機
JPH06254293A (ja) 全自動洗濯機
JP4641907B2 (ja) ドラム式洗濯機
JP3682051B2 (ja) 洗濯機
TWI327612B (ja)
JP7117508B2 (ja) 洗濯機
JP2007068806A (ja) ドラム式洗濯機
JP2005058779A (ja) 洗濯機
TWI753226B (zh) 洗衣機
WO2018096886A1 (ja) 洗濯機
JP7289045B2 (ja) 洗濯機
JP4551299B2 (ja) ドラム式洗濯機
KR20130134487A (ko) 세탁기
JP2007068802A (ja) 洗濯機

Legal Events

Date Code Title Description
A621 Written request for application examination

Free format text: JAPANESE INTERMEDIATE CODE: A621

Effective date: 20080415

RD02 Notification of acceptance of power of attorney

Free format text: JAPANESE INTERMEDIATE CODE: A7422

Effective date: 20090521

RD04 Notification of resignation of power of attorney

Free format text: JAPANESE INTERMEDIATE CODE: A7424

Effective date: 20091027

A977 Report on retrieval

Free format text: JAPANESE INTERMEDIATE CODE: A971007

Effective date: 20100816

A131 Notification of reasons for refusal

Free format text: JAPANESE INTERMEDIATE CODE: A131

Effective date: 20100907

A521 Request for written amendment filed

Free format text: JAPANESE INTERMEDIATE CODE: A523

Effective date: 20101105

TRDD Decision of grant or rejection written
A01 Written decision to grant a patent or to grant a registration (utility model)

Free format text: JAPANESE INTERMEDIATE CODE: A01

Effective date: 20101124

A01 Written decision to grant a patent or to grant a registration (utility model)

Free format text: JAPANESE INTERMEDIATE CODE: A01

A61 First payment of annual fees (during grant procedure)

Free format text: JAPANESE INTERMEDIATE CODE: A61

Effective date: 20101130

R150 Certificate of patent or registration of utility model

Free format text: JAPANESE INTERMEDIATE CODE: R150

FPAY Renewal fee payment (event date is renewal date of database)

Free format text: PAYMENT UNTIL: 20131210

Year of fee payment: 3

LAPS Cancellation because of no payment of annual fees