JP4635996B2 - 超音波センサ - Google Patents

超音波センサ Download PDF

Info

Publication number
JP4635996B2
JP4635996B2 JP2006260737A JP2006260737A JP4635996B2 JP 4635996 B2 JP4635996 B2 JP 4635996B2 JP 2006260737 A JP2006260737 A JP 2006260737A JP 2006260737 A JP2006260737 A JP 2006260737A JP 4635996 B2 JP4635996 B2 JP 4635996B2
Authority
JP
Japan
Prior art keywords
ultrasonic
vibration
ultrasonic sensor
acoustic matching
matching member
Prior art date
Legal status (The legal status is an assumption and is not a legal conclusion. Google has not performed a legal analysis and makes no representation as to the accuracy of the status listed.)
Expired - Fee Related
Application number
JP2006260737A
Other languages
English (en)
Other versions
JP2008085462A (ja
Inventor
真紀子 杉浦
和明 渡邊
泰行 奥田
Current Assignee (The listed assignees may be inaccurate. Google has not performed a legal analysis and makes no representation or warranty as to the accuracy of the list.)
Denso Corp
Original Assignee
Denso Corp
Priority date (The priority date is an assumption and is not a legal conclusion. Google has not performed a legal analysis and makes no representation as to the accuracy of the date listed.)
Filing date
Publication date
Application filed by Denso Corp filed Critical Denso Corp
Priority to JP2006260737A priority Critical patent/JP4635996B2/ja
Priority to US11/898,521 priority patent/US7612485B2/en
Priority to DE102007046031.9A priority patent/DE102007046031B4/de
Publication of JP2008085462A publication Critical patent/JP2008085462A/ja
Application granted granted Critical
Publication of JP4635996B2 publication Critical patent/JP4635996B2/ja
Expired - Fee Related legal-status Critical Current
Anticipated expiration legal-status Critical

Links

Images

Classifications

    • GPHYSICS
    • G10MUSICAL INSTRUMENTS; ACOUSTICS
    • G10KSOUND-PRODUCING DEVICES; METHODS OR DEVICES FOR PROTECTING AGAINST, OR FOR DAMPING, NOISE OR OTHER ACOUSTIC WAVES IN GENERAL; ACOUSTICS NOT OTHERWISE PROVIDED FOR
    • G10K11/00Methods or devices for transmitting, conducting or directing sound in general; Methods or devices for protecting against, or for damping, noise or other acoustic waves in general
    • G10K11/004Mounting transducers, e.g. provided with mechanical moving or orienting device
    • BPERFORMING OPERATIONS; TRANSPORTING
    • B06GENERATING OR TRANSMITTING MECHANICAL VIBRATIONS IN GENERAL
    • B06BMETHODS OR APPARATUS FOR GENERATING OR TRANSMITTING MECHANICAL VIBRATIONS OF INFRASONIC, SONIC, OR ULTRASONIC FREQUENCY, e.g. FOR PERFORMING MECHANICAL WORK IN GENERAL
    • B06B1/00Methods or apparatus for generating mechanical vibrations of infrasonic, sonic, or ultrasonic frequency
    • B06B1/02Methods or apparatus for generating mechanical vibrations of infrasonic, sonic, or ultrasonic frequency making use of electrical energy
    • B06B1/06Methods or apparatus for generating mechanical vibrations of infrasonic, sonic, or ultrasonic frequency making use of electrical energy operating with piezoelectric effect or with electrostriction
    • B06B1/0644Methods or apparatus for generating mechanical vibrations of infrasonic, sonic, or ultrasonic frequency making use of electrical energy operating with piezoelectric effect or with electrostriction using a single piezoelectric element
    • B06B1/0648Methods or apparatus for generating mechanical vibrations of infrasonic, sonic, or ultrasonic frequency making use of electrical energy operating with piezoelectric effect or with electrostriction using a single piezoelectric element of rectangular shape
    • GPHYSICS
    • G01MEASURING; TESTING
    • G01SRADIO DIRECTION-FINDING; RADIO NAVIGATION; DETERMINING DISTANCE OR VELOCITY BY USE OF RADIO WAVES; LOCATING OR PRESENCE-DETECTING BY USE OF THE REFLECTION OR RERADIATION OF RADIO WAVES; ANALOGOUS ARRANGEMENTS USING OTHER WAVES
    • G01S7/00Details of systems according to groups G01S13/00, G01S15/00, G01S17/00
    • G01S7/52Details of systems according to groups G01S13/00, G01S15/00, G01S17/00 of systems according to group G01S15/00
    • G01S7/521Constructional features

Landscapes

  • Engineering & Computer Science (AREA)
  • Physics & Mathematics (AREA)
  • Acoustics & Sound (AREA)
  • Multimedia (AREA)
  • Mechanical Engineering (AREA)
  • Computer Networks & Wireless Communication (AREA)
  • General Physics & Mathematics (AREA)
  • Radar, Positioning & Navigation (AREA)
  • Remote Sensing (AREA)
  • Transducers For Ultrasonic Waves (AREA)
  • Measurement Of Velocity Or Position Using Acoustic Or Ultrasonic Waves (AREA)

Description

この発明は、音響整合層に超音波振動子を装着した超音波センサに関する。
従来から、金属、樹脂材料等の基板に超音波振動子を接着した超音波センサとして、例えば、自動車(車両)に搭載されたものが知られている。この超音波センサは、超音波の送受信が可能な素子から超音波を送信して、被検出体に当たって反射された超音波をこの素子によって受信することにより、自動車の周囲にある物体の位置測定または距離測定や、当該物体の2次元形状または3次元形状の測定などを行う。
このような超音波センサには、音響インピーダンスを調整して、送受信する超音波の伝達効率を向上させる音響整合層を設けられているものがあり、例えば、圧電素子の片面に、合成樹脂にガラスバルーンを分散させた材料により形成された音響整合層が固定された超音波センサが知られている。(特許文献1)。
特開平10−224895号公報
ここで、この種の超音波センサは、外部から見える位置に取り付けられるため、美観を損ねることがないように、超音波センサを小型化する、つまり、外部に露出する音響整合層の面積を小さくすることが求められている。
音響整合層の面積を小さくするためには、音響整合層に装着する超音波検出素子を小型化する必要があるが、例えば、バルク状の圧電材料からなる圧電素子を超音波検出素子に用いた場合、音響整合層の振動で超音波検出素子の検出部が共振することにより、受信強度を増大させて検出感度を向上させる共振設計を行うことが困難である。つまり、音響整合層の小型化と超音波の検出感度の向上とを両立させることが困難であるという問題があった。
そこで、この発明では、音響整合層を小型化するとともに、超音波の検出感度を向上させることが可能な超音波センサを実現することを目的とする。
この発明は、上記目的を達成するため、請求項1に記載の発明では、超音波センサにおいて、超音波を送信する送信手段から送信され、被検出体にて反射された超音波が伝達して振動する振動部と、この振動部に超音波を伝達する伝達部とを有した超音波検出素子と、前記被検出体にて反射された超音波を受信する受信面が前記被検出体の存在する空間側に露出し、前記受信面と対向する面に、前記伝達部において前記超音波検出素子が取り付けられ、前記受信面で受信した超音波を前記伝達部に伝達するとともに、前記受信面で受信した超音波により内部に定在波が発生し、繰り返し変形が生じる音響整合部材とを備え、前記振動部は、前記音響整合部材の繰り返し変形により共振するように構成されている、という技術的手段を用いる。
請求項1に記載の発明によれば、超音波検出素子の振動部は、受信面で受信した超音波により発生する定在波によって音響整合部材に生じる繰り返し変形により共振するように構成されているため、音響整合部材の受信面の大きさによらず、振動部において伝達される振動の振幅を増大させることができるので、超音波の検出感度を向上させることができる。つまり、音響整合層を小型化するとともに、超音波の検出感度を向上させることが可能な超音波センサを実現することができる。
請求項2に記載の発明では、請求項1に記載の超音波センサにおいて、前記超音波検出素子は、基板を用いてMEMS(Micro Electro Mechanical System)技術により形成されており、前記振動部が前記基板の薄肉部として形成された、という技術的手段を用いる。
請求項2に記載の発明によれば、超音波検出素子は、基板を用いてMEMS(Micro Electro Mechanical System)技術により形成されており、振動部が基板の薄肉部として形成されているため、振動部の形状により、全体の寸法を変えることなく、振動部の共振周波数を所定の周波数に設定する共振設計が可能である。これにより、超音波センサを小型化することができるので、超音波センサを取り付ける音響整合部材も小型化することができる。
また、振動部が薄肉に形成されているため、振動部の変位を増大させることができるので、超音波の検出感度を向上させることができる。
請求項3に記載の発明では、請求項1または請求項2に記載の超音波センサにおいて、前記振動部は、圧電材料を用いて構成され、振動によって生じる歪みにより振動を検出する圧電式振動検出部である、という技術的手段を用いる。
請求項3に記載の発明によれば、振動部は、圧電材料を用いて構成され、振動により生じる歪みにより振動を検出する圧電式振動検出部であるため、共振により生じる振動部の変位を電圧信号に変換して超音波検出素子から出力される信号強度が強く、超音波の受信感度が高いので、超音波の検出感度を向上させることができる。
請求項4に記載の発明では、請求項1に記載の超音波センサにおいて、前記圧電材料は、チタン酸ジルコン酸鉛(PZT)系材料である、という技術的手段を用いる。
請求項4に記載の発明によれば、振動部に用いる圧電材料が、圧電定数の大きいチタン酸ジルコン酸鉛(PZT)系材料であるので、音圧が小さな超音波の受信をすることができ、超音波の検出感度を向上させることができる。
請求項5に記載の発明では、請求項1または請求項2に記載の超音波センサにおいて、前記振動部は、一対の電極を備え、この電極間の容量変化により振動を検出する容量式振動検出部である、という技術的手段を用いる。
請求項5に記載の発明によれば、振動部は、一対の電極を備え、この電極間の容量変化により振動を検出する容量式振動検出部であり、容量式振動検出部は共振周波数がブロードであるので、振動部に高い寸法精度が要求されず、容易に共振設計をすることができる。
請求項6に記載の発明では、請求項1ないし請求項5のいずれか1つに記載の超音波センサにおいて、前記伝達部材は、前記振動部の端部を持ち上げて支持する支持部材として形成された、という技術的手段を用いる。
請求項7に記載の発明では、請求項6に記載の超音波センサにおいて、前記振動部は、前記支持部材に片持ち支持されている、という技術的手段を用いる。
請求項6に記載の発明によれば、伝達部材は、振動部の端部を持ち上げて支持する支持部材として形成されているため、振動部の変形を拘束する部分が少なく、振動が伝達されると大きく変形するので、超音波の検出感度を向上させることができる。
請求項7に記載の発明によれば、振動部は、支持部材に片持ち支持されているため、更に、振動部の変形を拘束する部分を少なくすることができ、超音波の検出感度を向上させることができる。
請求項8に記載の発明では、請求項1ないし請求項7のいずれか1つに記載の超音波センサにおいて、前記超音波検出素子が、前記振動部が前記対向する面に対して略垂直になるように、前記音響整合部材に取り付けられた、という技術的手段を用いる。
請求項8に記載の発明によれば、超音波検出素子が、振動部が対向する面に対して略垂直になるように、音響整合部材に取り付けられているため、振動部が受信面に対向する面において片持ち支持された状態になり、音響整合部材の受信面に対向する面の面方向の振動に対して、振動部を変位しやすくすることができるので、超音波の検出感度を向上させることができる。
請求項9に記載の発明では、請求項3または請求項4に記載の超音波センサにおいて、前記振動部は、前記伝達部を兼ねて、前記対向する面に取り付けられており、前記振動部の前記対向する面と反対側の面に、前記振動部の変形を増幅する増幅部材が設けられている、という技術的手段を用いる。
請求項9に記載の発明によれば、振動部は、伝達部を兼ねて、対向する面に取り付けられており、振動部の対向する面と反対側の面に、振動部の変形を増幅する増幅部材が設けられているため、主に超音波の伝達方向への振動部の変形を増幅部材により増幅することができるので、超音波の検出感度を向上させることができる。
請求項10に記載の発明では、請求項1ないし請求項9のいずれか1つに記載の超音波センサにおいて、前記音響整合部材は、樹脂系材料により形成された、という技術的手段を用いる。
請求項10に記載の発明によれば、音響整合部材は、樹脂系材料により形成されているため、金属材料などに比べて、定在波を発生させるための厚さ(受信面と対向する面との間隔)が大きくなるので、外部からの異物の衝突などから超音波検出素子を保護する保護部材として有効に作用する。
請求項11に記載の発明では、請求項10に記載の超音波センサにおいて、前記樹脂系材料は、ポリカーボネート系樹脂である、という技術的手段を用いる。
請求項11に記載の発明によれば、音響整合部材は、弾性率の温度変化が小さいポリカーボネート系樹脂により形成されているため、温度変化に伴う超音波の波長の変化を小さくすることができるので、定在波を安定して発生させることができる。
請求項12に記載の発明では、請求項1ないし請求項11のいずれか1つに記載の超音波センサにおいて、車両のヘッドランプカバー、リアランプのカバー、ウインカのカバー、バックランプのカバー、ドアミラー、または、バンパに設けられている、という技術的手段を用いる。
請求項12に記載の発明によれば、超音波センサは、車両に搭載して用いることができ、用途に合わせて、各種部材に設けることができる。例えば、超音波センサを車両前方の障害物センサなどに適用する場合には、ヘッドランプカバー、または、バンパに設けることができる。超音波センサを車両側方の障害物センサとして用いる場合には、ウインカのカバー、または、ドアミラーに設けることができる。超音波センサを車両後方の障害物センサとして用いる場合には、リアランプのカバー、または、バックランプのカバーに設けることができる。
〈第1実施形態〉
この発明に係る超音波センサの第1実施形態について、図を参照して説明する。ここでは、超音波センサを車両に搭載して障害物センサとして使用する場合を例に説明する。
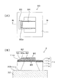
図1は、本実施形態の超音波センサの説明図である。図1(A)は、本実施形態の超音波センサの縦断面説明図であり、図1(B)は、図1(A)を音響整合部材側(X方向)から見た平面説明図である。図2は、超音波検出素子の説明図である。図2(A)は、超音波検出素子を図1(A)のY方向から見た平面説明図であり、図2(B)は、図2(A)のA−A矢視断面説明図である。図3は、音響整合部材の定在波による変形挙動を示す概念図である。図4は、本実施形態の超音波センサの車両への搭載位置の説明図である。
ここで、図1(A)の下方向及び図1(B)の手前側が車両の外部を示す。なお、各図では、説明のために一部を拡大し、一部を省略して示している。
(超音波センサの構造)
図1(A)及び(B)に示すように、超音波センサ1は、超音波発生素子から車両前方に送信され、車両前方に存在する被検出体(障害物)で反射された超音波を検出する超音波検出素子10と、超音波を受信し、振動を伝達する音響整合部材32とを備えている。
超音波検出素子10は、音響整合部材32の超音波を受信する受信面32aに対向する取付面32bの中央に、支持部材11aの底面11nにおいて、接着剤などにより取り付けられている。音響整合部材32は、車両60の所定の位置、本実施形態ではバンパ20(図4)に取り付けられている。
バンパ20には、音響整合部材32を挿通可能な大きさに貫通形成された取付部20aが設けられている。音響整合部材32は、受信面32a近傍の側面部32cにおいて、取付部20aとの間に超音波の伝達を防止する振動減衰部材33を介在させて、受信面32aをバンパ20の外部に露出させた状態で取付部20aに取り付けられる。
ここで、音響整合部材32の受信面32aは、振動減衰部材33及びバンパ20の外表面20bとの間に段差がなく、滑らかな平坦面を形成している。
超音波検出素子10は、図2(A)及び(B)に示すように、SOI(Silicon On Insulator)構造の四角形状の半導体基板11を用いて形成されている。半導体基板11は、シリコンからなる支持部材11aの上面11m上に、第1絶縁膜11b、シリコン活性層11c、第2絶縁膜11dがこの順番で積層されて形成されている。なお、基板としては、ガラス基板などを用いることもできる。
半導体基板11の中央部は、MEMS(Micro Electro Mechanical System)技術により、支持部材11a及び第1絶縁膜11bの中央部が四角形状に除去される。これにより、支持部材11aは中央部が四角形にくり抜かれた平板状に、残されたシリコン活性層11c及び第2絶縁膜11dは、四角形の薄膜状に形成されている。
第2絶縁膜11d上には、薄膜状に形成された部分を覆って、圧電式の振動検出部12が形成されている。振動検出部12は、例えば、チタン酸ジルコン酸鉛(PZT)からなる圧電体薄膜12aを下面電極13及び上面電極14で挟んで形成されている。
これにより、支持部材11aにより端部が持ち上げられた振動部15が形成される。支持部材11aは、振動部15に振動を伝達する伝達部として作用する。
ここで、振動部15は、圧電体薄膜12a、下面電極13及び上面電極14の形状や支持部材11aの間隔などを変更することにより、共振周波数を変更することができる。つまり、MEMS技術を利用して作製された超音波検出素子10では、全体の寸法を変えることなく、振動部15の共振周波数を所定の周波数に設定する共振設計が可能である。
振動部15は、後述する定在波の発生による音響整合部材32の繰り返し変形により共振する形状に共振設計されている。
この共振により生じる振動部15の変位を振動検出部12により電圧信号に変換して、超音波を検出する。
音響整合部材32は、空気より音響インピーダンスが大きい材料を用いて、横断面が略正方形の四角柱状に形成されている。
音響整合部材32は、空気との界面における超音波の反射を抑制して、入射する超音波を増大させるために、音響インピーダンスが小さい材料で形成されている。本実施形態では、音響整合部材32は、ポリカーボネート系樹脂などの耐久性に優れた樹脂材料により形成されている。ポリカーボネート系樹脂は弾性率の温度変化が小さいため、温度変化に伴う超音波の波長の変化を小さくすることができるので、後述する定在波を安定して発生させることができる。
また、バンパ20の外部から視認できない位置に超音波検出素子10が取り付けられているため、音響整合部材32は、異物や水分などから超音波検出素子10を保護する保護部材としても作用する。このとき、金属材料などに比べて、厚さTが大きくなるので、保護部材として有効に作用する。
音響整合部材32は、幅Wが超音波の空気中における波長の半分以下、厚さTが超音波の音響整合部材32中における波長の1/4となるように形成されている。例えば、超音波の周波数が65kHzの場合、幅Wが2.6mm、厚さTが5mm程度となる。
音響整合部材32の厚さTを超音波の波長の1/4となるように形成することにより、音響整合部材32内で定在波を発生させることができる。これにより、音響整合部材32内に入射した超音波と、音響整合部材32と超音波検出素子10との界面において反射された超音波とが干渉して互いに打ち消し合うことを低減することができるので、超音波検出素子10に効率よく超音波を伝達することができる。
なお、音響整合部材32として樹脂材料を例示しているが、音響インピーダンスの関係及び波長と寸法との関係とを満足すれば、例えば、アルミニウムのような金属材料や、セラミックス、ガラスなどを用いることができる。これらの材料は、樹脂材料同様に、耐候性などの耐環境性を備えており、好適に用いることができる。
音響整合部材32の形状は、横断面が略正方形の四角柱状に限らず、例えば、円柱でもよい。また、音響整合部材32の幅Wを超音波の波長の半分以下となるように形成することにより、複数の超音波センサ1をアレイ状に配置して用いる場合に、音響整合部材32の中央部の間隔が空気中を伝達する超音波の波長の1/2である検出精度が高い配置を行うことができる。超音波センサ1をアレイ化しない場合には、音響整合部材32の幅Wは超音波の空気中における波長の半分以下でなくてもよい。
音響整合部材32の側面部32cとバンパ20の取付部20aとの間には、音響整合部材32を側面部32cにおいて取付部20aに固定するとともに、バンパ20の取付部20aとの間の振動の伝達を防止する振動減衰部材33が介在している。
振動減衰部材33は、音響整合部材32の受信面32aとバンパ20の外表面との間に段差ができないように、音響整合部材32を取付部20aに固定する。振動減衰部材33は、接着剤などで音響整合部材32の側面部32c及び取付部20aに接着固定されている。
振動減衰部材33は、音響整合部材32より音響インピーダンスが小さく、減衰定数が高い材料、例えば、シリコンゴムにより形成されている。更に、音響整合部材32には、弾性率が低い材料及び密度が小さい材料が好適に用いられる。例えば、ゴム系材料、発泡樹脂などの気孔を含む樹脂、スポンジなどを用いることができる。
このような材料により形成された振動減衰部材33が、バンパ20と音響整合部材32との間に介在することにより、超音波がバンパ20から取付部20aを介して音響整合部材32の側面部32cに伝達されてノイズの原因となることを防止することができる。また、弾性率が低い材料では、超音波による音響整合部材32の振動を拘束する力が小さいため、超音波振動の減衰を小さくすることができる。
(超音波の伝達)
音響整合部材32の受信面32aにおいて超音波を受信すると、音響整合部材32は共振し、音響整合部材32の内部に定在波が発生する。
定在波が発生すると、音響整合部材32は厚さ方向に伸縮を繰り返して変形する。ここで、音響整合部材32が厚さ方向に伸長する場合には、図3(A)に示すように、幅方向に収縮し、取付面32bが外部に向かって凸状に変形する。この変形に従って超音波検出素子10の支持部材11aが幅方向に開くように変位するので、振動部15も外部に向かって凸状に変形する。
また、音響整合部材32が厚さ方向に収縮する場合には、図3(B)に示すように、幅方向に伸長し、取付面32bが外部に向かって凹状に変形する。この変形に従って超音波検出素子10の支持部材11aが幅方向に閉じるように変位するので、振動部15も外部に向かって凹状に変形する。
つまり、超音波検出素子10の振動部15は、音響整合部材32の定在波による繰り返し変形に従ってたわみ変形を繰り返す。そして、振動部15が振動することにより、超音波が超音波検出素子10により検出され、電圧信号に変換される。
振動部15は、音響整合部材32の繰り返し変形の周波数、即ち、定在波の周波数で共振するように形成されているので、たわみ変形量が大きくなる。これにより、超音波検出素子10から出力される信号強度を増大させることができるので、超音波の検出感度を向上させることができる。
超音波検出素子10と電気的に接続された回路素子(図示せず)は、ECUに電気的に接続されており、超音波検出素子10から出力される電圧信号に基づいて演算処理を行う。例えば、送信した超音波と受信した超音波との時間差や位相差を求めることにより、障害物の検出や車両と障害物との距離測定などを行うことができる。
音響整合部材32及び振動減衰部材33の材料の選択や塗装によりバンパ20と色調を揃えることにより、超音波センサ1の存在を目立たなくすることができる。従って、意匠性に優れた超音波センサ1を作製することができ、バンパ20の美観を保つことができる。
超音波センサ1は、バンパ20以外の車両の部材に取り付けて使用することができる。例えば、図4に示すように、ヘッドランプカバー21に取り付けることができる。この構成を用いると、障害物などで反射した超音波が車両の一部に遮られることがないので、確実に超音波センサ1で検出することができ、障害物センサなどに超音波センサ1を適用する場合に有効である。
更に、超音波センサ1の用途に合わせて、他の部材に取り付けることもできる。例えば、超音波センサ1を車両側方の障害物センサとして用いる場合には、ウインカのカバー22、ドアミラー23などに取り付けることもできる。車両後方の障害物センサとして用いる場合には、リアランプのカバー24、バックランプのカバー25などに取り付けることもできる。
本実施形態では、支持部材11aは中央部が四角形にくり抜かれた平板状に、残されたシリコン活性層11c及び第2絶縁膜11dは、四角形の薄膜状に形成されているが、支持部材11a及び第1絶縁膜11bの中央部を四角形状に除去せずに、平板状のまま用いることもできる。
超音波センサ1は、車両60以外にも、例えば、室内で使用するロボットなどに搭載することもできる。
〈第1実施形態の効果〉
(1)超音波検出素子10の振動部15は、音響整合部材32の受信面32aで受信した超音波により発生する定在波によって音響整合部材32に生じる繰り返し変形により共振するように構成されているため、音響整合部材32の受信面32aの大きさによらず、振動部15において伝達される振動の振幅を増大させることができるので、超音波の検出感度を向上させることができる。つまり、音響整合部材32を小型化するとともに、超音波の検出感度を向上させることが可能な超音波センサ1を実現することができる。
(2)超音波検出素子10は、半導体基板11を用いてMEMS技術により形成されており、振動部15が半導体基板11の薄肉部として形成されているため、振動部15の形状により、全体の寸法を変えることなく、振動部15の共振周波数を所定の周波数に設定する共振設計が可能である。これにより、超音波センサ1を小型化することができるので、超音波センサ1を取り付ける音響整合部材32も小型化することができる。
また、振動部15が薄肉に形成されているため、振動部15の変位を増大させることができるので、超音波の検出感度を向上させることができる。
(3)振動検出部12は、圧電定数の大きいチタン酸ジルコン酸鉛(PZT)系材料を用いて構成され、振動により生じる歪みにより振動を検出する圧電式振動検出部であるため、共振により生じる振動部15の変位を電圧信号に変換して超音波検出素子10から出力される信号強度が強く、超音波の受信感度が高いので、超音波の検出感度を向上させることができる。
(4)音響整合部材32は、樹脂系材料により形成されているため、金属材料などに比べて、定在波を発生させるための厚さTが大きくなるので、外部からの異物の衝突などから超音波検出素子10を保護する保護部材として有効に作用する。特に、音響整合部材32を弾性率の温度変化が小さいポリカーボネート系樹脂により形成した場合、温度変化に伴う超音波の波長の変化を小さくすることができるので、定在波を安定して発生させることができる。
(5)本実施形態の超音波センサ1は、車両60に搭載して用いることができ、用途に合わせて、各種部材に設けることができる。例えば、超音波センサを車両前方の障害物センサなどに適用する場合には、ヘッドランプカバー21、または、バンパ20に設けることができる。超音波センサ1を車両側方の障害物センサとして用いる場合には、ウインカのカバー22、または、ドアミラー23に設けることができる。超音波センサを車両後方の障害物センサとして用いる場合には、リアランプのカバー24、または、バックランプのカバー25に設けることができる。
〈第2実施形態〉
この発明に係る超音波センサの第2実施形態について、図を参照して説明する。図5は、第2実施形態に係る超音波センサの一部拡大図である。図5(A)は、超音波センサを車両内側から見た平面説明図であり、図5(B)は、図5(A)のB−B矢視断面図である。図6は、第2実施形態に係る超音波センサの変更例の説明図である。
なお、第1実施形態と同様の構成については、同じ符号を使用するとともに説明を省略する。
第2実施形態に係る超音波センサ2では、超音波検出素子として、振動部が支持部材に片持ち支持された超音波検出素子80を採用する。
図5(A)及び(B)に示すように、超音波検出素子80の振動部85は、シリコン活性層11c、第2絶縁膜11d、圧電体薄膜82aを下面電極83及び上面電極84で挟んで形成されている圧電式の振動検出部82がこの順番で積層されて形成されており、支持部材11aにより片持ち支持されている。
この構成を使用すると、振動部85の両端を支持されている場合に比べて、振動部85の変形を拘束する部分が少ないため、振動部85の変形を大きくすることができるので、超音波の検出感度を向上させることができる。
また、振動部85の一部を除去して剛性を低下させることにより、変位を発生しやすくする構成を用いることができる。
例えば、図6に示すように、振動部85の中央部の幅を狭くした連結部82bを形成し、ダンベル状としてもよい。
この構成を用いると、連結部82bの端部82c、82d近傍、特に片持ち支持側の端部82c近傍に、振動による応力を集中させて発生させることができるため、振動部85の変位を大きくすることができるので、超音波の検出感度を向上させることができる。
また、応力が集中し、変位が大きくなる部位、例えば、連結部82bの端部82c、82d近傍にのみ圧電体薄膜82aを形成してもよい。
この構成を用いると、振動部85の全面に圧電体薄膜82aが形成されている場合に比べて、圧電体薄膜82aの変形が小さい部分を少なくすることができるため、出力の変化を大きくすることができるので、超音波の検出感度を向上させることができる。
なお、振動部の一部を除去して変位を発生しやすくする構成は、第1実施形態の超音波検出素子10の振動部15にも適用することができる。
〈第2実施形態の効果〉
第2実施形態に係る超音波センサ2では、第1実施形態の効果を奏することができるとともに、振動部85が、支持部材11aに片持ち支持されているため、振動部85の両端を支持されている場合に比べて、振動部85の変形を拘束する部分が少なく、振動部85の変形を大きくすることができるので、超音波の検出感度を向上させることができる。
〈第3実施形態〉
この発明に係る超音波センサの第3実施形態について、図を参照して説明する。図7は、第3実施形態に係る超音波センサの一部拡大図である。
なお、第1実施形態と同様の構成については、同じ符号を使用するとともに説明を省略する。
第3実施形態に係る超音波センサ3では、超音波検出素子として、電極間の容量変化により超音波を検出する容量式の振動検出部41を備えた超音波検出素子40を採用する。
図7(A)及び(B)に示すように、容量式の振動検出部41は、第1絶縁膜11b上に形成された第1電極16と、第1電極16に対向して所定のギャップをなすように形成された第2電極17とにより構成されている。ここで、本実施形態では、支持部材11a及び第1絶縁膜11bの中央部は四角形状に除去されず、平板状である。
第1電極16は、音響整合部材32の繰り返し振動により共振するように、厚さ、幅などの形状が形成されている。また、第1電極16には、振動による空気のダンピングの影響を避けるため、貫通形成された孔部16aが形成されている。
音響整合部材32が超音波を受信して、定在波が発生し振動すると、振動検出部41が振動する。ここで、第1電極16のみが共振するように構成されているため、第1電極16と第2電極17との間のギャップが変化して、各電極によって形成されるコンデンサの容量が変化する。この容量変化により、超音波を検出することができる。
ここで、容量式の振動検出部41は、共振周波数がブロードであるため、共振設計を行うために振動検出部41に高い寸法精度が要求されず、容易に共振設計をすることができる。
なお、超音波検出素子40では、支持部材11a及び第1絶縁膜11bの中央部を四角形状に除去した形状を採用することもできる。
〈第3実施形態の効果〉
(1)本実施形態に係る超音波センサ3の振動部は、一対の電極である第1電極16と第2電極17とを備え、この電極間の容量変化により振動を検出する容量式の振動検出部41であり、共振周波数がブロードであるので、高い寸法精度が要求されず、容易に共振設計をすることができる。
〈その他の実施形態〉
(1)超音波検出素子10を、振動部15が取付面32bに対して略垂直になるように、音響整合部材32に取り付けた構成を用いてもよい。例えば、図8に示すように、超音波検出素子10を、支持部材11aの側面部11pにおいて音響整合部材32の取付面32bに取り付ける。この構成を用いると、振動部15が取付面32bにおいて片持ち支持された状態になり、音響整合部材32の幅方向の振動に対して、振動部15を変位しやすくすることができるので、超音波の検出感度を向上させることができる。
ここで、他の実施形態の超音波検出素子についても、同様の構成を採用することができる。
(2)図9に示すように、振動部15を、音響整合部材32から振動を伝達する部材を兼ねて取付面32bに直接取り付け、振動部15の反対側の面に、振動部15の変形を増幅する増幅部材90を設ける構成を用いることができる。この構成を用いると、主に音響整合部材32の厚さ方向(超音波の伝達方向)への振動部15の変形を増幅部材90により増幅することができるので、超音波の検出感度を向上させることができる。増幅部材90としては半導体基板11やガラス基板などを用いることができる。
(3)各実施形態では、超音波を受信可能な超音波検出素子について示したが、超音波検出素子は、超音波を送信可能な素子を用いてもよい。この構成を用いると、音響整合部材32による送信する超音波の音圧を増大させることができる。
[各請求項と実施形態との対応関係]
支持部材11aが請求項1に記載の伝達部に、取付面32bが対向する面にそれぞれ対応する。
本実施形態の超音波センサの説明図である。図1(A)は、本実施形態の超音波センサの縦断面説明図であり、図1(B)は、図1(A)を音響整合部材側(X方向)から見た平面説明図である。 超音波検出素子の説明図である。図2(A)は、超音波検出素子を図1(A)のY方向から見た平面説明図であり、図2(B)は、図2(A)のA−A矢視断面説明図である。 音響整合部材の定在波による変形挙動を示す概念図である。 本実施形態の超音波センサの車両への搭載位置の説明図である。 第2実施形態に係る超音波センサの一部拡大図である。図5(A)は、超音波センサを車両内側から見た平面説明図であり、図5(B)は、図5(A)のB−B矢視断面図である。 第2実施形態に係る超音波センサの変更例の説明図である。 第3実施形態に係る超音波センサの一部拡大図である。 超音波検出素子の音響整合部材への取付方法の変更例を示す説明図である。 超音波検出素子の変更例の説明図である。
符号の説明
1、2、3 超音波センサ
10、40、80 超音波検出素子
11a 支持部材(伝達部)
12 振動検出部(圧電式振動検出部)
15 振動部
20 バンパ
20a 取付部
21 ヘッドランプカバー
22 ウインカのカバー
23 ドアミラー
24 リアランプのカバー
25 バックランプのカバー
32 音響整合部材
32a 受信面
32b 取付面(対向する面)
41 振動検出部(容量式振動検出部)
60 車両
90 増幅部材

Claims (12)

  1. 超音波を送信する送信手段から送信され、被検出体にて反射された超音波が伝達して振動する振動部と、この振動部に超音波を伝達する伝達部とを有した超音波検出素子と、
    前記被検出体にて反射された超音波を受信する受信面が前記被検出体の存在する空間側に露出し、前記受信面と対向する面に、前記伝達部において前記超音波検出素子が取り付けられ、前記受信面で受信した超音波を前記伝達部に伝達するとともに、前記受信面で受信した超音波により内部に定在波が発生し、繰り返し変形が生じる音響整合部材とを備え、
    前記振動部は、前記音響整合部材の繰り返し変形により共振するように構成されていることを特徴とする超音波センサ。
  2. 前記超音波検出素子は、基板を用いてMEMS(Micro Electro Mechanical System)技術により形成されており、前記振動部が前記基板の薄肉部として形成されたことを特徴とする請求項1に記載の超音波センサ。
  3. 前記振動部は、圧電材料を用いて構成され、振動によって生じる歪みにより振動を検出する圧電式振動検出部であることを特徴とする請求項1または請求項2に記載の超音波センサ。
  4. 前記圧電材料は、チタン酸ジルコン酸鉛(PZT)系材料であることを特徴とする請求項3に記載の超音波センサ。
  5. 前記振動部は、一対の電極を備え、この電極間の容量変化により振動を検出する容量式振動検出部であることを特徴とする請求項1または請求項2に記載の超音波センサ。
  6. 前記伝達部材は、前記振動部の端部を持ち上げて支持する支持部材として形成されたことを特徴とする請求項1ないし請求項5のいずれか1つに記載の超音波センサ。
  7. 前記振動部は、前記支持部材に片持ち支持されていることを特徴とする請求項6に記載の超音波センサ。
  8. 前記超音波検出素子が、前記振動部が前記対向する面に対して略垂直になるように、前記音響整合部材に取り付けられたことを特徴とする請求項1ないし請求項7のいずれか1つに記載の超音波センサ。
  9. 前記振動部は、前記伝達部を兼ねて、前記対向する面に取り付けられており、前記振動部の前記対向する面と反対側の面に、前記振動部の変形を増幅する増幅部材が設けられていることを特徴とする請求項3または請求項4に記載の超音波センサ。
  10. 前記音響整合部材は、樹脂系材料により形成されたことを特徴とする請求項1ないし請求項9のいずれか1つに記載の超音波センサ。
  11. 前記樹脂系材料は、ポリカーボネート系樹脂であることを特徴とする請求項10に記載の超音波センサ。
  12. 車両のヘッドランプカバー、リアランプのカバー、ウインカのカバー、バックランプのカバー、ドアミラー、または、バンパに設けられていることを特徴とする請求項1ないし請求項11のいずれか1つに記載の超音波センサ。
JP2006260737A 2006-09-26 2006-09-26 超音波センサ Expired - Fee Related JP4635996B2 (ja)

Priority Applications (3)

Application Number Priority Date Filing Date Title
JP2006260737A JP4635996B2 (ja) 2006-09-26 2006-09-26 超音波センサ
US11/898,521 US7612485B2 (en) 2006-09-26 2007-09-13 Ultrasonic sensor
DE102007046031.9A DE102007046031B4 (de) 2006-09-26 2007-09-26 Ultraschallsensor

Applications Claiming Priority (1)

Application Number Priority Date Filing Date Title
JP2006260737A JP4635996B2 (ja) 2006-09-26 2006-09-26 超音波センサ

Publications (2)

Publication Number Publication Date
JP2008085462A JP2008085462A (ja) 2008-04-10
JP4635996B2 true JP4635996B2 (ja) 2011-02-23

Family

ID=39134703

Family Applications (1)

Application Number Title Priority Date Filing Date
JP2006260737A Expired - Fee Related JP4635996B2 (ja) 2006-09-26 2006-09-26 超音波センサ

Country Status (3)

Country Link
US (1) US7612485B2 (ja)
JP (1) JP4635996B2 (ja)
DE (1) DE102007046031B4 (ja)

Families Citing this family (26)

* Cited by examiner, † Cited by third party
Publication number Priority date Publication date Assignee Title
US8132462B2 (en) * 2005-09-05 2012-03-13 Hitachi Medical Corporation Ultrasonographic device
US7775110B2 (en) * 2006-09-22 2010-08-17 Denso Corporation Ultrasonic sensor
JP4835366B2 (ja) * 2006-10-04 2011-12-14 株式会社デンソー 超音波センサ
JP2008099102A (ja) * 2006-10-13 2008-04-24 Denso Corp 超音波センサ
JP4412367B2 (ja) * 2007-08-21 2010-02-10 株式会社デンソー 超音波センサ
FI20075879A0 (fi) * 2007-12-05 2007-12-05 Valtion Teknillinen Laite paineen, äänenpaineen vaihtelun, magneettikentän, kiihtyvyyden, tärinän ja kaasun koostumuksen mittaamiseksi
US8850893B2 (en) 2007-12-05 2014-10-07 Valtion Teknillinen Tutkimuskeskus Device for measuring pressure, variation in acoustic pressure, a magnetic field, acceleration, vibration, or the composition of a gas
JP5460738B2 (ja) * 2010-01-21 2014-04-02 三菱電機株式会社 超音波センサおよび超音波センサの取り付け方法
CN102884814A (zh) * 2010-02-26 2013-01-16 株式会社意捷莫斯尔 超声波传感器机组及超声波探测器
US9543618B2 (en) 2010-09-02 2017-01-10 Nec Corporation Secondary battery
DE102013211606A1 (de) 2013-06-20 2014-12-24 Robert Bosch Gmbh Umfeldsensiereinrichtung mit Ultraschallwandler, und Kraftfahrzeug mit einer derartigen Umfeldsensiereinrichtung
DE102013211619A1 (de) 2013-06-20 2014-12-24 Robert Bosch Gmbh Umfeldsensiereinrichtung mit Ultraschallwandler, und Kraftfahrzeug mit einer derartigen Umfeldsensiereinrichtung
DE102013211593A1 (de) * 2013-06-20 2014-12-24 Robert Bosch Gmbh Umfeldsensiereinrichtung mit modularem Ultraschallwandler, und Kraftfahrzeug mit einer derartigen Umfeldsensiereinrichtung
DE102013211846A1 (de) * 2013-06-21 2014-12-24 Robert Bosch Gmbh Verfahren zum Betrieb eines Umfelderfassungssystems eines Fahrzeugs
DE102014110178A1 (de) 2014-07-18 2016-01-21 Valeo Schalter Und Sensoren Gmbh Ultraschallsensorvorrichtung für ein Kraftfahrzeug, Fahrerassistenzsystem sowie Kraftfahrzeug
FI125492B (en) 2014-08-15 2015-10-30 Teknologian Tutkimuskeskus Vtt Oy pressure sensor
JP6422792B2 (ja) * 2015-02-06 2018-11-14 株式会社ダイセル 超音波の送受信素子
JP6683483B2 (ja) * 2015-02-06 2020-04-22 株式会社ダイセル 超音波の送受信素子
WO2016125702A1 (ja) * 2015-02-06 2016-08-11 株式会社ダイセル 超音波の送受信素子
EP3471438B1 (en) * 2016-06-09 2023-09-27 Panasonic Intellectual Property Management Co., Ltd. Laminate, ultrasonic transducer, and ultrasonic flowmeter
CN106766700A (zh) * 2016-12-04 2017-05-31 吴申龙 一种利用光热和超声干燥木材用的温室
WO2018201252A1 (en) * 2017-05-03 2018-11-08 Soltare Inc. Audio processing for vehicle sensory systems
RU2677789C1 (ru) * 2018-01-16 2019-01-21 Екатерина Вячеславовна Терентьева Амортизирующий фиксатор для датчика ультразвукового сканера
CN116636031A (zh) * 2020-12-24 2023-08-22 松下知识产权经营株式会社 非水电解质二次电池
CN113042345A (zh) 2021-03-09 2021-06-29 京东方科技集团股份有限公司 一种声波换能单元及其制作方法、声波换能器
CN115303188B (zh) * 2022-08-18 2025-07-08 广东奥迪威传感科技股份有限公司 超声波传感器及车辆

Family Cites Families (11)

* Cited by examiner, † Cited by third party
Publication number Priority date Publication date Assignee Title
US4742499A (en) * 1986-06-13 1988-05-03 Image Acoustics, Inc. Flextensional transducer
US5742561A (en) * 1990-05-10 1998-04-21 Northrop Grumman Corporation Transversely driven piston transducer
EP0766071B1 (de) * 1995-09-28 2002-04-10 Endress + Hauser Gmbh + Co. Ultraschallwandler
JPH10224895A (ja) 1997-02-04 1998-08-21 Murata Mfg Co Ltd 超音波センサ
US6465936B1 (en) * 1998-02-19 2002-10-15 Qortek, Inc. Flextensional transducer assembly and method for its manufacture
JP2000228796A (ja) * 1999-02-05 2000-08-15 Ricoh Microelectronics Co Ltd 超音波装置及び液面測定装置
JP4432245B2 (ja) * 2000-06-02 2010-03-17 パナソニック電工株式会社 超音波振動子
JP2003284182A (ja) 2002-03-25 2003-10-03 Osaka Industrial Promotion Organization 超音波センサ素子と超音波アレイセンサ装置とそれらの共振周波数の調整方法
US6654316B1 (en) * 2002-05-03 2003-11-25 John L. Butler Single-sided electro-mechanical transduction apparatus
DE10344741A1 (de) * 2003-09-25 2005-04-14 Endress + Hauser Gmbh + Co. Kg Schall- oder Ultraschallwandler
JP4645436B2 (ja) 2005-12-22 2011-03-09 株式会社デンソー 超音波センサ

Also Published As

Publication number Publication date
DE102007046031B4 (de) 2014-01-16
JP2008085462A (ja) 2008-04-10
DE102007046031A1 (de) 2008-04-03
US7612485B2 (en) 2009-11-03
US20080073998A1 (en) 2008-03-27

Similar Documents

Publication Publication Date Title
JP4635996B2 (ja) 超音波センサ
JP4645436B2 (ja) 超音波センサ
JP4715236B2 (ja) 超音波センサ装置
US7726192B2 (en) Ultrasonic sensor
US7613073B2 (en) Ultrasonic sensor
JP2007147319A (ja) 障害物検知装置
JP2007024770A (ja) 障害物検出装置
JP4702255B2 (ja) 超音波センサ
US20230011826A1 (en) Ultrasound transducer with distributed cantilevers
JP4618165B2 (ja) 超音波センサ
KR100789764B1 (ko) 초음파 송수파기
CN105324186A (zh) 电声转换器
JP4609326B2 (ja) 超音波センサ
US11899143B2 (en) Ultrasound sensor array for parking assist systems
US12256642B2 (en) Ultrasound transducer with distributed cantilevers
JP2007255924A (ja) 超音波センサの保護部材
US20230008879A1 (en) Ultrasound transducer including a combination of a bending and piston mode
KR20230104265A (ko) 자동차용 초음파 센서 조립체 및 자동차
JP2019135809A (ja) 超音波トランスデューサ
JP7647524B2 (ja) 超音波センサおよび物体検知装置
JP4768684B2 (ja) 超音波センサ
JP2008099049A (ja) 超音波センサ
KR20130052860A (ko) 차량용 센서 조립체
CN105636711A (zh) 超声波转换装置和具有超声波转换装置的机动车

Legal Events

Date Code Title Description
RD04 Notification of resignation of power of attorney

Free format text: JAPANESE INTERMEDIATE CODE: A7424

Effective date: 20080608

A621 Written request for application examination

Free format text: JAPANESE INTERMEDIATE CODE: A621

Effective date: 20081204

A977 Report on retrieval

Free format text: JAPANESE INTERMEDIATE CODE: A971007

Effective date: 20101019

TRDD Decision of grant or rejection written
A01 Written decision to grant a patent or to grant a registration (utility model)

Free format text: JAPANESE INTERMEDIATE CODE: A01

Effective date: 20101026

A01 Written decision to grant a patent or to grant a registration (utility model)

Free format text: JAPANESE INTERMEDIATE CODE: A01

A61 First payment of annual fees (during grant procedure)

Free format text: JAPANESE INTERMEDIATE CODE: A61

Effective date: 20101108

FPAY Renewal fee payment (event date is renewal date of database)

Free format text: PAYMENT UNTIL: 20131203

Year of fee payment: 3

R151 Written notification of patent or utility model registration

Ref document number: 4635996

Country of ref document: JP

Free format text: JAPANESE INTERMEDIATE CODE: R151

FPAY Renewal fee payment (event date is renewal date of database)

Free format text: PAYMENT UNTIL: 20131203

Year of fee payment: 3

R250 Receipt of annual fees

Free format text: JAPANESE INTERMEDIATE CODE: R250

R250 Receipt of annual fees

Free format text: JAPANESE INTERMEDIATE CODE: R250

R250 Receipt of annual fees

Free format text: JAPANESE INTERMEDIATE CODE: R250

R250 Receipt of annual fees

Free format text: JAPANESE INTERMEDIATE CODE: R250

R250 Receipt of annual fees

Free format text: JAPANESE INTERMEDIATE CODE: R250

LAPS Cancellation because of no payment of annual fees