JP4635659B2 - 質問応答システム、およびデータ検索方法、並びにコンピュータ・プログラム - Google Patents

質問応答システム、およびデータ検索方法、並びにコンピュータ・プログラム Download PDF

Info

Publication number
JP4635659B2
JP4635659B2 JP2005070541A JP2005070541A JP4635659B2 JP 4635659 B2 JP4635659 B2 JP 4635659B2 JP 2005070541 A JP2005070541 A JP 2005070541A JP 2005070541 A JP2005070541 A JP 2005070541A JP 4635659 B2 JP4635659 B2 JP 4635659B2
Authority
JP
Japan
Prior art keywords
question
answer
partial
input
semantic analysis
Prior art date
Legal status (The legal status is an assumption and is not a legal conclusion. Google has not performed a legal analysis and makes no representation as to the accuracy of the status listed.)
Expired - Fee Related
Application number
JP2005070541A
Other languages
English (en)
Other versions
JP2006252381A (ja
Inventor
博 増市
智子 大熊
宏樹 吉村
大悟 杉原
Current Assignee (The listed assignees may be inaccurate. Google has not performed a legal analysis and makes no representation or warranty as to the accuracy of the list.)
Fujifilm Business Innovation Corp
Original Assignee
Fuji Xerox Co Ltd
Fujifilm Business Innovation Corp
Priority date (The priority date is an assumption and is not a legal conclusion. Google has not performed a legal analysis and makes no representation as to the accuracy of the date listed.)
Filing date
Publication date
Application filed by Fuji Xerox Co Ltd, Fujifilm Business Innovation Corp filed Critical Fuji Xerox Co Ltd
Priority to JP2005070541A priority Critical patent/JP4635659B2/ja
Priority to US11/231,845 priority patent/US7844598B2/en
Publication of JP2006252381A publication Critical patent/JP2006252381A/ja
Application granted granted Critical
Publication of JP4635659B2 publication Critical patent/JP4635659B2/ja
Anticipated expiration legal-status Critical
Expired - Fee Related legal-status Critical Current

Links

Images

Classifications

    • GPHYSICS
    • G09EDUCATION; CRYPTOGRAPHY; DISPLAY; ADVERTISING; SEALS
    • G09BEDUCATIONAL OR DEMONSTRATION APPLIANCES; APPLIANCES FOR TEACHING, OR COMMUNICATING WITH, THE BLIND, DEAF OR MUTE; MODELS; PLANETARIA; GLOBES; MAPS; DIAGRAMS
    • G09B7/00Electrically-operated teaching apparatus or devices working with questions and answers
    • G09B7/02Electrically-operated teaching apparatus or devices working with questions and answers of the type wherein the student is expected to construct an answer to the question which is presented or wherein the machine gives an answer to the question presented by a student

Landscapes

  • Engineering & Computer Science (AREA)
  • Theoretical Computer Science (AREA)
  • Business, Economics & Management (AREA)
  • Physics & Mathematics (AREA)
  • Educational Administration (AREA)
  • Educational Technology (AREA)
  • General Physics & Mathematics (AREA)
  • Machine Translation (AREA)
  • Information Retrieval, Db Structures And Fs Structures Therefor (AREA)

Description

本発明は、質問応答システム、およびデータ検索方法、並びにコンピュータ・プログラムに関する。さらに詳細には、質問文を入力して、質問に対応する回答を提供するシステムにおいて、質問文を複数の部分質問に分割し、部分質問に基づく回答候補の検索を行い、得られた回答候補から最終的な回答を選択する処理を行なうことで的確な回答を提供可能とした質問応答システム、およびデータ検索方法、並びにコンピュータ・プログラムに関する。
昨今、インターネットなどを介したネットワーク通信が盛んになり、様々なサービスがネットワークを介して行なわれている。ネットワークを介したサービスの1つとして検索サービスがある。検索サービスは、例えばネットワーク接続されたパーソナルコンピュータ、携帯端末などのユーザ端末からの検索要求を検索サーバが受信し、検索サーバにおいて、検索要求に応じた処理を実行して処理結果をユーザ端末に送信するサービスである。
例えば、インターネットを介した検索処理を実行する場合、検索サービスを提供しているWebサイトにアクセスし、Webサイトの提示メニューに従って、キーワード、カテゴリなどの検索条件を入力しサーバに送信する。サーバは、これらの検索条件に従って、処理を実行し、処理結果をユーザ端末に表示する。
データ検索処理には様々な態様がある。例えば、ユーザがキーワードを入力し、入力したキーワードを含む文書の一覧情報をユーザに提示するキーワードベースの検索方式や、ユーザが質問文を入力して質問に対する回答を提供するいわゆる質問応答システムなどがある。質問応答システムは、ユーザがキーワードを選択する必要がなく、また、質問に対する回答のみを受領することができるシステムであり利用が広まっている。
例えば特許文献1は、典型的な質問応答システムについて開示している。特許文献1は、質問文から検索語集合と質問種別を判定し、判定された検索語集合と質問種別に従って、文書集合格納装置に格納された文書集合から関連文書集合を検索して、関連文書から質問文に対する回答を抽出し、抽出した回答と回答を抽出した文書情報を質問文に対する応答結果として提供する構成を開示している。
一般的な質問応答システムでは、ユーザから提供される質問文を入力として、ヒットした文書全体を出力するのではなく、質問に対応する回答を出力する。回答を得るための知識源としてはWeb情報を用いることが多い。しかし、現状において質問応答システムが十分な回答精度を有しているとは言い難く、普及の度合いも一般の検索システムと比べて遅れている。
現状の質問応答システムでは、まず質問文から自立語を抽出し、得られた自立語を検索語として用いて、たとえば、Webページなどの知識源を対象とする検索を行ない、検索結果から回答を抽出するという手順で処理を実行する。例えば、「日本とブラジルの時差は何時間ですか?」という質問の場合、自立語として「日本」「ブラジル」「時差」を抽出し、それらを検索語として検索を行なう。なお、「何時間」は自立語ではあるが疑問詞を含む語であるため通常検索語には含めない。この検索によりWebページなどの知識源から、「日本とブラジルの時差は12時間である。」等のテキストが得られ、「12時間」を回答として抽出することが可能となる。なお、質問応答における検索手法に関しては、例えば非特許文献1に記載されている。
しかしながら、上記の手法は、質問文が長く複雑になった場合に、質問文中の自立語をなるべく多く含む検索結果を優先して検索してしまうため、適切な検索結果を得ることができないという問題点がある。
例えば、
「よみうりランドにある木製のジェットコースターは何ですか?」(正解は「ホワイトキャニオン」)
という質問の場合、「よみうりランド」「木製」「ジェットコースター」が検索語として得られ、これらの検索語をなるべく多く含む検索結果を優先した検索処理が実行される。
したがって、
「ホワイトキャニオンはよみうりランドにあるジェットコースターです。」と
「ホワイトキャニオンは木製のジェットコースターです。」
という記述がそれぞれ知識源の別の箇所に存在している場合であっても、
「よみうりランドにあるバンデッドは、木製のジェットコースターであるひらかたパークのエルフと似ています。」
といった検索語をたまたま全て含む記述が優先的に検索されてしまい、その結果、
「バンデッド」や「エルフ」といった誤った回答が抽出されてしまうことになる。
このように、従来の質問応答システムでは、一般に、質問文が長くなれば、その中に存在する自立語を全て含む適切な記述が知識源に存在する可能性は極めて低くなり、さらに、その結果として誤った回答が抽出されてしまう可能性が高くなるという問題点がある。
特開2002−132811号公報 Isozaki,H."NTT's Question Answering System for NTCIR QAC2", Working Notes of NTCIR−4 Workshop, pp. 326−332 (2004)
本発明は、上述の問題点に鑑みてなされたものであり、質問文が長くなったばあいでも、正確な回答を抽出可能とした質問応答システム、およびデータ検索方法、並びにコンピュータ・プログラムを提供することを目的とする。
さらに、詳細には、本発明は、質問文を複数の部分質問に分割し、部分質問に基づく回答候補の検索を行い、得られた回答候補から最終的な回答を選択する処理を行なうことで的確な回答を提供可能とした質問応答システム、およびデータ検索方法、並びにコンピュータ・プログラムを提供することを目的とする。
本発明の第1の側面は、
入力質問の構文意味解析処理を実行する構文意味解析手段と、
前記構文意味解析手段の生成した入力質問に対する構文意味解析結果に対して予め定めた質問分割ルールを適用し、前記入力質問を複数の部分質問に分割する質問分割手段と、
前記質問分割手段の生成した複数の部分質問に対応する回答候補を信頼度指数としての確信値とともに取得する質問応答手段と、
前記質問応答手段の取得した回答候補から前記入力質問に対する回答を選択する回答決定手段と、
を有することを特徴とする質問応答システムにある。
さらに、本発明の質問応答システムの一実施態様において、前記回答決定手段は、前記複数の部分質問に対して取得された回答候補から、確信値の合計が最も大きい回答を、前記入力質問に対する回答として選択する処理を実行する構成であることを特徴とする。
さらに、本発明の質問応答システムの一実施態様において、前記回答決定手段は、前記複数の部分質問に対して取得された回答候補から、各回答候補に共通して現れる回答候補のうち、確信値の合計が最も大きい回答を、前記入力質問に対する回答として選択する処理を実行する構成であることを特徴とする。
さらに、本発明の質問応答システムの一実施態様において、前記質問分割手段は、入力質問に対する構文意味解析結果に対して予め定めた質問分割ルールを適用し、前記入力質問を複数の検索パターンに分割する処理を実行する構成であり、前記質問応答手段は、前記複数の検索パターンに基づく検索処理を実行する構成であることを特徴とする。
さらに、本発明の質問応答システムの一実施態様において、前記質問応答システムは、さらに、前記質問分割手段の生成した複数の部分質問中の一方の部分質問に対して取得された回答候補によって、他方の部分質問の要素を置き換えた変換部分質問を生成して、該変換部分質問に対する回答を取得する構成を有することを特徴とする。
さらに、本発明の質問応答システムの一実施態様において、前記質問分割手段は、前記質問応答手段の取得した回答候補の結果を参照し、一定の閾値を越える確信値を持つ回答候補が見つからない場合、さらに細かく質問文を分割する処理を実行する構成であることを特徴とする。
さらに、本発明の第2の側面は、
入力質問の構文意味解析処理を実行する構文意味解析ステップと、
前記構文意味解析ステップにおいて生成した入力質問に対する構文意味解析結果に対して予め定めた質問分割ルールを適用し、前記入力質問を複数の部分質問に分割する質問分割ステップと、
前記質問分割ステップにおいて生成した複数の部分質問に対応する回答候補を信頼度指数としての確信値とともに取得する質問応答ステップと、
前記質問応答ステップにおいて取得した回答候補から前記入力質問に対する回答を選択する回答決定ステップと、
を有することを特徴とするデータ検索方法にある。
さらに、本発明のデータ検索方法の一実施態様において、前記回答決定ステップは、前記複数の部分質問に対して取得された回答候補から、確信値の合計が最も大きい回答を、前記入力質問に対する回答として選択する処理を実行することを特徴とする。
さらに、本発明のデータ検索方法の一実施態様において、前記回答決定ステップは、前記複数の部分質問に対して取得された回答候補から、各回答候補に共通して現れる回答候補のうち、確信値の合計が最も大きい回答を、前記入力質問に対する回答として選択する処理を実行することを特徴とする。
さらに、本発明のデータ検索方法の一実施態様において、前記質問分割ステップは、入力質問に対する構文意味解析結果に対して予め定めた質問分割ルールを適用し、前記入力質問を複数の検索パターンに分割する処理を実行し、前記質問応答ステップは、前記複数の検索パターンに基づく検索処理を実行することを特徴とする。
さらに、本発明のデータ検索方法の一実施態様において、前記データ検索方法は、さらに、前記質問分割ステップにおいて生成した複数の部分質問中の一方の部分質問に対して取得された回答候補によって、他方の部分質問の要素を置き換えた変換部分質問を生成して、該変換部分質問に対する回答を取得するステップを有することを特徴とする。
さらに、本発明のデータ検索方法の一実施態様において、前記データ検索方法は、さらに、前記質問応答ステップにおいて取得した回答候補の結果を参照し、一定の閾値を越える確信値を持つ回答候補が見つからない場合、さらに細かく質問文を分割する処理を実行するステップを有することを特徴とする。
さらに、本発明の第3の側面は、
データ検索処理をコンピュータ上で実行させるコンピュータ・プログラムであり、
入力質問の構文意味解析処理を実行する構文意味解析ステップと、
前記構文意味解析ステップにおいて生成した入力質問に対する構文意味解析結果に対して予め定めた質問分割ルールを適用し、前記入力質問を複数の部分質問に分割する質問分割ステップと、
前記質問分割ステップにおいて生成した複数の部分質問に対応する回答候補を信頼度指数としての確信値とともに取得する質問応答ステップと、
前記質問応答ステップにおいて取得した回答候補から前記入力質問に対する回答を選択する回答決定ステップと、
を有することを特徴とするコンピュータ・プログラムにある。
なお、本発明のコンピュータ・プログラムは、例えば、様々なプログラム・コードを実行可能なコンピュータシステムに対して、コンピュータ可読な形式で提供する記憶媒体、通信媒体、例えば、CDやFD、MOなどの記録媒体、あるいは、ネットワークなどの通信媒体によって提供可能なコンピュータ・プログラムである。このようなプログラムをコンピュータ可読な形式で提供することにより、コンピュータシステム上でプログラムに応じた処理が実現される。
本発明のさらに他の目的、特徴や利点は、後述する本発明の実施例や添付する図面に基づくより詳細な説明によって明らかになるであろう。なお、本明細書においてシステムとは、複数の装置の論理的集合構成であり、各構成の装置が同一筐体内にあるものには限らない。
本発明の構成によれば、入力質問の構文意味解析処理を実行し、構文意味解析結果に対して予め定めた質問分割ルールを適用し、入力質問を複数の部分質問に分割し、生成した複数の部分質問に対応する回答候補を確信値とともに取得し、複数の回答候補から、例えば確信値に基づいて、入力質問に対する最終的な回答を選択する構成としたので、入力質問が長文である場合でも、最適な回答を提供することが可能となる。
また、本発明の一実施例の構成によれば、部分質問の各々に対して得られた回答候補から、それぞれの部分質問の回答として重複した回答を優先的に選択する構成であるので、ユーザのオリジナルの質問に対する回答として、より適切な回答を選択することが可能となる。
以下、図面を参照しながら本発明の実施形態に係る質問応答システム、およびデータ検索方法、並びにコンピュータ・プログラムの詳細について説明する。
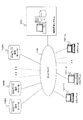
まず、図1を参照して、本発明の質問応答システムの利用形態の一例について説明する。図1は本発明の質問応答システム200をネットワークに接続したネットワーク構成を示す図である。図1に示すネットワーク100は、インターネットやイントラネットなどのネットワークであり、ネットワーク100には、質問応答システム200に対する質問を送信するユーザ端末としてのクライアント101−1〜n、クライアント101−1〜nに対する回答を取得するための素材としてのWebページを提供する様々なWebページ提供サーバ102A〜Nが接続されている。
質問応答システム200は、クライアント101−1〜nから、ユーザの生成した様々な質問文を入力し、入力質問に対する回答をクライアント101−1〜nに提供する。質問に対する回答は、Webページ提供サーバ102A〜Nの提供するWebページから取得する。
Webページ提供サーバ102A〜Nは、WWW(World Wide Web)システムによる公開ページとしてWebページを提供する。Webページは、Webブラウザに表示されるデータ集合であり、テキストデータやHTMLによるレイアウト情報、文書中に埋め込まれた画像や音声、動画などによって構成される。Webページの集合はWebサイトであり、Webサイトは、トップページ(ホームページ)とトップページからリンクされた他のWebページで構成される。
質問応答システム200の構成および処理について図2を参照して説明する。質問応答システム200は、ネットワーク100に接続され、ネットワーク100に接続されたクライアントからの質問を受領し、ネットワーク100に接続されたWebページ提供サーバの提供するWebペーシを情報源として回答を検索して、クライアントに提供する処理を実行する。
質問応答システム200は、図2に示すように、質問入力手段201、構文意味解析手段202、質問分割手段203、質問応答手段204、回答決定手段205、回答出力手段206を有する。
以下、質問応答システム200における質問入力手段201、構文意味解析手段202、質問分割手段203、質問応答手段204、回答決定手段205、回答出力手段206の実行する処理について説明する。
[質問入力手段]
質問入力手段201は、ネットワーク100を介して、クライアントからの質問文(入力質問)を入力する。以下では、具体的な質問例として、
(入力質問)「よみうりランドにある木製のジェットコースターは何ですか?」
という質問がクライアントから入力されたと想定して、質問応答システム200における各手段の処理について説明する。
[構文意味解析手段]
構文意味解析手段202は、入力質問の構文意味解析処理を実行する。まず、構文意味解析処理について説明する。日本語や英語を始めとする各種の言語で記述される自然言語は、本来抽象的であいまい性が高い性質を持つが、文章を数学的に取り扱うことにより、コンピュータ処理を行なうことができる。この結果、機械翻訳や対話システム、検索システム、質問応答システムなど、自動化処理により自然言語に関するさまざまなアプリケーション/サービスが実現される。かかる自然言語処理は一般に、形態素解析、構文解析、意味解析、文脈解析という各処理フェーズに区分される。
形態素解析では、文を意味的最小単位である形態素(morpheme)に分節して品詞の認定処理を行なう。構文解析では、文法規則などを基に句構造などの文の構造を解析する。文法規則が木構造であることから、構文解析結果は一般に個々の形態素が係り受け関係などを基にして接合された木構造となる。意味解析では、文中の語の語義(概念)や、語と語の間の意味関係などに基づいて、文が伝える意味を表現する意味構造を求めて、意味構造を合成する。また、文脈解析では、文の系列である文章(談話)を解析の基本単位とみなして、文間の意味的なまとまりを得て談話構造を構成する。
構文解析及び意味解析は、自然言語処理の分野において、対話システム、機械翻訳、文書校正支援、文書要約などのアプリケーションを実現する上で必要不可欠の技術であるとされている。
構文解析では、自然言語文を受け取り、文法規則に基づいて単語(文節)間の係り受け関係を決定する処理を行なう。構文解析結果は、依存構造と呼ばれる木構造(依存木)の形態で表現することができる。また、意味解析では、単語(文節)間の係り受け関係に基づいて文中の格関係を決定する処理を行なうことができる。ここで言う格関係とは、文を構成する各要素が持つ、主語(SUBJ)、目的語(OBJ)といった文法上の役割のことを指す。また、文の時制や様相、話法などを判定する処理を意味解析が含む場合もある。
構文意味解析システム例については、例えば、「増市,大熊,"Lexical Functional Grammarに基づく実用的な日本語解析システムの構築",自然言語処理,Vol.10,No.2,pp.79−109(2003)」にLFGに基づく自然言語処理システムの詳細が記述されている。本発明の質問応答システムの構文意味解析手段202としては、例えばこのLFGに基づく自然言語処理システムを適用することが可能である。
図3に、Lexical Functional Grammar (LFG)LFGに基づく自然言語処理を実行する構文意味解析システム300の構成を示す。形態素解析部302は、日本語など特定の言語に関する形態素ルール302Aと形態素辞書302Bを持ち、入力文を意味的最小単位である形態素に分節して品詞の認定処理を行なう。例えば、「私の娘は英語を話します。」という文が入力された場合、形態素解析結果として、「私{Noun} の{up} 娘{Noun} は{up} 英語{Noun} を{up} 話す{Verb1}{tr} ます{jp} 。{pt}」が出力される。
このような形態素解析結果は、次いで、構文・意味解析部303に入力される。構文・意味解析部303は、文法ルール303Aや結合価辞書303Bなどの辞書を持ち、文法ルールなどに基づく句構造の解析や、文中の語の語義や語と語の間の意味関係などに基づいて文が伝える意味を表現する意味構造の解析を行なう(結合価辞書は動詞と主語などの文中の他の構成要素との関係を記述したものであり、述部とそれに係る語の意味関係を抽出することができる)。そして、構文解析した結果として、単語や形態素などからなる文章の句構造を木構造として表した"c−structure(constituent structure)"と、主語、目的語などの格構造に基づいて入力文を疑問文、過去形、丁寧文など意味的・機能的に解析した結果として"f−structure(functional structure)"を出力する。
すなわち、c−structureは、自然言語文の構造を、文の形態素を上位のフレーズへとまとめあげることによって木構造として表現するものであり、f−structureは、文法機能の概念に基づき、文の格構造、時制、様相、話法などの意味情報を属性―属性値のマトリックス構造で表現するものである。
例えば、クライアントから入力された入力質問を、
(入力質問)「よみうりランドにある木製のジェットコースターは何ですか?」
とした場合の構文意味解析結果は、図4に示す結果となる。図4は、修飾元、修飾先、修飾の関係を示したデータであり、図4に示す構文意味解析処理結果は、前述のc−structureとしての木構造として示すと図5に示す構造となる。
修飾元である「よみうりランド」は「ある」を修飾先としており、修飾関係は二格、
修飾元である「ある」は「ジェットコースター」を修飾先としており、修飾関係は任意修飾(関係節)、
修飾元である「木製」は「ジェットコースター」を修飾先としており、修飾関係は任意修飾(ノ格)、
修飾元である「ジェットコースター」は「連結動詞」を修飾先としており、修飾関係は主格、
修飾元である「疑問詞」は「連結動詞」を修飾先としており、修飾関係は補格、
以上のような解析結果となる。
なお、「連結動詞」とは、「です」「だ」等の語である。
図2に示す構文意味解析手段202は、入力質問の構文意味解析を実行して、図4に示すような構文意味解析結果を生成する。
[質問分割手段]
次に質問分割手段203の処理について説明する。質問分割手段203は、構文意味解析手段202が入力質問に基づいて生成した構文意味解析結果を入力し、構文意味解析結果に基づく質問分割処理を実行する。
質問文の分割ルールの例を以下に示す。
[質問分割ルールa]
「連結動詞」(「です」「だ」等)の補格が「疑問詞」である場合に、その「連結動詞」の主格要素が二つ以上の任意修飾要素で修飾されていれば、各修飾要素一つのみを残した複数の質問文に分割する。
例えば、
(入力質問)「よみうりランドにある木製のジェットコースターは何ですか?」
に対応する図4に示す解析結果に対して、この分割ルールを適用することによって、以下の二つの部分質問が生成される。
(部分質問1)「よみうりランドにあるジェットコースターは何ですか?」
(部分質問2)「木製のジェットコースターは何ですか?」
図6を参照して、c−structureとしての木構造として示した構成における入力質問と部分質問の対応について説明する。
(入力質問)「よみうりランドにある木製のジェットコースターは何ですか?」
についてのc−structureは、図6に示す構成の全体であり、ここに、上記の質問分割ルール、すなわち、
[質問分割ルールa]
「連結動詞」(「です」「だ」等)の補格が「疑問詞」である場合に、その「連結動詞」の主格要素が二つ以上の任意修飾要素で修飾されていれば、各修飾要素一つのみを残した複数の質問文に分割する。
を適用して質問分割を行なう。
図6の構成において、「連結動詞」(「です」「だ」等)は、図に示す[連結動詞]401であり、その補格が[疑問詞]402である。この[連結動詞]401の主格要素は、[ジェットコースター]403である。
さらに、この主格要素[ジェットコースター]403に対する修飾要素は、
修飾要素1:[よみうりランド]+[ある]と、
修飾要素2:[木製]
の2つの修飾要素で修飾されている。
これらの2つの修飾要素をそれぞれ選択して、質問を生成すると、
(部分質問1)「よみうりランドにあるジェットコースターは何ですか?」
(部分質問2)「木製のジェットコースターは何ですか?」
これら2つの質問に分割される。
これらの2つの部分質問のc−structureは、図6に示す部分木構造411と、部分木構造412となる。
このように、質問分割手段203は、構文意味解析手段202が入力質問に基づいて生成した構文意味解析結果を入力し、構文意味解析結果に基づく質問分割処理を実行する。なお、質問分割ルールとして説明した上述の[質問分割ルールa]は一例であり、その他のルールを適用してもよい。
以下に、上述した質問分割ルールとは異なるルールとして、[質問分割ルールb]の例を示す。
[質問分割ルールb]
「連結動詞」(連結動詞1)の連用形で終わる節(節1)に、「連結動詞」(連結動詞2)の補格が「疑問詞」である節(節2)が後続する場合、節1の連結動詞1の前までの文字列に「は何ですか?」を追加して第1の部分質問を生成し、さらに、節2を対象として連結動詞2の主格要素を連結動詞1の補格要素で置き換えることにより第2の部分質問を生成する。
この質問分割ルールbの適用例について説明する。例えば入力質問を下記の質問とする。
(入力質問)「FUJIテレビのアナウンサーがレポートをしたことのあるジェットコースターで、よみうりランドにあるものは何ですか?」
このような質問を上記の[質問分割ルールb]を適用して分割する。
上記質問の構文意味解析結果からは、以下の結果が得られる。
節1:「FUJIテレビのアナウンサーがレポートをしたことのあるジェットコースターで」
節2:「よみうりランドにあるものは何ですか?」
連結動詞1:「で」、
連結動詞2:「です」
連結動詞2の主格要素:「もの」、
連結動詞1の補格要素:「ジェットコースター」
この結果に対して、
[質問分割ルールb]
「「連結動詞」(連結動詞1)の連用形で終わる節(節1)に、「連結動詞」(連結動詞2)の補格が「疑問詞」である節(節2)が後続する場合、節1の連結動詞1の前までの文字列に「は何ですか?」を追加して第1の部分質問を生成し、さらに、節2を対象として連結動詞2の主格要素を連結動詞1の補格要素で置き換えることにより第2の部分質問を生成する。」
というルールを適用すると、
(部分質問1)「FUJIテレビのアナウンサーがレポートをしたことのあるジェットコースターは何ですか?」
(部分質問2)「よみうりランドにあるジェットコースターは何ですか?」
の2つの部分質問を生成することができる。
このように、質問分割手段203は、構文意味解析手段202が入力質問に基づいて生成した構文意味解析結果を入力し、予め設定した質問分割ルールに従って質問分割処理を実行する。
[質問応答手段]
次に、質問応答手段204の処理について説明する。質問応答手段204は、質問分割手段203の生成した部分質問に基づく回答候補を、既存の質問応答システムを適用して取得する。例えば、「特開2002−132811」等で提案されている従来の質問応答システムを適用し、複数の部分質問に対する回答候補を取得する。すなわち、例えば、ネットワークに接続されたWebページ提供サーバの提供するWebページを情報源としたテキストパターンマッチングなどによる検索処理を実行して各部分質問に対応する回答候補を取得する。
例えば、下記の入力質問、
(入力質問)「よみうりランドにある木製のジェットコースターは何ですか?」
に対応する二つの部分質問、
(部分質問1)「よみうりランドにあるジェットコースターは何ですか?」
(部分質問2)「木製のジェットコースターは何ですか?」
のそれぞれについて、質問応答システムに基づく回答取得処理を実行して、各部分質問に対応する回答候補を取得する。なお、各回答候補には回答としての信頼性を示す信頼度指数に対応する確信値が付与されているものとする。確信値は、質問タイプとの一致性、例えば「誰ですか」という質問に対しては「人物」が信頼性が高い回答とされ確信値は高く設定される。「どこですか」という質問に対しては「地名」の回答に対する確信値が高く設定される。また、出現頻度が高いと確信値が高く設定される。これらの確信値の設定アルゴリズムは、利用する質問応答システムに依存するものとなるが、より信頼度の高い回答の確信値が高く設定されるという構成は共通している。
質問応答手段204は、
例えば、
部分質問aに対応する回答:[回答A:確信値=0.90]、[回答B:確信値=0.62]、[回答C:確信値=0.30]・・
部分質問bに対応する回答:[回答P:確信値=0.80]、[回答Q:確信値=0.55]、[回答R:確信値=0.27]・・
このように、各部分質問に対する回答群を確信値とともに取得して、回答決定手段205に出力する。
[回答決定手段]
次に、回答決定手段205の処理について説明する。回答決定手段205は、複数の部分質問に対して取得された回答候補から、確信値の合計が最も大きい回答を、入力質問に対する回答として選択する。あるいは、複数の部分質問に対して取得された回答候補から、各回答候補に共通して現れる回答候補のうち、確信値の合計が最も大きい回答を、入力質問に対する回答として選択する処理を実行する。
例えば、
(入力質問)「よみうりランドにある木製のジェットコースターは何ですか?」
の部分質問
(部分質問1)「よみうりランドにあるジェットコースターは何ですか?」
に対する「回答(確信値)」として
「バンデッド(0.95)」
「ホワイトキャニオン(0.95)」
「エルフ(0.21)」
が得られたとする。
一方、
(入力質問)「よみうりランドにある木製のジェットコースターは何ですか?」
の部分質問
(部分質問2)「木製のジェットコースターは何ですか?」
に対する「回答(確信値)」として
「ASKA(0.90)」
「ジュピター(0.90)」
「エルフ(0.90)」
「レジーナ(0.90)」
「ホワイトキャニオン(0.90)」
「ホワイトサイクロン(0.90)」
が得られたとする。
この結果を図7に示す。回答決定手段205は、確信値の合計が最も大きい回答を、入力質問に対する回答として選択する。あるいは、各部分質問の回答に共通して出現し、確信値の合計が最も高い回答を入力質問に対する回答として選択する。
この例では、各部分質問の回答に共通して出現し、確信値の合計が最も高い回答を入力質問に対する回答として選択するものとする。この場合、各部分質問の回答に共通して出現し、確信値の合計が最も高い回答は、「ホワイトキャニオン」であり、「ホワイトキャニオン」が最終的な回答として選択される。
[回答出力手段]
回答出力手段206は、回答決定手段205の決定した回答をクライアントに対して出力する。上述の回答決定手段205において確信値に基づいて選択された回答をクライアントに出力する。
次に、図8のフローチャートを参照して、本発明の質問応答システムの実行する処理シーケンスについて説明する。
ステップS101において、クライアントからの質問を入力すると、ステップS102において、クライアントからの入力質問に基づく構文意味解析処理を実行する。この処理は、図2に示す構文意味解析手段202が実行する処理である。
具体的には、例えば、
(入力質問)「よみうりランドにある木製のジェットコースターは何ですか?」
である場合、図4に示す構文意味解析結果を生成する。
次に、ステップS103において、入力質問に対する構文意味解析結果に対して、質問分割ルールを適用して部分質問を生成する。この処理は、図2に示す質問分割手段203の実行する処理であり、先に説明したように、例えば、
[質問分割ルールa]
「連結動詞」(「です」「だ」等)の補格が「疑問詞」である場合に、その「連結動詞」の主格要素が二つ以上の任意修飾要素で修飾されていれば、各修飾要素一つのみを残した複数の質問文に分割する。
[質問分割ルールb]
「連結動詞」(連結動詞1)の連用形で終わる節(節1)に、「連結動詞」(連結動詞2)の補格が「疑問詞」である節(節2)が後続する場合、節1の連結動詞1の前までの文字列に「は何ですか?」を追加して第1の部分質問を生成し、さらに、節2を対象として連結動詞2の主格要素を連結動詞1の補格要素で置き換えることにより第2の部分質問を生成する。
これらの予め設定された質問分割ルールを適用して質問の分割処理を実行し部分質問を生成する。
具体的には、例えば、
(入力質問)「よみうりランドにある木製のジェットコースターは何ですか?」
に対応する以下の二つの部分質問が生成される。
(部分質問1)「よみうりランドにあるジェットコースターは何ですか?」
(部分質問2)「木製のジェットコースターは何ですか?」
次に、ステップS104では、質問分割手段203の生成した部分質問に基づく回答候補を、既存の質問応答システムを適用して取得する処理であり、図2に示す質問応答手段204の実行する処理である。ネットワークに接続されたWebページ提供サーバの提供するWebページを対象とした例えばテキストマッチングによる検索処理により、複数の回答候補を確信値とともに取得する。例えば、図7に示す回答候補が得られる。
ステップS105では、複数の回答候補の確信値に基づいて出力回答を選択する。これは、図2に示す回答決定手段205の実行する処理である。回答決定手段205は、確信値の合計が最も大きい回答を、入力質問に対する回答として選択する。あるいは、各部分質問の回答に共通して出現し、確信値の合計が最も高い回答を入力質問に対する回答として選択する処理を実行する。
ステップS106では、ステップS105において求めた回答を、回答出力手段206を介してクライアントに出力する。
これらの処理の結果、例えば、
(入力質問)「よみうりランドにある木製のジェットコースターは何ですか?」
に対応する回答として、「ホワイトキャニオン」が最終的に選択され、クライアントに提供される。
[その他の実施例]
以下、上述した実施例と異なる構成例について説明する。
a.変更例1、
上述の実施例では、質問分割手段203は、構文意味解析手段202が入力質問に基づいて生成した構文意味解析結果を入力し、予め設定された質問分割ルールを適用して質問分割処理を実行する例として説明した。
質問分割手段203は、さらに、以下に説明する検索パターン生成ルールを適用して、入力質問に対する検索パターンを生成し、生成した検索パターンに基づいて、入力質問の文字列検索を実行して質問分割を行なう構成としてもよい。
[検索パターン生成ルール]
「連結動詞」(「です」「だ」等)の補格が「疑問詞」である場合に、その「連結動詞」の主格要素が二つ以上の任意修飾要素で修飾されていれば、各修飾要素一つのみを残した複数の検索パターンに分割する。ただし、上記主格要素が「任意修飾(ノ格)」の関係で修飾されている場合は、
「「*」{は|が}「主格要素の修飾元」の「主格要素」{だ|です|である|で}」
「「主格要素の修飾元」の「主格要素」{の|である}「*」」
という検索パターンを生成し、
上記主格要素が「任意修飾(関係節)」の関係で修飾されている場合は、
「「*」{は|が}「主格要素の修飾元の節」「主格要素」」
「「主格要素の修飾元の節」「主格要素」「*」」
という検索パターンを生成する。
具体例について説明する。例えば、入力質問が、
「よみうりランドにあるジェットコースターは何ですか?」
である場合、
「「*」{は|が}木製のジェットコースター{だ|です|である|で}」
「木製のジェットコースター{の|である}「*」」

「「*」{は|が}よみうりランドにあるジェットコースター」
「よみうりランドにあるジェットコースター{の|である}「*」」
の2種類の検索パターンを生成する。
これらの検索パターンを質問応答手段204に提供して、質問応答手段204は、これらの複数の検索パターンに基づく検索処理を実行する。この検索の結果として得られる「*」に合致する文字列をそれぞれの回答候補とする。ただし、確信値は全て「1」とする。
この検索パターンにより検索を行なう構成とすることにより、質問応答手段をパターンマッチに基づく検索を行なう手段で置き換えることが可能となり、汎用性が高まる。
b.変更例2
上述した実施例では、質問応答手段204の生成した部分質問に基づく検索処理によって、回答候補が得られることを前提として説明したが、必ずしも回答候補が取得されるとは限らない。また、確信値が低い回答候補ばかりが取得される場合もある。
このような場合、質問文分割手段203は、質問応答手段204の取得した回答候補の結果を参照し、一定の閾値を越える確信値を持つ回答候補が見つからない場合、さらに細かく質問文を分割する。
例えば、以下のような検索パターンへの再分割ルールを有し、再分割を行なう。
[再分割ルール]
「連結動詞」(「です」「だ」等)の補格が「疑問詞」である場合に、その「連結動詞」の主格要素が二つ以上の任意修飾要素で修飾されていれば、各修飾要素一つのみを残した複数の検索パターンに分割する。ただし、上記主格要素が「任意修飾(ノ格)」の関係で修飾されている場合は、
「「*」{は|が}「主格要素の修飾元」の「主格要素」{だ|です|である|で}」
「「主格要素の修飾元」の「主格要素」{の|である}「*」」
という検索パターンを生成し、検索結果が得られない場合は、
「「*」{は|が}「主格要素」{だ|です|である|で}」
「「主格要素」{の|である}「*」」
と、
「「*」{は|が}「主格要素の修飾元」{だ|です|である|で}」
「「主格要素の修飾元」{の|である}「*」」
という検索パターンを生成する。
上記の検索パターン、すなわち、
「「*」{は|が}木製のジェットコースター{だ|です|である|で}」
「木製のジェットコースター{の|である}「*」」
これらの検索パターンで検索結果が得られなかった場合には、
さらに、新たなケンサクパターン、すなわち、
「「*」{は|が}ジェットコースター{だ|です|である|で}」
「ジェットコースター{の|である}「*」」
と、
「「*」{は|が}木製{だ|です|である|で}」
「木製{の|である}「*」」
の2種の検索パターンが生成され、「*」に合致する文字列をそれぞれの回答候補とする。
このように、部分質問条件を再分割する構成とすることで、回答候補が得られる可能性を高め、また確信値の高い信頼性の高い回答を取得することができる。
c.変形例3
上述した実施例では、回答決定手段205は、各部分質問の回答候補に共通して現れる回答候補のうち、確信値の合計が最も大きい回答を、クライアントからの質問に対する回答として選択する処理を実行するものとして説明した。
回答決定手段205は、このような確信値依存の回答決定処理ではなく、他の回答選択アルゴリズムを適用してもよい。例えば、部分質問(部分質問A)の回答で他の部分質問(部分質問B)の一部を置き換えるルールを保持し、変更された部分質問Bにより最終回答を得る。
具体的な例について説明する。例えば、質問文分割手段203が以下の質問分割ルールを有しているとする。
[質問分割ルール]
「連結動詞」(「です」「だ」等)の補格が「疑問詞」である場合に、その「連結動詞」の主格要素が任意修飾(関係節)により修飾されており、該関係節内の主格要素あるいは目的格要素(要素1)がさらに任意修飾要素(要素2)により修飾されていれば、要素2+要素1に対応する文字列に「は何ですか?」を追加して第1の部分質問を生成し、要素2を削除した質問文を第2の部分質問とする。なお、要素1が普通名詞である(固有名詞でない)ことを条件とする。
この質問分割ルールにより例えば、
(入力質問)「2004年に興行収入が最も多かった映画を監督したのは誰ですか?」
について、
要素1:「映画」
要素2:「2004年に興行収入が最も多かった」
が得られ、以下の部分質問が得られる。
(部分質問1)「2004年に興行収入が最も多かった映画は何ですか?」
(部分質問2)「映画を監督したのは誰ですか?」
さらに、回答決定手段205が、上記の部分質問1によって取得された回答候補で上記部分質問2の要素1を置き換える。
例えば、以下の部分質問、すなわち、
(部分質問1)「2004年に興行収入が最も多かった映画は何ですか?」
から得られた回答として、「千と千尋の神隠し」がある場合、
(部分質問2)「映画を監督したのは誰ですか?」
の要素1「映画」を、部分質問1の回答「千と千尋の神隠し」に置き換え、部分質問2を変換した変換部分質問2を生成する。この結果、以下の変換部分質問2が生成される。
(変換部分質問2)「千と千尋の神隠しを監督したのは誰ですか?」
この変換部分質問に基づいて回答を求める検索処理を質問応答手段204において実行して、変換部分質問2に対する回答を得る。
部分質問1から得られた回答の確信値が予め設定された閾値よりも大きい場合にのみ部分質問2の質問文の要素置き換えを行う構成としてもよい。あるいは、部分質問1の質問文の回答候補を複数出力してユーザに正しいと思われる回答を選択させる、という方法をとってもよい。
最後に、上述した処理を実行する質問応答システムを構成する情報処理装置のハードウェア構成例について、図9を参照して説明する。CPU(Central Processing Unit)501は、OS(Operating System)に対応する処理や、上述の実施例において説明した入力質問に基づく構文意味解析処理、質問分割処理、質問応答処理、回答決定処理などを実行する。これらの処理は、各情報処理装置のROM、ハードディスクなどのデータ記憶部に格納されたコンピュータ・プログラムに従って実行される。
ROM(Read Only Memory)502は、CPU501が使用するプログラムや演算パラメータ等を格納する。RAM(Random Access Memory)503は、CPU501の実行において使用するプログラムや、その実行において適宜変化するパラメータ等を格納する。これらはCPUバスなどから構成されるホストバス504により相互に接続されている。
ホストバス504は、ブリッジ505を介して、PCI(Peripheral Component Interconnect/Interface)バスなどの外部バス506に接続されている。
キーボード508、ポインティングデバイス509は、ユーザにより操作される入力デバイスである。ディスプレイ510は、液晶表示装置またはCRT(Cathode Ray Tube)などから成り、各種情報をテキストやイメージで表示する。
HDD(Hard Disk Drive)511は、ハードディスクを内蔵し、ハードディスクを駆動し、CPU501によって実行するプログラムや情報を記録または再生させる。ハードディスクは、例えば質問分割ルールの格納、構文意味解析結果の格納、回答候補の格納手段などに利用され、さらに、データ処理プログラム等、各種コンピュータ・プログラムが格納される。
ドライブ512は、装着されている磁気ディスク、光ディスク、光磁気ディスク、または半導体メモリ等のリムーバブル記録媒体521に記録されているデータまたはプログラムを読み出して、そのデータまたはプログラムを、インタフェース507、外部バス506、ブリッジ505、およびホストバス504を介して接続されているRAM503に供給する。
接続ポート514は、外部接続機器522を接続するポートであり、USB,IEEE1394等の接続部を持つ。接続ポート514は、インタフェース507、および外部バス506、ブリッジ505、ホストバス504等を介してCPU501等に接続されている。通信部515は、ネットワークに接続され、クライアントやネットワーク接続サーバとの通信を実行する。
なお、図9に示す質問応答システムとして適用される情報処理装置のハードウェア構成例は、PCを適用して構成した装置の一例であり、本発明の質問応答システムは、図9に示す構成に限らず、上述した実施例において説明した処理を実行可能な構成であればよい。
以上、特定の実施例を参照しながら、本発明について詳解してきた。しかしながら、本発明の要旨を逸脱しない範囲で当業者が該実施例の修正や代用を成し得ることは自明である。すなわち、例示という形態で本発明を開示してきたのであり、限定的に解釈されるべきではない。本発明の要旨を判断するためには、特許請求の範囲の欄を参酌すべきである。
なお、明細書中において説明した一連の処理はハードウェア、またはソフトウェア、あるいは両者の複合構成によって実行することが可能である。ソフトウェアによる処理を実行する場合は、処理シーケンスを記録したプログラムを、専用のハードウェアに組み込まれたコンピュータ内のメモリにインストールして実行させるか、あるいは、各種処理が実行可能な汎用コンピュータにプログラムをインストールして実行させることが可能である。
例えば、プログラムは記録媒体としてのハードディスクやROM(Read Only Memory)に予め記録しておくことができる。あるいは、プログラムはフレキシブルディスク、CD−ROM(Compact Disc Read Only Memory),MO(Magneto optical)ディスク,DVD(Digital Versatile Disc)、磁気ディスク、半導体メモリなどのリムーバブル記録媒体に、一時的あるいは永続的に格納(記録)しておくことができる。このようなリムーバブル記録媒体は、いわゆるパッケージソフトウエアとして提供することができる。
なお、プログラムは、上述したようなリムーバブル記録媒体からコンピュータにインストールする他、ダウンロードサイトから、コンピュータに無線転送したり、LAN(Local Area Network)、インターネットといったネットワークを介して、コンピュータに有線で転送し、コンピュータでは、そのようにして転送されてくるプログラムを受信し、内蔵するハードディスク等の記録媒体にインストールすることができる。
なお、明細書に記載された各種の処理は、記載に従って時系列に実行されるのみならず、処理を実行する装置の処理能力あるいは必要に応じて並列的にあるいは個別に実行されてもよい。また、本明細書においてシステムとは、複数の装置の論理的集合構成であり、各構成の装置が同一筐体内にあるものには限らない。
以上、説明したように、本発明の構成によれば、入力質問の構文意味解析処理を実行し、構文意味解析結果に対して予め定めた質問分割ルールを適用し、入力質問を複数の部分質問に分割し、生成した複数の部分質問に対応する回答候補を確信値とともに取得し、複数の回答候補から、例えば確信値に基づいて、入力質問に対する最終的な回答を選択する構成としたので、入力質問が長文である場合でも、最適な回答を提供することが可能となる。
また、本発明の一実施例の構成によれば、部分質問の各々に対して得られた回答候補から、それぞれの部分質問の回答として重複した回答を優先的に選択する構成であるので、ユーザのオリジナルの質問に対する回答として、より適切な回答を選択することが可能となる。
本発明の質問応答システムの適用例を示すネットワーク構成図である。 本発明の一実施形態に係る質問応答システムの構成について説明する図である。 本発明の一実施形態に係る質問応答システムにおける構文意味解析手段の構成例について説明する図である 構文意味解析手段の処理によって生成される構文意味解析結果のデータ例を示す図である。 構文意味解析手段の処理によって生成される構文意味解析結果のデータ例を木構造として示した図である。 構文意味解析結果に基づく分割による部分質問の生成処理について説明する図である。 部分質問に対する回答と確信値の一覧および回答決定手段の実行する回答決定処理について説明する図である。 本発明の一実施形態に係る質問応答システムの実行する処理シーケンスについて説明するフローチャートを示す図である。 本発明の一実施形態に係る質問応答システムのハードウェア構成例について説明する図である。
符号の説明
100 ネットワーク
101 クライアント
102 Webページ提供サーバ
200 質問応答システム
201 質問入力手段
202 構文意味解析手段
203 質問分割手段
204 質問応答手段
205 回答決定手段
206 回答出力手段
300 構文意味解析システム
302 形態素解析部
302A 形態素ルール
302B 形態素辞書
303 構文意味解析部
303A 文法ルール
303B 結合価辞書
401 連結動詞
402 疑問詞
403 ジェットコースター
411,412 部分木構造
501 CPU(Central Processing Unit)
502 ROM(Read-Only-Memory)
503 RAM(Random Access Memory)
504 ホストバス
505 ブリッジ
506 外部バス
507 インタフェース
508 キーボード
509 ポインティングデバイス
510 ディスプレイ
511 HDD(Hard Disk Drive)
512 ドライブ
514 接続ポート
515 通信部
521 リムーバブル記録媒体
522 外部接続機器

Claims (3)

  1. 入力質問の構文意味解析処理を実行する構文意味解析手段と、
    前記構文意味解析手段の生成した入力質問に対する構文意味解析結果に基づき前記入力質問を複数の部分質問に分割する質問分割手段であって、補格が疑問詞である連結動詞の主格要素が関係節により修飾され、かつ該関係節内の主格要素または目的格要素がさらに任意修飾要素により修飾され、かつ前記関係節内の主格要素または目的格要素が普通名詞である場合に、前記関係節内の主格要素または目的格要素を要素1とし、前記任意修飾要素を要素2として、前記要素1および前記要素2を含む第1の部分質問を生成するとともに、前記入力質問から前記要素2を削除した質問文を第2の部分質問とする質問分割手段と、
    問に対応する回答候補を取得する質問応答手段と、
    前記第1の部分質問に対応して前記質問応答手段の取得した回答候補で前記第2の部分質問の前記要素2を置き換えた変換部分質問を生成するとともに、当該変換部分質問に対応して前記質問応答手段の取得した回答候補に基づき前記入力質問の回答を得る回答決定手段と、
    を有することを特徴とする質問応答システム。
  2. 構文意味解析手段が、入力質問の構文意味解析処理を実行するステップと、
    前記構文意味解析手段の生成した入力質問に対する構文意味解析結果に基づき前記入力質問を複数の部分質問に分割する質問分割手段が、補格が疑問詞である連結動詞の主格要素が関係節により修飾され、かつ該関係節内の主格要素または目的格要素がさらに任意修飾要素により修飾され、かつ前記関係節内の主格要素または目的格要素が普通名詞である場合に、前記関係節内の主格要素または目的格要素を要素1とし、前記任意修飾要素を要素2として、前記要素1および前記要素2を含む第1の部分質問を生成するとともに、前記入力質問から前記要素2を削除した質問文を第2の部分質問とするステップと、
    質問応答手段が、質問に対応する回答候補を取得するステップと、
    回答決定手段が、前記第1の部分質問に対応して前記質問応答手段の取得した回答候補で前記第2の部分質問の前記要素2を置き換えた変換部分質問を生成するとともに、当該変換部分質問に対応して前記質問応答手段の取得した回答候補に基づき前記入力質問の回答を得るステップと、
    を有することを特徴とするデータ検索方法。
  3. コンピュータを、
    入力質問の構文意味解析処理を実行する構文意味解析手段、
    前記構文意味解析手段の生成した入力質問に対する構文意味解析結果に基づき前記入力質問を複数の部分質問に分割する質問分割手段であって、補格が疑問詞である連結動詞の主格要素が関係節により修飾され、かつ該関係節内の主格要素または目的格要素がさらに任意修飾要素により修飾され、かつ前記関係節内の主格要素または目的格要素が普通名詞である場合に、前記関係節内の主格要素または目的格要素を要素1とし、前記任意修飾要素を要素2として、前記要素1および前記要素2を含む第1の部分質問を生成するとともに、前記入力質問から前記要素2を削除した質問文を第2の部分質問とする質問分割手段、
    質問に対応する回答候補を取得する質問応答手段、
    前記第1の部分質問に対応して前記質問応答手段の取得した回答候補で前記第2の部分質問の前記要素2を置き換えた変換部分質問を生成するとともに、当該変換部分質問に対応して前記質問応答手段の取得した回答候補に基づき前記入力質問の回答を得る回答決定手段、
    として機能させるためのコンピュータ・プログラム。
JP2005070541A 2005-03-14 2005-03-14 質問応答システム、およびデータ検索方法、並びにコンピュータ・プログラム Expired - Fee Related JP4635659B2 (ja)

Priority Applications (2)

Application Number Priority Date Filing Date Title
JP2005070541A JP4635659B2 (ja) 2005-03-14 2005-03-14 質問応答システム、およびデータ検索方法、並びにコンピュータ・プログラム
US11/231,845 US7844598B2 (en) 2005-03-14 2005-09-22 Question answering system, data search method, and computer program

Applications Claiming Priority (1)

Application Number Priority Date Filing Date Title
JP2005070541A JP4635659B2 (ja) 2005-03-14 2005-03-14 質問応答システム、およびデータ検索方法、並びにコンピュータ・プログラム

Publications (2)

Publication Number Publication Date
JP2006252381A JP2006252381A (ja) 2006-09-21
JP4635659B2 true JP4635659B2 (ja) 2011-02-23

Family

ID=36971426

Family Applications (1)

Application Number Title Priority Date Filing Date
JP2005070541A Expired - Fee Related JP4635659B2 (ja) 2005-03-14 2005-03-14 質問応答システム、およびデータ検索方法、並びにコンピュータ・プログラム

Country Status (2)

Country Link
US (1) US7844598B2 (ja)
JP (1) JP4635659B2 (ja)

Families Citing this family (55)

* Cited by examiner, † Cited by third party
Publication number Priority date Publication date Assignee Title
JP4645242B2 (ja) 2005-03-14 2011-03-09 富士ゼロックス株式会社 質問応答システム、およびデータ検索方法、並びにコンピュータ・プログラム
US8832064B2 (en) * 2005-11-30 2014-09-09 At&T Intellectual Property Ii, L.P. Answer determination for natural language questioning
US8527262B2 (en) * 2007-06-22 2013-09-03 International Business Machines Corporation Systems and methods for automatic semantic role labeling of high morphological text for natural language processing applications
US8332394B2 (en) 2008-05-23 2012-12-11 International Business Machines Corporation System and method for providing question and answers with deferred type evaluation
US8275803B2 (en) * 2008-05-14 2012-09-25 International Business Machines Corporation System and method for providing answers to questions
US20100235343A1 (en) * 2009-03-13 2010-09-16 Microsoft Corporation Predicting Interestingness of Questions in Community Question Answering
US20100235311A1 (en) * 2009-03-13 2010-09-16 Microsoft Corporation Question and answer search
US20110125734A1 (en) * 2009-11-23 2011-05-26 International Business Machines Corporation Questions and answers generation
JP5493779B2 (ja) * 2009-11-30 2014-05-14 富士ゼロックス株式会社 情報検索プログラム及び情報検索装置
US8943051B2 (en) 2010-09-24 2015-01-27 International Business Machines Corporation Lexical answer type confidence estimation and application
CA2812338C (en) 2010-09-24 2019-08-13 International Business Machines Corporation Lexical answer type confidence estimation and application
US8892550B2 (en) 2010-09-24 2014-11-18 International Business Machines Corporation Source expansion for information retrieval and information extraction
US9002773B2 (en) 2010-09-24 2015-04-07 International Business Machines Corporation Decision-support application and system for problem solving using a question-answering system
EP2616927A4 (en) 2010-09-24 2017-02-22 International Business Machines Corporation Using ontological information in open domain type coercion
US9798800B2 (en) 2010-09-24 2017-10-24 International Business Machines Corporation Providing question and answers with deferred type evaluation using text with limited structure
US8738617B2 (en) 2010-09-28 2014-05-27 International Business Machines Corporation Providing answers to questions using multiple models to score candidate answers
US9317586B2 (en) 2010-09-28 2016-04-19 International Business Machines Corporation Providing answers to questions using hypothesis pruning
US8898159B2 (en) 2010-09-28 2014-11-25 International Business Machines Corporation Providing answers to questions using logical synthesis of candidate answers
US10621880B2 (en) 2012-09-11 2020-04-14 International Business Machines Corporation Generating secondary questions in an introspective question answering system
US8965915B2 (en) 2013-03-17 2015-02-24 Alation, Inc. Assisted query formation, validation, and result previewing in a database having a complex schema
US9367625B2 (en) * 2013-05-03 2016-06-14 Facebook, Inc. Search query interactions on online social networks
JP6095487B2 (ja) * 2013-05-27 2017-03-15 株式会社Nttドコモ 質問応答装置、及び質問応答方法
GB2517212B (en) 2013-08-16 2018-04-25 Toshiba Res Europe Limited A Computer Generated Emulation of a subject
US12099936B2 (en) 2014-03-26 2024-09-24 Unanimous A. I., Inc. Systems and methods for curating an optimized population of networked forecasting participants from a baseline population
US10133460B2 (en) 2014-03-26 2018-11-20 Unanimous A.I., Inc. Systems and methods for collaborative synchronous image selection
US12079459B2 (en) * 2014-03-26 2024-09-03 Unanimous A. I., Inc. Hyper-swarm method and system for collaborative forecasting
US11941239B2 (en) * 2014-03-26 2024-03-26 Unanimous A.I., Inc. System and method for enhanced collaborative forecasting
US10817159B2 (en) 2014-03-26 2020-10-27 Unanimous A. I., Inc. Non-linear probabilistic wagering for amplified collective intelligence
US11151460B2 (en) 2014-03-26 2021-10-19 Unanimous A. I., Inc. Adaptive population optimization for amplifying the intelligence of crowds and swarms
US12001667B2 (en) * 2014-03-26 2024-06-04 Unanimous A. I., Inc. Real-time collaborative slider-swarm with deadbands for amplified collective intelligence
US10817158B2 (en) 2014-03-26 2020-10-27 Unanimous A. I., Inc. Method and system for a parallel distributed hyper-swarm for amplifying human intelligence
US11269502B2 (en) 2014-03-26 2022-03-08 Unanimous A. I., Inc. Interactive behavioral polling and machine learning for amplification of group intelligence
US10019513B1 (en) 2014-08-12 2018-07-10 Google Llc Weighted answer terms for scoring answer passages
US9916348B1 (en) 2014-08-13 2018-03-13 Google Llc Answer facts from structured content
US9940367B1 (en) 2014-08-13 2018-04-10 Google Llc Scoring candidate answer passages
US10180964B1 (en) 2014-08-13 2019-01-15 Google Llc Candidate answer passages
WO2016068455A1 (ko) * 2014-10-30 2016-05-06 주식회사 플런티코리아 적응적인 키보드 인터페이스를 제공하기 위한 방법 및 시스템, 대화 내용과 연동되는 적응적 키보드를 이용한 답변 입력 방법
US9501525B2 (en) * 2014-11-05 2016-11-22 International Business Machines Corporation Answer sequence evaluation
US10366107B2 (en) 2015-02-06 2019-07-30 International Business Machines Corporation Categorizing questions in a question answering system
US9996604B2 (en) 2015-02-09 2018-06-12 International Business Machines Corporation Generating usage report in a question answering system based on question categorization
US10795921B2 (en) 2015-03-27 2020-10-06 International Business Machines Corporation Determining answers to questions using a hierarchy of question and answer pairs
CN105912645B (zh) * 2016-04-08 2019-03-05 上海智臻智能网络科技股份有限公司 一种智能问答方法及装置
JP7058438B2 (ja) * 2017-08-23 2022-04-22 国立研究開発法人情報通信研究機構 対話応答システム、モデル学習装置および対話装置
CN107577763A (zh) * 2017-09-04 2018-01-12 北京京东尚科信息技术有限公司 检索方法和装置
US11048878B2 (en) 2018-05-02 2021-06-29 International Business Machines Corporation Determining answers to a question that includes multiple foci
JP7084617B2 (ja) * 2018-06-27 2022-06-15 国立研究開発法人情報通信研究機構 質問応答装置及びコンピュータプログラム
EP3910626A1 (en) 2020-05-12 2021-11-17 Deutsche Telekom AG Presentation control
JP7268070B2 (ja) * 2021-02-19 2023-05-02 ヤフー株式会社 回答装置、回答方法、回答プログラム
CN114996415A (zh) * 2021-03-02 2022-09-02 北大方正集团有限公司 问答方法、装置、电子设备、存储介质以及程序产品
US11657819B2 (en) * 2021-03-25 2023-05-23 Bank Of America Corporation Selective use of tools for automatically identifying, accessing, and retrieving information responsive to voice requests
CN113449117B (zh) * 2021-06-24 2023-09-26 武汉工程大学 一种基于Bi-LSTM和中文知识图谱的复合问答方法
US12190294B2 (en) 2023-03-04 2025-01-07 Unanimous A. I., Inc. Methods and systems for hyperchat and hypervideo conversations across networked human populations with collective intelligence amplification
US11949638B1 (en) 2023-03-04 2024-04-02 Unanimous A. I., Inc. Methods and systems for hyperchat conversations among large networked populations with collective intelligence amplification
US12231383B2 (en) 2023-03-04 2025-02-18 Unanimous A. I., Inc. Methods and systems for enabling collective superintelligence
JP7700349B1 (ja) * 2024-11-26 2025-06-30 株式会社アシュアード 情報処理システム、情報処理方法及びプログラム

Family Cites Families (27)

* Cited by examiner, † Cited by third party
Publication number Priority date Publication date Assignee Title
US4658370A (en) * 1984-06-07 1987-04-14 Teknowledge, Inc. Knowledge engineering tool
JPS61221873A (ja) * 1985-03-08 1986-10-02 Sharp Corp 自然言語による質問応答方式
US4860214A (en) * 1987-01-22 1989-08-22 Ricoh Company, Ltd. Inference system
JPH035883A (ja) * 1989-06-01 1991-01-11 Nippon Denshika Jisho Kenkyusho:Kk 文書作成支援装置
JPH04113385A (ja) * 1990-09-03 1992-04-14 Fujitsu Ltd リモートレクチャシステム
DE69225822T2 (de) * 1991-03-12 1998-10-08 Hewlett Packard Co Auf Hypothesen und Schlussfolgerungen basiertes Diagnoseverfahren von Datenkommunikationsnetzwerken
US5317725A (en) * 1991-03-12 1994-05-31 Hewlett-Packard Company Landmark data abstraction paradigm to diagnose data communication networks
JP3811902B2 (ja) * 1991-09-11 2006-08-23 司文 安藤 コンピュータにおける自然言語処理法
US6131085A (en) * 1993-05-21 2000-10-10 Rossides; Michael T Answer collection and retrieval system governed by a pay-off meter
US5519608A (en) 1993-06-24 1996-05-21 Xerox Corporation Method for extracting from a text corpus answers to questions stated in natural language by using linguistic analysis and hypothesis generation
US5660176A (en) * 1993-12-29 1997-08-26 First Opinion Corporation Computerized medical diagnostic and treatment advice system
US6236968B1 (en) * 1998-05-14 2001-05-22 International Business Machines Corporation Sleep prevention dialog based car system
US7146329B2 (en) * 2000-01-13 2006-12-05 Erinmedia, Llc Privacy compliant multiple dataset correlation and content delivery system and methods
AU2001257446A1 (en) * 2000-04-28 2001-11-12 Global Information Research And Technologies, Llc System for answering natural language questions
US8195085B2 (en) * 2000-09-11 2012-06-05 Indu Anand Method of developing educational materials based on multiple-choice questions
US20050266387A1 (en) * 2000-10-09 2005-12-01 Rossides Michael T Answer collection and retrieval system governed by a pay-off meter
JP2002132811A (ja) 2000-10-19 2002-05-10 Nippon Telegr & Teleph Corp <Ntt> 質問応答方法、質問応答システム及び質問応答プログラムを記録した記録媒体
US20030125997A1 (en) * 2001-12-20 2003-07-03 Allison Stoltz System and method for risk assessment
JP2003242136A (ja) 2002-02-20 2003-08-29 Fuji Xerox Co Ltd 構文情報タグ付与支援システムおよび方法
US6810332B2 (en) * 2003-01-31 2004-10-26 Chevron U.S.A. Inc. Method for computing complexity, confidence and technical maturity indices for reservoir evaluations
US7181158B2 (en) * 2003-06-20 2007-02-20 International Business Machines Corporation Method and apparatus for enhancing the integrity of mental competency tests
JP2005092271A (ja) * 2003-09-12 2005-04-07 Hitachi Ltd 質問応答方法及び質問応答装置
JP4145776B2 (ja) * 2003-11-28 2008-09-03 株式会社東芝 質問応答装置および質問応答方法
CA2561698A1 (en) * 2004-04-01 2005-10-20 Wolfsong Informatics, Llc Method to assess a person's knowledge of a subject area
US20070016401A1 (en) * 2004-08-12 2007-01-18 Farzad Ehsani Speech-to-speech translation system with user-modifiable paraphrasing grammars
US20070067293A1 (en) * 2005-06-30 2007-03-22 Hong Yu System and methods for automatically identifying answerable questions
WO2007087565A2 (en) * 2006-01-24 2007-08-02 Anshu Gupta Meta-data and metrics based learning

Also Published As

Publication number Publication date
US7844598B2 (en) 2010-11-30
JP2006252381A (ja) 2006-09-21
US20060204945A1 (en) 2006-09-14

Similar Documents

Publication Publication Date Title
JP4635659B2 (ja) 質問応答システム、およびデータ検索方法、並びにコンピュータ・プログラム
JP4645242B2 (ja) 質問応答システム、およびデータ検索方法、並びにコンピュータ・プログラム
US7526474B2 (en) Question answering system, data search method, and computer program
JP4654745B2 (ja) 質問応答システム、およびデータ検索方法、並びにコンピュータ・プログラム
US7587389B2 (en) Question answering system, data search method, and computer program
US6401061B1 (en) Combinatorial computational technique for transformation phrase text-phrase meaning
US20070118519A1 (en) Question answering system, data search method, and computer program
KR101762866B1 (ko) 구문 구조 변환 모델과 어휘 변환 모델을 결합한 기계 번역 장치 및 기계 번역 방법
KR100530154B1 (ko) 변환방식 기계번역시스템에서 사용되는 변환사전을생성하는 방법 및 장치
KR101664258B1 (ko) 텍스트 전처리 방법 및 이를 수행하는 전처리 시스템
WO2005059771A1 (ja) 対訳判断装置、方法及びプログラム
JP2017199363A (ja) 機械翻訳装置及び機械翻訳のためのコンピュータプログラム
KR101709693B1 (ko) 크라우드 소싱을 이용한 웹툰 언어 자동 번역 방법
JP2005284723A (ja) 自然言語処理システム及び自然言語処理方法、並びにコンピュータ・プログラム
JP4007413B2 (ja) 自然言語処理システム及び自然言語処理方法、並びにコンピュータ・プログラム
JP2005202924A (ja) 対訳判断装置、方法及びプログラム
JP3825645B2 (ja) 表現変換方法及び表現変換装置
JP4940606B2 (ja) 翻訳システム、翻訳装置、翻訳方法及びプログラム
US20130080144A1 (en) Machine translation apparatus, a method and a non-transitory computer readable medium thereof
JP2715875B2 (ja) 多言語要約生成装置
JP2004164672A (ja) 表現変換方法及び表現変換装置
Baumann et al. The spoken wikipedia corpus collection
JP2008293295A (ja) 文書解析装置、および文書解析方法、並びにコンピュータ・プログラム
JP3972697B2 (ja) 自然言語処理システム及び自然言語処理方法、並びにコンピュータ・プログラム
JP3267168B2 (ja) 自然言語変換システム

Legal Events

Date Code Title Description
A621 Written request for application examination

Free format text: JAPANESE INTERMEDIATE CODE: A621

Effective date: 20080221

A977 Report on retrieval

Free format text: JAPANESE INTERMEDIATE CODE: A971007

Effective date: 20100708

A131 Notification of reasons for refusal

Free format text: JAPANESE INTERMEDIATE CODE: A131

Effective date: 20100727

A521 Request for written amendment filed

Free format text: JAPANESE INTERMEDIATE CODE: A523

Effective date: 20100922

TRDD Decision of grant or rejection written
A01 Written decision to grant a patent or to grant a registration (utility model)

Free format text: JAPANESE INTERMEDIATE CODE: A01

Effective date: 20101026

A01 Written decision to grant a patent or to grant a registration (utility model)

Free format text: JAPANESE INTERMEDIATE CODE: A01

A61 First payment of annual fees (during grant procedure)

Free format text: JAPANESE INTERMEDIATE CODE: A61

Effective date: 20101108

FPAY Renewal fee payment (event date is renewal date of database)

Free format text: PAYMENT UNTIL: 20131203

Year of fee payment: 3

R150 Certificate of patent or registration of utility model

Ref document number: 4635659

Country of ref document: JP

Free format text: JAPANESE INTERMEDIATE CODE: R150

Free format text: JAPANESE INTERMEDIATE CODE: R150

LAPS Cancellation because of no payment of annual fees
S533 Written request for registration of change of name

Free format text: JAPANESE INTERMEDIATE CODE: R313533

R370 Written measure of declining of transfer procedure

Free format text: JAPANESE INTERMEDIATE CODE: R370