JP4255152B2 - 雑音吸収装置 - Google Patents

雑音吸収装置 Download PDF

Info

Publication number
JP4255152B2
JP4255152B2 JP32796298A JP32796298A JP4255152B2 JP 4255152 B2 JP4255152 B2 JP 4255152B2 JP 32796298 A JP32796298 A JP 32796298A JP 32796298 A JP32796298 A JP 32796298A JP 4255152 B2 JP4255152 B2 JP 4255152B2
Authority
JP
Japan
Prior art keywords
main body
electric wire
noise absorbing
absorbing device
stone
Prior art date
Legal status (The legal status is an assumption and is not a legal conclusion. Google has not performed a legal analysis and makes no representation as to the accuracy of the status listed.)
Expired - Fee Related
Application number
JP32796298A
Other languages
English (en)
Other versions
JP2000151176A (ja
Inventor
島 宣 昭 中
迫 義 幸 前
Current Assignee (The listed assignees may be inaccurate. Google has not performed a legal analysis and makes no representation or warranty as to the accuracy of the list.)
Panasonic Corp
Panasonic Holdings Corp
Original Assignee
Panasonic Corp
Matsushita Electric Industrial Co Ltd
Priority date (The priority date is an assumption and is not a legal conclusion. Google has not performed a legal analysis and makes no representation as to the accuracy of the date listed.)
Filing date
Publication date
Application filed by Panasonic Corp, Matsushita Electric Industrial Co Ltd filed Critical Panasonic Corp
Priority to JP32796298A priority Critical patent/JP4255152B2/ja
Publication of JP2000151176A publication Critical patent/JP2000151176A/ja
Application granted granted Critical
Publication of JP4255152B2 publication Critical patent/JP4255152B2/ja
Anticipated expiration legal-status Critical
Expired - Fee Related legal-status Critical Current

Links

Images

Landscapes

  • Shielding Devices Or Components To Electric Or Magnetic Fields (AREA)

Description

【0001】
【発明の属する技術分野】
本発明は、電線に対し雑音吸収装置を完全固定し、筐体との接合に際しても一度の作業にて確実に固定することができる低価格の完全固定式及び完全雑音吸収装置に関するもので、更に、完全防水機能を持たせたものもある。
【0002】
【従来の技術】
従来、被覆電線を筐体に固定する部品としては図13に示すようなコネクタbがあり、また、被覆電線を雑音障害から防御するために内部に磁性体を配置した雑音吸収装置としては同じく図13に示すようなカバー付の雑音吸収装置a、或 いは図14に示すような円筒状の雑音吸収装置などが使用されている。その他の タイプの雑音吸収装置としては、例えば筒状のものを2分割したもの、円筒状のものに樹脂製の箱を取り付けたもの、筒状のものを2分割したものに破損防止箱を取り付けたもの、円筒状のものと被覆電線を樹脂により一体成型を施したもの等が知られている。これらのコネクタbと雑音吸収装置aとは、それぞれが異なった使用目的或いは機能を有するから、被覆電線または筐体に取り付けられる場合にも互いに異なった部位に別々に取り付けられるのが一般的である。
【0003】
【発明が解決しようとする課題】
しかしながら、上記図13および図14に示した従来の雑音吸収装置では、取り付けに際して結束帯で固定させたり、樹脂により一体成型により固定しようとするもので、必要以上に工数をかけ再利用をしにくくさせている。また、従来の雑音吸収装置にあっては、筐体の接合部に被覆電線を固定することと、雑音吸収装置を被覆電線に固定することが別々の工程となり、金型代等の必要以上の生産費が発生してしまう。また、従来の雑音吸収装置では防水機能を有さず、屋外での使用に不適当である。
【0004】
本発明は、このような従来の問題を解決するものであり、電線に対し雑音吸収装置を完全固定し、完全防水機能を持たせ、筐体との接合に際しても一度の作業にて確実に固定することができる低価格の完全固定式及び完全雑音吸収装置、さらには完全防水機能をもたせたものをも提供することを目的とする。
【0005】
【課題を解決するための手段】
本発明は、上記目的を達成するために、雑音吸収装置を、無電磁気石を内部に有し、被覆電線を締め付けるように固定できるようにしたことを要旨とする。無電磁気石は雑音吸収装置から取り外し可能な機構を持つようにすることができ、また、雑音吸収装置内部に突起部を設けて無電磁気石を収納するようにすることもできる。
【0006】
これにより、装置を低コストで生産できるとともに、電線の太さが異なっていても、電線に対し装置を任意の位置で確実かつ容易に固定することができる。
【0007】
また本発明は、雑音吸収装置自体をそのまま保持できる機能を有する雑音吸収装置により、筐体に被覆電線の弾力を利用し完全固定する。これにより振動、引張り等により雑音吸収装置の移動による抵抗値の変動に対する防御が確実に行える雑音吸収装置となる。また、完全防水機構に雑音吸収装置を備え、屋外での使用時における水滴等の障害に対する防御が確実に行なえる完全固定防水式雑音吸収装置をも実現することができる。そして、以上の2種類の機能を1基にまとめ、2機能品を一体化させることによって容積を大幅に減少させることもできる。
【0008】
【発明の実施の形態】
本発明の請求項1に記載の発明は、長手方向に延びた貫通孔を有し外面にねじ部が形成された円筒構造の装置本体と、装置本体の中に収容固定された円筒構造の無電磁気石と、装置本体の中に前記無電磁気石と突き合う状態で収容され、被覆電線を通す通し孔を有する弾性を有する電線保持部材と、筒状構造を有し装置本体の端面部分において貫通孔に部分的に挿入され、前記電線保持部材を外部から包持するようにして当該電線保持部材に取り付けられた係止部材と、装置本体に対して、前記係止部材が取り付けられる端面側からねじ込まれ、係止部材を外周から内側へ向けて締め付け変形させる固定用ナット部材とを備えたものであり、固定用ナット部材の締め付け操作により係止部材が外周から内側へ変形し、さらに係止部材の変形により電線保持部材が外側から圧縮されて被覆電線に密着しシールすることにより完全防水と雑音吸収を実現するという作用を有する。
【0009】
本発明の請求項2に記載の発明は、請求項1記載の雑音吸収装置において、無電磁気石は装置本体に対して着脱自在であるようにしたものであり、無電磁気石の取り替えにより雑音吸収装置の機能を種々変更することができるという作用を有する。
【0010】
本発明の請求項3に記載の発明は、請求項1記載の雑音吸収装置において、装置本体の内部の無電磁気石装着部には無電磁気石に係合する突起部材を設けたものであり、無電磁気石を装置本体内に確実に収容固定するという作用を有する。
【0011】
本発明の請求項4に記載の発明は、請求項3記載の雑音吸収装置において、突起部材は無電磁気石の端部に係合して当該無電磁気石を固定するようにしたものであり、無電磁気石を両端から保持し装置本体内に確実に収容固定するという作用を有する。
【0012】
本発明の請求項5に記載の発明は、請求項3記載の雑音吸収装置において、突起部材は無電磁気石の胴体部外面に押圧接触して当該無電磁気石を固定するようにしたものであり、無電磁気石を中間部分で保持し装置本体内に確実に収容固定するという作用を有する。
【0013】
本発明の請求項6に記載の発明は、請求項1記載の雑音吸収装置において、装置本体内には無電磁気石を複数個取り付け可能であり、雑音障害の状況に応じて取り付け個数を変化させることが可能であるようにしたものであり、無電磁気石を出し入れすることにより雑音障害の程度におうじた対策が簡単に採り得るという作用を有する。
【0014】
本発明の請求項7に記載の発明は、請求項1記載の雑音吸収装置において、係止部材は異質な電線径においても完全な防水を実現するようにしたものであり、雑音吸収装置の応用範囲を拡大させることができるという作用を有する。
【0015】
本発明の請求項8に記載の発明は、請求項1記載の雑音吸収装置において、被覆電線は弾力性を有しており、この弾力性を用いて被覆電線を筐体に完全固定するようにしたものであり、筐体への取り付けが確実に行なえるという作用を有する。
【0016】
本発明の請求項9に記載の発明は、請求項1記載の雑音吸収装置において、係止部材は装置本体の端部から外部へ露出した部位の外周に装置本体の貫通孔よりも半径方向外方へ突出したリブを有し、ナット部材を装置本体にねじ込んで係止部材が装置本体の貫通孔に嵌入されることによりリブが半径方向内方へ変位せしめられ、電線保持部材を圧縮変形させるようにしたものであり、強力な圧着力で電線締め付け部の防水性を確保するという作用を有する。
【0017】
本発明の請求項10に記載の発明は、請求項1記載の雑音吸収装置において、係止部材はリブを有するようにしたものであり、ねじ込み操作によって係止部材の圧着力を生じさせるという作用を有する。
【0024】
本発明の請求項1に記載の発明は、請求項1記載の雑音吸収装置において、前記装置本体の被覆電線引き込み口の部分は、複数の電線固定部分を有し、該複数の電線固定部分は前記装置本体の端部において、装置本体寄りの部位の電線固定部分から装置本体から最も離れた部位の電線固定部分にかけて内径が順次小さくなるように設定され、前記電線固定部分は、端部が二股割れ構造に形成され、この二股に分離された辺部を締結部材により締め付け可能としたものであり、種々の電線の太さに自由に対応するとともに電線の締めつけを確実に行なえるという作用を有する。
【0025】
本発明の請求項1に記載の発明は、請求項1記載の雑音吸収装置において、一の電線固定部分と、これに隣接する部分との間には切溝が形成され、この切溝部分で切離し可能としたものであり、種々の電線の太さに対応させるのに不要な部分を切り離すのみで対応することができるという作用を有する。
【0026】
(実施の形態1)
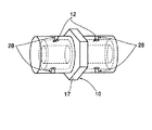
以下、本発明の実施の形態を図面を参照して説明する。図1は本発明の第1の実施の形態に係る固定式及び完全防水雑音吸収装置の一部断面正面図であり、図2は上記雑音吸収装置の分解斜視図である。図1および図2において、10は本実施の形態にかかる雑音吸収装置の中心的な部材である装置本体であり、長手方向ほぼ中央部分にフランジ11を備えている。12は装置本体10の内部に装着される無電磁気石であり2個の無電磁気石12a、12bが装着される。13は装置本体10の内部に装着され被覆電線を保持する電線保持部材、14は電線保持部材13を包持して固定取り付けされる係止部材、15は無電磁気石12b、電線保持部材13、係止部材14を装置本体10内に装着固定するナット部材、16は無電磁気石12aを装置本体10内に装着固定するナット部材、17はナット部材17の締め付けを安定化させるスペーサである。
【0027】
装置本体10は、長手方向に延びた貫通孔18を有しており、その外面にはフランジ11を挟んで両側にねじ部19が形成された筒状(この実施の形態では円筒状)構造を有する。ねじ部19は後端側(図1中右端側)を組立ねじ部19a、先端側を固定ねじ部19bとする。無電磁気石12は通し孔20を有する円筒構造を有し、装置本体10の貫通孔18中に収容固定される。無電磁気石12の通し孔20内には被覆電線21が挿通される。電線保持部材13は、被覆電線21を通す通し孔21を有する筒状構造を有し、合成樹脂などの弾性材料により製作される。また、この電線保持部材13は装置本体10の中に無電磁気石12と突き合う状態で収容される。
【0028】
係止部材14は、電線保持部材13を外部から包持することができるよう筒状構造を有し、電線保持部材13と装置本体10の内壁との間の隙間に挿入される。この係止部材14は、図2に示すように、比較的薄肉の筒状本体22と、筒状本体22の内壁から半径方向内方へ突出した係止片23と、筒状本体22の外壁から半径方向外方へ突出した摺動片(リブ)24とを有している。係止片23および摺動片24は筒状本体22と一体的になっており、係止部材14は合成樹脂を一体成型することにより製作される。また、摺動片24は係止部材14の先端(図2に示す状態において左端を先端とする)部から所定の寸法後退した部位から立ち上がっており、その立ち上がり方は筒状本体22の外周面から徐々に立ち上がる傾斜構造となっている。
【0029】
ナット部材15は、装置本体10の組立ねじ部19aに対して、係止部材14が取り付けられる端面側からねじ込まれ、ねじ込み作用により係止部材14を装置本体10の貫通孔18に押し込んで雑音吸収装置を組み立てるのに使用される。他方ナット部材16は、装置本体10の固定ねじ部19bに対して、ナット部材15とは反対側の端面からねじ込まれ、雑音吸収装置自体および被覆電線21を電子機器などの筐体に固定取り付けするのに使用される。
【0030】
このような各部材の構成の下において、雑音吸収装置を構成するには、一例としては、図3に示すように、装置本体10の貫通孔18の内壁に予め無電磁気石12(12a、12bの両方とも)を接着剤25により固定しておき、各部材に被覆電線21を通す。そして、装置本体10の後端側から電線保持部材13を貫通孔18内へ挿入し、次いで係止部材14を貫通孔18内へ挿入する。係止部材14は、その外周から半径方向外方へ突出した摺動片24を有しているから、係止部材14の先端のみが装置本体10の貫通孔18内に嵌入する。
【0031】
そして、この状態においてナット部材15が、装置本体10の組立ねじ部19aに対して、係止部材14が取り付けられる端面側からねじ込まれ、係止部材14を装置本体10の貫通孔18に押し込むことにより摺動片24の作用で外周から内側へ向けて圧縮変形させる。ナット部材15の締め付け操作により係止部材14が外周から内側へ変形すると、さらに係止部材14の変形により電線保持部材13が外側から圧縮されて被覆電線21に密着しシールする。これにより、装置本体10への無電磁気石12、電線保持部材13、係止部材14の組み付けが行なわれ雑音吸収装置の組立てが完了する。
【0032】
また、他方のナット16は装置本体10の固定ねじ部19bに対して、ナット部材15とは反対側の端面からねじ込まれる。雑音吸収装置を筐体に取り付ける必要がないときはナット部材16は単に固定ねじ部19bにねじ込まれるのみである。そして、ナット部材15を緩めれば電線保持部材13及び係止部材14は装置本体10の貫通孔18から容易に外すことができ、また、無電磁気石12も必要に応じて、片方の無電磁気石12aまたは12bを取り外す(接着されている場合はこれを剥がせばよい)などを行なって雑音障害の状況に応じて取り付け個数を変化させることができる。
【0033】
以上のように、被覆電線21に対して雑音吸収装置の各部材を組み付け固定するのみで雑音吸収装置が構成されると同時に完全防水構成が確立される。
【0034】
図4乃至図6は、第1の実施の形態において、装置本体10とその内部に装着された無電磁気石12との結合関係、すなわち取り付け固定状態の他の態様を表す図である。図4に示す例においては、装置本体10の貫通孔18内壁の無電磁気石12の装着部分には、無電磁気石12に係合する突起部材26が設けられている。突起部材26は無電磁気石12の前後端部に係合する位置に設けられており、当該無電磁気石12に係合してこれを固定する。この突起部材26は貫通孔18の内壁から半径方向内方へ突出して設けられた略三角形状の係合片から構成されている。この係合片は、例えばゴムなどの弾性部材から構成されており、無電磁気石12を貫通孔18に挿入したり取り出したりするときは撓み変形する。
【0035】
図5に示す例においては、装置本体10の貫通孔18内壁の無電磁気石12の装着部分には、無電磁気石12に係合する突起部材27が設けられている。この突起部材27は、上記突起部材26と同様、無電磁気石12の前後端部に係合する位置に設けられており、当該無電磁気石12に係合してこれを固定する。この突起部材27は貫通孔18の内壁から半径方向内方へ突出して設けられたブロック体から構成されている。このブロック体は、貫通孔18の端面(出入口)側から奥側へかけて下り階段状(端面側が高く、奥側が低い)に形成された構造を有し、例えばゴムなどの弾性部材から構成されており、無電磁気石12を貫通孔18に挿入したり取り出したりするときは撓み変形し、且つブロック体の段部が無電磁気石12の端面に当たってこれを固定支持する。
【0036】
図6に示す例においては、装置本体10の貫通孔18内壁の無電磁気石12の装着部分には、無電磁気石12に係合する突起部材28が設けられている。この突起部材28は、上記突起部材26、27と異なり、無電磁気石12の装着部分の長手方向中間部分に嵌入取り付けされ、無電磁気石12の胴体部分に圧着することによりこれを固定する。この突起部材28は無電磁気石12の外周に圧着するリング体から構成されている。このリング体を装置本体10の内壁と無電磁気石12との間に嵌入するよう、無電磁気石12の外周には円周方向に延びる溝が形成されている。また、リング体は、例えばゴムなどの弾性部材から構成されており、無電磁気石12を貫通孔18に挿入したり取り出したりするときは膨張、収縮し、且つリング体の断面形状が変形してこれを固定支持する。
【0037】
さらに、この実施の形態に係る雑音吸収装置を電気機器などの筐体に取り付ける場合の態様について説明する。図7はこの第1の実施の形態に係る雑音吸収装置を筐体に結合した状態を示す透視側面図である。図7に示すように、ナット16の装着側の装置本体10部分を筐体29の取付穴30に挿入し、反対側からナット部材16を固定ねじ部19bにねじ込むことによりフランジ11とナット部材16との間に筐体29の壁を挟み付け、雑音吸収装置を筐体29に結合させることができる。このときナット部材と筐体29の壁との間にスペーサ17を介在させておくと、ナット部材16の締め付け力が効率的に働き、ねじ締めを安定させることができる。このように、本実施の形態に係る雑音吸収装置は、それ自体が防水型の雑音吸収機能であり、且つ筐体29に直接取り付け可能であって被覆電線を筐体29に接続固定するコネクタとしての機能も有するから、コネクタ機能と雑音吸収機能とを併せ持った雑音吸収装置ということができる。
【0038】
図8および図9は本発明の第2の実施の形態に係る分割式雑音吸収装置を示す図である。これらの図のうち、図8は雑音吸収装置を2つに分割して示す斜視図であり、図9は上記雑音吸収装置を2つに分割した状態を示す正面図である。図8および図9において、31は本実施の形態にかかる雑音吸収装置の本体となるケースであり、ケース分割体31aとケース分割体31bとに分割可能である。32はケースに装着される無電磁気石であり、ケース31が分割可能であるのと基を一にして、無電磁気石分割体32aと無電磁気石分割体32bとに分割可能である。33はケース分割体32aに設けられた電線抑え部である。
【0039】
ケース31は、合成樹脂を成型加工して製作され、長手方向へ一端から他端まで延び電線通し孔となる貫通孔34を有し外形断面が略矩形状の筒状構造を有する。この貫通孔34もまた、ケース31が分割可能であるのと基を一にして、第1の貫通孔部34aと第2の貫通孔部34bとに分かれており、ケース31を組み立てることにより1つの貫通孔34となる。無電磁気石32は通し孔35を有する筒状構造を有し、ケース分割体31a、31bのそれぞれの貫通孔部34a、34b内に収容固定される。上記通し孔35もまた、ケース31が分割可能であるのと基を一にして、第1の通し孔部35aと第2の通し孔部35bとに分かれており、ケース31を組み立てることにより1つの通し孔35となる。電線抑え部33は、ケース分割体31aの内部において、このケース分割体31aの本体から第1の貫通孔部34aへ向けて半径方向内方へ延びている。
【0040】
この実施の形態において、第1および第2のケース分割体31a、32bの内部の無電磁気石装着部には無電磁気石32に係合する突起部材36が設けられている。この突起部材36は、無電磁気石32の装着部分の長手方向中間部分に嵌入取り付けされ、無電磁気石32の胴体部分に圧着することによりこれを固定する。この突起部材36は無電磁気石32の外周に圧着するリング体から構成されている。リング体もまた、ケース31が分割可能であるのと基を一にして、半分づつに分割され各ケース分割体31a、31bに装着されている。この突起部材36を装置本体10の内壁と無電磁気石32との間に嵌入するよう、無電磁気石32の外周には円周方向に延びる溝が形成されている。また、突起部材36は、例えばゴムなどの弾性部材から構成されており、無電磁気石32a、32bを貫通孔部34a、34bに装着したり取り外したりするときは膨張、収縮し、且つ突起部材36の断面形状が変形してこれを固定支持する。なお、突起部材36の変形例として、上記第1の実施の形態において説明した突起部材26または27と同じ構造および取り付け関係のものを採用することもできる。
【0041】
さらにケース31の外面には、当該ケース31を周回する方向に延びる溝部37が形成されている。この溝部37はケース31の外面よりも1段下がった窪み構造を有しており、雑音吸収装置を電気機器などの筐体に取り付けるときの取り付け部となる。図10はこの第2の実施の形態に係る雑音吸収装置を筐体に結合した状態を示す透視側面図である。すなわち、図10に示すように、筐体38の取付穴39に対して被覆電線40に取り付けた雑音吸収装置を押し込むことにより合成樹脂製のケース31が幾分変形し、取付穴39に嵌まり溝部37において雑音吸収装置を筐体38に結合させることができる。このように、この第2の実施の形態に係る雑音吸収装置は、上記第1の実施の形態におけると同様、それ自体が防水型の雑音吸収機能であり、且つ筐体に直接取り付け可能であって被覆電線を筐体29に接続固定するコネクタとしての機能も有するから、コネクタ機能と雑音吸収機能とを併せ持った雑音吸収装置ということができる。
【0042】
図11は本発明の第3の実施の形態に係る雑音吸収装置を一部分解して示す斜視図である。これらの図のうち、図11は図1および図2に示された完全防水雑音吸収装置とほぼ同一の基本構成を有する雑音吸収装置を被覆電線に固定する方式として複数径ネジ式固定部の開口部をネジによって締め付け固定することができるように改良した例を示す斜視図である。すなわちこの雑音吸収装置は、その被覆電線引き込み口の部分に、それぞれ異なった内径に設定された電線固定部分41、42、43を備えている。これらの電線固定部分41、42、43は装置本体10の端部において、装置本体10寄りの部位から比較的大きな内径を有する第1の電線固定部分41と、中位の内径を有する第2の電線固定部分42と、装置本体10から最も離れた部位にあり他の2つの電線固定部分41、42と比べると最も小さな内径を有する第3の電線固定部分43とを連結させた構造になっている。電線固定部分41、42、43の内径は、電線固定部分41の側から電線固定部分43へかけて階段状に小さくなっている。或いは電線固定部分41、42、43の内径は、電線固定部分41の側から電線固定部分43へかけて次第に細くなる、所謂テーパが付けられた通路構造になっていてもよい。
【0043】
電線固定部分41、42、43は、それぞれ、図11中において下端部分が二股割れ構造になっており、さらに下端部側面には二股に分離された辺部を通して延びるねじ通し孔48、49、50が設けられている。なお、図11中においては、ねじ通し孔50には締め付け用のネジ51がねじ込まれている。このネジ51を締めたり緩めたりすることにより電線固定部分43の内径を所定の範囲で調整することができ被覆電線を確実に固定することができる。他の電線固定部分41、42についても同様である。したがって、この事例では、比較的細い被覆電線を結合するため最も小さな内径を有する第3の電線固定部分43を使っている例を表している。また、装置本体10と第1の電線固定部分41との境界部分、第1の電線固定部分41と第2の電線固定部分42との境界部分、および第2の電線固定部分42と第3の電線固定部分43との境界部分には、それらの部分で切離しが行なえるよう切溝52、53、54が設けられている。そして、電線固定部分41、42、43を、固定される電線の太さに応じて適当な切溝部分で装置本体10から切り落とすことができるようになっている。上記のように電線固定部分41、42、43を適当な切溝52、53、54部分で装置本体10から切り落とすことができるようにするため、電線固定部分41、42、43はプラスチック材料で製作することが好ましい。
【0044】
このような構成を採っているため、被覆電線の太さの違いにも対応でき、更にネジ51で締め付けることによって固定強度を増すことができる。無電磁石は図2と同様の方式で、装置本体10の内部に収容固定される。このように、この第3の実施の形態に係る雑音吸収装置は、上記第1の実施の形態におけると同様、それ自体が雑音吸収機能を有しており、被覆電線を接続固定するコネクタとしての機能も有するから、コネクタ機能と雑音吸収機能とを併せ持った雑音吸収装置ということができる。
【0045】
図12は図11に示した電線固定構造を持った、本発明の第4の実施の形態に係る接続切替装置保護ケースおよびそれに類するケースを示す斜視図である。この接続切替装置保護ケース60は、被覆電線引き込み口の内部に無電磁石を収容する構造を有しており、またこの形態も上記図7と同様の被覆電線固定方式の構造を持っている。そして、被覆電線引き込み口の部分は、上記第3の実施の形態におけると同様、それぞれ異なった内径に設定された電線固定部分45、46、47を備えている。これらの電線固定部分45、46、47はケース本体61の被覆電線引き込み口の部分において、ケース本体61寄りの部位から比較的大きな内径を有する第1の電線固定部分45と、中位の内径を有する第2の電線固定部分46と、ケース本体61から最も離れた部位にあり他の2つの電線固定部分45、46と比べると最も小さな内径を有する第3の電線固定部分47とを連結させた構造になっている。電線固定部分45、46、47の内径は、電線固定部分45の側から電線固定部分47へかけて階段状に小さくなっている。或いは電線固定部分45、46、47の内径は、電線固定部分45の側から電線固定部分47へかけて次第に細くなる、所謂テーパが付けられた通路構造になっていてもよい。
【0046】
さらに、電線固定部分45、46、47は、それぞれ、図11中において下端部分が二股割れ構造になっており、さらに下端部側面には二股に分離された辺部を通して延びるねじ通し孔62、63、64が設けられている。なお、図11中においては、ねじ通し孔64には締め付け用のネジ65がねじ込まれている。このネジ65を締めたり緩めたりすることにより電線固定部分47の内径を所定の範囲で調整することができ被覆電線を確実に固定することができる。他の電線固定部分45、46についても同様である。したがって、この事例では、比較的細い被覆電線を結合するため最も小さな内径を有する第3の電線固定部分47を使っている例を表している。また、ケース本体61と第1の電線固定部分45との境界部分、第1の電線固定部分45と第2の電線固定部分46との境界部分、および第2の電線固定部分46と第3の電線固定部分47との境界部分には、それらの部分で切離しが行なえるよう切溝66、67、68が設けられている。そして、電線固定部分45、46、47を、固定される電線の太さに応じて適当な切溝部分でケース本体61から切り落とすことができるようになっている。上記のように電線固定部分45、46、47を適当な切溝66、67、68部分でケース本体61から切り落とすことができるようにするため、電線固定部分45、46、47はプラスチック材料で製作することが好ましい。
【0047】
このような構成を採っているため、接続切替装置保護ケース60に接続される被覆電線の太さの違いにも対応でき、更にネジ65で締め付けることによって固定強度を増すことができる。無電磁石は図2と同様の方式で、ケース本体61の内部に収容固定される。
【0048】
【発明の効果】
本発明は、上記実施の形態から明らかなように、雑音吸収装置を、無電磁気石を内部に有し、被覆電線を締め付けるように固定できるようにしたことを要旨とする。無電磁気石は雑音吸収装置から取り外し可能な機構を持つようにすることができ、また、雑音吸収装置内部に突起部を設けて無電磁気石を収納するようにすることもできる。
【0049】
これにより、装置を低コストで生産できるとともに、電線の太さが異なっていても、電線に対し装置を任意の位置で確実かつ容易に固定することができる。
【0050】
また本発明は、雑音吸収装置自体をそのまま保持できる機能を有する雑音吸収装置により、筐体に被覆電線の弾力を利用し完全固定する。
【0051】
これにより振動、引張り等により雑音吸収装置の移動による抵抗値の変動に対する防御が確実に行える雑音吸収装置となる。また、完全防水機構に雑音吸収装置を備え、屋外での使用時における水滴等の障害に対する防御が確実に行なえる完全固定防水式雑音吸収装置も実現するものである。そして、以上の2種類の機能を1基にまとめ、2機能品を一体化させることによって容積を大幅に減少させることもできる。
【0052】
また、次のような効果も得られる。
1) 固定用の装置本体と無電磁気石の一体化により個別の作業が不要となり、時間および作業工程が簡素化されコストの削減を図ることができる。
2) 無電磁気石の固定のために別途の金型を製作する必要画なく製品製造コストが低く抑えられる。
3) 筐体から被覆電線にかけての周辺に多種類の部品をしようする必要がなく、筐体・被覆電線結合部周辺を簡素化することができる。
4) 筐体うちのつの機能部分を1つの機能部分にまとめることができ筐体の小型化を図ることができる。
5) 防水または完全固定をしながらも、無電磁気石の取り外し可能機構により多種の雑音に対して適切な無電磁気石を使用することができる。
6) 完全防水機能を有するため、雑音吸収装置を屋外で使用することができる。
【図面の簡単な説明】
【図1】本発明の第1の実施の形態に係る固定式及び完全防水雑音吸収装置の一部断面正面図
【図2】前記第1の実施の形態に係る雑音吸収装置の分解斜視図
【図3】前記第1の実施の形態において装置本体へ無電磁気石を接着剤により固定取り付けした状態を示す斜視図
【図4】前記第1の実施の形態において装置本体とその内部に装着された無電磁気石とを三角形状の係合片から構成された突起部材により固定する態様を示す斜視図
【図5】前記第1の実施の形態において装置本体とその内部に装着された無電磁気石とを段付のブロック体から構成された突起部材により固定する態様を示す斜視図
【図6】前記第1の実施の形態において装置本体とその内部に装着された無電磁気石とを無電磁気石の胴体部分に圧着するリング体から構成された突起部材により固定する態様を示す斜視図
【図7】前記第1の実施の形態に係る雑音吸収装置を筐体に結合した状態を示す透視側面図
【図8】本発明の第2の実施の形態に係る分割式及び完全防水雑音吸収装置を2つに分割して示す斜視図
【図9】前記第2の実施の形態に係る分割式及び完全防水雑音吸収装置を2つに分割して示す側面図
【図10】前記第2の実施の形態に係る雑音吸収装置を筐体に結合した状態を示す透視側面図
【図11】本発明の第3の実施の形態に係る雑音吸収装置を一部分解して示す斜視図
【図12】前記第4の実施の形態に係る接続切替装置保護ケースおよびそれに類するケースを示す斜視図
【図13】従来例における雑音吸収装置を被覆電線に取り付け、また被覆電線を筐体にコネクタにより結合した状態の斜視図
【図14】従来例における雑音吸収装置の一構造例を示す斜視図
【符号の説明】
10 装置本体
11 フランジ
12 無電磁気石
13 電線保持部材
14 係止部材
15、16 ナット部材
17 スペーサ
18 貫通孔
19 ねじ部
20 通し孔
21 被覆電線
22 筒状本体
23 係止片
24 摺動片
25 接着剤
26、27、28 突起部材
29、38 筐体
31 ケース
32 無電磁気石
33 電線抑え部
34 貫通孔34
35 通し孔
36 突起部材
41、42、43、45、46、47 電線固定部分
48、49、50、62、63、64 ねじ通し孔
51、65 ネジ
52、53、54、66、67、68 切溝
60 接続切替装置保護ケース
61 ケース本体

Claims (12)

  1. 長手方向に延びた貫通孔を有し外面にねじ部が形成された円筒構造の装置本体と、装置本体の中に収容固定された円筒構造の無電磁気石と、装置本体の中に前記無電磁気石と突き合う状態で収容され、被覆電線を通す通し孔を有する弾性を有する電線保持部材と、筒状構造を有し装置本体の端面部分において貫通孔に部分的に挿入され、前記電線保持部材を外部から包持するようにして当該電線保持部材に取り付けられた係止部材と、装置本体に対して、前記係止部材が取り付けられる端面側からねじ込まれ、係止部材を外周から内側へ向けて締め付け変形させる固定用ナット部材とを備え、固定用ナット部材の締め付け操作により係止部材が外周から内側へ変形し、さらに係止部材の変形により電線保持部材が外側から圧縮されて被覆電線に密着しシールすることを特徴とする雑音吸収装置。
  2. 無電磁気石は装置本体に対して着脱自在であることを特徴とする請求項1記載の雑音吸収装置。
  3. 装置本体の内部の無電磁気石装着部には無電磁気石に係合する突起部材が設けられていることを特徴とする請求項1記載の雑音吸収装置。
  4. 突起部材は無電磁気石の端部に係合して当該無電磁気石を固定することを特徴とする請求項3記載の雑音吸収装置。
  5. 突起部材は無電磁気石の胴体部外面に押圧接触して当該無電磁気石を固定することを特徴とする請求項3記載の雑音吸収装置。
  6. 装置本体内には無電磁気石を複数個取り付け可能であり、雑音障害の状況に応じて取り付け個数を変化させることが可能であることを特徴とする請求項1記載の雑音吸収装置。
  7. 係止部材は異質な電線径においても完全な防水を実現することを特徴とする請求項1記載の雑音吸収装置。
  8. 被覆電線は弾力性を有しており、この弾力性を用いて被覆電線を筐体に完全固定することを特徴とする請求項1記載の雑音吸収装置。
  9. 係止部材は装置本体の端部から外部へ露出した部位の外周に装置本体の貫通孔よりも半径方向外方へ突出したリブを有し、ナット部材を装置本体にねじ込んで係止部材が装置本体の貫通孔に嵌入されることによりリブが半径方向内方へ変位せしめられ、電線保持部材を圧縮変形させることを特徴とする請求項1記載の雑音吸収装置。
  10. 係止部材は両端にリブを有することを特徴とする請求項9記載の雑音吸収装置。
  11. 前記装置本体の被覆電線引き込み口の部分は、複数の電線固定部分を有し、該複数の電線固定部分は前記装置本体の端部において、装置本体寄りの部位の電線固定部分から装置本体から最も離れた部位の電線固定部分にかけて内径が順次小さくなるように設定され、前記電線固定部分は、端部が二股割れ構造に形成され、この二股に分離された辺部を締結部材により締め付け可能であることを特徴とする請求項1記載の雑音吸収装置。
  12. 一の電線固定部分と、これに隣接する部分との間には切溝が形成され、この切溝部分で切離し可能であることを特徴とする請求項11記載の雑音吸収装置。
JP32796298A 1998-11-18 1998-11-18 雑音吸収装置 Expired - Fee Related JP4255152B2 (ja)

Priority Applications (1)

Application Number Priority Date Filing Date Title
JP32796298A JP4255152B2 (ja) 1998-11-18 1998-11-18 雑音吸収装置

Applications Claiming Priority (1)

Application Number Priority Date Filing Date Title
JP32796298A JP4255152B2 (ja) 1998-11-18 1998-11-18 雑音吸収装置

Publications (2)

Publication Number Publication Date
JP2000151176A JP2000151176A (ja) 2000-05-30
JP4255152B2 true JP4255152B2 (ja) 2009-04-15

Family

ID=18204962

Family Applications (1)

Application Number Title Priority Date Filing Date
JP32796298A Expired - Fee Related JP4255152B2 (ja) 1998-11-18 1998-11-18 雑音吸収装置

Country Status (1)

Country Link
JP (1) JP4255152B2 (ja)

Families Citing this family (2)

* Cited by examiner, † Cited by third party
Publication number Priority date Publication date Assignee Title
KR101486783B1 (ko) * 2013-12-30 2015-01-27 주식회사 이레테크 전자파 차폐용 도파관 어셈블리
JP6886892B2 (ja) * 2017-08-21 2021-06-16 デンカエレクトロン株式会社 ケーブルグランド

Also Published As

Publication number Publication date
JP2000151176A (ja) 2000-05-30

Similar Documents

Publication Publication Date Title
US11569704B2 (en) In-wheel motor
JP2010244056A (ja) 相互接続システム
JP2008270213A (ja) 7−16同軸フランジ付きレセプタクル
US20160240982A1 (en) Shield Structure, Shield Shell, and Method for Manufacturing Shield Connector with Electric Wire
US4730890A (en) Plug set for optical connector for optical fiber cables
AU2017281415B2 (en) Enclosure for a connector on a cable
CN101114767A (zh) 电路单元的密封构造
US20020117319A1 (en) Waterproof structure for terminal portion of electric wire provided on housing body for electric components
JP4255152B2 (ja) 雑音吸収装置
CN113540880B (zh) 线缆组件及摄像机
JP5118433B2 (ja) 水中ケーブル用コネクタ
JPH0878098A (ja) 機器直付用シールドコネクタ
JP5331082B2 (ja) コネクタ
JP6894433B2 (ja) カメラモジュール
US20240077097A1 (en) Damping arrangement, component with damping arrangement, corresponding component connection, connecting method and production method
US7347730B2 (en) Grommet
KR200443934Y1 (ko) 배선관용 커넥터
CN216597068U (zh) 线缆组件、接线盒及摄像机
JP2016213053A (ja) パッキン、コネクタ及びワイヤハーネス
US6454602B1 (en) High voltage bulkhead connector
CN111542972B (zh) 连接器
CN111123450B (zh) 用于缆线固定头的适配器以及缆线固定头单元
JPH0633107U (ja) コネクタ組立体
CN222107526U (zh) 一种进出线线缆防护装置
KR20180065504A (ko) 카메라

Legal Events

Date Code Title Description
A621 Written request for application examination

Free format text: JAPANESE INTERMEDIATE CODE: A621

Effective date: 20051025

A131 Notification of reasons for refusal

Free format text: JAPANESE INTERMEDIATE CODE: A131

Effective date: 20081118

A521 Written amendment

Free format text: JAPANESE INTERMEDIATE CODE: A523

Effective date: 20081216

TRDD Decision of grant or rejection written
A01 Written decision to grant a patent or to grant a registration (utility model)

Free format text: JAPANESE INTERMEDIATE CODE: A01

Effective date: 20090120

A01 Written decision to grant a patent or to grant a registration (utility model)

Free format text: JAPANESE INTERMEDIATE CODE: A01

A61 First payment of annual fees (during grant procedure)

Free format text: JAPANESE INTERMEDIATE CODE: A61

Effective date: 20090127

FPAY Renewal fee payment (event date is renewal date of database)

Free format text: PAYMENT UNTIL: 20120206

Year of fee payment: 3

R150 Certificate of patent or registration of utility model

Free format text: JAPANESE INTERMEDIATE CODE: R150

FPAY Renewal fee payment (event date is renewal date of database)

Free format text: PAYMENT UNTIL: 20130206

Year of fee payment: 4

FPAY Renewal fee payment (event date is renewal date of database)

Free format text: PAYMENT UNTIL: 20130206

Year of fee payment: 4

R250 Receipt of annual fees

Free format text: JAPANESE INTERMEDIATE CODE: R250

LAPS Cancellation because of no payment of annual fees