JP4222683B2 - 有機性汚水に含有する窒素成分の脱窒処理方法 - Google Patents
有機性汚水に含有する窒素成分の脱窒処理方法 Download PDFInfo
- Publication number
- JP4222683B2 JP4222683B2 JP12559799A JP12559799A JP4222683B2 JP 4222683 B2 JP4222683 B2 JP 4222683B2 JP 12559799 A JP12559799 A JP 12559799A JP 12559799 A JP12559799 A JP 12559799A JP 4222683 B2 JP4222683 B2 JP 4222683B2
- Authority
- JP
- Japan
- Prior art keywords
- sewage
- nitrogen
- ozone
- tower
- components contained
- Prior art date
- Legal status (The legal status is an assumption and is not a legal conclusion. Google has not performed a legal analysis and makes no representation as to the accuracy of the status listed.)
- Expired - Fee Related
Links
- IJGRMHOSHXDMSA-UHFFFAOYSA-N Atomic nitrogen Chemical compound N#N IJGRMHOSHXDMSA-UHFFFAOYSA-N 0.000 title claims description 50
- 229910052757 nitrogen Inorganic materials 0.000 title claims description 23
- 238000000034 method Methods 0.000 title claims description 16
- 239000002351 wastewater Substances 0.000 title claims description 11
- 239000010865 sewage Substances 0.000 claims description 55
- CBENFWSGALASAD-UHFFFAOYSA-N Ozone Chemical compound [O-][O+]=O CBENFWSGALASAD-UHFFFAOYSA-N 0.000 claims description 45
- XLYOFNOQVPJJNP-UHFFFAOYSA-N water Substances O XLYOFNOQVPJJNP-UHFFFAOYSA-N 0.000 claims description 28
- 238000005868 electrolysis reaction Methods 0.000 claims description 20
- 238000006243 chemical reaction Methods 0.000 claims description 16
- 238000001914 filtration Methods 0.000 claims description 14
- XAGFODPZIPBFFR-UHFFFAOYSA-N aluminium Chemical compound [Al] XAGFODPZIPBFFR-UHFFFAOYSA-N 0.000 claims description 12
- 229910052782 aluminium Inorganic materials 0.000 claims description 12
- XKMRRTOUMJRJIA-UHFFFAOYSA-N ammonia nh3 Chemical compound N.N XKMRRTOUMJRJIA-UHFFFAOYSA-N 0.000 claims description 9
- 239000007788 liquid Substances 0.000 claims description 9
- VSCWAEJMTAWNJL-UHFFFAOYSA-K aluminium trichloride Chemical compound Cl[Al](Cl)Cl VSCWAEJMTAWNJL-UHFFFAOYSA-K 0.000 claims description 8
- GRYLNZFGIOXLOG-UHFFFAOYSA-N Nitric acid Chemical compound O[N+]([O-])=O GRYLNZFGIOXLOG-UHFFFAOYSA-N 0.000 claims description 6
- 210000003608 fece Anatomy 0.000 claims description 6
- 229910017604 nitric acid Inorganic materials 0.000 claims description 6
- 239000006228 supernatant Substances 0.000 claims description 6
- IOVCWXUNBOPUCH-UHFFFAOYSA-N Nitrous acid Chemical compound ON=O IOVCWXUNBOPUCH-UHFFFAOYSA-N 0.000 claims description 5
- JVMRPSJZNHXORP-UHFFFAOYSA-N ON=O.ON=O.ON=O.N Chemical compound ON=O.ON=O.ON=O.N JVMRPSJZNHXORP-UHFFFAOYSA-N 0.000 claims description 5
- 238000007254 oxidation reaction Methods 0.000 claims description 5
- 229910001220 stainless steel Inorganic materials 0.000 claims description 5
- 239000010935 stainless steel Substances 0.000 claims description 5
- 239000002699 waste material Substances 0.000 claims description 5
- MMDJDBSEMBIJBB-UHFFFAOYSA-N [O-][N+]([O-])=O.[O-][N+]([O-])=O.[O-][N+]([O-])=O.[NH6+3] Chemical compound [O-][N+]([O-])=O.[O-][N+]([O-])=O.[O-][N+]([O-])=O.[NH6+3] MMDJDBSEMBIJBB-UHFFFAOYSA-N 0.000 claims description 4
- 239000000919 ceramic Substances 0.000 claims description 4
- 229910001873 dinitrogen Inorganic materials 0.000 claims description 4
- 244000144972 livestock Species 0.000 claims description 4
- KBJMLQFLOWQJNF-UHFFFAOYSA-N nickel(ii) nitrate Chemical compound [Ni+2].[O-][N+]([O-])=O.[O-][N+]([O-])=O KBJMLQFLOWQJNF-UHFFFAOYSA-N 0.000 claims description 4
- 238000000926 separation method Methods 0.000 claims description 3
- 239000007921 spray Substances 0.000 claims description 3
- PXHVJJICTQNCMI-UHFFFAOYSA-N Nickel Chemical compound [Ni] PXHVJJICTQNCMI-UHFFFAOYSA-N 0.000 description 8
- 239000010871 livestock manure Substances 0.000 description 4
- 229910052759 nickel Inorganic materials 0.000 description 4
- MWUXSHHQAYIFBG-UHFFFAOYSA-N nitrogen oxide Inorganic materials O=[N] MWUXSHHQAYIFBG-UHFFFAOYSA-N 0.000 description 3
- 230000002265 prevention Effects 0.000 description 3
- FAPWRFPIFSIZLT-UHFFFAOYSA-M Sodium chloride Chemical compound [Na+].[Cl-] FAPWRFPIFSIZLT-UHFFFAOYSA-M 0.000 description 2
- 238000010586 diagram Methods 0.000 description 2
- 230000000694 effects Effects 0.000 description 2
- 238000002474 experimental method Methods 0.000 description 2
- 239000012466 permeate Substances 0.000 description 2
- 238000004062 sedimentation Methods 0.000 description 2
- 239000010802 sludge Substances 0.000 description 2
- 239000007787 solid Substances 0.000 description 2
- 241000894006 Bacteria Species 0.000 description 1
- BZHJMEDXRYGGRV-UHFFFAOYSA-N Vinyl chloride Chemical compound ClC=C BZHJMEDXRYGGRV-UHFFFAOYSA-N 0.000 description 1
- 238000005273 aeration Methods 0.000 description 1
- 238000007599 discharging Methods 0.000 description 1
- 239000007789 gas Substances 0.000 description 1
- 239000002440 industrial waste Substances 0.000 description 1
- 244000005700 microbiome Species 0.000 description 1
- 239000000203 mixture Substances 0.000 description 1
- QJGQUHMNIGDVPM-UHFFFAOYSA-N nitrogen group Chemical group [N] QJGQUHMNIGDVPM-UHFFFAOYSA-N 0.000 description 1
- 239000005416 organic matter Substances 0.000 description 1
- 229920006395 saturated elastomer Polymers 0.000 description 1
- 239000011780 sodium chloride Substances 0.000 description 1
- 239000000126 substance Substances 0.000 description 1
- 238000005406 washing Methods 0.000 description 1
- 238000004056 waste incineration Methods 0.000 description 1
Images
Classifications
-
- C—CHEMISTRY; METALLURGY
- C02—TREATMENT OF WATER, WASTE WATER, SEWAGE, OR SLUDGE
- C02F—TREATMENT OF WATER, WASTE WATER, SEWAGE, OR SLUDGE
- C02F1/00—Treatment of water, waste water, or sewage
- C02F1/001—Processes for the treatment of water whereby the filtration technique is of importance
-
- C—CHEMISTRY; METALLURGY
- C02—TREATMENT OF WATER, WASTE WATER, SEWAGE, OR SLUDGE
- C02F—TREATMENT OF WATER, WASTE WATER, SEWAGE, OR SLUDGE
- C02F1/00—Treatment of water, waste water, or sewage
- C02F1/46—Treatment of water, waste water, or sewage by electrochemical methods
- C02F1/461—Treatment of water, waste water, or sewage by electrochemical methods by electrolysis
- C02F1/467—Treatment of water, waste water, or sewage by electrochemical methods by electrolysis by electrochemical disinfection; by electrooxydation or by electroreduction
- C02F1/4676—Treatment of water, waste water, or sewage by electrochemical methods by electrolysis by electrochemical disinfection; by electrooxydation or by electroreduction by electroreduction
-
- C—CHEMISTRY; METALLURGY
- C02—TREATMENT OF WATER, WASTE WATER, SEWAGE, OR SLUDGE
- C02F—TREATMENT OF WATER, WASTE WATER, SEWAGE, OR SLUDGE
- C02F1/00—Treatment of water, waste water, or sewage
- C02F1/72—Treatment of water, waste water, or sewage by oxidation
- C02F1/78—Treatment of water, waste water, or sewage by oxidation with ozone
-
- C—CHEMISTRY; METALLURGY
- C02—TREATMENT OF WATER, WASTE WATER, SEWAGE, OR SLUDGE
- C02F—TREATMENT OF WATER, WASTE WATER, SEWAGE, OR SLUDGE
- C02F2101/00—Nature of the contaminant
- C02F2101/10—Inorganic compounds
- C02F2101/16—Nitrogen compounds, e.g. ammonia
-
- C—CHEMISTRY; METALLURGY
- C02—TREATMENT OF WATER, WASTE WATER, SEWAGE, OR SLUDGE
- C02F—TREATMENT OF WATER, WASTE WATER, SEWAGE, OR SLUDGE
- C02F9/00—Multistage treatment of water, waste water or sewage
Landscapes
- Treatment Of Water By Oxidation Or Reduction (AREA)
- Water Treatment By Electricity Or Magnetism (AREA)
Description
【発明の属する技術分野】
本発明は、有機性汚水に含有する窒素成分の脱窒処理方法に係り、詳しくは、埋立地に投棄された廃棄物の焼却灰を浸透して流出した雨水や、固液分離された家畜屎尿の上澄液などの有機性汚水に含有する窒素成分を脱窒するための処理方法に関するものである。
【0002】
【従来の技術】
従来、公害防止対策の一環として、家庭から排出される一般廃棄物や事業所から排出される産業廃棄物は、焼却場で焼却して焼却灰とした後、これを所定の埋立地に投棄して処理しているが、降雨時に雨水が焼却灰に浸透すると、有機性汚水となって流出するため、これを所定の貯留槽に導入し、バクテリア処理を施してから河川に放流している。
【0003】
一方、畜舎から排出される家畜屎尿は、一般に活性汚泥法によって処理されており、具体的には貯留池に貯留した屎尿を曝気槽に送り、好気性微生物を混合して曝気し、屎尿に含有している有機物を酸化分解させた後、これを沈殿池に送って沈殿させ、固液分離した上澄液を河川に放流している。
【0004】
ところが、上記のような有機性汚水には、アンモニア性窒素、硝酸性窒素、亜硝酸性窒素、硝酸および亜硝酸、その他の窒素酸化物が多量に含まれているので、従来のようにバクテリア処理や活性汚泥処理では、有機性汚水に含有する窒素成分を脱窒処理することができず、脱窒処理せずに河川に放流すると、経時的に河川が汚染されて二次ないし三次公害を招き易いため、公害防止対策の見地から上記汚水に対する脱窒処理が要望されている。
【0005】
【発明が解決しようとする課題】
本発明は上記のような要望に応えるべく創案されたものであって、その意図するところは、埋立地に投棄された廃棄物の焼却灰を浸透して流出した雨水や、固液分離された家畜屎尿の上澄液などの有機性汚水に含有する窒素成分を脱窒処理するにあたり、化学的、電気的かつ物理的な一連の手段によって脱窒処理し、もって、二次ないし三次公害を招くことのない清澄水にして河川に放流することができる有機性汚水に含有する窒素成分の脱窒処理方法を提供することを課題とするものである。
【0006】
【課題を解決するための手段】
上記課題を解決するため、本発明が採用した第1の技術手段は、降雨時に廃棄物の焼却灰を浸透して流出した雨水や家畜屎尿を固液分離した上澄み液などの有機性汚水に含有する窒素成分を脱窒処理するにあたり、
(a)上記汚水にオゾンを混合させ、含有窒素成分のうちアンモニア性窒素をオゾンの酸化反応により窒素ガスとして分離除去する第1の工程、
(b)アンモニア性窒素を除去した有機性汚水を電気分解して、含有窒素成分のうち硝酸性窒素、亜硝酸性窒素、硝酸および亜硝酸を除去する第2の工程、
(c)電気分解により脱窒処理した処理水を濾過層に浸透させ、濾過することにより清澄水に処理する第3の工程、
とを包含することを特徴とするものである。
【0007】
本発明が採用した第2の技術手段は、貯留槽に貯留された有機性汚水を汚水導入管でオゾン反応搭に導入するにあたり、上記汚水導入管の導入路に介装したエゼクターを介してオゾン発生機のオゾン供給管を連通接続し、上記汚水の導入過程でオゾンを混合しながらオゾン反応搭に導入し、導入されたオゾン混合汚水の水力で、搭内下方に延設した汚水導入管の下端部に軸支した撹拌器を水平回転させることにより、均一に酸化反応させて処理することを特徴とするものである。
【0008】
本発明が採用した第3の技術手段は、オゾン反応搭からオーバーフローしたオゾン反応済の汚水を汚水導入管により電気分解反応槽の底壁から槽内に導入し、内壁に対向して設けたステンレス製の板状固定陰極と、槽内の中心部に立設したアルミニウム製の回転軸の上下方向に、ニッケル製の板状翼片とアルミニウム製の板状翼片とを所定間隔を存して水平状または垂直状に交差させて軸着してなる陽極とに直流高電圧を印加し、かつ陽極を回転させながら電気分解し、硝酸ニッケルと塩化アルミニウムを析出して処理することを特徴とするものである。
【0009】
本発明が採用した第4の技術手段は、電気分解反応槽からオーバーフローした脱窒処理済の処理水を処理水導入管により濾過搭の上方から搭内に導入し、導入された処理水を搭内の上端部に水平回転自在に設けた噴霧器で噴霧状に放出しながら下方のセラミックス製の濾過層に浸透させ、濾過することにより清澄水に処理することを特徴とするものである。
【0010】
【発明の実施の形態】
本発明の実施の形態を添付図面に基づいて詳細に説明する。図1は脱窒処理方法の工程を示す模式図、図2は脱窒処理方法に使用される電気分解反応槽の縦断面図、図3(A)は同上要部の平面図、同図(B)は同上要部の他の実施例を示す平面図、図4はオゾン発生機の要部斜視図である。先ず図1において、1はオゾン反応搭であて、該オゾン反応搭1はステンレス製の鋼板で円筒状に形成され、その上端部には気泡排出体2が搭内に臨ませた状態で、ギャードモータ3により水平方向回転自在に軸支されているとともに、上端部の一側には気泡排出口4が気泡排出体2の回転軌跡に臨ませて形成されている。
【0011】
5は汚水導入管であって、該汚水導入管5は吸上ポンプP1、流量計6およびエゼクター7を介して有機性汚水を貯留している貯留槽8に連通され、かつオゾン反応搭1の側壁上部を貫通して搭内下方に垂直状に延設されており、その下端部には搭内に導入されたオゾン混合汚水の水力によって水平回転する撹拌器9が軸支されている。10はオゾン反応搭1の下端部に形成された残留汚水の排出栓である。
【0012】
11は電極回転式のオゾン発生機であって、該オゾン発生機11は図4に示すように、回転電極となるシロッコファン12に対応して固定電極13が配設され、両電極間に直流高電圧を印加することによってオゾンを生成させるオゾン生成部14と、シロッコファン12と同軸状に軸支されたモータ15と、オゾン生成部14の空気取入側に設けた吸引口16と、シロッコファン12の回転軌跡の側方に形成したオゾン放出口17とを備え、該オゾン放出口17に一端を装着したオゾン供給管18の他端は前記汚水導入管5の導入路に介装したエゼクター7に連通接続されている。
【0013】
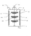
19は電気分解反応槽であって、該電気分解反応槽19な硬質塩化ビニールで円筒状に形成されており、その内壁20には図2ないし図3に示すように、ステンレス製の鋼板で形成された固定陰極21が対向状に張設固定されており、槽内の中心部には上端部に配設されたギヤードモータ22に連動連結されて立設したアルミニウム製の回転軸23に、ニッケル製の板状翼片23aとアルミニウム製の板状翼片23bとを直交状に交差させ、かつ回転軸23に所定の間隔を存して上下方向に水平状(図3(A)参照)、または垂直状(同図(B)参照)に軸着してなる回転陽極24が設けられており、オゾン反応搭1からオーバーフローした汚水を底壁から槽内に導入し、両電極21、24に直流高電圧を印加して、上記汚水を電気分解することにより、含有窒素成分を脱窒処理するように構成されている。
【0014】
25はステンレス製の鋼板で円筒状に形成された濾過搭であって、該濾過搭25の上端部には、電気分解反応槽19から導入された脱窒済処理水を噴霧状に放出する噴霧器26がギヤードモータ27に連動連結された状態で、搭内に臨ませて水平回転自在に軸支されているとともに、上端部の一側には上記噴霧器26の回転軌跡の側方に位置して電気分解反応搭19の上端部に連通する処理水導入管28が形成されている。また、濾過搭1の底部にはセラミックス製の濾過層29が形成されており、該濾過層29に連通して濾過搭25の下端部には放流管30が形成されている。31は放流管30に連通させて配設した逆洗用水栓、P2は逆洗用水栓31に連通接続された吸上ポンプ、32は濾過搭25の上端部に形成された逆洗排水口である。
【0015】
次に本発明の脱窒処理方法について説明する。いま、貯留槽8に貯留されている有機性汚水から含有窒素成分を除去するには、先ず吸上ポンプP1により上記汚水を汚水導入管5によってオゾン反応搭1に導入するとともに、オゾン発生機11のオゾン供給管18からオゾンを供給し、汚水導入管5の導入路に介装したエセクター7を介して汚水にオゾンを混合させながらオゾン搭1の下方に噴射状に導入させる。
【0016】
その際、導入されたオゾン混合汚水の水力によって撹拌器9が水平回転されるので、上記汚水は搭内で万遍なく撹拌されて均一にオゾンと混合し、次のように酸化反応して、含有窒素成分のうちアンモニア性窒素が窒素ガスとして分離除去される。
NH3+RO3→NO2+H2O
なお、オゾン反応搭1への汚水の導入量は、流量計6で制御することができ、また、汚水とオゾンとの混合時に発生する気泡は強制回転する気泡排出体2により気泡排出口4側に送り出されて搭外に排出される。
【0017】
次にオゾン反応搭1からオーバーフローしたアンモニア性窒素を除去された汚水は、汚水導入管5を介して電気分解反応槽19の底壁から槽内に導入される。槽内ではステンレス製の鋼板からなる固定電極21と、アルミニウム製の回転軸23に軸着されたニッケル製の板状翼遍23aとアルミニウム製の板状翼片23bとからなる回転電極24に直流高電圧が印加されているので、導入された汚水は電気分解される。
【0018】
その際、回転軸23の回転にともなって、汚水はニッケル製の板状翼片23aとアルミニウム製の板状翼片23bとにより撹拌作用を受けながら槽内を対流するので、通電効率が向上されるとともに、電気分解が均一におこなわれる。その結果、陽極24のニッケル製の板状翼片23a付近では、汚水は次のように反応して硝酸ニッケルが析出される。
3Ni+8HNO3→3Ni(NO3)2+2NO+4H2O
また、アルミニウム製の板状翼片23b付近では、汚水は次のように反応して塩化アルミニウムが析出される。
Al+3Cl→Al(Cl)3
したがって、電気分解後の汚水から、硝酸ニッケル、塩化アルミニウムのフロッグを除去することによって、上記汚水に含有している硝酸性窒素、亜硝酸性窒素、硝酸および亜硝酸等の窒素成分を脱窒することができる。
なお、電気分解するに際し、汚水に塩化ナトリウムを3〜5%(重量比)注入すると、電気分解がより一層促進されることが実験により確認された。
【0019】
更に電気分解反応槽19からオーバーフローした脱窒処理済の処理水は、処理水導入管28を介して濾過搭25の上方から搭内に導入される。そして、導入された処理水は搭内の上端部に水平回転自在に設けた噴霧器26により噴霧状に放出されながら下方のセラミックス製の濾過層29に浸透して濾過されるので、濾過された処理水は清澄水となって放流管30から放流される。
なお、実験によれば、貯留槽8に貯留されている有機性汚水のHNO3−Nは105ppmであったが、本発明によって脱膣処理されて放流管30から放流された最終処理水のHNO3−Nは20ppmであることが確認された。
【0020】
なお、有機性汚水の脱窒処理を継続的に行うと、濾過層29に目詰まりなどが誘発して濾過効率が減退し濾過作用が飽和状態となる惧れがある。そこで、このような場合には、吸上ポンプP2により、適宜の水源(図示せず)から洗浄水を逆洗用水栓31から濾過搭25に流入して洗浄し、逆洗排水口32から洗浄水を搭外に排出すればよい。
【0021】
【発明の効果】
これを要するに本発明は、降雨時に廃棄物の焼却灰を浸透して流出した雨水や家畜屎尿を固液分離した上澄液などの有機性汚水から含有窒素成分を脱窒処理するにあたり、先ず有機性汚水にオゾンを混合させ、オゾンの酸化反応により含有窒素成分のうちアンモニア性窒素を窒素ガスとして分離除去し、次いでアンモニア性窒素を除去した有機性汚水を電気分解して含有窒素成分のうち硝酸性窒素、亜硝酸性窒素、硝酸および亜硝酸を除去し、更に電気分解により脱窒処理した処理水を濾過層に浸透させて濾過することにより清澄水に処理したものであるから、有機性汚水に含有する窒素成分の脱窒が効率良く確実にでき、しかも操作が簡単でメンテナンスも容易にでき、そのうえ最終処理水の放流に際しては河川の汚染を招く惧れもないから、公害防止に大きく寄与することができる効果を奏する。
【図面の簡単な説明】
【図1】脱窒処理方法の工程を示す模式図
【図2】電気分解反応槽の縦断面図
【図3】(A)同上要部の平面図
(B)同上要部の他の実施例を示す平面図
【図4】オゾン発生機の腰部斜視図
【符号の説明】
1 オゾン反応搭
5 汚水導入管
7 エゼクター
8 貯留槽
9 撹拌器
11 オゾン発生機
18 オゾン供給管
19 電気分解反応槽
21 固定陰極
24 回転陽極
25 濾過搭
26 噴霧器
28 処理水導入管
29 濾過層
Claims (4)
- 降雨時に廃棄物の焼却灰を浸透して流出した雨水や家畜屎尿を固液分離した上澄液などの有機性汚水に含有する窒素成分を脱窒処理するにあたり、
(a)上記汚水にオゾンを混合させ、含有窒素成分のうちアンモニア性窒素をオゾンの酸化反応により窒素ガスとして分離除去する第1の工程、
(b)アンモニア性窒素を除去した有機性汚水を電気分解して、含有窒素成分のうち硝酸性窒素、亜硝酸性窒素、硝酸および亜硝酸を除去する第2の工程、
(c)電気分解により脱窒処理した処理水を濾過層に浸透させ、濾過することにより清澄水に処理する第3の工程、
とを包含することを特徴とする有機性汚水に含有する窒素成分の脱窒処理方法。 - 上記第1の工程は、貯留槽に貯留された有機性汚水を汚水導入管でオゾン反応搭に導入するにあたり、上記汚水導入管の導入路に介装したエゼクターを介してオゾン発生機のオゾン供給管を連通接続し、上記汚水の導入過程でオゾンを混合しながらオゾン反応搭に導入し、導入されたオゾン混合汚水の水力で、搭内下方に延設した汚水導入管の下端部に軸支した撹拌器を水平回転させることにより、均一に酸化反応させて処理することを特徴とする請求項1記載の有機性汚水に含有する窒素成分の脱窒処理方法。
- 上記第2の工程は、オゾン反応搭からオーバーフローしたオゾン反応済の汚水を汚水導入管により電気分解反応槽の底壁から槽内に導入し、内壁に対向して設けたステンレス製の板状固定陰極と、槽内の中心部に立設したアルミニウム製の回転軸の上下方向に、ニッケル製の板状翼片とアルミニウム製の板状翼片とを所定間隔を存して水平状または垂直状に交差させて軸着してなる陽極とに直流高電圧を印加し、かつ陽極を回転させながら電気分解し、硝酸ニッケルと塩化アルミニウムを析出して処理することを特徴とする請求項1記載の有機性汚水に含有する窒素成分の脱窒処理方法。
- 上記第3の工程は、電気分解反応槽からオーバーフローした脱窒処理済の処理水を処理水導入管により濾過搭の上方から搭内に導入し、導入された処理水を搭内の上端部に水平回転自在に設けた噴霧器で噴霧状に放出しながら下方のセラミックス製の濾過層に浸透させ、濾過することにより清澄水に処理することを特徴とする請求項1記載の有機性汚水に含有する窒素成分の脱窒処理方法。
Priority Applications (1)
| Application Number | Priority Date | Filing Date | Title |
|---|---|---|---|
| JP12559799A JP4222683B2 (ja) | 1999-05-06 | 1999-05-06 | 有機性汚水に含有する窒素成分の脱窒処理方法 |
Applications Claiming Priority (1)
| Application Number | Priority Date | Filing Date | Title |
|---|---|---|---|
| JP12559799A JP4222683B2 (ja) | 1999-05-06 | 1999-05-06 | 有機性汚水に含有する窒素成分の脱窒処理方法 |
Publications (2)
| Publication Number | Publication Date |
|---|---|
| JP2000317494A JP2000317494A (ja) | 2000-11-21 |
| JP4222683B2 true JP4222683B2 (ja) | 2009-02-12 |
Family
ID=14914092
Family Applications (1)
| Application Number | Title | Priority Date | Filing Date |
|---|---|---|---|
| JP12559799A Expired - Fee Related JP4222683B2 (ja) | 1999-05-06 | 1999-05-06 | 有機性汚水に含有する窒素成分の脱窒処理方法 |
Country Status (1)
| Country | Link |
|---|---|
| JP (1) | JP4222683B2 (ja) |
Families Citing this family (4)
| Publication number | Priority date | Publication date | Assignee | Title |
|---|---|---|---|---|
| JP3530511B2 (ja) | 2001-09-19 | 2004-05-24 | 三洋電機株式会社 | 窒素処理方法及び窒素処理システム |
| JP2003164877A (ja) * | 2001-12-03 | 2003-06-10 | Sanyo Electric Co Ltd | 窒素処理方法 |
| CN111807590B (zh) * | 2019-04-12 | 2022-03-08 | 江苏南大环保科技有限公司 | 一种煤化工高氨氮废水危险废弃物豁免的资源化处理方法 |
| CN114262103A (zh) * | 2021-12-14 | 2022-04-01 | 深圳市腾浪再生资源发展有限公司 | 一种餐厨垃圾废水脱氮装置 |
-
1999
- 1999-05-06 JP JP12559799A patent/JP4222683B2/ja not_active Expired - Fee Related
Also Published As
| Publication number | Publication date |
|---|---|
| JP2000317494A (ja) | 2000-11-21 |
Similar Documents
| Publication | Publication Date | Title |
|---|---|---|
| CN102139990B (zh) | 垃圾渗透液超声波组合废水处理工艺及其处理系统 | |
| US20210323853A1 (en) | Plasma denitrification device and operating method thereof | |
| CN106396270A (zh) | 一种高浓度制药废水处理系统及处理方法 | |
| CN104291503B (zh) | 海上平台生活污水电催化氧化处理方法及处理系统 | |
| KR100906742B1 (ko) | 초음파전해 침전조와 복합상향여과막 분리조를 포함하는 구성의 오,폐수 처리방법 및 그 장치 | |
| CN110143774A (zh) | 海砂净化系统 | |
| WO2007089168A1 (fr) | Procédé auto-régulateur d'épuration des eaux usées et dispositif de mise en oeuvre de ce procédé | |
| CN104310718A (zh) | 高浓度难降解有机废水处理装置及方法 | |
| CN108911318A (zh) | 一种黑臭水体的净化装置和净化方法 | |
| CN203653393U (zh) | 一种垃圾渗滤液处理装置 | |
| CN109534620A (zh) | 臭氧催化氧化与曝气生物活性炭滤池污水深度处理装置 | |
| JP2005007385A (ja) | 生ゴミ処理システム | |
| KR20130131613A (ko) | 폐수 응집 처리장치 | |
| JP2002177990A (ja) | 浄水方法および浄水装置 | |
| JP4222683B2 (ja) | 有機性汚水に含有する窒素成分の脱窒処理方法 | |
| CN104193077B (zh) | 一种carrousel氧化沟降解有机废水的装置及方法 | |
| CN103991993B (zh) | 一种电加工污水净化循环回用系统 | |
| JPH09192688A (ja) | 汚水の間欠曝気処理方法 | |
| CN217127002U (zh) | 一种用于难降解废水预处理微电解反应装置 | |
| KR200179798Y1 (ko) | 제올라이트 코팅자석 촉매를 이용한 초음파 결합 고밀도 플라즈마 폐수처리장치 | |
| CN205528266U (zh) | 一种中水回用污水处理设备 | |
| CN205603384U (zh) | 一种压裂返排液、洗井液、三次采油含聚废液的处理装置 | |
| CN212076675U (zh) | 一种环保型工业废水处理回收利用装置 | |
| RU2279407C1 (ru) | Способ глубокой биологической очистки сточных вод и устройство для его осуществления | |
| CN203878006U (zh) | 电加工污水净化循环回用系统 |
Legal Events
| Date | Code | Title | Description |
|---|---|---|---|
| A621 | Written request for application examination |
Free format text: JAPANESE INTERMEDIATE CODE: A621 Effective date: 20051213 |
|
| TRDD | Decision of grant or rejection written | ||
| A01 | Written decision to grant a patent or to grant a registration (utility model) |
Free format text: JAPANESE INTERMEDIATE CODE: A01 Effective date: 20081104 |
|
| A01 | Written decision to grant a patent or to grant a registration (utility model) |
Free format text: JAPANESE INTERMEDIATE CODE: A01 |
|
| A61 | First payment of annual fees (during grant procedure) |
Free format text: JAPANESE INTERMEDIATE CODE: A61 Effective date: 20081118 |
|
| R150 | Certificate of patent or registration of utility model |
Free format text: JAPANESE INTERMEDIATE CODE: R150 |
|
| FPAY | Renewal fee payment (event date is renewal date of database) |
Free format text: PAYMENT UNTIL: 20111128 Year of fee payment: 3 |
|
| FPAY | Renewal fee payment (event date is renewal date of database) |
Free format text: PAYMENT UNTIL: 20121128 Year of fee payment: 4 |
|
| LAPS | Cancellation because of no payment of annual fees |