JP4134619B2 - ボールねじ装置 - Google Patents

ボールねじ装置 Download PDF

Info

Publication number
JP4134619B2
JP4134619B2 JP2002208151A JP2002208151A JP4134619B2 JP 4134619 B2 JP4134619 B2 JP 4134619B2 JP 2002208151 A JP2002208151 A JP 2002208151A JP 2002208151 A JP2002208151 A JP 2002208151A JP 4134619 B2 JP4134619 B2 JP 4134619B2
Authority
JP
Japan
Prior art keywords
nut
ball
path
peripheral surface
axial
Prior art date
Legal status (The legal status is an assumption and is not a legal conclusion. Google has not performed a legal analysis and makes no representation as to the accuracy of the status listed.)
Expired - Fee Related
Application number
JP2002208151A
Other languages
English (en)
Other versions
JP2004052834A (ja
Inventor
昌弘 井上
桂 小八木
Current Assignee (The listed assignees may be inaccurate. Google has not performed a legal analysis and makes no representation or warranty as to the accuracy of the list.)
JTEKT Corp
Original Assignee
JTEKT Corp
Priority date (The priority date is an assumption and is not a legal conclusion. Google has not performed a legal analysis and makes no representation as to the accuracy of the date listed.)
Filing date
Publication date
Application filed by JTEKT Corp filed Critical JTEKT Corp
Priority to JP2002208151A priority Critical patent/JP4134619B2/ja
Publication of JP2004052834A publication Critical patent/JP2004052834A/ja
Application granted granted Critical
Publication of JP4134619B2 publication Critical patent/JP4134619B2/ja
Anticipated expiration legal-status Critical
Expired - Fee Related legal-status Critical Current

Links

Images

Classifications

    • FMECHANICAL ENGINEERING; LIGHTING; HEATING; WEAPONS; BLASTING
    • F16ENGINEERING ELEMENTS AND UNITS; GENERAL MEASURES FOR PRODUCING AND MAINTAINING EFFECTIVE FUNCTIONING OF MACHINES OR INSTALLATIONS; THERMAL INSULATION IN GENERAL
    • F16HGEARING
    • F16H25/00Gearings comprising primarily only cams, cam-followers and screw-and-nut mechanisms
    • F16H25/18Gearings comprising primarily only cams, cam-followers and screw-and-nut mechanisms for conveying or interconverting oscillating or reciprocating motions
    • F16H25/20Screw mechanisms
    • F16H25/22Screw mechanisms with balls, rollers, or similar members between the co-operating parts; Elements essential to the use of such members
    • F16H25/2204Screw mechanisms with balls, rollers, or similar members between the co-operating parts; Elements essential to the use of such members with balls
    • F16H25/2214Screw mechanisms with balls, rollers, or similar members between the co-operating parts; Elements essential to the use of such members with balls with elements for guiding the circulating balls
    • F16H25/2219Axially mounted end-deflectors

Landscapes

  • Engineering & Computer Science (AREA)
  • General Engineering & Computer Science (AREA)
  • Mechanical Engineering (AREA)
  • Transmission Devices (AREA)

Description

【0001】
【発明の属する技術分野】
本発明は、エンドキャップ式のボールねじ装置に関する。
【0002】
【従来の技術】
エンドキャップ式のボールねじ装置は、外周面に螺旋溝を有するねじ軸と、内周面にねじ軸の螺旋溝に相対する螺旋溝を有したナットと、ナットの両端に装着した一対のエンドキャップとから構成されている。
【0003】
ねじ軸とナットは、各々の相対する螺旋溝内を転動するボールによって螺合している。ボールは、相対する螺旋溝、一方のエンドキャップの転換路、ナットの戻し通路、他方のエンドキャップの転換路を転動して循環する。
【0004】
【発明が解決しようとする課題】
ナットの両端には、共通構造のエンドキャップが対称に装着されている。このため、エンドキャップの転換路は、螺旋溝を転動するボールをすくい上げてナットの戻し通路に送る機能と、戻し通路を通って戻されたボールを螺旋溝に送る機能とを含むことから、構造が複雑となり、エンドミル加工等による複雑な加工が必要であった。
【0005】
このように、転換路の加工が困難であることから、エンドキャップは大量生産に適しておらず、エンドキャップ式のボールねじ装置は高価になるという問題があった。
【0006】
【課題を解決するための手段】
本発明のボールねじ装置は、外周面に螺旋溝が形成されたねじ軸と、軸方向中央部に外径側に膨出した大径部を有すると共に、内周面に前記ねじ軸の螺旋溝に相対する螺旋溝を有し、かつ、前記大径部に軸方向に貫通した戻し通路を有したナットと、前記ナットの両端小径部に外嵌装着され、前記相対する両螺旋溝と前記戻し通路の間を連通する転換路を有した一対のエンドキャップと、前記相対する両螺旋溝、前記転換路および戻し通路を転動しつつ循環可能に介装された多数のボールとを含み、前記転換路が、前記相対する両螺旋溝に連通し略周方向に延びる断面円弧状の周方向軌道部と、前記周方向軌道部と前記戻し通路の間を連通し軸方向に延びる断面円弧状の軸方向軌道部とからなり、前記ナットの小径部の軸方向端面が前記転換路の周方向軌道部を転動するボールの内側軌道を兼用し、前記ナットの小径部の外周面が前記転換路の軸方向軌道部を転動するボールの内側軌道を兼用し、前記ナットの小径部の軸方向端面と外周面とで構成される角部に、軸方向端面に対してθ 1 の角度で直線状に延びる平面部と、外周面に対してθ 2 の角度で直線状に延びる平面部と、両平面部間をつなぐアール部とからなる面取部が形成されているものである。
【0008】
本発明のボールねじ装置によると、ナットの小径部外面が、エンドキャップの転換路を転動するボールの内側軌道を兼用している。すなわち、エンドキャップの転換路は、ボールの外側軌道を構成するものであればよく、構造が簡単となり、大量生産により安価なエンドキャップ式のボールねじ装置を提供できる。
【0011】
また、ナットの小径部の角部に、一対の平面部とアール部とからなる面取部を形成したことで、小径部の軸方向端面、面取部、小径部の外周面に沿って転動するボールの動きが円滑となる。
より好ましくは、15°≦θ 1 ≦20°、かつ、15°≦θ 2 ≦20°とし、ボールの直径をBdとすると、前記アール部の半径rを、r≧Bd/3とする。
【0012】
【発明の実施の形態】
本発明の実施の形態を図1ないし図17を用いて説明する。
【0013】
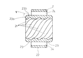
図1はボールねじ装置の組立状態の斜視図、図2はボールねじ装置の分解斜視図、図3はナットの断面図、図4はナットの正面図、図5は図3のV部分の拡大図、図6,7はエンドキャップの斜視図、図8はエンドキャップの内側面図、図9はエンドキャップの外側面図、図10は図8のX-X断面図、図11は図8のXI-XI断面図、図12は図9のXII-XII断面図、図13はエンドキャップの側面図、図14,15はボールねじ装置の断面図、図16はボールの軌跡を示す図、図17は図15のXVII部分の拡大図である。
【0014】
本実施の形態のボールねじ装置は、ねじ軸1、ナット2、一対のエンドキャップ3,3、ボール4、連結具5にて構成されている。
【0015】
ナット2は、例えば、合成樹脂や金属にて形成されている。エンドキャップ3は、例えば、合成樹脂にて形成されている。
【0016】
ねじ軸1の外周面には、4条の螺旋溝11が形成されている。
【0017】
ナット2は、図3および図4に示すように、筒状に形成されている。ナット2の内周面には、ねじ軸1の螺旋溝11に対向する4条の螺旋溝21が形成されている。ナット2は、軸方向中央の大径部22と、軸方向両端の小径部23,23とから構成されている。大径部22には、各々軸方向に穿孔し周方向等間隔に配置した4本の戻し通路24と、各々軸方向に貫通し周方向等間隔に配置した4本の連結具取付孔25とが、周方向交互に設けられている。
【0018】
戻し通路24は、径方向内端が小径部23の外周面23bと面一となるように形成されており、ボール4が円滑に戻し通路24に出入りするように構成されている。あるいは、ボール4の出入りに影響がない程度に、戻し通路24の径方向内端を小径部23の外周面23bより若干外径側に位置させ、大径部22に戻し通路24を穿孔する際に、小径部23の外周面23bが削られないようにしてもよい。
【0019】
ナット2の両小径部23の肩部は、図5に示すように形成されている。小径部23の軸方向端面23aにおいて肩部のコーナからL1の区間と、小径部23の外周面23bにおいて肩部のコーナからL2の区間において、全周に渡って面取部7が形成されている。
【0020】
ボール4の直径をBdとすると、
1≧Bd/3
2≧Bd/3
となる。
【0021】
面取部7は、小径部23の軸方向端面23aに対してθ1の角度で直線状に延びる平面部71と、小径部23の外周面23bに対してθ2の角度で直線状に延びる平面部72と、両平面部71,72間をつなぐアール部73とからなる。
【0022】
角度θ1,θ2は、
15°≦θ1≦20°
15°≦θ2≦20°
であり、アール部73の半径rは、
r≧Bd/3
となる。
【0023】
一対のエンドキャップ3,3は、各々同一形状に形成され、ナット2の両小径部23,23に軸方向対称に外嵌される。
【0024】
各エンドキャップ3は、図6ないし図13に示すように、軸方向内側面にナット2の両小径部23が嵌合可能な凹部31を有し、中心にはねじ軸1が貫通可能な貫通穴32を有している。エンドキャップ3の内面には、4本の転換路33が周方向等間隔に形成されている。また、各々軸方向に貫通し周方向等間隔に配置した4本の連結具挿通孔34が形成されている。
【0025】
エンドキャップ3の各転換路33は、ねじ軸1の4条のねじ溝11と、ナット2の4条のねじ溝21とで構成される4条の転送路6に、それぞれ連通し略周方向に延びる周方向軌道部331と、周方向軌道部331と戻し通路24の間を連通し軸方向に延びる軸方向軌道部332とからなる。
【0026】
周方向軌道部331ならびに軸方向軌道部332は、各軌道部331,332を転動するボール4の外側軌道となるように断面円弧状に形成されている。
【0027】
周方向軌道部331は、螺旋溝11,21のピッチ角と同じ角度にて直線状に延びる内側部331aと、内側部331aから径方向外向きに延びると共に軸方向に湾曲して軸方向軌道部332に連通した外側部331bとからなる。
【0028】
内側部331aの内端には、リップ35が形成されている。リップ35は、ねじ軸1の螺旋溝11に入り込み、補強のために螺旋溝11に沿う方向に所定の厚みを有している。
【0029】
ナット2の両小径部23,23に各々エンドキャップ3,3を外嵌し、両エンドキャップ3,3の外側から連結具5を連結具挿通孔34に挿通させ、ナット2の連結具取付孔25内にて結合させる。これにより、各エンドキャップ3の転換路33とナット2の戻し通路24が連通された状態にて、ナット2と両エンドキャップ3が結合される。
【0030】
図14に示すように、ねじ軸1を、エンドキャップ3の貫通穴32ならびにナット2に挿通させる。4条の転送路6にそれぞれ多数のボール4を介装させる。ねじ軸1とナット2は、転送路6内を転動するボール4によって螺合している。
【0031】
図15に示すように、各エンドキャップ3の4本の転換路33は、各々対応する転送路6と戻し通路24とに連通しており、各転送路6に介装されたボール4は、それぞれ対応する転換路33ならびに戻し通路24を転動しつつ循環する。
【0032】
図16は、4条のボール軌跡a,b,c,dを示している。
【0033】
転送路6を転動するボール4は、転動方向のエンドキャップ3のリップ35の先端35aにて、周方向軌道部331内にすくい上げられる。ボール4は、内側部331aから外側部331bに沿って径方向に転動した後、軸方向軌道部332に沿って軸方向に転動する。そして、ナット2の戻し通路24を通って反対側のエンドキャップ3の軸方向軌道部332に達する。その後、周方向軌道部331に沿って転動し、リップ35の先端35aから転送路6に戻る。
【0034】
図17に示すように、ナット2の小径部23の軸方向端面23aが、転換路33の周方向軌道部331を転動するボール4の内側軌道を兼用している。また、ナット2の小径部23の外周面23bが、転換路33の軸方向軌道部332を転動するボール4の内側軌道を兼用している。
【0035】
すなわち、周方向軌道部331ならびに軸方向軌道部332は、ボール4の外側軌道を構成する断面円弧状に形成されている。このように、エンドキャップ3の転換路33は、ボール4の外側軌道を構成するものであればよく、構造が簡単となり、大量生産により安価なエンドキャップ式のボールねじ装置を提供できる。
【0036】
転換路33は、図8に示すように、軸方向に開口している。よって、切削工具を軸方向に対して直交する面内にて移動させながら、軸方向から容易に転換路33を切削加工できる。具体的には、刃形状が転換路33の断面形状に相当するエンドミルを用い、フライス削りにて加工することができる。
【0037】
ナット2の両小径部23の肩部には、全周に渡って平面部71,72とアール部73とからなる面取部7が形成されており、小径部23の軸方向端面23a、面取部7、小径部23の外周面23bに沿って転動するボール4の動きが円滑となり、面取部7の研磨加工も容易に行える。
【0038】
なお、ボール4は4条に限らない。エンドキャップ3の転換路33は、転送路6と戻し通路24の間を連通し、ボール4の外側軌道を構成するものであればよく、特に形状は限定されない。
【0039】
【発明の効果】
本発明のボールねじ装置によると、ナットの外面が、エンドキャップの転換路を転動するボールの内側軌道を兼用している。すなわち、エンドキャップの転換路は、ボールの外側軌道を構成するものであればよく、構造が簡単となり、大量生産により安価なエンドキャップ式のボールねじ装置を提供できるという効果が得られる。
【図面の簡単な説明】
【図1】本発明の実施の形態におけるボールねじ装置の組立状態の斜視図
【図2】図1のボールねじ装置の分解斜視図
【図3】図1のボールねじ装置におけるナットの断面図
【図4】図1のボールねじ装置におけるナットの正面図
【図5】図3のV部分の拡大図
【図6】図1のボールねじ装置におけるエンドキャップの斜視図
【図7】図1のボールねじ装置におけるエンドキャップの斜視図
【図8】図1のボールねじ装置におけるエンドキャップの内側面図
【図9】図1のボールねじ装置におけるエンドキャップの外側面図
【図10】図8のX-X断面図
【図11】図8のXI-XI断面図
【図12】図9のXII-XII断面図
【図13】図1のボールねじ装置におけるエンドキャップの側面図
【図14】図1のボールねじ装置の断面図
【図15】図1のボールねじ装置の断面図
【図16】図1のボールねじ装置におけるボールの軌跡を示す図
【図17】図15のXVII部分の拡大図
【符号の説明】
1 ねじ軸
2 ナット
3 エンドキャップ
4 ボール
7 面取部
11,21 螺旋溝
22 大径部
23 小径部
23a 軸方向端面
23b 外周面
24 戻し通路
33 転換路
71,72 平面部
73 アール部
331 周方向軌道部
331a 内側部
331b 外側部
332 軸方向軌道部

Claims (2)

  1. 外周面に螺旋溝が形成されたねじ軸と、
    軸方向中央部に外径側に膨出した大径部を有すると共に、内周面に前記ねじ軸の螺旋溝に相対する螺旋溝を有し、かつ、前記大径部に軸方向に貫通した戻し通路を有したナットと、
    前記ナットの両端小径部に外嵌装着され、前記相対する両螺旋溝と前記戻し通路の間を連通する転換路を有した一対のエンドキャップと、
    前記相対する両螺旋溝、前記転換路および戻し通路を転動しつつ循環可能に介装された多数のボールとを含み、
    前記転換路が、前記相対する両螺旋溝に連通し略周方向に延びる断面円弧状の周方向軌道部と、前記周方向軌道部と前記戻し通路の間を連通し軸方向に延びる断面円弧状の軸方向軌道部とからなり、
    前記ナットの小径部の軸方向端面が前記転換路の周方向軌道部を転動するボールの内側軌道を兼用し、前記ナットの小径部の外周面が前記転換路の軸方向軌道部を転動するボールの内側軌道を兼用し、
    前記ナットの小径部の軸方向端面と外周面とで構成される角部に、軸方向端面に対してθ 1 の角度で直線状に延びる平面部と、外周面に対してθ 2 の角度で直線状に延びる平面部と、両平面部間をつなぐアール部とからなる面取部が形成されている、ことを特徴とするボールねじ装置。
  2. 請求項1記載のボールねじ装置において、
    15°≦θ 1 ≦20°
    15°≦θ 2 ≦20°
    ボールの直径をBdとすると、前記アール部の半径rは、
    r≧Bd/3
    であることを特徴とするボールねじ装置。
JP2002208151A 2002-07-17 2002-07-17 ボールねじ装置 Expired - Fee Related JP4134619B2 (ja)

Priority Applications (1)

Application Number Priority Date Filing Date Title
JP2002208151A JP4134619B2 (ja) 2002-07-17 2002-07-17 ボールねじ装置

Applications Claiming Priority (1)

Application Number Priority Date Filing Date Title
JP2002208151A JP4134619B2 (ja) 2002-07-17 2002-07-17 ボールねじ装置

Publications (2)

Publication Number Publication Date
JP2004052834A JP2004052834A (ja) 2004-02-19
JP4134619B2 true JP4134619B2 (ja) 2008-08-20

Family

ID=31932378

Family Applications (1)

Application Number Title Priority Date Filing Date
JP2002208151A Expired - Fee Related JP4134619B2 (ja) 2002-07-17 2002-07-17 ボールねじ装置

Country Status (1)

Country Link
JP (1) JP4134619B2 (ja)

Cited By (1)

* Cited by examiner, † Cited by third party
Publication number Priority date Publication date Assignee Title
KR20200001648U (ko) * 2019-01-15 2020-07-24 하이윈 테크놀로지스 코포레이션 다판식 엔드 캡의 볼 스크류

Families Citing this family (1)

* Cited by examiner, † Cited by third party
Publication number Priority date Publication date Assignee Title
JP3220236U (ja) * 2018-12-10 2019-02-21 上銀科技股▲分▼有限公司 複数片型端蓋を備えたボールねじ

Cited By (2)

* Cited by examiner, † Cited by third party
Publication number Priority date Publication date Assignee Title
KR20200001648U (ko) * 2019-01-15 2020-07-24 하이윈 테크놀로지스 코포레이션 다판식 엔드 캡의 볼 스크류
KR200493094Y1 (ko) * 2019-01-15 2021-02-01 하이윈 테크놀로지스 코포레이션 다판식 엔드 캡의 볼 스크류

Also Published As

Publication number Publication date
JP2004052834A (ja) 2004-02-19

Similar Documents

Publication Publication Date Title
US4254639A (en) Limited sliding ball spline assembly
EP2515000B1 (en) Ball screw assembly with recirculating cap and nut
JP5132547B2 (ja) ボールねじ装置
JP5265379B2 (ja) ボールスプライン装置
GB2366349A (en) Ball screw
US4127309A (en) Unlimited sliding ball spline assembly
JP2009103228A (ja) ボールスプライン付きボールねじ
US4480879A (en) Rolling bearing arrangement for lengthwise movement of a housing on one or two mutually parallel rails
JPS62237113A (ja) ボ−ルスプライン軸受
JP4476286B2 (ja) 複合転がり軸受
JP4134619B2 (ja) ボールねじ装置
EP2514997B1 (en) Ball screw assembly
EP1607658B1 (en) Ball screw device
JPH0629554Y2 (ja) ボールねじ
WO2005066511A1 (ja) ボールスプライン
US5474389A (en) Low friction roller bearing
JP2012112432A (ja) リターンチューブ及びその製造方法、並びにボールねじ
JPH025145Y2 (ja)
EP1925852B1 (en) Rolling-element screw device and method of assembling the same
JP7327890B2 (ja) ボールねじ装置
JP2004084743A (ja) ボールねじ装置
CN105782256B (zh) 大滑移量联轴节
EP2514998A1 (en) Ball screw assembly with recirculating cap
JP3234685U (ja) 多種の条数タイプに適用可能なエンドキャップ式ボールねじ
US6840863B2 (en) Needle roller retention design for tripot joint

Legal Events

Date Code Title Description
A621 Written request for application examination

Free format text: JAPANESE INTERMEDIATE CODE: A621

Effective date: 20050318

A977 Report on retrieval

Free format text: JAPANESE INTERMEDIATE CODE: A971007

Effective date: 20071116

A131 Notification of reasons for refusal

Free format text: JAPANESE INTERMEDIATE CODE: A131

Effective date: 20071127

A521 Written amendment

Free format text: JAPANESE INTERMEDIATE CODE: A523

Effective date: 20080124

TRDD Decision of grant or rejection written
A01 Written decision to grant a patent or to grant a registration (utility model)

Free format text: JAPANESE INTERMEDIATE CODE: A01

Effective date: 20080507

A01 Written decision to grant a patent or to grant a registration (utility model)

Free format text: JAPANESE INTERMEDIATE CODE: A01

A61 First payment of annual fees (during grant procedure)

Free format text: JAPANESE INTERMEDIATE CODE: A61

Effective date: 20080520

R150 Certificate of patent or registration of utility model

Free format text: JAPANESE INTERMEDIATE CODE: R150

FPAY Renewal fee payment (event date is renewal date of database)

Free format text: PAYMENT UNTIL: 20110613

Year of fee payment: 3

FPAY Renewal fee payment (event date is renewal date of database)

Free format text: PAYMENT UNTIL: 20120613

Year of fee payment: 4

FPAY Renewal fee payment (event date is renewal date of database)

Free format text: PAYMENT UNTIL: 20120613

Year of fee payment: 4

FPAY Renewal fee payment (event date is renewal date of database)

Free format text: PAYMENT UNTIL: 20130613

Year of fee payment: 5

LAPS Cancellation because of no payment of annual fees