JP4124946B2 - こんろバーナ - Google Patents
こんろバーナ Download PDFInfo
- Publication number
- JP4124946B2 JP4124946B2 JP2000218681A JP2000218681A JP4124946B2 JP 4124946 B2 JP4124946 B2 JP 4124946B2 JP 2000218681 A JP2000218681 A JP 2000218681A JP 2000218681 A JP2000218681 A JP 2000218681A JP 4124946 B2 JP4124946 B2 JP 4124946B2
- Authority
- JP
- Japan
- Prior art keywords
- flame
- burner
- annular flange
- flow
- angle
- Prior art date
- Legal status (The legal status is an assumption and is not a legal conclusion. Google has not performed a legal analysis and makes no representation as to the accuracy of the status listed.)
- Expired - Fee Related
Links
- 239000000203 mixture Substances 0.000 claims description 23
- 239000000446 fuel Substances 0.000 claims description 19
- 238000010411 cooking Methods 0.000 description 2
- 230000000694 effects Effects 0.000 description 2
- 230000015572 biosynthetic process Effects 0.000 description 1
- 238000002485 combustion reaction Methods 0.000 description 1
- 230000006866 deterioration Effects 0.000 description 1
- 238000010586 diagram Methods 0.000 description 1
- 230000002093 peripheral effect Effects 0.000 description 1
Images
Landscapes
- Gas Burners (AREA)
Description
【発明の属する技術分野】
この発明は、テーブルこんろ等の調理用こんろに用いる高効率のこんろバーナに関する。
【0002】
【従来の技術】
従来のこの種のこんろバーナは、たとえば、図7及び図8に例示されているように、バーナ本体AとバーナヘッドBを組み合わせて周縁に形成される多数の炎口3は、その傾斜角度がQ1=Q2=20°又は30°に形成されているのが一般的であるため、炎口3に形成される火炎aは、特に、インプットが大きいとき(ガスと空気の混合気量が多いとき)には、その噴出速度に影響されてQ1の角度のままの20°又は30°の殆ど横向きに近い緩い上向きの傾斜角度に形成されるにすぎない。
そこで、テーブルこんろ等の調理用こんろの熱効率を向上させるには、伝熱面積を大きくする、境膜抵抗を減らす、炎の温度を上げる、が知られており、そのうち伝熱面積を大きくするためには、たとえば、図9に例示されているように、炎口角度を、たとえば、35°以上の上向きとして火炎の角度を立てること等が考えられる。
【0003】
【発明が解決しようとする課題】
しかしながら、上記伝熱面積を大きくすることによる高効率バーナにおいては、火炎の角度を立てることが伝熱面積を大きくするポイントとなるが、火炎の角度を立てすぎると燃焼性の悪化やリフト等の問題が発生し、また、火炎の角度をねせすぎると効率が低下してしまう。
そこで、この発明のこんろバーナは上記課題を解決し、炎口に形成される火炎の上向き角度を高効率が得られる最適角度に実験的に設定して、常に燃焼性及び高効率が確保できるこんろバーナの提供を目的としている。
【0004】
【課題を解決するための手段】
上記課題を解決するこの発明の請求項1のこんろバーナは、
バーナ本体とバーナヘッドを組み合わせて周縁に形成される多数の炎口の炎口角度を35°以上の上向きとして火炎の角度を立てることにより高効率が得られるようにしたこんろバーナにおいて、
上記バーナ本体のバーナヘッドが嵌合支持される口金の上端部に環状鍔部を備え、該環状鍔部による制御で混合気の流れを炎口に最適角度の上向き火炎が形成される流れに変えうるようにしたことを要旨とする。
【0005】
上記課題を解決するこの発明の請求項2のこんろバーナは、上記請求項1記載のこんろバーナにおいて、
上記環状鍔部の上端部は、バーナヘッドの炎口部の取付面の下端部に対し上下4mm以内の位置にあることを要旨とする。
【0006】
上記課題を解決するこの発明の請求項3のこんろバーナは、上記請求項1記載のこんろバーナにおいて、
上記環状鍔部の外端部は、炎口の高さの延長線内に位置することを要旨とする。
【0007】
上記課題を解決するこの発明の請求項4のこんろバーナは、上記請求項1、2、3記載のこんろバーナにおいて、
上記環状鍔部は、アール状又はラッパ状その他の混合気の流れを変えるに適した形状に形成されていることを要旨とする。
【0008】
上記構成を有するこの発明の請求項1記載のこんろバーナは、バーナ本体とバーナヘッドを組み合わせて周縁に形成される多数の炎口の炎口角度を35°以上の上向きとして火炎の角度を立てることにより高効率が得られるようにしたこんろバーナにおいて、上記バーナ本体のバーナヘッドが嵌合支持される口金の上端部に混合気の流れを変える環状鍔部を備え、該環状鍔部で混合気の流れを炎口に最適角度の上向き火炎が形成される流れに変えうるようにしたので、混合気の流れが炎口へ供給される直前において環状鍔部で制御され炎口に高効率が得られる最適角度の上向き火炎が形成される流れに変えられる。この結果、常に燃焼性及び高効率が確保できるこんろバーナが提供できる。これは実験的に得られた炎口に対する環状鍔部の位置、形状等の設定により実現したものである。
【0009】
上記構成を有するこの発明の請求項2記載のこんろバーナは、上記環状鍔部の上端部をバーナヘッドの炎口部の取付面の下端部に対し上下4mm以内の位置に設定したので、炎口に対する環状鍔部の位置を上記設定位置とすることで、一定の許容域において混合気の流れの一部が環状鍔部で邪魔され渦流状となるために炎口へ供給される混合気の流れが変えられる。この結果、混合気は炎口に最適角度の上向き火炎が形成される流れに制御され炎口から噴出する。
【0010】
上記構成を有するこの発明の請求項3記載のこんろバーナは、上記環状鍔部の外端部が炎口の高さの延長線内に位置するように設定したので、炎口に対する環状鍔部の外方への突出位置を上記設定位置とすることにより、炎口への混合気の流れが環状鍔部によって適切に変えられる。この結果、混合気は炎口に最適角度の上向き火炎が形成される流れに制御され炎口から噴出する。
【0011】
上記構成を有するこの発明の請求項4記載のこんろバーナは、上記環状鍔部がアール状又はラッパ状その他の混合気の流れを変えるに適した形状となっているから、炎口へ供給される混合気の流れはこれらの形状の環状鍔部によって適切に変えられる。この結果、上記請求項2、3の環状鍔部の設定位置と相まって混合気は炎口に最適角度の上向き火炎が形成される流れに制御され炎口から噴出する。
【0012】
【発明の実施の形態】
以上説明したこの発明の構成、作用を一層明らかにするために、以下この発明のこんろバーナの好適な実施の形態の一例について図面を参照して詳細に説明する。なお、上記従来例と同一部分には同一符号を付して説明する。
【0013】
こんろバーナは、たとえば、図1及び図6に例示されているように、環状混合室1を有するバーナ本体Aと、このバーナ本体Aに載置することにより外周縁に多数の炎口3を形成するバーナヘッドBとを組み合わせてなり、上記バーナ本体Aの上面開口周縁には、上記バーナヘッドBの環状取付面2を備え、また、上記バーナヘッドBには、その裏面外周部に炎口溝4が所定ピッチで放射状に形成され、この炎口溝4によるバーナヘッドBの炎口部を上記バーナ本体Aの環状取付面2上に載置することで、炎口溝4がバーナ本体Aの環状混合室1に連通して炎口3として機能するようになっている。この炎口3は混合気(ガス流)を上向きに変更させる段部7を内方下端に有し、火炎の形成を炎口角度と相まって上向きにして火炎aの角度を立てて鍋底との接触を確実なものとして高効率が得られるようにしている。なお、上記炎口角度は35°以上とするのが望ましい。
【0014】
また、上記バーナ本体Aの中央部には、上記バーナヘッドBの支持筒6を嵌合支持する筒状の口金5が一体に備えられ、この口金5の上端部に環状鍔部8を一体に備えて炎口3へ供給される混合気の流れをこの環状鍔部8による制御で炎口3に高効率が得られる最適角度の上向き火炎aが形成される流れに変えうるようになっている。なお、上記支持筒6と口金5とでバーナの中央二次空気路10を形成している。図中、9は混合管、11は保炎用鍔である。
【0015】
上記環状鍔部8は、その上端部、すなわち、口金5の高さの上限がバーナヘッドBの炎口部が載る環状取付面2の下端部2aに対し上下4mm以内に位置するように設けられている(すなわち、L=−4〜+4の許容域であること)。そして、環状鍔部8の外端部(C点)は、炎口3の高さ(炎口3の上面と下面)lの延長線b、b内に位置するように設けられている。
上記許容域Lと炎口3の高さlと、環状鍔部8との位置関係は、炎口3に供給される混合気cの流れが環状鍔部8による制御で混合気の流れが炎口に高効率が得られる最適角度の上向き火炎aが形成される流れに変えうる実験的に得た最適の設定値である。その実験データの一例を示せば、表1及び図5の特性グラフに示したとおりである。
【表1】
【0016】
上記環状鍔部8の形状としては、たとえば、図2に示されているように、口金5の上端部を外方へアール状に屈曲して形成するほか、図3に示されているように、口金5の上端部を斜め外方へラッパ状に屈折して形成する。また、図4に示されているように、口金5の上端部を外方へ水平状に屈折して形成したものでもよい。
上記形状の環状鍔部8は、いずれも上記許容域L及び炎口の高さlとの位置関係に関する上記条件を満たすものであることが必要である。
【0017】
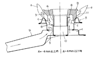
上記構成において、炎口3に対する環状鍔部8の形状及び位置関係等が上述した実験的に設定された条件を満たすことにより、混合気の流れが炎口3に最適角度の上向き火炎aが形成される流れに変えられ高効率のこんろバーナが提供できるものであるが、たとえば、図6に例示されているように、炎口3に対し環状鍔部8の位置が下方の相当離れた位置にある場合(図6の左半分に示されているL=4mm以上の時参照)は、環状鍔部8による制御が作用せず炎口3に形成される火炎aが立ちすぎて燃焼悪化やリフトの発生が起りやすくなり、また、炎口3に対し環状鍔部8の位置が上方の相当離れた位置にある場合(図6ま右半分に示されているL=4mm以下の時参照)は、環状鍔部8による制御で混合気cが横方向(外方)に流れ炎口3に形成される火炎aはねてしまうために、熱効率は著しく低下するといった不具合が生ずるものである。
【0018】
以上、この発明の実施の形態の一例について説明したが、この発明はこうした実施の形態に何等限定されるものではなく、この発明の要旨を逸脱しない範囲において種々なる形態で実施しうることは勿論である。
【0019】
【発明の効果】
この発明は以上説明したような形態で実施され、以下に記載されるような効果を奏する。
【0020】
この発明のこんろバーナによれば、炎口角度を35°以上の上向きとして火炎の角度を立てることにより高効率が得られるようにしたこんろバーナにおいて、環状鍔部による制御で混合気の流れを炎口に高効率が得られる最適角度の上向き火炎が形成される流れに変えうるようにしたので、常に燃焼性及び高効率が確保できるこんろバーナが安価に提供できるものである。
【0021】
また、炎口に対する環状鍔部の位置、形状等は実験的に得られたものに設定されているからで、一定の許容域において混合気の流れは確実に変えられ、燃焼性及び高効率を確保する上向き火炎が常に形成される。
【0022】
さらに、炎口に対する環状鍔部の位置関係、形状等を設定するだけであるから、構造も簡単でコスト的にも安価である。
【図面の簡単な説明】
【図1】この発明のこんろバーナの一実施形態としての要部の断面図である。
【図2】環状鍔部をアール状に形成した例の一部断面図である。
【図3】環状鍔部をラッパ状に形成した例の一部断面図である。
【図4】環状鍔部をその他の形状とした例の一部断面図である。
【図5】実験データの一例を表1に対応して示した特性グラフである。
【図6】この発明の許容域以外の場合の一例を示した説明図である。
【図7】従来例の一部断面図である。
【図8】従来例の炎口角度の例を示した断面図である。
【図9】炎口角度を急傾斜とした場合の一部断面図である。
【符号の説明】
A…バーナ本体
B…バーナヘッド
3…炎口
5…口金
8…環状鍔部
L…炎口に対する環状鍔部の上限許容域
l…炎口の高さ
Claims (4)
- バーナ本体とバーナヘッドを組み合わせて周縁に形成される多数の炎口の炎口角度を35°以上の上向きとして火炎の角度を立てることにより高効率が得られるようにしたこんろバーナにおいて、
上記バーナ本体のバーナヘッドが嵌合支持される口金の上端部に環状鍔部を備え、該環状鍔部による制御で混合気の流れを炎口に最適角度の上向き火炎が形成される流れに変えうるようにしたことを特徴とするこんろバーナ。 - 上記環状鍔部の上端部は、バーナヘッドの炎口部の取付面の下端部に対し上下4mm以内の位置にあることを特徴とする請求項1記載のこんろバーナ。
- 上記環状鍔部の外端部は、炎口の高さの延長線内に位置することを特徴とする請求項1記載のこんろバーナ。
- 上記環状鍔部は、アール状又はラッパ状その他の混合気の流れを変えるに適した形状に形成されていることを特徴とする請求項1、2、3記載のこんろバーナ。
Priority Applications (1)
| Application Number | Priority Date | Filing Date | Title |
|---|---|---|---|
| JP2000218681A JP4124946B2 (ja) | 2000-07-19 | 2000-07-19 | こんろバーナ |
Applications Claiming Priority (1)
| Application Number | Priority Date | Filing Date | Title |
|---|---|---|---|
| JP2000218681A JP4124946B2 (ja) | 2000-07-19 | 2000-07-19 | こんろバーナ |
Publications (2)
| Publication Number | Publication Date |
|---|---|
| JP2002031309A JP2002031309A (ja) | 2002-01-31 |
| JP4124946B2 true JP4124946B2 (ja) | 2008-07-23 |
Family
ID=18713597
Family Applications (1)
| Application Number | Title | Priority Date | Filing Date |
|---|---|---|---|
| JP2000218681A Expired - Fee Related JP4124946B2 (ja) | 2000-07-19 | 2000-07-19 | こんろバーナ |
Country Status (1)
| Country | Link |
|---|---|
| JP (1) | JP4124946B2 (ja) |
Families Citing this family (1)
| Publication number | Priority date | Publication date | Assignee | Title |
|---|---|---|---|---|
| CN116906890B (zh) * | 2023-08-03 | 2025-09-26 | 宁波方太厨具有限公司 | 火盖、燃烧器及包含其的燃气灶具 |
-
2000
- 2000-07-19 JP JP2000218681A patent/JP4124946B2/ja not_active Expired - Fee Related
Also Published As
| Publication number | Publication date |
|---|---|
| JP2002031309A (ja) | 2002-01-31 |
Similar Documents
| Publication | Publication Date | Title |
|---|---|---|
| US7878800B2 (en) | Gas burner with separate feeding of the flame crowns | |
| EP1884715B1 (en) | Cooking stove | |
| CN101120209B (zh) | 燃气炉 | |
| CN102388269A (zh) | 炉灶面旋流式燃烧器 | |
| JP4124946B2 (ja) | こんろバーナ | |
| CN100472133C (zh) | 三圈顶型煤气燃烧器 | |
| JP2008267806A (ja) | ガスコンロ | |
| CN208058847U (zh) | 火盖、燃烧器和燃气灶具 | |
| JP2003166718A (ja) | ガスコンロ | |
| JP3860476B2 (ja) | ガスコンロ用バーナ | |
| JP2003194310A (ja) | ガスコンロ用バーナ | |
| JP2004333018A (ja) | こんろバーナ | |
| JP4762730B2 (ja) | コンロバーナ | |
| JP2002181310A (ja) | コンロバーナ | |
| US20060154193A1 (en) | Advanced commercial range burner | |
| JP4176285B2 (ja) | こんろバーナ | |
| JP2008089299A (ja) | こんろ | |
| JPH0444961Y2 (ja) | ||
| CN101368731A (zh) | 燃烧器 | |
| JP2003161449A (ja) | ガスこんろ | |
| CN216408964U (zh) | 内火盖及燃气灶 | |
| TWI230242B (en) | Gas stove | |
| JP2003336813A (ja) | こんろバーナ | |
| JP4375789B2 (ja) | ガスコンロ | |
| JP2001201016A (ja) | バーナ |
Legal Events
| Date | Code | Title | Description |
|---|---|---|---|
| A621 | Written request for application examination |
Free format text: JAPANESE INTERMEDIATE CODE: A621 Effective date: 20070622 |
|
| A977 | Report on retrieval |
Free format text: JAPANESE INTERMEDIATE CODE: A971007 Effective date: 20080409 |
|
| TRDD | Decision of grant or rejection written | ||
| A01 | Written decision to grant a patent or to grant a registration (utility model) |
Free format text: JAPANESE INTERMEDIATE CODE: A01 Effective date: 20080422 |
|
| A01 | Written decision to grant a patent or to grant a registration (utility model) |
Free format text: JAPANESE INTERMEDIATE CODE: A01 |
|
| A61 | First payment of annual fees (during grant procedure) |
Free format text: JAPANESE INTERMEDIATE CODE: A61 Effective date: 20080507 |
|
| R150 | Certificate of patent or registration of utility model |
Free format text: JAPANESE INTERMEDIATE CODE: R150 |
|
| FPAY | Renewal fee payment (event date is renewal date of database) |
Free format text: PAYMENT UNTIL: 20110516 Year of fee payment: 3 |
|
| FPAY | Renewal fee payment (event date is renewal date of database) |
Free format text: PAYMENT UNTIL: 20110516 Year of fee payment: 3 |
|
| S533 | Written request for registration of change of name |
Free format text: JAPANESE INTERMEDIATE CODE: R313533 |
|
| R350 | Written notification of registration of transfer |
Free format text: JAPANESE INTERMEDIATE CODE: R350 |
|
| FPAY | Renewal fee payment (event date is renewal date of database) |
Free format text: PAYMENT UNTIL: 20140516 Year of fee payment: 6 |
|
| R250 | Receipt of annual fees |
Free format text: JAPANESE INTERMEDIATE CODE: R250 |
|
| LAPS | Cancellation because of no payment of annual fees |
