JP4097828B2 - ディスク嵌合緩衝材 - Google Patents
ディスク嵌合緩衝材 Download PDFInfo
- Publication number
- JP4097828B2 JP4097828B2 JP01033499A JP1033499A JP4097828B2 JP 4097828 B2 JP4097828 B2 JP 4097828B2 JP 01033499 A JP01033499 A JP 01033499A JP 1033499 A JP1033499 A JP 1033499A JP 4097828 B2 JP4097828 B2 JP 4097828B2
- Authority
- JP
- Japan
- Prior art keywords
- disc
- top piece
- cushioning material
- product
- fitting portion
- Prior art date
- Legal status (The legal status is an assumption and is not a legal conclusion. Google has not performed a legal analysis and makes no representation as to the accuracy of the status listed.)
- Expired - Fee Related
Links
- 239000000463 material Substances 0.000 title claims description 6
- 230000013011 mating Effects 0.000 title 1
- 101100008049 Caenorhabditis elegans cut-5 gene Proteins 0.000 claims description 3
- 230000000994 depressogenic effect Effects 0.000 description 2
- 238000000034 method Methods 0.000 description 2
- 101100008050 Caenorhabditis elegans cut-6 gene Proteins 0.000 description 1
- 230000003139 buffering effect Effects 0.000 description 1
- 230000000694 effects Effects 0.000 description 1
- 229920006248 expandable polystyrene Polymers 0.000 description 1
- 238000004806 packaging method and process Methods 0.000 description 1
- 230000002093 peripheral effect Effects 0.000 description 1
- 239000002994 raw material Substances 0.000 description 1
- 238000000926 separation method Methods 0.000 description 1
Images
Landscapes
- Cartons (AREA)
- Buffer Packaging (AREA)
- Packaging For Recording Disks (AREA)
Description
【発明の属する技術分野】
本発明物は、機械などを輸送する場合に保護する緩衝材に関する。
【0002】
【従来の技術】
従来の緩衝材は、発泡スチロール製或いは積層ダンボール製の物であって、梱包物を包んで保護するだけの物であり、CD及びフロッピーなどのディスク類を取り付ける個所は存在しておらず、ディスク類を同封する場合は、梱包商品と緩衝材との間に挟み込んで固定する構造の物であった。
【0003】
【発明が解決しようとする課題】
ディスク用の専属取り付け箇所が無ければ、輸送時の衝撃からずれたり、場合によっては破損する恐れが生じる物であった。本発明では、こうした問題解決をする為、緩衝材自体にディスク専用の取り付け個所を設ける事で、受ける衝撃を和らげようとする課題の解決を目的とする。
【0004】
【課題を解決するための手段】
商品を包み込む状態で折り起された天片の先端部に、境切込を入れて内側を押し潰して嵌合部を形成し、嵌合部にディスクを嵌め込んで固定する。
【0005】
【発明の実施の形態】
本発明物は積層段ボール紙及び段ボール紙を素材に用いて製造し、上下左右前後などの位置関係は組立完了状態の正面方向からを基準にし、谷折山折で記述する折り曲げ方向は、内側からを基準にして記述し、本発明物のシート厚は緩衝性を高める為に厚みがある事から、折線は半切り(シートの厚みの中程まで切込を入れて、切り離さない構造)にする。
【0006】
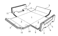
ディスク嵌め込み前の正面斜視図の図1に於いて、商品4の四方に折り立てられた側壁2の天縁に谷折線を介して延設した天片3を、谷折して商品4の上に折り重ね、対辺する一対(ディスクが複数ある場合は二対であっても良い)の天片3の先縁から境切込5を半切り状態で入れ、境切込5の形状はディスク7の縁形状に合わせ、ディスク7が四角形のケースに収納されている場合はコの字形状にし、ケースに収納されていない状態であるならば円周形状にし、境切込5で囲まれた内側領域を加圧する事で波板8が押し潰されて窪み、この窪んだ領域を嵌合部6とし、嵌合部6にディスク7を嵌め込んで外箱に収納して梱包は終了する。
【0007】
展開斜視図の図2に於いて、中央に矩形或いは正方形、場合によってはその他の多角形の形状で設けた底壁1の周辺縁に谷折線を介して側壁2を延設し、底壁1が四角形であるならば四方に側壁2が有しており、これらの側壁2を呼び分けるならば、両横を横壁9とし、前後を縦壁10とし、前記の側壁2に延設されている天片3に於いても、横壁9の先(天)縁に横天片11を延設し、縦壁10に先(天)縁に縦天片12を延設する。
【0008】
組立過程斜視図の図3に於いて、商品4はプログラムソフトを必要とするコンピュウターゲーム用の機械が望ましいが、これだけに限らずにデジカメやプリンターなどであっても良く、商品4は剥き出し状態、袋に収納状態、箱に収納状態であっても良く、これらの代表として箱詰め状態で図示しており、商品4の上に先ず縦天片12を折り重ね、縦天片12の上に横天片11を折り重ね、横天片11の先縁に嵌合部6を設けて図1で示したケース入りディスク7を嵌め込む事で、ディスク7と境切込5との摩擦によって横天片11どうしは繋ぎ止められ、又、外箱の開封時に於いても、一番先に目に止まりやすく、横壁9の先縁中央を矩形に打ち抜いて取手孔13を開け、横天片11の基部中央から取手孔13へシートの厚み分食み出して凸部14を突出させる事で横天片11の折り曲げを楽に行えるようにし、前記凸部14を横天片11に基部両角領域にも設けて横壁9の方向へシートの厚み分食み出させる事で、外箱収納時に凸部14が外箱の内面に接する事で横天片11が外側へずれるのを防止している。
【0009】
【発明の効果】
対辺する天片の先端部に境切込を入れて、境切込の内側領域を押し潰して形成した嵌合部をディスク専用の収納部にする事で、ディスクは輸送時にずれたりせず、安全に梱包される。
【図面の簡単な説明】
【図1】ディスク嵌め込み前の正面斜視図
【図2】展開斜視図
【図3】組立過程斜視図
【符号の説明】
1 底壁
2 側壁
3 天片
4 商品
5 境切込
6 嵌合部
7 ディスク
Claims (1)
- 底壁1の周囲から折り起された側壁2の天縁に天片3を延設して内側に折り曲げて商品4の天を包み込み、対辺する天片3の先端領域に境切込5を入れて内側を加圧して窪ませて嵌合部6を形成し、前記嵌合部6にディスク7を嵌め込む事を特徴としたディスク嵌合緩衝材。
Priority Applications (1)
| Application Number | Priority Date | Filing Date | Title |
|---|---|---|---|
| JP01033499A JP4097828B2 (ja) | 1999-01-19 | 1999-01-19 | ディスク嵌合緩衝材 |
Applications Claiming Priority (1)
| Application Number | Priority Date | Filing Date | Title |
|---|---|---|---|
| JP01033499A JP4097828B2 (ja) | 1999-01-19 | 1999-01-19 | ディスク嵌合緩衝材 |
Publications (2)
| Publication Number | Publication Date |
|---|---|
| JP2000203645A JP2000203645A (ja) | 2000-07-25 |
| JP4097828B2 true JP4097828B2 (ja) | 2008-06-11 |
Family
ID=11747313
Family Applications (1)
| Application Number | Title | Priority Date | Filing Date |
|---|---|---|---|
| JP01033499A Expired - Fee Related JP4097828B2 (ja) | 1999-01-19 | 1999-01-19 | ディスク嵌合緩衝材 |
Country Status (1)
| Country | Link |
|---|---|
| JP (1) | JP4097828B2 (ja) |
-
1999
- 1999-01-19 JP JP01033499A patent/JP4097828B2/ja not_active Expired - Fee Related
Also Published As
| Publication number | Publication date |
|---|---|
| JP2000203645A (ja) | 2000-07-25 |
Similar Documents
| Publication | Publication Date | Title |
|---|---|---|
| JP4319354B2 (ja) | フードパックに関する改良 | |
| JP5178234B2 (ja) | 薄型物品の輸送用梱包具 | |
| JP2003063569A (ja) | 梱包用緩衝材および梱包物 | |
| JP4097828B2 (ja) | ディスク嵌合緩衝材 | |
| EP1301419B1 (en) | Packaging assembly for appliances with an overwrapping film for top lifting | |
| CN221795254U (zh) | 一种内衬结构及缓冲包装 | |
| JP4441062B2 (ja) | 段ボール製の梱包用パッキン材 | |
| US5076435A (en) | Packaging for food | |
| US6458396B1 (en) | Hard taco shell protective packaging | |
| KR102876288B1 (ko) | 전자제품 포장용기 | |
| JP2013159369A (ja) | 立体物のパッキング及び梱包装置 | |
| JP2792404B2 (ja) | 包装体の組み立て方法 | |
| JPH086734Y2 (ja) | 押圧ストッパー付きトレイ | |
| JP3043394U (ja) | 瓶もの用包装箱 | |
| JP2001219968A (ja) | 包装用緩衝材 | |
| JP4338531B2 (ja) | 包装装置 | |
| JP2599140Y2 (ja) | 脆弱物の梱包用ケース | |
| JP3139391B2 (ja) | 電気湯沸かし器等の梱包体 | |
| JPS62182083A (ja) | ペ−スト状製品の包装体とラツプ材料部片と同製品の加工および包装方法 | |
| JPS5910021Y2 (ja) | 食器用包装箱 | |
| JPS627565Y2 (ja) | ||
| JPH07223676A (ja) | コーナーパッド | |
| JP2554718Y2 (ja) | 梱包用緩衝材 | |
| JP5492863B2 (ja) | 緩衝材 | |
| CA2248601A1 (en) | Packaging structure |
Legal Events
| Date | Code | Title | Description |
|---|---|---|---|
| A621 | Written request for application examination |
Free format text: JAPANESE INTERMEDIATE CODE: A621 Effective date: 20051019 |
|
| A977 | Report on retrieval |
Free format text: JAPANESE INTERMEDIATE CODE: A971007 Effective date: 20080220 |
|
| TRDD | Decision of grant or rejection written | ||
| A01 | Written decision to grant a patent or to grant a registration (utility model) |
Free format text: JAPANESE INTERMEDIATE CODE: A01 Effective date: 20080226 |
|
| A61 | First payment of annual fees (during grant procedure) |
Free format text: JAPANESE INTERMEDIATE CODE: A61 Effective date: 20080312 |
|
| R150 | Certificate of patent or registration of utility model |
Free format text: JAPANESE INTERMEDIATE CODE: R150 |
|
| FPAY | Renewal fee payment (event date is renewal date of database) |
Free format text: PAYMENT UNTIL: 20110321 Year of fee payment: 3 |
|
| FPAY | Renewal fee payment (event date is renewal date of database) |
Free format text: PAYMENT UNTIL: 20130321 Year of fee payment: 5 |
|
| FPAY | Renewal fee payment (event date is renewal date of database) |
Free format text: PAYMENT UNTIL: 20130321 Year of fee payment: 5 |
|
| R250 | Receipt of annual fees |
Free format text: JAPANESE INTERMEDIATE CODE: R250 |
|
| R250 | Receipt of annual fees |
Free format text: JAPANESE INTERMEDIATE CODE: R250 |
|
| R250 | Receipt of annual fees |
Free format text: JAPANESE INTERMEDIATE CODE: R250 |
|
| R250 | Receipt of annual fees |
Free format text: JAPANESE INTERMEDIATE CODE: R250 |
|
| LAPS | Cancellation because of no payment of annual fees |