JP4069293B2 - 自走式掃除機 - Google Patents

自走式掃除機 Download PDF

Info

Publication number
JP4069293B2
JP4069293B2 JP2002363541A JP2002363541A JP4069293B2 JP 4069293 B2 JP4069293 B2 JP 4069293B2 JP 2002363541 A JP2002363541 A JP 2002363541A JP 2002363541 A JP2002363541 A JP 2002363541A JP 4069293 B2 JP4069293 B2 JP 4069293B2
Authority
JP
Japan
Prior art keywords
floor
sphere
self
floor surface
main body
Prior art date
Legal status (The legal status is an assumption and is not a legal conclusion. Google has not performed a legal analysis and makes no representation as to the accuracy of the status listed.)
Expired - Fee Related
Application number
JP2002363541A
Other languages
English (en)
Other versions
JP2004194715A (ja
Inventor
直也 大久保
桂司 須藤
Current Assignee (The listed assignees may be inaccurate. Google has not performed a legal analysis and makes no representation or warranty as to the accuracy of the list.)
Mitsubishi Electric Home Appliance Co Ltd
Mitsubishi Electric Corp
Original Assignee
Mitsubishi Electric Home Appliance Co Ltd
Mitsubishi Electric Corp
Priority date (The priority date is an assumption and is not a legal conclusion. Google has not performed a legal analysis and makes no representation as to the accuracy of the date listed.)
Filing date
Publication date
Application filed by Mitsubishi Electric Home Appliance Co Ltd, Mitsubishi Electric Corp filed Critical Mitsubishi Electric Home Appliance Co Ltd
Priority to JP2002363541A priority Critical patent/JP4069293B2/ja
Publication of JP2004194715A publication Critical patent/JP2004194715A/ja
Application granted granted Critical
Publication of JP4069293B2 publication Critical patent/JP4069293B2/ja
Anticipated expiration legal-status Critical
Expired - Fee Related legal-status Critical Current

Links

Images

Landscapes

  • Electric Vacuum Cleaner (AREA)
  • Control Of Position, Course, Altitude, Or Attitude Of Moving Bodies (AREA)

Description

【0001】
【発明の属する技術分野】
本発明は、自立走行機能と清掃機能とを備え、自動的に清掃を行なう自走式掃除機に関するものである。
【0002】
【従来の技術】
従来より、掃除機に自立走行機能を付加して、清掃時の操作性の向上を図った掃除機が開発されている。特に最近では、これにマイクロコンピュータと各種センサ類を搭載した、いわゆる自立誘導型の自走式掃除機の開発も行なわれている。
【0003】
この種の自走式掃除機は、清掃機能として本体底部に床ノズルや回転ブラシ等を備え、移動機能としてモータで駆動される走行輪や操舵輪等を有し、電源供給手段として充電池を有し、本体の位置を認識する位置認識手段と走行時の障害物を検知する障害物検知手段とにより、清掃区域内を塗りつぶすように移動して清掃するものである。
【0004】
また、本体走行中に、回転ブラシの回転数、回転ブラシモータの電流値を検出することにより、床面段差を検出し、回避運動を行うものである(例えば特許文献1参照)。
【0005】
【特許文献1】
特開平8−517号公報
【0006】
【発明が解決しようとする課題】
しかしながら、回転ブラシの回転数や回転ブラシモータの電流値から床面段差を検出するようにしたものにあっては、例え床ノズルが掃除機本体の下面の最前部に配置されていても、一般にその吸込口(風路)は掃除機本体の前縁部から後方にずれた位置ある。そして、これに取り付けられる回転ブラシは、一般に床ノズルの吸込口(風路)の中央に配置されるものであるため、その本体前縁部から内側にずれた分、床面段差の検出が遅れてしまう。床面段差の検出が遅れると、その間にも本体は継続して前進するため、停止した時点では、本体の一部が床面段差にかかり、その分、本体重心が床面段差に近づくことになる。そして、この状態からの回避運動には危険が伴い、最悪の場合、床面段差から転落する恐れがある。
【0007】
また、回転ブラシは本体の前方のみ設けられており、本体後進時に、本体の後方に床面段差があった場合、段差検出ができず、本体が床面段差から転落する恐れがある。
【0008】
さらに回転ブラシは、既述したように床ノズルの吸込口(風路)、つまりゴミの通り道に設けられることが多く、ゴミが絡みつきやすい。ゴミが回転ブラシに絡みついた場合、回転ブラシの回転がロックしてしまい、回転ブラシが床面段差にかかっても空転せず、床面段差検出という本来の動作ではなく、異常検出してしまう恐れがある。
【0009】
本発明の技術的課題は、素早い床面段差検出が可能で、掃除機本体の床面段差への転落を確実に防止することができるようにすることにある。
【0010】
【課題を解決するための手段】
本発明に係る自走式掃除機は、下記の構成からなるものである。すなわち、充電池を搭載し駆動輪による自立走行機能と床ノズルによる清掃機能とを備えた自走式掃除機において、どの方向に対しても回転自在に設置されて床面と接触する球体、この球体に接触して従動回転する2軸方向に配置されたローラ、及びこれらローラの回転を検出するロータリエンコーダからなり、掃除機本体の下面側の最前部と最後部に配置されて床面段差を検出する複数の床面検出センサと、各床面検出センサの球体を、駆動輪と共に掃除機本体を支持する補助輪として構成できるように、床面検出センサの球体の取付部下面からの突出量よりも小さい突出量に設定されて前後の床面検出センサよりも内方に配置された複数の突起と、ロータリエンコーダの信号から進行方向後方の前記球体が回転しているにも拘わらず進行方向前方の前記球体が回転していない場合に、進行方向前方に床面段差有りと判定し、進行を直ちに止めさせ、床面段差の回避運動を行なわせる制御手段とを備えたものである。
【0011】
本発明の自走式掃除機において、掃除機本体が移動している状態下で、直下に走行面となる床面がなくなれば、掃除機本体の下面側の進行方向で前方に位置する床面検出センサの球体の回転が停止するので、進行方向前方に床面段差が有ることが直ちに検出され、掃除機本体が停止する。このとき、本体の重心は床面段差から十分離れた位置にあり、かつ床面段差側の球体は突起に支持されて浮いている状態にある。このため、安全に回避運動へ移行することができて、掃除機本体の床面段差への転落を確実に防止することができる。
【0012】
【発明の実施の形態】
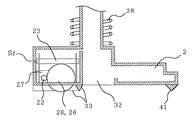
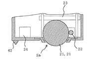
図1は本発明に係る自走式掃除機の概略構成を示す縦断面図、図2はその要部である本体最後部側の補助輪部分を拡大して示す部分断面図、図3はその要部である本体最前部側の補助輪部分を拡大して示す部分断面図、図4はその床ノズルの下部の正面図、図5はその前進動作の説明図、図6はその前方の床面段差検出の動作の説明図、図7はその後方の床面段差検出の動作の説明図である。
【0013】
本実施形態の自走式掃除機は、本体1の下面側の最前部に、コイルばね28により床面に対し常時押し付けられて床面との間隔が一定となるように保持された床ノズル2が設置されているとともに、その中央部に、駆動輪5とこれを駆動する減速機付きモータ25が配置され、その後方に、ゴミを吸い込むための風力を発生させる動力となる電動送風機30が設置されている。さらに、本体1内の電動送風機30の後方には、減速機付きモータ25や電動送風機30などの動力源となる充電池20が収納されている。また、本体1内の床ノズル2と電動送風機30の間には、床ノズル2より吸い込まれたゴミを採取し、収納しておく紙パック29が配置されているとともに、本体1内の上部空間に、制御回路基板31が横向きに配置固定されている。なお、駆動輪5及び減速機付きモータ25の組合せが、図示していないがもう1組対向して設置されており、これら2組の駆動輪5及び減速機付きモータ25の回転方向によって、本体1の前進、後進、左旋回、右旋回等の運動が決定されるようになっている。
【0014】
また、本体1の前端面側には、本体正面前方の障害物を検出するための超音波センサからなる障害物センサ6が設置されている。なお、障害物センサ6は、超音波を送信する送信手段と、送信手段から放射されて障害物に反射した超音波を受信する受信手段を備えた送受信型の超音波センサや、送受信兼用型の超音波センサなどにより構成される。
【0015】
また、本体1の下面側の少なくとも最前部と最後部、すなわち床ノズル2の前縁部の左右2隅と本体後縁部の2隅(後縁部については1隅のみ図示する)に、床面段差を検出する複数の床面検出センサSf,SfとSb,Sbが設けられている。
【0016】
このうち最前部の床面検出センサSfは、図3及び図4のようにどの方向に対しても回転自在に設置されて床面と接触する球体26と、この球体26に接触して従動回転する2軸方向に配置されたローラ22,23と、これらローラ22,23の回転数を検出するロータリエンコーダ27とから成り、最前部において本体1の前後方向成分の動きをローラ22により、本体1の左右方向成分の動きをローラ23により、それぞれ検出するようになっている。
【0017】
最後部の床面検出センサSbも前記最前部の床面検出センサSfと同様に構成されている。すなわち、図2のようにどの方向に対しても回転自在に設置されて床面と接触する球体21と、この球体21に接触して従動回転する2軸方向に配置されたローラ22,23と、これらローラ22,23の回転数を検出するロータリエンコーダ24とから成り、最後部において本体1の前後方向成分の動きをローラ22により、本体1の左右方向成分の動きをローラ23により、それぞれ検出するようになっている。
【0018】
すなわち、前後の床面検出センサSf,Sbは、一般的なパーソナルコンピュータに使用されるマウスボールによるトラッキングメカニズムと同様な構成を有しており、床面上であれば本体1がどの方向に移動しても、その移動方向を前後方向の成分と左右方向の成分とに分解して確実に検出することができる。換言すれば、本体1が移動しているにも拘わらず床面検出センサSf,Sbが反応しないことを検出することで、走行面となる床面がなくなった状態、つまり床面段差があることを確実に検出できるようになっている。
【0019】
また、ここでは前後の床面検出センサSf,Sbよりも内方、つまり最前部の床面検出センサSfが取り付けられている床ノズル2の後縁部と最後部の床面検出センサSbの取付部の前縁部に、これらセンサSf,Sbの球体の取付部下面からの突出量よりも小さい突出量に設定された突起41,42を設け、各センサSf,Sbの球体26,21が、図6又は図7のように床面段差にあって浮いている状態下では、浮いている側の突起41又は42が支持脚となり、本体1が左右の駆動輪5,5を支点として床面段差側に傾くのを防ぐことができるようにしている。そして、各センサSf,Sbの球体26,21は、通常の床面上では左右の駆動輪5,5と共に本体1を前後で支持する補助輪として機能するようにしている。これにより、駆動輪5,5を本体中央部の左右のみの2輪構成とすることができ、本体前後方向の寸法を圧縮することができるようにしている。
【0020】
また、床ノズル側の左右の床面検出センサSf,Sfの各球体26,26の周りに、図3、図4のようにそれぞれ球体26,26を風路32から遮蔽する壁33,33を設け、これによって球体26,26へのゴミの絡みつきを減少させ、球体26,26のロック等の異常検出を防止して、安定した床面段差検出を可能としている。
【0021】
本体1内の上部空間に配置固定した制御回路基板31は、障害物センサ6から信号を受け取り、実装された演算回路により、障害物の有無を判定し、障害物の回避運動を制御する機能を有する。制御回路基板31は、この他にも、ロータリエンコーダ27,24の信号から床面段差の有無を判定し、床面段差の回避運動を制御する機能を有し、さらに電動送風機30の回転を制御する機能を有している。
【0022】
次に、本実施形態の自走式掃除機の動作について図5乃至図7により説明する。図5において、障害物センサ6により取得された信号は、制御回路基板31に送られる。制御回路基板31に実装された演算回路にて障害物無しと判定されると、本体1が図5の矢印Aの方向へ前進する。この移動により補助輪としても機能する前後左右の床面検出センサSf,Sf,Sb,Sbの各球体26,26,21,21は、床面との接触抵抗により回転する。もちろん本体1が移動を停止した場合は、各球体26,26,21,21共に回転を停止することになる。床ノズル側の球体26,26が回転しているかどうかは、ロータリエンコーダ27により検出することができる。床ノズル側球体26,26が回転しているということは、すなわち床ノズル側球体26,26と床面が接触しているということになり、本体1の進行方向、つまり矢印Aの方向に床面段差がないということを示している。その結果、本体1は継続して前進を行う。
【0023】
床ノズル側の球体26,26の周りには、図3、図4のように風路32から遮蔽する壁33,33を設けているため、ゴミは床ノズル側の球体26,26の付近を通らず、床ノズル側球体26,26にゴミが絡み付くのが防止される。このため、床ノズル側球体26,26の回転は、ゴミの絡み付きによってロックすることがなく、床面に接触していれば、確実に回転することができる。
【0024】
前進を継続中に、図6のように床ノズル側球体26,26が床面段差にかかり、浮いた状態となり、代わりに突起41によって支持された状態となった場合、床ノズル側球体26,26は床面と接触していないので、回転することができなくなる。床ノズル側球体26,26の回転数は、ロータリエンコーダ27にて検出され、その信号は制御回路基板31へ伝達される。制御回路基板31では、減速機付きモータ25,25に対して駆動指令を出していて、後方の本体側球体21,21のロータリエンコーダ24から球体21,21が回転している信号が入力しているにも拘わらず前方のロータリエンコーダ27から0回転の信号が入力すると、前方に床面段差有りと判定し、前進を直ちに止めさせ、左旋回、右旋回、後進等の回避運動を行なわせ、掃除機本体1の床面段差への転落を防止する。
【0025】
補助輪として機能する床ノズル側の球体26,26は、本体1の最前部に配置された床ノズル2の前縁部に配置されているので、すばやく床面段差を検出することができる。この結果、本体1の重心が床面段差と離れた位置にある段階ですばやく停止動作が行われ、次の回避動作へ移行することができる。このため、回避運動中に掃除機本体1が床面段差へ転落することがない。
【0026】
次に、本体後進中に、図7のように本体側球体21,21が床面段差にかかり、浮いた状態となり、代わりに突起42によって支持された状態となった場合の動作について説明する。この状態では、本体側球体21,21は床面と接触していないので、回転することができなくなる。本体側球体21,21の回転数は、ロータリエンコーダ24にて検出され、その信号は制御回路基板31へ伝達される。制御回路基板31では、減速機付きモータ25,25に対して駆動指令を出していて、反対側の床ノズル側球体26,26のロータリエンコーダ27から球体26,26が回転している信号が入力しているにも拘わらず後方(この場合は進行方向で前方となる)のロータリエンコーダ24から0回転の信号が入力すると、後方に床面段差有りと判定し、後進を直ちに止めさせ、左旋回、右旋回、前進等の回避運動を行なわせ、掃除機本体1の床面段差への転落を防止する。
【0027】
補助輪として機能する本体側の球体21,21は、本体1の最後部に配置されているので、すばやく床面段差を検出することができる。この結果、本体1の重心が床面段差と離れた位置にある段階ですばやく停止動作が行われ、次の回避動作へ移行することができる。このため、回避運動中に掃除機本体1が床面段差へ転落することがない。
【0028】
次に、本体1が旋回(例えば左旋回)中に、本体1の左旋回方向、つまり本体1の左側に床面段差があり、左側の床ノズル側球体26が床面段差にかかり、浮いた状態となり、代わりに突起41と右側の床ノズル側球体26によって支持された状態となった場合の動作について説明する。この状態では、左側の床ノズル側球体26は床面と接触していないので、回転することができなくなる。左側の床ノズル側球体26の回転数は、左側のロータリエンコーダ27にて検出され、その信号は制御回路基板31へ伝達される。制御回路基板31では、減速機付きモータ25,25に対して駆動指令を出していて、右側の床ノズル側球体26のロータリエンコーダ27と後方の本体側球体21,21の各ロータリエンコーダ24からそれぞれ右側の床ノズル側球体26と本体側球体21,21が回転している信号が入力しているにも拘わらず前方の左側のロータリエンコーダ27から0回転の信号が入力すると、床面段差有りと判定し、前進を直ちに止めさせ、右旋回、後進等の回避運動を行なわせ、掃除機本体1の床面段差への転落を防止する。もちろん、この動作は右旋回中についても同様である。
【0029】
補助輪として機能する床ノズル側の球体26,26及び本体側の球体21,21は、床ノズル2の前縁部の左右2隅と本体1の最後部の左右2隅にそれぞれ配置されているので、旋回中においてもすばやく床面段差を検出することができる。この結果、本体1の重心が床面段差と離れた位置にある段階ですばやく停止動作が行われ、次の回避動作へ移行することができる。このため、回避運動中に掃除機本体1が床面段差へ転落することがない。
【0030】
【発明の効果】
以上述べたように、本発明によれば、どの方向に対しても回転自在に設置されて床面と接触する球体、この球体に接触して従動回転する2軸方向に配置されたローラ、及びこれらローラの回転を検出するロータリエンコーダからなり、掃除機本体の下面側の最前部と最後部に配置されて床面段差を検出する複数の床面検出センサと、各床面検出センサの球体を、駆動輪と共に掃除機本体を支持する補助輪として構成できるように、床面検出センサの球体の取付部下面からの突出量よりも小さい突出量に設定されて前後の床面検出センサよりも内方に配置された複数の突起と、ロータリエンコーダの信号から進行方向後方の前記球体が回転しているにも拘わらず進行方向前方の前記球体が回転していない場合に、進行方向前方に床面段差有りと判定し、進行を直ちに止めさせ、床面段差の回避運動を行なわせる制御手段とを設けたので、掃除機本体の進行方向に対する床面段差を掃除機本体の下面側の進行方向で前方に位置する床面検出センサの球体の回転停止によりすばやく検出することができて、掃除機本体の重心が床面段差から離れた位置にあり、かつ床面段差側の球体が突起に支持されて浮いている状態にある段階で掃除機本体を停止させ、次の回避動作へ移行させることができた。このため、安全に回避運動へ移行することができて、掃除機本体の床面段差への転落を確実に防止することができ
【図面の簡単な説明】
【図1】 本発明の一実施形態に係る自走式掃除機の概略構成を示す縦断面図である。
【図2】 本実施形態に係る自走式掃除機の要部である本体最後部側の補助輪部分を拡大して示す部分断面図である。
【図3】 本実施形態に係る自走式掃除機の要部である本体最前部側の補助輪部分を拡大して示す部分断面図である。
【図4】 本実施形態に係る自走式掃除機の床ノズルの下部の正面図である。
【図5】 本実施形態に係る自走式掃除機の前進動作の説明図である。
【図6】 本実施形態に係る自走式掃除機の前方の床面段差検出の動作の説明図である。
【図7】 本実施形態に係る自走式掃除機の後方の床面段差検出の動作の説明図である。
【符号の説明】
1 掃除機本体、2 床ノズル、5 駆動輪、20 充電池、Sf,Sb 床面検出センサ(センサ)。

Claims (3)

  1. 充電池を搭載し駆動輪による自立走行機能と床ノズルによる清掃機能とを備えた自走式掃除機において、
    どの方向に対しても回転自在に設置されて床面と接触する球体、この球体に接触して従動回転する2軸方向に配置されたローラ、及びこれらローラの回転を検出するロータリエンコーダからなり、掃除機本体の下面側の最前部と最後部に配置されて床面段差を検出する複数の床面検出センサと、
    各前記床面検出センサの球体を、前記駆動輪と共に掃除機本体を支持する補助輪として構成できるように、前記床面検出センサの球体の取付部下面からの突出量よりも小さい突出量に設定されて前後の床面検出センサよりも内方に配置された複数の突起と、
    前記ロータリエンコーダの信号から進行方向後方の前記球体が回転しているにも拘わらず進行方向前方の前記球体が回転していない場合に、進行方向前方に床面段差有りと判定し、進行を直ちに止めさせ、床面段差の回避運動を行なわせる制御手段とを備えることを特徴とする自走式掃除機。
  2. 前方の床面検出センサを床ノズルの前縁部の左右2隅にそれぞれ設置するとともに、後方の床面検出センサを掃除機本体の後縁部の左右2隅にそれぞれ配置したことを特徴とする請求項1記載の自走式掃除機。
  3. 床ノズル側のセンサの球体の周りに、該球体を風路から遮蔽する壁を設けたことを特徴とする請求項1又は請求項2記載の自走式掃除機。
JP2002363541A 2002-12-16 2002-12-16 自走式掃除機 Expired - Fee Related JP4069293B2 (ja)

Priority Applications (1)

Application Number Priority Date Filing Date Title
JP2002363541A JP4069293B2 (ja) 2002-12-16 2002-12-16 自走式掃除機

Applications Claiming Priority (1)

Application Number Priority Date Filing Date Title
JP2002363541A JP4069293B2 (ja) 2002-12-16 2002-12-16 自走式掃除機

Publications (2)

Publication Number Publication Date
JP2004194715A JP2004194715A (ja) 2004-07-15
JP4069293B2 true JP4069293B2 (ja) 2008-04-02

Family

ID=32761661

Family Applications (1)

Application Number Title Priority Date Filing Date
JP2002363541A Expired - Fee Related JP4069293B2 (ja) 2002-12-16 2002-12-16 自走式掃除機

Country Status (1)

Country Link
JP (1) JP4069293B2 (ja)

Cited By (3)

* Cited by examiner, † Cited by third party
Publication number Priority date Publication date Assignee Title
WO2013047073A1 (ja) * 2011-09-29 2013-04-04 シャープ株式会社 掃除ロボット
JP2013070952A (ja) * 2011-09-29 2013-04-22 Sharp Corp 掃除ロボット
JP2013070951A (ja) * 2011-09-29 2013-04-22 Sharp Corp 掃除ロボット

Families Citing this family (5)

* Cited by examiner, † Cited by third party
Publication number Priority date Publication date Assignee Title
EP2816434A3 (en) * 2005-12-02 2015-01-28 iRobot Corporation Autonomous coverage robot
KR101300493B1 (ko) 2005-12-02 2013-09-02 아이로보트 코퍼레이션 커버리지 로봇 이동성
KR100683074B1 (ko) * 2005-12-22 2007-02-15 (주)경민메카트로닉스 로봇청소기
KR101393196B1 (ko) * 2007-05-09 2014-05-08 아이로보트 코퍼레이션 소형 자율 커버리지 로봇
DE112019005145T5 (de) * 2018-10-15 2021-07-15 Panasonic Intellectual Property Management Co., Ltd. Bewegungs-Körper

Cited By (3)

* Cited by examiner, † Cited by third party
Publication number Priority date Publication date Assignee Title
WO2013047073A1 (ja) * 2011-09-29 2013-04-04 シャープ株式会社 掃除ロボット
JP2013070952A (ja) * 2011-09-29 2013-04-22 Sharp Corp 掃除ロボット
JP2013070951A (ja) * 2011-09-29 2013-04-22 Sharp Corp 掃除ロボット

Also Published As

Publication number Publication date
JP2004194715A (ja) 2004-07-15

Similar Documents

Publication Publication Date Title
JP5048663B2 (ja) ロボット清掃装置
US9668627B2 (en) Robot cleaner
KR101571381B1 (ko) 자동 진공 청소기
KR101613106B1 (ko) 이동 가능한 로봇용 구동 배열체
JP3940402B2 (ja) ロボット掃除機の駆動装置
KR101397103B1 (ko) 로봇청소기 및 그 주행 제어 방법
KR20160017141A (ko) 자동 표면 처리 기기
JP2006087507A (ja) 自走式掃除機
KR20140061492A (ko) 자동 표면 처리 기기
JP2003280740A (ja) 移動装置
JP2010057647A (ja) 電気掃除機
KR20160035366A (ko) 로봇 청소기
JP4069293B2 (ja) 自走式掃除機
JP2017153787A (ja) 自走式掃除機
JP3339185B2 (ja) 移動作業ロボット
WO2025044772A1 (zh) 传动装置、自动清洁设备和清洁机器人系统
JPH0351023A (ja) 自走式掃除機
JP2018130198A (ja) 自走式電気掃除機
KR100783156B1 (ko) 로봇청소기
JP2669071B2 (ja) 自走式掃除機
JP2007179398A (ja) 自走式掃除機
JP6155784B2 (ja) 自走式掃除機
KR101489512B1 (ko) 주행방향 전환 기능이 개선된 로봇청소기 및 그 주행방법
JP2007244722A (ja) 自走式掃除機
KR100213491B1 (ko) 자동청소기의 안전장치

Legal Events

Date Code Title Description
A621 Written request for application examination

Free format text: JAPANESE INTERMEDIATE CODE: A621

Effective date: 20050114

A977 Report on retrieval

Free format text: JAPANESE INTERMEDIATE CODE: A971007

Effective date: 20071011

A131 Notification of reasons for refusal

Free format text: JAPANESE INTERMEDIATE CODE: A131

Effective date: 20071016

A521 Request for written amendment filed

Free format text: JAPANESE INTERMEDIATE CODE: A523

Effective date: 20071122

TRDD Decision of grant or rejection written
A01 Written decision to grant a patent or to grant a registration (utility model)

Free format text: JAPANESE INTERMEDIATE CODE: A01

Effective date: 20071225

A61 First payment of annual fees (during grant procedure)

Free format text: JAPANESE INTERMEDIATE CODE: A61

Effective date: 20071227

R150 Certificate of patent or registration of utility model

Free format text: JAPANESE INTERMEDIATE CODE: R150

Ref document number: 4069293

Country of ref document: JP

Free format text: JAPANESE INTERMEDIATE CODE: R150

FPAY Renewal fee payment (event date is renewal date of database)

Free format text: PAYMENT UNTIL: 20110125

Year of fee payment: 3

FPAY Renewal fee payment (event date is renewal date of database)

Free format text: PAYMENT UNTIL: 20120125

Year of fee payment: 4

FPAY Renewal fee payment (event date is renewal date of database)

Free format text: PAYMENT UNTIL: 20130125

Year of fee payment: 5

FPAY Renewal fee payment (event date is renewal date of database)

Free format text: PAYMENT UNTIL: 20130125

Year of fee payment: 5

R250 Receipt of annual fees

Free format text: JAPANESE INTERMEDIATE CODE: R250

R250 Receipt of annual fees

Free format text: JAPANESE INTERMEDIATE CODE: R250

R250 Receipt of annual fees

Free format text: JAPANESE INTERMEDIATE CODE: R250

R250 Receipt of annual fees

Free format text: JAPANESE INTERMEDIATE CODE: R250

R250 Receipt of annual fees

Free format text: JAPANESE INTERMEDIATE CODE: R250

LAPS Cancellation because of no payment of annual fees