JP4050410B2 - grill - Google Patents

grill Download PDF

Info

Publication number
JP4050410B2
JP4050410B2 JP33094798A JP33094798A JP4050410B2 JP 4050410 B2 JP4050410 B2 JP 4050410B2 JP 33094798 A JP33094798 A JP 33094798A JP 33094798 A JP33094798 A JP 33094798A JP 4050410 B2 JP4050410 B2 JP 4050410B2
Authority
JP
Japan
Prior art keywords
burner
grill
flame
heating chamber
nozzle
Prior art date
Legal status (The legal status is an assumption and is not a legal conclusion. Google has not performed a legal analysis and makes no representation as to the accuracy of the status listed.)
Expired - Lifetime
Application number
JP33094798A
Other languages
Japanese (ja)
Other versions
JP2000161672A (en
Inventor
豊 青木
友久 石黒
智仁 楠井
Original Assignee
パロマ工業株式会社
Priority date (The priority date is an assumption and is not a legal conclusion. Google has not performed a legal analysis and makes no representation as to the accuracy of the date listed.)
Filing date
Publication date
Application filed by パロマ工業株式会社 filed Critical パロマ工業株式会社
Priority to JP33094798A priority Critical patent/JP4050410B2/en
Publication of JP2000161672A publication Critical patent/JP2000161672A/en
Application granted granted Critical
Publication of JP4050410B2 publication Critical patent/JP4050410B2/en
Anticipated expiration legal-status Critical
Expired - Lifetime legal-status Critical Current

Links

Images

Landscapes

  • Baking, Grill, Roasting (AREA)

Description

【0001】
【発明の属する技術分野】
本発明は、魚等の被調理物を焼網に載せて加熱調理するグリルに関する。
【0002】
【従来の技術】
従来から、加熱庫内の上段に備えたガスバーナにより魚等の被調理物を上から加熱する片面焼グリルと、加熱庫内の上段および下段に備えたガスバーナにより被調理物を上下から同時に加熱する両面焼グリルとが知られている。
図14は、従来の両面焼グリルを正面からみた断面図である。この両面焼グリル101は、被調理物125を収納して加熱調理するための加熱庫102を形成し、加熱庫102内の中段に被調理物125を載置する焼網103と、加熱庫102内の下段に載置された受皿104と、加熱庫102内の上段左右側面で燃料ガスを燃焼する全一次空気式の上バーナ105と、加熱庫102内の下段左右側面で燃料ガスを燃焼するブンゼン式の下バーナ106とを備える。
こうした両面焼グリルでは、調理の際に上バーナ105及び下バーナ106を共に燃焼させ、被調理物125を上下から加熱し、燃焼排気を排気室150に連通する連通口124から排出する。
これに対し片面焼グリルは、下バーナを備えていないので、調理の際には上バーナを燃焼させ、被調理物を上から加熱する。
従来の下バーナとしては、U字状の内縁部に沿って複数の炎口を形成した中空部と、その中空部に連結され、一次空気を吸引するダンパーを備えたスロート部とを有し、スロート部にガスパイプのノズルを接続したブンゼンバーナがよく用いられている。このバーナでは、点火操作を行うと、ノズルからスロート部へガスが噴出されると共に、ダンパーから一次空気が吸引されてスロート部で混合され、この燃料ガスが中空部を通って炎口に供給されると共に、二次空気が加熱庫内から供給され、点火電極の連続放電によって点火するものである。
【0003】
【発明が解決しようとする課題】
しかしながら、こうしたグリルにおいては、バーナが加熱庫内に設置されているため、加熱庫内が狭くなり、大きな被調理物を調理することや、一度に多くの被調理物を調理することが困難であった。
本発明のグリルは上記課題を解決し、加熱庫内の調理エリアを広くすることを目的とする。
【0004】
【課題を解決するための手段】
上記課題を解決する本発明の請求項1記載のグリルは、
被調理物を収納して加熱調理するための加熱庫と、
上記加熱庫内に設けられる焼網と、
上記焼網の上下段あるいは上段に設けられ該焼網上に載置された被調理物を燃料ガスの燃焼により加熱するバーナとを備え
上記焼網の上段あるいは下段の少なくとも何れかのバーナを上記加熱庫の外部に設置すると共に、該バーナの火炎を該加熱庫内に噴出させるグリルであって、
上記上段あるいは下段の少なくとも何れかのバーナを、ガスが供給されるパイプと、このパイプの側方に突設されて当該パイプと連通する複数のノズル体より構成し、
上記各ノズル体内、又は上記各ノズル体と上記パイプとの連結際の該パイプに、ガス通路を部分的に小径とするノズル部を形成し、
そのノズル部の下流側に上記ガス通路を外部と連通させる空気孔をそれぞれ形成して、
上記パイプへのガスの供給圧で上記ノズル体先端の開口からガスを噴出させると共に、
上記空気孔から一次空気を吸引可能としてなるバーナを用いることを要旨とする。
【0005】
また、本発明の請求項2記載のグリルは、上記請求項1記載のグリルにおいて、
上記焼網上に載置された被調理物の上側を加熱する上バーナと、
上記焼網上に載置された被調理物の下側を加熱する下バーナと、
上記上バーナと上記下バーナとの間で火炎を伝達する火移りバーナと
を備えた両面焼きグリルにおいて、
上記火移りバーナを上記加熱庫の外部に設置することを要旨とする。
【0007】
また、本発明の請求項記載のグリルは、上記請求項1または2記載のグリルにおいて、
上記各ノズル体に、上記ノズル体の開口から火炎を形成させる保炎用燃焼手段を備えたことを要旨とする。
【0008】
また、本発明の請求項記載のグリルは、上記請求項1〜3のいずれかに記載のグリルにおいて、
上記各ノズル体における少なくとも上記ノズル部を含む先端側を着脱自在としたことを要旨とする。
【0009】
上記構成を有する本発明の請求項1記載のグリルは、バーナを加熱庫の外部に設置しバーナの火炎を加熱庫内に噴出させて加熱調理するため、バーナの設置スペースを加熱庫内に設ける必要がなく、その分、加熱庫内が広くなり、大きな被調理物を調理することや、一度に多くの被調理物を調理することができる。また、ガスの供給圧力を利用した速い噴出速度を得てバーナの火炎を長く形成するため、バーナが加熱庫の外部に設置されても、火炎を加熱庫内に容易に導くことができ、調理性能を維持しつつ加熱庫内を広くすることができる。
【0010】
また、本発明の請求項2記載のグリルは、焼網の上段と下段とにバーナを備えて被調理物を上下から加熱し、火移りバーナから両バーナに火炎が伝達される。この火移りバーナは、加熱庫の外部に設置されるため、火移りバーナの設置スペースを加熱庫内に設ける必要がなく、その分、加熱庫内が広くなる。
【0012】
また、本発明の請求項記載のグリルは、各ノズル体に、ノズル体の開口から火炎を形成させる保炎用燃焼手段を備えたので、各ノズル体における火炎のリフトを防止して適正な燃焼を維持できる。
【0013】
また、本発明の請求項記載のグリルは、各ノズル体における少なくともノズル部を含む先端側を着脱自在にしたので、グリルに合わせたノズル体の適正な選択と、部品の共通化によるコスト低減とが可能になる。
【0014】
【発明の実施の形態】
以上説明した本発明の構成・作用を一層明らかにするために、以下本発明のグリルの好適な実施形態について説明する。
【0015】
《第1実施形態》
図3は、本発明の第1実施形態としてのグリルを備えた後方排気式のテーブルこんろの外観図を示している。
テーブルこんろは、トッププレート73に2組のこんろバーナ74a、74bが設けられ、それらの周囲に設けられたごとく75a、75b上に図示しない調理鍋を載せ、テーブルこんろの前面に設けられる操作ボタン71a、71bを押すことによりそれぞれのこんろバーナ74a、74bが点火され、調理鍋が加熱されるものである。
こんろバーナ74a、74b間の器体の中心部には、魚等の被調理物を焼くためのグリル1が設けられ、操作ボタン71cを押して点火し加熱調理が行われる。
【0016】
このグリル1は、図1及び図2に示すように両面焼タイプのグリルで、被調理物25を収納して加熱する加熱庫2を備える。
加熱庫2には、上段左右側面に設けられ燃料ガスを燃焼させて被調理物25を加熱する上バーナ5と、中段に設けられ被調理物25を載せる焼網3と、下段左右側面に設けられ燃料ガスを燃焼させて被調理物25を加熱する下バーナ6と、左右側面奥に設けられ両バーナに火炎を伝達する火移りバーナ18と、底部に設けられ焼網3を載せたまま手前にスライドさせて引き出すことができる受皿4とを備える。
【0017】
加熱庫2の正面中央には、受皿4と一体的に固定され受皿4を手前に引き出す取手62と、受皿4を引き出す時に連動して開閉する開閉扉61とが設けられ、その開閉扉61にはガラス製の覗き窓61aが設けられる。
取手62を手前に引き出すと、取手62に固定された受皿4が加熱庫2の底面をスライドし、受皿4に載置された焼網3が同時に引き出される。
【0018】
加熱庫2の左右側面に設けた上バーナ5は、多孔質セラミックスの平面プレートに多数の小炎口を貫通させた燃焼面5aを有し、燃焼に必要な空気のほとんどを一次空気として吸入する全一次空気式のバーナで、その燃焼面5aは加熱庫2の奥行方向に沿って形成され、鉛直面に対してやや上方に傾けて設けられる。被調理物25の上側は、主に、上バーナ5からの輻射熱と、破線矢印で示される燃焼排気の対流により加熱される。
【0019】
加熱庫2の天井部は、正面からみてV字形状に形成され、中央が下がっている。
【0020】
加熱庫2の背部には、仕切壁51を介して排気室50を併設し、この仕切壁51に開口して加熱庫2と排気室50とを連通する連通口24を焼網3よりも下方に設けている。この連通口24は、焼網3面における上バーナ5からの受熱の少ない領域となる中央部分ほど、その開口上端が高い位置になるように山形状に開口形成される。
【0021】
一方、下バーナ6は、加熱庫2の外側の左右側面に設けられ、燃焼に必要な空気を一次空気と二次空気とでまかなうブンゼン式のバーナで、その内縁部分には加熱庫2の奥行方向に沿って配列されたノズル体8(後述する)により炎口列を形成する。加熱庫2の下段左右側面には、この下バーナ6に対向し円形状に開口して外部と加熱庫2内とを連通する通孔17が形成される。ノズル体8からの燃焼ガスの噴出方向は水平方向に設けられ、火炎は、加熱庫2の外部からこの通孔17を介して加熱庫2内に入る。被調理物25の下側は、主に、下バーナ6からの燃焼排気により加熱される。
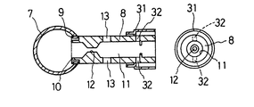
詳しくは、この下バーナ6は、図4にも示すように、基端にガスパイプ7aが接続され、先端が閉塞される断面円形のパイプ7と、パイプ7に直交して等間隔で連結される複数のノズル体8とからなる。各ノズル体8は、パイプ7の側方に嵌着され、内周に雌ネジ部を形成したリング状の連結体9に基端の雄ネジ部10を螺合させることでパイプ7と連結可能となっている。また、各ノズル体8内には、先端に開口し、パイプ7と連通するガス通路11が形成され、ガス通路11におけるパイプ7との連結際には、小径のノズル部12が形成されると共に、ノズル部12よりノズル体の先端側に、ガス通路11を外部と連通させる一対の空気孔13が穿設されている。
このように構成された下バーナ6は、図1に示すようにパイプ7及び各ノズル体8を加熱庫2の外部に設置される。
加熱庫2の底面には、燃焼用空気を取り入れるための空気取り入れ口14が奥行方向に沿って左右に形成される。また、加熱庫2の左右側壁には通孔17と平行にその下段に通孔16が形成される。従って下バーナ6の燃焼中には空気取り入れ口14から新鮮な空気が吸入され、その一部が一次空気として空気孔13に供給されると共に一部は二次空気として使用される。この二次空気は、加熱庫2外で火炎基部に供給されるだけでなく通孔16から加熱庫2内に導入され供給される。
【0022】
上バーナ5と下バーナ6との間に設けた火移りバーナ18は、周知のブンゼンバーナを使用し、図4に示すように、一次空気と共にガスが供給されるスロート部19の先端側を、上側が短い二股の中空部20、21に分岐させ、上側の中空部20を上バーナ5の燃焼面際に、下側の中空部21を下バーナ6の各ノズル体8の先端近傍にそれぞれ位置するように加熱庫2の外部で固定しているもので、中空部20、21の内縁には、火移り用炎口22を連続状に形成している。但し、中空部21の内縁には、各ノズル体8の位置に対応する切り欠きを、保炎用炎口23として形成している。尚、火移り用炎口22に臨んで図示しない点火電極が設けられる。
【0023】
上述した構成により、操作ボタン71cを押すと、上バーナ5へのガス流路を開閉する開閉弁と下バーナ6へのガス流路を開閉する開閉弁とが開弁される。この時、下バーナ6では、パイプ7から各ノズル体8へガスが供給される。また、各ノズル体8のガス通路11においては、パイプ7からガスの供給圧力を利用した速い噴出速度でガスが噴出されると共に、狭いノズル部12をガスが更に高速で通過する際のインジェクション効果により、空気孔13からそれぞれ一次空気を吸引し、燃料ガスとして噴出される。一方、点火操作により火移りバーナ18へも燃料ガスが、スロート部19を介して中空部20、21に供給されており、点火電極の連続放電により火移り用炎口22に点火する。よって、上側の中空部20側の火炎で上バーナ5に点火される一方、下側の中空部21を伝う火移り用炎口22の火炎が各ノズル体8から噴出する燃焼ガスに順に引火させ、図5に示すように各ノズル体8の開口から火炎を生じさせる。
従来の下バーナは1mmH2O程度の噴出圧で火炎が形成されていたが、本実施形態の下バーナは、ガスの供給圧力を利用しているため、二次圧が100〜140mmH2O程度になり速い噴出速度により火炎は前方へ長く形成される。
尚、中空部21の保炎用炎口23からの火炎は、上方へ向けて各ノズル体8の開口際に生じるため、火炎はノズル体8の開口から適正に形成され、燃料ガスの噴出速度が速くても火炎のリフトが防止でき、下バーナ6による加熱が適正に行われる。
【0024】
調理中に上バーナ5と下バーナ6とで発生した高温の排気は、いったん加熱庫2の上部に溜まり連通口24の中央部分からあふれて、排気室50から排出される。従って、上バーナ5から遠いために輻射熱による受熱が少ない中央部分に載置された被調理物25にも、排気熱により加熱が補われ、被調理物25全体がより均一に焼ける。しかも、加熱庫2の天井面がV字状に形成されているため、排気を図面矢印に示すように一層効果的に中央部分に集めることができ、均一に加熱できる。
【0025】
下バーナ6を加熱庫2の外部に設置することにより、下バーナ6の設置スペースを加熱庫2内に設ける必要をなくし、その分、加熱庫2内を広くして、下バーナ6の火炎を加熱庫2の左右壁面から噴出しているため、焼網3を加熱庫2の幅方向いっぱいに広げて調理エリアを拡大することができ、大きな被調理物を調理することや、一度に多くの被調理物を調理することができる。
【0026】
ところで、焼網3に被調理物25を載せ加熱調理を行うと、被調理物25は加熱されその油脂分すなわち焼き脂63が焼網3の間を通過して下方の受皿4に落下する。
従来のグリルでは、図14に示すように、下バーナ106が加熱庫102の内部に設置されていたので、下バーナ106の炎口が被調理物125や焼き脂163によって詰まりやすく、ひさし152を下バーナ106の上方に設置して防止していた。しかし、本実施形態1では図1に示すように、下バーナ6を加熱庫2の外部に設置し、円形状の通孔17は火炎だけが入る大きさで開口しているので、ノズル体8が詰まることはなく、ひさしが不要になり、各ノズル体8からの火炎は、ひさしによって妨害されることなく上方の焼網3付近へ熱を供給している。また、ノズル体8を詰まらせることがないため、安定した能力で加熱することができ、焼きむらを生じさせない。
【0027】
また、下バーナ6の各ノズル体8は、一次空気を取り込む空気孔13を加熱庫2の外部に備えているため、加熱庫2内に燃焼排気をこもらせても、加熱庫2の内部と比較して酸素濃度の高い一次空気を吸引し、燃焼性を維持して、安定した火炎を形成することができる。
【0028】
また、下バーナ6は、加熱庫2の外部に設けているものの、火炎が長くなって加熱庫2内の中央部まで効果的に加熱できるため、燃焼排気による加熱効果と合わせて被調理物25を万遍なく加熱でき、焼きむらを生じさせない。この結果、加熱庫2の中央部の加熱温度を上げるために必要なガス消費量を大きくする必要がなく、経済的となる。
【0029】
また、小さいガス消費量で加熱調理できる下バーナ6は、火炎が基本的にブンゼン炎のため輻射熱が少ないので、加熱庫2の下段付近の温度上昇を抑えることができ、受皿4に溜まった焼き脂63を発火しにくくしている。
この結果、受皿4に水を張らない水無しグリルとして適正に使用できる。つまり、調理に先立ち、焼き脂63を受ける受皿4に水を入れたり、調理終了後に排水したりする手間が省けるので、使い勝手がよい。しかも、水の入れ忘れによる発火を防止でき、安心して使うことができる。
更に、加熱調理に水を使わないので、被調理物25をこんがりと焼くことができる。
【0030】
同様に火移りバーナ18を加熱庫2の外部に設置することにより、火移りバーナ18の設置スペースを加熱庫2内に設ける必要をなくし、その分、加熱庫2内を広くして、焼網3を加熱庫2の幅方向いっぱいに広げて調理エリアを拡大することができ、大きな被調理物を調理することや、一度に多くの被調理物を調理することができる。
また、火移りバーナ18は、加熱庫2の外部から酸素濃度の高い二次空気を吸引しているため、燃焼性が良くなり、安定した火炎を形成することができる。
また、火移りバーナ18は、ブンゼン炎のため輻射熱が少ないのに加え、加熱庫2の外部に設置されていることにより、加熱庫2の下段付近の温度上昇を抑えることができ、受皿4に溜まった焼き脂63を発火しにくくしているため、水無しグリルとして適正に使用できる。
【0031】
更に、上バーナ5を加熱庫2の左右側面に設け上方に傾けることによって、輻射熱による下方への影響を低減して、加熱庫2の下段付近の温度上昇を抑え、水無しグリルとして適正に使用できる。
また、上バーナ5に全一次式を用いているため、加熱庫2内に燃焼排気をこもらせても、良好な燃焼を実現している。
【0032】
一方、本形態でのノズル体8は、パイプ7に対して着脱できる構造であるため、ガス通路11やノズル部12、空気孔13の径を適宜変更したノズル体を数タイプ用意しておけば、内圧やガス種、グリルの大きさ等の条件に合わせた適正な選択ができると共に、ノズル体以外の部品の共通化も図られてコスト低減に繋がる。
また、ノズル体の形状は上記形態に限定するものでなく、例えば図6のように、パイプ7側にノズル部となる小パイプ26を突設する一方、ノズル体27におけるガス通路11に、パイプ7側に徐々に拡大するすり鉢状あるいはテーパ状の吸引部28を形成し、このノズル体27を、取付金具29等の手段によって小パイプ26に対して非接触で配置して、小パイプ26と吸引部28との間から一次空気を吸引する構造も考えられる。
更に、保炎用燃焼手段としては、図7のように、ノズル体8の先端に、ガス通路11から別個に開口する保炎用通路30(数は多くてもよい)を形成したり、図8のように、ノズル体8の先端にこれより大径のリング体31を螺合してノズル体8の周囲にリング状の隙間を形成し、この隙間を通路32によりガス通路11と連通させたりすることで、保炎用通路30やリング体31からの燃料ガスを袖火として燃焼させ、ノズル体8自身に保炎効果を持たせることができる。よって、保炎用のバーナが不要になったり、火移りバーナを保炎用に切り欠く必要が無くなる。
【0033】
《第2実施形態》
上記第1実施形態では、パイプとノズル体との組み合わせによる下バーナを使用しているが、本発明の第2実施形態は、プレス成型によって得られる同様な下バーナを使用する。尚、グリル1の構成は、第1実施形態と同様であるため、図示および説明は省略し、下バーナの構造のみ説明する。
【0034】
図9、11において、下バーナ6は、筒状部33と、その筒状部33に直交状に連通するノズル体34とがプレス成型され、カシメ結合された上板と下板とからなり、各ノズル体34の上下には、空気孔35が穿設されている。また、筒状部33には、先端が閉塞され、基端がガスパイプ7aに連結されるパイプ36が挿入されると共に、筒状部33の両端のシマリバメで固定されている。更に、パイプ36の側面には、筒状部33への収納状態で各ノズル体34のガス通路11の中心に位置し、ガス通路11より小径のノズル孔37がノズル部として穿設されている。
よって、この第2実施形態によっても、パイプ36に供給されたガスは、ガスの供給圧力によってノズル孔37から各ノズル体34へ供給されると共に、空気孔35から一次空気が吸引され、ノズル体34から燃料ガスとして速い噴出速度で噴出されるため、図5と同様に火足の長い火炎を得ることができる。従って、第1実施形態と同様な効果が得られる。
【0035】
第2実施形態の下バーナ6においても設計変更が可能である。即ち、図10に示すように、各ノズル体34間に、ノズル体34の開口より小さい炎口38を火移り兼保炎用炎口として複数ずつプレス成型する一方、図12(A)の断面図にも示すように筒状部33と平行で先端を閉塞させた第二筒状部39も成型し、この第二筒状部39を、図12(B)のように筒状部33を部分的にパイプ36より大径とした大径部40と連通部41によって接続し、大径部40を炎口38に連通させて、第二筒状部39の基端をガスパイプ42に接続する。よって、第二筒状部39から連通部41、大径部40を介して炎口38に供給される燃料ガスが、火移りバーナ18の火炎から火移りして燃焼し、各ノズル体34を順に点火すると共に、その保炎を行うものとなる。この変更例によれば、第2実施形態の効果に加えて、下バーナ6に火移り及び保炎用としての炎口38を一体に形成できるため、火移りバーナ18の下側の中空部21を省略してその構成の簡略化が達成可能となる。
【0036】
また、図13のように、各ノズル体34の間に、それぞれ各ノズル体34と隣接する二股状の保炎用炎口43を、筒状部33と連通状態で形成すると共に、両保炎用炎口43の間に、更に小径の火移り用炎口44を連通状態で形成して、筒状部33との連通側基端に空気孔45を設ける一方、パイプ36において、ノズル孔37間で保炎用炎口43の基端に対応する位置に、小径の補助孔46を設ける構成も考えられる。この変更例によれば、第2実施形態の効果に加えて、下バーナ6に、筒状部33、ノズル体34、保炎用炎口43、火移り用炎口44が全てプレス成型できることで、下バーナ6の一層の合理化が実現できる。
【0037】
以上説明したように、第2実施形態の両面焼グリルによれば、第1実施形態の効果に加え、下バーナ6に火移り及び保炎用としての炎口38を一体に形成できるため、火移りバーナ18の下側の中空部21を省略してその構成の簡略化が達成可能となる。
また、下バーナ6に、筒状部33、ノズル体34、保炎用炎口43、火移り用炎口44が全てプレス成型できることで、下バーナ6の一層の合理化が実現できる。
【0038】
以上本発明の実施形態について説明したが、本発明はこうした実施形態に何等限定されるものではなく、本発明の要旨を逸脱しない範囲において、種々なる態様で実施し得ることは勿論である。
例えば、第1実施形態および第2実施形態では、上下にバーナを備えた両面焼きグリルの下バーナにのみ本発明のバーナを適用した例で説明したが、両面焼きグリルの上バーナにのみ適用しても差し支えなく、この場合、図1で示している全一次空気式の上バーナ5の代りに下バーナ6と同様なノズルから火炎を噴出するバーナを加熱庫2の上段左右側面に設置し、被調理物に輻射熱を与えるために熱板を加熱庫2の天井部に設けても良く、この場合には加熱庫2の上段が広くなり、調理エリアを拡大することができ、更に、被調理物が上バーナに触れなくなるため、被調理物や焼き脂による上バーナの炎口詰まりを防止できる。また、火炎が長くなって加熱庫2内の中央部まで効果的に加熱できるため、被調理物25を万遍なく加熱でき、焼きむらを生じさせない。この結果、加熱庫2の中央部の加熱温度を上げるために必要なガス消費量を大きくする必要がなく、経済的となる。また、ブンゼンバーナのため、能力範囲が広く、調理のバリエーションが広がる。
また、両面焼きグリルの上バーナと下バーナとの両方に適用しても差し支えなく、両バーナを加熱庫2の上下段の左右側面に設置しても、上述した上バーナにのみ適用した場合の効果が得られる。特に、上下両方に同一のバーナあるいはバーナの一部を用いる場合は、製造型が共通化になるため型償却が半分の期間で済みコスト低減となる。
また、焼網の上方にのみバーナを備えた片面焼きグリルにおいて本発明を採用しても差し支えなく、この場合も加熱庫内を広くすることが可能となる。片面焼きグリルでは、被調理物を上からのみ加熱するので被調理物を裏返す必要がある。この際、焼網付近の熱分布が不均一なグリルでは被調理物を並び変えなくてはならないが、本発明のグリルのバーナは、火炎が長いため焼きむらを生じさせず、被調理物をその位置で裏返すだけでよいため、使い勝手が良い。また、焼網が手前に十分に引き出されないまま裏返しをした場合においても、上バーナは、加熱庫の外部に設置されているため、被調理物によって炎口を詰まらせることはない。
一方、ノズル体8やノズル体34の数や間隔、また火移り用炎口や保炎用炎口の数や形状は上記内容に限定するものではなく、加熱庫2の大きさやガス供給圧等の条件に合わせて適宜変更可能である。また、ノズル体の向きも、上記形態では水平にしているが、水無しグリルとして受皿4への加熱を更に抑えるために、若干上向きとしてもよいし、下バーナ6は、左右一対でなく、加熱庫2の片側にのみ配置してもよい。そして、第1実施形態においては、ノズル体8ごと着脱自在としているが、パイプ側の基端部を残してノズル部12を含む先端側を分割し、螺合により基端部に対して着脱自在とする等の設計変更も採用できる。また、第2実施形態においては、下バーナ6を別体の上下板を用いて形成する構造に限らず、ノズル体や筒状部、炎口を左右対称に形成した一枚板を中央で折り曲げて結合する等、具体的な成型方法も上記形態に限定しない。
【0039】
【発明の効果】
以上詳述したように、本発明の請求項1記載のグリルによれば、被調理物を加熱するバーナを加熱庫の外部に設置するので、加熱庫内の調理エリアが広くなり、大きな被調理物を調理することや、一度に多くの被調理物を調理することができる。また、バーナの火炎を長く形成できるため、バーナを加熱庫の外部に設けても、加熱庫内の中央部まで効果的に加熱でき、被調理物を万遍なく加熱でき、焼きむらを生じさせない。
【0040】
更に、本発明の請求項2記載のグリルによれば、火移りバーナを加熱庫の外部に設置するので、加熱庫内がより広くなる。
【0042】
更に、本発明の請求項記載のグリルによれば、各ノズル体に、ノズル体の開口から火炎を形成させる保炎用燃焼手段を備えたことで、各ノズル体における火炎のリフトを防止して適正な燃焼を維持できる。
【0043】
更に、本発明の請求項記載のグリルによれば、各ノズル体における少なくともノズル部を含む先端側を着脱自在としたことで、グリルに合わせたノズル体の適正な選択と、部品の共通化によるコスト低減とが可能になる。
【図面の簡単な説明】
【図1】第1実施形態としての両面焼きグリルを正面からみた断面図である。
【図2】第1実施形態としての両面焼きグリルを側面からみた断面図である。
【図3】テーブルこんろの外観図である。
【図4】第1実施形態としてのバーナ部分の斜視図である。
【図5】第1実施形態としての両面焼きグリルを上面からみた断面図である。
【図6】第1実施形態としてのノズル体の変更例の断面図である。
【図7】第1実施形態としてのノズル体の変更例の断面図および先端の断面図である。
【図8】第1実施形態としてのノズル体の変更例の断面図および先端の断面図である。
【図9】第2実施形態としての下バーナの斜視図である。
【図10】第2実施形態としての下バーナの変更例の斜視図である。
【図11】図9の下バーナにおけるノズル体の断面図である。
【図12】図10の下バーナにおけるノズル体の断面図および炎口部分の断面図である。
【図13】第2実施形態としての下バーナの変更例の斜視図である。
【図14】従来例としての両面焼きグリルを正面からみた断面図である。
【符号の説明】
1…グリル、 2…加熱庫、 3…焼網、 4…受皿、 5…上バーナ、
6…下バーナ、 7…パイプ、 8…ノズル体、 11…ガス通路、
12…ノズル部、 13…空気孔、 18…火移りバーナ、
22…火移り用炎口、 23…保炎用炎口、 24…連通口、
25…被調理物、 33…筒状部、 34…ノズル体、 36…パイプ。
[0001]
BACKGROUND OF THE INVENTION
The present invention relates to a grill that cooks food such as fish on a grill.
[0002]
[Prior art]
Conventionally, a cooking object such as fish is heated from above by a gas burner provided in the upper stage of the heating chamber, and a cooking object is heated simultaneously from above and below by a gas burner provided in the upper and lower stages of the heating chamber. A double-sided grill is known.
FIG. 14 is a cross-sectional view of a conventional double-sided grill from the front. This double-sided grill 101 forms a heating chamber 102 for storing and cooking food to be cooked 125, a grill 103 for placing the food to be cooked 125 in the middle of the heating chamber 102, and the heating chamber 102. The tray 104 placed in the lower stage of the inside, the all-primary air type upper burner 105 that burns fuel gas on the upper left and right sides of the heating chamber 102, and the fuel gas burns on the lower left and right sides of the heating chamber 102 And a Bunsen type lower burner 106.
In such a double-sided grill, both the upper burner 105 and the lower burner 106 are combusted during cooking, the cooking object 125 is heated from above and below, and the combustion exhaust is discharged from the communication port 124 communicating with the exhaust chamber 150.
On the other hand, since the single-sided grill is not provided with a lower burner, the upper burner is burned during cooking to heat the object to be cooked from above.
As a conventional lower burner, it has a hollow portion formed with a plurality of flame openings along the U-shaped inner edge, and a throat portion that is connected to the hollow portion and includes a damper that sucks primary air, A Bunsen burner with a gas pipe nozzle connected to the throat is often used. In this burner, when an ignition operation is performed, gas is ejected from the nozzle to the throat portion, primary air is sucked from the damper and mixed in the throat portion, and this fuel gas is supplied to the flame opening through the hollow portion. At the same time, secondary air is supplied from the inside of the heating chamber and ignited by continuous discharge of the ignition electrode.
[0003]
[Problems to be solved by the invention]
However, in such a grill, since the burner is installed in the heating chamber, the inside of the heating chamber becomes narrow, and it is difficult to cook a large cooking object or to cook many cooking objects at once. there were.
The grill of this invention solves the said subject and aims at widening the cooking area in a heating chamber.
[0004]
[Means for Solving the Problems]
  The grill according to claim 1 of the present invention that solves the above problems is provided.
  A heating cabinet for storing cooked food and cooking;
  A grill provided in the heating chamber;
  A burner that is provided at the upper or lower stage or upper stage of the grill, and that heats the food to be cooked placed on the grill by combustion of fuel gas.,
  At least one of the burner upper and lower burners is installed outside the heating chamber, and the flame of the burner is jetted into the heating chamber.A grill,
The upper or lower burner is composed of a pipe to which a gas is supplied and a plurality of nozzle bodies protruding from the side of the pipe and communicating with the pipe,
In each of the nozzle bodies, or the pipes when the nozzle bodies and the pipes are connected, a nozzle portion having a gas passage partially having a small diameter is formed.
An air hole for communicating the gas passage with the outside is formed on the downstream side of the nozzle part,
Gas is ejected from the opening at the tip of the nozzle body at the gas supply pressure to the pipe,
A burner that can suck primary air from the air hole is used.This is the gist.
[0005]
A grill according to claim 2 of the present invention is the grill according to claim 1,
An upper burner for heating the upper side of the food to be cooked placed on the grill,
A lower burner for heating the lower side of the cooking object placed on the grill,
A fire transfer burner that transmits a flame between the upper burner and the lower burner;
In the double-sided grill with
The gist is to install the burner burner outside the heating chamber.
[0007]
  Further, the claims of the present invention3The grill according to claim1 or 2In the grill described,
  The gist of the invention is that each nozzle body is provided with flame holding combustion means for forming a flame from the opening of the nozzle body.
[0008]
  Further, the claims of the present invention4The grill according to claim1 to 3In the grill described,
  The gist of the invention is that at least the tip side including at least the nozzle part in each nozzle body is detachable.
[0009]
  In the grill according to claim 1 of the present invention having the above-described configuration, the burner is installed outside the heating chamber and the flame of the burner is jetted into the heating chamber for cooking. There is no need, and the inside of the heating chamber is widened accordingly, so that a large cooking object can be cooked or many cooking objects can be cooked at once.In addition, because the flame of the burner is formed long by obtaining a high jet speed using the gas supply pressure, the flame can be easily introduced into the heating chamber even if the burner is installed outside the heating chamber, and cooking The inside of the heating chamber can be widened while maintaining the performance.
[0010]
Moreover, the grill according to claim 2 of the present invention is provided with burners at the upper and lower stages of the grill net to heat the cooking object from above and below, and the flame is transmitted from the burner burner to both burners. Since this fire transfer burner is installed outside the heating chamber, it is not necessary to provide the installation space for the fire transfer burner in the heating chamber, and the interior of the heating chamber is widened accordingly.
[0012]
  Further, the claims of the present invention3In the described grille, each nozzle body is provided with flame-holding combustion means for forming a flame from the opening of the nozzle body, so that it is possible to prevent flame lift in each nozzle body and maintain proper combustion.
[0013]
  Further, the claims of the present invention4In the described grille, at least the tip side including at least the nozzle portion of each nozzle body is detachable, so that it is possible to appropriately select the nozzle body according to the grill and to reduce the cost by sharing parts.
[0014]
DETAILED DESCRIPTION OF THE INVENTION
In order to further clarify the configuration and operation of the present invention described above, preferred embodiments of the grill of the present invention will be described below.
[0015]
<< First Embodiment >>
FIG. 3 shows an external view of a rear exhaust type table stove provided with a grill as the first embodiment of the present invention.
The table stove is provided with two sets of stove burners 74a and 74b on the top plate 73, and a cooking pot (not shown) is placed on the top of the table stove as provided around them. By pressing the operation buttons 71a and 71b, the respective burner burners 74a and 74b are ignited and the cooking pan is heated.
At the center of the vessel between the stove burners 74a and 74b, a grill 1 is provided for baking an object to be cooked such as fish, and the operation button 71c is pressed to ignite and heat cooking is performed.
[0016]
As shown in FIGS. 1 and 2, the grill 1 is a double-sided grill type grill and includes a heating chamber 2 that houses and heats an object to be cooked 25.
The heating chamber 2 is provided on the left and right side surfaces of the upper stage and burns fuel gas to heat the cooking object 25, the grill 3 provided on the middle stage on which the cooking object 25 is placed, and the left and right side surfaces of the lower stage. The lower burner 6 that burns the fuel gas and heats the object 25 to be cooked, the fire transfer burner 18 that is provided in the back of the left and right side surfaces and transmits the flames to both burners, and the grill net 3 that is provided at the bottom and on the front And a tray 4 that can be slid and pulled out.
[0017]
At the front center of the heating chamber 2, there are provided a handle 62 that is fixed integrally with the tray 4 and pulls the tray 4 forward, and an opening / closing door 61 that opens and closes in conjunction with the tray 4 being pulled out. Is provided with a glass viewing window 61a.
When the handle 62 is pulled out, the tray 4 fixed to the handle 62 slides on the bottom surface of the heating chamber 2, and the grill net 3 placed on the tray 4 is pulled out simultaneously.
[0018]
The upper burner 5 provided on the left and right side surfaces of the heating chamber 2 has a combustion surface 5a in which a large number of small flame openings are passed through a porous ceramic flat plate, and sucks most of the air necessary for combustion as primary air. It is an all-primary air burner, and its combustion surface 5a is formed along the depth direction of the heating chamber 2, and is inclined slightly upward with respect to the vertical surface. The upper side of the object to be cooked 25 is heated mainly by the radiant heat from the upper burner 5 and the convection of the combustion exhaust gas indicated by broken-line arrows.
[0019]
The ceiling part of the heating chamber 2 is formed in a V shape when viewed from the front, and the center is lowered.
[0020]
An exhaust chamber 50 is provided behind the heating chamber 2 through a partition wall 51, and a communication port 24 that opens to the partition wall 51 and communicates the heating chamber 2 and the exhaust chamber 50 is located below the grill net 3. Provided. This communication port 24 is formed in a mountain shape so that the upper end of the opening becomes higher in the central portion that is a region where heat is received from the upper burner 5 on the surface of the grill 3.
[0021]
On the other hand, the lower burner 6 is a Bunsen burner that is provided on the left and right side surfaces on the outer side of the heating chamber 2 and provides air necessary for combustion with primary air and secondary air. Flame nozzle arrays are formed by nozzle bodies 8 (described later) arranged along the direction. On the lower left and right side surfaces of the heating chamber 2 are formed through holes 17 that face the lower burner 6 and open in a circular shape to communicate the outside and the inside of the heating chamber 2. The ejection direction of the combustion gas from the nozzle body 8 is provided in the horizontal direction, and the flame enters the heating chamber 2 from the outside of the heating chamber 2 through the through hole 17. The lower side of the cooking object 25 is mainly heated by combustion exhaust from the lower burner 6.
Specifically, as shown in FIG. 4, the lower burner 6 is connected to a pipe 7 having a circular cross section with a gas pipe 7 a connected to the base end and closed at the tip, and is connected to the pipe 7 at equal intervals. It consists of a plurality of nozzle bodies 8. Each nozzle body 8 is fitted to the side of the pipe 7 and can be coupled to the pipe 7 by screwing the male threaded portion 10 at the base end into a ring-shaped coupling body 9 having a female threaded portion on the inner periphery. It has become. Each nozzle body 8 is formed with a gas passage 11 that opens at the tip and communicates with the pipe 7. When the gas passage 11 is connected to the pipe 7, a small-diameter nozzle portion 12 is formed. A pair of air holes 13 that allow the gas passage 11 to communicate with the outside are formed in the distal end side of the nozzle body from the nozzle portion 12.
The lower burner 6 configured as described above has the pipe 7 and each nozzle body 8 installed outside the heating chamber 2 as shown in FIG.
On the bottom surface of the heating chamber 2, air intake ports 14 for taking in combustion air are formed on the left and right sides along the depth direction. In addition, a through hole 16 is formed on the left and right side walls of the heating chamber 2 in parallel with the through hole 17 in the lower stage. Accordingly, during combustion of the lower burner 6, fresh air is sucked from the air intake port 14, a part of which is supplied to the air holes 13 as primary air and a part of which is used as secondary air. This secondary air is not only supplied to the flame base outside the heating chamber 2 but also introduced and supplied into the heating chamber 2 through the through holes 16.
[0022]
The burn-off burner 18 provided between the upper burner 5 and the lower burner 6 uses a well-known Bunsen burner, and as shown in FIG. 4, the tip side of the throat portion 19 to which gas is supplied together with primary air, The upper hollow portion 20 is branched into short bifurcated hollow portions 20, 21, and the upper hollow portion 20 is positioned near the combustion surface of the upper burner 5, and the lower hollow portion 21 is positioned near the tip of each nozzle body 8 of the lower burner 6. In this way, it is fixed outside the heating chamber 2, and a flame transfer port 22 is formed continuously at the inner edges of the hollow portions 20, 21. However, a notch corresponding to the position of each nozzle body 8 is formed in the inner edge of the hollow portion 21 as a flame holding flame opening 23. Note that an ignition electrode (not shown) is provided facing the flame transfer port 22.
[0023]
With the above-described configuration, when the operation button 71c is pressed, the open / close valve that opens and closes the gas flow path to the upper burner 5 and the open / close valve that opens and closes the gas flow path to the lower burner 6 are opened. At this time, in the lower burner 6, gas is supplied from the pipe 7 to each nozzle body 8. Further, in the gas passage 11 of each nozzle body 8, the gas is ejected from the pipe 7 at a high ejection speed using the gas supply pressure, and the injection effect when the gas passes through the narrow nozzle portion 12 at a higher speed. Thus, primary air is sucked from the air holes 13 and ejected as fuel gas. On the other hand, the fuel gas is also supplied to the hollow portions 20 and 21 via the throat portion 19 by the ignition operation to the fire transfer burner 18 and ignites the fire transfer flame port 22 by continuous discharge of the ignition electrode. Accordingly, the upper burner 5 is ignited by the flame of the upper hollow portion 20, while the flame of the flame transfer port 22 that propagates through the lower hollow portion 21 sequentially ignites the combustion gas ejected from each nozzle body 8. As shown in FIG. 5, a flame is generated from the opening of each nozzle body 8.
Conventional lower burner is 1mmH2Although the flame was formed with the jet pressure of about O, since the lower burner of this embodiment uses the supply pressure of gas, the secondary pressure is 100 to 140 mmH.2The flame is formed to be long forward due to the high ejection speed of O.
In addition, since the flame from the flame holding flame opening 23 of the hollow portion 21 is generated when each nozzle body 8 is opened upward, the flame is appropriately formed from the opening of the nozzle body 8 and the ejection speed of the fuel gas Even if it is fast, flame lift can be prevented and heating by the lower burner 6 is performed properly.
[0024]
Hot exhaust gas generated by the upper burner 5 and the lower burner 6 during cooking once accumulates in the upper part of the heating chamber 2, overflows from the central portion of the communication port 24, and is discharged from the exhaust chamber 50. Therefore, the cooking object 25 placed in the central portion where the heat received by the radiant heat is small because it is far from the upper burner 5 is supplemented with heating by the exhaust heat, and the whole cooking object 25 is baked more uniformly. In addition, since the ceiling surface of the heating chamber 2 is formed in a V shape, the exhaust can be more effectively collected in the central portion as shown by the arrows in the drawing and can be heated uniformly.
[0025]
By installing the lower burner 6 outside the heating chamber 2, it is not necessary to provide an installation space for the lower burner 6 in the heating chamber 2, and accordingly, the heating chamber 2 is widened to reduce the flame of the lower burner 6. Because it erupts from the left and right wall surfaces of the heating cabinet 2, the cooking area can be expanded by expanding the grill net 3 in the width direction of the heating cabinet 2, cooking a large to-be-cooked object, and many The food to be cooked can be cooked.
[0026]
By the way, when the cooking object 25 is placed on the grill 3 and cooking is performed, the cooking object 25 is heated, and its fat or oil content, that is, the grilled fat 63 passes between the grills 3 and falls to the receiving tray 4 below.
In the conventional grill, as shown in FIG. 14, since the lower burner 106 is installed inside the heating chamber 102, the flame burner of the lower burner 106 is easily clogged with the cooking object 125 and the grilled oil 163, and the eaves 152 It was installed above the lower burner 106 to prevent it. However, in the first embodiment, as shown in FIG. 1, the lower burner 6 is installed outside the heating chamber 2, and the circular through hole 17 is opened with a size that allows only the flame to enter. The eaves are not required, and the eaves are not required. The flame from each nozzle body 8 supplies heat to the vicinity of the upper grill net 3 without being obstructed by the eaves. Moreover, since the nozzle body 8 is not clogged, it can be heated with a stable capacity and does not cause uneven baking.
[0027]
Moreover, since each nozzle body 8 of the lower burner 6 is provided with an air hole 13 for taking in primary air outside the heating chamber 2, even if combustion exhaust is trapped in the heating chamber 2, In comparison, primary air having a high oxygen concentration can be sucked to maintain combustibility, and a stable flame can be formed.
[0028]
Moreover, although the lower burner 6 is provided outside the heating chamber 2, the flame becomes long and can be effectively heated up to the central portion in the heating chamber 2. Can be heated evenly and does not cause uneven burning. As a result, it is not necessary to increase the gas consumption required to raise the heating temperature of the central portion of the heating chamber 2, and it becomes economical.
[0029]
In addition, the lower burner 6 that can be cooked with a small amount of gas consumption has less radiant heat because the flame is basically a Bunsen flame. Fat 63 is made difficult to ignite.
As a result, it can be properly used as a waterless grill that does not fill the tray 4 with water. That is, it is easy to use because it is possible to save the trouble of putting water into the saucer 4 that receives the grilled fat 63 and draining it after the cooking is finished before cooking. Moreover, it can prevent fires caused by forgetting to add water, and can be used with confidence.
Furthermore, since water is not used for cooking, the object to be cooked 25 can be baked.
[0030]
Similarly, by installing the fire transfer burner 18 outside the heating chamber 2, it is not necessary to provide the installation space for the fire transfer burner 18 in the heating chamber 2. 3 can be expanded in the width direction of the heating chamber 2 to expand the cooking area, and a large cooking object can be cooked or many cooking objects can be cooked at once.
In addition, the fire transfer burner 18 sucks secondary air having a high oxygen concentration from the outside of the heating chamber 2, so that the combustibility is improved and a stable flame can be formed.
In addition, since the fire transfer burner 18 has a low radiant heat due to the Bunsen flame, it is installed outside the heating chamber 2, thereby suppressing a temperature rise near the lower stage of the heating chamber 2. Since the accumulated burnt oil 63 is hard to ignite, it can be used appropriately as a waterless grill.
[0031]
Furthermore, the upper burner 5 is provided on the left and right side surfaces of the heating chamber 2 and tilted upward to reduce the effect of radiant heat on the lower side, suppressing the temperature rise near the lower stage of the heating chamber 2, and properly used as a waterless grill. it can.
Moreover, since all the primary equations are used for the upper burner 5, even if combustion exhaust is trapped in the heating chamber 2, good combustion is realized.
[0032]
On the other hand, since the nozzle body 8 in this embodiment has a structure that can be attached to and detached from the pipe 7, if several types of nozzle bodies in which the diameters of the gas passage 11, the nozzle portion 12, and the air holes 13 are appropriately changed are prepared. In addition to being able to make an appropriate selection according to conditions such as the internal pressure, gas type, and grill size, the components other than the nozzle body can be shared, leading to cost reduction.
Further, the shape of the nozzle body is not limited to the above-described form. For example, as shown in FIG. 6, a small pipe 26 serving as a nozzle portion is provided on the pipe 7 side, and a pipe is provided in the gas passage 11 of the nozzle body 27. A mortar-shaped or tapered suction portion 28 that gradually expands to the 7 side is formed, and this nozzle body 27 is arranged in a non-contact manner with respect to the small pipe 26 by means of a mounting bracket 29 or the like. A structure in which primary air is sucked from the space between the suction portion 28 and the suction portion 28 is also conceivable.
Furthermore, as the flame holding combustion means, as shown in FIG. 7, a flame holding passage 30 (the number may be large) that opens separately from the gas passage 11 is formed at the tip of the nozzle body 8, or FIG. As shown in FIG. 8, a ring body 31 having a larger diameter is screwed onto the tip of the nozzle body 8 to form a ring-shaped gap around the nozzle body 8, and this gap is communicated with the gas passage 11 by the passage 32. As a result, the fuel gas from the flame-holding passage 30 and the ring body 31 is burned as a sleeve fire, and the nozzle body 8 itself can have a flame-holding effect. Therefore, there is no need for a flame holding burner, and it is not necessary to cut out the fire transfer burner for flame holding.
[0033]
<< Second Embodiment >>
In the said 1st Embodiment, although the lower burner by the combination of a pipe and a nozzle body is used, 2nd Embodiment of this invention uses the same lower burner obtained by press molding. In addition, since the structure of the grill 1 is the same as that of 1st Embodiment, illustration and description are abbreviate | omitted and only the structure of a lower burner is demonstrated.
[0034]
9 and 11, the lower burner 6 is composed of an upper plate and a lower plate in which a cylindrical portion 33 and a nozzle body 34 communicating with the cylindrical portion 33 in an orthogonal shape are press-molded and crimped, Air holes 35 are formed above and below each nozzle body 34. In addition, a pipe 36 having a distal end closed and a base end connected to the gas pipe 7 a is inserted into the cylindrical portion 33, and is fixed with squeeze at both ends of the cylindrical portion 33. Further, on the side surface of the pipe 36, a nozzle hole 37 that is located in the center of the gas passage 11 of each nozzle body 34 in a state of being accommodated in the cylindrical portion 33 and has a smaller diameter than the gas passage 11 is formed as a nozzle portion. .
Therefore, also in the second embodiment, the gas supplied to the pipe 36 is supplied from the nozzle hole 37 to each nozzle body 34 by the gas supply pressure, and the primary air is sucked from the air hole 35, and the nozzle body. Since the fuel gas 34 is ejected at a high ejection speed from 34, a flame with a long fire foot can be obtained as in FIG. Therefore, the same effect as the first embodiment can be obtained.
[0035]
The design can also be changed in the lower burner 6 of the second embodiment. That is, as shown in FIG. 10, a plurality of flame openings 38 smaller than the opening of the nozzle bodies 34 are press-molded between the nozzle bodies 34 as a flame transfer and flame holding flame opening, while the cross section of FIG. As shown in the figure, a second cylindrical portion 39 that is parallel to the cylindrical portion 33 and closed at the tip is also molded, and this second cylindrical portion 39 is replaced with the cylindrical portion 33 as shown in FIG. The large diameter portion 40 partially having a larger diameter than the pipe 36 is connected by the communication portion 41, the large diameter portion 40 is communicated with the flame port 38, and the proximal end of the second cylindrical portion 39 is connected to the gas pipe 42. . Therefore, the fuel gas supplied from the second cylindrical portion 39 to the flame opening 38 via the communication portion 41 and the large diameter portion 40 is transferred from the flame of the burner burner 18 and burned, and each nozzle body 34 is made to burn. In addition to igniting in order, the flame holding is performed. According to this modified example, in addition to the effects of the second embodiment, the flame port 38 for transferring and holding the flame can be integrally formed in the lower burner 6, so that the hollow portion 21 on the lower side of the transferring burner 18 is provided. The configuration can be simplified by omitting.
[0036]
Further, as shown in FIG. 13, a bifurcated flame holding flame opening 43 adjacent to each nozzle body 34 is formed between the nozzle bodies 34 so as to communicate with the cylindrical portion 33, and both flame holding flames are provided. A smaller-diameter flame transfer flame port 44 is formed in communication between the flame ports 43, and an air hole 45 is provided at the base end on the communication side with the cylindrical portion 33. A configuration in which a small-diameter auxiliary hole 46 is provided at a position corresponding to the base end of the flame-holding flame opening 43 is also conceivable. According to this modified example, in addition to the effect of the second embodiment, the cylindrical portion 33, the nozzle body 34, the flame holding flame port 43, and the flame transfer flame port 44 can all be press-molded in the lower burner 6. Further rationalization of the lower burner 6 can be realized.
[0037]
As described above, according to the double-sided grill of the second embodiment, in addition to the effects of the first embodiment, the flame burner 38 for transferring and holding the flame can be integrally formed in the lower burner 6. The hollow portion 21 on the lower side of the transfer burner 18 is omitted, and simplification of the configuration can be achieved.
Moreover, since the cylindrical part 33, the nozzle body 34, the flame holding flame port 43, and the flame transfer flame port 44 can all be press-molded on the lower burner 6, further rationalization of the lower burner 6 can be realized.
[0038]
Although the embodiment of the present invention has been described above, the present invention is not limited to such an embodiment, and it is needless to say that the present invention can be implemented in various modes without departing from the gist of the present invention.
For example, in the first embodiment and the second embodiment, the example in which the burner of the present invention is applied only to the lower burner of the double-sided grill with the upper and lower burners has been described. In this case, instead of the all-primary air type upper burner 5 shown in FIG. 1, a burner that emits a flame from a nozzle similar to the lower burner 6 is installed on the upper left and right sides of the heating chamber 2, A heat plate may be provided on the ceiling of the heating chamber 2 to give radiant heat to the object to be cooked. In this case, the upper stage of the heating chamber 2 is widened, and the cooking area can be expanded. Since the object does not touch the upper burner, it is possible to prevent the upper burner from being clogged by the cooking object or grilled fat. Moreover, since a flame becomes long and it can heat effectively to the center part in the heating chamber 2, the to-be-cooked object 25 can be heated uniformly, and a baking unevenness is not produced. As a result, it is not necessary to increase the gas consumption required to raise the heating temperature of the central portion of the heating chamber 2, and it becomes economical. In addition, because of the Bunsen burner, it has a wide range of capabilities and a wide range of cooking variations.
Moreover, even if it applies to both an upper burner and a lower burner of a double-sided grilling grill, even if both burners are installed on the left and right sides of the upper and lower stages of the heating chamber 2, they are applied only to the upper burner described above. An effect is obtained. In particular, when the same burner or a part of the burner is used for both the upper and lower sides, since the manufacturing mold is made common, the mold depreciation is completed in half and the cost is reduced.
Further, the present invention can be adopted in a single-sided grill provided with a burner only above the grill, and in this case, the inside of the heating chamber can be widened. In a single-sided grill, the food to be cooked is heated only from above, so the food to be cooked must be turned over. At this time, the food to be cooked must be rearranged in a grill with a non-uniform heat distribution near the grill, but the grill burner of the present invention does not cause uneven burning due to the long flame, and Because it is only necessary to turn it over at that position, it is easy to use. Further, even when the grill is turned upside down without being sufficiently drawn out, the upper burner is installed outside the heating chamber, and therefore the flame opening is not clogged with the cooking object.
On the other hand, the number and interval of the nozzle bodies 8 and the nozzle bodies 34, and the number and shape of the flame transfer flame mouth and the flame holding flame mouth are not limited to the above contents. It can be appropriately changed according to the conditions. The nozzle body is also horizontally oriented in the above embodiment, but it may be slightly upward in order to further suppress heating to the tray 4 as a waterless grill, and the lower burner 6 is not a pair of left and right, It may be arranged only on one side of the cabinet 2. In the first embodiment, the entire nozzle body 8 is detachable, but the distal end side including the nozzle portion 12 is divided, leaving the proximal end portion on the pipe side, and is detachable from the proximal end portion by screwing. Design changes such as can be adopted. In the second embodiment, not only the structure in which the lower burner 6 is formed using separate upper and lower plates, but also a single plate in which the nozzle body, the cylindrical portion, and the flame opening are formed symmetrically is bent at the center. The specific molding method such as bonding is not limited to the above embodiment.
[0039]
【The invention's effect】
  As described above in detail, according to the grill according to claim 1 of the present invention, since the burner for heating the cooking object is installed outside the heating chamber, the cooking area in the heating chamber is widened and a large cooking target is prepared. You can cook things and cook many things to be cooked at once.Moreover, since the flame of the burner can be formed long, even if the burner is provided outside the heating chamber, it can be effectively heated up to the center of the heating chamber, the food to be cooked can be uniformly heated, and uneven baking is not caused. .
[0040]
Furthermore, according to the grill according to claim 2 of the present invention, since the burner burner is installed outside the heating chamber, the inside of the heating chamber becomes wider.
[0042]
  Further claims of the present invention3According to the described grill, by providing each nozzle body with the flame holding combustion means for forming a flame from the opening of the nozzle body, it is possible to prevent flame lift in each nozzle body and maintain proper combustion.
[0043]
  Further claims of the present invention4According to the described grille, the tip side including at least the nozzle portion of each nozzle body is made detachable, so that it is possible to appropriately select a nozzle body according to the grill and to reduce costs by using common parts. .
[Brief description of the drawings]
FIG. 1 is a cross-sectional view of a double-sided grill as a first embodiment as seen from the front.
FIG. 2 is a cross-sectional view of a double-sided grill as a first embodiment as seen from the side.
FIG. 3 is an external view of a table stove.
FIG. 4 is a perspective view of a burner portion as the first embodiment.
FIG. 5 is a cross-sectional view of a double-sided grill as a first embodiment as seen from above.
FIG. 6 is a cross-sectional view of a modified example of the nozzle body as the first embodiment.
FIGS. 7A and 7B are a cross-sectional view and a cross-sectional view of a tip of a modified example of the nozzle body as the first embodiment. FIGS.
FIGS. 8A and 8B are a cross-sectional view and a cross-sectional view of the tip of a modified example of the nozzle body as the first embodiment. FIGS.
FIG. 9 is a perspective view of a lower burner as a second embodiment.
FIG. 10 is a perspective view of a modified example of the lower burner as the second embodiment.
11 is a cross-sectional view of a nozzle body in the lower burner of FIG. 9;
12 is a cross-sectional view of a nozzle body and a cross-sectional view of a flame opening portion in the lower burner of FIG.
FIG. 13 is a perspective view of a modified example of the lower burner as the second embodiment.
FIG. 14 is a cross-sectional view of a double-sided grill as a conventional example as seen from the front.
[Explanation of symbols]
1 ... Grill, 2 ... Heater, 3 ... Burning net, 4 ... Saucer, 5 ... Upper burner,
6 ... Lower burner, 7 ... Pipe, 8 ... Nozzle body, 11 ... Gas passage,
12 ... Nozzle part, 13 ... Air hole, 18 ... Fire burner,
22 ... Fire transfer port, 23 ... Flame holding port, 24 ... Communication port,
25 ... to-be-cooked object, 33 ... cylindrical part, 34 ... nozzle body, 36 ... pipe.

Claims (4)

被調理物を収納して加熱調理するための加熱庫と、
上記加熱庫内に設けられる焼網と、
上記焼網の上下段あるいは上段に設けられ該焼網上に載置された被調理物を燃料ガスの燃焼により加熱するバーナとを備え
上記焼網の上段あるいは下段の少なくとも何れかのバーナを上記加熱庫の外部に設置すると共に、該バーナの火炎を該加熱庫内に噴出させるグリルであって、
上記上段あるいは下段の少なくとも何れかのバーナを、ガスが供給されるパイプと、このパイプの側方に突設されて当該パイプと連通する複数のノズル体より構成し、
上記各ノズル体内、又は上記各ノズル体と上記パイプとの連結際の該パイプに、ガス通路を部分的に小径とするノズル部を形成し、
そのノズル部の下流側に上記ガス通路を外部と連通させる空気孔をそれぞれ形成して、
上記パイプへのガスの供給圧で上記ノズル体先端の開口からガスを噴出させると共に、
上記空気孔から一次空気を吸引可能としてなるバーナを用いることを特徴とするグリル。
A heating cabinet for storing cooked food and cooking;
A grill provided in the heating chamber;
A burner that is provided in the upper or lower stage or upper stage of the grill, and that heats the food to be cooked placed on the grill by combustion of fuel gas ,
A grill that installs at least one of the upper and lower burners of the grill on the outside of the heating chamber, and jets the flame of the burner into the heating chamber ,
The upper or lower burner is composed of a pipe to which a gas is supplied and a plurality of nozzle bodies protruding from the side of the pipe and communicating with the pipe,
In each of the nozzle bodies, or the pipes when the nozzle bodies and the pipes are connected, a nozzle portion having a gas passage partially having a small diameter is formed.
An air hole for communicating the gas passage with the outside is formed on the downstream side of the nozzle part,
Gas is ejected from the opening at the tip of the nozzle body at the gas supply pressure to the pipe,
A grill using a burner capable of sucking primary air from the air hole .
上記焼網上に載置された被調理物の上側を加熱する上バーナと、
上記焼網上に載置された被調理物の下側を加熱する下バーナと、
上記上バーナと上記下バーナとの間で火炎を伝達する火移りバーナとを備えた両面焼きグリルにおいて、
上記火移りバーナを上記加熱庫の外部に設置することを特徴とする請求項1記載のグリル。
An upper burner for heating the upper side of the food to be cooked placed on the grill,
A lower burner for heating the lower side of the cooking object placed on the grill,
In the double-sided grill with a fire transfer burner that transmits a flame between the upper burner and the lower burner,
The grill according to claim 1, wherein the burner burner is installed outside the heating chamber.
上記各ノズル体に、上記ノズル体の開口から火炎を形成させる保炎用燃焼手段を備えたことを特徴とする請求項1または2記載のグリル。The grill according to claim 1 or 2 , wherein each nozzle body is provided with a flame holding combustion means for forming a flame from the opening of the nozzle body. 上記各ノズル体における少なくとも上記ノズル部を含む先端側を着脱自在としたことを特徴とする請求項1〜3のいずれかに記載のグリル。The grill according to any one of claims 1 to 3, wherein a tip end side including at least the nozzle portion in each nozzle body is detachable.
JP33094798A 1998-11-20 1998-11-20 grill Expired - Lifetime JP4050410B2 (en)

Priority Applications (1)

Application Number Priority Date Filing Date Title
JP33094798A JP4050410B2 (en) 1998-11-20 1998-11-20 grill

Applications Claiming Priority (1)

Application Number Priority Date Filing Date Title
JP33094798A JP4050410B2 (en) 1998-11-20 1998-11-20 grill

Publications (2)

Publication Number Publication Date
JP2000161672A JP2000161672A (en) 2000-06-16
JP4050410B2 true JP4050410B2 (en) 2008-02-20

Family

ID=18238203

Family Applications (1)

Application Number Title Priority Date Filing Date
JP33094798A Expired - Lifetime JP4050410B2 (en) 1998-11-20 1998-11-20 grill

Country Status (1)

Country Link
JP (1) JP4050410B2 (en)

Families Citing this family (2)

* Cited by examiner, † Cited by third party
Publication number Priority date Publication date Assignee Title
JP2006304883A (en) * 2005-04-26 2006-11-09 Paloma Ind Ltd Both-sided grill
JP7265937B2 (en) * 2019-06-13 2023-04-27 リンナイ株式会社 heating cooker

Also Published As

Publication number Publication date
JP2000161672A (en) 2000-06-16

Similar Documents

Publication Publication Date Title
JP2012071106A (en) Grill unit for gas stove
US6098613A (en) Venting system for gas oven
KR100926442B1 (en) Burner and cooking appliance comprising the same
JP4050410B2 (en) grill
JP4132404B2 (en) grill
JP4176280B2 (en) Grill burner and gas grill
JP3971855B2 (en) Grill burner
JP2001324153A (en) Structure for preventing top plate temperature increase
JP4139008B2 (en) Gas grill ignition device
JP4375770B2 (en) grill
JP2000232945A (en) Both-side roasting grill
JP4132447B2 (en) Double-sided grill
JP2000245624A (en) Gas grill
JP2000217718A (en) Double-sided grill
JP2010063730A (en) Grill
JP3971874B2 (en) Grill burner
JP4481140B2 (en) grill
JP4216996B2 (en) Burner and grill provided with the burner
JP3814402B2 (en) Double-sided grill
JP2001000338A (en) Gas grill
JP3218233B2 (en) Gas grill
JP3218234B2 (en) Gas grill
JPH071074Y2 (en) Firing device
JP4474659B2 (en) Stove with grill
JP4452871B2 (en) Fire transfer structure of grill burner

Legal Events

Date Code Title Description
A621 Written request for application examination

Free format text: JAPANESE INTERMEDIATE CODE: A621

Effective date: 20050725

A131 Notification of reasons for refusal

Free format text: JAPANESE INTERMEDIATE CODE: A131

Effective date: 20070612

A521 Written amendment

Free format text: JAPANESE INTERMEDIATE CODE: A523

Effective date: 20070720

TRDD Decision of grant or rejection written
A01 Written decision to grant a patent or to grant a registration (utility model)

Free format text: JAPANESE INTERMEDIATE CODE: A01

Effective date: 20071113

A61 First payment of annual fees (during grant procedure)

Free format text: JAPANESE INTERMEDIATE CODE: A61

Effective date: 20071129

R150 Certificate of patent or registration of utility model

Free format text: JAPANESE INTERMEDIATE CODE: R150

FPAY Renewal fee payment (event date is renewal date of database)

Free format text: PAYMENT UNTIL: 20101207

Year of fee payment: 3

FPAY Renewal fee payment (event date is renewal date of database)

Free format text: PAYMENT UNTIL: 20101207

Year of fee payment: 3

FPAY Renewal fee payment (event date is renewal date of database)

Free format text: PAYMENT UNTIL: 20131207

Year of fee payment: 6

FPAY Renewal fee payment (event date is renewal date of database)

Free format text: PAYMENT UNTIL: 20131207

Year of fee payment: 6

S533 Written request for registration of change of name

Free format text: JAPANESE INTERMEDIATE CODE: R313533

FPAY Renewal fee payment (event date is renewal date of database)

Free format text: PAYMENT UNTIL: 20131207

Year of fee payment: 6

R350 Written notification of registration of transfer

Free format text: JAPANESE INTERMEDIATE CODE: R350

R250 Receipt of annual fees

Free format text: JAPANESE INTERMEDIATE CODE: R250

EXPY Cancellation because of completion of term