JP4036610B2 - マッサージ機 - Google Patents
マッサージ機 Download PDFInfo
- Publication number
- JP4036610B2 JP4036610B2 JP2000366307A JP2000366307A JP4036610B2 JP 4036610 B2 JP4036610 B2 JP 4036610B2 JP 2000366307 A JP2000366307 A JP 2000366307A JP 2000366307 A JP2000366307 A JP 2000366307A JP 4036610 B2 JP4036610 B2 JP 4036610B2
- Authority
- JP
- Japan
- Prior art keywords
- massage
- psychological state
- mode
- painful
- sensor
- Prior art date
- Legal status (The legal status is an assumption and is not a legal conclusion. Google has not performed a legal analysis and makes no representation as to the accuracy of the status listed.)
- Expired - Fee Related
Links
- 230000007935 neutral effect Effects 0.000 claims description 12
- 210000003403 autonomic nervous system Anatomy 0.000 claims description 7
- 230000006996 mental state Effects 0.000 claims 6
- 230000011514 reflex Effects 0.000 claims 2
- 230000000694 effects Effects 0.000 description 19
- 210000003811 finger Anatomy 0.000 description 17
- 238000000034 method Methods 0.000 description 16
- 238000001514 detection method Methods 0.000 description 7
- 238000010079 rubber tapping Methods 0.000 description 4
- 230000005856 abnormality Effects 0.000 description 3
- 230000005540 biological transmission Effects 0.000 description 3
- 238000002474 experimental method Methods 0.000 description 3
- 238000012545 processing Methods 0.000 description 3
- PXHVJJICTQNCMI-UHFFFAOYSA-N Nickel Chemical compound [Ni] PXHVJJICTQNCMI-UHFFFAOYSA-N 0.000 description 2
- 210000001015 abdomen Anatomy 0.000 description 2
- 230000002159 abnormal effect Effects 0.000 description 2
- 230000007423 decrease Effects 0.000 description 2
- 230000003247 decreasing effect Effects 0.000 description 2
- 238000010586 diagram Methods 0.000 description 2
- 210000004932 little finger Anatomy 0.000 description 2
- 238000013459 approach Methods 0.000 description 1
- 210000000467 autonomic pathway Anatomy 0.000 description 1
- 230000036760 body temperature Effects 0.000 description 1
- 239000012141 concentrate Substances 0.000 description 1
- 230000008451 emotion Effects 0.000 description 1
- 210000004247 hand Anatomy 0.000 description 1
- 238000004898 kneading Methods 0.000 description 1
- 238000005259 measurement Methods 0.000 description 1
- 239000002184 metal Substances 0.000 description 1
- 229910052751 metal Inorganic materials 0.000 description 1
- 210000000653 nervous system Anatomy 0.000 description 1
- 229910052759 nickel Inorganic materials 0.000 description 1
- 239000011347 resin Substances 0.000 description 1
- 229920005989 resin Polymers 0.000 description 1
- 238000005096 rolling process Methods 0.000 description 1
- 210000003813 thumb Anatomy 0.000 description 1
Images
Landscapes
- Measuring Pulse, Heart Rate, Blood Pressure Or Blood Flow (AREA)
- Measurement Of The Respiration, Hearing Ability, Form, And Blood Characteristics Of Living Organisms (AREA)
- Percussion Or Vibration Massage (AREA)
- Massaging Devices (AREA)
- Measuring And Recording Apparatus For Diagnosis (AREA)
Description
【発明の属する技術分野】
本発明は、被施療者に1或いは複数種類のマッサージを施すことが可能なマッサージ機に関し、特に、被施療者の好みや体調に応じて自動的にマッサージ動作を調整することが出来るマッサージ機に関するものである。
【0002】
【従来の技術】
一般に、マッサージ機は図1に示す如く、脚(11)、座(12)、背もたれ(13)、及び左右一対の肘掛け(14)(14)からなる椅子本体(10)に、複数の施療子(21)を具えたマッサージ機構(2)を組み込んで構成され、これら複数の施療子(21)を振動させながら上下に往復移動させることによって、人体にマッサージを施すものである。
【0003】
この種のマッサージ機において、施療の前後にこり等の硬い部位を検出して、最適な部位に対して集中的なマッサージを行なうマッサージ機が提案されている(特開平9-75413号)。
しかしながら、該マッサージ機では、被施療者のこり部を検出して、該こり部に対して集中的にマッサージを施すことは可能であるが、「気持ち良い」、「痛い」等の被施療者の心理状態を検知することが出来ないため、リラックス度やリフレッシュ度を高めるための効果的なマッサージを行なうことが出来ない問題があった。
【0004】
そこで、被施療者の脈拍、体温、皮膚電気抵抗等のリラックス状態検知要素を検知して、被施療者のリラックス度に応じてマッサージ機構を制御するマッサージ機が提案されている(特開平6-209)。
ところで、マッサージ動作には、大きく2つに分けて、リラックス度を高める目的のマッサージ動作と、リフレッシュ度を高める目的のマッサージ動作とがあり、例えばリラックス度を高めるには、被施療者の自律神経系の活性度が低下する方向で、気持ち良いと感じる部位のマッサージ時間を延長することが有効であり、リフレッシュ度を高めるには、被施療者の自律神経系の活性度が上昇する方向で、気持ち良いと感じる部位のマッサージ時間を延長することが有効である。従って、効果的なマッサージのためには、目的に応じて、マッサージ動作を切り替える必要がある。
【0005】
しかしながら、上記マッサージ機においては、被施療者が、リラックス度を高める目的のマッサージ動作と、リフレッシュ度を高める目的のマッサージ動作とを、自由に選択することが出来ないため、充分なマッサージ効果を得ることが出来ない問題があった。
【0006】
そこで本発明は、目的に応じた効果的なマッサージを施すことが出来るマッサージ機を提供することを目的とする。
【0007】
【発明が解決しようとする課題】
本発明に係るマッサージ機は、被施療者の自律神経系の生体情報を検知する生体情報センサーと、該生体情報センサーによって検知される生体情報に基づいて、マッサージ動作を制御する制御回路とを具えている。該制御回路は、生体情報センサーによって検知される生体情報の変化に基づいて被施療者の心理状態を推定する心理状態推定手段と、推定された心理状態に応じてマッサージ動作を調整するマッサージ動作調整手段とを具えている。
マッサージ動作調整手段は、リラックスモードとリフレッシュモードの間でモードを切り替えるためのモード切替え手段を具え、リラックスモードでは、自律神経系の活性度を低下させるべくマッサージ動作を調整し、リフレッシュモードでは、自律神経系の活性度を上昇させるべくマッサージ動作を調整する。
【0008】
上記本発明のマッサージ機においては、先ず、予備マッサージを実行して、被施療者の心理状態を推定した後に、本マッサージが実行され、本マッサージでは前記心理状態の推定結果に応じてマッサージ動作が調整される。本マッサージに際し、被施療者は、リラックスモードとリフレッシュモードの間でモードを切り替えることが出来る。リラックスモードが選択された場合は、自律神経系の活性度を低下させるための調整、例えば、被施療者が気持ち良いと感じる部位のマッサージ時間を延長する調整が行なわれる。これによって、リラックス度が向上する。これに対し、リフレッシュモードが選択された場合は、自律神経系の活性度を上昇させるための調整、例えば、被施療者がこり部をマッサージされたときに受ける独特の感情である、気持ち良いと痛いの両方を感じる部位のマッサージ時間を延長する調整が行なわれる。これによって、リフレッシュ度が向上する。
【0009】
具体的構成において、生体情報センサーは、皮膚電気反射(GSR)センサー、脈拍センサー及び皮膚温センサーから選択される1或いは複数のセンサーによって構成される。これらのセンサーによって検出される生体情報は、被施療者のリラックス度や緊張度に応じて変化することが知られており、被施療者がリラックス状態であるときは、活性度の低い値となり、被施療者が緊張状態であるときは、活性度の高い値となる。従って、これらのセンサーによって検出される生体情報の変化に基づいて、好み、こり感、体調等を含む被施療者の心理状態を高い信頼性で推定することが出来る。
【0010】
例えば、生体情報センサーが脈拍センサーによって構成されるときは、脈拍数が低下した場合に、リラックス状態であると判断し、脈拍数が上昇した場合に、緊張状態であると判断することが出来る。
又、生体情報センサーが皮膚温センサーによって構成されるときは、皮膚温が上昇した場合に、リラックス状態であると判断し、皮膚温が低下した場合に、緊張状態であると判断することが出来る。
更に、生体情報センサーがGSRセンサーによって構成されるときは、GSRが低下した場合に、リラックス状態であると判断し、GSRが上昇した場合に、緊張状態であると判断することが出来る。
【0011】
更に具体的な構成において、制御回路は、予備マッサージでは、被施療者の複数の部位に対して複数種類のマッサージを施して、各部位についてマッサージの種類毎に心理状態の推定を行ない、本マッサージでは、前記心理状態の推定結果に応じて、各部位についてマッサージの種類毎にマッサージ動作を調整する。
これによって、被施療者の部位毎に、被施療者の好みや体調に合った効果的なマッサージが施されることになる。
【0012】
更に又、具体的な構成において、マッサージは一連のマッサージ動作によって実行され、制御回路のマッサージ動作調整手段は、リラックスモードとリフレッシュモードの選択に拘わらず、略同一の時間で一連のマッサージ動作を完了するべく、所定の複数のマッサージ動作についての所要時間を調整する時間調整手段を具えている。
これによって、例えば、リラックスモードが選択されたときに、あるマッサージ動作のマッサージ時間が延長され、或いはリフレッシュモードが選択されたときに、あるマッサージ動作のマッサージ時間が短縮されたとしても、リラックスモードでの一連のマッサージ動作とリフレッシュモードでの一連のマッサージ動作で、所要時間が略同一となって、モードに拘わらず一定のマッサージ効果を得ることが出来る。
【0013】
【発明の効果】
本発明に係るマッサージ機によれば、目的に応じて効果的なマッサージを施すことが出来る。
【0014】
【発明の実施の形態】
以下、本発明の実施の形態につき、図面に沿って具体的に説明する。
本発明に係るマッサージ機は、図1に示す如く、脚(11)、座(12)、背もたれ(13)、及び左右一対の肘掛け(14)(14)からなる椅子本体(10)に、複数の施療子(21)を具えたマッサージ機構(2)を組み込んで構成され、これら複数の施療子(21)を振動させながら上下に往復移動させることによって、人体にマッサージを施すものである。
【0015】
マッサージ機構(2)は、図2に示す如く椅子本体(10)の背もたれ(13)の背部に、前記施療子を振動させるための施療子駆動装置(3)を具え、該施療子駆動装置(3)は、背もたれ(13)の背面に取り付けられたサイドフレーム(15)(15)に沿って昇降可能に支持されている。又、椅子本体(10)には、施療子昇降用モータ(22)が配備され、該施療子昇降用モータ(22)はベルト式動力伝達機構(20)を介してねじ軸(23)に連繋している。該ねじ軸(23)は、施療子駆動装置(3)に取り付けられた軸受け(24)に螺合している。
従って、施療子昇降用モータ(22)によってねじ軸(23)が回転駆動されると、これに伴って施療子駆動装置(3)が昇降することになる。
【0016】
施療子駆動装置(3)は、図3に示す如く、両側部に複数のローラ(43)(43)を具え、これらのローラ(43)(43)がサイドフレーム(15)(15)に係合して、施療子駆動装置(3)の昇降が案内されている。
施療子駆動装置(3)には揉み用モータ(31)が配備され、該揉み用モータ(31)は、ベルト式動力伝達機構(32)及び変速機構(33)を介して、シャフト(34)に連繋している。該シャフト(34)には、左右一対の偏心軸受け(35)(35)が取り付けられており、これらの偏心軸受け(35)(35)によって左右一対の支持アーム(42)(42)が支持されている。各支持アーム(42)の先端部には、略L字状の揺動アーム(36)が枢支され、該揺動アーム(36)の両端部に施療子(21)(21)が回転可能に取り付けられている。
従って、揉み用モータ(31)によってシャフト(34)が回転駆動されると、これに伴って支持アーム(42)(42)が開閉方向に揺動駆動され、これによって、施療子(21)(21)による揉み動作が実現されることになる。
【0017】
又、施療子駆動装置(3)には叩き用モータ(37)が配備され、該叩き用モータ(37)は、ベルト式動力伝達機構(38)を介してシャフト(39)に連繋している。該シャフト(39)には、左右一対の偏心軸受け(40)(40)が取り付けられており、これらの偏心軸受け(40)(40)によって左右一対のロッド(41)(41)が支持されている。そして、各ロッド(41)の先端部が前記アーム(42)の基端部に連結されている。
従って、叩き用モータ(37)によってシャフト(39)が回転駆動されると、これに伴ってロッド(41)(41)が前後方向に揺動駆動され、これによって施療子(21)(21)による叩き動作が実現されることになる。
【0018】
上記本発明のマッサージ機は、図1に示す様に、リモートコントローラ(7)を操作することによって、動作させることが可能である。
リモートコントローラ(7)は、図5に示す如く、縦型のケーシング(70)の表面にディスプレイ(71)及び複数の操作釦(72)を配備して構成されている。ケーシング(70)の右側面には、発光素子及び受光素子によって構成される脈拍センサー(52)と、サーミスタによって構成される皮膚温センサー(53)が配備されると共に、ケーシング(70)の両側面には、一対の電極(51a)(51b)からなるGSRセンサー(51)が配備されており、鎖線で示す様に左手で把持したとき、人差し指が皮膚温センサー(53)に、中指が脈拍センサー(52)に、薬指及び小指がGSRセンサー(51)の一方の電極(51b)に、手のひらがGSRセンサー(51)の他方の電極(51a)に接触するようになっている。
【0019】
尚、リモートコントローラ(7)のディスプレイ(71)には、図6に示す如く、マッサージが施されている部位、こり度、快適度、こり部の位置などが表示されることになる。
【0020】
図4は、上記マッサージ機の制御系の構成を表わしており、GSRセンサー(51)、脈拍センサー(52)及び皮膚温センサー(53)によって構成される生体情報センサー(5)が、マイクロコンピュータからなる制御回路(6)の入力ポートに接続されている。又、制御回路(6)の他の入力ポートには、マッサージ動作を開始させる際に操作すべきスタート釦(54)と、リラックスモードとリフレッシュモードを相互に切り替える際に操作すべきモード選択釦(55)とが接続されている。
又、制御回路(6)の出力ポートには、前述の昇降用モータ(22)、もみ用モータ(31)及びたたき用モータ(37)が接続されている。
制御回路(6)は、スタート釦(54)が操作されたとき、モード選択釦(55)によって選択されているモードで立ち上がり、先ず、生体情報センサー(5)からの信号に基づいて後述する予備マッサージの手続きを実行した後、後述する本マッサージの手続きを実行する。
【0021】
図11は、生体情報センサー(5)によって検出される生体情報、即ち、GSR、皮膚温及び脈拍数と、被施療者(ユーザ)の心理状態との関係を表わしている。図示の如く、自律神経系の活性の度合いに応じて、GSR、皮膚温及び脈拍数の変化が異なり、活性度が低いときは、GSR及び脈拍数は低下し、皮膚温は上昇する。活性度がやや低いときは、GSRは横這いであるが、皮膚温は上昇し、脈拍数は低下する。活性度がやや高いとき、GSRは横這いから上昇し、皮膚温は低下し、脈拍数は上昇する。更に、活性度が高いときは、GSRは大きく上昇すると共に、皮膚温は低下し、脈拍数は上昇する。
この様に生体情報が変化した場合の被施療者の心理状態としては、活性度が低いときは、リラックスして気持ちの良い状態と推定することが出来、活性度がやや高いときは、例えばこり部をマッサージしたときに受ける独特の感情である、痛いと気持ち良いの両方が混ざった心理状態と推定することが出来、活性度が高いときは、痛いと感じる状態と推定することが出来る。又、活性度が中立のときは、気持ち良くもなく痛くもないニュートラルの状態と推定することが出来る。
【0022】
図12は、上述の生体情報と心理状態の間の関係を実証するために行なった実験の結果を表わしている。実験では、12名の被験者を対象として、9種類のマッサージを行なって、各被験者の主観(リラックス、ニュートラル、痛いと気持ち良いの両方、痛い)を聴取する一方、各被験者の生体情報(GSR、皮膚温、脈拍数)を測定して、図11の関係に基づいて主観(心理状態)を推定した。これによって得られた108個のデータをまとめたものが図12である。
図12の結果から明らかな様に、本人の実際の主観と推定主観の間には、高い相関が認められ、図11の関係に基づく心理状態の推定は妥当なものであると言うことが出来る。
【0023】
図13は、GSRの変化量と皮膚温の変化量をそれぞれY軸座標とX軸座標にとって、主観(リラックス、ニュートラル、痛いと気持ち良いの両方、痛い)をプロットしたものである。この結果から、GSR変化量及び皮膚温変化量によって、リラックス、痛いと気持ち良いの両方、及び痛いの3つの心理状態を概ね正確に識別出来ることがわかる。特に、リラックスと痛いは明確に識別可能である。
又、図14は、GSRの変化量と脈拍数の変化量をそれぞれY軸座標とX軸座標にとって、主観(リラックス、ニュートラル、痛いと気持ち良いの両方、痛い)をプロットしたものである。この結果から、GSR変化量及び脈拍数によって、リラックス、痛いと気持ち良いの両方、及び痛いの3つの心理状態を概ね正確に識別出来ることがわかる。特に、リラックスと痛いは明確に識別可能である。
【0024】
従って、被施療者の各部位に各種のマッサージを施しながら、GSR、皮膚温及び脈拍数の変化を検出することによって、図11の関係から被施療者の心理状態を推定することが出来る。本発明では、この検出シーケンスを後述の予備マッサージによって行なう。そして、被施療者の心理状態から、各部位に対する各種マッサージの好みを認識することによって、被施療者の好みに合ったマッサージを施すことが出来る。本発明では、この動作を後述の本マッサージによって行なう。
【0025】
予備マッサージにおいては、図7に示す手続きが実行される。
先ずステップS1では、GSRセンサーから生波形を取り込んで、例えばセンサーから手が離れていることによって生じる波形の異常が認められるかかどうかを判断し、ここでイエスと判断されたときは、ステップS2にて異常の表示を行なう。波形が正常であったときは、ステップS3にてノイズ除去処理を行なった後、ステップS4に移行して、各フェーズ区間(各マッサージ動作)におけるGSRの変化を検出する。傾きの検出には、例えば最小2乗近似によってGSRの変化の傾きを算出する方法を採用することが出来る。
又、ステップS5では、脈拍センサーから生波形を取り込んで、波形が異常であるかどうかを判断し、ここでイエスと判断されたときは、ステップS6にて異常の表示を行なう。波形が正常であったときは、ステップS7にてノイズ除去処理を行なった後、ステップS8にて脈拍数を検出する。その後、ステップS9に移行して、各フェーズ区間における脈拍数の変化を検出する。傾きの検出には、例えば最小2乗近似によって脈拍数の変化の傾きを算出する方法を採用することが出来る。
又、ステップS10では、皮膚温センサーから生波形を取り込んで、波形が異常であるかどうかを判断し、ここでイエスと判断されたときは、ステップS11にて異常の表示を行なう。波形が正常であったときは、ステップS12にてノイズ除去処理を行なった後、ステップS13に移行して、各フェーズ区間における皮膚温の変化を検出する。傾きの検出には、例えば最小2乗近似によって皮膚温の変化の傾きを算出する方法を採用することが出来る。
【0026】
ステップS4、S9及びS13の実行後、ステップS14に移行して、図9に表わされるGSRの変化ΔG、皮膚温の変化ΔT、及び脈拍の変化ΔHの組合せから、「痛い」、「痛いと気持ち良い」、「ニュートラル」、「リラックス」を判定する。尚、図9は、図11に示す関係に基づく心理状態の推定を定式化したものである。
【0027】
続いて、図7のステップS15にて、各フェーズ(各マッサージ動作)についての心理状態の判定結果をリモートコントローラ等に表示する。そして、ステップS4、S9、S13、S14及びS15を各フェーズの回数分繰り返した後、ステップS16に移行して、各フェーズの判定結果から、総合的な「こり感」等を判定し、その結果をリモートコントローラ等に表示し、手続きを終了する。尚、各フェーズの判定結果は、制御回路に内蔵せるメモリに格納される。
【0028】
本マッサージを実行するためのマッサージ動作は、各部位(肩、背中、腰、脚)に対して種々のマッサージ動作(たたき、もみ、ローリング等)を順次、施すものであって、リラックスモードでのマッサージ動作は、例えば図15に示すシーケンスNo.1〜71から構成される。各マッサージ動作は、時間が固定されているコア部と、時間及び回数を変化させるべき可変部の何れかに分類されており、選択されたモード(リラックスモード/リフレッシュモード)と、予備マッサージの実行によって推定された心理状態とに応じて、可変部のシーケンスの時間と回数が調整される。尚、本マッサージのシーケンスNo.1〜71の中には、予備マッサージを構成する複数のマッサージ動作がちりばめられている。
【0029】
図10(a)(b)は、それぞれリラックスモードとリフレッシュモードにおける心理状態に応じたマッサージ時間及びマッサージ速度の調整ルールを表わしている。
例えば、リラックスモードが選択されている場合において、心理状態が「リラックス」と推定されたときは、背中以外はマッサージ時間を延長し、マッサージ速度は中程度を維持する。その他は同図(a)のとおりである。これによって、よりリラックス度が向上することになる。
又、リフレッシュモードが選択されている場合において、心理状態が「痛いと気持ち良い」と推定されたときは、背中以外はマッサージ時間を延長し、マッサージ速度は中程度を維持する。その他は同図(b)のとおりである。これによって、よりリフレッシュ度が向上することになる。
【0030】
尚、マッサージ時間及びマッサージ速度の変更によって、一連のマッサージ動作の所要時間が極端に変化しない様に、時間調整を施す。
例えば図15に示すリラックスモードの例では、先ず、図10(a)のルールに従って、矢印Aで示すシーケンスNo.1〜55の内、可変部のマッサージ時間とマッサージ速度を変化させる。次に、可変部変更後のシーケンスNo.1〜55の所要時間を計算し、可変部デフォルト時間(520秒)から所要時間を差し引いて、矢印Bで示す残差時間を算出する。
その後、残差時間が120秒以上の場合は、矢印Cで示す様に、残差時間を4で割り、シーケンスNo.56〜71の4つの可変部の各時間を計算する。但し、4で割った数値を上限とし、変更後の時間が越えることのないようにする。又、残差時間が120秒未満、60秒以上の場合は、シーケンスNo.56〜71をデフォルト値のまま実行する。更に、残差時間が60秒未満の場合は、矢印Dで示す様に、シーケンスNo.56〜71をそれぞれ20秒で実行する。
リフレッシュモードにおいても、同様の時間調整を施すことが出来る。
【0031】
本マッサージにおいては、図8に示す手続きが実行される。
先ずステップS21にて、前記モード選択釦(55)からの選択信号に基づいて、リラックスモード又はリフレッシュモードの何れかを設定した後、ステップS22にて、検出シーケンスによる判定結果をメモリから読み出す。
次にステップS23では、検出シーケンスによる心理状態の推定結果に基づき、リラックス/リフレッシュモードを構成する可変部の各フェーズの時間THiを変更し、ステップS24では、リラックス/リフレッシュモードを構成する可変部の各フェーズの総時間TH(=ΣTHi)を求める。続いて、リラックス/リフレッシュモードのトータル時間Tから、可変部の総時間THとコア部の総時間TKを差し引いて、残時間ΔTを求める。
【0032】
その後、ステップS26では、残時間ΔTが0以上であるかどうかを判断し、ここでイエスと判断されたときは、ステップS27に移行して、可変部の各フェーズの時間総和がΔTに近づくように、可変部の各フェーズの時間変更を実施する。又、ステップS26にてノーと判断されたときは、ステップS28に移行する。ここでは、既に可変部とコア部によってリラックス/リフレッシュモードのトータル時間Tを超えているため、可変部の各フェーズの時間は、最短の変更幅で変更するものとする。そして、ステップS29にて、リラックス/リフレッシュモードの時間変更処理を終了した後、ステップS30にて、変更されたシーケンスに従って、リラックス/リフレッシュモードでの一連のマッサージ動作を開始する。
これによって、リラックスモードとリフレッシュモードの何れにおいても、被施療者の好みに合ったマッサージが適度な時間に亘って実施されることになる。
【0033】
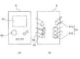
尚、上記実施例では、図5の如く、片手で把持可能な縦型のリモートコントローラ(7)に、GSRセンサー(51)、脈拍センサー(52)及び皮膚温センサー(53)を図示する配置で取り付けているが、図16に示す如く両手で把持すべき横型のリモートコントローラ(8)においては、図示の如きセンサー配置を採ることが可能である。該リモートコントローラ(8)にはディスプレイ(81)が配備されると共に、ケーシング端部には、左手の人差し指を載せるための樹脂製(例えばABS製)の指掛かり(82)が取り付けられている。該指掛かり(82)には、指頭がフィットする凹面(83)が形成されており、該凹面(83)の底部に、図17(a)(b)の如く脈拍センサー(52)及び皮膚温センサー(53)が配置されている。又、GSRセンサー(51)は、図16の如く一対の電極(51c)(51d)によって構成されており、一方の電極(51c)は、指掛かり(82)の表面を覆って施されたニッケル等の導電性金属メッキによって形成され、他方の電極(51d)は、親指の位置に対応してケーシング表面に取り付けられた金属板によって構成されている。
【0034】
上記リモートコントローラ(8)においては、図17に示す如く、指掛かり(82)に形成した凹面(83)の底部に脈拍センサー(52)及び皮膚温センサー(53)を配置しているので、人差し指の指頭を無理なく両センサーに密着させることが出来、これによって、安定したノイズのない測定信号が得られる。
【0035】
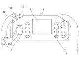
更に、図18(a)に示す如く、ディスプレイ(91)及び操作キー(92)を具えたゲーム機タイプのリモートコントローラ(9)においては、同図(b)に示す如くケーシング裏面に、右手の中指と薬指に対応させて、脈拍センサー(52)及び皮膚温センサー(53)を配置すると共に、GSRセンサー(51)を構成する一方の電極(51e)は、左手の人差し指の腹に対応させて、ケーシング側面に配置し、他方の電極(51f)は、左手の中指、薬指及び小指に対応させて、ケーシング裏面に配置することが可能である(図19参照)。
【0036】
尚、GSRセンサー(51)の一方の電極(51e)は、図19に矢印で示す様に、人差し指の腹がフィットする凹曲面に形成すると共に、ケーシング側面に沿って往復移動可能に取り付けることによって、人差し指の長さ等の個人差に拘わらず、常に確実な接触状態を得ることが出来る。
又、脈拍センサー(52)及び皮膚温センサー(53)についても、これらのセンサーを包囲するガイド部材を設けることによって、指の位置を安定させることが可能であり、これによってノイズのない測定信号を得ることが出来る。
【図面の簡単な説明】
【図1】本発明に係るマッサージ機の使用状態を表わす斜視図である。
【図2】マッサージ機構の構成を表わす背面図である。
【図3】施療子駆動装置の構成を表わす背面図である。
【図4】マッサージ機の制御系の構成を表わすブロック図である。
【図5】リモートコントローラの外観を示す斜視図である。
【図6】リモートコントローラのディスプレイの表示例を示す図である。
【図7】予備マッサージの手続きを表わすフローチャートである。
【図8】本マッサージの手続きを表わすフローチャートである。
【図9】検出シーケンスにおいて生体情報の変化から心理状態を推定するための関係を示す図表である。
【図10】本マッサージにおいてモード及び心理状態に応じてマッサージ速度とマッサージ速度を変化させる際のルールを表わす図表である。
【図11】生体情報の変化と心理状態との関係を説明する図表である。
【図12】図11の図表の妥当性を検証した実験の結果を表わす図表である。
【図13】GSR変化量と皮膚温変化量を座標軸として心理状態の分布を表わすグラフである。
【図14】GSR変化量と脈拍数変化量を座標軸として心理状態の分布を表わすグラフである。
【図15】リラックスモードにおける一連のマッサージ動作のシーケンスと時間調整を表わす図表である。
【図16】横型のリモートコントローラの平面図である。
【図17】該リモートコントローラに取り付けられた指掛かりの平面図及び断面図である。
【図18】ゲーム機タイプのリモートコントローラの平面図及び裏面図である。
【図19】該リモートコントローラの裏面を示す斜視図である。
【符号の説明】
(10) 椅子本体
(2) マッサージ機構
(21) 施療子
(3) 施療子駆動装置
(5) 生体情報センサー
(51) GSRセンサー
(52) 脈拍センサー
(53) 皮膚温センサー
(55) モード選択釦
(6) 制御回路
(7) リモートコントローラ
Claims (8)
- 被施療者の自律神経系の生体情報を検知する皮膚温センサー、及び皮膚電気反射センサー、及び脈拍センサーを含む生体情報センサーから検知される生体情報に基づいてマッサージ動作を制御するマッサージ機において、
マッサージ動作を制御する制御回路は、前記生体情報センサーによって検知される皮膚温、及び皮膚電気反射、及び脈拍の変化に基づいて被施療者がマッサージされた場合に感じるリラックス、気持ち良くもなく痛くもないことを示すニュートラル、痛いと気持ち良い、または痛いのいずれかの心理状態を推定する心理状態推定手段と、
前期心理状態推定手段によって推定された心理状態に応じてマッサージ動作を調整するマッサージ動作調整手段とを具えることを特徴とするマッサージ機。 - マッサージ動作調整手段は、リラックスモードに切り替えるためのモード切替え手段を具え、前記リラックスモードでは、推定された前記心理状態が痛いと気持ち良いである場合に、前記心理状態が前記ニュートラルの場合よりもマッサージ動作の時間を短く調整することを特徴とする請求項1に記載のマッサージ機。
- マッサージ動作調整手段は、リラックスモードに切り替えるためのモード切替え手段を具え、前記リラックスモードでは、推定された前記心理状態が痛いと気持ち良いである場合に、前記心理状態が前記ニュートラルの場合よりもマッサージ動作の速度を遅く調整することを特徴とする請求項1〜2に記載のマッサージ機。
- マッサージ動作調整手段は、リフレッシュモードに切り替えるためのモード切替え手段を具え、前記リフレッシュモードでは、推定された前記心理状態が痛いと気持ち良いである場合に、前記心理状態が前記ニュートラルの場合よりもマッサージ動作の時間を長く調整することを特徴とする請求項1〜3に記載のマッサージ機。
- マッサージは一連のマッサージ動作によって実行され、制御回路のマッサージ動作調整手段は、モードの選択に拘わらず、略同一の時間で一連のマッサージ動作を完了するべく、所定の複数のマッサージ動作についての所要時間を調整する時間調整手段を具えている請求項2〜4に記載のマッサージ機。
- マッサージ動作調整手段は、推定された前記心理状態が痛いである場合に、前記心理状態が前記ニュートラルの場合よりもマッサージ動作の時間を短く調整することを特徴とする請求項1〜5に記載のマッサージ機。
- マッサージ動作調整手段は、推定された前記心理状態が痛いである場合に、前記心理状態が前記ニュートラルの場合よりもマッサージ動作の速度を遅く調整することを特徴とする請求項1〜6に記載のマッサージ機。
- 制御回路は、心理状態の推定においては、被施療者の複数の部位に対して複数種類のマッサージを施して、各部位についてマッサージの種類毎に心理状態の推定を行ない、マッサージ動作の調整においては、前記心理状態の推定結果に応じて、各部位についてマッサージの種類毎にマッサージ動作を調整する請求項1〜7に記載のマッサージ機。
Priority Applications (4)
| Application Number | Priority Date | Filing Date | Title |
|---|---|---|---|
| JP2000366307A JP4036610B2 (ja) | 2000-11-30 | 2000-11-30 | マッサージ機 |
| TW090129265A TW505513B (en) | 2000-11-30 | 2001-11-27 | Massager and electronic machine with controller |
| US09/995,801 US20020068887A1 (en) | 2000-11-30 | 2001-11-29 | Massage machine and electronic device having controller |
| KR1020010074843A KR100829328B1 (ko) | 2000-11-30 | 2001-11-29 | 마사지기 및 제어기를 구비한 전자 기기 |
Applications Claiming Priority (1)
| Application Number | Priority Date | Filing Date | Title |
|---|---|---|---|
| JP2000366307A JP4036610B2 (ja) | 2000-11-30 | 2000-11-30 | マッサージ機 |
Publications (2)
| Publication Number | Publication Date |
|---|---|
| JP2002165856A JP2002165856A (ja) | 2002-06-11 |
| JP4036610B2 true JP4036610B2 (ja) | 2008-01-23 |
Family
ID=18836955
Family Applications (1)
| Application Number | Title | Priority Date | Filing Date |
|---|---|---|---|
| JP2000366307A Expired - Fee Related JP4036610B2 (ja) | 2000-11-30 | 2000-11-30 | マッサージ機 |
Country Status (1)
| Country | Link |
|---|---|
| JP (1) | JP4036610B2 (ja) |
Families Citing this family (1)
| Publication number | Priority date | Publication date | Assignee | Title |
|---|---|---|---|---|
| JP2004261392A (ja) * | 2003-02-28 | 2004-09-24 | Sanyo Electric Co Ltd | マッサージ機及びマッサージ方法 |
-
2000
- 2000-11-30 JP JP2000366307A patent/JP4036610B2/ja not_active Expired - Fee Related
Also Published As
| Publication number | Publication date |
|---|---|
| JP2002165856A (ja) | 2002-06-11 |
Similar Documents
| Publication | Publication Date | Title |
|---|---|---|
| KR100829328B1 (ko) | 마사지기 및 제어기를 구비한 전자 기기 | |
| US20040225239A1 (en) | Massage machine and massage method | |
| KR100620616B1 (ko) | 마사지기 | |
| US6117094A (en) | Massaging apparatus and method of controlling the operation of the same | |
| JP5449762B2 (ja) | 椅子型マッサージ機 | |
| EP1230904A2 (en) | Massage machine | |
| KR20020070855A (ko) | 마사지기 및 그 기계에 사용하기 위한 생리량 측정 회로 | |
| JP2002224182A (ja) | 複数の生体信号から推定した肩こり情報に基づいて制御されるマッサージ機 | |
| KR100467852B1 (ko) | 마사지기 | |
| CN107174468A (zh) | 生物体状态评价装置以及按摩机 | |
| JP4837392B2 (ja) | マッサージ機 | |
| JP4043188B2 (ja) | コントローラを具えたマッサージ機器 | |
| JP2002035070A (ja) | マッサージ機 | |
| JP5261266B2 (ja) | 椅子型マッサージ機 | |
| JP4043187B2 (ja) | マッサージ機 | |
| JP4036610B2 (ja) | マッサージ機 | |
| JP2004242707A (ja) | マッサージ機 | |
| JP2019080775A (ja) | マッサージ機およびそれを備えたマッサージ機システム | |
| JP2005118126A (ja) | マッサージ機 | |
| JP2011087610A (ja) | 椅子型マッサージ機 | |
| JP4090358B2 (ja) | マッサージ機 | |
| JP2004261391A (ja) | 状態判断方法及びマッサージ機 | |
| JP2004236709A (ja) | マッサージ機 | |
| JP2004261390A (ja) | ノイズ判断方法及びマッサージ機 | |
| JP2004236877A (ja) | マッサージ機 |
Legal Events
| Date | Code | Title | Description |
|---|---|---|---|
| A621 | Written request for application examination |
Free format text: JAPANESE INTERMEDIATE CODE: A621 Effective date: 20040917 |
|
| A131 | Notification of reasons for refusal |
Free format text: JAPANESE INTERMEDIATE CODE: A131 Effective date: 20070123 |
|
| A521 | Written amendment |
Free format text: JAPANESE INTERMEDIATE CODE: A523 Effective date: 20070323 |
|
| A131 | Notification of reasons for refusal |
Free format text: JAPANESE INTERMEDIATE CODE: A131 Effective date: 20070710 |
|
| A521 | Written amendment |
Free format text: JAPANESE INTERMEDIATE CODE: A523 Effective date: 20070910 |
|
| TRDD | Decision of grant or rejection written | ||
| A01 | Written decision to grant a patent or to grant a registration (utility model) |
Free format text: JAPANESE INTERMEDIATE CODE: A01 Effective date: 20071002 |
|
| A61 | First payment of annual fees (during grant procedure) |
Free format text: JAPANESE INTERMEDIATE CODE: A61 Effective date: 20071030 |
|
| R151 | Written notification of patent or utility model registration |
Ref document number: 4036610 Country of ref document: JP Free format text: JAPANESE INTERMEDIATE CODE: R151 |
|
| FPAY | Renewal fee payment (event date is renewal date of database) |
Free format text: PAYMENT UNTIL: 20101109 Year of fee payment: 3 |
|
| FPAY | Renewal fee payment (event date is renewal date of database) |
Free format text: PAYMENT UNTIL: 20101109 Year of fee payment: 3 |
|
| FPAY | Renewal fee payment (event date is renewal date of database) |
Free format text: PAYMENT UNTIL: 20111109 Year of fee payment: 4 |
|
| FPAY | Renewal fee payment (event date is renewal date of database) |
Free format text: PAYMENT UNTIL: 20111109 Year of fee payment: 4 |
|
| FPAY | Renewal fee payment (event date is renewal date of database) |
Free format text: PAYMENT UNTIL: 20121109 Year of fee payment: 5 |
|
| FPAY | Renewal fee payment (event date is renewal date of database) |
Free format text: PAYMENT UNTIL: 20131109 Year of fee payment: 6 |
|
| LAPS | Cancellation because of no payment of annual fees |