JP3962017B2 - ケーブル差込用、管挿入用、またはそれと同様な用途用のシール - Google Patents

ケーブル差込用、管挿入用、またはそれと同様な用途用のシール Download PDF

Info

Publication number
JP3962017B2
JP3962017B2 JP2003529037A JP2003529037A JP3962017B2 JP 3962017 B2 JP3962017 B2 JP 3962017B2 JP 2003529037 A JP2003529037 A JP 2003529037A JP 2003529037 A JP2003529037 A JP 2003529037A JP 3962017 B2 JP3962017 B2 JP 3962017B2
Authority
JP
Japan
Prior art keywords
seal
base
release sheet
seal according
cable
Prior art date
Legal status (The legal status is an assumption and is not a legal conclusion. Google has not performed a legal analysis and makes no representation as to the accuracy of the status listed.)
Expired - Lifetime
Application number
JP2003529037A
Other languages
English (en)
Other versions
JP2005503745A (ja
Inventor
ヘルクビスト,ヨアキム
Original Assignee
ロックステック アクティエボラーグ
Priority date (The priority date is an assumption and is not a legal conclusion. Google has not performed a legal analysis and makes no representation as to the accuracy of the date listed.)
Filing date
Publication date
Application filed by ロックステック アクティエボラーグ filed Critical ロックステック アクティエボラーグ
Publication of JP2005503745A publication Critical patent/JP2005503745A/ja
Application granted granted Critical
Publication of JP3962017B2 publication Critical patent/JP3962017B2/ja
Anticipated expiration legal-status Critical
Expired - Lifetime legal-status Critical Current

Links

Images

Classifications

    • FMECHANICAL ENGINEERING; LIGHTING; HEATING; WEAPONS; BLASTING
    • F16ENGINEERING ELEMENTS AND UNITS; GENERAL MEASURES FOR PRODUCING AND MAINTAINING EFFECTIVE FUNCTIONING OF MACHINES OR INSTALLATIONS; THERMAL INSULATION IN GENERAL
    • F16LPIPES; JOINTS OR FITTINGS FOR PIPES; SUPPORTS FOR PIPES, CABLES OR PROTECTIVE TUBING; MEANS FOR THERMAL INSULATION IN GENERAL
    • F16L5/00Devices for use where pipes, cables or protective tubing pass through walls or partitions
    • F16L5/02Sealing
    • F16L5/12Sealing the pipe being cut in two pieces
    • FMECHANICAL ENGINEERING; LIGHTING; HEATING; WEAPONS; BLASTING
    • F16ENGINEERING ELEMENTS AND UNITS; GENERAL MEASURES FOR PRODUCING AND MAINTAINING EFFECTIVE FUNCTIONING OF MACHINES OR INSTALLATIONS; THERMAL INSULATION IN GENERAL
    • F16LPIPES; JOINTS OR FITTINGS FOR PIPES; SUPPORTS FOR PIPES, CABLES OR PROTECTIVE TUBING; MEANS FOR THERMAL INSULATION IN GENERAL
    • F16L5/00Devices for use where pipes, cables or protective tubing pass through walls or partitions
    • F16L5/02Sealing
    • F16L5/08Sealing by means of axial screws compressing a ring or sleeve
    • HELECTRICITY
    • H02GENERATION; CONVERSION OR DISTRIBUTION OF ELECTRIC POWER
    • H02GINSTALLATION OF ELECTRIC CABLES OR LINES, OR OF COMBINED OPTICAL AND ELECTRIC CABLES OR LINES
    • H02G3/00Installations of electric cables or lines or protective tubing therefor in or on buildings, equivalent structures or vehicles
    • H02G3/22Installations of cables or lines through walls, floors or ceilings, e.g. into buildings

Landscapes

  • Engineering & Computer Science (AREA)
  • General Engineering & Computer Science (AREA)
  • Architecture (AREA)
  • Civil Engineering (AREA)
  • Structural Engineering (AREA)
  • Mechanical Engineering (AREA)
  • Laying Of Electric Cables Or Lines Outside (AREA)
  • Cable Accessories (AREA)
  • Installation Of Indoor Wiring (AREA)
  • Gasket Seals (AREA)
  • Sealing Material Composition (AREA)
  • Package Frames And Binding Bands (AREA)

Description

本発明は、ケーブル差込用シール、管挿入用シールまたはその均等物に関する。
上記タイプのシールは、様々な実施形態で使用されており、様々な物に対してシールを行う。これらシールは流体、気体、火炎、齧歯類、シロアリ等に対してシールを行わなければならない。シールは、電気用、通信用およびコンピュータ用のケーブル等、または様々な気体用、水等の液体用、圧縮空気用、油圧用流体用および調理ガス用の管を受容する。
なお、「シール」および「スリーブ」という用語は説明を簡単にするために用いられ、広く解釈されるべきである。「シール」は如何なるタイプのケーブル差込用シール、管挿入用シールまたはその均等物にも用いられる。「スリーブ」は、シールが受容される如何なる管、チューブ、スリーブまたは壁自体をも含むものである。
このタイプのシールは通常壁にあるスリーブ内に受容される。多くの場合、壁の両側で非常に大きな圧力差が生じる。したがって、所望の態様で機能させるために、シールは該シールが受容されるスリーブまたはその均等物に緊密に嵌合しなければならず、且つシールは実際の取付寸法に適合しなければならない。取付寸法はスリーブの内径に左右される。
従来のスリーブは、内径の異なる標準的なチューブまたは管から成ることが多い。地理的位置および使用される実際の分野に応じて標準は変化し、このことは全ての異なる寸法で使用されるシールが提供されなければならないことを意味する。さらに、スリーブは、十分なシールを妨げることのないようにその内面が比較的滑らかであるべきである。
従来技術に係る既に知られたシールの一つでは、既に販売されているシールを備えたスリーブが開発され、提供されている。このスリーブはシールが緊密であることについて良好に機能するが、幾つかの問題点も抱えている。スリーブは、蓄積されるべきおよび搬送されるべき更なる部品を意味する。さらに、壁の開口またはその均等物がスリーブの外側に適合しなければならない。場合によっては、壁の開口を実際のスリーブに適合させるのは困難である。特別なスリーブのない実施形態については、広い範囲でスリーブがとり得る寸法に対応できるように多くの異なるシールが提供されなければならない。
さらに、シールと嵌合すべきケーブル、管またはその均等物は多くの異なる大きさをもつ。
本発明の目的は、広い範囲をカバーするのに必要とされる異なるシールの数を減らすために、多くの異なる取付寸法に適する単一のシールを提供することにある。
この目的は、二つの半体からなるケーブル差込用シール、管挿入用シールまたはその均等物によって満たされる。シールは、スリーブまたはその均等物に受容されると共に、シール半体を合わせたときにケーブル、管またはその均等物用の中央開口を形成する。シールの外径は異なる取付寸法に適合するように変更可能である。
シールの外側では、シールの外径をスリーブの取付寸法に適合させるように、多数の剥離シートが配設される。同様に、シールの内径側では、シールに受容されるケーブル、管またはその均等物の直径にシールの内径を適合させるように、多数の剥離シートが配設される。上記内側剥離シートおよび外側剥離シートは手により剥離せしめられる。
本発明の更なる目的および利点は、下記の好適な実施形態の詳細な説明から当業者には明らかであろう。
添付の図面を参照して例として本発明についてより詳細に説明する。
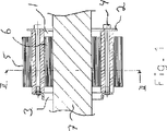
本発明のシールは、ケーブル差込用シール、管挿入用シールまたはその均等物として使用される。このシールは、二つの同一の部品から形成され、これら部品は使用時にシールを形成するように合わせられる。各シール半体は、弾性材料で形成された基部1を有する。基部1の端部には、前方プレート2および後方プレート3が配設される。これらプレート2、3は、ネジ4により基部1に保持される。プレート2、3および基部1にはネジ4を受容するように開口が配設される。ネジ4は、後方プレート3のネジ付き開口と協動するようにその外端部にネジ山が設けられる。プレート2、3と協動するネジ4の機能には、基部1を軸線方向に圧縮することが含まれる。図示した実施形態では、各シール半体に三つのネジが用いられているが、用いられるネジは幾つであってもよい。図示した実施形態では、ネジ4はソケットヘッドキャップネジのタイプである。当業者は、プレート2、3を互いに向かって移動させることができる締結手段であれば如何なる手段が用いられてもよいことは理解できるであろう。したがって、ネジとナットを用いることも可能である。ネジは一方から締め付け可能であることが好ましい。
図示した実施形態の前方プレート2は、ネジ4が通常操作される側の基部1の側方上に配置される。後方プレート3は、前方プレート2の反対側に配置される。多くの実施形態では、前方プレート2はスリーブの内径を越える外径となっている。これにより、前方プレート2がスリーブの端部と接触したときに、より精密にシールの位置決めを行うことができる。前方プレート2の外径がスリーブの内径を越えている変わりに、前方プレート2に固定されまたは一体化された多数の延長部材がスリーブの内径を越えるように延びていてもよい。
基部1の外側および内側上には剥離シート5、6が配設される。剥離シート5、6は各シール半体の製造後にこれら剥離シートが張付き合っているようにおよびそのような材料で製造される。しかしながら、これら剥離シート5、6は、互いに弱く接着してあり、手で剥がすことができる。
基部1は、通常、剥離シートからの妨害なく基部1を軸線方向に圧縮することができるように、外側剥離シート5および内側剥離シート6よりも僅かに軸線方向に長い。
二つのシール半体は、合わせられたときに中央の円筒状開口空間を有するように形成される。この開口空間内にケーブル、管またはその均等物が受容される。図示した例では、ケーブル7がシール内に受容される。当業者は、一本以上のケーブル7、管またはその均等物を受容するのにも適していることが理解されるであろう。複数のケーブルを受容する場合、異なる種類のケーブル、管等を受容することもできる。通常、シールは何らかの壁のスリーブ、管またはその均等物内に受容され、スリーブは壁に固定される。別の実施形態では、壁はシールを受容するように形成される。
使用時には、二つのシール半体はケーブル7またはその均等物回りに配置される。ケーブル7の直径にシールを適合させるために、一つまたはそれ以上の内側剥離シート6が剥がされる。また、スリーブまたはその均等物にシールの外径を適合させるために、一つまたはそれ以上の外側剥離シート5が剥がされる。
適切な数の内側剥離シート6および/または外側剥離シート5が剥がされると、シールがケーブル7またはその均等物を囲う有用な空間内に配置される。そして、前方プレート2および後方プレート3が互いに向かって移動するようにネジ4が回転せしめられる。プレート2、3が互いに向かって移動すると、基部1は軸線方向に圧縮せしめられる。基部1の軸線方向の圧縮により、基部1は径方向に拡張する。基部1は、径方向内側および外側に拡張し、したがって有用な空間に向かって外側へおよびケーブル7に向かって内側へシールする。基部1の拡張は、外側剥離シート5および内側剥離シート6によって基部1から伝えられる。基部1は外側剥離シート5と共にスリーブの内面の凹凸を満たす。
各外側剥離シート5の厚さは基部1の弾性に適合し、或いはより詳細には基部1によって得られるであろう隙間範囲に適合する。各単一の剥離シート5の厚さは基部1の予想される径方向の最大拡張分よりも小さい。剥離シートの数は、意図する使用形態およびシールの外径の望まれる範囲に適合せしめられる。一つの例では、12の剥離シート5が設けられる。通常、2〜20の剥離シートが設けられが、それ以外の数についても考えられる。実際の数は、寸法や意図している使用態様等に依存する。外側シート5の通常の厚さは0.5mm〜2.0mmである。しかしながら、シールの実際の大きさに応じて厚さは更に変わってもよいことは当業者には理解されるであろう。
幾つかの実施形態では、長いスリーブの各端部に二つのシールが配設される。このことは、例えば火炎保護に関して有利である。さらに、シールはケーブル7またはその均等物用の空間内にプラグ(図示せず)を有することも多い。プラグは、異なる連結を保護し、シールが取付けられるときにケーブル7またはその均等物に先だって使用されることも多い。
シールは環状断面を有するように示されているが、本発明のシールは如何なる断面形状を有していてもよいことは当業者に理解されるであろう。したがって、楕円、正方形、矩形、多角形等であってもよい。
図2のI−I線に沿った本発明のシールの断面図である。 図1のII−II線に沿った図1のシールの断面図である。 図1および図2のシールに対応するシールの一方の半体の斜視図である。

Claims (10)

  1. スリーブ又はその均等物に受容されるケーブル差込用、管挿入用又はそれと同様な用途用のシールであって、
    接合されたときにケーブル(7)、管又はその均等物用の少なくとも一つの中央開口を形成する二つの半体から成り、各半体は弾性部材から成る基部(1)を有し、該基部(1)の外周面上に多数の外側剥離シート(5)が配置されるシールにおいて、
    当該シールの外径は外側剥離シート(5)で提供され、当該シールの外径が異なる取付寸法に適合するように変更可能であることを特徴とするシール。
  2. 上記基部(1)の各端部に前方プレート(2)および後方プレート(3)がそれぞれ配設され、これらプレートは上記基部(1)の開口内に受容されるネジ(4)によって互いに連結せしめられることを特徴とする請求項に記載のシール。
  3. 上記基部(1)は、上記前方プレート(2)と上記後方プレート(3)とが互いに向かう方向に移動せしめられたときに軸線方向に圧縮され且つ径方向に拡張せしめられることを特徴とする請求項に記載のシール。
  4. 上記シールはほぼ円筒状であることを特徴とする請求項1〜のいずれか1項に記載のシール。
  5. 上記外側剥離シート(5)は該外側剥離シートを剥がすことができるように互いに弱く張付き合うことを特徴とする請求項1〜のいずれか1項に記載のシール。
  6. 上記外側剥離シート(5)の数は2〜20であることを特徴とする請求項1〜のいずれか1項に記載のシール。
  7. 各外側剥離シート(5)の厚さは上記基部(1)の予想される最大の径方向拡張量よりも小さいことを特徴とする請求項に記載のシール。
  8. 各外側剥離シート(5)の厚さは0.5mm〜2.0mmであることを特徴とする請求項に記載のシール。
  9. 各中央開口の内径が変わるように内側剥離シート(6)が各基部(1)の内周面上に配設されることを特徴とする請求項1〜のいずれか1項に記載のシール。
  10. 上記基部(1)は上記剥離シート(5、6)よりも軸線方向の長さが長いことを特徴とする請求項1〜9のいずれか1項に記載のシール。
JP2003529037A 2001-09-21 2002-09-10 ケーブル差込用、管挿入用、またはそれと同様な用途用のシール Expired - Lifetime JP3962017B2 (ja)

Applications Claiming Priority (2)

Application Number Priority Date Filing Date Title
SE0103144A SE0103144L (sv) 2001-09-21 2001-09-21 Tätning för en kabelgenomföring, rörgenomföring eller liknande
PCT/SE2002/001658 WO2003025446A1 (en) 2001-09-21 2002-09-10 Seal for a cable entry, pipe penetration or the like

Publications (2)

Publication Number Publication Date
JP2005503745A JP2005503745A (ja) 2005-02-03
JP3962017B2 true JP3962017B2 (ja) 2007-08-22

Family

ID=20285401

Family Applications (1)

Application Number Title Priority Date Filing Date
JP2003529037A Expired - Lifetime JP3962017B2 (ja) 2001-09-21 2002-09-10 ケーブル差込用、管挿入用、またはそれと同様な用途用のシール

Country Status (16)

Country Link
US (1) US7631880B2 (ja)
EP (1) EP1427958B1 (ja)
JP (1) JP3962017B2 (ja)
KR (1) KR100626567B1 (ja)
CN (1) CN1289846C (ja)
AT (1) ATE301262T1 (ja)
BR (1) BR0212616A (ja)
DE (1) DE60205392T2 (ja)
DK (1) DK1427958T3 (ja)
ES (1) ES2245748T3 (ja)
NO (1) NO335510B1 (ja)
PL (1) PL207714B1 (ja)
PT (1) PT1427958E (ja)
RU (1) RU2270392C2 (ja)
SE (1) SE0103144L (ja)
WO (1) WO2003025446A1 (ja)

Families Citing this family (42)

* Cited by examiner, † Cited by third party
Publication number Priority date Publication date Assignee Title
SE526574C2 (sv) * 2003-06-17 2005-10-11 Roxtec Ab Modul och ram för kabelgenomföringar eller liknande
DE202006010637U1 (de) * 2006-07-10 2006-08-31 Saint-Gobain Isover G+H Ag Als Fertigbauteil ausgebildetes Dämmstoffelement mit gewickelter Rohrschale für die Aufnahme einer Heißleitung
DE502006002972D1 (de) * 2006-12-05 2009-04-09 Hauff Technik Gmbh & Co Kg Pressdichtung
SE0701182L (sv) * 2007-05-16 2008-06-17 Roxtec Ab Tätning med brandskydd
SE531217C2 (sv) * 2007-05-29 2009-01-20 Roxtec Ab Kabelgenomföring
WO2009005416A1 (en) * 2007-07-05 2009-01-08 Cyrba Ab Cable fitting arrangement
CN101338837B (zh) * 2007-07-05 2010-08-11 烙克赛克股份有限公司 具有防火保护的密封装置
SE531430C2 (sv) 2007-08-22 2009-04-07 Roxtec Ab Justerbar modul för genomföring eller passage av kablar
RU2354879C1 (ru) * 2007-11-19 2009-05-10 Открытое акционерное общество "Сибирский химический комбинат" Узел примыкания гидроизоляционных слоев к трубам
SG172260A1 (en) * 2008-12-19 2011-07-28 Mtc Brattberg Ab Layer for use in combination with an insert half, and insert half
SE533541C2 (sv) * 2009-02-04 2010-10-19 Roxtec Ab Smörjning av en rör- eller kabelgenomföring
SE0950050A1 (sv) * 2009-02-04 2010-08-05 Roxtec Ab Identifiering av lager hos en rör- eller kabelgenomföring
SE534046C2 (sv) * 2009-02-04 2011-04-12 Roxtec Ab En rör- eller kabelgenomföring med moduler som har en dimensioneringsfunktion
SE535015C2 (sv) 2009-02-04 2012-03-13 Roxtec Ab Komprimerbar tätning eller genomföring samt tätningssystem
SE533818C2 (sv) * 2009-02-04 2011-01-25 Roxtec Ab Excentrisk del av en rör- eller kabelgenomföring
SE534991C2 (sv) * 2010-07-14 2012-03-06 Mora Contract Mfg Ab Tätningsmodul för tätning kring en långsträckt ledning
EP2597344B1 (de) * 2011-11-25 2014-01-08 Hauff-Technik GmbH & Co. KG Verwendung eines Adapterrings zum Einsetzen in ein Rohrelement einer Leitungsdurchführung
DE202012001199U1 (de) 2012-02-07 2013-05-08 Doyma Gmbh & Co Dichtungsvorrichtung mit Dichtungskörper und Dichtungsmasse
CN102868133A (zh) * 2012-08-08 2013-01-09 河南省电力公司信阳供电公司 电缆管管口封堵装置
CN103414147B (zh) * 2013-08-30 2016-03-30 宁夏电力公司固原供电局 降低电网中直流接地次数的方法
WO2015056562A1 (ja) * 2013-10-17 2015-04-23 富士電機株式会社 ガス吸収塔、ガス吸収塔の製造方法及び船舶
CA2945633C (en) * 2014-03-13 2022-08-02 Hubbell Incorporated Push to connect weatherproof box
SE1550319A1 (sv) 2015-03-17 2016-08-02 Roxtec Ab Seal
SE539904C2 (en) 2015-12-18 2018-01-09 Roxtec Ab Module of a seal or transition
CN107763322A (zh) * 2016-08-19 2018-03-06 潘建新 异型管路穿隔密封件
RU2671848C1 (ru) * 2017-06-27 2018-11-07 Общество с ограниченной ответственностью Производственно-коммерческая фирма "МОДУЛЬНЫЕ КАБЕЛЬНЫЕ СИСТЕМЫ" Кабельный ввод и уплотнительный модуль кабельного ввода
WO2019116223A1 (en) * 2017-12-12 2019-06-20 Wallmax S.R.L. Cable transit module
RU180659U1 (ru) * 2018-02-06 2018-06-20 Василий Викторович Щербань Устройство кабельной проходки
RU187216U1 (ru) * 2018-05-04 2019-02-25 Федеральное государственное автономное образовательное учреждение высшего образования "Сибирский федеральный университет" Теплозащищенный узел ввода трубопроводной системы в здание
EP4220262A1 (en) 2018-05-09 2023-08-02 AFL Telecommunications LLC Butt closures and bases therefor
RU183979U1 (ru) * 2018-06-21 2018-10-11 Федеральное государственное автономное образовательное учреждение высшего образования "Сибирский федеральный университет" Конструкция ввода трубопроводной системы в здание
SE542503C2 (en) * 2018-06-27 2020-05-26 Roxtec Ab A lead-through comprising a seal and an outer diameter extender
CN109058599A (zh) * 2018-08-21 2018-12-21 中车大连机车车辆有限公司 穿墙式管路连接装置
SE543692C2 (en) * 2019-10-23 2021-06-08 Roxtec Ab Compressible round seal for a lead-through maintaining the shape of a rectangular through hole when compressed
SE543754C2 (en) * 2019-11-26 2021-07-13 Roxtec Ab Seal with different compressions
US10996414B1 (en) 2020-03-23 2021-05-04 Afl Telecommunications Llc Butt closures and bases therefor
SE545692C2 (en) * 2020-06-02 2023-12-05 Roxtec Ab Combination of split plate and sleeve, and a sleeve
CN111981207B (zh) * 2020-09-01 2021-12-31 天津医科大学总医院 血流动力学监测导管贯穿低压低氧舱舱壁的装置
US12078846B2 (en) 2020-11-30 2024-09-03 Afl Telecommunications Llc Butt closures and bases therefor
US20230392692A1 (en) * 2022-06-02 2023-12-07 Joel Gale Seal assembly
CN115874699A (zh) * 2023-02-02 2023-03-31 深圳铭泰达建设有限公司 一种易于清洗的排污管道
DE102024119620A1 (de) * 2024-07-10 2026-01-15 Kröner GmbH Systemanbieter für Abdichtungstechnik Dichtungsanordnung und Hauseinführung mit einer solchen

Family Cites Families (15)

* Cited by examiner, † Cited by third party
Publication number Priority date Publication date Assignee Title
DE429916C (de) 1926-06-07 Westfaelische Metall Ind A G L Scheinwerfer
US3528668A (en) * 1967-08-14 1970-09-15 Thunderline Corp Modular inter-wall seal unit
US3775204A (en) * 1971-07-06 1973-11-27 J Thompson Method of gasketing the mating surface of housing parts and entryways for electrical conductors
GB2186443B (en) * 1986-02-11 1990-06-20 Hawke Cable Glands Ltd Improved transit for cables and pipes
JP2513816B2 (ja) 1988-12-27 1996-07-03 三井東圧化学株式会社 芳香族ポリアミドの表面処理方法
DE8913702U1 (de) 1989-11-20 1990-02-08 Wolff, Anton, Dipl.-Ing., 3492 Brakel Packstück für Leitungsdurchführungen
RU2014696C1 (ru) * 1991-10-30 1994-06-15 Алексей Александрович Попов Запирающий орган кабельной канализации
JP3563465B2 (ja) 1994-12-28 2004-09-08 旭化成ホームズ株式会社 配管貫通部の充填方法
US5697194A (en) * 1996-06-18 1997-12-16 Psi Telecommunications, Inc. Modular seal assembly for a wall opening
US5967194A (en) * 1998-01-23 1999-10-19 Federal-Mogul Systems Protection Group, Inc. Self-sealing tubing
JP2000320736A (ja) 1999-05-06 2000-11-24 Doi Seisakusho:Kk ケーブル用導管の防水装置
SE529910C2 (sv) * 2006-04-28 2008-01-08 Roxtec Ab Kabelhållare
TW200810265A (en) * 2006-05-31 2008-02-16 Roxtec Ab A plug unit for a cable entry
CN201032680Y (zh) * 2007-02-16 2008-03-05 张宇 一种多层可分离式电缆橡胶密封件
SE531430C2 (sv) * 2007-08-22 2009-04-07 Roxtec Ab Justerbar modul för genomföring eller passage av kablar

Also Published As

Publication number Publication date
DE60205392D1 (de) 2005-09-08
EP1427958B1 (en) 2005-08-03
PL369061A1 (en) 2005-04-18
NO335510B1 (no) 2014-12-22
PL207714B1 (pl) 2011-01-31
PT1427958E (pt) 2005-11-30
SE518912C2 (sv) 2002-12-03
JP2005503745A (ja) 2005-02-03
DE60205392T2 (de) 2006-04-06
US20040169341A1 (en) 2004-09-02
KR20040035839A (ko) 2004-04-29
SE0103144L (sv) 2002-12-03
US7631880B2 (en) 2009-12-15
BR0212616A (pt) 2004-08-17
ES2245748T3 (es) 2006-01-16
NO20040544L (no) 2004-05-21
WO2003025446A1 (en) 2003-03-27
RU2004111981A (ru) 2005-05-20
CN1555469A (zh) 2004-12-15
CN1289846C (zh) 2006-12-13
ATE301262T1 (de) 2005-08-15
EP1427958A1 (en) 2004-06-16
SE0103144D0 (sv) 2001-09-21
KR100626567B1 (ko) 2006-09-25
DK1427958T3 (da) 2005-11-21
RU2270392C2 (ru) 2006-02-20

Similar Documents

Publication Publication Date Title
JP3962017B2 (ja) ケーブル差込用、管挿入用、またはそれと同様な用途用のシール
US8910949B2 (en) Seal with fire protection
US9765908B2 (en) Eccentric part of a pipe or cable lead-through
EP2181489B1 (en) Adjustable module
US6940012B2 (en) Method and apparatus for providing an environmental barrier between an interior and exterior of an electrical enclosure using a plug and seal
JP3145118B2 (ja) 回転可能な真空フランジ
JP6836309B2 (ja) シール
JP7412359B2 (ja) シールおよび外径エキステンダを備えるリードスルー
EP1779014B1 (en) Pipe sealing device
JP2010216119A (ja) ダクト継手及びダクト接続構造
KR20160003902U (ko) 클램프 장치

Legal Events

Date Code Title Description
A131 Notification of reasons for refusal

Free format text: JAPANESE INTERMEDIATE CODE: A131

Effective date: 20060919

A711 Notification of change in applicant

Free format text: JAPANESE INTERMEDIATE CODE: A711

Effective date: 20061102

A521 Request for written amendment filed

Free format text: JAPANESE INTERMEDIATE CODE: A523

Effective date: 20061207

TRDD Decision of grant or rejection written
A01 Written decision to grant a patent or to grant a registration (utility model)

Free format text: JAPANESE INTERMEDIATE CODE: A01

Effective date: 20070417

A61 First payment of annual fees (during grant procedure)

Free format text: JAPANESE INTERMEDIATE CODE: A61

Effective date: 20070517

R150 Certificate of patent or registration of utility model

Ref document number: 3962017

Country of ref document: JP

Free format text: JAPANESE INTERMEDIATE CODE: R150

Free format text: JAPANESE INTERMEDIATE CODE: R150

FPAY Renewal fee payment (event date is renewal date of database)

Free format text: PAYMENT UNTIL: 20110525

Year of fee payment: 4

R250 Receipt of annual fees

Free format text: JAPANESE INTERMEDIATE CODE: R250

FPAY Renewal fee payment (event date is renewal date of database)

Free format text: PAYMENT UNTIL: 20110525

Year of fee payment: 4

FPAY Renewal fee payment (event date is renewal date of database)

Free format text: PAYMENT UNTIL: 20120525

Year of fee payment: 5

R250 Receipt of annual fees

Free format text: JAPANESE INTERMEDIATE CODE: R250

FPAY Renewal fee payment (event date is renewal date of database)

Free format text: PAYMENT UNTIL: 20130525

Year of fee payment: 6

R250 Receipt of annual fees

Free format text: JAPANESE INTERMEDIATE CODE: R250

FPAY Renewal fee payment (event date is renewal date of database)

Free format text: PAYMENT UNTIL: 20130525

Year of fee payment: 6

R250 Receipt of annual fees

Free format text: JAPANESE INTERMEDIATE CODE: R250

R250 Receipt of annual fees

Free format text: JAPANESE INTERMEDIATE CODE: R250

R250 Receipt of annual fees

Free format text: JAPANESE INTERMEDIATE CODE: R250

R250 Receipt of annual fees

Free format text: JAPANESE INTERMEDIATE CODE: R250

R250 Receipt of annual fees

Free format text: JAPANESE INTERMEDIATE CODE: R250

R250 Receipt of annual fees

Free format text: JAPANESE INTERMEDIATE CODE: R250

R250 Receipt of annual fees

Free format text: JAPANESE INTERMEDIATE CODE: R250

R250 Receipt of annual fees

Free format text: JAPANESE INTERMEDIATE CODE: R250

R250 Receipt of annual fees

Free format text: JAPANESE INTERMEDIATE CODE: R250

R250 Receipt of annual fees

Free format text: JAPANESE INTERMEDIATE CODE: R250

EXPY Cancellation because of completion of term