JP3894501B2 - 溶融亜鉛メッキ法を用いる放電加工機用亜鉛コーティング電極線の製造方法 - Google Patents

溶融亜鉛メッキ法を用いる放電加工機用亜鉛コーティング電極線の製造方法 Download PDF

Info

Publication number
JP3894501B2
JP3894501B2 JP2004562975A JP2004562975A JP3894501B2 JP 3894501 B2 JP3894501 B2 JP 3894501B2 JP 2004562975 A JP2004562975 A JP 2004562975A JP 2004562975 A JP2004562975 A JP 2004562975A JP 3894501 B2 JP3894501 B2 JP 3894501B2
Authority
JP
Japan
Prior art keywords
zinc
electrode wire
electric discharge
wire
plating
Prior art date
Legal status (The legal status is an assumption and is not a legal conclusion. Google has not performed a legal analysis and makes no representation as to the accuracy of the status listed.)
Expired - Fee Related
Application number
JP2004562975A
Other languages
English (en)
Other versions
JP2006518005A (ja
Inventor
ジョング−チョ リー,
Current Assignee (The listed assignees may be inaccurate. Google has not performed a legal analysis and makes no representation or warranty as to the accuracy of the list.)
Pung Kuk Edm Wire Manufacturing Co Ltd
Original Assignee
Pung Kuk Edm Wire Manufacturing Co Ltd
Priority date (The priority date is an assumption and is not a legal conclusion. Google has not performed a legal analysis and makes no representation as to the accuracy of the date listed.)
Filing date
Publication date
Application filed by Pung Kuk Edm Wire Manufacturing Co Ltd filed Critical Pung Kuk Edm Wire Manufacturing Co Ltd
Publication of JP2006518005A publication Critical patent/JP2006518005A/ja
Application granted granted Critical
Publication of JP3894501B2 publication Critical patent/JP3894501B2/ja
Anticipated expiration legal-status Critical
Expired - Fee Related legal-status Critical Current

Links

Images

Classifications

    • CCHEMISTRY; METALLURGY
    • C23COATING METALLIC MATERIAL; COATING MATERIAL WITH METALLIC MATERIAL; CHEMICAL SURFACE TREATMENT; DIFFUSION TREATMENT OF METALLIC MATERIAL; COATING BY VACUUM EVAPORATION, BY SPUTTERING, BY ION IMPLANTATION OR BY CHEMICAL VAPOUR DEPOSITION, IN GENERAL; INHIBITING CORROSION OF METALLIC MATERIAL OR INCRUSTATION IN GENERAL
    • C23CCOATING METALLIC MATERIAL; COATING MATERIAL WITH METALLIC MATERIAL; SURFACE TREATMENT OF METALLIC MATERIAL BY DIFFUSION INTO THE SURFACE, BY CHEMICAL CONVERSION OR SUBSTITUTION; COATING BY VACUUM EVAPORATION, BY SPUTTERING, BY ION IMPLANTATION OR BY CHEMICAL VAPOUR DEPOSITION, IN GENERAL
    • C23C2/00Hot-dipping or immersion processes for applying the coating material in the molten state without affecting the shape; Apparatus therefor
    • C23C2/04Hot-dipping or immersion processes for applying the coating material in the molten state without affecting the shape; Apparatus therefor characterised by the coating material
    • C23C2/06Zinc or cadmium or alloys based thereon
    • BPERFORMING OPERATIONS; TRANSPORTING
    • B23MACHINE TOOLS; METAL-WORKING NOT OTHERWISE PROVIDED FOR
    • B23HWORKING OF METAL BY THE ACTION OF A HIGH CONCENTRATION OF ELECTRIC CURRENT ON A WORKPIECE USING AN ELECTRODE WHICH TAKES THE PLACE OF A TOOL; SUCH WORKING COMBINED WITH OTHER FORMS OF WORKING OF METAL
    • B23H7/00Processes or apparatus applicable to both electrical discharge machining and electrochemical machining
    • B23H7/02Wire-cutting
    • B23H7/08Wire electrodes
    • CCHEMISTRY; METALLURGY
    • C23COATING METALLIC MATERIAL; COATING MATERIAL WITH METALLIC MATERIAL; CHEMICAL SURFACE TREATMENT; DIFFUSION TREATMENT OF METALLIC MATERIAL; COATING BY VACUUM EVAPORATION, BY SPUTTERING, BY ION IMPLANTATION OR BY CHEMICAL VAPOUR DEPOSITION, IN GENERAL; INHIBITING CORROSION OF METALLIC MATERIAL OR INCRUSTATION IN GENERAL
    • C23CCOATING METALLIC MATERIAL; COATING MATERIAL WITH METALLIC MATERIAL; SURFACE TREATMENT OF METALLIC MATERIAL BY DIFFUSION INTO THE SURFACE, BY CHEMICAL CONVERSION OR SUBSTITUTION; COATING BY VACUUM EVAPORATION, BY SPUTTERING, BY ION IMPLANTATION OR BY CHEMICAL VAPOUR DEPOSITION, IN GENERAL
    • C23C2/00Hot-dipping or immersion processes for applying the coating material in the molten state without affecting the shape; Apparatus therefor
    • C23C2/02Pretreatment of the material to be coated, e.g. for coating on selected surface areas
    • CCHEMISTRY; METALLURGY
    • C23COATING METALLIC MATERIAL; COATING MATERIAL WITH METALLIC MATERIAL; CHEMICAL SURFACE TREATMENT; DIFFUSION TREATMENT OF METALLIC MATERIAL; COATING BY VACUUM EVAPORATION, BY SPUTTERING, BY ION IMPLANTATION OR BY CHEMICAL VAPOUR DEPOSITION, IN GENERAL; INHIBITING CORROSION OF METALLIC MATERIAL OR INCRUSTATION IN GENERAL
    • C23CCOATING METALLIC MATERIAL; COATING MATERIAL WITH METALLIC MATERIAL; SURFACE TREATMENT OF METALLIC MATERIAL BY DIFFUSION INTO THE SURFACE, BY CHEMICAL CONVERSION OR SUBSTITUTION; COATING BY VACUUM EVAPORATION, BY SPUTTERING, BY ION IMPLANTATION OR BY CHEMICAL VAPOUR DEPOSITION, IN GENERAL
    • C23C2/00Hot-dipping or immersion processes for applying the coating material in the molten state without affecting the shape; Apparatus therefor
    • C23C2/26After-treatment
    • CCHEMISTRY; METALLURGY
    • C23COATING METALLIC MATERIAL; COATING MATERIAL WITH METALLIC MATERIAL; CHEMICAL SURFACE TREATMENT; DIFFUSION TREATMENT OF METALLIC MATERIAL; COATING BY VACUUM EVAPORATION, BY SPUTTERING, BY ION IMPLANTATION OR BY CHEMICAL VAPOUR DEPOSITION, IN GENERAL; INHIBITING CORROSION OF METALLIC MATERIAL OR INCRUSTATION IN GENERAL
    • C23CCOATING METALLIC MATERIAL; COATING MATERIAL WITH METALLIC MATERIAL; SURFACE TREATMENT OF METALLIC MATERIAL BY DIFFUSION INTO THE SURFACE, BY CHEMICAL CONVERSION OR SUBSTITUTION; COATING BY VACUUM EVAPORATION, BY SPUTTERING, BY ION IMPLANTATION OR BY CHEMICAL VAPOUR DEPOSITION, IN GENERAL
    • C23C2/00Hot-dipping or immersion processes for applying the coating material in the molten state without affecting the shape; Apparatus therefor
    • C23C2/26After-treatment
    • C23C2/28Thermal after-treatment, e.g. treatment in oil bath
    • CCHEMISTRY; METALLURGY
    • C23COATING METALLIC MATERIAL; COATING MATERIAL WITH METALLIC MATERIAL; CHEMICAL SURFACE TREATMENT; DIFFUSION TREATMENT OF METALLIC MATERIAL; COATING BY VACUUM EVAPORATION, BY SPUTTERING, BY ION IMPLANTATION OR BY CHEMICAL VAPOUR DEPOSITION, IN GENERAL; INHIBITING CORROSION OF METALLIC MATERIAL OR INCRUSTATION IN GENERAL
    • C23CCOATING METALLIC MATERIAL; COATING MATERIAL WITH METALLIC MATERIAL; SURFACE TREATMENT OF METALLIC MATERIAL BY DIFFUSION INTO THE SURFACE, BY CHEMICAL CONVERSION OR SUBSTITUTION; COATING BY VACUUM EVAPORATION, BY SPUTTERING, BY ION IMPLANTATION OR BY CHEMICAL VAPOUR DEPOSITION, IN GENERAL
    • C23C2/00Hot-dipping or immersion processes for applying the coating material in the molten state without affecting the shape; Apparatus therefor
    • C23C2/34Hot-dipping or immersion processes for applying the coating material in the molten state without affecting the shape; Apparatus therefor characterised by the shape of the material to be treated
    • C23C2/36Elongated material
    • C23C2/38Wires; Tubes

Landscapes

  • Chemical & Material Sciences (AREA)
  • Mechanical Engineering (AREA)
  • Chemical Kinetics & Catalysis (AREA)
  • Engineering & Computer Science (AREA)
  • Organic Chemistry (AREA)
  • Metallurgy (AREA)
  • Materials Engineering (AREA)
  • Physics & Mathematics (AREA)
  • Oil, Petroleum & Natural Gas (AREA)
  • Thermal Sciences (AREA)
  • Electrochemistry (AREA)
  • Electrical Discharge Machining, Electrochemical Machining, And Combined Machining (AREA)
  • Coating With Molten Metal (AREA)

Description

本発明は、溶融亜鉛メッキ法を用いて被加工物の切削加工として有用な電極線を製造する方法に関するものである。より詳しくは、本発明は、素材表面成形段階、下メッキ段階、本メッキ段階、表面成形段階、均質化熱処理段階、および引抜段階を順次実施して、放電加工機用亜鉛コーティング電極線を製造することにより、溶融メッキ法によっても、電気メッキ法のように、放電加工機用電極線の外表面に均質に亜鉛をコートして製造設備費用を最小化することにより、メッキ原価の節減で、生産者と実使用者の経済的利益を増大させることができ、生産過程で発生する有害ガスと廃水による環境汚染問題をあらかじめ防止することができ、亜鉛コーティング層の厚さ向上と付着力向上により、実際使用時、パウダーの発生を抑制して電極線全体の機能を向上させるようにした、溶融亜鉛メッキ法を用いた放電加工機用亜鉛コーティング電極線の製造方法に関するのである。
一般に、電気放電加工機(Electro Discharge Machining、以下“EDM”という)は、電気放電によるアーク熱で被金属処理物を成形加工するものであって、すなわち、図9に示すように、被処理物と電極との間に高電圧を印加すると、大量の電子が被処理物に向かうことにより、アークが発生し浸食が起こる。
このようなEDMは、産業の発展にしたがい複雑になり、熱処理による高硬度材料の加工に適切な方法として現在広く使用されている。
前記EDMのなかで電極物質がワイヤ形態で使用されるものをワイヤカット(wire-cut)EDMという。特にワイヤカットEDMは、工具やダイ等の細くて複雑な加工に效果的である。電圧を印加すると同時に継続して被処理物にワイヤを供給する方式において、ワイヤは消耗性であるため、放電以後に再使用できない。
参考として、放電が進行するにしたがい熱が発生される。このような熱は電極ワイヤの断線をもたらすことができる。これを防止するため、放電の際、蒸気圧の高い電極物質を用いて、蒸発により内部熱を減らすように、亜鉛(Zn)を合金したブラスワイヤ(Brasswire)が主流をなしている。これは放電效果を改善したが、既存合金の固溶限界によって制限を受けることになる。すなわち、α固溶体(FCC)に固溶可能な最大亜鉛(Zn)の量は456℃で約39%である。
このように、ワイヤ放電加工に使用される電極線は、主に純銅線であったが、純銅線の場合、引張強度が低くて放電加工時の張力を高めることができなくて、電極線の振動を抑制し難くて精密度が低下するだけでなく、断線が発生しやすく、銅(Cu)自体の放電加工性もあまり良くなくて加工速度が遅いなどの問題点がある。
このような問題点の加工速度を向上させるため、このころには銅と亜鉛を合金した黄銅電極線が主に使用される。
すなわち、前記黄銅電極線の表面に亜鉛(Zn)の含量が多いほど、加工速度が向上する。これは、亜鉛が爆発力を向上させ、被加工物の溶融部を效率的に除去することにより、被加工物に対する付着物の減少が実現されるからである。
しかし、亜鉛の含量が増加すれば、放電加工性は向上するが、伸線引抜加工性が悪くなる。
すなわち、前記亜鉛が40%以上となると、針状組職が生じ、硬いβ相が生成されるので、ほとんど伸線加工ができなくなる。
このように、ワイヤ放電加工において、放電加工の速度向上と被加工物の精密度向上のため、黄銅電極線内に各種元素を添加して強度を向上させようとしているが、前記亜鉛の含量が多いほど放電特性は良好であるが、実際には表面から数μm程度までの部分のみが放電特性に影響を及ぼし、同一黄銅線においても製造方法によって放電特性が違う。
このような特性を持っている、亜鉛コーティング黄銅電極線は、通常、電気メッキ法、溶融メッキ法、プラズマメッキ法、および溶射メッキ法を用いて表面に亜鉛コーティングメッキを付与することになる。ここで、プラズマメッキ法と溶射メッキ法は、製造過程で高費用がかかる非経済的な理由などのため、線材形態の黄銅電極線のコーティングメッキ法には適しなくて実際には利用されない。
また、溶融メッキ法は製造設備費が低く、製造過程で公害ガスと廃水などを発生させないので、環境問題に何らの悪影響を及ぼさない一方、製造過程中に高温溶解亜鉛槽内で黄銅電極線を通過させる過程で素材の性質変化を引き起こし、メッキ層を不均一な成分で形成する問題点があった。
したがって、実使用時に多くの利点があるメッキ法であるにもかかわらず、放電加工用電極線を生産するのにはメッキ法としては利用できなくて、耐蝕用メッキとしてだけ用いている。
その理由および内容を説明すれば、溶融メッキ法においては、溶融された亜鉛が電極線の表面に付着するため、線の表面が亜鉛の融点近くまで温度が上昇しなければならないが、これは液状亜鉛の表面張力によるものであり、表面張力を克服して付着するためには、黄銅電極線表面の温度が高くなって黄銅電極線内の亜鉛が析出しながらメッキされるものと知られている。
このときに現れる現象が拡散現象である。拡散とは、濃度が高い方の金属が低い方に移動する現象である。この現象により、線材の表面の亜鉛濃度と内部の亜鉛濃度に違いが発生することになる。
また、表面と内部が均一な成分のメッキではなく不均質メッキとなるため、電極線に使用する亜鉛メッキとしては溶融メッキ法が使用されていない。
これは、加工の際、電極線の表面が放電により分離されるが、被覆層の表面と内部の性質が違うので、放電初期と終期の放電特性が違うことになり、これにより、均一な放電加工ができなくなるからである。
したがって、現在は前述した電気メッキ法を主に用いて黄銅電極線の表面に亜鉛コーティングメッキを施して電極線を生産している。その理由は、鍍金液内部のイオン化された亜鉛イオンが電気的な力により線材表面に付着する原理により表面にメッキされるため、メッキされた亜鉛層全体を均一な純亜鉛で形成することができるので、メッキ層の全体を均一な成分で構成することができ、メッキ厚さの管理が便利であるからである。
しかし、このような電気メッキ法は、製造設備費が高価であり、製造過程で公害ガスと廃水などを多量発生させて環境汚染問題を深刻にもたらす問題点があった。
したがって、現在は、製造設備費が高価で、環境に悪影響をもたらすにもかかわらず、電気メッキ法を主に用いて亜鉛コーティング黄銅電極線を製造している実情である。
したがって、本発明は前述したような従来の問題に鑑みてなされたもので、その目的は、素材表面成形段階、下メッキ段階、本メッキ段階、表面成形段階、均質化熱処理段階、および引抜段階を順次実施して放電加工機用亜鉛コーティング電極線を製造することにより、溶融メッキ法を用いるにもかかわらず、電気メッキ法のように、放電加工機用電極線の外表面に均質に亜鉛をコートして製造設備費用を最小化することによるメッキ原価の節減で、生産者と実使用者の経済的利益を増大させることができ、生産過程で発生する有害ガスと廃水による環境汚染問題をあらかじめ防止することができ、亜鉛コーティング層の厚さ向上と付着力向上により、実使用時にパウダー発生を抑制して電極線全体の機能を向上させるようにした、溶融亜鉛メッキ法を用いた放電加工機用亜鉛コーティング電極線の製造方法を提供することにある。
前記目的を達成するため、本発明は、線材形態の素材の外表面をダイを通して引抜する過程で、前記線材形態の素材の外表面に尖った先端部を有し、該先端部が該素材の半径方向に対してテーパー状に尖っているように成形処理する素材表面成形段階と、前記素材表面成形段階を経た素材を、成形された素材の外表面に亜鉛が付着するような比較的遅い速度で、溶融亜鉛溶解槽内を通過させることで、成形素材の外表面に亜鉛を付着させる下メッキ段階と、前記下メッキ段階を経た素材を亜鉛溶解槽内で滞留させてメッキを施すとともに下メッキで付着された亜鉛の温度を400℃以上にし、この素材を亜鉛溶解槽外に移動させ、表面に付着された亜鉛が固まる前、400℃に予熱されたサイジングダイを通過させて亜鉛メッキ層が一定の厚さとなるように成形する本メッキ段階と、前記本メッキ段階を経た素材を、加熱されたパイプ内部を一定速度で通過させて素材の表面温度が250℃〜350℃となるようにした後、線径より5μm〜10μm小さいダイを通過させて、下メッキ及び本メッキで素材表面に付着した亜鉛メッキ層を素材の周囲に均一な厚さで平坦に再成形する表面成形段階と、前記表面成形段階を経った素材を密閉空間に入れ、熱風を循環させて製品を均一に加熱する均質化熱処理段階と、前記均質化熱処理段階を経った素材を、流入口が5μm、中間部分が3μm、排出口が3μm〜1μmの大きさを有する天然ダイヤモンド製の引抜ダイを通過させて素材の表面を滑らかに成形するとともに、断面積0.3〜3mmのメッキ線材形態の素材となるように引抜する引抜段階と、を含んでいることを特徴とする、溶融亜鉛メッキ法を用いた放電加工機用亜鉛コーティング電極線の製造方法を提供する。
本発明のほかの目的、特徴および利点は添付図面を参照する以降の詳細な説明から明らかに理解可能であろう。
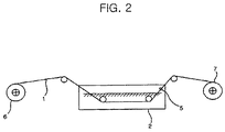
以下、本発明を添付図面に基づいて詳細に説明する。図1は本発明の溶融亜鉛メッキ法を用いた放電加工機用亜鉛コーティング電極線の製造方法の全体工程を示す正面図である。図2は本発明の溶融亜鉛メッキ法を用いた放電加工機用亜鉛コーティング電極線の製造方法において、溶解槽を通過するメッキ工程を示す概略正面図である。
参考として、本発明を説明するにあって、関連した公知機能または構成についての具体的な説明が本発明の要旨を不要にあいまいにすることができると判断される場合には、その詳細な説明を省略する。
また、後述する用語は本発明の機能を考慮して定義された用語であって、これは使用者と運営者の意図または慣例などによって変わることができる。
したがって、その定義は本明細書の全般内容を基にして下されなければならない。
図1に示すように、本発明は、線材形態の素材1の外表面をダイを通して引抜する過程で、先端部が尖っているテーパー状に成形処理する素材表面成形段階10を先に実施した後、素材の断面積が0.3〜3mmであるとき、素材を分当たり30〜40mの比較的遅い速度で、440℃〜500℃の亜鉛溶解槽2内を通過させることで、亜鉛溶解槽2内での素材の滞留時間が1秒〜2秒の範囲となるようにして、成形された素材1の外表面に亜鉛3を付着する下メッキ段階20を実施する。
そして、前記下メッキ段階20を経った素材を、430℃〜480℃の亜鉛溶解槽2内を分当たり50m〜70mの速度で通過させて、亜鉛溶解槽2内での素材1の滞留時間が1秒〜2秒の範囲となるようにメッキを実施して、下メッキ20で付着した亜鉛3の温度が410℃±10℃程度となるようにし、このような素材1を亜鉛溶解槽2外に移動させた直後、表面に付着された亜鉛メッキ層が固まる前に400℃に予熱されたサイジングダイを通過させて一定の厚さとなるように成形する本メッキ段階30を実施する。
このような本メッキ段階30が完了すると、前記本メッキ段階30を経った素材を400℃に加熱された4m〜6mのパイプ内部を分当たり30m〜50mの速度で通過させて素材1の表面の温度が250℃〜350℃となるようにした後、線径より約5μm〜10μm小さいダイを通過させて、下メッキ及び本メッキで素材表面に付着した亜鉛3を素材の周囲に均一な厚さで平坦に再成形する表面成形段階40を実施する。
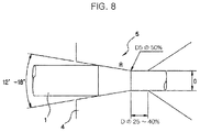
また、前記表面成形段階40を経った素材1を密閉空間に入れ、120℃〜180℃の熱風を秒速10m〜20mの速度で循環させて製品を均一に加熱させる均質化熱処理段階50を実施した後、前記均質化熱処理段階50を経った素材を、流入口が5μm、中間部分が3μm、排出口が3μm〜1μmの大きさを有する天然ダイヤモンド製の引抜ダイ5を通過させて素材の表面を滑らかに成形するとともに、断面積0.3〜3mmの線材形態の素材となるように引抜する引抜段階60を実施するように構成されている。
このように、多段階の過程で構成され本発明の作用を図面に基づいて説明すれば次のようである。図3は本発明の溶融亜鉛メッキ法を用いた放電加工機用亜鉛コーティング電極線の製造方法において、素材表面成形段階を経った素材の形状を示す写真であり、図4は本発明の溶融亜鉛メッキ法を用いた放電加工機用亜鉛コーティング電極線の製造方法において、下メッキ段階を経った素材の形状を示す写真であり、図5は本発明の溶融亜鉛メッキ法を用いた放電加工機用亜鉛コーティング電極線の製造方法において、本メッキ段階を経った素材の形状を示す写真であり、図6は本発明の溶融亜鉛メッキ法を用いた放電加工機用亜鉛コーティング電極線の製造方法において、表面成形段階を経った素材の形状を示す写真であり、図7は本発明の溶融亜鉛メッキ法を用いた放電加工機用亜鉛コーティング電極線の製造方法において、均質化熱処理段階を経った素材の形状を示す写真であり、図8は本発明の溶融亜鉛メッキ法を用いた放電加工機用亜鉛コーティング電極線の製造方法において、引抜時に用いられるダイの要部形状を示す正断面図である。
前述したように、本発明は、素材表面成形段階、下メッキ段階、本メッキ段階、表面成形段階、均質化熱処理段階、および引抜段階を順次実施して、放電加工機用亜鉛コーティング電極線を製造することにより、溶融メッキ法を用いるにもかかわらず、電気メッキ法のように、放電加工機用電極線の外表面に均質に亜鉛をコートするようにしたものである。
これをより具体的に説明すると、最初に実施する素材表面成形段階10においては、前述したように、線材形態の素材1の外表面をダイを通して引抜する過程で、図3に示すように、先端部が尖っているテーパー状の形態に成形処理して、溶融された亜鉛溶解槽2内を通過するとき、尖っている先端部のみで高熱による拡散が起こるようにする。
したがって、高熱による黄銅電極線の拡散現象を最小化することができるので、体積も最小化することができる。
そして、つづいて実施する下メッキ段階20では、素材の断面積が0.3〜3mmであるとき、素材を分当たり30〜40mの比較的遅い速度で、440℃〜500℃の亜鉛溶解槽2内を通過させることで、亜鉛溶解槽2内での素材の滞留時間が1秒〜2秒の範囲となるようにして、成形された素材1の外表面に、図4に示すように、亜鉛3を付着させる。
参考として、亜鉛溶解槽2内での素材の滞留時間が1秒〜2秒範囲より短い場合には、素材の拡散できなくて效果的なメッキが得られなく、これより長い場合には、拡散面積が必要以上に広くて深くなって不均質メッキが形成される。
また、下メッキ段階20を経った素材1は本メッキ段階30に移送し、430℃〜480℃の亜鉛溶解槽2内を分当たり50m〜70mの速度で通過させて、溶解槽2内での素材1の滞留時間が1秒〜2秒の範囲となるようにメッキを実施して、下メッキ段階20で付着した亜鉛3の温度が410℃±10℃程度となるようにし、このような素材1を溶解槽2外に移動させた直後、表面に付着された亜鉛3メッキが固まる前、400℃に予熱されたサイジングダイを通過させて一定の厚さにして、図5に示すように成形することになる。
そして、このような過程が完了すると、成形された素材1を表面成形段階40に移送し、400℃に加熱された4m〜6mのパイプの内部を分当たり30〜50mの速度で通過させて、素材1の表面温度が250℃〜350℃となるようにした後、線径より約5μm〜10μmだけ小さい直径のダイを通過させて、下メッキ及び本メッキで素材1の表面に付着した亜鉛3を、図6に示すように、素材1の周囲に均一な厚さで平坦に再成形することになる。
また、このように再成形された素材1は均質化熱処理段階50に移送し、密閉空間に入れ、120℃〜180℃の熱風を秒速10m〜20mの速度で循環させて素材1を均一に加熱して、図7に示すように成形されるようにする。
このような工程を実施する理由は、前工程で素材1の表面に成形された亜鉛3の素材表面との結合性、及び亜鉛3の粒子間の結合性が不安定になることを改善するためである。
素材1の表面に付着された亜鉛3は、素材1の表面との接触面で約1μmの厚さの拡散層を形成しながら完全に結合され、酸化亜鉛に変化して強い性質を有することになるので、引抜に際して、従来の純亜鉛被服電極線のように、パウダーを発生させ、断線などが発生する問題点を最小化することができる。
そして、後続の最終段階である引抜段階60においては、図8に示すように、素材を、流入口が5μm、中間部分が3μm、排出口が3μm〜1μmの大きさを有する天然ダイヤモンド製の引抜ダイ5を通過させて素材1の表面を滑らかに成形するとともに、断面積0.3〜3mmの細い線材形態に製造する。
ここで、前記のように、流入口5μm、中間部3μm、排出口3μm〜1μmの天然ダイヤモンド製の引抜ダイ5で引抜を行う理由は、素材1とこの素材1の表面に付着された亜鉛との物性差が非常に大きいため、引抜比4〜80倍以上の引抜の時、表面に付着された亜鉛の不安定な状態を保護するためである。
引抜後の最終熱処理及び製品生産方法は従来の方法と同様である。
以上説明したように、本発明は、電気放電機を用いて被加工物を切削加工するためのコーティング電極線を溶融亜鉛メッキ法により製造する方法を提供し、より詳しくは、素材表面成形段階、下メッキ段階、本メッキ段階、表面成形段階、均質化熱処理段階、および引抜段階を順次実施して、放電加工機用亜鉛コーティング電極線を製造することにより、溶融メッキ法によっても、電気メッキ法のように、放電加工機用電極線の外表面に均質に亜鉛をコートして製造設備費用を最小化することによるメッキ原価の節減で、生産者と実使用者の経済的利益を増大させることができ、生産過程で発生する有害ガスと廃水による環境汚染問題をあらかじめ防止することができ、亜鉛コーティング層の厚さ向上と付着力向上により、実際使用時、パウダーの発生を抑制させて電極線全体の機能を向上させるようにした、溶融亜鉛メッキ法を用いた放電加工機用亜鉛コーティング電極線の製造方法を提供する。
以上、添付図面を参照しながら本発明の好適な実施形態について説明したが、本発明はかかる例に限定されないことは言うまでもない。当業者であれば、特許請求の範囲に記載された範疇内において、各種の変更例または修正例に想到し得ることは明らかであり、それらについても当然に本発明の技術的範囲に属するものと了解される。
本発明の溶融亜鉛メッキ法を用いた放電加工機用亜鉛コーティング電極線の製造方法の全体工程を示す正面図である。 本発明の溶融亜鉛メッキ法を用いた放電加工機用亜鉛コーティング電極線の製造方法において、溶解槽を通過するメッキ工程を示す概略正面図である。 本発明の溶融亜鉛メッキ法を用いた放電加工機用亜鉛コーティング電極線の製造方法において、素材表面成形段階を経った素材の形状を示す写真である。 本発明の溶融亜鉛メッキ法を用いた放電加工機用亜鉛コーティング電極線の製造方法において、下メッキ段階を経った素材の形状を示す写真である。 本発明の溶融亜鉛メッキ法を用いた放電加工機用亜鉛コーティング電極線の製造方法において、本メッキ段階を経った素材の形状を示す写真である。 本発明の溶融亜鉛メッキ法を用いた放電加工機用亜鉛コーティング電極線の製造方法において、表面成形段階を経った素材の形状を示す写真である。 本発明の溶融亜鉛メッキ法を用いた放電加工機用亜鉛コーティング電極線の製造方法において、均質化熱処理段階を経った素材の形状を示す写真である。 本発明の溶融亜鉛メッキ法を用いた放電加工機用亜鉛コーティング電極線の製造方法において、引抜時に用いられるダイの要部形状を示す正断面図である。 放電加工機用亜鉛コーティング電極線の使用状態を示す斜視図である。

Claims (5)

  1. 放電加工機用亜鉛コーティング電極線の製造方法において、
    線材形態の素材の外表面をダイを通して引抜する過程で、前記線材形態の素材の外表面に尖った先端部を有し、該先端部が該素材の半径方向に対してテーパー状に尖っているように成形処理する素材表面成形段階と、
    前記素材表面成形段階を経た素材を、成形された素材の外表面に亜鉛が付着するような比較的遅い速度で、溶融亜鉛溶解槽内を通過させることで、成形素材の外表面に亜鉛を付着させる下メッキ段階と、
    前記下メッキ段階を経た素材を亜鉛溶解槽内で滞留させてメッキを施すとともに下メッキで付着された亜鉛の温度を400℃以上にし、この素材を亜鉛溶解槽外に移動させ、表面に付着された亜鉛が固まる前、400℃に予熱されたサイジングダイを通過させて亜鉛メッキ層が一定の厚さとなるように成形する本メッキ段階と、
    前記本メッキ段階を経た素材を、加熱されたパイプ内部を一定速度で通過させて素材の表面温度が250℃〜350℃となるようにした後、線径より5μm〜10μm小さいダイを通過させて、下メッキ及び本メッキで素材表面に付着した亜鉛メッキ層を素材の周囲に均一な厚さで平坦に再成形する表面成形段階と、
    前記表面成形段階を経った素材を密閉空間に入れ、熱風を循環させて製品を均一に加熱する均質化熱処理段階と、
    前記均質化熱処理段階を経った素材を、流入口が5μm、中間部分が3μm、排出口が3μm〜1μmの大きさを有する天然ダイヤモンド製の引抜ダイを通過させて素材の表面を滑らかに成形するとともに、断面積0.3〜3mmのメッキ線材形態の素材となるように引抜する引抜段階と、
    を含んでなることを特徴とする、溶融亜鉛メッキ法を用いた放電加工機用亜鉛コーティング電極線の製造方法。
  2. 前記下メッキ段階において、亜鉛溶解槽を通過する素材は、素材の断面積が0.3〜3mmであるとき、分当たり30〜40mの比較的遅い速度で、440℃〜500℃の亜鉛溶解槽内を通過して、亜鉛溶解槽内での素材の滞留時間が1秒〜2秒の範囲となるようにすることを特徴とする、請求項1に記載の溶融亜鉛メッキ法を用いた放電加工機用亜鉛コーティング電極線の製造方法。
  3. 前記本メッキ段階において、亜鉛溶解槽を通過する素材は、430℃〜480℃の亜鉛溶解槽内を分当たり50m〜70mの速度で通過して、亜鉛溶解槽内での素材の滞留時間が1秒〜2秒の範囲となるようにすることを特徴とする、請求項1に記載の溶融亜鉛メッキ法を用いた放電加工機用亜鉛コーティング電極線の製造方法。
  4. 前記表面成形段階において、パイプを通過する素材は、400℃に加熱された4m〜6mのパイプ内部を分当たり30m〜50mの速度で通過して素材の表面の温度が250℃〜350℃となるようにすることを特徴とする、請求項1に記載の溶融亜鉛メッキ法を用いた放電加工機用亜鉛コーティング電極線の製造方法。
  5. 前記均質化熱処理段階において、密閉空間に入れられた素材は、秒速10m〜20mの速度で循環される120℃〜180℃の熱風により加熱されることを特徴とする、請求項1に記載の溶融亜鉛メッキ法を用いた放電加工機用亜鉛コーティング電極線の製造方法。
JP2004562975A 2002-12-24 2003-05-07 溶融亜鉛メッキ法を用いる放電加工機用亜鉛コーティング電極線の製造方法 Expired - Fee Related JP3894501B2 (ja)

Applications Claiming Priority (2)

Application Number Priority Date Filing Date Title
KR10-2002-0083330A KR100484990B1 (ko) 2002-12-24 2002-12-24 용융아연도금법을 이용한 방전가공기용 아연 코팅 전극선제조방법
PCT/KR2003/000901 WO2004059028A1 (en) 2002-12-24 2003-05-07 Method of manufacturing zinc-coated electrode wire for electric discharge processors using hot dip galvanizing process

Publications (2)

Publication Number Publication Date
JP2006518005A JP2006518005A (ja) 2006-08-03
JP3894501B2 true JP3894501B2 (ja) 2007-03-22

Family

ID=36610179

Family Applications (1)

Application Number Title Priority Date Filing Date
JP2004562975A Expired - Fee Related JP3894501B2 (ja) 2002-12-24 2003-05-07 溶融亜鉛メッキ法を用いる放電加工機用亜鉛コーティング電極線の製造方法

Country Status (5)

Country Link
US (1) US20060138091A1 (ja)
EP (1) EP1590496A1 (ja)
JP (1) JP3894501B2 (ja)
KR (1) KR100484990B1 (ja)
WO (1) WO2004059028A1 (ja)

Families Citing this family (12)

* Cited by examiner, † Cited by third party
Publication number Priority date Publication date Assignee Title
KR100925000B1 (ko) * 2007-10-04 2009-11-04 화성이디엠(주) 방전가공용 전극선 및 그 제조방법
EP2067560B1 (en) * 2007-12-10 2012-03-21 Oki Electric Cable Co., Ltd. System for manufacturing a base wire for an electrode wire for wire electrodischarge machining
US10189100B2 (en) 2008-07-29 2019-01-29 Pratt & Whitney Canada Corp. Method for wire electro-discharge machining a part
US8925201B2 (en) * 2009-06-29 2015-01-06 Pratt & Whitney Canada Corp. Method and apparatus for providing rotor discs
JP4931028B2 (ja) * 2010-02-02 2012-05-16 沖電線株式会社 ワイヤ放電加工用電極線、その製造方法及びその電極線を用いた放電加工方法
KR101284495B1 (ko) * 2011-04-29 2013-07-16 성기철 방전가공용 전극선 및 그 제조방법
KR101292343B1 (ko) * 2011-08-08 2013-07-31 성기철 방전가공용 전극선 및 그 제조방법
US11511362B2 (en) * 2019-02-05 2022-11-29 Cap Technologies, Llc Wire for electric discharge machining
EP3702082A1 (de) * 2019-02-28 2020-09-02 Berkenhoff GmbH Drahtelektrode zum funkenerosiven schneiden eines gegenstandes
US12088029B2 (en) * 2021-07-20 2024-09-10 Dell Products L.P. Cable termination for information handling systems
EP4584408A1 (en) * 2023-11-17 2025-07-16 Sanjana Kothari Manufacturing zinc wire
CN117467919B (zh) * 2023-12-25 2024-02-23 天津市源山工贸有限公司 一种石笼网制备用锌铝镁合金钢丝的镀覆方法及有色钢丝

Family Cites Families (8)

* Cited by examiner, † Cited by third party
Publication number Priority date Publication date Assignee Title
JPS5451934A (en) * 1977-10-03 1979-04-24 Hitachi Cable Ltd Zinc aluminium melting projecting wire rod
JPS6035543A (ja) * 1983-08-08 1985-02-23 Oki Electric Ind Co Ltd 半導体装置の製造方法
US4786777A (en) * 1988-03-21 1988-11-22 Raycon Textron Inc. Process and apparatus for wire electrode trimming using a laser
US5808262A (en) * 1995-06-07 1998-09-15 Swil Limited Wire electrode for electro-discharge machining and method of manufacturing same
US5636545A (en) * 1995-07-07 1997-06-10 General Electric Company Composite diamond wire die
FR2749324B1 (fr) * 1996-06-04 1998-08-07 Thermocompact Sa Procede et dispositif de zingage d'un fil d'electroerosion, et fil ainsi obtenu
JP3248457B2 (ja) * 1996-12-26 2002-01-21 住友電気工業株式会社 ワイヤ放電加工用電極線の製造方法
ES2196710T3 (es) * 1999-12-09 2003-12-16 Charmilles Technologies Electrodo para el mecanizado de una pieza por electroerosion y su procedimiento de fabricacion.

Also Published As

Publication number Publication date
WO2004059028A1 (en) 2004-07-15
KR20040056768A (ko) 2004-07-01
EP1590496A1 (en) 2005-11-02
KR100484990B1 (ko) 2005-04-22
US20060138091A1 (en) 2006-06-29
JP2006518005A (ja) 2006-08-03

Similar Documents

Publication Publication Date Title
JP3718529B2 (ja) 放電加工用多孔性電極線の製造方法
JP6029778B1 (ja) 高精度亜鉛基合金電極線及びその製造方法
KR101292343B1 (ko) 방전가공용 전극선 및 그 제조방법
JP3894501B2 (ja) 溶融亜鉛メッキ法を用いる放電加工機用亜鉛コーティング電極線の製造方法
EP2067560B1 (en) System for manufacturing a base wire for an electrode wire for wire electrodischarge machining
KR101284495B1 (ko) 방전가공용 전극선 및 그 제조방법
US6781081B2 (en) Wire electrode for spark erosion cutting
TWI625185B (zh) Electrode wire for wire electric discharge machining and manufacturing method thereof
KR20140051734A (ko) 방전가공용 전극선 및 그 제조방법
JPS6344491B2 (ja)
KR200309440Y1 (ko) 용융아연도금을 이용한 방전가공기용 아연 코팅 전극선
KR100511649B1 (ko) 가루 없는 방전 가공기용 아연 코팅 전극선 제조방법
KR100345958B1 (ko) 지르코늄이 함유된 와이어 방전가공용 전극선과 그 제조방법
KR20130016726A (ko) 방전가공용 전극선 및 그 제조방법
JP2003291030A (ja) ワイヤ放電加工用電極線
KR100665586B1 (ko) 도트 플랜티드 방식의 방전가공용 전극선
JPS59123751A (ja) ワイヤ−カツト放電加工用電極線の製造方法
KR20040047036A (ko) 흑연 코팅 방전 가공용 전극선 제조방법
KR20070075516A (ko) 방전가공용 전극선의 제조방법 및 그 구조
KR20140075442A (ko) 방전가공용 전극선 및 그 제조방법
KR20130030797A (ko) 방전가공용 전극선 및 그 제조방법

Legal Events

Date Code Title Description
A871 Explanation of circumstances concerning accelerated examination

Free format text: JAPANESE INTERMEDIATE CODE: A871

Effective date: 20060508

A975 Report on accelerated examination

Free format text: JAPANESE INTERMEDIATE CODE: A971005

Effective date: 20060613

A131 Notification of reasons for refusal

Free format text: JAPANESE INTERMEDIATE CODE: A131

Effective date: 20060619

A521 Request for written amendment filed

Free format text: JAPANESE INTERMEDIATE CODE: A523

Effective date: 20060913

TRDD Decision of grant or rejection written
A01 Written decision to grant a patent or to grant a registration (utility model)

Free format text: JAPANESE INTERMEDIATE CODE: A01

Effective date: 20061120

A61 First payment of annual fees (during grant procedure)

Free format text: JAPANESE INTERMEDIATE CODE: A61

Effective date: 20061208

R150 Certificate of patent or registration of utility model

Free format text: JAPANESE INTERMEDIATE CODE: R150

LAPS Cancellation because of no payment of annual fees