JP3874609B2 - めっき方法 - Google Patents
めっき方法 Download PDFInfo
- Publication number
- JP3874609B2 JP3874609B2 JP2000403876A JP2000403876A JP3874609B2 JP 3874609 B2 JP3874609 B2 JP 3874609B2 JP 2000403876 A JP2000403876 A JP 2000403876A JP 2000403876 A JP2000403876 A JP 2000403876A JP 3874609 B2 JP3874609 B2 JP 3874609B2
- Authority
- JP
- Japan
- Prior art keywords
- substrate
- plating
- plating solution
- anode
- tank
- Prior art date
- Legal status (The legal status is an assumption and is not a legal conclusion. Google has not performed a legal analysis and makes no representation as to the accuracy of the status listed.)
- Expired - Lifetime
Links
- 238000007747 plating Methods 0.000 title claims description 351
- 238000000034 method Methods 0.000 title claims description 23
- 239000000758 substrate Substances 0.000 claims description 282
- 239000000654 additive Substances 0.000 claims description 24
- 230000000996 additive effect Effects 0.000 claims description 21
- 239000000243 solution Substances 0.000 description 181
- 239000007788 liquid Substances 0.000 description 37
- 238000004140 cleaning Methods 0.000 description 31
- 238000012546 transfer Methods 0.000 description 26
- 230000032258 transport Effects 0.000 description 24
- RYGMFSIKBFXOCR-UHFFFAOYSA-N Copper Chemical compound [Cu] RYGMFSIKBFXOCR-UHFFFAOYSA-N 0.000 description 23
- 229910052802 copper Inorganic materials 0.000 description 23
- 239000010949 copper Substances 0.000 description 23
- 239000000126 substance Substances 0.000 description 20
- 239000003566 sealing material Substances 0.000 description 19
- 230000008569 process Effects 0.000 description 18
- 230000002093 peripheral effect Effects 0.000 description 16
- 238000012545 processing Methods 0.000 description 15
- 238000001035 drying Methods 0.000 description 12
- 239000011148 porous material Substances 0.000 description 8
- 239000004065 semiconductor Substances 0.000 description 8
- 238000010586 diagram Methods 0.000 description 7
- XLYOFNOQVPJJNP-UHFFFAOYSA-N water Substances O XLYOFNOQVPJJNP-UHFFFAOYSA-N 0.000 description 6
- 238000009826 distribution Methods 0.000 description 5
- 229910021642 ultra pure water Inorganic materials 0.000 description 5
- 239000012498 ultrapure water Substances 0.000 description 5
- 239000004809 Teflon Substances 0.000 description 4
- 229920006362 Teflon® Polymers 0.000 description 4
- 230000015572 biosynthetic process Effects 0.000 description 4
- 230000000694 effects Effects 0.000 description 4
- 230000007613 environmental effect Effects 0.000 description 4
- 230000007246 mechanism Effects 0.000 description 4
- 239000002184 metal Substances 0.000 description 4
- 229910052751 metal Inorganic materials 0.000 description 4
- UMGDCJDMYOKAJW-UHFFFAOYSA-N thiourea Chemical compound NC(N)=S UMGDCJDMYOKAJW-UHFFFAOYSA-N 0.000 description 4
- 239000000919 ceramic Substances 0.000 description 3
- 230000006835 compression Effects 0.000 description 3
- 238000007906 compression Methods 0.000 description 3
- 229910000365 copper sulfate Inorganic materials 0.000 description 3
- ARUVKPQLZAKDPS-UHFFFAOYSA-L copper(II) sulfate Chemical compound [Cu+2].[O-][S+2]([O-])([O-])[O-] ARUVKPQLZAKDPS-UHFFFAOYSA-L 0.000 description 3
- 238000000151 deposition Methods 0.000 description 3
- 230000008021 deposition Effects 0.000 description 3
- 238000001514 detection method Methods 0.000 description 3
- 238000009713 electroplating Methods 0.000 description 3
- BHEPBYXIRTUNPN-UHFFFAOYSA-N hydridophosphorus(.) (triplet) Chemical compound [PH] BHEPBYXIRTUNPN-UHFFFAOYSA-N 0.000 description 3
- 239000000463 material Substances 0.000 description 3
- 239000002245 particle Substances 0.000 description 3
- 238000005192 partition Methods 0.000 description 3
- 238000007781 pre-processing Methods 0.000 description 3
- KRHYYFGTRYWZRS-UHFFFAOYSA-N Fluorane Chemical compound F KRHYYFGTRYWZRS-UHFFFAOYSA-N 0.000 description 2
- MHAJPDPJQMAIIY-UHFFFAOYSA-N Hydrogen peroxide Chemical compound OO MHAJPDPJQMAIIY-UHFFFAOYSA-N 0.000 description 2
- QAOWNCQODCNURD-UHFFFAOYSA-N Sulfuric acid Chemical compound OS(O)(=O)=O QAOWNCQODCNURD-UHFFFAOYSA-N 0.000 description 2
- XSQUKJJJFZCRTK-UHFFFAOYSA-N Urea Natural products NC(N)=O XSQUKJJJFZCRTK-UHFFFAOYSA-N 0.000 description 2
- 230000009471 action Effects 0.000 description 2
- 230000008859 change Effects 0.000 description 2
- 238000011109 contamination Methods 0.000 description 2
- 230000006837 decompression Effects 0.000 description 2
- 239000008367 deionised water Substances 0.000 description 2
- 229910021641 deionized water Inorganic materials 0.000 description 2
- 238000004070 electrodeposition Methods 0.000 description 2
- 239000012212 insulator Substances 0.000 description 2
- 238000004519 manufacturing process Methods 0.000 description 2
- 229910017464 nitrogen compound Inorganic materials 0.000 description 2
- 150000002830 nitrogen compounds Chemical class 0.000 description 2
- 238000006864 oxidative decomposition reaction Methods 0.000 description 2
- 229920000642 polymer Polymers 0.000 description 2
- 238000001556 precipitation Methods 0.000 description 2
- 230000002265 prevention Effects 0.000 description 2
- 238000007789 sealing Methods 0.000 description 2
- 238000013022 venting Methods 0.000 description 2
- 239000002699 waste material Substances 0.000 description 2
- OAICVXFJPJFONN-UHFFFAOYSA-N Phosphorus Chemical compound [P] OAICVXFJPJFONN-UHFFFAOYSA-N 0.000 description 1
- 239000002202 Polyethylene glycol Substances 0.000 description 1
- 239000004721 Polyphenylene oxide Substances 0.000 description 1
- 239000004372 Polyvinyl alcohol Substances 0.000 description 1
- NINIDFKCEFEMDL-UHFFFAOYSA-N Sulfur Chemical compound [S] NINIDFKCEFEMDL-UHFFFAOYSA-N 0.000 description 1
- ATJFFYVFTNAWJD-UHFFFAOYSA-N Tin Chemical compound [Sn] ATJFFYVFTNAWJD-UHFFFAOYSA-N 0.000 description 1
- BZHJMEDXRYGGRV-UHFFFAOYSA-N Vinyl chloride Chemical compound ClC=C BZHJMEDXRYGGRV-UHFFFAOYSA-N 0.000 description 1
- NIXOWILDQLNWCW-UHFFFAOYSA-N acrylic acid group Chemical group C(C=C)(=O)O NIXOWILDQLNWCW-UHFFFAOYSA-N 0.000 description 1
- PNEYBMLMFCGWSK-UHFFFAOYSA-N aluminium oxide Inorganic materials [O-2].[O-2].[O-2].[Al+3].[Al+3] PNEYBMLMFCGWSK-UHFFFAOYSA-N 0.000 description 1
- 238000013459 approach Methods 0.000 description 1
- 230000001174 ascending effect Effects 0.000 description 1
- 230000004888 barrier function Effects 0.000 description 1
- 239000000969 carrier Substances 0.000 description 1
- 238000006243 chemical reaction Methods 0.000 description 1
- 210000000078 claw Anatomy 0.000 description 1
- 150000001875 compounds Chemical class 0.000 description 1
- 239000013078 crystal Substances 0.000 description 1
- 238000005520 cutting process Methods 0.000 description 1
- 238000007599 discharging Methods 0.000 description 1
- 238000005530 etching Methods 0.000 description 1
- 238000002474 experimental method Methods 0.000 description 1
- 239000000835 fiber Substances 0.000 description 1
- 238000011049 filling Methods 0.000 description 1
- 239000010419 fine particle Substances 0.000 description 1
- 239000012530 fluid Substances 0.000 description 1
- 239000007789 gas Substances 0.000 description 1
- 238000010348 incorporation Methods 0.000 description 1
- 238000003780 insertion Methods 0.000 description 1
- 230000037431 insertion Effects 0.000 description 1
- 238000001459 lithography Methods 0.000 description 1
- 238000012423 maintenance Methods 0.000 description 1
- 239000008155 medical solution Substances 0.000 description 1
- 229910021645 metal ion Inorganic materials 0.000 description 1
- 239000003595 mist Substances 0.000 description 1
- 239000000203 mixture Substances 0.000 description 1
- 239000004745 nonwoven fabric Substances 0.000 description 1
- 230000000149 penetrating effect Effects 0.000 description 1
- 229910052698 phosphorus Inorganic materials 0.000 description 1
- 239000011574 phosphorus Substances 0.000 description 1
- 239000011295 pitch Substances 0.000 description 1
- 238000005498 polishing Methods 0.000 description 1
- 229920000768 polyamine Polymers 0.000 description 1
- 229920000570 polyether Polymers 0.000 description 1
- 229920001223 polyethylene glycol Polymers 0.000 description 1
- 229920002451 polyvinyl alcohol Polymers 0.000 description 1
- 230000001737 promoting effect Effects 0.000 description 1
- 230000009467 reduction Effects 0.000 description 1
- 239000000523 sample Substances 0.000 description 1
- 239000012488 sample solution Substances 0.000 description 1
- HBMJWWWQQXIZIP-UHFFFAOYSA-N silicon carbide Chemical compound [Si+]#[C-] HBMJWWWQQXIZIP-UHFFFAOYSA-N 0.000 description 1
- 229910010271 silicon carbide Inorganic materials 0.000 description 1
- 238000004544 sputter deposition Methods 0.000 description 1
- 238000003860 storage Methods 0.000 description 1
- 229910052717 sulfur Inorganic materials 0.000 description 1
- 239000011593 sulfur Substances 0.000 description 1
- 150000003464 sulfur compounds Chemical class 0.000 description 1
- 238000005406 washing Methods 0.000 description 1
- 239000002759 woven fabric Substances 0.000 description 1
Images
Landscapes
- Electroplating Methods And Accessories (AREA)
- Electrodes Of Semiconductors (AREA)
Description
【発明の属する技術分野】
本発明は、めっき方法に係り、特に半導体基板に形成された配線用の窪みに銅等の金属を充填するためのめっき方法に関するものである。
【0002】
【従来の技術】
図19(a)乃至図19(c)は、この種の銅配線基板Wの製造例を工程順に示すものである。図19(a)に示すように、半導体素子が形成された半導体基材1上の導電層1aの上にSiO2からなる絶縁膜2が堆積され、リソグラフィ・エッチング技術によりコンタクトホール3と配線用の溝4が形成されている。そして、これらの上にTiN等からなるバリア層5、更にその上に電解めっきの給電層としてスパッタリングやCVD等によりシード層7が形成されている。
【0003】
そして、基板Wの表面に銅めっきを施すことで、図19(b)に示すように、半導体基材1のコンタクトホール3及び溝4内に銅を充填するとともに、絶縁膜2上に銅層6を堆積する。その後、化学的機械的研磨(CMP)により、絶縁膜2上の銅層6を除去して、コンタクトホール3及び配線用の溝4に充填させた銅層6の表面と絶縁膜2の表面とをほぼ同一平面にする。これにより、図19(c)に示すように銅層6からなる配線が形成される。
【0004】
銅層を形成する電解銅めっきにおいては、めっき液として、その組成に硫酸銅と硫酸を含む硫酸銅めっき液が一般に使用されている。近年の微細配線化に伴い、配線溝又はプラグの形状が高アスペクト比となっているが、硫酸銅めっき液を用いた電解銅めっきによって微細配線パターンに銅の埋め込みを行うためには、均一電着性及びレベリング性の高いめっきプロセスを実現する必要がある。このため、めっき液に添加剤と呼ばれる化合物を加えることが一般に行われている。この添加剤は、析出反応の速度を局所的に制御して被めっき面上での金属イオンの析出を全体として平準化する働きをするものである。このような添加剤としては、
▲1▼ めっき面の随所に結晶核を生成させて析出粒子の微細化を促進するキャリアと呼ばれる硫黄化合物、
▲2▼ 銅析出の過電圧を高めて均一電着性を向上させるポリマ、
▲3▼ めっきが成長しやすい凸部に吸着し過電圧を増加させて凸部の析出を遅らせることにより平坦なめっきを可能とするレベラと呼ばれる窒素化合物、
が一般に使用されている。
【0005】
【発明が解決しようとする課題】
めっき液の管理においては、ある一定処理時間毎に所定量のめっき液成分を補給し、それを何回か繰り返したらめっき浴全体を交換するということが一般に行われている。ここで、めっき液に含まれる添加剤は、析出する金属膜内への添加剤の取込、アノードにおける酸化分解などにより、めっき処理の進行に伴って徐々に消耗されるが、添加剤の消耗量が多い場合には、頻繁にめっき浴全体を取り替える必要がある。従って、めっき液の効率的な使用及びそのランニングコストの低減のためには、添加剤の消耗量を抑えることが求められている。
【0006】
特に、近年、さまざまな生産プロセスにおいて、環境負荷をできるかぎり低減することが求められており、高濃度の廃液を発生する可能性の高いめっきプロセスにおいては、特にめっき浴の長寿命化が期待されている。このような観点からも添加剤の消耗量を抑え、めっき液を無駄なく使うことが時代の流れとなっている。
【0007】
また、めっき液に含まれる添加剤は、添加量そのものはごくわずかであるにもかかわらず、その効果はきわめて顕著であり、厳密にその濃度を管理しなければ却って逆効果をもたらすことがある。このような観点からも添加剤の消耗量を低減し、添加剤の濃度を一定に保つことが好ましい。
【0008】
本発明は、このような従来技術の問題点に鑑みてなされたもので、添加剤の消耗量を抑え、効率的にめっき液を使用することでランニングコストと環境負荷の低減を同時に実現することができ、また、高品質のめっき処理を行うことができるめっき方法を提供することを目的とする。
【0009】
【課題を解決するための手段】
このような従来技術における問題点を解決するために、本発明の一態様は、めっき槽に保持されためっき液中にカソードに接続された基板とアノードとを配置し、添加剤を含んだめっき液を上記めっき槽に供給しながら基板のめっきを行うめっき方法において、非めっき処理時に、めっき処理時に供給するめっき液よりも少量のめっき液を上記めっき槽に供給することを特徴とする。
【0010】
これにより、めっき液に含まれる添加剤の消耗量を抑えることができるので、めっき液を効率的に使用して、ランニングコストと環境負荷の低減を同時に実現することができる。また、めっき液に含まれる添加剤の消耗量が少なくなることで、めっき液の含有成分の変化を抑えることができるので、より高品質のめっき処理が可能となる。
【0014】
【発明の実施の形態】
以下、本発明に係るめっき装置の第1の実施形態について図1乃至図15を参照して詳細に説明する。なお、本実施形態のめっき装置は、半導体基板の表面に銅めっきを施して、この半導体基板の表面に銅層からなる配線を形成するめっき装置を例として説明するが、これ以外のめっき装置にも本発明を適用することができる。
【0015】
図1は、本実施形態におけるめっき装置を示す平面図である。
図1に示すように、めっき装置は、矩形状の設備10内に配置されており、半導体基板の銅めっきを連続的に行うように構成されている。この設備10は、仕切壁11によってめっき空間12と清浄空間13に仕切られ、これらの各めっき空間12と清浄空間13は、それぞれ独自に給排気できるようになっている。上記仕切壁11には開閉自在なシャッタ(図示せず)が設けられている。また、清浄空間13の圧力は、大気圧より低く、且つめっき空間12の圧力よりも高くしてあり、これにより、清浄空間13内の空気が設備10の外部に流出することがなく、且つめっき空間12内の空気が清浄空間13内に流入することがないようなっている。
【0016】
上記清浄空間13内には、基板収納用カセットを載置する2つのカセットステージ15と、めっき処理後の基板を純水で洗浄(リンス)し乾燥する2基の洗浄・乾燥装置16が配置されている。また、清浄空間13内には、基板の搬送を行う固定タイプで回転自在な第1搬送装置(4軸ロボット)17が設置されている。この洗浄・乾燥装置16としては、例えば基板の表裏両面に超純水を供給する洗浄液供給ノズルを有し、基板を高速でスピンさせて脱水、乾燥させる形式のものが用いられる。
【0017】
一方、めっき空間12内には、基板のめっきの前処理を行い、前処理後の基板を反転機20で反転させる2基の前処理ユニット21と、基板の表面に該表面を下向きにして銅めっき処理を施す4基のめっき処理ユニット22と、基板を載置保持する2基の第1基板ステージ23a,23bが配置されている。また、めっき空間12内には、基板の搬送を行う自走タイプで回転自在な第2搬送装置(4軸ロボット)24が設置されている。
【0018】
本実施形態においては、めっき後の基板を薬液で洗浄する2基の薬液洗浄装置25が清浄空間13内に配置されており、この薬液洗浄装置25と上記洗浄・乾燥装置16との間に第2基板ステージ26a,26bが配置されている。また、2基の薬液洗浄装置25の間には、基板の搬送を行う固定タイプで回転自在な第3搬送装置(4軸ロボット)27が設置されている。
【0019】
第1搬送装置17は、カセットステージ15に載置されたカセット、洗浄・乾燥装置16及び第2基板ステージ26a,26bの間で基板を搬送し、第2搬送装置24は、第1基板ステージ23a,23b、前処理ユニット21及びめっき処理ユニット22の間で基板を搬送する。また、第3搬送装置27は、第1基板ステージ23a,23b、薬液洗浄装置25及び第2基板ステージ26a,26bの間で基板を搬送する。なお、第1基板ステージ23b及び第2基板ステージ26bは、基板を水洗い可能に構成されており、また、基板を反転させる反転機20を備えている。
【0020】
図2は、設備10内の気流の流れを示す。清浄空間13においては、配管30より新鮮な外部空気が取込まれ、この外部空気は、ファンにより高性能フィルタ31を通して清浄空間13内に押込まれ、天井32aよりダウンフローのクリーンエアとして洗浄・乾燥装置16及び薬液洗浄装置25の周囲に供給される。供給されたクリーンエアの大部分は、床32bから循環配管33を通して天井32a側に戻され、再び高性能フィルタ31を通してファンにより清浄空間13内に押込まれて清浄空間13内を循環する。一部の気流は、洗浄・乾燥装置16及び薬液洗浄装置25内から配管34により外部に排気される。これにより、清浄空間13内は、大気圧より低い圧力に設定される。
【0021】
前処理ユニット21及びめっき処理ユニット22が存在するめっき空間12は、清浄空間ではない(汚染ゾーン)とはいいながらも、基板表面にパーティクルが付着することは許されない。このため、配管35から取込まれ高性能フィルタ36を通して天井37a側からファンによりめっき空間12内に押込まれたダウンフローのクリーンエアを流すことにより、基板にパーティクルが付着することを防止している。しかしながら、ダウンフローを形成するクリーンエアの全流量を外部からの給排気に依存すると、膨大な給排気量が必要となる。このため、めっき空間12内を清浄空間13より低い圧力に保つ程度に配管38より外部排気を行い、ダウンフローの大部分の気流を床37bから延びる循環配管39を通した循環気流でまかなうようにしている。
【0022】
これにより、循環配管39から天井37a側に戻ったエアは、再びファンにより押込まれ高性能フィルタ36を通ってめっき空間12内にクリーンエアとして供給されて循環する。ここで、前処理ユニット21、めっき処理ユニット22、第2搬送装置24及びめっき液調整タンク40からの薬液ミストや気体を含むエアは、上記配管38を通して外部に排出されて、めっき空間12内は、清浄空間13より低い圧力に設定される。
【0023】
ここで、上記前処理ユニット21、第1基板ステージ23b及び第2基板ステージ26bに設けられている反転機20を図3及び図4に示す。図3及び図4に示すように、反転機20は、モータ(図示せず)の駆動に伴って回転するシールケース110と、このシールケース110の内部に収容されたリンク等の機構によって開閉する円弧状の一対のハンド111と、このハンド111に垂設されたスタッド112に回転自在に支承されて基板を把持するチャックコマ113とを備えている。チャックコマ113で形成される平面は、シールケース110の軸心と偏心量eだけオフセットした位置に配置されている。
【0024】
このように構成することで、基板を把持してハンド111を反転させた時に、基板を上記偏心量eの2倍の距離2eだけ上下方向に同時に移動させることができ、これによって、例えば前処理ユニット21の飛散防止カバーに反転機20の駆動部を貫通させるための開口を設ける際に、この開口を前処理ユニット21の基板チャックの位置より上方に設けることが可能となる。
【0025】
ところで、設備10内の第1基板ステージ23aの下方には、調整運転用基板を収納する容器28が設けられている。上記第2搬送装置24は、調整運転用基板をこの容器28から取り出し、調整運転終了後に調整運転用基板を再び容器28に戻すようになっている。このように、調整運転用基板を収容する容器28を設備10の内部に設けることにより、調整運転の際に調整運転用基板を外部から導入することに伴う汚染やスループットの低下を防止することができる。
【0026】
なお、容器28の配置位置は、いずれかの搬送装置で調整運転用基板の取り出し及び収納が可能な位置であれば、設備10内のどの位置でもよいが、第1基板ステージ23aの近傍に配置すれば、調整運転用基板を使用した調整運転を前処理からめっき処理と始め、洗浄し乾燥させた後に容器28内に収容することができる。
【0027】
本実施形態においては、第1搬送装置17として、落し込みタイプの2本のハンドを有し、上側のハンドをドライハンド、下側のハンドをウエットハンドとしたものを使用し、一方、第2搬送装置24及び第3搬送装置27として落し込みタイプの2本のハンドを有し、上下のハンドをウエットハンドとしたものを使用するが、これに限定されるものではない。
【0028】
また、本実施形態においては、例えば希フッ化水素酸や過酸化水素水等の薬液で基板の表面を洗浄する薬液洗浄装置25が設けられている例を説明するが、めっき後の基板を薬液で洗浄する必要がない場合には、薬液洗浄装置25を省略してもよい。この場合において、カセットステージ15に載置されたカセット、洗浄・乾燥装置16及び第1基板ステージ23a,23bの間の基板の搬送を第1搬送装置17により行えば、第3搬送装置27及び第2基板ステージ26a,26bを省略することもできる。
【0029】
次に、本実施形態における基板の流れの概要を説明する。
まず、基板は表面(素子形成面、処理面)を上に向けてカセットに収納され、カセットステージ15上に載置される。そして、第1搬送装置17が基板をカセットから取り出し、第2基板ステージ26a上に移動して、基板を第2基板ステージ26a上に載置する。次に、第3搬送装置27が第2基板ステージ26a上の基板を受け取り、これを第1基板ステージ23aに移す。更に、第2搬送装置24が第1基板ステージ23aから基板を受け取って前処理ユニット21に渡す。前処理ユニット21での前処理終了後、基板の表面が下に向くように反転機20で基板を反転させ、再び第2搬送装置24に渡す。そして、第2搬送装置24は基板をめっき処理ユニット22のヘッド部に渡す。
【0030】
めっき処理ユニット22で基板のめっき処理及び液切りを行った後、基板は第2搬送装置24に渡され、第2搬送装置24はこの基板を第1基板ステージ23bに渡す。基板は、第1基板ステージ23bの反転機20によって、表面が上に向くように反転され、第3搬送装置27によって薬液洗浄装置25に移される。薬液洗浄装置25において薬液洗浄、純水リンス、スピン液切りされた基板は、第3搬送装置27により第2基板ステージ26bへ運ばれる。次に、第1搬送装置17が第2基板ステージ26bから基板を受取り、洗浄・乾燥装置16に基板を移送し、洗浄・乾燥装置16で純水(脱イオン水を含む)によるリンスとスピン乾燥を行う。乾燥された基板は、第1搬送装置17によりカセットステージ15に載置されたカセット内に収納される。
【0031】
次に、設備10内に配置されためっき処理ユニット22についてより詳細に説明する。
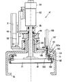
図5は、めっき処理ユニット22の要部を示す図である。図5に示すように、めっき処理ユニット22は、略円筒状で内部にめっき液45を収容するめっき処理槽46と、このめっき処理槽46の内部に配置されて基板を保持するヘッド部47とから主に構成されている。なお、図5は、基板Wを保持したヘッド部47を下降させためっき処理時の状態を示している。
【0032】
図5に示すように、めっき処理槽46には、上方に開放し、例えば含リン銅からなるアノード48を底部に配置しためっき室49と、このめっき室49内にめっき液45を保有するめっき槽50が設けられている。アノード48は、外部の制御部にあるめっき用電源の陽極に接続されている。なお、アノード48を、例えば含有量が0.03〜0.05%のリンを含む銅(含リン銅)で構成するのは、めっきの進行に伴ってアノード48の表面にブラックフィルムと呼ばれる黒膜を形成するためであり、このブラックフィルムによりスライムの生成が抑制される。
【0033】
アノード48は、図5に示すように、アノード保持体52に一体に保持されており、このアノード保持体52は、めっき槽50に対して着脱自在に、即ち把手51を介して引抜き自在に装着されている。また、めっき槽50の表面とアノード保持体52のフランジ部52aの裏面との間には、めっき液の外部への漏洩を防止するシール材200が介装されている。このように、めっき槽50に対して着脱自在に装着したアノード保持体52にアノード48を一体に保持することで、アノード保持体52を介してアノード48のめっき槽50との着脱を容易に行って、このメンテナンスや交換等の便を図ることができる。
【0034】
図6は、図5のめっき処理槽46の平面図である。図5及び図6に示すように、めっき槽50の内周壁には、めっき室49の中心に向かって水平に突出するめっき液噴出ノズル(めっき液供給手段)53が円周方向に沿って等間隔で配置されており、このめっき液噴出ノズル53は、めっき槽50の内部を上下に延びるめっき液供給路54に連通している。本実施形態においては、めっき槽50の周壁内部に、図6に示すように、円周方向に沿って4個に分割された円弧状のめっき液溜め202が設けられている。各めっき液溜め202の長手方向の両端には、それぞれ2個のめっき液噴出ノズル53が設けられており、各めっき液溜め202はその長手方向の中央位置で上記めっき液供給路54に連通している。
【0035】
また、めっき槽50には、めっき室49内のめっき液45を該めっき室49の底部周縁から引抜く第1めっき液排出口57と、めっき槽50の上端部に設けた堰部材58をオーバーフローしためっき液45を排出する第2めっき液排出口59が設けられている。第1めっき液排出口57は、例えばφ16〜20mm程度の大きさの円形の形状をしており、円周方向に沿って等ピッチで複数個(図6では16個)設けられている。また、第2めっき液排出口59は、例えば中心角が約25°の円弧状に延びる形状をしており、図6では3個設けられている。
【0036】
図7は、本実施形態のめっき装置におけるめっき液の流れの状態を示すめっき液フロー図である。めっき液供給路54とめっき液調整タンク40とはめっき液供給管55で接続され、このめっき液供給管55の途中に、二次側の圧力を調整する制御弁56が介装されている。この制御弁56を介してめっき液溜め202に所定流量のめっき液が供給され、めっき液供給手段としてのめっき液噴出ノズル53からめっき室49の内部に所定流量のめっき液が噴出される。
【0037】
また、第1めっき液排出口57は、めっき液排出管60aを介してリザーバ226に接続されており、このめっき液排出管60aの途中に流量調整器61aが介装されている。一方、第2めっき液排出口59は、めっき液排出管60bを介してリザーバ226に接続され、この途中に流量調整器61b(図7においては図示せず)が介装されている。この流量調節器61bは省略することもできる。
【0038】
めっき液噴出ノズル53から噴出されためっき液45は、第1めっき液排出口57と第2めっき液排出口59の双方または一方からリザーバ226に排出されて、めっき室49内の液量は所定量に保たれるようになっている。リザーバ226に入っためっき液は、リザーバ226からポンプ228によりめっき液調整タンク40に入り、このめっき液調整タンク40でめっき液の温度調整、各種成分の濃度計測と調整が行われる。その後、ポンプ234の駆動に伴って、めっき液調整タンク40からフィルタ236を通してめっき液が各めっき処理ユニット22のめっき液噴出ノズル53に供給される。なお、めっき液調整タンク40には、温度コントローラ230や、サンプル液を取り出して分析するめっき液分析ユニット232が付設されている。
【0039】
図6に示すように、めっき室49の底部付近の高さ方向に沿った所定位置には、水平方向に延びる横穴204が設けられ、側壁には、先端部(下端)が横穴204に達してめっき液45の液面が該横穴204の形成位置より下がったことを検知する液面検知センサ206が設けられている。この液面検知センサ206は、例えば、先端部をテフロンにより形成し、この先端部が空気中にある時にはテフロンと空気の屈折率の差が大きくなって、光が全反射して元の方向(受光部)に戻り、先端部が液中にある時にはテフロンと液体の屈折率の差が小さくなって、光が殆ど液中に放射されて元の方向(受光部)へ戻らなくなる特性を利用して液体の有無を検出するものである。これによって、めっき液45が最低液面より上にあるか否かを常時監視して、めっき液45が最低液面よりも下になった場合にめっき液排出管60aの途中の流量調整器61aを絞ること等でこれに対処するようにしている。
【0040】
ところで、めっき室49の内周面近傍には、めっき室49内のめっき液45の水平方向に沿って外方に向かう流れを堰き止める鉛直整流リング62と、めっき槽50に外周端を固着した水平整流リング63とが設けられている。鉛直整流リング62は水平整流リング63の内周端に連結されている。
【0041】
めっき液噴出ノズル53からめっき室49の中心部に向かって水平に噴出されためっき液は、めっき室49の中央部でぶつかり、上下に分かれた流れとなる。そして、この上方への流れは、基板がない時には鉛直整流リング62の内側でめっき液45の液面の中央部を上方に押上げ、基板が降下して接液する場合に基板の中央部から接液し気泡を外部へ押し流す働きをする。一方、下方への流れはアノード48の中央から外周への水平方向の流れへと変化し、アノード48の表面に形成されたブラックフィルムの剥離微粒子を押し流して、アノード48の外周から水平整流リング63の下方を通過して第1めっき液排出口57へ流れて、ブラックフィルムの剥離片が基板の処理面に接近付着することを低減できるようになっている。
【0042】
ここで、電解めっきにあっては、めっき液中における電流密度がめっき膜の膜厚を支配し、膜厚を均一にするためには、めっき液中の電流密度分布をより均一にする必要がある。本実施形態にあっては、下記のように、基板の周辺部に電気的接点があるので、この基板の周辺部に位置するめっき液の電流密度が高くなる傾向があるが、この近傍に鉛直方向に延びる鉛直整流リング62を、該鉛直整流リング62の下部に水平方向外方に延びる水平整流リング63をそれぞれ配置して電流を遮断することで、電流の回り込みを少なくして、局部的な電流の集中を少なくすることができ、これによって、めっき液中の電流密度分布をより均一にして、基板の周縁部におけるめっき膜の膜厚が厚くなるのを防止することができる。なお、本実施形態では、鉛直整流リングと水平整流リングで電流を遮断して電流の回り込みを少なくするようにした例を示しているが、これに限定されるものではない。
【0043】
図8は、めっき処理ユニット22のヘッド部47の部分拡大図である。図5及び図8に示すように、めっき処理ユニット22のヘッド部47は、回転自在な中空円筒状のハウジング70と、下面に基板Wを保持してハウジング70と一体に回転する円板状の基板テーブル71とを備えている。ハウジング70の下端には、内方に突出するリング状の基板保持部72が設けられており、この基板保持部72内周面の一部には、基板Wの案内となるテーパ面が形成されている。この基板保持部72と基板押えである基板テーブル71とにより基板Wの周縁部が挟持され、基板Wが保持される。なお、ハウジング70の円筒面の両側には、基板W及びロボットハンドをハウジングの内部に挿入又は取り出すための開口96が設けられている。
【0044】
また、図8に示すように、基板保持部72には、内方に延出するリング状の下部シール材73が取付けられている。この下部シール材73の上面の先端は上方に尖塔状に突出している。一方、基板テーブル71の下面の周縁部には上部シール材74が取付けられており、この上部シール74の一部は尖塔状に基板テーブル71の下面から下方に突出している。このような構成により、基板Wを保持した際に、基板Wの下面と下部シール材73が、基板Wの上面と上部シール材74がそれぞれ圧接して、これらの接触部分を確実にシールするようになっている。
【0045】
また、基板保持部72には、水平方向に外方に延び、更に外方に向けて上方に傾斜して延びる空気抜き穴75が円周方向に沿って等間隔に80個設けられている。この空気抜き穴75は、ヘッド部47がめっき位置にある場合に、外周開口端の約半分がめっき室49内のめっき液45の液面から外部に露出する位置に設けられている。これにより、上述しためっき室49内のめっき液45の上方への流れが、基板Wと接液して基板Wの中央部から気泡を外部へ押し流す働きをした際に、この流れに乗った気泡が、この空気抜き穴75から順次外方に排出されて、基板Wとめっき液45との間に気泡が残らないようなっている。
【0046】
なお、空気抜き穴75の傾斜角θは、例えば30°に設定されており、この空気抜き穴75は、外方に向け20°以上上方に傾斜させることが好ましく、30°程度が特に好ましい。また、空気の抜けを考慮した場合、空気抜き穴75の直径は、2mm以上5mm以下で、3mm程度が好ましい。また、空気抜き穴を途中で2つに分岐させ、その一方を液面付近で開口させ、他方を液面より完全に上方の位置で開口させることとしてもよい。更に、空気抜き穴を直線状にしたり、外方に沿って途中から2方向に分岐させたりなど、任意の形状に形成することができる。基板Wを保持した時の該基板Wの下面と、空気抜き穴75の上端との間隔Sが1.5mm程度以下の時に、短時間で空気抜きを行えることが確かめられている。
【0047】
図8に示すように、ハウジング70の基板保持部72には、基板Wを保持した時に基板Wと通電する板ばね状のカソード電極用接点76が配置され、上記基板テーブル71の外方には、該基板テーブル71が下降した時に上記カソード電極用接点76に給電する給電接点(プローブ)77が下方に向けて垂設されている。基板Wと基板保持部72の下部シール材73によるシールによって、カソード電極用接点76及び給電接点77のめっき液45への接触が防止されている。
【0048】
本実施形態では、図9に示すように、円周方向に6つに分割されたカソード電極板208が備えられ、この各カソード電極板208に内方に延びる各15個のカソード電極用接点76が設けられている。そして、この各カソード電極板208に各給電接点77から個別に給電されるようになっており、これによって、電圧分布をより均一とすることができる。
【0049】
図10はヘッド部47の平面図、図11はヘッド部47の正面図である。ヘッド部47は、固定フレーム80に固着したレール81に沿って、例えばボールねじを介して上下移動するスライダ82に取付けられたベース83を有し、このベース83に上記ハウジング70が回転自在に支承されている。一方、上記基板テーブル71は、上記ハウジング70の軸部の内部を同心状に貫通して延びるテーブル軸84の下端に連結されている。このテーブル軸84は、スプライン部85を介して、回転不能、即ちハウジング70とテーブル軸84とが一体となって回転し、相対的に上下動するように構成されている。
【0050】
上記ベース83には、サーボモータ86が取付けられ、このサーボモータ86の駆動プーリ87と上記ハウジング70の軸部に固着された従動プーリ88との間にタイミングベルト89が掛け渡されている。これにより、サーボモータ86の回転駆動に伴って、図12に実線で示す部材、即ちハウジング70、テーブル軸84及び基板テーブル71が基板Wを保持した状態で一体となって回転するようになっている。
【0051】
上記ベース83には、ブラケット90が垂直に取付けられ、このブラケット90にエア駆動のアクチュエータ91が取付けられている。一方、上記テーブル軸84の上側にはコネクタ95が連結され、このコネクタ95と上記アクチュエータ91とアクチュエータスライダ93とは上下に相対運動をする。これにより、図13に実線で示す部材(ただし、アクチュエータを除く)、即ちテーブル軸84及び基板テーブル71等が上下動するようになっている。
【0052】
なお、高速回転によるロータリジョイント94の消耗を予防するため、通電が不要な液切りのための高速回転時にはロータリジョイント94をコネクタ92から切り離すためにアクチュエータ97とアクチュエータスライダ98が備えられている。また、基板テーブル71に設けられた給電接点77は、テーブル軸84の中を通り、ロータリジョイント94を介してめっき用電源の陰極に接続されている。
【0053】
上記基板テーブル71の外周部には、基板Wを基板テーブル71の下面に保持するためのチャック機構100が、この例では円周方向に3箇所に設けられている。このチャック機構100は、ベルクランク状のフック101を有している。このフック101は、図14及び図15に示すように、ほぼ中央をピン102を介して回転自在に支承され、このピン102の上方の内方に延びるレバー部101aと基板テーブル71の上面との間に圧縮コイルばね103が介装されて、閉じる方向に付勢されている。これにより、通常は、このコイルばね103の付勢力で、フック101の下端に設けた爪104が基板Wの下方に入り込んで、基板Wを保持するようになっている。
【0054】
一方、図14に示すように、上記フック101のレバー部101aの上方位置には、エアシリンダ105の作動に伴って上下動するプッシャ106が上記ベース83に取付けられて配置されている。これによって、基板テーブル71が上昇した時に、プッシャ106を下降させ、上記フック101を圧縮コイルばね103の付勢力に抗して開く方向に回転させることで、基板Wの保持を解くように構成されている。なお、ハウジング70のプッシャ106に対向する位置には、このプッシャ106の上下動を阻害しないように開口107が設けられている。
【0055】
ここで、フック101は基板テーブル71が上部に位置している時に基板Wを基板テーブル71の下面に保持するためのものであり、基板テーブル71が下降して、基板テーブル71の上部シール材74とハウジング70の下部シール材73で基板を挟持して保持している時には、フック101が基板テーブル71に当接することで基板Wより離れるため、基板Wの間に微小な隙間を生じ、基板Wはフック101によっては保持されないように調整されている。
【0056】
次に、このように構成されためっき装置による一連のめっき処理を詳細に説明する。
基板は表面(素子形成面、処理面)を上に向けカセットに収納されて設備10内のカセットステージ15に載置される。すると、第1搬送装置17がそのハンドをカセット内に挿入し、落し込みタイプのハンドにより基板の表面を保持して1枚の基板をカセットから取り出し、回転して第2基板ステージ26a上に基板を載置する。次に、第3搬送装置27が第2基板ステージ26aにある基板をその落し込みタイプのハンドにより下から保持して回転して、基板を第1基板ステージ23a上に載置する。
【0057】
第2搬送装置24は、第1基板ステージ23aの近くまで自走し、この上の基板を落し込みタイプのハンドで下から保持して、前処理ユニット21の方に回転し、前処理ユニット21の飛散防止カバーに設けた基板出入れ用のスリットを通して、基板を前処理ユニット21の基板チャックに渡す。
【0058】
前処理ユニット21の基板チャックは、フィンガを開いて基板をフィンガの間に位置させ、フィンガを閉じることによって基板を保持する。次に、反転機20のハンド111の移動の邪魔にならない位置に待機していた前処理液ノズルを基板の中央付近の上部に回転移動させ、基板を保持した基板チャックを、中速(例えば、300min−1程度)で回転させながら、基板上部の前処理液ノズルから前処理液を流し、液が速やかに基板全面に広がった段階で回転速度を上昇させて、基板上の余分の前処理液を遠心力で液切りする。
【0059】
基板の液切りが終了し、基板チャックを停止させた後、反転機20のハンド111を下降させ、そのハンド111によって基板を掴み、前処理ユニット21の基板チャックのフィンガを開いて基板を反転機20に渡す。反転機20は反転しても反転機20のハンド111が基板チャックに当たらない位置まで上昇し、水平な反転軸を中心に180度回転させて基板の表面を下に向ける。反転機20は基板を第2搬送装置24に渡せる位置まで下降し、停止する。
【0060】
なお、反転機20のハンド111は、第3搬送装置27から基板を受け取る時、及び前処理後に基板チャックから基板を受け取る時には、反転軸の下側にあるが、ハンド111を反転軸を中心に反転させて基板を第2搬送装置24に渡す時には、反転軸の上側に位置している。
【0061】
第2搬送装置24は、落込みタイプのハンドを飛散防止カバーのスリットからその内部に挿入して、反転機20のハンド111に保持された基板のすぐ下側の基板の外周エッジ部分のみがハンドに接するようにハンドを配置し、反転機20のハンド111が基板を開放して、基板表面を下にして基板を保持する。第2搬送装置24は、基板を前処理ユニット21から取り出し、一つの所定のめっき処理ユニット22の前まで自走する。
【0062】
めっき処理ユニット22のハウジング70及び基板テーブル71は、ベース83の上昇によって基板着脱位置まで上昇し、基板テーブル71は更にアクチュエータ91によってハウジング70の上端まで持ち上げられており、エアシリンダ105を作動させてプッシャ106を押下げ、基板テーブル71の外周の3筒所のフック101を開放させる。
【0063】
第2搬送装置24は、ハンドと基板をハウジング70の開口96からこの内部に挿入し、基板テーブル71の直下近傍位置までハンドを持ち上げる。この状態でプッシャ106を上昇させて、フック101のレバー部101aと基板テーブル71の上面との間にある圧縮コイルばね103の付勢力でフック101を閉じ基板を保持する。基板がフック101によって保持された後、第2搬送装置24のハンドを少し下降させて、ハウジング70の開口96から引き出す。
【0064】
次に、アクチュエータ91により基板テーブル71を下降させて、基板をハウジング70の基板保持部72の内側のテーパ状の部分でセンタリングして、基板保持部72の下部シール材73上に載置し、更に基板を基板テーブル71の外周付近の上部シール材74に押付けてめっき液が電極接点側に入り込まないようにシールする。同時に、基板テーブル71を下降させて、カソード電極用接点76に給電接点77を圧接させることで、確実な接触を得る。
【0065】
ここで、フック101は、極小な隙間を持って基板をフック101上に載せる形で保持しており、基板テーブル71がハウジング70から上昇している場合には、上部シール材74によりガタのない程度に保持されているが、基板テーブル71が下降して下部シール材73と上部シール材74でシールした状態では、上部シール材74が凹むことにより基板が安定して保持され、フック101は基板テーブル71により停止されて基板Wから僅かに離れた状態にあって、基板を保持しないようになる。従って、基板は3箇所のフック101の影響を受けずに下部シール材73と上部シール材74により均等に保持される。
【0066】
この状態で、めっき処理槽46のめっき液噴出ノズル53からめっき液を噴出すると、液面の中央部が盛り上がった形状になる。同時に、サーボモータ86を回転させてハウジング70と基板Wと基板テーブル71を中速度(例えば、150min−1)で回転させながら、ボールねじ等を介してベース83を下降させる。この回転速度は、下記の空気抜きを考慮すると、100〜250min−1程度が好ましい。すると、基板の中央がめっき液45の液面に接触した後、盛り上がった液面との接触面積が次第に増加し、周囲まで液が充たされるようになる。基板の下面の周囲は、下部シール材73が基板面から突出しているため、エアが残りやすいが、ハウジング70の回転により気泡を含んだめっき液を空気抜き穴75から外部に押し流すことにより、基板下面の気泡を除去する。これにより、基板表面の気泡を完全に除去し、均一な処理を可能にする。基板にめっきを施す所定位置は、基板がめっき室49内のめっき液45に浸漬され、且つハウジング70の開口96からめっき液が浸入しない位置に設定されている。
【0067】
基板が所定の位置まで下降した時、ハウジング70を中速度で数秒間回転させて空気抜きを行った後、この回転速度を低速回転(例えば、100min−1)に低下させ、アノード48を陽極、基板処理面を陰極としためっき電流を流して電解めっきを行う。この回転速度は、例えば0〜225min−1の範囲である。めっき処理の間は、めっき液をめっき液噴出ノズル53から所定の流量で継続して供給し、第1めっき液排出口57及び第2めっき液排出口59から排出させ、めっき液調整タンク40を通して循環させる。めっき膜厚は電流密度と通電時間によって定まるので、希望する析出量に応じた通電時間(めっき時間)を設定する。
【0068】
このめっき時間は、例えば120〜150秒であり、例えば1A程度の電流で40秒程度のめっき処理を行い、その後、例えば7.4A程度の電流でめっき処理を行うことで、均一でむらのないめっき膜を得ることができる。
【0069】
本実施形態において使用するめっき液には、例えばキャリアとしてチオ尿素やアクリルチオ尿素などの硫黄を含有する成分が、ポリマとしてポリエーテルやポリエチレングリコール及びそれらの誘導体等から構成される成分が、レベラとしてポリアミンのような正電荷をもった窒素化合物などが添加剤として含有されている。このような添加剤をめっき液に含めることで、均一電着性及びレベリング性の高いめっきを実現している。
【0070】
ここで、めっき時においては、めっき液を5〜301/min程度の流量で供給し、めっき処理を行っていない非めっき時においては、1〜151/min程度の流量で上記めっき液噴出ノズル53から供給する。即ち、非めっき時のめっき液の供給量をめっき時のめっき液の供給量よりも少なくしている。基板のめっきを行う過程で、基板とアノードで構成されるめっき空間のめっき液に含まれる添加剤は、析出する金属膜内への添加剤の取り込み、アノードにおける酸化分解などにより、めっき処理の進行に伴って徐々に消耗されるが、このように非めっき時のめっき液の供給量をめっき時のめっき液の供給量よりも少なくすることで、めっき液に含まれる添加剤の消耗量を少なくすることができる。めっき液の供給量を、めっき時において151/min、非めっき時において51/minとして実験を行ったところ、めっき時及び非めっき時の双方においてめっき液の供給量を151/minとした場合の消耗量の65%にまで添加剤の消耗量を低減することができた。
【0071】
通電を終了した後、ベース83を上昇させて、ハウジング70、基板W及び基板テーブル71をめっき室49内のめっき液45の液面より上の位置で、処理槽カバーの上端より下の位置にまで持ち上げ、高速(例えば、500〜800min−1)で回転させてめっき液を遠心力により液切りする。液切りが終了した後、ハウジング70の回転を所定の方向に向くように停止させ、ベース83を上昇させて、ハウジング70を基板の着脱位置まで上昇させる。ハウジング70が基板着脱位置まで上昇した後、アクチュエータ91によって基板テーブル71を更に基板着脱位置まで上昇させる。
【0072】
次に、第2搬送装置24のハンドをハウジング70の開口96からこの内部に挿入し、基板を受け取る位置まで上昇させる。そして、プッシャ106を下降させフック101のレバー部101aを押してフック101を開放させ、フック101によって保持されていた基板をハンドの落し込みハンドに落し込む。この状態で、ハンドを若干下降させて、ハウジング70の開口からハンドとそれに保持した基板を取り出す。基板はハンドによる取付けの時と同様に、基板の表面を下に向けて、基板のエッジ部のみがハンドに接触するように保持される。
【0073】
第2搬送装置24に保持された基板は、基板の表面に下に向けたまま第1基板ステージ23bの反転機20に渡される。反転機20は2本のハンド111で基板外周を掴み、基板の表裏両面に超純水を供給してリンスを行う。そして、水平な反転軸の回りに基板を180度回転させてこの表面を上に向ける。次に、第3搬送装置27が第1基板ステージ23bの反転機20に載置された基板をハンドで保持し、薬液洗浄装置25に移送する。
【0074】
薬液洗浄装置25では、6本のフィンガで基板を保持し、その表面を上に向けて回転させ、基板の表面、エッジ、裏面をそれぞれケミカル洗浄液により洗浄する。薬液洗浄が終了すると、超純水によりリンスを行った後、フィンガに保持された基板を高速で回転させ、基板の液切りを行う。
【0075】
液切りが終了すると、第3搬送装置27のハンドによって基板を表面を上に向けて取り出し、第2基板ステージ26bに載置する。第2基板ステージ26bにおいて、更に超純水により基板をリンスする。
【0076】
次に、第1搬送装置17がハンドにより第2基板ステージ26bに保持された基板を受け取り、洗浄・乾燥装置16に基板を渡す。洗浄・乾燥装置16は超純水(脱イオン水を含む)によって基板の表面、裏面を洗浄し、高速回転により液切り乾燥させる。そして、第1搬送装置17のハンドにより基板を表面を上に向けて保持し、カセットステージ15のカセットの所定の位置に基板を収納する。
【0077】
次に、本発明に係るめっき装置の第2の実施形態について図16を参照して詳細に説明する。なお、上述の第1の実施形態における部材又は要素と同一の作用又は機能を有する部材又は要素には同一の符号を付し、特に説明しない部分については第1の実施形態と同様である。
【0078】
図16は、本実施形態におけるめっき処理ユニットを模式的に示す図である。
図16に示すように、本実施形態におけるめっき処理ユニット300は、上方に開口し内部にめっき液45を保持する円筒状のめっき槽302と、半導体ウエハ等の基板Wを着脱自在に下向きに保持する基板テーブル304を有する上下動可能なヘッド部306とを備えている。めっき槽302の上方は密閉カバー308で覆われており、これによってめっき液45の上方に密閉空間310が形成されている。この密閉空間310は密閉カバー308に取付けられた排気経路312を介して減圧手段としての真空ポンプ314に接続されており、該真空ポンプ314の駆動によって上記密閉空間310内を減圧することが可能となっている。
【0079】
めっき槽302の内部に保持されためっき液45中には、水平に配置された平板状のアノード体320が浸漬されている。アノード体320は、例えば含リン銅からなるアノード322と、このアノード322の周囲を覆う高抵抗要素324とから構成されている。また、めっき槽302の外壁面には、例えば超音波振動を行う振動装置316が取付けられており、この振動装置316はアノード体320と略同一高さの位置に配置されている。基板Wの下面(めっき面)には導電層が形成されており、この導電層はその周縁部にカソード電極との接点を有している。
【0080】
電解めっきにおいては、めっき液中のアノード(陽極電極)と基板の導電層(陰極電極)との間に所定の電圧を印加することにより、基板の導電層の表面にめっき膜を形成している。基板の導電層にも電気抵抗があるが、基板のカソード電極接点から離れた位置では、この導電層の電気抵抗によりその位置を流れる電流が小さくなるので、この位置におけるめっき膜の成長速度が相対的に低下してしまう。特に導電層の膜厚が薄い場合には、導電層の電気抵抗が更に大きくなるため、このような現象が顕著に現れ、基板の全面に亘って均一なめっき膜を形成することができない。
【0081】
そこで、本実施形態においては、導電層の電気抵抗が無視できる程度に電気的抵抗を大きくした高抵抗要素324でアノード322を覆うことにより、基板Wの導電層の電気抵抗による影響を抑えている。これによって、基板W内の電流密度の差を小さくすることができ、基板Wの全面に亘ってめっき膜を均一に形成することができる。本実施形態においては、例えば気孔率30%、平均ポア径100μmのアルミナ製の多孔質セラミックスの内部にめっき液を含有させることにより上記高抵抗要素324が構成されている。このような多孔質セラミックス自体は絶縁体であるが、この内部にめっき液45を複雑に入り込ませ、高抵抗要素324の内部におけるめっき液45の経路を厚さ方向にかなり長くすることにより、高抵抗要素324の電気伝導率をめっき液45の電気伝導率より小さくしている。なお、これに限らず、炭化シリコンセラミックス、塩化ビニルを繊維状に束ね、これを互いに溶着させたもの、あるいは、ポリビニルアルコールなどの発泡体やテフロン(商標名)などの繊維を織布や不織布の様態に成形したものなどを用いて高抵抗要素324を構成することもできる。また、高抵抗要素324の気孔率、ポア径、気孔の屈曲率等は目的に応じて適宜選択することができる。
【0082】
めっき槽302の底部中央には、上方に向けためっき液45の噴流を形成するためのめっき液供給手段としてのめっき液噴出管330が設けられている。このめっき液噴出管330はめっき液供給管55を介してめっき液調整タンク40に接続されており、このめっき液供給管55の途中に、二次側の圧力を調整する制御弁56が介装されている。この制御弁56を介してめっき液噴出管330からめっき槽302の内部に所定流量のめっき液45が噴出される。また、めっき槽302の上部外側には、めっき液受け332が配置されており、このめっき液受け332はめっき液戻り管334を介してめっき液調整タンク40に接続されている。めっき液戻り管334の途中にはバルブ336が介装されている。
【0083】
めっき液噴出管330から噴出され、めっき槽302をオーバーフローしためっき液45は、めっき液受け332で回収され、めっき液戻り管334を介してめっき液調整タンク40に流入する。めっき液調整タンク40において、めっき液45の温度調整、各種成分の濃度計測と調整が行われた後、ポンプ234の駆動に伴って、めっき液調整タンク40からフィルタ236を通してめっき液45がめっきめっき液噴出管330に供給される。
【0084】
ところで、上述のように、アノード322を高抵抗要素324で覆ったアノード体320を使用した場合、高抵抗要素324の気孔の内部に気泡が入り込む場合がある。このような気泡は絶縁体として作用し、めっき処理時の電流分布を乱す原因となる。これを防止するため、本実施形態においては、めっき処理ユニット300でめっき処理を行うのに先立って、めっき液噴出管330からめっき液45をアノード体320に噴射しつつ、減圧手段としての真空ポンプ314を駆動して上記密閉空間310を減圧している。この減圧の際には、上記めっき液戻り管334に設置されたバルブ336を閉めておく。このように、めっき液噴出管330からめっき液45をアノード体320に噴射することで、高抵抗要素324の気孔の内部に入り込んだ気泡を高抵抗要素324から外部に追い出すことができる。また、上記密閉空間310を減圧することで高抵抗要素324から気泡が出るのを促進することができる。更に、上記振動装置316によってアノード体320に振動を与えることとすると、この促進効果を更に高めることができる。
【0085】
このように、アノード体320の高抵抗要素324から気泡を追い出した後、基板テーブル304に保持された基板Wのめっき処理を行う。このめっき処理においては、まず、ヘッド部306を下降させ、基板テーブル304に保持された基板Wをめっき液45内の所定の位置まで下降させる。そして、アノード体320のアノード322と基板Wの導電層との間に所定の電圧を印加しつつ、めっき液45をめっき槽302の底部のめっき液噴出管330から上方に噴出し、基板Wの下面(めっき面)にめっき液45の噴流を当てる。これにより基板Wの下面にめっき膜が形成される。ここで、本実施形態においても、上述の第1の実施形態と同様に、非めっき時のめっき液の供給量をめっき時のめっき液の供給量よりも少なくしており、これにより、めっき液45に含まれる添加剤の消耗量を低減している。
【0086】
本実施形態では、めっき液噴出管330からアノード体320にめっき液45を噴射し、高抵抗要素324の気孔の内部の気泡を追い出すこととしたが、例えば、図17に示すように、めっき液噴出管330とは別に、めっき液噴出管338をアノード体320、特に高抵抗要素324に接続し、めっき処理に先立ってこのめっき液噴出管338からアノード体320にめっき液を供給することとしてもよい。このように直接高抵抗要素324にめっき液を供給することとすれば、より効果的に気泡を高抵抗要素324から追い出すことができる。また、図18に示すように、複数の高抵抗要素324がめっき液45内に配置されているような場合においても、本発明を適用できることは言うまでもない。
【0087】
これまで本発明の一実施形態について説明したが、本発明は上述の実施形態に限定されず、その技術的思想の範囲内において種々異なる形態にて実施されてよいものであることは言うまでもない。
【0088】
【発明の効果】
上述したように本発明によれば、めっき液に含まれる添加剤の消耗量を抑えることができるので、めっき液を効率的に使用して、ランニングコストと環境負荷の低減を同時に実現することができる。また、めっき液に含まれる添加剤の消耗量が少なくなることで、めっき液の含有成分の変化を抑えることができるので、より高品質のめっき処理が可能となる。
【0089】
更に、基板とアノードとの間に高抵抗要素が配置された場合において、高抵抗要素の気孔の内部に気泡が入り込んだとしても、この気泡を高抵抗要素から追い出すことができるので、高抵抗要素の気孔の内部に入り込んだ気泡がその絶縁作用により電流分布を乱すことを防止することができ、基板全体に亘って均一なめっき処理が可能となる。
【図面の簡単な説明】
【図1】本発明の第1の実施形態におけるめっき装置を示す平面図である。
【図2】図1に示すめっき装置内の気流の流れを示す説明図である。
【図3】図1に示す前処理ユニット、第1基板ステージ及び第2基板ステージに設けられた反転機を示す平面図である。
【図4】図3の正面図である。
【図5】本発明の第1の実施形態におけるめっき処理ユニットの要部を示す拡大断面図である。
【図6】図5に示すめっき処理槽の平面図である。
【図7】本発明の第1の実施形態のめっき装置におけるめっき液の流れの状態を示すめっき液フロー図である。
【図8】図5の部分拡大図である。
【図9】図8に示すカソード電極用接点の配置状態を示す平面図である。
【図10】図5に示すめっき処理ユニットのヘッド部の平面図である。
【図11】図10の正面図である。
【図12】図5に示すめっき処理ユニットのヘッド部の回転動作を説明するための図である。
【図13】図5に示すめっき処理ユニットのヘッド部の昇降動作を説明するための図である。
【図14】図5に示すめっき処理ユニットのヘッド部のチャック部の着脱動作を説明するための図である。
【図15】図14の部分拡大図である。
【図16】本発明の第2の実施形態におけるめっき処理ユニットを模式的に示す図である。
【図17】本発明の他の実施形態におけるめっき処理ユニットを模式的に示す図である。
【図18】本発明の他の実施形態におけるめっき処理ユニットを模式的に示す図である。
【図19】銅めっきによって銅配線を形成する例を工程に示す図である。
【符号の説明】
10 設備
11 仕切壁
12 めっき空間
13 清浄空間
15 カセットステージ
16 洗浄・乾燥装置
17,24,27 搬送装置
20 反転機
21 前処理ユニット
22,300 めっき処理ユニット
23a,23b,26a,26b 基板ステージ
25 薬液洗浄装置
28 容器
31,36 フィルタ
33,39 循環配管
40 めっき液調整タンク
45 めっき液
46 めっき処理槽
47 ヘッド部
48,322 アノード
49 めっき室
50,302 めっき槽
51 把手
52 アノード保持体
52a フランジ部
53 めっき液噴出ノズル
54 めっき液供給路
55 めっき液供給管
56 制御弁
57,59 めっき液排出口
58 堰部材
60a,60b めっき液排出管
61a 流量調整器
62 鉛直整流リング
63 水平整流リング
70 ハウジング
71 基板テーブル
72 基板保持部
73 下部シール材
74 上部シール材
75 空気抜き穴
76 カソード電極用接点
77 給電接点
80 固定フレーム
81 レール
82 スライダ
83 ベース
84 テーブル軸
85 スプライン部
86 サーボモータ
87 駆動プーリ
88 従動プーリ
89 タイミングベルト
90 ブラケット
91 アクチュエータ
92,95 コネクタ
93 アクチュエータスライダ
94 ロータリジョイント
96 開口
97 アクチュエータ
98 アクチュエータスライダ
100 チャック機構
101 フック
101a レバー部
102 ピン
104 爪
105 エアシリンダ
106 プッシャ
107 開口
110 シールケース
111 ハンド
112 スタッド
113 チャックコマ
200 シール材
202 めっき液溜め
204 横穴
206 液面検知センサ
208 カソード電極板
226 リザーバ
228,234 ポンプ
230 温度コントローラ
232 めっき液分析ユニット
236 フィルタ
304 基板テーブル
306 ヘッド部
308 密閉カバー
310 密閉空間
312 排気経路
314 真空ポンプ
316 振動装置
320 アノード体
324 高抵抗要素
330,338 めっき液噴出管
332 めっき液受け
334 めっき液戻り管
336 バルブ
Claims (1)
- めっき槽に保持されためっき液中にカソードに接続された基板とアノードとを配置し、添加剤を含んだめっき液を上記めっき槽に供給しながら基板のめっきを行うめっき方法において、
非めっき処理時に、めっき処理時に供給するめっき液よりも少量のめっき液を上記めっき槽に供給することを特徴とするめっき方法。
Priority Applications (1)
| Application Number | Priority Date | Filing Date | Title |
|---|---|---|---|
| JP2000403876A JP3874609B2 (ja) | 2000-12-04 | 2000-12-04 | めっき方法 |
Applications Claiming Priority (1)
| Application Number | Priority Date | Filing Date | Title |
|---|---|---|---|
| JP2000403876A JP3874609B2 (ja) | 2000-12-04 | 2000-12-04 | めっき方法 |
Related Child Applications (1)
| Application Number | Title | Priority Date | Filing Date |
|---|---|---|---|
| JP2006145170A Division JP4509968B2 (ja) | 2006-05-25 | 2006-05-25 | めっき装置 |
Publications (2)
| Publication Number | Publication Date |
|---|---|
| JP2002173795A JP2002173795A (ja) | 2002-06-21 |
| JP3874609B2 true JP3874609B2 (ja) | 2007-01-31 |
Family
ID=18867922
Family Applications (1)
| Application Number | Title | Priority Date | Filing Date |
|---|---|---|---|
| JP2000403876A Expired - Lifetime JP3874609B2 (ja) | 2000-12-04 | 2000-12-04 | めっき方法 |
Country Status (1)
| Country | Link |
|---|---|
| JP (1) | JP3874609B2 (ja) |
Families Citing this family (2)
| Publication number | Priority date | Publication date | Assignee | Title |
|---|---|---|---|---|
| JP4076751B2 (ja) * | 2001-10-22 | 2008-04-16 | 日鉱金属株式会社 | 電気銅めっき方法、電気銅めっき用含リン銅アノード及びこれらを用いてめっきされたパーティクル付着の少ない半導体ウエハ |
| US20240247395A1 (en) * | 2021-06-11 | 2024-07-25 | Ebara Corporation | Plating apparatus |
-
2000
- 2000-12-04 JP JP2000403876A patent/JP3874609B2/ja not_active Expired - Lifetime
Also Published As
| Publication number | Publication date |
|---|---|
| JP2002173795A (ja) | 2002-06-21 |
Similar Documents
| Publication | Publication Date | Title |
|---|---|---|
| JP3883378B2 (ja) | めっき装置及び方法 | |
| KR100824759B1 (ko) | 기판처리장치 및 기판도금장치 | |
| US7169705B2 (en) | Plating method and plating apparatus | |
| JP4067307B2 (ja) | 回転保持装置 | |
| US7083706B2 (en) | Substrate processing apparatus | |
| EP1793017B1 (en) | Plating apparatus and plating liquid removing method | |
| US20100219078A1 (en) | Plating apparatus and plating method | |
| WO2002090623A1 (fr) | Bain galvanoplastique et procede pour substrat de galvanoplastie faisant appel audit bain | |
| US20050051437A1 (en) | Plating apparatus and plating method | |
| JP2008013851A (ja) | 回転保持装置及び半導体基板処理装置 | |
| WO2003009343A2 (en) | Plating apparatus | |
| US7479213B2 (en) | Plating method and plating apparatus | |
| US20070158202A1 (en) | Plating apparatus and method for controlling plating solution | |
| JP3874609B2 (ja) | めっき方法 | |
| JP4509968B2 (ja) | めっき装置 | |
| JP3657173B2 (ja) | 基板めっき装置 | |
| JP3998689B2 (ja) | 基板めっき装置 |
Legal Events
| Date | Code | Title | Description |
|---|---|---|---|
| A977 | Report on retrieval |
Free format text: JAPANESE INTERMEDIATE CODE: A971007 Effective date: 20050308 |
|
| A131 | Notification of reasons for refusal |
Free format text: JAPANESE INTERMEDIATE CODE: A131 Effective date: 20060328 |
|
| A521 | Written amendment |
Free format text: JAPANESE INTERMEDIATE CODE: A523 Effective date: 20060525 |
|
| A131 | Notification of reasons for refusal |
Free format text: JAPANESE INTERMEDIATE CODE: A131 Effective date: 20060725 |
|
| A521 | Written amendment |
Free format text: JAPANESE INTERMEDIATE CODE: A523 Effective date: 20060920 |
|
| TRDD | Decision of grant or rejection written | ||
| A01 | Written decision to grant a patent or to grant a registration (utility model) |
Free format text: JAPANESE INTERMEDIATE CODE: A01 Effective date: 20061024 |
|
| A61 | First payment of annual fees (during grant procedure) |
Free format text: JAPANESE INTERMEDIATE CODE: A61 Effective date: 20061024 |
|
| R150 | Certificate of patent or registration of utility model |
Free format text: JAPANESE INTERMEDIATE CODE: R150 Ref document number: 3874609 Country of ref document: JP Free format text: JAPANESE INTERMEDIATE CODE: R150 |
|
| FPAY | Renewal fee payment (event date is renewal date of database) |
Free format text: PAYMENT UNTIL: 20091102 Year of fee payment: 3 |
|
| FPAY | Renewal fee payment (event date is renewal date of database) |
Free format text: PAYMENT UNTIL: 20101102 Year of fee payment: 4 |
|
| FPAY | Renewal fee payment (event date is renewal date of database) |
Free format text: PAYMENT UNTIL: 20111102 Year of fee payment: 5 |
|
| R250 | Receipt of annual fees |
Free format text: JAPANESE INTERMEDIATE CODE: R250 |
|
| FPAY | Renewal fee payment (event date is renewal date of database) |
Free format text: PAYMENT UNTIL: 20121102 Year of fee payment: 6 |
|
| R250 | Receipt of annual fees |
Free format text: JAPANESE INTERMEDIATE CODE: R250 |
|
| FPAY | Renewal fee payment (event date is renewal date of database) |
Free format text: PAYMENT UNTIL: 20121102 Year of fee payment: 6 |
|
| FPAY | Renewal fee payment (event date is renewal date of database) |
Free format text: PAYMENT UNTIL: 20131102 Year of fee payment: 7 |
|
| R250 | Receipt of annual fees |
Free format text: JAPANESE INTERMEDIATE CODE: R250 |
|
| R250 | Receipt of annual fees |
Free format text: JAPANESE INTERMEDIATE CODE: R250 |
|
| R250 | Receipt of annual fees |
Free format text: JAPANESE INTERMEDIATE CODE: R250 |
|
| R250 | Receipt of annual fees |
Free format text: JAPANESE INTERMEDIATE CODE: R250 |
|
| R250 | Receipt of annual fees |
Free format text: JAPANESE INTERMEDIATE CODE: R250 |
|
| R250 | Receipt of annual fees |
Free format text: JAPANESE INTERMEDIATE CODE: R250 |
|
| R250 | Receipt of annual fees |
Free format text: JAPANESE INTERMEDIATE CODE: R250 |
|
| R250 | Receipt of annual fees |
Free format text: JAPANESE INTERMEDIATE CODE: R250 |
|
| R250 | Receipt of annual fees |
Free format text: JAPANESE INTERMEDIATE CODE: R250 |
|
| EXPY | Cancellation because of completion of term |