JP3619356B2 - データ書き込みシステム - Google Patents
データ書き込みシステム Download PDFInfo
- Publication number
- JP3619356B2 JP3619356B2 JP30796597A JP30796597A JP3619356B2 JP 3619356 B2 JP3619356 B2 JP 3619356B2 JP 30796597 A JP30796597 A JP 30796597A JP 30796597 A JP30796597 A JP 30796597A JP 3619356 B2 JP3619356 B2 JP 3619356B2
- Authority
- JP
- Japan
- Prior art keywords
- temperature
- signal
- infrared
- data
- writing system
- Prior art date
- Legal status (The legal status is an assumption and is not a legal conclusion. Google has not performed a legal analysis and makes no representation as to the accuracy of the status listed.)
- Expired - Fee Related
Links
- 230000007613 environmental effect Effects 0.000 claims description 27
- 238000012937 correction Methods 0.000 claims description 13
- 238000005259 measurement Methods 0.000 claims description 11
- 230000008859 change Effects 0.000 claims description 10
- 238000000034 method Methods 0.000 claims description 10
- 238000004891 communication Methods 0.000 description 18
- 239000000523 sample Substances 0.000 description 15
- 230000036760 body temperature Effects 0.000 description 14
- 230000010355 oscillation Effects 0.000 description 14
- 238000010586 diagram Methods 0.000 description 10
- 238000012545 processing Methods 0.000 description 9
- 238000001514 detection method Methods 0.000 description 8
- 230000010354 integration Effects 0.000 description 6
- 238000009413 insulation Methods 0.000 description 4
- 230000005540 biological transmission Effects 0.000 description 3
- 230000007423 decrease Effects 0.000 description 3
- 238000005070 sampling Methods 0.000 description 3
- 210000003454 tympanic membrane Anatomy 0.000 description 3
- 230000003321 amplification Effects 0.000 description 2
- 230000008901 benefit Effects 0.000 description 2
- 238000006243 chemical reaction Methods 0.000 description 2
- 230000006872 improvement Effects 0.000 description 2
- 238000003199 nucleic acid amplification method Methods 0.000 description 2
- 230000002093 peripheral effect Effects 0.000 description 2
- 239000003990 capacitor Substances 0.000 description 1
- 238000013480 data collection Methods 0.000 description 1
- 230000001419 dependent effect Effects 0.000 description 1
- 210000000613 ear canal Anatomy 0.000 description 1
- 230000000694 effects Effects 0.000 description 1
- 230000014509 gene expression Effects 0.000 description 1
- 230000007274 generation of a signal involved in cell-cell signaling Effects 0.000 description 1
- 239000011810 insulating material Substances 0.000 description 1
- 238000004519 manufacturing process Methods 0.000 description 1
- 239000012528 membrane Substances 0.000 description 1
- 238000010606 normalization Methods 0.000 description 1
- 230000003287 optical effect Effects 0.000 description 1
- 230000008569 process Effects 0.000 description 1
- 230000009467 reduction Effects 0.000 description 1
- 238000012546 transfer Methods 0.000 description 1
Images
Landscapes
- Indication And Recording Devices For Special Purposes And Tariff Metering Devices (AREA)
- Radiation Pyrometers (AREA)
- Measuring And Recording Apparatus For Diagnosis (AREA)
Description
【発明の属する技術分野】
本発明は、例えば体温計のような測定機器に対するデータの書き込みシステムに関する。
【0002】
【従来の技術】
従来、病院等の医療機関や家庭などで体温の測定を行う体温計として、耳腔(外耳道)内にプローブ(検温部)を挿入し、耳内(鼓膜)から放射される赤外線(熱線)を検出し、その赤外線の強度によって体温を測定する赤外線体温計が提案されている。
【0003】
この赤外線体温計の検温部は、冷接点および温接点を有する熱電対列で構成される赤外線センサーと、前記熱電対列の冷接点部分の温度(=環境温度)を検出する温度センサーとを備えており、赤外線センサーおよび温度センサーから出力される信号値を所定の近似多項式に代入して体温を求める。
【0004】
赤外線センサーおよび温度センサーの特性には、個体差があることから、個々の赤外線体温計毎に校正(キャリブレーション)、すなわち前記近似多項式における係数等の設定(内蔵するメモリーへの書き込み)を行う。
【0005】
この係数等の校正定数の設定方法としては、個々の赤外線体温計を異なる複数の環境(条件)下におき、その都度、赤外線センサーおよび温度センサーから出力された検出信号(データ)をコンピュータへ送信し、その後、個々の赤外線体温計のデータを信号処理して前記校正定数を求め、該校正定数を赤外線体温計が内蔵するメモリーに書き込むことが考えられている。
しかしながら、この場合、次のような問題がある。
【0006】
▲1▼ コンピュータとのデータの通信を多数回行うので、通信エラーによるトラブルが発生する可能性が高い。
【0007】
▲2▼ 多数回の通信を行うため、それに費やす時間により処理速度(タクト)が遅い。
【0008】
▲3▼ 個々の赤外線体温計と、それらに対応するデータとの対応管理(同定)を厳格に行う必要があり、煩雑である。
【0009】
【発明が解決しようとする課題】
本発明の目的は、データの通信エラーによるトラブルを減少し、全体の処理時間が短く、また、個々の測定機器とデータとの対応を容易かつ確実に管理することができるデータ書き込みシステムを提供することにある。
【0010】
【課題を解決するための手段】
このような目的は、下記(1)〜(6)の本発明により達成される。
【0011】
(1) 赤外線センサーと温度センサーと書き替え可能な記憶媒体とを備えた赤外線体温計の前記記憶媒体にデータを書き込むデータ書き込みシステムであって、
赤外線体温計を環境温度およびターゲット温度の組み合わせが異なる複数の条件下におき、各々について前記赤外線センサーからの出力値および前記温度センサーからの出力値を得る工程と、
前記両出力値を用いて最小二乗法により近似多項式における校正定数を求める工程と、
求められた前記校正定数と環境温度の経時変化に伴う測定誤差をキャンセルするための温度補正に用いる係数とを前記記憶媒体に書き込む工程とを有することを特徴とするデータ書き込みシステム。
【0012】
(2) 前記校正定数の書き込みは、それまで記憶されていた前記両出力値の一部または全部の消去を伴って行われる上記(1)に記載のデータ書き込みシステム。
【0013】
(3) 前記校正定数の書き込みは、それまで記憶されていた前記両出力値を消去することなく行われる上記(1)に記載のデータ書き込みシステム。
【0014】
(4) 前記両出力値は、前記測定機器の校正用データである上記(1)ないし(3)のいずれかに記載のデータ書き込みシステム。
【0015】
(5) 前記係数は、温度補正の補正量を求める計算式において、環境温度の変化の割合が0以上の場合の係数と、環境温度の変化の割合が0未満の場合の係数と、補正量の上限値および下限値とを含む上記(1)ないし(4)のいずれかに記載のデータ書き込みシステム。
(6) 前記記憶媒体に書き込む工程は、前記赤外線体温計の外部に設置されたパーソナルコンピュータからの命令信号により行われる上記(1)ないし(5)のいずれかに記載のデータ書き込みシステム。
【0022】
【発明の実施の形態】
以下、本発明のデータ書き込みシステムを添付図面に示す好適実施例に基づいて詳細に説明する。
【0023】
図1は、本発明を赤外線体温計(測定機器)の校正に適用した場合のデータ書き込みシステムの実施例を模式的に示す図、図2は、本発明が適用される赤外線体温計(測定機器)の概略構成図、図3は、同赤外線体温計における検温部の構成を示す斜視図、図4は、同赤外線体温計の回路構成を示すブロック図、図5は、基準信号とTP´信号またはVREF信号とを示すタイミングチャート、図6は、Fth信号またはFrh信号を示すタイミングチャート、図7は、演算部の回路構成を示すブロック図である。
【0024】
まず、本実施例に適用される赤外線体温計について、図2〜図7に基づき説明する。
【0025】
図2に示すように、赤外線体温計1は、耳内(鼓膜)から発せられる赤外線の強度を測定することにより体温を検出する耳式体温計であり、ケーシング21を有する体温計本体2と、体温計本体2の外面に設置された電源スイッチ3、測定スイッチ4および表示部5と、体温計本体2に対しリングナット9により着脱自在に設置された筒状のプローブ6と、検温部7と、プローブ6の先端から導入された赤外線(熱線)を検温部7の赤外線センサー71へ導くライトガイド(導波管)8と、体温計本体2に対し螺合するリングナット9とを有している。また、赤外線体温計1による体温測定時には、プローブ6にプローブカバー11が被せられる。
【0026】
体温計本体2のケーシング21内には、回路基板30が設置されており、この回路基板30には、検温部7、マイクロコンピュータよりなる制御手段31、増幅手段32、切り替えスイッチ35、積分回路36、比較器37、基準抵抗38、切り替えスイッチ39、中継回路41、ブザー42、メモリー43および送・受信部44が設置されている。
【0027】
メモリー43は、EEPROMのような書き換え可能なメモリー(記憶媒体)である。また、送・受信部44は、後述するパソコン301〜304と通信するための通信ドライバおよび後述するピンブロックコネクタ501〜504と接続可能な通信用端子を有している。
【0028】
また、ケーシング21内には、バッテリーを収納する電源部40が設置され、この電源部40より、回路基板30の各部へ電力が供給される。
【0029】
制御手段31は、演算部311、メモリー(RAM、ROM)312、タイマー(オートパワーオフタイマーを含む)313およびカウンター314を内蔵している。また、この制御手段31は、無駄な電力消費を抑制するために、オートパワーオフタイマーを備えている。
【0030】
検温部7は、赤外線センサー71と、温度センサー77とで構成されている。
【0031】
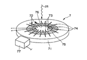
図3に示すように、赤外線センサー71は、サーモパイル(熱電対列)72を備えている。そして、熱絶縁帯75を介して中心側に位置する集熱部76にサーモパイル72の温接点73が、熱絶縁帯75の外周側に冷接点74がそれぞれ設置された構成をなしている。
【0032】
また、赤外線センサー71の近傍には、温度センサー77が設置されている。この温度センサー77は、赤外線センサー71の熱絶縁帯75より外周側の温度、すなわち冷接点74の温度を検出するとともに、雰囲気の温度(環境温度)を検出する。温度センサー77としては、抵抗体で温度を測定するセンサーを用いる。抵抗体で温度を測定するセンサーとしては、例えば、サーミスタを用いることができる。
【0033】
このような検温部7では、赤外線センサー71および温度センサー77により、それぞれ赤外線照射により暖められた温接点73と赤外線が照射されない冷接点74との温度差に相当する信号と、冷接点74の近くの温度(環境温度)に相当する信号とを検出し、これらの関数により体温を測定することができる。
【0034】
次に、赤外線体温計1の使用方法、回路構成および作用について説明する。
体温計本体2にプローブ6を螺合、装着し、さらに、該プローブ6にプローブカバー11を被せる。次いで、その上から、リングナット9を挿通し、螺合する。これにより、プローブカバー11の装着が完了する。
【0035】
次に、電源スイッチ3をONの状態とし、所定時間経過後、体温計本体2を把持し、プローブカバー11で被包されたプローブ6を耳腔内に挿入する。
【0036】
次に、測定スイッチ4を所定時間押圧する。これにより、体温の測定がなされる。すなわち、耳内(鼓膜)から放射された赤外線(熱線)は、プローブカバー11の先端の膜を透過し、ライトガイド8内に導入され、その内面で反射を繰り返して検温部7の赤外線センサー71に到達し、集熱部76に照射される。
【0037】
図4に示すように、赤外線センサー71からは、正出力端子である温接点73からの出力信号(TP信号)と負出力端子である冷接点74からの出力信号(VREF信号)が得られる。
【0038】
赤外線センサー71の冷接点74からのVREF信号のレベル(電圧)は、環境温度によらず、一定(固定)である。
【0039】
増幅手段32は、第1アンプ33と、この第1アンプ33の出力側に接続された第2アンプ34とで構成されている。なお、これら第1アンプ33および第2アンプ34は、それぞれ、差動アンプである。
【0040】
赤外線センサー71から出力されたTP信号は、第1アンプ33で増幅され、第2アンプ34に入力される。なお、第1アンプ33では、必要に応じて、TP信号、VREF信号に含まれる不要な周波数帯域成分が除去される。
【0041】
また、赤外線センサー71から出力されたVREF信号は、第1アンプ33と、第2アンプ34に入力される。なお、第2アンプ34でも、必要に応じて、後述するTP″信号、VREF信号に含まれる不要な周波数帯域成分が除去される。
【0042】
第1アンプ33では、TP信号とVREF信号との差分が増幅され、VREF信号が加算された信号、TP″信号が得られる。さらに、第2アンプ34で、TP″信号とVREF信号との差分が増幅され、VREF信号が加算されてTP´信号として出力される。このTP´信号のレベルは、温接点73と冷接点74との温度差に対応する。そして、特定されない限り、赤外線センサーからの信号とは、TP´信号を意味する。
【0043】
切り替えスイッチ35がTP´信号側に切り替わると、TP´信号が比較器37に入力され、切り替えスイッチ35がVREF信号側に切り替わると、第1アンプ33からのVREF信号が比較器37に入力される。この切り替えスイッチ35の駆動は、制御手段31により制御される。
【0044】
第1アンプ33からのVREF信号は、前記TP´信号を規格化する赤外線検出規格化信号にもなっている。このVREF信号でTP´信号を規格化(厳密には、後述するTvrefでTtpを規格化)することにより、例えば、回路の浮遊容量や、チップ部品のバラツキによる影響を軽減(キャンセル)することができ、これにより測定精度が向上する。なお、冷接点74および第1アンプ33により、赤外線検出規格化信号生成手段が構成される。
【0045】
積分回路36には、一定(固定)レベルの基準電圧が印加されている。積分回路36では、この基準電圧に基づいて、基準信号が生成され、その基準信号は、比較器37に入力される。なお、基準電圧は、TP´信号のレベルおよびVREF信号のレベルに比べ十分大きく設定されている。
【0046】
TP´信号を検出する場合は、制御手段31からの制御信号により、切り替えスイッチ35がTP´信号側に切り替わる。そして、制御手段31から積分回路36に、STC信号(サンプリングスタート信号)が送信される。
【0047】
図5に示すように、積分回路36では、STC信号を受信すると、基準信号のレベルを基準電圧から一定の勾配(傾き)で減少(降下)させる。
【0048】
図4に示すように、比較器37では、基準信号のレベルとTP´信号のレベルとを比較し、基準信号のレベルがTP´信号のレベルに一致すると、制御手段31にEOC信号(サンプリング終了信号)を送信するとともに、積分回路36にトリガ信号を送信する。
【0049】
図5に示すように、積分回路36では、トリガ信号を受信すると、基準信号のレベルを瞬時に元のレベル、すなわち基準電圧に復帰させる。
【0050】
制御手段31では、タイマー313により、STC信号を送信してからEOC信号を受信するまでの時間(Ttp)を計測する。この時間情報、すなわちTtpは、メモリー312に記憶される。
【0051】
TP´信号のレベルは、温接点73と冷接点74との温度差に応じて変化し、Ttpもそれに応じて変化する。この場合、温接点73と冷接点74との温度差が大きいほど、TP´信号のレベルが大きく、Ttpは短い(小さい)。
【0052】
図4に示すように、VREF信号を検出する場合(赤外線検出規格化信号生成手段からの信号を検出する場合)は、制御手段31からの制御信号により、切り替えスイッチ35がVREF信号側に切り替わる。そして、制御手段31から積分回路36に、STC信号が送信される。
【0053】
図5に示すように、積分回路36では、STC信号を受信すると、基準信号のレベルを基準電圧から一定の勾配で減少させる。
【0054】
図4に示すように、比較器37では、基準信号のレベルとVREF信号のレベルとを比較し、基準信号のレベルがVREF信号のレベルに一致すると、制御手段31にEOC信号を送信するとともに、積分回路36にトリガ信号を送信する。
【0055】
図5に示すように、積分回路36では、トリガ信号を受信すると、基準信号のレベルを瞬時に元のレベル、すなわち基準電圧に復帰させる。
【0056】
制御手段31では、タイマー313により、STC信号を送信してからEOC信号を受信するまでの時間(Tvref)を計測する。この時間情報、すなわちTvrefは、メモリー312に記憶される。
【0057】
図4に示すように、中継回路41は、図示しないコンデンサー等を有し、発振回路(CR発振回路)の一部を構成する。
【0058】
切り替えスイッチ39が温度センサー77側に切り替わると、中継回路41と温度センサー77とで発振回路が構成され、切り替えスイッチ39が基準抵抗38側に切り替わると、中継回路41と基準抵抗38とで発振回路が構成される。この切り替えスイッチ39の駆動は、制御手段31により制御される。
【0059】
温度センサー77の抵抗値THは、環境温度に応じて変化するが、基準抵抗38の抵抗値RHは、環境温度によらず、一定(固定)である。
【0060】
温度センサー77の抵抗値THを検出する場合(温度センサー77からの信号を検出する場合)は、制御手段31からの制御信号により、切り替えスイッチ39が温度センサー77側に切り替わる。
【0061】
これにより、中継回路41と温度センサー77とで発振回路が構成され、この発振回路により発振が生じる。そのときの信号(発振信号)、すなわち、Fth信号は、中継回路41から出力され、制御手段31に入力される。
【0062】
図6に示すように、制御手段31では、カウンター314により、入力されたFth信号のパルス数を計数し、タイマー313により、前記カウンター314が所定数(例えば、256) のパルスを計数するに要する時間(Tth)、すなわちFth信号の周期(波長)の整数倍(例えば、256倍)の時間(Tth)を計測する。この時間情報、すなわちTthは、メモリー312に記憶される。
【0063】
温度センサー77の抵抗値THは、環境温度に応じて変化し、Tthもそれに応じて変化する。この場合、環境温度が低いほど、温度センサー77の抵抗値THは大きくなる。そして、CR発振回路では、発振信号の周期(波長)は、抵抗値に比例するので、環境温度が低いほど、Fth信号の周期が長く、Tthは長い(大きい)。
【0064】
図4に示すように、基準抵抗38の抵抗値RHを検出する場合(温度検出規格化信号を検出する場合)は、制御手段31からの制御信号により、切り替えスイッチ39が基準抵抗38側に切り替わる。
【0065】
これにより、中継回路41と基準抵抗38とで発振回路が構成され、この発振回路により発振が生じる。そのときの信号(発振信号)、すなわち、Frh信号は、中継回路41から出力され、制御手段31に入力される。
【0066】
このFrh信号は、前記Fth信号を規格化する温度検出規格化信号である。このFrh信号でFth信号を規格化(厳密には、後述するTrhでTthを規格化)することにより、例えば、回路の浮遊容量や、チップ部品のバラツキの影響を軽減(キャンセル)することができ、これにより測定精度が向上する。なお、基準抵抗38および中継回路41により、温度検出規格化信号生成手段が構成される。
【0067】
図6に示すように、制御手段31では、カウンター314により、入力されたFrh信号のパルス数を計数し、タイマー313により、前記カウンター314が所定数(例えば、256個) のパルスを計数するに要する時間(Trh)、すなわちFrh信号の周期(波長)の整数倍(例えば、256倍)の時間(Trh)を計測する。この時間情報、すなわちTrhは、メモリー312に記憶される。
【0068】
基準抵抗38の抵抗値RHは、環境温度によらず一定であるので、Frh信号の周期は一定であり、よって、Trhは一定である。
【0069】
制御手段31の演算部311では、メモリー43からTtp、Tvref、TthおよびTrhを読み出し、TtpをTvrefで規格化し、TthをTrhで規格化する。すなわち、Ttp/TvrefおよびTth/Trhをそれぞれ求める。
【0070】
そして、これらTtp/TvrefおよびTth/Trhに基づいて、所定の演算処理を行い、また、必要に応じて所定の温度補正を行って、測定部位(熱源)の温度、すなわち、体温を求める。
【0071】
求められた体温は、表示部5に表示される。また、体温の測定が終了すると、それを報知するためにブザー42が鳴る。このブザー42の報知により、操作者は、プローブ6を耳腔から抜き取る。
【0072】
図7は、制御手段31の演算部311の構成例を示すブロック図(概念図)である。
【0073】
同図に示すように、演算部311は、温度センサー77からの出力信号(直接信号)が入力され、その値(データ)を変換する直線化手段311aと、この直線化手段311aからの出力信号および赤外線センサー71からの出力信号とに基づいて体温を求める演算器311bとを有している。
【0074】
直線化手段311aは、温度センサー77の出力値y(=Tth/Trh:直接信号値)をy´に変換する。この変換は、yを温度値(環境温度値)に変換することなく、直線化手段311aの出力値(yの変換後の値)y´と環境温度との関係を示す特性(環境温度依存特性)が略直線状となるようになされる。
【0075】
本実施例では、直線化手段311aは、温度センサー77の出力値yを下記(I)式および(II)式によりy´に変換する。
【0076】
z =(y−β)/β ・・・(I)
【0077】
y´=z/(1+z/2) ・・・(II)
【0078】
ただし、上記(I)式のβは、環境温度が基準温度(基準環境温度、本実施例では25℃)のときの温度センサー77の出力値Tth/Trhである。基準温度は、赤外線体温計1の動作が保証される環境温度のほぼ中心付近の温度に設定されている。このβは、個々の赤外線体温計1毎に設定される。
【0079】
演算器311bは、赤外線センサー71の出力値x(=Ttp/Tvref)および直線化手段311aの出力値y´を、これらxおよびy´と、体温との関係を表す3次(パラメータxおよびy´のそれぞれについて3次)の近似多項式f2 (x,y´)、すなわち、下記(III )式に代入して、体温(測定部位の温度)を求める。
【0080】
【0081】
ただし、上記(III )式のa、b、c、d、e、f、g、hおよびiは、それぞれ、係数である。各係数a〜iおよびjは、個々の赤外線体温計1毎に、後述する校正により設定される校正定数である。
【0082】
上記(I)式、(II)式および(III )式を含む演算のプログラムは、予め、メモリー312に記憶されており、後述する方法によりメモリー43に書き込まれた各係数a〜jおよびβを該メモリー43から読み出して演算を実行し、必要な温度補正(後述する補正量Uの加算)等を行って、体温を求める。
【0083】
この赤外線体温計1では、前述したように、上記(I)式のβと、上記(III )式のa〜jは、後述する校正により予め設定される校正定数である。
βは、環境温度が25℃のときのTth/Trhとされる。
【0084】
複数(m×n個、m、nは2以上の整数)の校正点、例えば、複数(n個)の環境温度(例えば、5℃、15℃、25℃、35℃)において、それぞれ、温度が既知の複数(m個)の黒体炉(基準ターゲット)の温度(以下「ターゲット温度」と言う。例えば、32℃、37℃、42℃)についての赤外線センサー71からの出力Ttp、Tvrefおよび温度センサー77からの出力Tth、Trhをそれぞれ検出する。校正点の数が3×4=12の場合(以下、この場合について代表的に説明する)、12組のTtp、Tvref、Tth、Trhが得られる。
【0085】
次に、校正点毎に、y(=Tth/Trh)およびβを上記(I)式および(II)式に代入してy´を求める。そして、求めたy´とx(=Ttp/Tvref)とを上記(III )式の右辺に、対応するターゲット温度を上記(III )式の左辺に代入して、a〜jについての連立方程式(12個の式)を得る。
この連立方程式から、例えば最小二乗法によりa〜jが求まる。
【0086】
次に、赤外線体温計1の校正のためのデータ書き込みシステム(設備)について、図1に基づき説明する。
【0087】
図1に示すように、データ書き込みシステム100は、赤外線体温計1がおかれる環境温度を一定に保持できる空間を形成するものとして、恒温槽101を有している。恒温槽101は、図示しない温度調節手段を有するとともに、その周囲が断熱材で覆われ、恒温槽内部を一定の温度に保持し得るよう構成されている。
【0088】
システム制御部103の制御により、恒温槽101内の温度(環境温度)は、多段階に設定することができる。すなわち、本実施例では、環境温度を5℃、15℃、25℃、35℃の4段階に設定することができる。
【0089】
このような恒温槽101内には、校正に供される複数の赤外線体温計1を保持しておく体温計ストック部102と、それぞれ異なる条件で赤外線体温計1のメモリー(EEPROM)43(記憶媒体)に後述する元データを書き込むための第1ステージ201、第2ステージ202および第3ステージ203と、各元データに基づいて得られた目的データを赤外線体温計1のメモリー43に書き込むための第4ステージ204とが、赤外線体温計1の搬送ラインに沿って設置されている。
【0090】
各赤外線体温計1は、図示しないコンベアおよびロボットにより、前記搬送ラインに沿って搬送される。この場合、コンベアおよび搬送ロボットは、システム制御部103により、シーケンス制御されて作動する。
【0091】
恒温槽101外には、4つのパーソナルコンピュータ(以下「パソコン」と言う)301、302、303、304が設置されている。これらのうち、パソコン304は、ホストコンピュータであり、パソコン301、302、303は、それぞれ、パソコン304に接続されたスレーブである。
【0092】
第1ステージ201には、黒体炉(熱源)401とピンブロックコネクタ501が設置され、第2ステージ202には、黒体炉(熱源)402とピンブロックコネクタ502が設置され、第3ステージ203には、黒体炉(熱源)403とピンブロックコネクタ503が設置され、第4ステージ204には、ピンブロックコネクタ504が設置されている。
【0093】
黒体炉401、402、403は、それぞれ、赤外線体温計1に異なるターゲット温度を与える。すなわち、本実施例では、黒体炉401、402、403は、それぞれ、32℃、37℃、42℃のターゲット温度を持っている。
【0094】
ピンブロックコネクタ501、502、503、504は、それぞれ、赤外線体温計1の送・受信部44の通信用端子と接続可能なコネクタである。このうち、ピンブロックコネクタ504は、同時に3個の赤外線体温計1と接続可能なものである。
【0095】
これらのピンブロックコネクタ501、502、503、504は、それぞれ、通信線を介して対応するパソコン301、302、303、304と接続されている。
【0096】
なお、ピンブロックコネクタ501、502、503、504の赤外線体温計1への着脱は、前記ロボットにより行われる。
【0097】
以上のようなデータ書き込み設備100では、赤外線体温計1を異なる複数の条件下、すなわち、m種のターゲット温度とn種の環境温度の組み合わせであるm×n種(本実施例では、m=3、n=4)の条件下において、元データの収集を行うことができる。
【0098】
次に、データ書き込みシステム100によるデータ書き込み方法の一例を説明する。
【0099】
[1] 恒温槽101内の温度を5℃に設定した状態で、体温計ストック部102にある赤外線体温計1は、第1ステージ201へ送られ、その送・受信部44の通信用端子がピンブロックコネクタ501と接続されるとともに、黒体炉401のターゲット温度(32℃)を測定可能な状態とされる。
【0100】
この状態で、赤外線体温計1は、パソコン301から出力された元データ採取のための命令信号を受信すると、元データであるTtp、Tvref、TthおよびTrhのサンプリング(データ収集)を行い、これらを図8に示すように、メモリー43の所定のアドレスに記憶する。
【0101】
この元データの記憶が完了後、赤外線体温計1からピンブロックコネクタ501を取り外す。
【0102】
[2] 次に、赤外線体温計1は、第2ステージ202へ送られ、その送・受信部44の通信用端子がピンブロックコネクタ502と接続されるとともに、黒体炉402のターゲット温度(37℃)を測定可能な状態とされる。
【0103】
この状態で、赤外線体温計1は、パソコン302から出力された元データ採取のための命令信号を受信すると、元データであるTtp、Tvref、TthおよびTrhのサンプリングを行い、これらを図8に示すように、メモリー43の所定のアドレスに記憶する。
【0104】
この元データの記憶が完了後、赤外線体温計1からピンブロックコネクタ502を取り外す。
【0105】
[3] 次に、赤外線体温計1は、第3ステージ203へ送られ、その送・受信部44の通信用端子がピンブロックコネクタ503と接続されるとともに、黒体炉403のターゲット温度(42℃)を測定可能な状態とされる。
【0106】
この状態で、赤外線体温計1は、パソコン303から出力された元データ採取のための命令信号を受信すると、元データであるTtp、Tvref、TthおよびTrhのサンプリングを行い、これらを図8に示すように、メモリー43の所定のアドレスに記憶する。
【0107】
この元データの記憶が完了後、赤外線体温計1からピンブロックコネクタ503を取り外す。
【0108】
[4] 次に、赤外線体温計1は、第4ステージ204をそのまま通過し、再び体温計ストック部102へ戻される。
【0109】
[5] 体温計ストック部102にある全ての赤外線体温計1に対し、前記工程[1]〜[4]を実行する。
【0110】
[6] 恒温槽101内の温度を15℃に変更し、前記工程[1]〜[5]を実行する。
【0111】
[7] 恒温槽101内の温度を25℃に変更し、前記工程[1]〜[5]を実行する。
【0112】
[8] 恒温槽101内の温度を35℃に変更し、前記工程[1]〜[3]を実行する。
【0113】
[9] 次に、赤外線体温計1は、第4ステージ204へ送られ、その送・受信部44の通信用端子がピンブロックコネクタ504と接続される。
【0114】
この状態で、赤外線体温計1は、パソコン304から出力された元データ読み出しのための命令信号を受信すると、メモリー43に記憶されている12組のTtp、Tvref、TthおよびTrhが読み出され、データ通信によりパソコン304に内蔵されたメモリーへ読み込まれる。
【0115】
なお、この元データの読み出しは、3個の赤外線体温計1に対し、同時に行っても、順次行ってもよい。
【0116】
[10] パソコン304は、読み込まれた12組のTtp、Tvref、TthおよびTrhに基づいてデータ処理(演算処理)を行い、目的データである校正定数(fix )a〜jと、βとを求める。
【0117】
a〜jおよびβの求め方は、次の通りである。
まず、βは、環境温度が25℃のときのTth/Trhとされる。
【0118】
また、図8中の▲1▼▲2▼▲3▼▲4▼・・・の12組のTtp、Tvref、Tth、Trhと、βについて、各組毎(各校正点毎)に、y(=Tth/Trh)およびβを上記(I)式および(II)式に代入してy´を求める。そして、求めたy´とx(=Ttp/Tvref)とを上記(III )式の右辺に、対応するターゲット温度(32℃、37℃、42℃)を上記(III )式の左辺に代入して、a〜jについての連立方程式(12個の式)を得る。
そして、この連立方程式から、最小二乗法によりa〜jを求める。
【0119】
[11] パソコン304から出力された目的データ書き込みのための命令信号に基づき、図9に示すように、求められた校正定数a〜j、βと、後述するk1〜k5と、sw1 〜 sw4とを、メモリー43の所定のアドレスに書き込む。これにより、赤外線体温計1の校正がなされる。
【0120】
なお、係数k1〜k5は、環境温度の経時変化に伴う測定誤差をキャンセルするための温度補正に用いる値である。このk1〜k5は、補正量をU[℃]、環境温度の変化の割合(温度勾配)をDTH[℃/秒]としたとき、次式(IV)、(V)、(VI)で示される。
【0121】
U=k1×DTH+k2(DTH≧0のとき) ・・・(IV)
【0122】
U=k3×DTH+k4(DTH<0のとき) ・・・(V)
【0123】
|U|≦k5(k5は、上限値および下限値) ・・・(VI)
【0124】
また、sw1 〜 sw4は、赤外線体温計1のソフトウエアの動作仕様等を変更するためのスイッチ番号である。
【0125】
このような目的データは、それまで記憶されていた各元データの一部または全部消去を伴って行われる。すなわち、本実施例では、メモリー43のアドレス00hから3Fhまでの全てのデータが書き換えられる。これにより、容量の少ないメモリー43で上記方法が達成できるという利点がある。
【0126】
また、図示と異なり、メモリー43にそれまで記憶されていた各元データを消去することなく、目的データの書き込みを行うこともできる。この場合には、例えば、メモリー43に残っている元データを校正(初期設定)以外のことに利用したり、校正時の履歴を確認したりすることができるという利点がある。
【0127】
なお、本工程の処理は、第4ステージ204にある3個の赤外線体温計1に対し、同時に行っても、順次行ってもよい。
【0128】
[12] 体温計ストック部102にある全ての赤外線体温計1に対し、前記工程[8]〜[11]を実行する。
【0129】
以上により、赤外線体温計1の全数に対し、個々の赤外線体温計1の特性に応じた校正が完了する。
【0130】
なお、本実施例では、恒温槽101内の温度を変える順番は、5℃、15℃、25℃および35℃と温度の増加する順番となっているが、これに限定されるものではない。例えば、体温計ストック部102の赤外線体温計1の入れ替えを作業者(人間)が恒温槽101の中に入って行う場合には、25℃、35℃、5℃および15℃の順のように、室温に近い温度から開始して室温に近い温度で終了するのが好ましい。
【0131】
以上のようなデータ書き込みシステムでは、各パソコンとのデータ(元データ、目的データ)の通信は、第4ステージ204(工程[9]、[11])でのみ行われ、しかも、全ての元データをサンプリングした後、最後に1回行われるため、データの通信エラーによるトラブルが発生する可能性が極めて少なく、また、データ通信の処理速度も速くなるため、全体の処理時間が短かくなり、生産性の向上に寄与する。
【0132】
また、元データは、その赤外線体温計1に内蔵されたメモリーに記憶しておくため、個々の赤外線体温計1とそれに対応するデータとの対応管理(同定)を容易かつ確実に行うことができる。
【0133】
以上、本発明の体温計を添付図面に示す実施例に基づいて説明したが、本発明は、これに限定されるものではない。
【0135】
また、測定機器に対する条件の変化は、前記ターゲット温度や環境温度等の温度に関するものに限らず、その他、例えば、湿度、圧力、輝度等、任意の物理量を変えたものが挙げられる。
【0136】
また、元データや目的データの種類も、前述したものに限られない。
また、元データや目的データを書き込む記憶媒体は、メモリーに限らず、書き換え可能な磁気ディスク、光磁気ディスク、光ディスク等であってもよい。
【0137】
【発明の効果】
以上述べたように、本発明によれば、データの通信エラーによるトラブルの発生を抑制することができ、また、データ通信の処理速度も速くなるため、全体の処理時間が短かくなり、生産性の向上に寄与する。
【0138】
また、元データは、測定機器に内蔵されたメモリーに記憶しておくため、個々の測定機器とそれに対応するデータとの対応管理(同定)を容易かつ確実に行うことができ、誤ったデータの書き込みが防止される。
【0139】
また、測定機器に内蔵されているメモリーを使用するので、別途メモリーの増設をする等、測定機器の構成を変更する必要がない。
【0140】
特に、赤外線体温計のような温度測定機器の校正やその他の初期設定等に本発明を適用する場合には、その有用性が高い。
【図面の簡単な説明】
【図1】本発明のデータ書き込みシステムの実施例を模式的に示す図である。
【図2】本発明が適用される赤外線体温計(測定機器)の概略構成図である。
【図3】図2に示す赤外線体温計における検温部の構成を示す斜視図である。
【図4】図2に示す赤外線体温計の回路構成を示すブロック図である。
【図5】基準信号とTP´信号またはVREF信号とを示すタイミングチャートである。
【図6】Fth信号またはFrh信号を示すタイミングチャートである。
【図7】制御手段の演算部の回路構成を示すブロック図である。
【図8】赤外線体温計に内蔵されたメモリーのマップ(元データ書き込み時)を示す図である。
【図9】赤外線体温計に内蔵されたメモリーのマップ(目的データ書き込み時)を示す図である。
【符号の説明】
1 赤外線体温計
2 体温計本体
21 ケーシング
3 電源スイッチ
4 測定スイッチ
5 表示部
6 プローブ
7 検温部
71 赤外線センサー
72 サーモパイル(熱電対列)
73 温接点
74 冷接点
75 熱絶縁帯
76 集熱部
77 温度センサー
8 ライトガイド
9 リングナット
11 プローブカバー
30 回路基板
31 制御手段
311 演算部
311a 直線化手段
311b 演算器
312 メモリー
313 タイマー
314 カウンター
32 増幅手段
33 第1アンプ
34 第2アンプ
35 切り替えスイッチ
36 積分回路
37 比較器
38 基準抵抗
39 切り替えスイッチ
40 電源部
41 中継回路
42 ブザー
43 メモリー
44 送・受信部
100 データ書き込みシステム
101 恒温槽
102 体温計ストック部
103 システム制御部
201 第1ステージ
202 第2ステージ
203 第3ステージ
204 第4ステージ
301〜304 パソコン
401〜403 黒体炉
501〜504 ピンブロックコネクタ
Claims (6)
- 赤外線センサーと温度センサーと書き替え可能な記憶媒体とを備えた赤外線体温計の前記記憶媒体にデータを書き込むデータ書き込みシステムであって、
赤外線体温計を環境温度およびターゲット温度の組み合わせが異なる複数の条件下におき、各々について前記赤外線センサーからの出力値および前記温度センサーからの出力値を得る工程と、
前記両出力値を用いて最小二乗法により近似多項式における校正定数を求める工程と、
求められた前記校正定数と環境温度の経時変化に伴う測定誤差をキャンセルするための温度補正に用いる係数とを前記記憶媒体に書き込む工程とを有することを特徴とするデータ書き込みシステム。 - 前記校正定数の書き込みは、それまで記憶されていた前記両出力値の一部または全部の消去を伴って行われる請求項1に記載のデータ書き込みシステム。
- 前記校正定数の書き込みは、それまで記憶されていた前記両出力値を消去することなく行われる請求項1に記載のデータ書き込みシステム。
- 前記両出力値は、前記測定機器の校正用データである請求項1ないし3のいずれかに記載のデータ書き込みシステム。
- 前記係数は、温度補正の補正量を求める計算式において、環境温度の変化の割合が0以上の場合の係数と、環境温度の変化の割合が0未満の場合の係数と、補正量の上限値および下限値とを含む請求項1ないし4のいずれかに記載のデータ書き込みシステム。
- 前記記憶媒体に書き込む工程は、前記赤外線体温計の外部に設置されたパーソナルコンピュータからの命令信号により行われる請求項1ないし5のいずれかに記載のデータ書き込みシステム。
Priority Applications (1)
| Application Number | Priority Date | Filing Date | Title |
|---|---|---|---|
| JP30796597A JP3619356B2 (ja) | 1997-10-21 | 1997-10-21 | データ書き込みシステム |
Applications Claiming Priority (1)
| Application Number | Priority Date | Filing Date | Title |
|---|---|---|---|
| JP30796597A JP3619356B2 (ja) | 1997-10-21 | 1997-10-21 | データ書き込みシステム |
Related Child Applications (1)
| Application Number | Title | Priority Date | Filing Date |
|---|---|---|---|
| JP2004260320A Division JP2005028155A (ja) | 2004-09-07 | 2004-09-07 | データ書き込み装置 |
Publications (2)
| Publication Number | Publication Date |
|---|---|
| JPH11125563A JPH11125563A (ja) | 1999-05-11 |
| JP3619356B2 true JP3619356B2 (ja) | 2005-02-09 |
Family
ID=17975303
Family Applications (1)
| Application Number | Title | Priority Date | Filing Date |
|---|---|---|---|
| JP30796597A Expired - Fee Related JP3619356B2 (ja) | 1997-10-21 | 1997-10-21 | データ書き込みシステム |
Country Status (1)
| Country | Link |
|---|---|
| JP (1) | JP3619356B2 (ja) |
Families Citing this family (1)
| Publication number | Priority date | Publication date | Assignee | Title |
|---|---|---|---|---|
| JP3665958B2 (ja) | 2000-05-25 | 2005-06-29 | 株式会社山武 | データ収集装置 |
-
1997
- 1997-10-21 JP JP30796597A patent/JP3619356B2/ja not_active Expired - Fee Related
Also Published As
| Publication number | Publication date |
|---|---|
| JPH11125563A (ja) | 1999-05-11 |
Similar Documents
| Publication | Publication Date | Title |
|---|---|---|
| US5857777A (en) | Smart temperature sensing device | |
| US5169234A (en) | Infrared temperature sensor | |
| US6179785B1 (en) | Ambient sensing feature for thermometer recalibration system | |
| RU2118116C1 (ru) | Термометр для измерения температуры тела и способ измерения температуры тела пациента (варианты) | |
| US5024533A (en) | Radiation clinical thermometer | |
| USRE34507E (en) | Radiation clinical thermometer | |
| US5232284A (en) | Radiation clinical thermometer | |
| US6155712A (en) | Radiation clinical thermometer | |
| CN105102947B (zh) | 带有距离感应和补偿功能的非接触式医用温度计 | |
| WO1999015866A1 (fr) | Thermometre de mesure du rayonnement et procede de reglage | |
| US5967992A (en) | Radiometric temperature measurement based on empirical measurements and linear functions | |
| CN111198042B (zh) | 一种红外体温计 | |
| JP2603004B2 (ja) | 温度測定装置及び温度信号の提供方法 | |
| CN2368020Y (zh) | 红外线温度测量装置 | |
| US20040057494A1 (en) | Ear thermometer with improved temperature coefficient and method of calibration thereof | |
| CN209639834U (zh) | 一种红外体温计 | |
| JP3619356B2 (ja) | データ書き込みシステム | |
| JPH04141138A (ja) | 体温計 | |
| JP2828258B2 (ja) | 放射体温計 | |
| JP2005028155A (ja) | データ書き込み装置 | |
| JP2003070750A (ja) | 耳式体温計の温度補正装置 | |
| CN116007777B (zh) | 一种电子体温计及体温测量方法 | |
| JPH03251729A (ja) | 検温装置 | |
| JP2813331B2 (ja) | 放射温度計 | |
| JPH05288611A (ja) | 温度測定装置 |
Legal Events
| Date | Code | Title | Description |
|---|---|---|---|
| A977 | Report on retrieval |
Free format text: JAPANESE INTERMEDIATE CODE: A971007 Effective date: 20040115 |
|
| A131 | Notification of reasons for refusal |
Free format text: JAPANESE INTERMEDIATE CODE: A131 Effective date: 20040128 |
|
| A521 | Written amendment |
Free format text: JAPANESE INTERMEDIATE CODE: A523 Effective date: 20040323 |
|
| A02 | Decision of refusal |
Free format text: JAPANESE INTERMEDIATE CODE: A02 Effective date: 20040714 |
|
| A521 | Written amendment |
Free format text: JAPANESE INTERMEDIATE CODE: A523 Effective date: 20040907 |
|
| A911 | Transfer to examiner for re-examination before appeal (zenchi) |
Free format text: JAPANESE INTERMEDIATE CODE: A911 Effective date: 20040921 |
|
| TRDD | Decision of grant or rejection written | ||
| A01 | Written decision to grant a patent or to grant a registration (utility model) |
Free format text: JAPANESE INTERMEDIATE CODE: A01 Effective date: 20041104 |
|
| A61 | First payment of annual fees (during grant procedure) |
Free format text: JAPANESE INTERMEDIATE CODE: A61 Effective date: 20041112 |
|
| R150 | Certificate of patent or registration of utility model |
Free format text: JAPANESE INTERMEDIATE CODE: R150 |
|
| FPAY | Renewal fee payment (event date is renewal date of database) |
Free format text: PAYMENT UNTIL: 20081119 Year of fee payment: 4 |
|
| FPAY | Renewal fee payment (event date is renewal date of database) |
Free format text: PAYMENT UNTIL: 20081119 Year of fee payment: 4 |
|
| FPAY | Renewal fee payment (event date is renewal date of database) |
Free format text: PAYMENT UNTIL: 20091119 Year of fee payment: 5 |
|
| FPAY | Renewal fee payment (event date is renewal date of database) |
Free format text: PAYMENT UNTIL: 20091119 Year of fee payment: 5 |
|
| FPAY | Renewal fee payment (event date is renewal date of database) |
Free format text: PAYMENT UNTIL: 20101119 Year of fee payment: 6 |
|
| FPAY | Renewal fee payment (event date is renewal date of database) |
Free format text: PAYMENT UNTIL: 20111119 Year of fee payment: 7 |
|
| FPAY | Renewal fee payment (event date is renewal date of database) |
Free format text: PAYMENT UNTIL: 20121119 Year of fee payment: 8 |
|
| FPAY | Renewal fee payment (event date is renewal date of database) |
Free format text: PAYMENT UNTIL: 20121119 Year of fee payment: 8 |
|
| FPAY | Renewal fee payment (event date is renewal date of database) |
Free format text: PAYMENT UNTIL: 20131119 Year of fee payment: 9 |
|
| LAPS | Cancellation because of no payment of annual fees |
