JP3617397B2 - 誘電体線路導波管変換器、誘電体線路接続構造、1次放射器、発振器および送信装置 - Google Patents

誘電体線路導波管変換器、誘電体線路接続構造、1次放射器、発振器および送信装置 Download PDF

Info

Publication number
JP3617397B2
JP3617397B2 JP35992999A JP35992999A JP3617397B2 JP 3617397 B2 JP3617397 B2 JP 3617397B2 JP 35992999 A JP35992999 A JP 35992999A JP 35992999 A JP35992999 A JP 35992999A JP 3617397 B2 JP3617397 B2 JP 3617397B2
Authority
JP
Japan
Prior art keywords
waveguide
dielectric
dielectric line
line
oscillator
Prior art date
Legal status (The legal status is an assumption and is not a legal conclusion. Google has not performed a legal analysis and makes no representation as to the accuracy of the status listed.)
Expired - Fee Related
Application number
JP35992999A
Other languages
English (en)
Other versions
JP2000244210A (ja
Inventor
宣匡 北森
和孝 東
透 谷崎
秀章 山田
貞夫 山下
Current Assignee (The listed assignees may be inaccurate. Google has not performed a legal analysis and makes no representation or warranty as to the accuracy of the list.)
Murata Manufacturing Co Ltd
Original Assignee
Murata Manufacturing Co Ltd
Priority date (The priority date is an assumption and is not a legal conclusion. Google has not performed a legal analysis and makes no representation as to the accuracy of the date listed.)
Filing date
Publication date
Application filed by Murata Manufacturing Co Ltd filed Critical Murata Manufacturing Co Ltd
Priority to JP35992999A priority Critical patent/JP3617397B2/ja
Publication of JP2000244210A publication Critical patent/JP2000244210A/ja
Application granted granted Critical
Publication of JP3617397B2 publication Critical patent/JP3617397B2/ja
Anticipated expiration legal-status Critical
Expired - Fee Related legal-status Critical Current

Links

Images

Landscapes

  • Waveguide Aerials (AREA)
  • Control Of Motors That Do Not Use Commutators (AREA)
  • Waveguide Connection Structure (AREA)
  • Waveguide Switches, Polarizers, And Phase Shifters (AREA)

Description

【0001】
【発明の属する技術分野】
この発明は、非放射性誘電体線路(以下、単に「誘電体線路」という。)と導波管との線路変換器、複数の誘電体線路同士の接続構造、誘電体線路と導波管を用いた1次放射器、発振器およびそれらを用いた送信装置に関するものである。
【0002】
【従来の技術】
マイクロ波帯やミリ波帯における高周波回路の線路として誘電体線路や導波管が用いられているが、両線路が混在する場合に誘電体線路と導波管との線路変換器が必要となる。そこで、従来は例えば(1) 特願平6−205424号に示されているように、誘電体線路の誘電体ストリップの先端をテーパー状にすると共に、導波管の端部をホーン状に広げて、誘電体線路と導波管との線路変換部を構成していた。
【0003】
また、多数の誘電体線路を用いて回路を構成する場合に、同一平面上で誘電体ストリップを配置するだけでなく、或る平面から他の平面へ信号の伝搬を行う構造が要求される。そこで、従来は(2) 特開平8−181502号に示されているように、複数の誘電体線路を重層立体交差させるべき交差点で導体板に孔を設け、誘電体ストリップをその孔に臨む位置で切断開放し、その開放端に対向して電波反射物を配置するようにしていた。
【0004】
また、ミリ波帯やマイクロ波帯の電磁波を送受波するアンテナ装置として、誘電体ストリップの端部に近接して、その延長線上に誘電体共振器を配置し、誘電体ストリップおよび誘電体共振器を挟む一方の導体板にスロットを形成することによって1次放射器を構成し、誘電体共振器の軸方向に誘電体レンズを配置したアンテナ装置が(3) 特開平8−316727号に示されている。
【0005】
【発明が解決しようとする課題】
ところが、(1) の誘電体線路導波管変換器の構造では、その線路変換部の誘電体ストリップの端面と、誘電体線路および導波管の金属部分を特殊な形状に加工する必要があった。また、誘電体線路と導波管の電磁波伝搬方向が直線状となるので回路設計上の自由度が低く、回路全体が大型化する場合があった。しかも、導波管としては矩形導波管を用いることになり、円形導波管に直接線路変換を行うことはできなかった。
【0006】
(2) の多段立体交差構造では、立体交差部に電波反射物を設けなければならず構造上複雑となり、製造が困難であった。
【0007】
さらに、(3) の誘電体線路を用いた1次放射器においては、誘電体共振器の特性上、1次放射器として用いることのできる周波数帯域が狭いという問題があった。
【0008】
この発明の目的は、上述の各種問題点を解消した誘電体線路導波管変換器、誘電体線路接続構造、1次放射器、発振器およびこれらを用いた送信装置を提供することにある。
【0009】
【課題を解決するための手段】
この発明の誘電体線路導波管変換器は、導波管の電磁波伝搬方向に対して略垂直方向に、当該導波管内に誘電体線路の誘電体の端部を一定量挿入して構成する。
この構造によれば、誘電体線路の誘電体部分の端部から軸方向への放射構造を用いていないため、不要な放射がなく、誘電体線路と導波管との線路変換を低損失で行うことができる。また、誘電体線路と導波管との電磁波伝搬方向が直交関係にあるので、回路構成上の設計上の自由度が高まり、全体に小型化を図ることができる。
【0011】
また、この発明の誘電体線路導波管変換器は、上記誘電体線路の平行導体面の一方を前記導波管の端面に連続させる。この構造により、誘電体線路と導波管との整合が容易にとれるようになる。
【0012】
また誘電体線路と導波管との線路変換部において、導波管の断面形状を部分的に異ならせる。このことによって、両線路の整合が容易にとれるようになる。
【0013】
この発明の誘電体線路接続構造は、上記誘電体線路導波管変換器における誘電体線路を複数個設けると共に、それぞれの誘電体ストリップの一部を上記導波管に挿入することによって構成する。すなわち各誘電体線路と導波管とによって誘電体線路導波管変換器を構成するので、複数の誘電体線路は導波管を介して接続されることになる。そのため、導波管に対する誘電体線路の誘電体ストリップの挿入位置(高さ)および方向を変えることによって、誘電体線路の多層化および伝搬方向の変換を容易に行えるようになる。
【0014】
この発明の1次放射器は、上記誘電体線路導波管変換器または誘電体線路接続構造における導波管の一方の端部を開口させて、その端面を開口面とする1次放射器を構成する。この構造により、誘電体線路を伝搬路とする1次放射器を容易に構成することができ、しかも広帯域特性を得ることができる。
【0015】
この発明の発振器は、上記導波管内に発振素子と結合導体とを備え、該結合導体が発振素子の発振出力信号を導出するとともに導波管の共振モードに結合していることを特徴としている。この構造により、発振素子の発振出力信号が導波管の共振モードを介して誘電体線路の伝搬モードに変換される。そのため、誘電体線路を介して発振信号を容易に伝送できるようになる。
【0016】
この発明の送信装置は、上記誘電体線路と導波管による1次放射器を設けたアンテナ装置とそのアンテナ装置に対する送信信号を発生する発振器とを備えて構成する。また、上記誘電体線路と導波管による発振器とその発振器の出力信号を送信するアンテナ装置とを設けて構成する。これにより、小型、低損失、および広帯域の送信装置が得られる。
【0017】
【発明の実施の形態】
この発明の第1の実施形態に係る誘電体線路導波管変換器の構成を図1〜図3を参照して説明する。
図1は誘電体線路導波管変換器の主要部の斜視図、図2は同変換器の構成を示す図であり(A)は上面図、(B)は(A)におけるB−B部分の断面図、(C)は(A)におけるC−C部分の断面図である。図2において1,2はそれぞれ導体板であり、誘電体ストリップ3をこの上下2つの導体板1,2の間に挟み込むように配置している。この誘電体ストリップ3と導体板1,2とによって非放射性誘電体線路(以下「NRDガイド」という。)を構成している。導体板1には内径φa、長さLの円筒状の孔を形成している。導体板2には誘電体ストリップ3の高さ寸法と同じ深さで内径がφaの凹部を形成している。導体板1,2を重ねた状態で、導体板1の孔と導体板2の凹部とによって円形の空洞導波管4を構成している。
【0018】
図1は上記空洞導波管4の内面とNRDガイドの誘電体ストリップ3との位置関係を示している。上記の構成により、図における上面を開口面とする円形空洞導波管の内部にNRDガイドの誘電体ストリップの端部が一定量挿入された構造となる。
【0019】
上記円形空洞導波管の内径φaは周波数帯に応じて規格化された値を用いる。例えば76GHz帯では、φa=2.8mmとする。図2の(B)に示す誘電体ストリップ3の導波管内部への挿入量Eは0.9mmとする。また誘電体ストリップ3の上面から導波管4の開口面までの長さLは1.0mmである。この長さLは導波管4の管内波長をλgとした時、(λg/4)・n(nは1以上の整数)とする。これにより導波管4の開口面から1/4波長分戻った、誘電体ストリップ3の上面が等価的に短絡面となり、NRDガイドの上部導体板の端部が導波管内で不連続となるのが解消されて、NRDガイドと導波管との整合が容易となる。
【0020】
図1において実線の矢印は電界分布、それに直交する破線は磁界分布をそれぞれ示している。上記NRDガイドの基本モードはLSM01モードであり、図1に示すように誘電体ストリップの電磁波伝搬方向に、上下の導体板に対して垂直方向に磁界が向くモードとなる。一方の円形空洞導波管の基本モードは円形TE11モードであり、図1に示すように、誘電体線路のLSM01モードの磁界と円形空洞導波管の円形TE11モードの磁界の向きが揃う方向に電磁界が分布することになる。このように誘電体線路のLSM01モードと円形空洞導波管のTE11モードとが電磁界結合して線路変換が行われる。
【0021】
図3はこの条件でNRDガイドからみた反射特性を示している。このように、誘電体ストリップの挿入量を適宜定めることによって、所定の周波数帯で低反射特性の下で誘電体線路と導波管との線路変換が行える。
【0022】
なお、図1および図2に示した構造では、誘電体ストリップ3を、導波管4内においてその一方の端面に接するように配置したが、設計によっては誘電体ストリップを導波管の端面から浮かせてもよい。
【0023】
次に整合調整手段を有する誘電体線路導波管変換器の例を図4および図5を参照して説明する。図4の(A)に示す例では、NRDガイドの誘電体ストリップ3の上部付近で、円形TE11モードの電界の向きに内径が狭くなるように導波管の内部に整合用突出部5を設ける。これにより、整合用突出部5を設けた部分のインピーダンスはNRDガイドのインピーダンスと導波管のインピーダンスとの中間値とすることができ、NRDガイドのインピーダンスと導波管4のインピーダンスとの整合を容易に図ることができる。
図4の(B)に示す例では、上記整合用突出部として、導波管内部への挿入量の調節可能なネジ6を設けたものである。このネジ6の調整によって最適な整合状態に調整可能となる。
【0024】
以上に示した各例では、導波管内へ挿入する誘電体ストリップの先端が、電磁波伝搬方向に垂直な面を成す形状としたが、他の形状であってもよい。図5は誘電体線路導波管変換器の平面図であるが、(A)に示すように、誘電体ストリップ3の先端をテーパー状の先細り形状にしたり、(B)に示すように、半円筒面形状にしてもよい。この誘電体ストリップ3の先端形状によって、導波管との整合を調整することができる。
【0025】
次に、第3の実施形態に係る誘電体線路導波管変換器の構成を図6に示す。図6の(A)は導波管の内壁面とNRDガイドの誘電体ストリップとの配置関係を示す斜視図、(B)は導波管の開口面側からみた平面図である。図1および図2に示した誘電体線路導波管変換器と異なり、導波管4部分を矩形空洞導波管としている。この導波管4の電磁波伝搬方向はNRDガイドの電磁波伝搬方向に対し垂直方向(図6の(A)において上面方向)である。この矩形導波管4の寸法a,bは、用いる周波数帯に応じて規格化された寸法に設計すればよい。図6において実線の矢印は電界分布、それに直交する破線は磁界分布をそれぞれ示している。NRDガイドの基本モードはLSM01モードであり、矩形導波管の基本モードは矩形TE10モードである。この例では、NRDガイドのLSM01モードの磁界の向きに沿って矩形TE10モードの磁界が向き、短辺方向に電界が向く。
【0026】
このように矩形空洞導波管を用いる場合も、導波管4内部への誘電体ストリップ3の挿入量と、誘電体ストリップ3の上面から導波管4の開口面までの長さ(高さ)とによってNRDガイドと導波管との整合を図る。また、第1の実施形態の場合と同様に、導波管4の内部に、その電界方向の幅を狭める整合用突出部を設けることによってNRDガイドと導波管との整合調整を行うようにしてもよい。
【0027】
次に第4の実施形態に係る誘電体線路接続構造を図7および図8を参照して説明する。
図7は2つの誘電体線路のそれぞれの誘電体ストリップ部分を通る断面図である。3a,3bはそれぞれ導体板1,2の間に挟み込むように配置した誘電体ストリップであり、これにより2つのNRDガイドを構成している。また、導体板1,2で囲まれる部分には円筒形状の空間部を設けていて、その空間部を円形空洞導波管4としている。この導波管4部分に2つの誘電体ストリップ3a,3bの端部を所定量だけ挿入している。この導波管とNRDガイドとの関係は図1に示した誘電体線路導波管変換器と同様であり、導波管部分を共用して2つの誘電体線路導波管変換器を組み合わせたものと等価である。但し、この場合一方の誘電体ストリップ3aから他方の誘電体ストリップ3bまでの距離Lは、誘電体ストリップ3aの図における上面と誘電体ストリップ3bの図における下面を等価的に接地電位として、導波管を介しての2つのNRDガイドの整合をとるように定める。この構造によって、異なった2つの層の間でNRDガイド同士を接続する。
【0028】
図8は、図7においてφa=2.8mm、L=1.1mm、H=1.8mm、E=0.4mmとし、上記2つのNRDガイドを入出力ポートとしてその2つのポート間の反射特性S11と透過特性S21を求めたものである。この例では、70〜75GHzの広帯域に亘って低い挿入損失特性が得られ、73GHz帯で最も反射損失が小さくなる。このようにして、所定の周波数帯で低反射低挿入損失の下で2つのNRDガイド同士を接続できるようになる。
【0029】
次に第5の実施形態に係る誘電体線路接続構造を図9および図10を参照して説明する。
図9は図7に示したと同じく、各誘電体ストリップ部分を通る断面図である。この例では、1つの導波管4部分に3つのNRDガイドの誘電体ストリップ3a,3b,3cをそれぞれ所定量だけ挿入している。この構造により2つの層で3つのNRDガイドを互いに接続した構造となる。図10は図9においてφa=2.8mm、L=1.1mm、H=1.8mm、E=0.4mmとし、上記3つのNRDガイドをそれぞれポートとして、S11,S21,S31のそれぞれの特性を示している。この例では78GHz帯でポート#1からみた反射が少なく且つポート#2およびポート#3への低挿入損失特性が得られる。
【0030】
図11および図12は第6の実施形態に係る誘電体線路接続構造およびその特性を示す図である。図11は図9に示したと同じく、各誘電体ストリップ部分を通る断面図である。この例では、1つの導波管4部分に3つのNRDガイドの誘電体ストリップ3a,3b,3cをそれぞれ所定量だけ挿入している。但し図9と異なり、3つの誘電体ストリップの位置(層)はそれぞれ異なっている。この構造により、3つの層で3つのNRDガイドを互いに接続した構造となる。図12は図10においてφa=2.8mm、L1=4.8mm、L2=1.1mm、H=1.8mm、E=0.4mmとし、上記3つのNRDガイドをそれぞれポートとして、S11,S21,S31のそれぞれの特性を示している。この例では75GHz帯でポート#1からみた反射が少なく、且つポート#1からポート#2への挿入損失が最も小さくなる。ポート#1からポート#3への挿入損失は、不整合によって、挿入損失が若干大きくなっているが、使用目的によっては充分に利用可能である。
【0031】
図7、図9、図11では、断面図として各誘電体ストリップの位置関係を示したが、平面的には図13に示すような配置関係とすることができる。図13の(A)では、2つの誘電体ストリップ3a,3bを平面図上で同一ラインに配置している。(B)の例では誘電体ストリップ3aと3bの互いの軸の交差角をθとして、電磁波伝搬方向をθだけ変換させる。また(C)の例では、3つの誘電体ストリップを互いに所定の角度関係に配置している。この(C)に示す導波管は円形TE11モードではなく、TE01モードを利用する。この円形TE01モードは電磁界分布が導波管の中心を中心とする回転対称形であるため、2つの誘電体ストリップの成す角度に関わらず一定の特性で接続できるようになる。
【0032】
次に第7の実施形態に係る誘電体線路接続構造を図14に示す。この例は円形空洞導波管4部分を上下2分割すると共に、そのフランジ部分にベアリングを設けてロータリジョイント構造としたものである。このような構造によれば、誘電体ストリップ3a,3bによる2つのNRDガイドの交差角θを360°自由に変えることが可能となる。なお、印加電圧によって電磁波の偏波面が回転するポーラライザを導波管4の内部に設け、上記交差角θに応じて、ポーラライザへの印加電圧を制御すれば、θに関わらず誘電体ストリップ3a,3bによる2つのNRDガイドのLSM01モードと導波管の円形TE11モードとを常に最適に結合させて、常に低挿入損失特性を得ることができる。
【0033】
次に、1次放射器の構成例を図15および図16を参照して説明する。図15は誘電体ストリップ3を長手方向に通る断面図である。この誘電体ストリップ3によるNRDガイドと導波管4部分の構成は図1および図2に示した誘電体線路導波管変換器と基本的に同一である。ここで導波管4は、図における上面を開口面とするホーンアンテナを構成している。図中の円形のパターンはその概略放射パターンを示している。図16は上記放射パターンの実測例を示したものである。このように、円形空洞導波管の一端を開口した構造により、半値角の比較的広いビームが形成される。
【0034】
図17は他の1次放射器の構成を示す断面図である。この例では、導波管部分の開口面にテーパー部を設けている。この構造により、一般に放射パターンは軸方向に長く、軸に垂直な方向に短くなる。そして、その放射パターンは上記テーパー部の傾きと長さによって制御することができる。このことにより、半値角の比較的狭い、高利得のアンテナ装置を構成することができる。
【0035】
図18はさらに他の1次放射器の構成を示す断面図である。この例では、導波管の開口部付近に誘電体ロッド7を設けている。この構成によれば、誘電体ロッドアンテナとして作用し、誘電体ロッド7の長さと先端部のテーパー形状によって放射パターンが定まる。この構造によれば、図17に示した構造よりさらに指向性を鋭くすることができる。
【0036】
以上に示した各例では、簡単な構造で小型の1次放射器を構成することができる。また従来のように誘電体共振器に結合させてスロットから放射させるようにしたものではないので、広帯域特性を得ることができる。
【0037】
図19は上記各種1次放射器を用いたアンテナ装置の構成を示す断面図である。図19において10は1次放射器、11は誘電体レンズである。誘電体レンズ11は1次放射器10の同軸上に設けている。この構造により、指向性をさらに高めて高利得を得ることができる。
【0038】
次に、偏波制御を行った1次放射器の例を図20に示す。図20の(A)は開口面からみた上面図、(B)は正面図である。円形空洞導波管とNRDガイドとの関係は図1,図2または図15に示したものと同様であるが、この例では、誘電体ストリップ3の軸方向に対し平面図における交差角が約45°となる方向に、導波管内部を突出させ、これを縮退分離素子8として設けている。この縮退素子8は、縮退関係にある2つのモードを生じさせて、電界と磁界の位相に差を持たせる。これにより円偏波(楕円偏波を含む)の電磁波の放射を行う。したがって、NRDガイドからLSM01モードの送信信号が伝搬されれば、円偏波の電磁波が放射される。また、円偏波の電磁波が入射した場合、アンテナの可逆定理により、受信信号がLSM01モードでNRDガイドを伝搬することになる。
【0039】
図21は偏波制御を行う他の1次放射器の構成を示す図である。この例では、導波管4の内部にポーラライザ12を設けている。このポーザライザ12は偏波面を所定角度旋回させるものであり、誘電体ストリップ3の向きによって定まる円形空洞導波管の円形TE11モードの偏波面がポーラライザ12によって旋回されて放射される。入射波はポーラライザ12により旋回されてNRDガイドのLSM01モードに結合する。
【0040】
図22は更に他の偏波制御を行う1次放射器の構成を示す図である。図22の(A)は放射面からみた上面図、(B)は断面図である。この例では、導波管4の開口面にスロット板13を設けている。スロット板13にはスロット14を形成している。このスロット14からはスロット14の短軸方向を電界の向きとする電磁波が放射されるので、スロット14の向き(傾き)を定めることによって、偏波面の向きを定めることができる。
【0041】
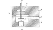
次に、誘電体線路導波管変換器を用いた発振器の例を図23に示す。図23において1,2は導体板であり、NRDガイドの上下の平行導体面および導波管4を構成する。ここでは導波管4は円形空洞共振器として用いる。誘電体ストリップ3の上下面は平行導体面の間に挟み込むように配置している。この図は、上下の導体板1,2および誘電体ストリップ3の軸方向に通る面での断面図であるので、NRDガイドの電磁波非伝搬領域は現れていないが、誘電体ストリップ3の両脇部分には空間部を設けていて、誘電体ストリップ3を電磁波伝搬領域とし、その両脇部分を電磁波非伝搬領域としている。導体板2にはガンダイオード16を取り付けていて、一方の端子を導体板2に接地し、他方の端子を突出させている。17は円板状の結合導体であり、ガンダイオード16の突出端子に取り付けている。また、18はガンダイオード16に対するバイアス電圧供給路であり、低誘電率の誘電体を介して、導体板1に設けた孔を通して取り付けている。この孔の途中部分には半径が管内波長の1/4の奇数倍の関係にある空洞部を設けて、これをトラップ19としている。
【0042】
この構成によって、ガンダイオード16の発振出力信号は結合導体17に導出され、結合導体17は導波管4による空洞共振器の共振モードを励振する。この空洞共振器の共振モードがNRDガイドのLSM01モードと結合して、そのモードで発振信号が伝搬されることになる。
【0043】
図24は他の発振器の構成を示す断面図である。図23と異なり、この図では、誘電体ストリップ3の端面が見える方向での断面図であり、空洞共振器としての導波管4の内部に温度補償用の誘電体20を設けている。この誘電体20の誘電率によって、導波管4による空洞共振器内の実効誘電率が定まるため、空洞共振器の共振周波数は温度補償用誘電体20の誘電率の変化によって変化する。したがって、ガンダイオード16の発振周波数の温度特性が安定するように、温度補償用誘電体20の誘電率温度特性を定めればよい。
【0044】
図25は更に他の発振器の構成を示す図であり、(A)は断面図、(B)は導波管内部の上面図である。この例では、空洞共振器としての導波管4の内部に回路基板21を配置している。この回路基板21には電極23と可変リアクタンス素子22およびこの可変リアクタンス素子22に対して制御電圧を供給する制御電圧供給路24を形成している。この制御電圧供給路24の途中にはスタブを設けていて、発振信号が制御電圧供給部側に回り込まないようにしている。電極23は結合導体17と電磁界結合するため、結局ガンダイオード16に対して可変リアクタンス素子のリアクタンス成分が装荷されたこととなる。したがって、可変リアクタンス素子22に対する制御電圧によってガンダイオード16の発振周波数を制御することができる。
【0045】
次に、ミリ波レーダに用いる送受波モジュールの例を図26に示す。図26においてVCOは図25に示した発振周波数可変のオシレータである。またアンテナは上記各種1次放射器のいずれかと誘電体レンズとにより構成する。図26においてVCOの出力信号はアイソレータ→カップラ→サーキュレータの経路でアンテナから送信され、アンテナで受信した信号がサーキュレータを介してミキサに供給される。またミキサはこの受信信号RXとカップラで分配したローカル信号Loとをミキシングして、送信信号と受信信号の周波数差を中間周波信号IFとして出力する。図外の制御回路はVCOの発振信号を変調すると共に、IF信号からターゲットまでの距離と相対速度を求める。
【0046】
次に、他の誘電体線路導波管変換器の例を図27を参照して説明する。
図27は誘電体線路導波管変換器の主要部の斜視図である。DWGで示す部分は導電性管内に誘電体を装荷(充填)した誘電体線路(DWG)である。4は円形の空洞導波管である。
【0047】
図27において実線の矢印は電界分布、それに直交する破線は磁界分布をそれぞれ示している。上記DWGの基本モードはTE01モードであり、図27に示すように、この誘電体線路の電磁波伝搬方向に、上下の導体面に対して垂直方向に磁界が向くモードとなる。一方の円形空洞導波管の基本モードは円形TE11モードであり、図27に示すように、DWGのTE01モードの磁界と円形空洞導波管の円形TE11モードの磁界の向きが揃う方向に電磁界が分布することになる。このように誘電体線路のTE01モードと円形空洞導波管のTE11モードとが電磁界結合して線路変換が行われる。
【0048】
図28は、図27に示した誘電体線路導波管変換器で用いたDWGの分散曲線と、図1に示した誘電体線路導波管変換器で用いたNRDガイドの分散曲線との比較例を示したものである。この図の(B)に示すように、NRDガイドでは、使用周波数帯である60GHz帯において平行平板モードが遮断されず、導波管との変換部付近では、主たる伝搬モードとして用いるLSM01モードから、スプリアスモードである平行平板モードに変換されて、平行平板モードが発生し易くなる。これに対して、図の(A)に示すように、DWGでは、使用周波数帯である60GHz帯においては、平行平板モードの位相定数βが0になる遮断周波数が、使用周波数帯である60GHzより高いため、使用周波数帯で平行平板モードは遮断され、平行平板モードの影響を受けない。
【0049】
次に、ミリ波レーダモジュールの構成例を図29〜図31を基に説明する。 図29は上部の導体板を取り除いた状態での上面図である。このミリ波レーダモジュールは、大別してオシレータ、アイソレータ、方向性結合器、サーキュレータ、ミキサ、1次放射器の各ユニットからなる。オシレータはガンダイオードによりミリ波信号を発生する。アイソレータは図に示すように3つの誘電体ストリップをポートとするサーキュレータの1つのポートに終端器を接続することによって構成している。すなわちオシレータからのミリ波信号を方向性結合器側へ伝搬させ、方向性結合器からの反射信号を終端器へ導くようにしている。方向性結合器はNRDガイドによる4つのポートを備え、所定の電力分配比で、ポート#1からの入力信号をポート#3とポート#4へ分配する。ポート#3からの信号はサーキュレータを経て0dBカプラへ出力される。
【0050】
この0dBカプラは、可動部が図に示す矢印方向に変位しても、可動部側に設けた誘電体ストリップと、固定部側の誘電体ストリップとの間が、常に略0dBの挿入損失で結合する結合器である。この0dBカプラの固定部側と可動部側の誘電体ストリップは、それぞれ上下の導体板で挟まれてNRDガイドを構成している。また、可動部側のNRDガイドはDWGに線路変換し、そのDWGと円形空洞導波管とで、図27に示したものと同様の誘電体線路導波管変換器を構成している。
上記円形空洞導波管の前方には、その軸方向に所定距離離れた位置に誘電体レンズを設けている。したがって、可動部の図に示す矢印方向に変位によって、アンテナの指向方向が変化する。
【0051】
サーキュレータからの送信信号はアンテナから所定指向方向のターゲットに向けて送波される。アンテナで受けたターゲットからの反射信号はサーキュレータを介してミキサに受信信号として入力される。一方、方向性結合器のポート#4からの信号がローカル信号としてミキサに入力され、ミキサは受信信号とローカル信号とをミキシングする。オシレータの信号がたとえば時間的に2値の周波数f1,f2をとる場合、2経路の経路差により生じる時間差に応じたf1−f2の周波数成分を持つIF信号が得られる。このIF信号を信号処理することによりターゲットまでの測距を行う。
図29に示したミリ波レーダモジュールのブロック図は図26に示したものと同様である。
【0052】
図30は上記NRDガイドとDWGとの線路変換部の構造を示している。(A)は主要部の全体の斜視図、(B)は(A)の上部の導体板を取り除いた状態での斜視図である。図30において1,2はそれぞれ導体板、3は誘電体ストリップである。図に示すように、上下の導体板1,2の間に誘電体ストリップ3を配置することによってNRDガイド、DWGおよびその間のTRで示す線路変換部を構成している。
【0053】
誘電体ストリップ3の高さおよび幅方向の寸法はNRDガイド、DWGおよび線路変換部TRのいずれにおいても一定である。NRDガイド部分において、上下の導体板の対向面(導体面)の間隔を誘電体ストリップ3の高さ寸法より狭い所定寸法に形成している。これによりLSM01モードの単一モードを伝搬するNRDガイドを構成している。DWG部分では、上下の導体板1,2を重ねた状態すなわち対向面の間隔がほぼ0となるようにしている。これにより誘電体装荷線路を構成している。
【0054】
線路変換部TRでは、上下の導体板1,2の対向面の間隔がNRDガイド部分からDWG部分にかけてテーパー状となるように、導体板の間隔を順次変化させている。この構造により線路変換部TRの入出力部分および途中での反射を低減し、線路変換器としての反射特性を良好に保っている。
【0055】
図31はミリ波レーダモジュールの1次放射器の反射特性を示す図、図32は上記1次放射器と誘電体レンズによるアンテナの利得特性を示す図であり、(A)は図29に示した構成による特性、(B)は図29に示した可動部の誘電体線路をNRDガイドで構成したときの特性をそれぞれ示している。このように、DWGを導波管モードに変換する1次放射器を用いれば、平行平板モードによる悪影響を受けないので、アンテナ利得の周期的な減衰がなく、良好なアンテナ特性を得ることができる。
【0056】
なお、各実施形態では導波管部分を空洞導波管として構成したが、この部分を空気以外の誘電体を充填した導波管としてもよい。
【0057】
また、各実施形態では、導波管の内部に誘電体線路の誘電体部分を所定量挿入した例を示したが、必ずしも「挿入」状態になくてもよく、導波管の内部にNRDガイドやDWG等の誘電体線路の誘電体部分が近接するように配置してもよい。
【0058】
【発明の効果】
請求項1に係る発明によれば、誘電体線路の誘電体ストリップ端部から軸方向への放射構造を用いていないため、不要な放射がなく、誘電体線路と導波管との線路変換を低損失で行うことができる。また、誘電体線路と導波管との電磁波伝搬方向が直交関係にあるので、回路構成上の設計上の自由度が高まり、全体に小型化を図ることができる。
【0060】
請求項2に係る発明によれば、誘電体線路の平行導体面の一方が前記導波管の端面に連続するため、誘電体線路と導波管とを容易に整合させることができる。
【0061】
請求項3に係る発明によれば、誘電体線路と導波管とを容易に整合させることができる。
【0062】
請求項4に係る発明によれば、各誘電体線路と導波管とによって誘電体線路導波管変換器を構成するので、複数の誘電体線路は導波管を介して接続されることになる。そのため、導波管に対する誘電体線路の誘電体ストリップの挿入位置(高さ)および方向を変えることによって、誘電体線路の多層化および伝搬方向の変換を容易に行えるようになる。
【0063】
請求項5に係る発明によれば、誘電体線路を伝搬路とする1次放射器を容易に構成することができ、しかも広帯域特性を得ることができる。
【0064】
請求項6に係る発明によれば、発振素子の発振出力信号が導波管の共振モードを介して誘電体線路の伝搬モードに変換される。そのため、誘電体線路を介して発振信号を容易に伝送できるようになる。
【0065】
請求項7,8に係る発明によれば、小型、低損失、および広帯域の送信装置が得られる。
【図面の簡単な説明】
【図1】誘電体線路導波管変換器の主要部の構成を示す斜視図
【図2】同誘電体線路導波管変換器の構成を示す図
【図3】同誘電体線路導波管変換器の特性図
【図4】整合調整手段を備えた誘電体線路導波管変換器の構成を示す図
【図5】整合調整を行った誘電体線路導波管変換器の構成を示す図
【図6】矩形導波管を用いた誘電体線路導波管変換器の主要部の構成を示す斜視図
【図7】誘電体線路接続構造の例を示す断面図
【図8】同誘電体線路接続構造の特性図
【図9】3ポートの誘電体線路接続構造の例を示す断面図
【図10】同誘電体線路接続構造の特性図
【図11】3ポートの誘電体線路接続構造の他の例を示す断面図
【図12】同誘電体線路接続構造の特性図
【図13】誘電体線路接続構造の平面図
【図14】入出力ポートの角度関係を可変とした誘電体線路接続構造の例を示す断面図
【図15】1次放射器の構成を示す断面図
【図16】図15に示す1次放射器の放射パターンを示す図
【図17】他の1次放射器の構成を示す断面図
【図18】更に他の1次放射器の構成を示す断面図
【図19】1次放射器を用いたアンテナ装置の構成を示す断面図
【図20】偏波制御手段を設けた1次放射器の構成を示す図
【図21】偏波制御手段を設けた1次放射器の構成を示す図
【図22】偏波制御手段を設けた1次放射器の構成を示す図
【図23】発振器の構成を示す断面図
【図24】発振器の構成を示す断面図
【図25】発振器の構成を示す断面図および上面図
【図26】送受波モジュールの構成を示すブロック図
【図27】誘電体線路導波管変換器の主要部の構成を示す斜視図
【図28】同変換器で用いる誘電体装荷線路DWGと、比較例としてのNRDガイドとの分散曲線を示す図
【図29】ミリ波レーダモジュールの構成を示す図
【図30】同ミリ波レーダモジュールで用いる線路変換部の構造を示す斜視図
【図31】同ミリ波レーダモジュールの1次放射器の反射特性と、その比較例を示す図
【図32】同ミリ波レーダモジュールのアンテナ利得特性と、その比較例を示す図
【符号の説明】
1,2−導体板
3−誘電体ストリップ
4−導波管
5−整合用突出部
6−ネジ
7−誘電体ロッド
8−縮退分離素子
10−1次放射器
11−誘電体レンズ
12−ポーラライザ
13−スロット板
14−スロット
16−ガンダイオード
17−結合導体
18−バイアス電圧供給路
19−トラップ
20−誘電体
21−回路基板
22−可変リアクタンス素子
23−電極
24−制御電圧供給路
NRD−非放射性誘電体線路
DWG−誘電体装荷線路

Claims (8)

  1. 非放射性誘電体線路と導波管との線路変換器であって、
    導波管の電磁波伝搬方向に対して略垂直方向に、当該導波管内に前記非放射性誘電体線路の誘電体の端部を一定量挿入して成る非放射性誘電体線路導波管変換器。
  2. 前記非放射性誘電体線路を、2つの平行導体面の間にストリップ状の誘電体を配して成る線路とし、該平行導体面の一方を前記導波管の端面に連続させた請求項1に記載の非放射性誘電体線路導波管変換器。
  3. 前記導波管の側壁の断面形状を部分的に異ならせて前記導波管と前記非放射性誘電体線路とを整合させた請求項1または2に記載の非放射性誘電体線路導波管変換器。
  4. 請求項1〜3のうちいずれかに記載の非放射性誘電体線路導波管変換器における非放射性誘電体線路を複数設けるとともに、それぞれの非放射性誘電体線路の誘電体を前記導波管に挿入して成り、非放射性誘電体線路同士を接続させる非放射性誘電体線路接続構造。
  5. 請求項1〜3のうちいずれかに記載の非放射性誘電体線路導波管変換器または請求項4に記載の非放射性誘電体線路接続構造における導波管の一方端を開口させて成る1次放射器。
  6. 請求項1〜3のうちいずれかに記載の非放射性誘電体線路導波管変換器または請求項4に記載の非放射性誘電体線路接続構造における導波管内に発振素子と、結合導体とを設け、該結合導体は前記発振素子の発振出力信号を導出するとともに前記導波管の共振モードに結合することを特徴とする発振器。
  7. 請求項5に記載の1次放射器を設けたアンテナ装置と、該アンテナ装置に対する送信信号を発生する発振器とを備えて成る送信装置。
  8. 請求項6に記載の発振器と、該発振器の出力信号を送信するアンテナ装置とを設けて成る送信装置。
JP35992999A 1998-12-25 1999-12-17 誘電体線路導波管変換器、誘電体線路接続構造、1次放射器、発振器および送信装置 Expired - Fee Related JP3617397B2 (ja)

Priority Applications (1)

Application Number Priority Date Filing Date Title
JP35992999A JP3617397B2 (ja) 1998-12-25 1999-12-17 誘電体線路導波管変換器、誘電体線路接続構造、1次放射器、発振器および送信装置

Applications Claiming Priority (3)

Application Number Priority Date Filing Date Title
JP36993298 1998-12-25
JP10-369932 1998-12-25
JP35992999A JP3617397B2 (ja) 1998-12-25 1999-12-17 誘電体線路導波管変換器、誘電体線路接続構造、1次放射器、発振器および送信装置

Related Child Applications (1)

Application Number Title Priority Date Filing Date
JP2003394467A Division JP2004120792A (ja) 1998-12-25 2003-11-25 導波管変換構造、導波管接続構造、1次放射器、発振器および送信装置

Publications (2)

Publication Number Publication Date
JP2000244210A JP2000244210A (ja) 2000-09-08
JP3617397B2 true JP3617397B2 (ja) 2005-02-02

Family

ID=26581039

Family Applications (1)

Application Number Title Priority Date Filing Date
JP35992999A Expired - Fee Related JP3617397B2 (ja) 1998-12-25 1999-12-17 誘電体線路導波管変換器、誘電体線路接続構造、1次放射器、発振器および送信装置

Country Status (1)

Country Link
JP (1) JP3617397B2 (ja)

Families Citing this family (3)

* Cited by examiner, † Cited by third party
Publication number Priority date Publication date Assignee Title
KR100815154B1 (ko) * 2007-02-27 2008-03-19 한국전자통신연구원 도파관 구조를 가지는 위성통신 다중대역 안테나의 급전장치
JP2011254418A (ja) * 2010-06-04 2011-12-15 Toko Inc 空洞導波管と誘電体導波管の接続構造
JP6446331B2 (ja) 2015-06-08 2018-12-26 日立オートモティブシステムズ株式会社 扁平ビーム生成アンテナを有するセンサ

Family Cites Families (8)

* Cited by examiner, † Cited by third party
Publication number Priority date Publication date Assignee Title
JPS6157701U (ja) * 1984-09-19 1986-04-18
JPH02199903A (ja) * 1989-01-27 1990-08-08 Chubu Nippon Hoso Kk 誘電体伝送路
KR960036200A (ko) * 1995-03-31 1996-10-28 배순훈 이중 편파 수신용 평면 안테나의 구조
JP3412353B2 (ja) * 1995-08-31 2003-06-03 株式会社村田製作所 非放射性誘電体線路部品の特性測定用治具および非放射性誘電体線路部品の特性測定方法
JP3442920B2 (ja) * 1995-11-17 2003-09-02 株式会社日立国際電気 Nrdガイド円偏波アンテナ
JPH11308021A (ja) * 1998-04-23 1999-11-05 Nec Corp 高周波パッケージの接続構造
JP3723687B2 (ja) * 1998-06-29 2005-12-07 京セラ株式会社 Nrdガイドと誘電体導波管との接続構造
JP3899187B2 (ja) * 1998-06-30 2007-03-28 新日本無線株式会社 非放射性誘電体ガイド回路

Also Published As

Publication number Publication date
JP2000244210A (ja) 2000-09-08

Similar Documents

Publication Publication Date Title
CA2292064C (en) Line transition device between dielectric waveguide and waveguide, and oscillator and transmitter using the same
US7642979B2 (en) Wave-guide-notch antenna
EP0871239B1 (en) Antenna device and radar module
JP3473576B2 (ja) アンテナ装置および送受信装置
US7212087B2 (en) Twisted waveguide and wireless device
JP3186622B2 (ja) アンテナ装置および送受信装置
EP0817394B1 (en) Transmitter-receiver
US6133887A (en) Antenna device, and transmitting/receiving unit
EP0996189A2 (en) Dielectric line converter, dielectric line unit, directional coupler, high-frequency circuit module, and transmitter-receiver
CA2256283C (en) Non radiative dielectric waveguide having a portion for line conversion between different types of non radiative dielectric waveguides
EP0969545B1 (en) Directional coupler, antenna device, and transceiver
JP3617397B2 (ja) 誘電体線路導波管変換器、誘電体線路接続構造、1次放射器、発振器および送信装置
JP3485054B2 (ja) 異種非放射性誘電体線路変換部構造およびその装置
JP2004120792A (ja) 導波管変換構造、導波管接続構造、1次放射器、発振器および送信装置
JP3259637B2 (ja) 送受信装置
US5216433A (en) Polarimetric antenna
EP0997975A2 (en) Antenna apparatus, and antenna and transceiver using the same
KR102565090B1 (ko) 릿지 도파관 슬롯 안테나
JPH1065413A (ja) 誘電体線路型方向性結合器

Legal Events

Date Code Title Description
A131 Notification of reasons for refusal

Free format text: JAPANESE INTERMEDIATE CODE: A131

Effective date: 20040727

A521 Written amendment

Free format text: JAPANESE INTERMEDIATE CODE: A523

Effective date: 20040915

TRDD Decision of grant or rejection written
A01 Written decision to grant a patent or to grant a registration (utility model)

Free format text: JAPANESE INTERMEDIATE CODE: A01

Effective date: 20041019

A61 First payment of annual fees (during grant procedure)

Free format text: JAPANESE INTERMEDIATE CODE: A61

Effective date: 20041101

R150 Certificate of patent or registration of utility model

Free format text: JAPANESE INTERMEDIATE CODE: R150

FPAY Renewal fee payment (event date is renewal date of database)

Free format text: PAYMENT UNTIL: 20071119

Year of fee payment: 3

FPAY Renewal fee payment (event date is renewal date of database)

Free format text: PAYMENT UNTIL: 20081119

Year of fee payment: 4

FPAY Renewal fee payment (event date is renewal date of database)

Free format text: PAYMENT UNTIL: 20091119

Year of fee payment: 5

FPAY Renewal fee payment (event date is renewal date of database)

Free format text: PAYMENT UNTIL: 20101119

Year of fee payment: 6

FPAY Renewal fee payment (event date is renewal date of database)

Free format text: PAYMENT UNTIL: 20101119

Year of fee payment: 6

FPAY Renewal fee payment (event date is renewal date of database)

Free format text: PAYMENT UNTIL: 20111119

Year of fee payment: 7

FPAY Renewal fee payment (event date is renewal date of database)

Free format text: PAYMENT UNTIL: 20111119

Year of fee payment: 7

FPAY Renewal fee payment (event date is renewal date of database)

Free format text: PAYMENT UNTIL: 20121119

Year of fee payment: 8

FPAY Renewal fee payment (event date is renewal date of database)

Free format text: PAYMENT UNTIL: 20121119

Year of fee payment: 8

FPAY Renewal fee payment (event date is renewal date of database)

Free format text: PAYMENT UNTIL: 20131119

Year of fee payment: 9

LAPS Cancellation because of no payment of annual fees