JP3193725U - 椅子の座部の改良構造及びその椅子 - Google Patents
椅子の座部の改良構造及びその椅子 Download PDFInfo
- Publication number
- JP3193725U JP3193725U JP2014004186U JP2014004186U JP3193725U JP 3193725 U JP3193725 U JP 3193725U JP 2014004186 U JP2014004186 U JP 2014004186U JP 2014004186 U JP2014004186 U JP 2014004186U JP 3193725 U JP3193725 U JP 3193725U
- Authority
- JP
- Japan
- Prior art keywords
- seat
- chair
- seat portion
- base
- posture
- Prior art date
- Legal status (The legal status is an assumption and is not a legal conclusion. Google has not performed a legal analysis and makes no representation as to the accuracy of the status listed.)
- Expired - Lifetime
Links
- 210000005069 ears Anatomy 0.000 claims description 9
- 239000000945 filler Substances 0.000 abstract description 11
- 208000002193 Pain Diseases 0.000 abstract description 4
- 208000032140 Sleepiness Diseases 0.000 abstract description 4
- 206010041349 Somnolence Diseases 0.000 abstract description 4
- 230000037321 sleepiness Effects 0.000 abstract description 4
- 208000008035 Back Pain Diseases 0.000 abstract description 3
- 230000001939 inductive effect Effects 0.000 abstract 2
- 239000010410 layer Substances 0.000 description 10
- 210000001217 buttock Anatomy 0.000 description 5
- 230000000694 effects Effects 0.000 description 4
- 210000000278 spinal cord Anatomy 0.000 description 4
- 239000004744 fabric Substances 0.000 description 3
- 210000002414 leg Anatomy 0.000 description 3
- 230000002040 relaxant effect Effects 0.000 description 3
- 210000001032 spinal nerve Anatomy 0.000 description 3
- 206010033799 Paralysis Diseases 0.000 description 2
- 239000010985 leather Substances 0.000 description 2
- 230000003902 lesion Effects 0.000 description 2
- 239000000463 material Substances 0.000 description 2
- 230000003387 muscular Effects 0.000 description 2
- 210000000056 organ Anatomy 0.000 description 2
- 206010039897 Sedation Diseases 0.000 description 1
- 230000017531 blood circulation Effects 0.000 description 1
- 230000037396 body weight Effects 0.000 description 1
- 230000004087 circulation Effects 0.000 description 1
- 239000011247 coating layer Substances 0.000 description 1
- 239000002131 composite material Substances 0.000 description 1
- 230000006835 compression Effects 0.000 description 1
- 238000007906 compression Methods 0.000 description 1
- 208000027744 congestion Diseases 0.000 description 1
- 230000017525 heat dissipation Effects 0.000 description 1
- 238000012986 modification Methods 0.000 description 1
- 230000004048 modification Effects 0.000 description 1
- 210000003205 muscle Anatomy 0.000 description 1
Images
Abstract
【課題】背筋を伸ばした姿勢で長時間腰かけても疲れることなく、背中や腰のだるさ、痛みを招くことなく、眠気を誘うこともなく、かつ背筋を伸ばした姿勢を保つのに適した座部であり、またはリラックスして腰かけることができる座部でもあり、使用者の身長などに合わせて傾斜角度を調整し、背筋を伸ばした姿勢を保つのに適した座部とすることのできる椅子の座部の改良構造及びその椅子を提供する。
【解決手段】上面を座面とし、充填材と被覆層とによってなる座部本体10と、椅子に設けられて該座部本体を支持するベース座20と、を含んでなる椅子の座部において、該座部本体の座面が約30度から60度に傾斜し、該ベース座が該座部本体を揺動自在に支持する支持部材21を具える。
【選択図】図1
【解決手段】上面を座面とし、充填材と被覆層とによってなる座部本体10と、椅子に設けられて該座部本体を支持するベース座20と、を含んでなる椅子の座部において、該座部本体の座面が約30度から60度に傾斜し、該ベース座が該座部本体を揺動自在に支持する支持部材21を具える。
【選択図】図1
Description
この考案は、椅子の座部の改良構造と、該座部を応用した椅子に関する。
従来の椅子の座部は、スポンジなどによるクッション層を布などで被覆してなる。係る座部は、人体の臀部が接触すると、軟らかい感触、快適感が得られる。このため臀部がある程度の時間、過度に圧迫を受けて血液循環の不良を招き、筋肉のだるさ、麻痺、痛みなどを感じることがない。
上述するように、一時的には筋肉のだるさ、麻痺、痛みなどを防ぐことができるが、やはり長時間にわたって座部に接触すると、腰や背中のだるさを招く。係る現象は、例えばデスクワークを行う事務員などにおいて、共通の経験となっている。その原因は、椅子に掛ける姿勢が正しくなく、係る状態で椅子に座る時間が長くなると人体の背中、脊髄を湾曲させ、時間が長くなると腰や背中のだるさ、痛みを招き、甚だしくは病変する。
一般に、椅子の座部は水平の状態を保つように取り付けられている。よって、椅子に長時間掛ける場合は、背筋、腰を伸ばした姿勢を保つことによって腰や背中のだるさ、痛みを防ぐことができる。但し、一般的に言えば、人は腰かけた姿勢を取っていると、頭部が前方へと徐々に移動する。身体も前方へと徐々に移動する。このため、猫背になってくる。このような正しくない姿勢を長時間継続すると、脊髄の位置がずれて脊髄神経を圧迫する。脊髄神経は身体の各主要な器官に情報を伝達する。但し、圧迫を受けた脊髄神経は効率よく情報を伝達することができない。このため器官の作動に影響を与える。
上述するように、椅子に掛ける場合正しい姿勢を保つことの重要性は周知のことであるが、正しい姿勢を保つことのできる者は少ない。その原因を考えるに、椅子の座部の不良が主な原因となっている。よって、正しい姿勢を保つための配慮を設計上に施した座部の改良が望まれている。
この考案は、背筋を伸ばした姿勢で長時間腰かけても疲れることなく、背中や腰のだるさ、痛みを招くことなく、眠気を誘うことのない椅子の座部の改良構造を提供することを課題とする。
また、この考案は、背筋を伸ばした姿勢を保つのに適した座部であり、またはリラックスして腰かけることができる座部でもある椅子の座部の改良構造及びその椅子を提供することを課題とする。
また、この考案は使用者の身長などに合わせて傾斜角度を調整し、背筋を伸ばした姿勢を保つのに適した座部とすることのできる椅子の座部の改良構造及びその椅子を提供することを課題とする。
そこで、本考案者は従来の椅子に見られる欠点に鑑み鋭意研究を重ねた結果、上面を座面とし、充填材と被覆層とによってなる座部本体と、椅子に設けられて該座部本体を支持するベース座と、を含んでなる椅子の座部において、該座部本体の座面が約30度から60度に傾斜し、該ベース座が支該座部本体を揺動自在に支持する支持部材を具える椅子の座部によって課題を解決できる点に着眼し、係る知見に基づいて本考案を完成させた。以下この考案について説明する。
請求項1に記載する椅子の座部は、上面を座面とし、充填材と被覆層とによってなる座部本体と、椅子に設けられて該座部本体を支持するベース座と、を含んでなる椅子の座部であって、該座部本体の座面が約30度から60度に傾斜し、該ベース座が支該座部本体を揺動自在に支持する支持部材を具える。
請求項2に記載する椅子の座部は、請求項1における座部本体の両側面にそれぞれ凹溝を形成し、かつ該凹溝に凸耳を回動自在に設け、該支持部材が該凹耳を回動自在に支持する板体である。
請求項3に記載する椅子の座部は、請求項1における座部本体の座面に複数の凸部を一体に形成する。
請求項4に記載する椅子の座部は、請求項1におけるベース座の上面が平面状を呈する。
請求項5に記載する椅子の座部は、請求項1におけるベース座の前半部が平面上を呈し、後半部は前半部より低い段差面を形成する。
請求項6に記載する椅子の座部は、請求項1におけるベース座に支持柱が接続する。
請求項7に記載する椅子の座部は、請求項1における座部を具える椅子が4本の支持脚を具え、かつ該椅子の前方には座部傾斜角調整手段を設け、該座部傾斜角調整手段が上下に昇降して該座部本体の底部前端に当接して該座部本体の傾斜角度を調整する。
この考案は、背筋を伸ばした姿勢で長時間腰かけても疲れることなく、背中や腰のだるさ、痛みを招くことなく、眠気を誘うこともなく、かつ背筋を伸ばした姿勢を保つのに適した座部であり、またはリラックスして腰かけることができる座部でもあり、使用者の身長などに合わせて傾斜角度を調整し、背筋を伸ばした姿勢を保つのに適した座部とすることのできる椅子の座部の改良構造及びその椅子を提供するものであって、その構造は、上面を座面とし、充填材と被覆層とによってなる座部本体と、椅子に設けられて該座部本体を支持するベース座と、を含んでなる椅子の座部において、該座部本体の座面が約30度から60度に傾斜し、該ベース座が支該座部本体を揺動自在に支持する支持部材を具える。係る椅子の座部の改良構造について、その特徴を詳述するために、具体的な実施例を挙げ、図面を参照にして以下に説明する。
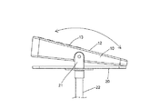
この考案による椅子の座部の改良構造は、図1、2、3に開示するように、座部本体10と、ベース座20とを含んでなる。座部本体10は腰かける際に臀部が接触する部位であって、充填材11と、被覆層12によってなり、座面に複数の凸部13を一体に形成する。充填材11は、柔軟な材質によってなるクッション層であって、被覆層12は充填材11を被覆してなり、通常は布、もしくは皮革によってなる。
ベース座20は座部本体10を支持し、座部本体10が椅子の座部になる。
この考案による座部を応用した椅子は、支持柱22を具える。支持柱22は油圧シリンダであってもよい。
また、座部本体10には、両側面から凹溝14をそれぞれ形成し、かつ凹溝14に凸耳15を回動自在に設ける。ベース座20の上面は平面状にする。
ベース座20は支持部材21を具え、支持部材21によって座部本体10を支持する。支持部材は両側面にそれぞれ設ける板体であって、座部本体10の凸耳15を回動自在に支持し、座部本体10は支持部材21によって自在に揺動運動を行うことができる。
座部本体10は、座面が傾斜していて、その傾斜角度は約30度から60度である。即ち、座部本体10は後端部の厚さが前端部より厚い。
本考案による座部、及び該座部を具える椅子は上述する構造を有し、図4、6に開示するように座部本体10の凸耳15をベース座20の支持部材21で回動自在に支持するとともに、座部本体10とベース座20の上面との間に所定の間隙を形成する。
この考案による座部を応用した椅子は、傾斜下座面の前半部に腰かけると、座部本体10の座面が前方に向かって傾斜する。よって、身体のバランスを取るために背筋を伸ばした姿勢となり、係る背筋を伸ばした姿勢を長時間維持することができる。このため、時間が経っても疲れることなく、腰や背中の痛み、だるさが発生することなく、居眠りを誘うこともない。
図5、7に開示する状態は、座部本体10の傾斜した座面の後半部に腰かけ、座部本体10が水平に近くなった状態である。この場合、快適感が得られリラックスすることができる。このようにリラックスすることで、長時間にわたり継続してコンピュータのディスプレーを見たり、読書したりすることが避けられる。
第2の実施の形態は、図1、2、8、9、10に開示するように、座部本体10とベース座30とを同様に含む。座部本体10は腰かける際に臀部が接触する部位であって、充填材11と、被覆層12によってなり、座面に複数の凸部13を一体に形成する。充填材11は、柔軟な材質によってなるクッション層であって、被覆層12は充填材11を被覆してなり、通常は布、もしくは皮革によってなる。
ベース座30は座部本体10を支持し、座部本体10が椅子の座部になる。
この考案による座部を応用した椅子は、支持柱32を具える。支持柱32は油圧シリンダであってもよい。
また、座部本体10には、両側面から凹溝14をそれぞれ形成し、かつ凹溝14に凸耳15を回動自在に設ける。ベース座30の上面は平面状にする。
ベース座30は、前半部が平面状を呈し、後半部は前半部より低い段差面301を形成するとともに、支持部材31を具え、支持部材31によって座部本体10を支持する。支持部材は両側面にそれぞれ設ける板体であって、座部本体10の凸耳15を回動自在に支持し、座部本体10は支持部材31によって自在に揺動運動を行うことができる。
座部本体10は、座面が傾斜していて、その傾斜角度は約30度から60度である。即ち、座部本体10は後端部の厚さが前端部より厚い。
図10、11、12、13に開示するように、ベース座30は、前半部の平面上の部分が後半部の段差面301より高くなっている。よって、座部本体10の傾斜した座部の後半部に腰かけると、座部本体10の座面は水平に近い状態となる。即ち、通常の椅子の水平な座部と同様であって、この場合、快適感が得られリラックスすることができる。このようにリラックスすることで、長時間にわたり継続してコンピュータのディスプレーを見たり、読書したりすることが避けられる。
第3の実施の形態は、図14に開示するように座部は座部本体10とベース座40とを含んでなり、ベース座40は座部本体10を支持し、座部本体10が椅子43の座部になる。
また、座部本体10には、両側面から凹溝14をそれぞれ形成し、かつ凹溝14に凸耳15を回動自在に設ける。座部本体10の座面には複数の凸部13を一体に形成する。
ベース座40は支持部材41を具え、支持部材41によって座部本体10を支持する。支持部材41は両側面にそれぞれ設ける板体であって、座部本体10の凸耳15を回動自在に支持し、座部本体10は支持部材41によって自在に揺動運動を行うことができる。
座部本体10は、座面が傾斜していて、その傾斜角度は約30度から60度である。即ち、座部本体10は後端部の厚さが前端部より厚い。
上述する座部を応用した椅子43は、4本の支持脚42を具える。また、椅子43の前方には座部傾斜角調整手段44を設ける。座部傾斜角調整手段44は上下に昇降可能で、座部本体10の底部前端に当接して座部本体10の傾斜角度を調整する。よって、椅子の使用者の身長などに適合させることができる。座部傾斜角調整手段44は、空圧シリンダで高さを調整するものであってもよい。
この考案による座部の改良構造及びその椅子は、次に掲げる長所を具える。即ち、座部本体10の座面が前方に向かって傾斜していることから、該傾斜面に腰かけた場合、上半身が前傾姿勢になる。よって、身体のバランスを取るために、腰、背中、脊髄を常に伸ばすことになる。したがって座部本体に長時間腰かけていても、背筋が伸びた姿勢を維持し、猫背にはならない。即ち、姿勢を矯正し、脊髄が側面に湾曲して変形したり、病変したりすることを防ぎ、腰や背中の痛み、だるさを招かないという利点がある。
また、座部本体10に複合材料を使用した場合、快適なクッションを提供することができ、臀部のうっ血、もしくは血行不良の発生率を減少させるという効果を有する。
また、座部本体10の座面に複数の凸部13を一体に形成することによって、圧力を緩和し、放熱の効果が得られ、長時間にわたって腰かけても支障を与えないという効果を有する。
座部本体10の座面の傾斜角度が30度から60度であることから、腰かけて体重による荷重位置を前後に調整することが容易である。即ち座面の角度、座部本体10の厚さに合わせて最適の位置に調整することができる。このため背筋を伸ばした姿勢で腰かけることができるとともに、リラックスして掛けることもでき、使用上の利便性が得られるという利点を有する。
調整部材44を上下に移動させることによって、座部本体10の底面前端に当接し、座部本体10の傾斜角度の調整が可能になる。このため使用者の身長などに合わせて適宜に調整することができるという利点を有する。
以上はこの考案の好ましい実施の形態であって、この考案の実施の範囲を限定するものではない。よって、当業者の成し得る修正、もしくは変更などであって、この考案の精神の下においてなされ、この考案に対して均等の効果を有するものは、いずれもこの考案の実用新案登録請求の範囲に含まれるものとする。
10 座部本体
11 充填材
12 被覆層
13 凸部
14 凹溝
15 凸耳
20 ベース座
21 支持部材
22 支持柱
30 ベース座
301 段差面
31 支持部材
32 支持柱
40 ベース座
41 支持部材
42 支持脚
43 椅子
44 座部傾斜角調整手段
11 充填材
12 被覆層
13 凸部
14 凹溝
15 凸耳
20 ベース座
21 支持部材
22 支持柱
30 ベース座
301 段差面
31 支持部材
32 支持柱
40 ベース座
41 支持部材
42 支持脚
43 椅子
44 座部傾斜角調整手段
Claims (7)
- 上面を座面とし、充填材と被覆層とによってなる座部本体と、椅子に設けられて該座部本体を支持するベース座と、を含んでなる椅子の座部であって、
該座部本体の座面が約30度から60度に傾斜し、
該ベース座が支該座部本体を揺動自在に支持する支持部材を具えることを特徴とする椅子の座部。 - 前記座部本体の両側面にそれぞれ凹溝を有し、かつ該凹溝に凸耳を回動自在に設け、該支持部材は該凸耳を回動自在に支持する板体であることを特徴とする請求項1に記載の椅子の座部。
- 前記座部本体の座面には一体に形成される複数の凸部を有することを特徴とする請求項1に記載の椅子の座部。
- 前記ベース座の上面は平面状を呈することを特徴とする請求項1に記載の椅子の座部。
- 前記ベース座の前半部は平面上を呈し、後半部は前半部より低い段差面を有することを特徴とする請求項1に記載の椅子の座部。
- 前記ベース座には支持柱が接続することを特徴とする請求項1に記載の椅子の座部。
- 前記座部を具える椅子は4本の支持脚を具え、かつ該椅子の前方には座部傾斜角調整手段を有し、該座部傾斜角調整手段が上下に昇降し該座部本体の底部前端に当接して該座部本体の傾斜角度を調整可能にすることを特徴とする請求項1に記載の椅子の座部。
Publications (1)
| Publication Number | Publication Date |
|---|---|
| JP3193725U true JP3193725U (ja) | 2014-10-16 |
Family
ID=
Similar Documents
| Publication | Publication Date | Title |
|---|---|---|
| CN201958277U (zh) | 一种多段式椅背框架 | |
| KR101666765B1 (ko) | 마스크와 안장이 구성된 휴대용 인체받침대 | |
| CN101011204A (zh) | 一种矫姿保健坐椅 | |
| CN200994588Y (zh) | 一种矫姿保健坐椅 | |
| CN107095503A (zh) | 一种具有调节功能的座椅靠背装置 | |
| CN206197526U (zh) | 便于产妇舒适哺乳的座椅 | |
| CN214760132U (zh) | 一种三段式弹性护腰结构椅 | |
| JP3193725U (ja) | 椅子の座部の改良構造及びその椅子 | |
| CN209171726U (zh) | 一种适用于急性腰痛患者的可调节办公座椅 | |
| TWM539286U (zh) | 背墊 | |
| CN207136618U (zh) | 一种多功能椅 | |
| JPH11239526A (ja) | 角度調節できる椅子用クッション | |
| CN207270149U (zh) | 一种自适应调整人体工学腰靠 | |
| CN213247875U (zh) | 办公椅 | |
| TWM546757U (zh) | 可調整曲度之椅具結構 | |
| CN213940214U (zh) | 一种方便调节角度的办公椅 | |
| CN215126350U (zh) | 一种正姿座椅的椅背结构及支撑部结构 | |
| TWI830518B (zh) | 坐墊塑形調節構造 | |
| JP2006095262A (ja) | クッション | |
| JP3190962U (ja) | 座椅子 | |
| JP2025536838A (ja) | 椅子用クッションにおける成形調節構造 | |
| JP3209985U (ja) | 調整式の背凭れ及びシート | |
| JP3130289U (ja) | 人体工学を具えた椅子脚の構造 | |
| GB2530580A (en) | Sunlounger | |
| TWM668609U (zh) | 舒背椅具 |