JP3153298U - 玩具軌道用連結構造及び玩具軌道装置 - Google Patents

玩具軌道用連結構造及び玩具軌道装置 Download PDF

Info

Publication number
JP3153298U
JP3153298U JP2009002572U JP2009002572U JP3153298U JP 3153298 U JP3153298 U JP 3153298U JP 2009002572 U JP2009002572 U JP 2009002572U JP 2009002572 U JP2009002572 U JP 2009002572U JP 3153298 U JP3153298 U JP 3153298U
Authority
JP
Japan
Prior art keywords
track
piece
claw
pin
toy
Prior art date
Legal status (The legal status is an assumption and is not a legal conclusion. Google has not performed a legal analysis and makes no representation as to the accuracy of the status listed.)
Expired - Lifetime
Application number
JP2009002572U
Other languages
English (en)
Inventor
長坂 好造
好造 長坂
克美 柿▲崎▼
克美 柿▲崎▼
正 流石
正 流石
Current Assignee (The listed assignees may be inaccurate. Google has not performed a legal analysis and makes no representation or warranty as to the accuracy of the list.)
Tomy Co Ltd
Original Assignee
Tomy Co Ltd
Priority date (The priority date is an assumption and is not a legal conclusion. Google has not performed a legal analysis and makes no representation as to the accuracy of the date listed.)
Filing date
Publication date
Application filed by Tomy Co Ltd filed Critical Tomy Co Ltd
Priority to JP2009002572U priority Critical patent/JP3153298U/ja
Application granted granted Critical
Publication of JP3153298U publication Critical patent/JP3153298U/ja
Anticipated expiration legal-status Critical
Expired - Lifetime legal-status Critical Current

Links

Images

Landscapes

  • Toys (AREA)

Abstract

【課題】玩具軌道に特に上方からの過大な外力がかかった場合に、連結部が結合を解除させることによって、軌道の損傷を防止することが可能な玩具軌道用連結構造及び玩具軌道装置を提供すること。【解決手段】軌道片とは別体に構成された連結部材を備え、各軌道片の端部下面には、爪部材及びピンが下方に向けて立設され、連結部材の上壁には、爪部材の全体が上側から挿入可能な爪部材挿入孔と、ピンを端部側から受容可能なスリットとピンを嵌合する嵌合部を有するスナップリング状の弾性嵌合片とが設けられ、爪部材には、相手側軌道片側に位置する先端部に円弧状に形成された係止爪が相手側軌道片に向けて延設され、ピンがスリットを押し拡げて前記嵌合部に嵌合した状態で、係止爪が連結部材の上壁の下側に潜り込んで該上壁の下面に当接するように構成されている。【選択図】図3

Description

本考案は、軌道片を互いに連結する玩具軌道用連結構造及び玩具軌道装置に関するものである。
車両玩具を走行させるための玩具軌道装置には、複数の軌道要素(軌道片)を連結して軌道全体を構成するものがある(例えば、特許文献1)。
この特許文献1の玩具軌道用連結構造は、連結を強固なものとするために、各軌道要素の端部に連結用突起又は他の軌道要素の連結用突起を受け入れる連結用凹部を設け、前記連結用凹部に他の連結要素の連結用突起を入れた時その連結用突起の先端部に当接してこれを固定する爪を形成し、且つ、連結用突起の軌道側縁に近い方の外縁部に凹部を形成し、連結用凹部に他の軌道用突起を入れた時その突起の凹部が当接する部位に凸部を形成したものである。
特開平10−295947号公報
ところで、玩具軌道装置にあっては、幼児等が誤って玩具軌道を踏みつけたり、手をついたりする場合がある。このような状況では、特に上方からの外力の場合が多いが、この場合、上方からの外力に対して連結が強固であると軌道を損傷する虞がある。
本考案は、このような実情に鑑みなされたもので、玩具軌道に特に上方からの過大な外力がかかった場合に、連結部が結合を解除させることによって、軌道の損傷を防止することが可能な玩具軌道用連結構造及び玩具軌道装置を提供することを目的とする。
請求項1の考案は、互いに連結すべき2つの軌道片とは別体に構成された連結部材を備え、各軌道片の端部下面には、爪部材及びピンが下方に向けて立設され、前記連結部材の上壁には、前記爪部材の全体が上側から挿入可能な爪部材挿入孔と、前記ピンを端部側から受容可能なスリットが形成され前記スリットに連設され前記ピンを嵌合する嵌合部を有するスナップリング状の弾性嵌合片とが設けられ、前記爪部材には、相手側軌道片側に位置する先端部に、前記軌道片の側面から視た場合に、該軌道片の下面から前記連結部材の上壁の厚み分離間した位置を起点とし先端までに亘って円弧状に形成された係止爪が相手側軌道片に向けて延設され、前記ピンが前記スリットを押し拡げて前記嵌合部に嵌合した状態で、前記係止爪が前記連結部材の上壁の下側に潜り込んで該上壁の下面に当接するように構成されていることを特徴とする玩具軌道用連結構造である。
請求項2の考案は、互いに連結すべき2つの軌道片のうちの一方に一体的に形成された連結部材を備え、前記他方の軌道片の端部下面には、爪部材及びピンが下方に向けて立設され、前記連結部材の上壁には、前記爪部材の全体が上側から挿入可能な爪部材挿入孔と、前記ピンを端部側から受容可能なスリットが形成され前記スリットに連設され前記ピンを嵌合する嵌合部を有するスナップリング状の弾性嵌合片とが設けられ、前記爪部材には、前記一方の軌道片側に位置する先端部に、前記他方の前記軌道片の側面から視た場合に、該他方の軌道片の下面から前記連結部材の上壁の厚み分離間した位置を起点とし先端までに亘って円弧状に形成された係止爪が前記一方の軌道片に向けて延設され、前記ピンが前記スリットを押し拡げて前記嵌合部に嵌合した状態で、前記係止爪が前記連結部材の上壁の下側に潜り込んで該上壁の下面に当接するように構成されていることを特徴とする玩具軌道用連結構造である。
請求項3の考案は、請求項1又は2に記載の玩具軌道用連結構造において、前記爪部材における前記係止爪よりも後ろ側の下縁は、該係止爪から該係止爪が立設されている軌道片の下面に向けて傾斜していることを特徴とする。
請求項4の考案は、請求項1〜3のいずれか1項に記載の玩具軌道用連結構造において、前記爪部材は、軌道片の幅方向に互いに離間して2つ立設され、前記ピンはそれらの爪部材の間に1つ設けられていることを特徴とする。
請求項5の考案は、請求項1〜4のいずれか1項に記載の玩具軌道用連結構造を持つことを特徴とする玩具軌道装置である。
請求項6の考案は、請求項5の玩具軌道装置において、前記連結部材が玩具用軌道を所定高さに保持するための支柱に設けられていることを特徴とする。
請求項1及び請求項2の考案によれば、軌道片に上方からの過大な負荷が作用した場合には、係止爪の円弧状部分が連結部材の上壁下面を滑って軌道片が連結部材から離反されるので、軌道を損傷する虞はない。
請求項3の考案によれば、傾斜面が軌道片の爪部材を連結部材の爪部材挿入孔に挿入させる際にガイドとしての役割を果たすので、爪部材の挿入が容易になり、かつ、軌道片を連結部材から離反させる際にもその離反が容易になる。
請求項4の考案によれば、軌道片に横方向の外力が作用した場合に、ピンを中心として爪部材が回動されるが、その際に、両爪部材が連結部材のそれぞれの爪部材挿入孔の側壁に当たってそれ以上の移動を阻止するので、軌道片の横方向の移動が確実に阻止される。
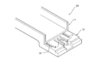
本考案に係る玩具軌道用連結構造を備えた玩具軌道装置を概念的に示した斜視図である。 図2における上り坂軌道における自動車玩具上昇装置を概念的に示した断面図である。 本考案に係る玩具軌道用連結構造を示した分解斜視図である。 図3におけるIV−IV線断面図である。 図3におけるV−V線断面図である。 軌道片を連結部材に連結する動作を示した断面図である。 本考案に係る玩具軌道用連結構造を示した一部切欠き斜視図である。 転結された軌道片に負荷がかかった場合の作用を示した断面図である。 本考案に係る玩具軌道用連結構造の他の実施形態を示した斜視図である。
以下に、本考案に係る玩具軌道用連結構造及び玩具軌道装置の一実施の形態を、図面を参照しながら説明する。
図1に示す玩具軌道装置1は、自動車玩具Aをエンドレスに走行させるもので、支柱2に螺旋状に設置された下り坂軌道3aと、下り坂軌道3aの最上部へ自動車玩具を導くための上り坂軌道3bと、下り坂坂軌道3aの下端と上り坂軌道3bの下端とを接続する水平軌道3cとを備えている。上り坂軌道3bでは、図2に示すように、軌道4の底部に駆動ローラ5が設置され、上部に自動車玩具Aのルーフをばね力によって押圧するローラ6が設置されている。自動車玩具Aは、それらのローラ対に挟まれて上方へ移送され、次のローラ対に順次受け渡されて上昇し、上り坂軌道3bを上る。
この玩具軌道装置1の軌道は、後述する軌道片を玩具軌道用連結構造10によって互いに連結させて構成されている。
第1実施形態の玩具軌道用連結構造10は、図3に示すように、互いに連結すべき2つの軌道片11とは別体の連結部材12を備え、連結部材12を介して2つの軌道片11が連結される。この玩具軌道用連結構造10は、下り坂軌道3aや上り坂軌道3bを構成する軌道片同士の連結、下り坂軌道3a及び上り坂軌道3bと水平軌道3cとの連結にも付いている。
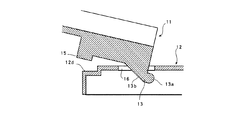
軌道片11は、底壁11a及び側壁11bによって走路を形成している。底壁11aの端部下面には、下方に向けて2つの爪部材13が所定の間隔をもって立設されている。爪部材13は、図4に示すように、底壁11aの下面から連結部材12の上壁12aの厚みtだけ離間した位置を起点として前方(相手方軌道片)に向けて円弧状に張り出す係止爪13aを備えている。爪部材13の後部は、係止爪13aの下端から底壁11aに向けて傾斜し、傾斜面13bを構成している。
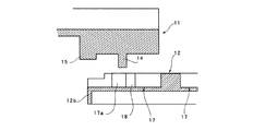
軌道片11における両爪部材13の中間には、軌道片11の端から内方に入った部分に下方に向けて1つのピン14が立設されている。また、底壁11aの下面におけるピン14よりも後方に幅方向に延びる凸条15が下方に向けて立設されている。
連結部材12は、上壁12a,端壁12b,側壁12cによって下方に開口する箱状に形成されている。上壁12aの各半部には、上記爪部材13が挿入される2つの爪部材挿入孔16がそれぞれ形成され、それらの爪部材挿入孔16の間に弾性嵌合片17がそれぞれ形成されている。ただし、各半部に形成される爪部材挿入孔16は、図3に示すように、互いにオフセットされた位置に形成されている。また、この連結部材12の上壁12aの両側には、段部が形成されている。この段部の下段面12dには軌道片11の凸条15が載置される。
弾性嵌合片17は、ピン14と係合するもので、端部側(相手軌道片側)に開口しピン14を受容可能なスリット17aを備えている。このスリット17aの奥(内側)には、円弧状の凹部によって画成されピン14と嵌合可能な嵌合部18が形成されている。すなわち、弾性嵌合片17はスナップリング状に形成されている。なお、嵌合部18を挟んでスリット17aの反対側にもスリットを形成すれば、より弾性変形がし易くなる。
このように構成された玩具軌道用連結構造10では、図6に示すように、軌道片11を少し傾けた状態で連結部材12の爪部材挿入孔16に軌道片11の爪部材13の先端部の係止爪13aを挿入する。その際、軌道片11の傾きが小さい場合や軌道片11を真上から挿入した場合、途中で、爪部材13の傾斜面13bが爪部材挿入孔16の縁部に当接することがある。この場合、爪部材13の傾斜面13bは、爪部材挿入孔16の縁部に対して摺動して爪部材13全体を爪部材挿入孔16内に案内する働きをする。
爪部材13が爪部材挿入孔16に挿入されと、ピン14が弾性嵌合片17の端部に押し付けられる。そして、弾性嵌合片17の端部にはスリット17aが形成されているので、ピン14によってスリット17aが押し拡げられ、スリット17aにピン14が受容される。さらに、爪部材13が爪部材挿入孔16に挿入されると、ピン14は嵌合部18まで導かれる。そして、ピン14がある程度嵌合部18に入ったところで、弾性嵌合片17は弾性によって元の形状に戻ろうとする。この力によって、ピン14は弾性係合片17の嵌合部18内に飲み込まれて、自動的に、ピン14と嵌合部18とは完全に嵌合する。これによって、軌道片11の自動的に位置決めがなされる。
また、この時、係止爪13aは、図7及び図8に示すように、連結部材12の上壁12aの下側に潜り込んで上壁12aの下面に当接した状態となる。これによって、軌道片11の使用中の浮きが防止される。、
他方の軌道片11も同様にして連結部材12に組み付けられる。両軌道片11が連結部材12に組み付けられたときには、両軌道片11の端部は互いに突き当たる。
この玩具軌道用連結構造10によれば、軌道片11に小さい負荷が図8の矢印方向にかかった場合には、凸条15の下端を支点として爪部材13が上方に移動しようとするが、係止爪13aが連結部材12の上壁12aに当たっているので、その移動は阻止される。一方、軌道片11に過大な負荷が図8の矢印方向にかかった場合には、係止爪13aの円弧状面が連結部材12の上壁12aの下面を滑って軌道片11が連結部材12から取り外される。
また、軌道を分解するために、軌道片11を連結部材12から取り外す場合には、軌道片11の端部を連結部材12に対して離反する方向に移動させれば、軌道片11を連結部材12から容易に取り外すことができる。
図9は、本考案に係る玩具軌道用連結構造の他の実施形態を示している。
この玩具軌道用連結構造20は、図1の玩具用軌道装置1の水平軌道3cを構成する軌道片同士の連結に使用されている。
この玩具軌道用連結構造20は、上記実施形態の連結部材12を一方の軌道片11に一体化して設けたものである。この実施形態では、連結部材12には、相手側軌道片11を結合するための爪部材挿入孔16,弾性嵌合片17等の各要素が形成されている。したがって、図10において、上記実施形態における各要素を同一の符号を付すことによって説明を省略する。
なお、相手方軌道片11は図1から図8に示す軌道片11とほぼ同様なのでそれの図示及び説明は省略する。
1 玩具軌道装置
2 支柱
4 玩具軌道
10 玩具軌道用連結構造
11 軌道片
12 連結部材
12a 上壁
13 爪部材
13a 係止爪
13b 傾斜面
14 ピン
16 爪部材挿入孔
17 弾性嵌合片
17a スリット
18 嵌合部

Claims (6)

  1. 互いに連結すべき2つの軌道片とは別体に構成された連結部材を備え、各軌道片の端部下面には、爪部材及びピンが下方に向けて立設され、前記連結部材の上壁には、前記爪部材の全体が上側から挿入可能な爪部材挿入孔と、前記ピンを端部側から受容可能なスリットが形成され前記スリットに連設され前記ピンを嵌合する嵌合部を有するスナップリング状の弾性嵌合片とが設けられ、前記爪部材には、相手側軌道片側に位置する先端部に、前記軌道片の側面から視た場合に、該軌道片の下面から前記連結部材の上壁の厚み分離間した位置を起点とし先端までに亘って円弧状に形成された係止爪が相手側軌道片に向けて延設され、前記ピンが前記スリットを押し拡げて前記嵌合部に嵌合した状態で、前記係止爪が前記連結部材の上壁の下側に潜り込んで該上壁の下面に当接するように構成されていることを特徴とする玩具軌道用連結構造。
  2. 互いに連結すべき2つの軌道片のうちの一方に一体的に形成された連結部材を備え、前記他方の軌道片の端部下面には、爪部材及びピンが下方に向けて立設され、前記連結部材の上壁には、前記爪部材の全体が上側から挿入可能な爪部材挿入孔と、前記ピンを端部側から受容可能なスリットが形成され前記スリットに連設され前記ピンを嵌合する嵌合部を有するスナップリング状の弾性嵌合片とが設けられ、前記爪部材には、前記一方の軌道片側に位置する先端部に、前記他方の前記軌道片の側面から視た場合に、該他方の軌道片の下面から前記連結部材の上壁の厚み分離間した位置を起点とし先端までに亘って円弧状に形成された係止爪が前記一方の軌道片に向けて延設され、前記ピンが前記スリットを押し拡げて前記嵌合部に嵌合した状態で、前記係止爪が前記連結部材の上壁の下側に潜り込んで該上壁の下面に当接するように構成されていることを特徴とする玩具軌道用連結構造。
  3. 前記爪部材における前記係止爪よりも後ろ側の下縁は、該係止爪から該係止爪が立設されている軌道片の下面に向けて傾斜していることを特徴とする請求項1又は2に記載の玩具軌道用連結構造。
  4. 前記爪部材は、軌道片の幅方向に互いに離間して2つ立設され、前記ピンはそれらの爪部材の間に1つ設けられていることを特徴とする請求項1〜3のいずれか1項に記載の玩具軌道用連結構造。
  5. 請求項1〜4のいずれか1項に記載の玩具軌道用連結構造を持つことを特徴とする玩具軌道装置。
  6. 前記連結部材が玩具用軌道を所定高さに保持するための支柱に設けられていることを特徴とする請求項5に記載の玩具軌道装置。
JP2009002572U 2009-04-21 2009-04-21 玩具軌道用連結構造及び玩具軌道装置 Expired - Lifetime JP3153298U (ja)

Priority Applications (1)

Application Number Priority Date Filing Date Title
JP2009002572U JP3153298U (ja) 2009-04-21 2009-04-21 玩具軌道用連結構造及び玩具軌道装置

Applications Claiming Priority (1)

Application Number Priority Date Filing Date Title
JP2009002572U JP3153298U (ja) 2009-04-21 2009-04-21 玩具軌道用連結構造及び玩具軌道装置

Publications (1)

Publication Number Publication Date
JP3153298U true JP3153298U (ja) 2009-09-03

Family

ID=54857545

Family Applications (1)

Application Number Title Priority Date Filing Date
JP2009002572U Expired - Lifetime JP3153298U (ja) 2009-04-21 2009-04-21 玩具軌道用連結構造及び玩具軌道装置

Country Status (1)

Country Link
JP (1) JP3153298U (ja)

Cited By (1)

* Cited by examiner, † Cited by third party
Publication number Priority date Publication date Assignee Title
JP2023136663A (ja) * 2022-03-17 2023-09-29 株式会社アガツマ 球体走行路玩具

Cited By (1)

* Cited by examiner, † Cited by third party
Publication number Priority date Publication date Assignee Title
JP2023136663A (ja) * 2022-03-17 2023-09-29 株式会社アガツマ 球体走行路玩具

Similar Documents

Publication Publication Date Title
US5803651A (en) Double locking connector
US8695181B2 (en) Buckle
JP4426291B2 (ja) ガイドタブ及びガイドタブを組み込んだスライド
US7648214B2 (en) Positioning device for drawer slide bearing carrier
KR102443475B1 (ko) 차량 도어 체커
JP2010511993A (ja) コネクタ位置保証装置およびそれを組み込んだコネクタアセンブリ
US6364562B1 (en) Tiltable sunshade
US20100289255A1 (en) Insertable tube system for a vacuum cleaner
JP2001074015A (ja) クリップ
JP6438360B2 (ja) コネクタ及びコネクタ組立体
US9496646B2 (en) Posture holding lever type connector
US6769156B1 (en) Zipper hand with puller fixed function
US7669298B2 (en) Buckle assembly
CN100548172C (zh) 带系紧器
US9125476B2 (en) Clip assembly and electronic device including the same
KR101154685B1 (ko) 고정구
JP3153298U (ja) 玩具軌道用連結構造及び玩具軌道装置
US7181813B2 (en) Low-profile heavy-duty buckle
US7198498B2 (en) Card connector
CN106608243A (zh) 双侧按钮式安全带高度调节器
US6513207B2 (en) Belt connecting device
JP2012180915A (ja) クリップ
CN100360821C (zh) 三段式滑轨定位装置
US7261576B2 (en) Card connector
CN100515278C (zh) 滑轨轴承载件定位装置

Legal Events

Date Code Title Description
R150 Certificate of patent or registration of utility model

Free format text: JAPANESE INTERMEDIATE CODE: R150

FPAY Renewal fee payment (event date is renewal date of database)

Free format text: PAYMENT UNTIL: 20120812

Year of fee payment: 3

FPAY Renewal fee payment (event date is renewal date of database)

Free format text: PAYMENT UNTIL: 20120812

Year of fee payment: 3

FPAY Renewal fee payment (event date is renewal date of database)

Free format text: PAYMENT UNTIL: 20130812

Year of fee payment: 4

R250 Receipt of annual fees

Free format text: JAPANESE INTERMEDIATE CODE: R250

R250 Receipt of annual fees

Free format text: JAPANESE INTERMEDIATE CODE: R250

R250 Receipt of annual fees

Free format text: JAPANESE INTERMEDIATE CODE: R250

R250 Receipt of annual fees

Free format text: JAPANESE INTERMEDIATE CODE: R250

R250 Receipt of annual fees

Free format text: JAPANESE INTERMEDIATE CODE: R250

R250 Receipt of annual fees

Free format text: JAPANESE INTERMEDIATE CODE: R250

EXPY Cancellation because of completion of term