JP3128317U - 男子小便器 - Google Patents

男子小便器 Download PDF

Info

Publication number
JP3128317U
JP3128317U JP2006008577U JP2006008577U JP3128317U JP 3128317 U JP3128317 U JP 3128317U JP 2006008577 U JP2006008577 U JP 2006008577U JP 2006008577 U JP2006008577 U JP 2006008577U JP 3128317 U JP3128317 U JP 3128317U
Authority
JP
Japan
Prior art keywords
urinal
receiving portion
water
standing wall
urination
Prior art date
Legal status (The legal status is an assumption and is not a legal conclusion. Google has not performed a legal analysis and makes no representation as to the accuracy of the status listed.)
Expired - Lifetime
Application number
JP2006008577U
Other languages
English (en)
Inventor
勝子 脇部
Current Assignee (The listed assignees may be inaccurate. Google has not performed a legal analysis and makes no representation or warranty as to the accuracy of the list.)
Individual
Original Assignee
Individual
Priority date (The priority date is an assumption and is not a legal conclusion. Google has not performed a legal analysis and makes no representation as to the accuracy of the date listed.)
Filing date
Publication date
Application filed by Individual filed Critical Individual
Priority to JP2006008577U priority Critical patent/JP3128317U/ja
Application granted granted Critical
Publication of JP3128317U publication Critical patent/JP3128317U/ja
Anticipated expiration legal-status Critical
Expired - Lifetime legal-status Critical Current

Links

Images

Landscapes

  • Bidet-Like Cleaning Device And Other Flush Toilet Accessories (AREA)
  • Sanitary Device For Flush Toilet (AREA)

Abstract

【課題】尿の飛散防止をより確実に実現することができる男子小便器を提供する。
【解決手段】男子小便器10は、前方が開口された立ち壁部12と、立位姿勢の放尿高さ位置に設けられる、上方が開口された受け部14と、水洗機構16とを有する。受け部14の内部に、立体的人造装飾物である例えば水盤上に配置される草花の像20が設けられる。また、立ち壁部12の前方、受け部14の上方には、小便小僧の像21が設けられる。草花の像20は、放尿する際のターゲットとすることができる。水洗機構16の水出口24が草花の像20の任意の複数本に設けられ、水が受け部14の内部に流出する。
【選択図】図1

Description

本考案は、水洗用男子小便器に関するものである。
水洗用男子小便器(以下、これを単に男子小便器ということがある。)は、一般に、陶器製のほぼ箱型形状である。男子小便器は、尿が当たる壁面となる前方が開口された立ち壁部と、立ち壁部の最下部位置で立ち壁部から水平方向に延出され、上方が開口された、受け部と、水洗機構とが設けられる。水洗機構は、センサが人の移動を感知して水配管の開閉弁を制御し、通常、立ち壁部の最上部位置に設けられた水出口から流出した水が、立ち壁部を膜状に垂下し、小便器内を洗浄した後、受け部に接続して設けられる排出部から排出される。
男子小便器は、意匠的な工夫がなされるとともに、便器の洗浄効果、節水効果等種々の機能面での工夫も多々なされている。
これらの機能面での工夫のなかでも重要なもののひとつが、尿の飛散防止に関するものである。
尿の飛散防止を図ることを目的として、便器内にターゲットを設けて、このターゲットに向けて放尿することで尿の飛散を防止しようとするアイデアが多く見られる(例えば特許文献1参照)。しかしながら、この場合、小便器の利用者が必ずターゲットに向けて放尿するとは限らず、また、ターゲットに向けて放尿したとしても尿の跳ね返りを防止する抜本的な対策とはならない。
このため、受け部の形状等の工夫が種々なされており、例えば、受け部にキャップ状の飛散防止具を延出することが提案されている(特許文献2参照)。
特開2002−121807号公報 特開2006−249747号公報
しかしながら、上記特許文献2のような受け部の工夫を行ったとしても、便器利用者の立位姿勢での放尿位置は、通常、受け部からかなり離れた高い位置にあるため、勢いよく落下する尿が受け部に到達するまでに飛散してしまい、尿の飛散防止を確実に実現するには必ずしも十分ではないと考えられる。
本考案は、上記の課題に鑑みてなされたものであり、尿の飛散防止をより確実に実現することができる男子小便器を提供することを目的とする。
本考案に係る男子小便器は、前方が開口された立ち壁部と、該立ち壁部の下方位置で該立ち壁部から水平方向に延出され、上方が開口された受け部と、水洗機構とを有する男子小便器において、該受け部を立位姿勢の放尿高さ位置に設けるとともに、該受け部内部に立体的人造装飾物を設けてなることを特徴とする。
また、本考案に係る男子小便器は、前記立体的人造装飾物が水盤上に配置される草花の像であることを特徴とする。
また、本考案に係る男子小便器は、前記立体的人造装飾物の複数の位置に前記水洗機構の水出口を設けてなることを特徴とする。
本考案に係る男子小便器は、受け部を立位姿勢の放尿高さ位置に設けるため、受け部を立位姿勢の足の高さ位置に設ける従来のものと比べて、尿の飛散をより確実に防止することができる。そして、このとき、受け部内部に立体的人造装飾物を設けるため、立位姿勢の放尿高さ位置に、言い換えれば至近位置に通常の受け部を設けたときに生じうる、例えば圧迫感等の違和感を緩和することができ、さらには立体的人造装飾物が放尿のターゲットともなりうる。
また、本考案に係る男子小便器は、立体的人造装飾物の複数の位置に水洗機構の水出口を設けるため、従来のような尿が落下する立ち壁部を含めて広範囲を洗浄する必要のない小便器において、洗浄を必要とする受け部のみを効率的に洗浄することができる。
本考案に係る男子小便器の実施の形態について図1および図2を参照して説明する。
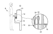
図1に正面図および図2に側面図を示す本考案に係る男子小便器10は、前方が開口された立ち壁部12と、立ち壁部12の下方の、利用者(図2中、矢印Aで示す。)の立位姿勢の放尿高さ位置に設けられるとともに立ち壁部12から水平方向に延出され、上方が開口された受け部14と、水洗機構16とを有する。男子小便器10は、排水管(図示せず。)が収容される支持柱18によって自立した構造となっている。ただし、これに限らず、男子小便器10を建造物等の壁面に接して設けて、壁面で男子小便器10を支持する構造であってもよい。
男子小便器10は、さらに、受け部14の内部に、例えば水盤上に配置される草花の像20が設けられる。ただし、これに限らず、本考案の課題を達成できるものであれば、例えば玩具模型等の適宜の形状の立体的人造装飾物であってもよい。これらの立体的人造装飾物は、例えば彩色を施した陶器製であってもよく、あるいはまた、樹脂や金属等の適宜の材料で形成したものであってもよい。立体的人造装飾物に彩色を施すとき、例えば、感温塗料を用いて、温度によって色が変わるようにしておいてもよい。また、図1および図2、男子小便器10の立ち壁部12の前方、受け部14の上方には、小便小僧の像21が設けられる。
水洗機構16の水供給配管22は、例えば草花の像20の任意の複数本の内部に延出され、水出口24から水が受け部14の内部に流出する構成となっている。草花の像20に水出口24を設ける位置や水出口24の個数等は、洗浄効果や水の飛散の可能性等を考慮して適宜設定することができる。このとき、水出口24から流出する水を適度の圧力に保持する。ただし、これに限らず、通常の男子小便器のように、立ち壁部12の上方に水洗機構16の水出口を設けてもよい。
なお、男子小便器10を利用した後、男子小便器10の内部を洗浄するために水洗機構16を動作させる方式としては、適宜のものを採用することができ、例えば、センサ駆動型であってもよく、また、押しボタン駆動型であってもよい。
本考案に係る男子小便器10は、受け部12を立位姿勢の放尿高さ位置に設けるため、受け部を立位姿勢の足の高さ位置に設ける従来のものと比べて、尿の飛散をより確実に防止することができる。そして、このとき、受け部12の内部に立体的人造装飾物として草花の像20を設けるため、意匠性に優れ、立位姿勢の放尿高さ位置に通常の受け部を設けたときに生じうる、例えば圧迫感等の違和感を緩和し、さらには親近感をも得ることもできる。また、さらには、立体的人造装飾物が放尿のターゲットともなり、尿の飛散をより確実に防止することができる。
また、本考案に係る男子小便器10は、草花の像20の複数の位置に水洗機構の水出口を設けるため、従来のような尿が落下する立ち壁部を含めて広範囲を洗浄する必要のない小便器において、洗浄を必要とする受け部のみを効率的に洗浄することができる。
本考案に係る男子小便器の正面図である。 本考案に係る男子小便器の側面図である。
符号の説明
10 男子小便器
12 立ち壁部
14 受け部
16 水洗機構
18 支持柱
20 草花の像
21 小便小僧の像
22 水供給配管

Claims (3)

  1. 前方が開口された立ち壁部と、該立ち壁部の下方位置で該立ち壁部から水平方向に延出され、上方が開口された受け部と、水洗機構とを有する男子小便器において、
    該受け部を立位姿勢の放尿高さ位置に設けるとともに、該受け部内部に立体的人造装飾物を設けてなることを特徴とする男子小便器。
  2. 前記立体的人造装飾物が水盤上に配置される草花の像であることを特徴とする請求項1記載の男子小便器。
  3. 前記立体的人造装飾物の複数の位置に前記水洗機構の水出口を設けてなることを特徴とする請求項1または2記載の男子小便器。
JP2006008577U 2006-10-22 2006-10-22 男子小便器 Expired - Lifetime JP3128317U (ja)

Priority Applications (1)

Application Number Priority Date Filing Date Title
JP2006008577U JP3128317U (ja) 2006-10-22 2006-10-22 男子小便器

Applications Claiming Priority (1)

Application Number Priority Date Filing Date Title
JP2006008577U JP3128317U (ja) 2006-10-22 2006-10-22 男子小便器

Publications (1)

Publication Number Publication Date
JP3128317U true JP3128317U (ja) 2007-01-11

Family

ID=43279365

Family Applications (1)

Application Number Title Priority Date Filing Date
JP2006008577U Expired - Lifetime JP3128317U (ja) 2006-10-22 2006-10-22 男子小便器

Country Status (1)

Country Link
JP (1) JP3128317U (ja)

Similar Documents

Publication Publication Date Title
US10415222B2 (en) Hygienic toilet with washing and drying means
CN105917055A (zh) 水冲式坐便器
US8060952B2 (en) Odor removal system and overflow safety system for toilets
JP2012026252A (ja) 圧縮空気の吹き出しによる洋式便器の飛沫防止。
JP3128317U (ja) 男子小便器
JP2010037903A (ja) 洋式便器
JP2007314975A (ja) 洋風便器装置
KR200455687Y1 (ko) 여성용 수세식 변기
CA2574050C (en) Urinal with hygienic sprinkler
JP3170105U (ja) 男子用水洗小便器
CN102619263A (zh) 一种鱼尾式自动排放多级防臭节水座便器
CN100557152C (zh) 一体化机械全自动节水蹲便器
CN2721731Y (zh) 组合式便器
CN103912049A (zh) 节水型全自动智能座便器
CN2469076Y (zh) 气水混冲式密闭坐便器
KR200438551Y1 (ko) 악취제거 및 그의 역류방지를 위한 양변기
US20170130440A1 (en) Bidet-O-Let
JP2007167599A (ja) 男性用小型便器収納便座
JP2002322716A (ja) 水洗式便器
KR20160033487A (ko) 냄새 없는 절수형 소변기
KR200245917Y1 (ko) 대소변 겸용 일체형 용변기
CN2575184Y (zh) 可调排污管的节水卫生便器
CN217759143U (zh) 一种防溅尿蹲便器
KR200426389Y1 (ko) 소변 튐 방지용 보조기구가 구비된 좌변기
JP3153178U (ja) はね上げ式水洗小便器

Legal Events

Date Code Title Description
R150 Certificate of patent or registration of utility model

Free format text: JAPANESE INTERMEDIATE CODE: R150

FPAY Renewal fee payment (event date is renewal date of database)

Free format text: PAYMENT UNTIL: 20091213

Year of fee payment: 3

S531 Written request for registration of change of domicile

Free format text: JAPANESE INTERMEDIATE CODE: R323531

FPAY Renewal fee payment (event date is renewal date of database)

Free format text: PAYMENT UNTIL: 20091213

Year of fee payment: 3

R360 Written notification for declining of transfer of rights

Free format text: JAPANESE INTERMEDIATE CODE: R360

FPAY Renewal fee payment (event date is renewal date of database)

Free format text: PAYMENT UNTIL: 20091213

Year of fee payment: 3

R370 Written measure of declining of transfer procedure

Free format text: JAPANESE INTERMEDIATE CODE: R370

FPAY Renewal fee payment (event date is renewal date of database)

Free format text: PAYMENT UNTIL: 20091213

Year of fee payment: 3

S531 Written request for registration of change of domicile

Free format text: JAPANESE INTERMEDIATE CODE: R323531

FPAY Renewal fee payment (event date is renewal date of database)

Free format text: PAYMENT UNTIL: 20091213

Year of fee payment: 3

R350 Written notification of registration of transfer

Free format text: JAPANESE INTERMEDIATE CODE: R350

FPAY Renewal fee payment (event date is renewal date of database)

Free format text: PAYMENT UNTIL: 20091213

Year of fee payment: 3

R154 Certificate of patent or utility model (reissue)

Free format text: JAPANESE INTERMEDIATE CODE: R154

FPAY Renewal fee payment (event date is renewal date of database)

Free format text: PAYMENT UNTIL: 20091213

Year of fee payment: 3

R154 Certificate of patent or utility model (reissue)

Free format text: JAPANESE INTERMEDIATE CODE: R154

FPAY Renewal fee payment (event date is renewal date of database)

Free format text: PAYMENT UNTIL: 20101213

Year of fee payment: 4

FPAY Renewal fee payment (event date is renewal date of database)

Free format text: PAYMENT UNTIL: 20101213

Year of fee payment: 4

FPAY Renewal fee payment (event date is renewal date of database)

Free format text: PAYMENT UNTIL: 20161213

Year of fee payment: 10

EXPY Cancellation because of completion of term