JP2025041244A - 多巻線変圧器、並びに電力変換装置 - Google Patents

多巻線変圧器、並びに電力変換装置 Download PDF

Info

Publication number
JP2025041244A
JP2025041244A JP2023148420A JP2023148420A JP2025041244A JP 2025041244 A JP2025041244 A JP 2025041244A JP 2023148420 A JP2023148420 A JP 2023148420A JP 2023148420 A JP2023148420 A JP 2023148420A JP 2025041244 A JP2025041244 A JP 2025041244A
Authority
JP
Japan
Prior art keywords
winding
legs
conversion device
power conversion
primary
Prior art date
Legal status (The legal status is an assumption and is not a legal conclusion. Google has not performed a legal analysis and makes no representation as to the accuracy of the status listed.)
Pending
Application number
JP2023148420A
Other languages
English (en)
Inventor
アビジタ チョデリ
Abhijit Chodel
尊衛 嶋田
Takae Shimada
Current Assignee (The listed assignees may be inaccurate. Google has not performed a legal analysis and makes no representation or warranty as to the accuracy of the list.)
Hitachi Ltd
Original Assignee
Hitachi Ltd
Priority date (The priority date is an assumption and is not a legal conclusion. Google has not performed a legal analysis and makes no representation as to the accuracy of the date listed.)
Filing date
Publication date
Application filed by Hitachi Ltd filed Critical Hitachi Ltd
Priority to JP2023148420A priority Critical patent/JP2025041244A/ja
Priority to US18/814,745 priority patent/US20250087416A1/en
Priority to DE102024124449.6A priority patent/DE102024124449A1/de
Publication of JP2025041244A publication Critical patent/JP2025041244A/ja
Pending legal-status Critical Current

Links

Images

Classifications

    • HELECTRICITY
    • H01ELECTRIC ELEMENTS
    • H01FMAGNETS; INDUCTANCES; TRANSFORMERS; SELECTION OF MATERIALS FOR THEIR MAGNETIC PROPERTIES
    • H01F30/00Fixed transformers not covered by group H01F19/00
    • H01F30/06Fixed transformers not covered by group H01F19/00 characterised by the structure
    • H01F30/12Two-phase, three-phase or polyphase transformers
    • HELECTRICITY
    • H01ELECTRIC ELEMENTS
    • H01FMAGNETS; INDUCTANCES; TRANSFORMERS; SELECTION OF MATERIALS FOR THEIR MAGNETIC PROPERTIES
    • H01F27/00Details of transformers or inductances, in general
    • H01F27/34Special means for preventing or reducing unwanted electric or magnetic effects, e.g. no-load losses, reactive currents, harmonics, oscillations, leakage fields
    • H01F27/38Auxiliary core members; Auxiliary coils or windings
    • HELECTRICITY
    • H02GENERATION; CONVERSION OR DISTRIBUTION OF ELECTRIC POWER
    • H02MAPPARATUS FOR CONVERSION BETWEEN AC AND AC, BETWEEN AC AND DC, OR BETWEEN DC AND DC, AND FOR USE WITH MAINS OR SIMILAR POWER SUPPLY SYSTEMS; CONVERSION OF DC OR AC INPUT POWER INTO SURGE OUTPUT POWER; CONTROL OR REGULATION THEREOF
    • H02M1/00Details of apparatus for conversion
    • H02M1/0067Converter structures employing plural converter units, other than for parallel operation of the units on a single load
    • H02M1/0074Plural converter units whose inputs are connected in series
    • HELECTRICITY
    • H02GENERATION; CONVERSION OR DISTRIBUTION OF ELECTRIC POWER
    • H02MAPPARATUS FOR CONVERSION BETWEEN AC AND AC, BETWEEN AC AND DC, OR BETWEEN DC AND DC, AND FOR USE WITH MAINS OR SIMILAR POWER SUPPLY SYSTEMS; CONVERSION OF DC OR AC INPUT POWER INTO SURGE OUTPUT POWER; CONTROL OR REGULATION THEREOF
    • H02M1/00Details of apparatus for conversion
    • H02M1/0067Converter structures employing plural converter units, other than for parallel operation of the units on a single load
    • H02M1/008Plural converter units for generating at two or more independent and non-parallel outputs, e.g. systems with plural point of load switching regulators
    • HELECTRICITY
    • H02GENERATION; CONVERSION OR DISTRIBUTION OF ELECTRIC POWER
    • H02MAPPARATUS FOR CONVERSION BETWEEN AC AND AC, BETWEEN AC AND DC, OR BETWEEN DC AND DC, AND FOR USE WITH MAINS OR SIMILAR POWER SUPPLY SYSTEMS; CONVERSION OF DC OR AC INPUT POWER INTO SURGE OUTPUT POWER; CONTROL OR REGULATION THEREOF
    • H02M1/00Details of apparatus for conversion
    • H02M1/10Arrangements incorporating converting means for enabling loads to be operated at will from different kinds of power supplies, e.g. from AC or DC
    • HELECTRICITY
    • H02GENERATION; CONVERSION OR DISTRIBUTION OF ELECTRIC POWER
    • H02MAPPARATUS FOR CONVERSION BETWEEN AC AND AC, BETWEEN AC AND DC, OR BETWEEN DC AND DC, AND FOR USE WITH MAINS OR SIMILAR POWER SUPPLY SYSTEMS; CONVERSION OF DC OR AC INPUT POWER INTO SURGE OUTPUT POWER; CONTROL OR REGULATION THEREOF
    • H02M3/00Conversion of DC power input into DC power output
    • H02M3/22Conversion of DC power input into DC power output with intermediate conversion into AC
    • H02M3/24Conversion of DC power input into DC power output with intermediate conversion into AC by static converters
    • H02M3/28Conversion of DC power input into DC power output with intermediate conversion into AC by static converters using discharge tubes with control electrode or semiconductor devices with control electrode to produce the intermediate AC
    • H02M3/325Conversion of DC power input into DC power output with intermediate conversion into AC by static converters using discharge tubes with control electrode or semiconductor devices with control electrode to produce the intermediate AC using devices of a triode or a transistor type requiring continuous application of a control signal
    • H02M3/335Conversion of DC power input into DC power output with intermediate conversion into AC by static converters using discharge tubes with control electrode or semiconductor devices with control electrode to produce the intermediate AC using devices of a triode or a transistor type requiring continuous application of a control signal using semiconductor devices only
    • H02M3/33569Conversion of DC power input into DC power output with intermediate conversion into AC by static converters using discharge tubes with control electrode or semiconductor devices with control electrode to produce the intermediate AC using devices of a triode or a transistor type requiring continuous application of a control signal using semiconductor devices only having several active switching elements
    • H02M3/33576Conversion of DC power input into DC power output with intermediate conversion into AC by static converters using discharge tubes with control electrode or semiconductor devices with control electrode to produce the intermediate AC using devices of a triode or a transistor type requiring continuous application of a control signal using semiconductor devices only having several active switching elements having at least one active switching element at the secondary side of an isolation transformer
    • H02M3/33584Bidirectional converters
    • HELECTRICITY
    • H02GENERATION; CONVERSION OR DISTRIBUTION OF ELECTRIC POWER
    • H02MAPPARATUS FOR CONVERSION BETWEEN AC AND AC, BETWEEN AC AND DC, OR BETWEEN DC AND DC, AND FOR USE WITH MAINS OR SIMILAR POWER SUPPLY SYSTEMS; CONVERSION OF DC OR AC INPUT POWER INTO SURGE OUTPUT POWER; CONTROL OR REGULATION THEREOF
    • H02M5/00Conversion of AC power input into AC power output, e.g. for change of voltage, for change of frequency, for change of number of phases
    • H02M5/02Conversion of AC power input into AC power output, e.g. for change of voltage, for change of frequency, for change of number of phases without intermediate conversion into DC
    • H02M5/04Conversion of AC power input into AC power output, e.g. for change of voltage, for change of frequency, for change of number of phases without intermediate conversion into DC by static converters
    • H02M5/10Conversion of AC power input into AC power output, e.g. for change of voltage, for change of frequency, for change of number of phases without intermediate conversion into DC by static converters using transformers
    • H02M5/14Conversion of AC power input into AC power output, e.g. for change of voltage, for change of frequency, for change of number of phases without intermediate conversion into DC by static converters using transformers for conversion between circuits of different phase number

Landscapes

  • Engineering & Computer Science (AREA)
  • Power Engineering (AREA)
  • Dc-Dc Converters (AREA)
  • Ac-Ac Conversion (AREA)
  • Coils Of Transformers For General Uses (AREA)

Abstract

【課題】絶縁型の電力変換装置を高電圧化もしくは大容量化することができる多巻線変圧器、並びにこの多巻線変圧器を用いる電力変換装置を提供する。【解決手段】絶縁用の多巻線変圧器は、複数の脚部(102)を有する磁性体コアと、複数の脚部の各々に巻かれる一次巻線(100)および二次巻線(101)を有する。複数の脚部の内の異なる二つの脚部に巻かれる一次巻線には、電力変換器(104)から互いに位相が異なる電圧が入力される。【選択図】図1

Description

本発明は、複数の巻線を有する多巻線変圧器、並びに多巻線変圧器を用いる絶縁型の電力変換装置に関する。
電力系統における再生可能エネルギー源の普及や電気自動車用充電設備の整備の進展に伴い、中高圧絶縁型AC/DCコンバータが、高電圧交流電源と低電圧直流バスとを相互接続する電力変換装置として、普通に利用されるようになりつつある。
絶縁型AC/DCコンバータに関する従来技術として、特許文献1に記載の技術が知られている。
特許文献1(図9)に記載の絶縁型AC/DCコンバータでは、絶縁用変圧器として、独立した6個の巻線を備える多巻線変圧器が用いられる。3個の巻線の各々には、DC/AC変換器の交流出力が接続される。他の3個の巻線の各々には、AC/DC変換器の交流入力が接続される。
3台のDC/AC変換器は、外部交流系統からの交流電力から変換される直流電力を、電圧位相が同相である交流電力に変換する。3台のDC/AC変換器が出力する交流電力は、多巻線変圧器を介して、3台のAC/DC変換器に伝送される。3台のAC/DC変換器は、多巻線変圧器を介して受電する交流電力を直流電力に変換する。各AC/DC変換器が出力する直流電力によって、電気自動車が充電される。
国際公開第2020/217721号
上記従来技術においては、多巻線変圧器における多数の巻線間の絶縁については考慮されていない。さらに、多巻線変圧器の磁性体コアを介する磁気的結合により、DC/AC変換器間で干渉が生じ、複数のDC/AC変換器の動作がアンバランスになる。このため、絶縁型AC/DCコンバータを高電圧化もしくは大容量化することが難しい。
そこで、本発明は、絶縁型の電力変換装置を高電圧化もしくは大容量化することができる多巻線変圧器、並びにこの多巻線変圧器を用いる電力変換装置を提供する。
上記課題を解決するために、本発明による多巻線変圧器は、絶縁用であって、複数の脚部を有する磁性体コアと、複数の脚部の各々に巻かれる一次巻線および二次巻線を有する。複数の脚部の内の異なる二つの脚部に巻かれる一次巻線には、電力変換器から互いに位相が異なる電圧が入力される。
上記課題を解決するために、本発明による電力変換装置は、多巻線変圧器を備えるものであって、多巻線変圧器は、複数の脚部を有する磁性体コアと、複数の脚部に巻かれる複数の一次巻線および複数の二次巻線を有する。さらに、本発明による電力変換装置は、複数の一次巻線に交流電圧を入力する複数の第1電力変換器と、複数の二次巻線から交流電圧を入力する複数の第2電力変換器と、を備える。複数の脚部の内の異なる二つの脚部に巻かれる一次巻線に接続される二台の第1電力変換器は、互いに位相が異なる電圧を出力する。
本発明によれば、多巻線変圧器を備える絶縁型の電力変換装置を高電圧化もしくは大容量化することができる。
上記した以外の課題、構成および効果は、以下の実施形態の説明により明らかにされる。
実施例1である絶縁型の電力変換装置を示す概略構成図である。 図1における変換器ユニット104の構成を示すブロック図である。 図2におけるAC/DCコンバータ部202の一例を示す回路図である。 図2におけるAC/DCコンバータ部202の他の例を示す回路図である。 図2におけるDC/ACコンバータ部205の一例を示す回路図である。 図2におけるDC/ACコンバータ部205の他の例を示す回路図である。 図1における変換器ユニット103の構成を示すブロック図である。 図7におけるAC/DCコンバータ部の一例を示す回路図である。 図7におけるAC/DCコンバータ部の他の例を示す回路図である。 図1における変換器ユニット104が一次巻線100へ出力するPWMパルス電圧の一部を示す波形図である。 多巻線変圧器の磁性体コアが3個の脚部102を有する場合における、変換器ユニット104の出力電圧と、変換器ユニット103の入力電圧と、各脚部102における磁束を示す波形図である。 実施例2である絶縁型の電力変換装置を示す概略構成図である。 実施例3である絶縁型の電力変換装置を示す概略構成図である。 実施例4である絶縁型の電力変換装置を示す概略構成図である。 実施例5である絶縁型の電力変換装置を示す概略構成図である。 実施例6である絶縁型の電力変換装置を示す概略構成図である。
以下、本発明の実施形態について、下記の実施例1~6により、図面を用いながら説明する。
各図において、参照番号が同一のものは同一の構成要件あるいは類似の機能を備えた構成要件を示している。
図1は、本発明の実施例1である絶縁型の電力変換装置を示す概略構成図である。
実施例1における多巻線変圧器は、多数の巻線が巻かれる一つの磁性体コアを有する。磁性体コアは、複数の巻線が巻かれる複数の脚部102と、複数の脚部102を連結する枠体部109とを有する。複数の脚部102は、互いに長手方向が平行になるように、かつ互いに等間隔に並置されている。複数の脚部102は枠体部109によって磁気的に結合している。すなわち、複数の脚部102および枠体部109とは一つの磁気回路を構成している。
複数(図1ではm個(m≧2))の脚部102の各々においては、複数(図1ではn個(n≧2))の一次巻線100、並びに複数(図1では、一次巻線100と同数のn個(n≧2))の二次巻線101が巻かれる。各脚部102において、n個の一次巻線100は、脚部102の長手方向における一方側において、隣接はしているが、互いに重ならないように分割巻きによって巻かれている。各脚部102において、n個の二次巻線101は、脚部102の長手方向における他方側において、互いに隣接はしているが重ならないように、分割巻きによって巻かれている。
各脚部102において、n個の一次巻線100からなる一次巻線セット107、およびn個の二次巻線101からなる二次巻線セット108は、それぞれ、脚部102の長手方向における一方側および他方側に位置する。すなわち、各脚部102において、一次巻線セット107および二次巻線セット108は、分割巻きによって巻かれている。
m個の脚部102における複数(図1ではmn(m×n)個)の一次巻線100からなる一次巻線群105、並びにm個の脚部102における複数(図1ではmn(m×n)個)の二次巻線101からなる二次巻線群106は、それぞれ、m個の脚部102の長手方向における一方側および他方側に位置する。すなわち、m個の脚部102において、一次巻線群105および二次巻線群106は、分割巻きによって巻かれている。
上述のような巻線の構成により、複数の巻線間における電気的絶縁性を向上することができる。
複数(図1ではmn(m×n)個)の一次巻線100の各々には、変換器ユニット104が接続される。実施例1において、変換器ユニット104は、DC/ACコンバータ部すなわちインバータ部を有する。各一次巻線100には、インバータ部の交流出力が接続される。
複数(図1ではmn(m×n)個)の二次巻線101の各々には、変換器ユニット103が接続される。実施例1において、変換器ユニット103は、AC/DCコンバータ部を有する。なお、各二次巻線101には、AC/DCコンバータ部の交流入力が接続される。なお、実施例1においては、インバータ部をAC/DCコンバータとして動作させる。
上述のような、多巻線変圧器、複数の変換器ユニット104および複数の変換器ユニット103によって、実施例1である電力変換装置は、複数の直流出力を備える多出力絶縁型AC/DCコンバータとして動作する。
図2は、図1における変換器ユニット104の構成を示すブロック図である。
変換器ユニット104は、AC/DCコンバータ部202およびDC/ACコンバータ部205からなる。AC/DCコンバータ部202の直流出力と、DC/ACコンバータ部205の直流入力とが、直流バス203,204で接続されている。なお、直流バス203,204は、それぞれ、負の直流バスおよび正の直流バスである。AC/DCコンバータ部202の交流入力およびDC/ACコンバータ部205の交流入力が、それぞれ変換器ユニットの交流入力200,201および交流出力206,207である。
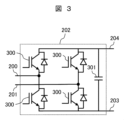
図3は、図2におけるAC/DCコンバータ部202の一例を示す回路図である。
AC/DCコンバータ部202は、半導体スイッチング素子(図3では、IGBT)とダイオードが逆並列に接続された半導体装置300が用いられる単相フルブリッジ回路と、単相フルブリッジ回路に並列に接続される直流リンクキャパシタ301とからなる。各ハーフブリッジ回路における2個の半導体装置300の直列接続点を交流入力200,201とする。二つのハーフブリッジ回路並びに直流リンクキャパシタ301の並列接続点が、直流出力として、直流バス203,204に接続される。
交流入力200,201に入力される交流電力が、ダイオードにより整流されて、直流電力に変換される。直流電力は、直流リンクキャパシタ301を充電するとともに、直流バス203,204に出力される。
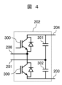
図4は、図2におけるAC/DCコンバータ部202の他の例を示す回路図である。
AC/DCコンバータ部202は、半導体スイッチング素子(図4では、IGBT)とダイオードが逆並列に接続された半導体装置300が用いられるハーフブリッジ回路と、直流リンクキャパシタ301,302の直列接続回路との、並列接続からなる。ハーフブリッジ回路における2個の半導体装置300の直列接続点、および二つの直流リンクキャパシタ301,302の直列接続点を、それぞれ、交流入力200および201とする。ハーフブリッジ回路の両端、すなわち直流リンクキャパシタ301,302の直列接続回路の両端が、直流バス203,203に接続される。
交流入力200,201に入力されるAC電力が、ダイオードにより整流されて、直流電力に変換される。直流電力は、交流入力電圧の極性に応じて、直流リンクキャパシタ301,302を交互に充電する。
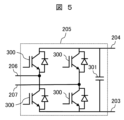
図5は、図2におけるDC/ACコンバータ部205の一例を示す回路図である。
DC/ACコンバータ部205は、半導体スイッチング素子(図5では、IGBT)とダイオードが逆並列に接続された半導体装置300が用いられる単相フルブリッジ回路と、単相フルブリッジ回路に並列に接続される直流リンクキャパシタ301とからなる。各ハーフブリッジ回路における2個の半導体装置300の直列接続点を交流出力206,207とする。二つのハーフブリッジ回路並びに直流リンクキャパシタ301の並列接続点が、直流入力として、直流バス203,204に接続される。
直流バス203,204から入力される直流電力が、半導体装置300のスイッチング動作により、交流電力に変換される。交流電力は、交流出力206,207から出力される。
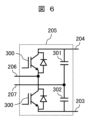
図6は、図2におけるDC/ACコンバータ部205の他の例を示す回路図である。
DC/ACコンバータ部205は、半導体スイッチング素子(図6では、IGBT)とダイオードが逆並列に接続された半導体装置300が用いられるハーフブリッジ回路と、直流リンクキャパシタ301,302の直列接続回路との、並列接続からなる。ハーフブリッジ回路における2個の半導体装置300の直列接続点、および二つの直流リンクキャパシタ301,302の直列接続点を、それぞれ、交流出力206および207とする。ハーフブリッジ回路の両端、すなわち直流リンクキャパシタ301,302の直列接続回路の両端が、直流バス203,204に接続される。
直流バス203,204から入力される直流電力が、半導体装置300のスイッチング動作により、交流電力に変換される。交流電力は、交流出力206,207から出力される。
図7は、図1における変換器ユニット103の構成を示すブロック図である。
変換器ユニット103は、AC/DCコンバータ部からなる。AC/DCコンバータ部の直流出力が、直流バス502,503に接続されている。なお、直流バス502,503は、それぞれ、正の直流バスおよび負の直流バスである。AC/DCコンバータ部の交流入力が、変換器ユニット103の交流入力500,501である。
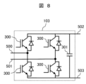
図8は、図7におけるAC/DCコンバータ部の一例を示す回路図である。
AC/DCコンバータ部は、半導体スイッチング素子(図8では、IGBT)とダイオードが逆並列に接続された半導体装置300が用いられる単相フルブリッジ回路と、単相フルブリッジ回路に並列に接続される直流リンクキャパシタ301とからなる。各ハーフブリッジ回路における2個の半導体装置300の直列接続点を交流入力500,501とする。二つのハーフブリッジ回路並びに直流リンクキャパシタ301の並列接続点が、直流出力として、直流バス502,503に接続される。
交流入力500,501に入力される交流電力が、ダイオードにより整流されて、直流電力に変換される。直流電力は、直流リンクキャパシタ301を充電するとともに、直流バス502,503に出力される。
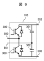
図9は、図7におけるAC/DCコンバータ部の他の例を示す回路図である。
AC/DCコンバータ部は、半導体スイッチング素子(図9では、IGBT)とダイオードが逆並列に接続された半導体装置300が用いられるハーフブリッジ回路と、直流リンクキャパシタ301,302の直列接続回路との、並列接続からなる。ハーフブリッジ回路における2個の半導体装置300の直列接続点、および二つの直流リンクキャパシタ301,302の直列接続点を、それぞれ、交流入力500および501とする。ハーフブリッジ回路の両端、すなわち直流リンクキャパシタ301,302の直列接続回路の両端が、直流バス502,503に接続される。
交流入力500,501に入力される交流電力が、ダイオードにより整流されて、直流電力に変換される。直流電力は、交流入力電圧の極性に応じて、直流リンクキャパシタ301,302を交互に充電する。
図10は、図1における変換器ユニット104が一次巻線100へ出力するPWMパルス電圧の一部を示す波形図である。
多巻線変圧器における磁性体コアのm個の脚部102に対して、図1において左端の脚部102から右方向に向かって、順に、1,2,3,…,mと、番号付けする。i番目(i=1~m)の脚部102に巻かれるn個の一次巻線100に接続されるn個の変換器ユニット104の出力電圧を、図1において脚部102の上端部から下方に向かって、順に、Vpi1,Vpi2,…,Vpinとする。
図10に示すように、Vp11とVp1nは、電圧の大きさが等しく、かつ位相差が零、すなわち同相である。Vp11とVp1nだけでなく、Vp1i(i=1~m)は電圧の大きさが等しく、かつ同相である。同様に、i番目(i=1~m)の脚部102に巻かれるn個の一次巻線100に接続されるn個の変換器ユニット104の出力電圧Vpij(j=1~n)は電圧の大きさが等しく、かつ同相である。
図10に示すように、Vp11とVpm1は、電圧の大きさが等しく、かつ位相差がΦである。ここで、Φ=(360°/m)×(m-1)である。Vp11とVpm1だけでなく、Vp11とVpi1(i=2~m)は、電圧の大きさが等しく、かつ位相差がΦ(=(360°/m)×(m-1))である。同様に、i番目(i=2~m)の脚部102に巻かれるn個の一次巻線100に接続されるn個の変換器ユニット104の出力電圧Vpij(j=1~n)は、Vp1j(j=1~n)に対して、位相差Φ(=(360°/m)×(i-1))を有する。
上述のように位相差を設定すると、隣り合う脚部102(i番目とi+1番目)に巻かれる一次巻線に接続される変換器ユニット104の出力電圧Vpij,Vpij+1は、位相差は360°/mである。したがって、実施例1では、各脚部102に巻かれるn個の一次巻線100に接続されるn個の変換器ユニット104の各出力電圧は同相である。また、実施例1では、m個の脚部102の内、任意の隣接する二つの脚部102に巻かれる一次巻線に接続される変換器ユニット104の出力電圧は等しい位相差(=360°/m)を有する。なお、実施例1においては、Vpij(i=1~m,j=1~n)の大きさは等しい。
例えば、脚部102が3個である場合、Vp1jとVp2jの位相差は120°(=360°/3)であり、Vp2jとVp3jの位相差は120°(=360°/3)である。
m個の脚部102の内、任意の隣接する二つの脚部102に巻かれる一次巻線に接続される変換器ユニット104の出力電圧は等しい位相差(=360°/m)を有する。これにより、多巻線変圧器の複数の異なる脚部102に巻かれる複数の一次巻線に接続される複数の変換器ユニット104が相互に干渉(例えば、横流)し合うことにより、各脚部102に巻かれる複数の一次巻線に接続される複数の変換器ユニット104が受けるもしくは与える干渉が低減される。したがって、複数多巻線変圧器における複数(m×n個)の一次巻線に接続される複数(m×n個)の変換器ユニット104の動作のバランスが向上する。
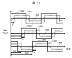
図11は、多巻線変圧器の磁性体コアが3個の脚部102を有する場合における、各一次巻線100に接続される変換器ユニット104の出力電圧と、各二次巻線101に接続される変換器ユニット103の入力電圧と、各脚部102における磁束を示す波形図である。なお、横軸は、位相を示す。
変換器ユニット104の出力電圧1300,1304,1307は、それぞれ、図1に示すVp11~Vp1n,Vp21~Vp2n,Vp31~Vp3nに対応する。
変換器ユニット103の入力電圧1301,1305,1308は、それぞれ、図1に示すVs11~Vs1n,Vs21~Vs2n,Vs31~Vs3nに対応する。
なお、図1においては、変換器ユニット104の出力電圧と同様に、i番目(i=1~m)の脚部102に巻かれるn個の二次巻線101に接続されるn個の変換器ユニット103の出力電圧を、図1において脚部102の下端部に向かって、順に、Vsi1,Vsi2,…,Vsinとする。
磁束1302,1306,1309は、それぞれ、1番目、2番目、3番目の脚部102における磁束に対応する。
図11に示すように、出力電圧1300,1304間の位相差は120°である。出力電圧1300,1307間の位相差は240度であり、したがって、出力電圧1304,1307間の位相差は120度である。なお、変換器ユニット104の出力電圧1307,1300間の位相差も120°である。これにより、複数の変換器ユニット104の動作がバランスするので、磁束1302,1306,1309の大きさ(振幅)が均一になる。
図11に示すように、入力電圧1301は、出力電圧1300に対して、位相がδだけ遅れている。同様に、入力電圧1305は、出力電圧1304に対して、位相がδだけ遅れ、入力電圧1308は、出力電圧1307に対して、位相がδだけ遅れている。ここで、対応する変換器ユニット103では、出力電圧に対して入力電圧の位相遅れがδになるように、図示しない制御装置によって半導体スイッチング素子のスイッチングが制御される。
位相遅れδに応じて、変換器ユニット104から、多巻線変圧器を介して、変換器ユニット103へ電力が伝送される。
上述のように、実施例1によれば、多巻線変圧器が、一次巻線100および二次巻線101が分割巻きによって巻かれる脚部102を複数備え、異なる脚部に巻かれる一次巻線には、変換器ユニット104から位相が互いに異なる電圧が入力される。これにより、複数の脚部における磁束の大きさのバランスが向上するとともに、複数の変換器ユニット104の動作のバランスが向上する。
したがって、絶縁型の電力変換装置の電力損失が低減できたり、絶縁型の電力変換装置を大容量化できたりする。
なお、各脚部102におけるにおける一次巻線および二次巻線は、少なくとも1個ずつあればよい。
また、実施例1によれば、各脚部102において、各巻線(100,101,800,801)が分割巻きによって巻かれている。これにより、巻線間の電気的絶縁性が向上する。したがって、多巻線変圧器を備える絶縁型の電力変換装置を高電圧化もしくは大容量化することができる。
また、実施例1によれば、巻線を含めて同じ構成の脚部102の個数によって絶縁型で多出力の電力変換装置の電力容量や出力数を容易に設定できる。
このように、実施例1によれば、絶縁型の電力変換装置を高電圧化もしくは大容量化することができる。
図12は、本発明の実施例2である絶縁型の電力変換装置を示す概略構成図である。
以下、実施例1と異なる点について説明する。
図12に示すように、各脚部102に巻かれる複数(図12ではn個(n≧2))の一次巻線100に交流出力が接続される複数(図12ではn個(n≧2))の変換器ユニット104の交流入力が互いに直列に接続される。交流入力の直列接続の両端、すなわち、接続端子1101,902に単相交流電源1100が接続される。これにより、単相交流電源1100の電源電圧を増大することができる。
図12に示すように、各脚部102に巻かれる複数(図12ではn個(n≧2))の二次巻線101に交流入力が接続される複数(図12ではn個(n≧2))の変換器ユニット103の直流出力が電気自動車1103もしくは電池1104のいずれかに接続される。
このように、実施例2である絶縁型の電力変換装置によれば、複数の電池1104または複数の電気自動車1103、もしくは、電池1104および電気自動車1103を、同時に充電することができる。
図13は、本発明の実施例3である絶縁型の電力変換装置を示す概略構成図である。
以下、実施例1と異なる点について説明する。
複数(図13では3個)の脚部102の各々においては、複数(図13では6個)の一次巻線が、複数個(図13では2個)の一次巻線からなる複数(図13では3個)個の一次巻線セット2040に分けられる。
ここで、3個の一次巻線セット2040を、図12中で上から、第1の一次巻線セット、第2の一次巻線セット、第3の一次巻線セットと称する。
第1の一次巻線セットに接続される2台の変換器ユニット204(変換器ユニット104に相当)の交流入力が、接続導体部1202によって、直列に接続される。3個の脚部102における、このような変換器ユニット204の交流入力の直列接続が、接続導体部1203,1204によって直列に接続される。すなわち、3個の脚部102に巻かれる3個の第1の一次巻線セットに接続される6台の変換器ユニット204の交流入力が直列接続される。6台の変換器ユニット204の交流入力の直列接続の両端、すなわち、接続端子1201,1205に単相交流電源1100が接続される。
第2の一次巻線セットおよび第3の一次巻線セットについても同様に、6台の変換器ユニットの交流入力の直列接続の両端が接続される。
実施例3によれば、単相交流電源1100の電源電圧を増大することができる。
図14は、本発明の実施例4である絶縁型の電力変換装置を示す概略構成図である。
以下、実施例1と異なる点について説明する。
図14に示すように、各脚部102に巻かれる複数の二次巻線101の接続端子701,702が一台の変換器ユニット103の交流入力に接続される。
実施例4によれば、絶縁型の電力変換装置の総電力容量を保持しながら、変換器ユニット103の台数を低減することができる。
図15は、本発明の実施例5である絶縁型の電力変換装置を示す概略構成図である。
以下、実施例1と異なる点について説明する。
実施例5である絶縁型の電力変換装置は、多巻線変圧器の磁性体コアが枠体部109を有する第1の絶縁型AC/DCコンバータと、多巻線変圧器の磁性体コアが枠体部804を有する第2の絶縁型AC/DCコンバータと、を備えている。なお、第1の絶縁型AC/DCコンバータおよび第2の絶縁型AC/DCコンバータは、ともに、実施例1の絶縁型AC/DCコンバータ(図1)と同じ構成を有している。
第1の絶縁型AC/DCコンバータの多巻線変圧器の磁性体コアの各脚部には、三次巻線800が巻かれる。第2の絶縁型AC/DCコンバータの多巻線変圧器の磁性体コアの各脚部には、三次巻線801が分割巻きによって巻かれる。
第1の絶縁型AC/DCコンバータの多巻線変圧器の磁性体コアのi番目の脚部に巻かれる三次巻線800と、第2の絶縁型AC/DCコンバータの多巻線変圧器の磁性体コアのi番目の脚部に巻かれる三次巻線801とが、接続導体部802,803によって接続されて、ループ回路を構成する。
第1の絶縁型AC/DCコンバータの多巻線変圧器の磁性体コアのi番目の脚部における磁束と、第2の絶縁型AC/DCコンバータの多巻線変圧器の磁性体コアのi番目の脚部における磁束に、アンバランスが生じると、三次巻線800,801からなるループ回路に流れる誘導電流によって発生する磁束によって、アンバランスが抑制される。これにより、複数の変換器ユニット104の動作がバランスする。
図16は、本発明の実施例6である絶縁型の電力変換装置を示す概略構成図である。
以下、実施例1と異なる点について説明する。
実施例6における多巻線変圧器は、二つの脚部を備える磁性体コアを複数(図16では3個)有している。二つの脚部は、連結部によって連結される。これにより、磁性体コアは、四角いフレーム状である。各脚部には、実施例1と同様に一次巻線と二次巻線が分割巻きによって巻かれている。実施例1と同様に、一次巻線および二次巻線には、それぞれ、変換器ユニット104および103が接続される。
3個の磁性体コア900,901,902は、連結部が互いに同じ角度をなすように、磁気的に結合されている。これにより、6個の脚部を備える多巻線変圧器が構成される。
実施例6によれば、多巻線変圧器を立体的に構成することにより、多巻線変圧器の設置面積を低減できる。
なお、本発明は前述した実施例に限定されるものではなく、様々な変形例が含まれる。例えば、前述した実施例は本発明を分かりやすく説明するために詳細に説明したものであり、必ずしも説明した全ての構成を備えるものに限定されるものではない。また、各実施例の構成の一部について、他の構成の追加・削除・置き換えをすることが可能である。
例えば、変換器ユニット103,104において用いられる半導体スイッチング素子は、IGBTに限らず、MOSFETや接合型バイポーラトランジスタなどでもよい。
100…一次巻線、101…二次巻線、102…脚部、103…変換器ユニット、104…変換器ユニット、105…一次巻線群、106…二次巻線群、107…一次巻線セット、108…二次巻線セット、109…枠体部、200,201…交流入力、202…AC/DCコンバータ部、203,204…直流バス、205…DC/ACコンバータ部、206,207…交流出力、300…半導体装置、301,302…直流リンクキャパシタ、500,501…交流入力、502,503…直流バス、701,702…接続端子、800,801…三次巻線、802,803…接続導体部、804…枠体部、900,901,902…磁性体コア、1100…単相交流電源、1101…接続端子、1103…電気自動車、1104…電池、1201…接続端子、1202,1203,1204…接続導体部、1205…接続端子、1300…出力電圧、1301…入力電圧、1302…磁束、1304…出力電圧、1305…入力電圧、1306…磁束、1307…出力電圧、1308…入力電圧、1309…磁束、2040…一次巻線セット、

Claims (12)

  1. 絶縁用の多巻線変圧器において、
    複数の脚部を有する磁性体コアと、
    前記複数の前記脚部の各々に巻かれる一次巻線および二次巻線を有し、
    前記複数の前記脚部の内の異なる二つの前記脚部に巻かれる前記一次巻線には、電力変換器から互いに位相が異なる電圧が入力されることを特徴とする多巻線変圧器。
  2. 請求項1に記載の多巻線変圧器において、
    前記磁性体コアにおいて、前記複数の前記脚部は並置されるとともに、磁気的に結合し、
    前記複数の前記脚部の内、任意の前記脚部に巻かれる前記一次巻線に入力される前記電圧と、前記任意の前記脚部に隣接する前記脚部に巻かれる前記一次巻線に入力される前記電圧との位相差が、前記複数の前記脚部の個数をm個とするとき、360°/mであることを特徴とする多巻線変圧器。
  3. 請求項1に記載の多巻線変圧器において、
    前記一次巻線および前記二次巻線は、分割巻きによって巻かれていることを特徴とする多巻線変圧器。
  4. 請求項3に記載の多巻線変圧器において、
    前記一次巻線および前記二次巻線を各々複数個ずつ有し、
    複数の前記一次巻線は、分割巻きによって巻かれ、かつ複数の前記二次巻線は分割巻きによって巻かれていることを特徴とする多巻線変圧器。
  5. 請求項4に記載の多巻線変圧器において、
    前記複数の前記二次巻線は並列に接続されることを特徴とする多巻線変圧器。
  6. 絶縁用の多巻線変圧器を備える電力変換装置において、
    前記多巻線変圧器は、複数の脚部を有する磁性体コアと、前記複数の前記脚部に巻かれる複数の一次巻線および複数の二次巻線を有し、
    前記複数の前記一次巻線に交流電圧を入力する複数の第1電力変換器と、
    前記複数の前記二次巻線から交流電圧を入力する複数の第2電力変換器と、
    を備え、
    前記複数の前記脚部の内の異なる二つの前記脚部に巻かれる前記一次巻線に接続される二台の前記第1電力変換器は、互いに位相が異なる電圧を出力することを特徴とする電力変換装置。
  7. 請求項6に記載の電力変換装置において、
    前記磁性体コアにおいて、前記複数の前記脚部は並置されるとともに、磁気的に結合し、
    前記複数の前記脚部の内、任意の前記脚部に巻かれる前記一次巻線に前記第1電力変換器が入力する前記交流電圧と、前記任意の前記脚部に隣接する前記脚部に巻かれる前記一次巻線に前記第1電力変換器が入力する前記交流電圧との位相差が、前記複数の前記脚部の個数をm個とするとき、360°/mであることを特徴とする電力変換装置。
  8. 請求項6に記載の電力変換装置において、
    前記複数の前記一次巻線および前記複数の前記二次巻線は、分割巻きによって巻かれていることを特徴とする電力変換装置。
  9. 請求項6に記載の電力変換装置において、
    前記複数の前記第1電力変換器の複数の交流入力が互いに直列に接続され、
    直列に接続された前記複数の前記交流入力が、交流電源に接続されることを特徴とする電力変換装置。
  10. 請求項6に記載の電力変換装置において、
    前記複数の前記脚部の各々には、前記一次巻線および前記二次巻線が各々複数個ずつ巻かれ、
    複数の前記一次巻線は、分割巻きによって巻かれ、かつ複数の前記二次巻線は分割巻きによって巻かれていることを特徴とする電力変換装置。
  11. 請求項10に記載の電力変換装置において、
    前記複数の前記二次巻線は並列に接続されることを特徴とする電力変換装置。
  12. 絶縁用の第1多巻線変圧器と第2多巻線変圧器を備える電力変換装置において、
    前記第1多巻線変圧器および前記第2多巻線変圧器の各々は、
    複数の脚部を有する磁性体コアと、前記複数の前記脚部に巻かれる複数の一次巻線および複数の二次巻線を有し、
    前記複数の前記一次巻線に交流電圧を入力する複数の第1電力変換器と、
    前記複数の前記二次巻線から交流電圧を入力する複数の第2電力変換器と、
    を備え、
    前記複数の前記脚部の内の異なる二つの前記脚部に巻かれる前記一次巻線に接続される二台の前記第1電力変換器は、互いに位相が異なる電圧を出力し、
    前記第1多巻線変圧器が備える前記磁性体コアの前記複数の前記脚部の各々に巻かれる三次巻線と、前記第2多巻線変圧器が備える前記磁性体コアの前記複数の前記脚部の各々に巻かれる前記三次巻線とがループ回路を構成していることを特徴とする電力変換装置。
JP2023148420A 2023-09-13 2023-09-13 多巻線変圧器、並びに電力変換装置 Pending JP2025041244A (ja)

Priority Applications (3)

Application Number Priority Date Filing Date Title
JP2023148420A JP2025041244A (ja) 2023-09-13 2023-09-13 多巻線変圧器、並びに電力変換装置
US18/814,745 US20250087416A1 (en) 2023-09-13 2024-08-26 Multi-Winding Transformer and Power Conversion Device
DE102024124449.6A DE102024124449A1 (de) 2023-09-13 2024-08-27 Multiwicklungstransformator und leistungswandlungsvorrichtung

Applications Claiming Priority (1)

Application Number Priority Date Filing Date Title
JP2023148420A JP2025041244A (ja) 2023-09-13 2023-09-13 多巻線変圧器、並びに電力変換装置

Publications (1)

Publication Number Publication Date
JP2025041244A true JP2025041244A (ja) 2025-03-26

Family

ID=94691707

Family Applications (1)

Application Number Title Priority Date Filing Date
JP2023148420A Pending JP2025041244A (ja) 2023-09-13 2023-09-13 多巻線変圧器、並びに電力変換装置

Country Status (3)

Country Link
US (1) US20250087416A1 (ja)
JP (1) JP2025041244A (ja)
DE (1) DE102024124449A1 (ja)

Family Cites Families (1)

* Cited by examiner, † Cited by third party
Publication number Priority date Publication date Assignee Title
JP7307583B2 (ja) 2019-04-23 2023-07-12 株式会社日立製作所 電源装置

Also Published As

Publication number Publication date
DE102024124449A1 (de) 2025-03-13
US20250087416A1 (en) 2025-03-13

Similar Documents

Publication Publication Date Title
CN103959624B (zh) 直流到直流变换器组件
US8243481B2 (en) Power transformer and power converter incorporating same
JP6181132B2 (ja) 電力変換装置
EP3238315B1 (en) Modular multi-level converter with thyristor valves
CN108574420B (zh) 电力电子变换单元及系统
EP3223419B1 (en) Direct ac-ac converter assembly and conversion system using same
US8339820B2 (en) Thirty-six pulse power transformer and power converter incorporating same
US20130170255A1 (en) Apparatus for controlling the electric power transmission in a hvdc power transmission system
CN101795072A (zh) 一种高压直流-直流电力电子变压器
CN105379090A (zh) 用于高压直流应用的模块化多电平直流/直流转换器
KR102235397B1 (ko) 스콧 트랜스포머를 갖는 전력 변환 장치
CN114094576B (zh) 柔性合环开关、供电网络及控制方法
US8248828B2 (en) Medium voltage inverter system
CN109980948A (zh) 一种三相间耦合五端口电力电子变压器
CN110247416B (zh) 基于分叉桥臂结构的多端口直流柔性多状态开关装置
CN102904420A (zh) 多端口变流器
WO2024183640A1 (zh) 高压直挂式柔性交流合环装置
JP6833131B1 (ja) 電力変換装置
KR20210004589A (ko) 멀티 레벨 컨버터
JP2025041244A (ja) 多巻線変圧器、並びに電力変換装置
CN102084585B (zh) 用于电压转换的装置
CN108923664B (zh) 三相输入单相输出频率变换器及控制方法
JP7230633B2 (ja) 電力変換装置
KR20230147418A (ko) 전력변환 시스템의 dc-dc 컨버터
WO2018145748A1 (en) Parallel connecting of cell modules in a modular multilevel converter by means of interphase transformers

Legal Events

Date Code Title Description
A621 Written request for application examination

Free format text: JAPANESE INTERMEDIATE CODE: A621

Effective date: 20260206